

Welding instructions for pewag tracks
Available original pewag weld-on stubs and plates:





SW (small wave stub) 58x39x28 mm
MW (medium wave stub) 59x43x29 mm
LW (large wave stub) 87x45x36 mm
PX Stub for perfect-extreme
4123148 (36 pcs.)
4096563 (36 pcs.)
4128317 (36 pcs.)
4120107 PX STUB W (36 pcs.)
PX plate for perfect-extreme
Recommended welding consumables:
Suggested stick electrodes:
BÖHLER FOX 7018 (or equivalent)
ESAB OK 48.00 (or equivalent)
Welding Instructions:
• Preheat base material to at least +80 °C
• Weld area must be clean and dry
• Weld seam thickness approx. 5 mm
Procedure:
1) Clean base material and component.
4120110 PX PLATE 760 W (6 pcs.)
4120109 PX PLATE 860 W (6 pcs.)
4120108 PX PLATE 910 W (6 pcs.)
4120106 PX PLATE 950 W (6 pcs.)
Suggested wire electrodes:
BÖHLER EMK 6 TOP (or equivalent)
ESAB OK Aristorod 12.50 (or equivalent)
2) Preheat material to the recommended temperature
a. Weld the stub along the long side (front and back).
b. For "perfect extreme": additionally weld the traction plate (front and back) and all around the stub.
�� Minimize heat input into the material.

perfect-extreme


Stub welding duro




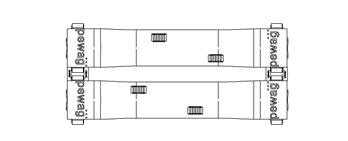
Position welding seam / Position Schweißnaht / Position de soudage / Posición de soldadura / Posição de soldaduranat / Hitsaussauman sijainti / Svetsfogens position / Sveisesømmens posisjon

flow-perfect perfect


flow/flow-wide mono skidder


Not allowed / Nicht erlaubt / Non autorisé / No permitido / Não autorizado / Ei sallittu / Ej tillåtet / Ikke tillatt
Recommended / Empfohlen / Recommandé / Recomendado / Recomendado / Suositeltava / Rekommenderat / Anbefalt

EN: Important Notice – Loss of Warranty Due to Welding Work
Please note that any welding work will void all warranty and guarantee claims for both the original product and the welded component.
Welding operations may only be carried out by qualified and appropriately trained personnel.
Subject to technical changes and typographical errors.
DE: Wichtiger Hinweis - Garantieverlust durch Schweißarbeiten
Bitte beachten Sie, dass durch Schweißarbeiten sämtliche Garantie- und Gewährleistungsansprüche sowohl für das Originalprodukt als auch für das geschweißte Bauteil erlöschen.
Schweißarbeiten dürfen nur von qualifiziertem und entsprechend geschultem Personal durchgeführt werden.
Technische Änderungen und Druckfehler vorbehalten.
FR : Avis important - Perte de garantie due à des travaux de soudage
Veuillez noter que tout travail de soudage annulera toute demande de garantie pour le produit d'origine et le composant soudé.
Les opérations de soudage ne peuvent être effectuées que par du personnel qualifié et dûment formé. Sous réserve de modifications techniques et d'erreurs typographiques.
ES: Aviso importante - Pérdida de garantía debido a trabajos de soldadura
Tenga en cuenta que cualquier trabajo de soldadura anulará todas las reclamaciones de garantía tanto para el producto original como para el componente soldado.
Las operaciones de soldadura sólo podrán ser realizadas por personal cualificado y debidamente formado.
Sujeto a cambios técnicos y errores tipográficos.
PT: Aviso importante - Perda de garantia devido a trabalhos de soldadura
Tenha em atenção que qualquer trabalho de soldadura anulará todas as reivindicações de garantia tanto para o produto original como para o componente soldado.
As operações de soldadura só podem ser efectuadas por pessoal qualificado e com formação adequada.
Sujeito a alterações técnicas e erros tipográficos.
FI: Tärkeä huomautus - Takuun menettäminen hitsaustöiden vuoksi Huomaa, että kaikki hitsaustyöt mitätöivät kaikki takuu- ja takuuvaatimukset sekä alkuperäisen tuotteen että hitsatun komponentin osalta.
Hitsaustyöt saa suorittaa vain pätevä ja asianmukaisesti koulutettu henkilökunta. Teknisten muutosten ja kirjoitusvirheiden varalta.
SE: Viktigt meddelande - garantiförlust på grund av svetsarbete Observera att allt svetsarbete gör alla garantianspråk ogiltiga, både för originalprodukten och för den svetsade komponenten.
Svetsarbeten får endast utföras av kvalificerad och lämpligt utbildad personal. Med reservation för tekniska ändringar och typografiska fel.
NO: Viktig merknad - tap av garanti på grunn av sveisearbeid Vær oppmerksom på at alt sveisearbeid vil oppheve alle garanti- og garantikrav for både det opprinnelige produktet og den sveisede komponenten.
Sveisearbeid må kun utføres av kvalifisert og tilstrekkelig opplært personell. Med forbehold om tekniske endringer og typografiske feil.