Collision Repair 22#2

Page 19

Volume 22, Number 2, 2023 THE TOP FIVE TRAITS OF RESILIENT LEADERS  Save money on modern repair tools ECONOMICAL EQUIPMENT GM Marcus Newman makes Capital Collision shine ARE PROFIT SHARING PROGRAMS RIGHT FOR YOUR BUSINESS? MORE INSIDE Canada Post Canadian Publications Mail Sales Product Agreement No. 40841632 l 86 John Street, Thornhill, ON L3T 1Y2 www.collisionrepairmag.com EXPERIENCE BEFORE AGE
Unlock more opportunities for profit at your body shop. Introducing 3M™ RepairStack™ Performance Solutions. Several body shops across the country have already successfully implemented the innovative 3M™ RepairStack™ Performance Solutions. It’s time to take your collision repair business to the next level and benefit from our new hardware and software inventory management platform. *Based on a review of body shops that used the 3M™ RepairStack™ Billables Invoicing software for at least 60 days between Oct. 1, 2021 – Jun. 30, 2022. 3M 2022. All rights reserved. 3M and RepairStack are trademarks or registered trademarks of 3M Company. All the products shown inside the 3M™ RepairStack™ Performance Solutions storage cabinet are sold separately. All products shown inside the cabinet are for illustration purposes only. The 3M™ RepairStack™ Performance Solutions storage cabinet works with both 3M and non-3M products. Unauthorized use prohibited. All other trademarks are property of their respective owners. Please recycle. Printed in USA. Keep track to be on track. Discover now at repairstack.com. “The ability to … track and, more importantly, provide an invoice and receive reporting based on that specific repair in regard to materials used is critical to the profitability of body shops.”
Anderson,
Collision
“The main reason for implementing 3M™ RepairStack™ was to
profitable
Join the top 10% of 3M™ RepairStack™ repair facilities that recovered over $1,000 in repair materials per month* and get paid for costs you never knew were recoverable. For more information or to schedule a demo, please scan the QR code to connect with a 3M digital expert.
Mike
President and Owner of
Advice Group
become
with
my
paint material
and that happened right away. It’s cut my bill in half!” Adan Ibarra, Owner of Leading Edge Collision

50 FEATURES DECISIONS, DECISIONS

With today’s price tags and pressures, equipment purchasing can quickly become a headache—but there are ways to alleviate pressure.

66

FIVE TRAITS OF GREAT LEADERS

Dr. Robyne Henley-Dafoe describes the common traits and practices of powerful leaders.

ISSUE 22#2 | COLLISION REPAIR 3 CONTENTS VOLUME 22, ISSUE 2, 2023 CONTENTS Marcus Newman of Mount Pearl, Newfoundland’s Capital Collision sure knows how to turn a ship around. Hear how the team prospers on in this issue’s cover story. ON THE COVER THE TOP FIVE TRAITS OF RESILIENT LEADERS  Save money on modern repair tools ECONOMICAL EQUIPMENT GM Marcus Newman makes Capital Collision shine ARE PROFIT SHARING PROGRAMS RIGHT FOR YOUR BUSINESS? MORE INSIDE www.collisionrepairmag.com EXPERIENCE BEFORE AGE
26 32 38 CCIF Toronto, through Collision Repair’s camera lens. Industry reps in Saskatchewan show up for the SAAR Spring Conference. See our exclusive scrapbook!
4 COLLISION REPAIR COLLISIONREPAIRMAG.COM CONTENTS CONTENTS 70 72 74 76 78 98 06 68 PUBLISHER’S PAGE By Darryl Simmons TOM’S TALES By Tom Bissonnette GROUND RULES By Meghan McEwan EYES ON ADAS By John Marlowe WHO’S DRIVING By Jay Perry LET’S TALK TRAINING By Stefano Liessi AN INTRICATE WEB By Venessa Di Vito LAST WORD By Allison Rogers COLUMNS 08 82 92 94 12 PEOPLE ON THE MOVE Familiar faces, new roles! NEWS-IN-BRIEF Bit-sized updates from across the industry. REGIONAL NEWS Local news from coast to coast. RECYCLING NEWS The latest news processing through the recycling sector. TOWING NEWS Your hook-up for the latest towing industry news. DEPARTMENTS HAVE YOUR SAY. SUBSCRIBE TODAY! We welcome your comments on anything you see in Collision Repair magazine. Send your feedback to editor@collisionrepairmag.com. YOUR ONLINE SOURCE Canada’s collision repair information resource. New articles and top news stories daily. For more info visit collisionrepairmag.com 58 62 Profit sharing⁠—is it a fit for your team? Find out in this special financial focus. What’s out there for education on EVs? We asked the industry for their opinions on electric efforts. ENTER PETS OF THE BODYSHOP AND YOU COULD WIN A $25 PETSMART GIFT CERTIFICATE 53 Details on page

SRSSIDEAIRBAG COUSSINGONFLABLELATÉRAL

TOAVOIDSERIOUSINJURYORDEATH: •Donotleanagainstthedoor. •Donotuseseatcoversthat Seeblocksideairbagdeployment. owner’smanualformoreinformation.

WARNING AVERTISSEMENT

POURÉVITERDESBLESSURES

GRAVESOUMORTELLES: •Nevousappuyezpascontrelaporte.

•N’utilizezpasuncouvre-siège quipeutbloquerledéploiementdu Voircoussingonflablelatéral.lemanuelduconducteurpour deplusamplesrenseignements.

CONTROLVEHICLEEMISSIONINFORMATION

Fuel: Gasoline

Conformstoregulations: 2015

Californiaclass/stds: PC/ULEVqualified

U.S.EPAclass/stds: LDV/TIER2

Group: FGMXV01.80111.2L

Evap:SFI/HO2S/TWCFGMXR0095805

TIREANDLOADINGINFORMATION

Thecombinedweightofoccupantsandcargoshouldneverexceed352kgor776lbs.

SEEOWNER’S MANUALFOR ADDITIONAL INFORMATION

VEHICLEEMISSIONCONTROLINFORMATION

Conformstoregulations:2016 MY

U.S.EPA:T2B4 LDV

VEHICLEEMISSIONCONTROLINFORMATION

Conformstoregulations:2016 MY Not for sale in states with California emissions standards.

FEDOBDII

TWC/HO2S/WR-HO2S/CAC/TC/DFI

2.3L-Group:GFMXV02.3VJW

Evap:GFMXR0125NBV

Fuel:Gasoline ABZ

California: Not for sale in states with California emissions standards.

Noadjustmentsneeded.

U.S.EPA:T2B4 LDV

TWC/HO2S/WR-HO2S/CAC/TC/DFI

Fuel:Gasoline ABZ

Noadjustmentsneeded. FEDOBDII

2.3L-Group:GFMXV02.3VJW Evap:GFMXR0125NBV

VEHICLEMFD.BYFORDMOTORCO.INU.S.A. DATE: 01/03 GAWR: 2735LB 240 kPa/35 REARGAWR: 3325LB 1508KG P235/70R16SL 16X7.0J GVWR: 5880LB/2667KG WITHTIRES WITHTIRESRIMS PSICOLD TIREANDLOADINGINFORMATION TIRE SIZE COLDTIREPRESSURE 303kpa 44psi 303kpa 44psi 303kpa 44psi Thecombinedweightofoccupantsandcargoshouldneverexceed 505 Kg or 1114Lbs. P265/70R17 P265/70R17 P265/70R17 FRONT REAR SPARE SEEOWNERS MANUALFOR ADDITIONAL INFORMATION SEATINGCAPACITY TOTAL 3 FRONT 3 REAR 0 VEHICLE MFD BY: TOYOTA MOTOR MANUFACTURING, GVWR 4233LB GAWR FR 2668LB RR 2668LB THIS VEHICLE CONFORMS TO ALL APPLICABLE FEDERAL MOTOR VEHICLE SAFETY , BUMPER , AND PREVENTION STANDARDS IN EFFECT ON MANUFACTURE SHOWN ABOVE . PASS. CAR 00000000000000000 KENTUCKY, INC. 02⁄ 04 VEHICLE MFD. BY HONDAOFAMERICA MFG ’10 THIS VEHICLE CONFORMS TO ALL APPLICABLEFEDERAL MOTOR VEHICLE SAFETYAND THEFT PREVENTION STANDARDS IN EFFECTON THE DATE OF MANUFACTURE SHOWN ABOVE.V.I.N.: 00000000000000000 TYPE:MPV STK A AA5 --NH737M --A --A GVWR 2200KG(4894LBS) TIRESIZE RIMSIZE GAWRF 1155KG (2546LBS)P235/55R18 99V 18X7 1 2J GAWRR
99V 18X7 1⁄2J
1080KG (2381LBS)P235/55R18
Order Labels From Our Easy To Use App Download By Scanning Below! New and Improved ADL App Now Available! APPLE STORE GOOGLE PLAY Auto Data Labels
DATE: EXTPNT: RC: DS0: WB BRK INTTR TP/PS R AXLE TR SPR 114 4 GP K 45 V DB F05 UTC THISVEHICLECONFORMSTOALLAPPLICABLEFEDERALMOTOR VEHICLESAFETY STANDARDSIN EFFECTON THEDATEOF MANUFACTURE SHOWNABOVE. 01/03 VIN:TYPE:00000000000000000 MPV
2735LB AT AT 205 kPa/30 240 kPa/35 1240KG P235/70R16SL 16X7.0J REARGAWR:
1508KG P235/70R16SL 16X7.0J
WITHTIRESRIMS PSI COLD WITHTIRESRIMS PSICOLD F0085T0183 UA 13 3U51B
VEHICLEMFD.BYFORDMOTORCO.
FRONTGAWR:
3325LB
GVWR: 5880LB/2667KG
, OBD:II 00000000 FRONT REAR SPARE 215/55R1697H215/55R1697HT125/85R1699 SEATINGCAPACITY TOTAL 4 FRONT 2 REAR 2
240kPa,35PSI420kPa,60PSI
240kPa,35PSI
TIRE SIZE COLDTIREPRESSURE
(SRS)
VEHICLE MFD .BY: TOYOTA MOTOR GVWR 4233LB GAWR FR 2668LB RR THIS VEHICLE CONFORMS TO ALL APPLICABLE FEDERAL MOTOR VEHICLE SAFETY , BUMPER , AND THEFT PREVENTION STANDARDS IN EFFECT ON THE DATE OF MANUFACTURE SHOWN ABOVE . PASS. CAR C⁄ TR : 4Q2 ⁄ LA43 ACV30L--CEPGKA A ⁄TM: --01A ⁄ U241E MADE IN U.S.A. 08270 00000000000000000 KENTUCKY, INC. 02 To Visit Our Website SCAN HERE FOR ADDITIONAL INFORMATION ABOUT AUTO DATA LABELS: visit our website at www.AutoDataLabels.com email us at labels@AutoDataLabels.com or call us at (631) 667-2382 4 EASY WAYS TO ORDER LABELS! DON’T RISK LOSING YOUR VEHICLES IDENTITY! ORDER REPLACEMENT VIN LABELS TODAY! Federal Safety Certification (VIN) Label C /TR : 218 FA2 0 AXAA54L– ANZMBA A/TM : -01A ⁄U B 80F MADE IN U.S.A. 512 THIS VEHICLE CONFORMS TO ALL APPLICABLE FEDERAL MOTOR VEHICLE SAFE TY AND THEF T PREVENTION STANDARDS IN EFFECT ON THE DATE OF MANUFACTURE SHOWN ABOVE. 11 /18 VEHICLE MFD. BY: TOYOTA MOTOR CORPORATION GVWR: 2090KG ( 4610LB ) GAWR: FRT. 1150KG ( 2535LB ) WITH 225/65R17 TIRES, 17X7J RIMS. RR. 1150KG ( 2535LB ) WITH 225/65R17 TIRES, 17X7J RIMS E Replacement label: Not from Toyota JTMP1RFV1KD000000 MPV Contact Us : Contact your LKQ/Keystone Local Sales Rep Upload your photos to the Website: www.AutoDataLabels.com Email your photos: Labels@AutoDataLabels.com Use the App: Download the ADL App And Upload your Photos VIN labels contain vehicle-specific safety information. This information is critical for safe operation and proper repair procedures. • Tire Pressure • Gross Vehicle Weight (GVW) • Paint and Trim Codes • Spare Tire Size

KEEP CURRENT

Lead the charge, power your profits

The number of electric vehicles (EVs) on Canadian roads is growing. About 95 percent of the Canadian vehicle parc remains gasoline-powered, according to 2022 numbers from Statistics Canada, but small waves are starting. In other words, it’s time to decide whether your collision centre will stay current or fade into obsolescence as we stride into the future.

Stay grounded, though. We still have time before EVs claim the bulk of the average bodyshop’s work mix. And Collision Repair mag is here to help you along the way.

According to Mitchell International’s EV collision insights report from February, EV repairable claims frequencies rose to 2.26 percent in Canada during Q4 2022. Of the EV repairable claims processed through Mitchell in Q4 2022, 45 percent were Tesla Model 3s; 17 percent were Model Ys. Nissan Leafs, Hyundai Kona EVs and Chevy Bolts claimed the remaining 38 percent.

ability to repair EVs is cost. The cost of training, the cost of specialized tools, the cost in subscriptions to specialized procedures, the cost of space on the repair floor. Cost in money, cost in time. Cost, cost, cost. If you haven’t caught on…this isn’t breaking news. Plenty of the challenges noted by readers of our magazine revolve around fair pay and the ever rising of being a credible collision repairer.

To truly prepare for the future of our industry— the future of repairs—we all need to understand EVs, and the niche skills takes to properly repair them. This is not a project that can simply be forwarded to the next person in your chain of command. This is serious business. And it needs to start now.

obstacles in a collision centres’ ability to repair EVs is cost. Cost in money, cost in time.

So, the numbers are rising. More EVs on Canadian roads, more EVs in Canadian repair bays. But who is equipped to repair these vehicles? The shops proudly bearing certification seals like Tesla, yes; but those facilities are still found few and far between in most corners of Canada. Our editorial team ran a survey in February 2023, asking readers whether they felt prepared or supported for the incoming onslaught of EVs. As

we expected, were heard many nos.

In the news-in-brief section of this magazine, you’ll read that Teslas are often sent to salvage at severely premature rates. In a compilation of 120 Model Y vehicles (2022 and 2023 models) found on salvage auction listings, the “vast majority” had less than 160,000 kilometres clocked, Reuters reported in February 2023. In our current state, it’s cheaper to send an often-repairable vehicle to the auctions. There are plenty of reasons why this isn’t right—but most importantly, we’re leaving big dollars on the table.

You’ll see in the later pages of this book that one of the biggest obstacles in a collision centres’

That’s why Media Matters and Collision Repair magazine are launching our exciting Keep Current EV Collision Repair Tour, along with our new annual publication, EV Repair magazine; a Special Edition print publication of Collision Repair’s Guide to Electric Vehicles a complementary website, and a new bi-weekly e-zine addressing the situation.

The Keep Current EV Collision Repair Tour will bring expert speakers to discuss the unique challenges and opportunities involved in repairing EVs. Attendees will also see a dismantled display EV, giving them a 3D model of the car’s components.

We’ll be parading this package across Canada, with stops in five major cities. It’s bound to be electrifying! We want you there—visit evrepairmag.com/keep-current-tour or contact james@mediamatters.ca.

Join us in increasing your knowledge and familiarity with EVs. Together, we can ensure that collision repair shops are properly equipped to handle the repair of these advanced vehicles.

PUBLISHER

Darryl Simmons publisher@collisionrepairmag.com

ASSOCIATE PUBLISHER

Orest Tkaczuk | orest@mediamatters.ca

EDITOR

Allison Rogers | allison@mediamatters.ca

ART DIRECTOR

Yvonne Maschke | yvonne@mediamatters.ca

STAFF WRITERS

Max Reid | max@mediamatters.ca

Kate Ng | kate@mediamatters.ca

VP OF INDUSTRY RELATIONS & ADVERTISING

Gloria Mann 647.998.5677 | gd.mann@rogers.com

DIRECTOR OF BUSINESS SOLUTIONS

Ellen Smith 416.312.7446 | ellen@mediamatters.ca

INDUSTRY RELATIONS ASSISTANT Wanja Mann 647.998.5677 wanjamann1@gmail.com

AUDIENCE ENGAGEMENT MANAGER

James Kerr | james@mediamatters.ca

DIGITAL OPERATIONS MANAGER

Cassie Doyle | cassie@mediamatters.ca

MARKETING COORDINATOR

William Simmons | william@mediamatters.ca

INTERNS

Nicole Cooper | nicole@mediamatters.ca

Kayleigh Treverton | kayleigh@mediamatters.ca

CONTRIBUTORS

Tom Bissonnette, Venessa di Vito, Jay Perry, Stefano Liessi, John Marlowe, Meghan McEwen

SUBSCRIPTION

Single edition $7.99 One-year $39.95 ( 6 issues)

Collision Repair ™ magazine is published bimonthly, and is dedicated to serving the business interests of the collision repair industry. It is published by Media Matters Inc. Material in Collision Repair™ magazine may not be reproduced in any form without written consent from the publisher. The publisher reserves the right to refuse any advertising and disclaims all responsibilities for claims or statements made by its advertisers or independent columnists. All facts, opinions and statements appearing in this publication have been compiled and included with the permission, though not necessarily the endorsement, of the editor, or of independent columnist contributors, and are in no way to be construed as those of the publisher, or as endorsements of them.

PRINTED IN CANADA ISSN 1707-6072

CANADA POST CANADIAN PUBLICATIONS MAIL

SALES PRODUCT AGREEMENT No. 40841632 RETURN POSTAGE GUARANTEED

Send change of address notices and undeliverable copies to: 317 Reid St., Peterborough, ON K9J 3R2

“We acknowledge the financial support of the Government of Canada”

Collision Repair magazine is published by Media Matters Inc., publishers of:

6 COLLISION REPAIR COLLISIONREPAIRMAG.COM PUBLISHER’S PAGE
One of the biggest

PEOPLE ON THE MOVE

JIM SAVAS | SPANESI AMERICAS

Spanesi Americas announced that marketing master Jim Savas of Savas Communications has joined the team and will work as a marketing consultant with the repair equipment manufacturer. Savas has more than 40 years of experience representing industry-leading brands like Hot Rod, MotorTrend and National Speed Sports News, including the past 14 years at the helm of ABRN, Motor Age and Aftermarket Business.

AMIN YOUSSEF | FIX NETWORK

Amin Youssef has joined Fix Network as the new regional vice president for Ontario. Youssef will be tasked with representing the repair banner’s brand in Ontario, as part of his new role within the Fix Network. Youssef has found himself in many corners of the automotive aftermarket over the past 12 years of his career, having most recently worked as a general manager for LKQ, in addition to some time spent at UAP.

STU KLEIN | AIA CANADA

The Automotive Industries Association of Canada (AIA Canada) has appointed Stuart Klein as the organization’s senior director of collision, a newly created position. He will join the association’s senior leadership team, directing AIA Canada’s efforts in the collision sector of the industry. Klein brings more than 45 years of collision industry experience to AIA Canada and previously worked in Fix Network’s training facility in Milton, Ontario. He is an advocate of continuous training and has been involved in industry-youth outreach programs.

8 COLLISION REPAIR COLLISIONREPAIRMAG.COM NEWS MOST RELIABLE PRE 8AM DELIVERY SERVICE Call 1-(800)-387-3199 | cardinalcouriers.com Pre 8am Package Delivery Dedicated Logistics Pre 8am LTL Delivery 6600 Goreway Dr., Unit D Mississauga, ON L4V 1S6
Impact Auto Auctions is Now IAA CA.IAAI.com © 2022 IAA, Inc. All rights reserved. BID. BUY. REPAIR.

THE POWER OF PROCOLOR COLLISION

Customer satisfaction is key to the success of any business. So, too, is establishing standards to navigate operations, support the customer journey and grow. But it’s also important to stay nimble and respond to change. The automotive aftermarket isn’t excluded from this. But it adds peace of mind to know strong relationships with insurers, suppliers and fleet companies are there when you need them most.

For the customer, it’s witnessing dedication to safety and quality that provides peace of mind. Knowing that each member of a service team is qualified provides peace of mind.

A team’s commitment to continuous learning provides peace of mind. It takes an awareness of these principles and a formula to implement them that drives success.

Being considered a choice establishment is an achievement in any industry. Providing personalized service that exceeds expectations makes a brand stand out. Ensuring work quality through warranties instills the customer with confidence.

ProColor Collision prioritizes customer experience. It strives to be a repairer of choice. Its shops have deep roots in the communities they serve. Dedication to providing the highest standard of safety and quality repair for customer vehicles is a key element of its operations. And to further evaluate the sentiment of those served, the Customer PRO Satisfaction Program helps reinforce its offerings to deliver a high-quality personal experience for customers.

Each member of ProColor Collision goes through rigorous evaluation, and ongoing training is provided to ensure

teams deliver quality workmanship on every vehicle. A national lifetime warranty that covers labour and paint gives the customer peace of mind.

But guaranteeing a great customer experience can be difficult for independent shops without adequate resources. Advancements in technology are resulting in fewer vehicle repairs. Rising claims costs, decreasing revenue and a longer repair cycle are putting pressure on body shops. Shop owners want to pursue all business available but are being spread thin. The support of a global network can help shield shops from that pressure and offer relief in a highly competitive market.

For 20 years, ProColor Collision has provided an alternative to independent auto-body shops. Belonging to a global network, it presents the balance of local, personalized service with the support of

ADVERTORIAL Join the global brand with a local touch

a large base of resources. Streamlined processes, improving recruitment and retention, marketing support, training opportunities, and guidance on safety standards are just some of the benefits.

Independent shops join ProColor Collision for many other reasons. The partnership helps boost performance, capture more business and improve operational processes. It allows for the transparent relationship with insurers and work providers. Access to newly constructed training facilities and an established training regimen makes it easier for ProColor Collision shops to certify technical staff.

Most ProColor Collision bodyshops have achieved certification from national and international industry bodies like I-CAR. These certifications provide a seal of approval that technicians have the knowledge and training in the most complex mechanical and collision-repair requirements for modern vehicles and based on manufacturer specifications.

Shops within the network are trained on OEM repair methodology. They are provided with support to hold multi-channel local area marketing campaigns. They are part of a consolidated global network that employs best practices from around the world. The brand helps attract, recruit and retain technicians, painters, estimators and other talent.

ProColor Collision shops grow their presence, business and bottom line.

Appreciation for identifying and implementing best practices is a testament to ProColor Collision’s commitment to

excellence. Another measure is taking a consultative approach to business processes, operations, procedures and insurer relationships. In a world rife with uncertainty, insurers in particular value transparency, predictability and quality assurance.

ProColor Collision has built a relationship of trust with insurance companies. That relationship means more business is streamlined to the brand’s shops. And because commitment to quality and delivering peace of mind for customers is paramount, insurers refer their clients to ProColor Collision with confidence.

At the end of the day, becoming a franchisee is a smart business decision that can help take independent bodyshops to the next level. Joining a global network means access to a range of benefits that help provide better service to customers, streamline operations and tap into preferred-provider partnerships with insurers.

Ready to drive your business forward? Learn more about becoming a ProColor Collision franchisee by visiting procolor. com/en-ca/franchise-opportunities or by simply scanning the QR code below.

ADVERTORIAL

HIGH TECH TASK FORCE

Chaired by top executives from industry leaders like Rivian, Lucid Motors and the Automotive Recyclers Association (ARA), those who choose to join CIECA’s new electric vehicle and battery committee will surely be in good company, as the organization devises its path forward for the emerging field. CIECA says its new committee aims to bring together companies and individuals from all industry segments to discuss how EVs will change the current business workflows and data. “The goal is to create new workflows that will show the lifecycle of an EV and its battery,” said CIECA technical project manager, Paulette Reed. To meet this goal, CIECA has selected Frank Phillips, senior manager of Rivian’s North American collision network, his counterpart at Lucid Motors, repair program operations manager Jake Rodenroth and Ginny Whelan, executive director of ARA’s educational foundation, to serve as chairs of the board. This new CIECA committee is open to all member and non-member industry stakeholders who are interested.

DIRE PREDICTIONS

A study backed by electric vehicle (EV) manufacturers Polestar and Rivian warns that the automotive industry will likely miss climate goals by 75 percent, further highlighting that targets would be missed even if all cars sold tomorrow were electric. According to Reuters, the pathway report provides three recommendations to achieve climate targets by the Intergovernmental Panel on Climate Change to limit global warming to 1.5 Celsius by 2050: a firm end date on the sale of fossil-fuel cars, investing more in EV production and creating more renewable energy sources and more sustainable supply chains. The report agrees with Greenpeace’s analysis of the auto industry, which warns that auto sales of combustion engine vehicles are on track to jeopardize the 1.5 Celsius by 2050 target. “Leading auto manufacturers, including Toyota, Volkswagen, and Hyundai, are transitioning far too slowly to zero-emission vehicles, which has dangerous consequences for our planet. As the climate crisis intensifies, governments are enacting stricter bans on diesel and petrol vehicles,” said Benjamin Stephan, climate campaigner at Greenpeace Germany. “If traditional automakers fail to electrify, they will lose out to newer, all-electric competitors and risk stranded assets.”

BLEND BRIEF

The Society of Collision Repair Specialists’ (SCRS) recent blend study is making estimating system providers “reevaluate” the numbers they’ve been reporting, SCRS executive director Aaron Schulenberg told attendees at last week’s board meeting. The study results, first released November 1, showed blending took 31.59 percent longer than a full refinish—not 50 percent less time, as reported by three estimating platform providers. The study involved five primary North American coatings companies, who were not identified, and a full week of blend tests on 45 2018 Ford F-150 parts: 15 RT front door shells, 15 RT fenders and 15 hoods. Both CCC/Motor and Mitchell told Repairer Driven News in November they were reviewing the results of the SCRS’s audited blend study, in collaboration with five primary North American coatings companies. Mitchell told the outlet it was “always open to discussions with SCRS on the subject,” while CCC is working to “review observations, including scope, conditions, techniques and materials used.” The latter said it would share more once its review is concluded.

12 COLLISION REPAIR COLLISIONREPAIRMAG.COM INDUSTRY NEWS
Chairs of the new committee board: Ginny Whelan, ARA; Jake Rodenroth, Lucid Motors; Frank Phillips, Rivian. Schulenberg also stressed that none of the information providers in the study–CCC/Motor, Mitchell International and Audatex–were given the results in advance.

SCHOOL IN SESSION

Axalta Coatings and SATA have announced a new training partnership, replacing the Axalta Training Center in Ajax, Ontario, with Axalta Training at SATA Canada. According to a press release, this partnership will provide Axalta and its refinishing customers access to the new SATA Ontario location. Axalta refinish customers will have access to paint technician courses including tri-coat colour application, matte finishing, micro repair and more classes using Axalta tools. This new location features two spray booths, a classroom, a lunchroom and a fully equipped work area.

GLUE PULLING TOOLS LIKE NEVER BEFORE

Quality products for professional collision repair & PDR technicians

PREMIUM ELITE LOADED CART

CAMAUTO PREMIUM ELITE CART is a heavy duty, mobile cart that helps you carry all your PDR and GPR tools. Equipped with a drawer, and with a steel tab organizer top for better tools and tabs organization, and with two foldable trays, that can be used as a side table, and that can be bent for a better storage space.

INCLUDED IN THE CART:

• ELITE PRO LIGHT PULLER

• ELITE DOUBLE FEET

• LONG LEVER PULLER 3FT

• CAMAUTO HEAT PROTECTION GEL

• CAMAUTO GLUE STICKS (pack of 20)

• UNIVERSAL ADJUSTABLE TABS 24pcs kit

• MINI LIFTER

• BIG KNOCKDOWN

• KNOCKDOWN KIT 4PCS

• 3D TABS 8pcs kit

• 3D CURVE TABS 8PCS

• FLAT TABS 18pcs kit

CRT9920

• 300W UL APPROVED GLUE GUN with temperature adjustment control

• 4 LONG TABS in 2 different sizes

• 15 FLEX TABS in 3 different sizes

• 20 BLACK PLASTIC HOOKS

• 3 PULLING RODS

CONTACT US TODAY FOR MORE INFORMATION OR PRICING!

We currently ship all over the world

camautopro.com

• UNIVERSAL CREASE TABS

• 2 BAR TABS

• SLIDE HAMMER 5LBS

• I-BAR MINI KIT (4 I-bars in 2 different sizes, and 3 aluminum hooks)

100 PREVOST, UNIT 107, BOISBRIAND, QC. J7G 2S2 CANADA

F | T+1 (514) 567 5404

info@camautopro.com

ISSUE 22#2 | COLLISION REPAIR 13 INDUSTRY NEWS
The SATA facility is located at 125 Buttermill Ave. in Vaughan, Ontario. Classes are available two weeks per month. For more information, visit Axalta.ca.

TESLA TAKESIES-BACKSIES

The U.S.’s National Highway Traffic Safety Administration (NHTSA) decided Thursday that they have finally had enough when it comes to Tesla’s Full Self-Driving software, ordering a recall of 362,000 from U.S. roads, which covers 2016 to 2023 Model S and Model X, 2017 to 2023 Model 3 and 2020 to 2023 Model Y vehicles. The call was made to address the potential for the technology to infringe upon local traffic laws, increasing the risk of crashes. The NHTSA said Tesla’s FSD allows its vehicles to “exceed speed limits or travel through intersections in an unlawful or unpredictable manner increases the risk of a crash.”

CALIBRATION CONFUSION

A recent report from the Insurance Institute for Highway Safety (IIHS), entitled “Consumer experiences with crash avoidance feature repairs”, sheds light on the increased prevalence of post-repair issues on components like front crash prevention tech, blind spot detection and cameras, being experienced by drivers today. Of those who responded to the institute’s survey, more than half of those who sought repairs for one of those three components experienced post-repair issues that required a follow-up visit, with blind spot detection being the most frequent offender, requiring a second repair for 62 percent of respondents. Perhaps most interesting to repairers is the finding that despite the majority of drivers reporting that calibrations were performed on their vehicle as part of the repair, those who did not receive calibrations reported fewer post-repair issues with their safety systems. The report suggests this may stem from a common complaint among repairers that access to OEM repair and calibration information is updated extremely frequently, and the cost to access it is often prohibitive for smaller independent repair businesses, therefore forcing some facilities to use outdated scanning equipment.

FLASH SALE

Few things are bad enough to be called a burning wreck. Unfortunately for one man in Cambridge, Ontario, his 2015 Hyundai Sonata turned into one when his car burst into flames right as he pulled into the driveway. In an interview with the CBC, Mike Tennant described how a “large flame came up over the hood,” warning his wife that his car was on fire. According to the CBC, it was only 15 minutes since he picked up the car from a dealership after service on November 9, 2021. More than a year later, there remains no official cause or agreement over who or what was responsible.

The IIHS also found a majority of frequently faulty calibrations are performed on vehicles for crash damage or windshield repair, as opposed to those brought in on the advisement of a recall order or personal recommendation, meaning that many vehicles damaged in collisions are not being adequately restored to preaccident safety levels.

SYNTHESIZED SCANS

Autel and Repairify announced an exclusive collaboration agreement on March 1, with Repairify’s diagnostic, allowing calibration and programming solutions to be exclusively offered through Autel’s remote capable products across North America. According to a company press release, Repairify will integrate its diagnostic, calibration, and programming solutions into a revised version of Autel’s Remote Expert platform. Additionally, customers will have the choice of using certified OEM remote solutions from Repairify or independent remote experts currently on the platform.

14 COLLISION REPAIR COLLISIONREPAIRMAG.COM TECHNOLOGY NEWS
The NHTSA elaborated further, saying “the system may respond insufficiently to changes in posted speed limits or not adequately account for the driver’s adjustment of the vehicle’s speed to exceed posted speed limits.” A photo the owner submitted to the CBC. The remains were sold by Allstate, who did not say whether an investigation was conducted before or after they sold the vehicle for salvage.
Call: 1-800-871-7612 | Click: simplicitycarcare.ca/franchisee Connect: contact@simplicitycarcare.ca Spend more time focusing on your customers and let us simplify the rest. Operational Efficiency Simplify your workflow to increase efficiency and profitability. Insurance Partnerships Connect with and meet the requirements of major insurers. Business Growth Use our proprietary system to service customers and help drive sales. Join One Of Canada’s Fastest Growing Collision Repair Networks

AKZO’S ASCENSION

AkzoNobel reported its Q4 2022 and full-year 2022 financial results in early February, reporting increased revenues driven by price increases. The company reported a 13 percent revenue increase for 2022, compared to 2021. Pricing was up 14 percent. Operating income for the year was reported at €708 million (2021: €1,118 million), resulting from lower volumes, higher raw material and freight costs, inflation on operating expenses and €46 million negative impact from hyperinflation accounting. Adjusted EBITDA was €1,157 million (2021: €1,436 million) For Q4 2022, revenue was up eight percent and nine percent higher in constant currencies; pricing was up 11 percent through the quarter. AkzoNobel also noted the completion of wheel liquid coatings business Lankwitzer Lackfabrik in December 2022; it also finalized a €500 million share buyback.

16 COLLISION REPAIR COLLISIONREPAIRMAG.COM BUSINESS NEWS
FASTENERS BACK GLASS
DENTS BEDLINERS INDUCTOR® PRO-MAX Tag us in your photos #InductionInnovations www.theinductor.com 877-688-9633 Available at www.theinductor.com Do it Faster - Do it Better - Do it Safer The Inductor® Pro-Max uses high frequency magnetic fields to generate Invisible Heat® in metallic car parts without the collateral damage of an open flame to nearby parts. Quickly and easily remove vinyl graphics, moldings, auto glass, windshields, mechanical and suspension parts. > Power supply > Fast-off® Pad > Concentrator > Glass Blaster® > (2) L-Wedges INCLUDES:
AkzoNobel company reported a 13 percent revenue increase for 2022, compared to 2021. Pricing was up 14 percent.
FRAME RAILS
SOFT

UP AT AXALTA

Axalta Coatings posted earnings of 20 cents per share (U.S. dollars) in Q4 2022, compared with 23 cents per share in Q4 2021. In the company’s overall results for 2022, revenues were up nine percent year-over-year to US$1,236.7 million, beating the Zacks Consensus Estimates of US$1,216.6 million. According to the press release, Axalta benefited from higher average price and product mix, as well as improved volumes from 2021.

PPG PROFITS

As with the other big automotive coatings players, PPG also reported increased sales—record-breaking full-year results, in fact. Sales for 2022 were reported at US$17.7 billion, aided by eight percent organic growth, said PPG. Meanwhile, overall sales volumes fell by five percent year-over-year. The company also delivered record net sales for Q4 2022 in the automotive refinish and PPG Comex coatings businesses, said Tim Knavish, PPG president and chief executive officer. PPG said Q4 2022 automotive refinish coatings organic sales grew by “a low double-digit percentage” driven by both higher selling prices and sales volumes.

SHINING AT SHERWIN

Sherwin Williams reported 11.1 percent growth in consolidated sales for 2022, while net sales from retail stores opened for more than 12 months in the U.S. and Canada increased by 11.7 percent through the year. The company said consolidated net sales increased primarily due to selling price increases in all segments, as well as higher sales volumes in the Americas Group. “These factors were partially offset by higher raw material costs across all three segments [in which the company operates],” said Sherwin Williams in a press release.

ISSUE 22#2 | COLLISION REPAIR 17 BUSINESS NEWS
Axalta also reported higher sales across the performance coatings and mobility coatings units; the latter of which was driven by global automotive production recoveries and strong pricing.
“ICBC” Recognized Lasers, NO Targets, NO Adaptors, NO Magnets NO Wires, NO Wi-Fi, NO Bluetooth MITCHELL chassis data QUICKEST, SIMPLEST AND MOST ACCURATE 3D MEASURING SYSTEM IN THE WORLD NEW NOW INCLUDES WHEEL ALIGNMENT DIAGNOSTICS SOFTWARE ACCUVISION-3D® IS RECOGNIZED BY CERTIFICATION PROGRAMS - Certi ed Collision Care - CCIAP - Honda - ICBC accuvision-3D.com arslanauto.com Contact your distributor or Call (800) 465-8575

DIY DAYS

Canadian Tire shares grew nearly 12 percent from January 1, 2023, through February 14, 2023, largely thanks to recent inflation and consumers’ cautious spending habits. Analysts from the Motley Fool expect inflation control to result in further growth for Canadian Tire stocks, the stocks site wrote on Monday, pointing out that the retail giant provides “a top choice for Canadians seeking auto parts” during an economic downturn.

MAGNA’S MARGINS

Magna International shares dropped more than 17 percent after announcing lower-than-expected results for 2022.  The company said it earned US$95 million (33 cents per share) in Q4 2022, down from US$464 million (US$1.54 per diluted share) in Q4 2021.  Analysts had expected profits of US$1.02 per share, according to Refinitiv. Shares dropped 15 percent in the immediate hours following the news.

18 COLLISION REPAIR COLLISIONREPAIRMAG.COM BUSINESS NEWS
The Sentinel™ allows one technician to remove and replace a l type of glass on a wide variety of vehic es including large busses and RV’s
sales@equalizer.com • 512 . 388 .77 15 • equalizer.com
Powered with AirForce™ Techno ogy, the Sentinel™ vacuum cups provide a constant hold to allow movement in a variety of angles to get the right posit on in lifting or setting glass “Canadians are likely to move back toward [Canadian Tire’s] stock for more than just new tires in the months to come,” wrote Canadian market watch site the Motley Fool. Magna’s total sales for 2022, however, were US$9.57 billion, up from last year’s US$9.11 billion.

CWB Automotive Repair Technician Welding Program

NOW AVAILABLE

Get the training and welding qualification you need to stay ahead of the game.

Automotive Welding Qualification is a must-have for all technicians that repair and weld vehicles in your collision repair facility. To achieve the highest quality repair, utilize best practices, and ensure vehicles are properly and safely repaired, choose the CWB Automotive Repair Welding Qualification program for your team. For over 70 years, the CWB Group has provided training and testing services to companies across Canada seeking Certification and Welder Qualification.

CWB Automotive Welding Qualification Benefits

• Automotive Welding Training and Qualification at your own facility with your own equipment

• Ensure all your technicians have the training and skills needed for welding

• Increased skill levels = quality assurance for Collision Repair Facilities

• Satisfies welding certification requirements for most OEM Certification programs

• Third party oversight and onsite training by certified welding specialists

• Enhanced credibility provided by CWB Automotive welding certifications

• Savings when you register multiple technicians to participate

• Technicians receive CWB Automotive Welding accreditation after completing training and testing

Register for Welding Education and Certification today at: www.cwbgroup.org/autorepair Direct Testing scheduling at: cwbautomotive@cwbgroup.org | 1.800.844.6790 ext. 290

GONE TOO SOON

Tesla has been talking big about its in-house insurance platform recently, but some recent reporting from Reuters has found that far too many of the electric automaker’s vehicles are turning up as salvage prematurely. In a compilation of 120 Model Y vehicles found on salvage auction listings, Reuters found that a “vast majority” of the listed vehicles had less than 10,000 miles (approx. 160,000 km.) on the odometer, according to data obtained from Copart and IAA.

ALUMINUM EXCLUSIVITY

BMW North American has restricted more than 100 aluminum structural parts for its vehicles “due to complexity of repair and the requirement of highly specialized tools, training, and repair procedures.” Going forward, parts on the list can only be ordered by facilities with technicians who have completed the required BMW paint and body training courses, including instruction on the OEM’s specific list of approved frame benches, belt sanders, glue cartridge gun, riveting tools, welders, oscillating tools and saw blades. The automaker wrote in its bulletin that it “will be restricting certain aluminum structural parts to ensure the correct repair process is followed and crash performance is not compromised.” The bulletin states that, to be considered eligible to order from the restricted parts list, the technician completing the repair must have completed the BMW Bonding and Riveting Techniques online course (OL5510) and the in-class Aluminum Structural Repair course (SB061), or the BMWi Body Repair Level 2 and 3 courses (SB026E), which are no longer offered but are still recognized.

OE CLARITY

General Motors has issued an updated position statement on its standards for aftermarket glass replacements, hammering home the opinion that non-OEM glass could compromise the safety standards of their vehicles. The legacy automaker asserts that any glass but its own will cause problems with sensor systems that are housed within the windshield. “With the safety of our customers at the center of everything we do, it is critical a service point calibration/learn to be performed whenever a front view windshield camera or sensor is removed and reinstalled or replaced, or when a windshield is removed and reinstalled or replaced,” the statement said.

BODY WATCH

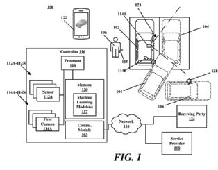
A new patent secured by Ford aims to record and report vehicle body damage instantaneously from the point of impact for immediate communication directly to partners such as insurance and rental companies, according to reporting from Ford Authority. Filed on October 6, 2020, published on January 24, 2023, and assigned serial number 11562570, this latest patent from the Ford Motor Company describes a system that uses cameras integrated into a vehicle’s body to capture damage, from a large collision to a small parking lot door ding. In this way, it will both open immediate dialogue with insurers and emergency services in the case of larger collisions, but also alert drivers to smaller damage they may not have otherwise noticed.

20 COLLISION REPAIR COLLISIONREPAIRMAG.COM OEM NEWS
All the Model Ys in the analysis were 2022 or 2023 models and were built at either the Fremont, California, or Austin, Texas, plant, according to Reuters. Of the 120 listed vehicles, 14 of them were identified as long-range variants of the Model Y that were likely only built within the last year. Ford’s proposed patent system would be capable of distinguishing between different types of damage, gauging damage severity, and filling out a claim rapidly. An email obtained by Repairer Driven News from BMW states that more aluminum parts will be added to the list of restrictions in the future.
Over 90% of Keystone Platinum Plus aftermarket collision repair products are CAPA Certified.
Eligible parts only. Wheels are excluded from CAPA certification but are subject to strict SAE standards. An LKQ Company ® Call Today! (866) LKQ-CORP | (866) 557-2677 or Order Online at LKQCanada.ca/en/ ©2021 LKQ Corporation. PLATINUM GOLD STANDARD IS LIMITED LIFETIME WARRANTY All Keystone Platinum Plus products offer the highest standards and Industry-leading Limited Lifetime Warranty. CAPA CERTIFIED Over 90% of Keystone Platinum Plus aftermarket collision repair products are CAPA Certified. NOTE: Eligible parts only. Wheels are excluded from CAPA certification but are subject to strict SAE standards. ABSORBERS • BUMPERS • BUMPER BRACKETS • BUMPER REINFORCEMENTS • DOORS FENDERS • GRILLES • HOODS • LIGHTING • MIRRORS • STEP BUMPER ASSEMBLIES • WHEELS An LKQ Company ® Call Today! (866) LKQ-CORP | (866) 557-2677 or Order Online at LKQCanada.ca/en/ ©2021 LKQ Corporation.
NOTE:

BATTERY STATUS

Canadian repairers are becoming more capable when it comes to complex EV repairs, according to the debut “Plugged-In: EV Collision Insights” report by Mitchell. The Canadian collision industry has seen EV repairable claims frequency rise to a rate of 2.26 percent in Q4 2022, along with the average percentage of EV parts repaired, which climbed from 11.05 percent to 12.16 percent quarter-over-quarter, demonstrating an improved capability on the part of repairers to fix the lighter weight materials commonly found on EVs. On a model-by-model basis, the Tesla Model 3 makes up 45 percent of the EV repair mix for Canadian collision shops, followed by the Model Y at 17.29 percent, the Nissan Leaf at 7.24 percent, the Hyundai Kona EV at 6.91 percent and the Chevrolet Bolt at 5.19 percent. Concerning repairable claims frequency in various North American EV markets, British Columbia leads the way with an average of 4.47 percent, followed by California with a rate of 3.37 percent and Quebec, which sits at 2.75 percent.

WHO PAYS FOR WHAT?

Of the more than 400 U.S. repair shops that responded to the annual “Who Pays for What?” survey from industry expert Mike Anderson, two out of five reported that they never bill insurers for safety inspections. Among those who do bill, 38 percent say that these charges are either “always” or “most of the time” paid out by one of the U.S.’s eight major insurers, while a nearly equal portion of respondents say they are only paid “some of the time.” Progressive and USAA were found to be the most reliable insurers, in terms of tendency to pay for safety inspections, followed by GEICO, Nationwide and State Farm. Concerning in-process scans, 36 percent of shops that bill for them say they “always” or “most of the time” receive payment. American insurance companies do appear to be mostly on board with pre and post-repair scans, however, with 88 percent of billing shops saying they are always or usually paid for the former, and 91 percent in the case of the latter.

22 COLLISION REPAIR COLLISIONREPAIRMAG.COM INSURANCE NEWS
Repairers are also putting in, on average, 1.7 more labour hours into completing EV repairs as compared to ICE, according to damage appraisals analyzed by Mitchell. In a press release issued alongside the report, Anderson levelled with shop owners about the difficult position charging for safety inspections tends to put them in, saying “My heart bleeds for shops. There are some out there really trying to do the right thing by doing these safety inspections but they’re getting stuck in the middle.”
The men and women of LKQ are passionate about parts and providing the best possible service to our customers. Our world-class product sourcing, recycling, and remanufacturing operations and our more than 20,000 North American employees are the difference between delivering a part that’s just OK and one that’s just right for the job. Feel the passion and find your next replacement part at www.LKQcorp.com Call Us : 866-LKQ-CORP Visit Us Online : www.LKQCorp.com The Passionate Parts People New Aftermarket | Recycled OE | Remanufactured Engines & Transmissions | Paint Products

MIRROR, MIRROR

The penny tread-checking trick won’t work here. The original poster specified that the vehicle owner had to sign a waiver to release the car back into their care. What’s better, yet—it was clearly pouring rain that day.

INSTANT DRIVE-THRU

Some people like car shopping, but two people took it literally when they drove an Audi through the front doors of the Vaughan Mills shopping mall on February 1, 2023. According to Global News, York Regional Police said the break-and-enter happened after 1 a.m., when two suspects used a stolen black 2011 Audi A4 from Quebec to enter the mall and steal from an electronics store.

HEADLIGHT HANDICRAFT

Headlights are expensive nowadays—and customers are getting craftier with DIY replacement methods. Illusions are the latest tactic, as a Reddit user posted a DIY repair involving an orange prescription pill bottle zip-tied to the headlamp housing, accompanied by a clear Tupperware container. As long as you stick to driving during the day, you might be in the clear.

PEDESTRIAN PSA

A threatening bus advertisement recently went viral for seemingly provoking Virgina, United States, drivers to hit jay-walking pedestrians to “let them learn a lesson.” Fear not, Virginia-based pedestrians; the ad was allegedly first seen on TikTok and is believed to be fake.

PREVIA PICKUP

Toyota fans of yesteryear often ask themselves: whatever happened to the Previa? Well, to answer their question, people did stuff like this to them. That’s why the Japanese OEM stopped making them. We can’t have anything nice.

24 COLLISION REPAIR COLLISIONREPAIRMAG.COM CAN YOU BELIEVE THIS?!
The stolen, damaged Audi has since been returned to its original owner, a woman in Quebec, though it still dreams of its mallrat days. Definitely top-ten cringe-worthy repairs. You’d better have your tetanus shot if you plan on driving this bad boy. Spotted in Virgina, U.S.A. This magazine has yet to confirm the effectiveness of the campaign.
At Fix Auto, we are committed to helping ensure your hard work can be passed on. Our training, systems, technology and support give your business the tools it needs to stand the test of time. BECAUSE THE NEXT GENERATION MATTERS FIX AUTO. IT’S A FAMILY THING Contact Daryll O’Keefe at dokeefe@fixnetwork.com or visit fixauto.com/jointhenetwork to find out more. fixauto.com
ON THE COVER 26 COLLISION REPAIR COLLISIONREPAIRMAG.COM

WISE BEYOND HIS YEARS

Marcus Newman proves that ideas beat age in collision repair

As we all surely learned from a popular TV ad campaign about taco shells, sometimes we need to look to our young people for the solutions that may go unseen by aged eyes.

Consider the little girl who first thwarted the binary choice between a soft- or hard-shell taco; so too does Capital Collision of Mount Pearl, Newfoundland cast off the chains of age prejudice and embrace a manager possessive of a rare combination of youth and experience.

Twenty-six-year-old Marcus Newman has only been in the collision repair game for about six years, but the wealth of industry knowledge and technical acumen he has under his belt would make even the most seasoned bodyshop foreman jealous.

In fact, under the young professional’s leadership, Capital Collision was recognized as Consolidated Collision Services’ (CCS) shop of the year, at the banner’s conference this past fall.

There were no tricks or special favours involved in this rapid stream of success—just a natural sense for efficiency and a hell of a lot of legwork.

ISSUE 22#2 | COLLISION REPAIR 27 ON THE COVER

When he got his start in the collision department of the local Mount Pearl dealer group back in 2017, Marcus hit the ground running as an entry-level apprentice and seemed to be set on an upward trajectory from there.

Eventually proving himself a highly capable technician around Capital, being one of the few on staff selected to pursue BMW certification, Marcus’ responsibilities began to expand alongside new opportunities for growth, such as in the estimating department.

“I was doing estimates, but I was also acting as the shop foreman, overseeing everything on the floor,” said Marcus.

As his toolkit of technical skills grew, so too did his knowledge of the industry at large—and with a sudden change of leadership hitting the collision centre around the peak of the second COVID-19 lockdown in 2021—Marcus decided to throw his hat into the ring.

“I put it out there that I could do it,” he said. “I made it my goal to show that I could do it and that age shouldn’t really be a factor.”

And luckily for him, his age really wasn’t a factor. Marcus says he is privileged to work with a team of technicians that he has trained alongside for his entire career.

The thought of some 26-year-old calling the shots for a stable full of seasoned Newfie body techs may cause some managers out there to scoff, but Marcus quickly proved he had a plan to get Capital back on its feet after a particularly rough lockdown period.

And if there was any doubt, his team had his back every step of the way.

“At the time when I took over, we had some structure in place, but we also had some issues with our insurance partners and relationships that had to be mended,” he said, alluding to some administrative changes made to the Capital Collision business over the course of his rise to management.

So, Marcus hit the bricks and started reaching out to all of Capital’s industry contacts, in the hopes of pulling in some consistent repair work and learning along the way how to back his grand plans with positive results.

“We put in place a couple of things, like keeping on top of vendor managers and trying to be open in showing our data and that things are on the mend. Your customer feedback, CSI scores—all that stuff plays a big role in that kind of decision from the insurance companies,” he said.

28 COLLISION REPAIR COLLISIONREPAIRMAG.COM ON THE COVER

“You kind of have to go knocking on doors a little bit when you’re not already in with some of these people.”

Knock and eventually you shall be let in, it turns out, as Capital Collision has since secured repair agreements with Intact and Aviva, which Marcus says was “definitely something we needed to help get back on our feet.”

Since then, Marcus and Capital have been on the slow and steady path toward modernizing the business, putting in place top-ofthe-line estimating and calibrating software, measuring systems, and integrating Axalta Cromex Pro as a primary paint system.

Additionally, Capital Collision’s 1,300 square metres (14,000 sq. ft.) production

space features three prep stations, three paint booths and a full suite of Car-O-Liner welders.

The shop has completed the BMW and Mini Body and Paint Training Program, is a member of the Ford National Body Shop Network, and has certifications from numerous other major OEMs, including Hyundai, Genesis, Infinity, Subaru, Dodge, Jeep, Ram, Nissan and Kia.

While the last few years have put strain on the ability of many collision repair facilities to draw new technicians, Marcus is proud to report that Capital Collision currently has four apprentices working the floor, three of whom are first year apprentices, while the fourth is in their third year and on track to achieve journeyman and Red Seal status.

Some managers reading this may have just had a small heart palpitation at the thought of having not one, but four relatively green technicians working the production floor, but having been one not so long ago himself, Marcus understands the value of investing in his team’s skills early.

“I’ve been leaning on them more as we’ve been getting busier and they have been doing really well,” he said.

“Efficiencies tend to struggle a little because of that, but I feel that in the long run what they are gaining in knowledge will benefit all of us—that way they won’t have to rely on the experienced techs for help.”

It is this sort of attention to quality and perseverance that Marcus attributes the

ISSUE 22#2 | COLLISION REPAIR 29 ON THE COVER
Capital Collision’s 1,300 square metres (14,000 sq. ft.) production space features three prep stations, three paint booths and a full suite of Car-O-Liner welders.

Capital Collision currently has four apprentices working the floor, three of whom are first year apprentices, while the fourth is in their third year and on track to achieve journeyman and Red Seal status.

30 COLLISION REPAIR COLLISIONREPAIRMAG.COM ON THE COVER

centre’s recent shop of the year award win to, as he admits that Capital is by no means the biggest or most profitable shop in the area.

What really impressed CCS enough to recognize Capital, was Marcus’ ability to pull the business from the brink and put what was once a repair centre in between networks, and during a pandemic, back on the radar and into good standing with the Mount Pearl community.

“We had a lot of work to do,” said Marcus. “They saw all the numbers and all the strides we had to take to progress over the last couple of years.”

If there is a lesson that could be taken from Marcus’ story, it is that when conventional wisdom is failing you—challenge it. Seek out new voices and new perspectives from within your team and you may find solutions to problems you didn’t even know you had.

There are no awards for the most cynical shop manager, so there’s no sense competing for that. Why not try to be an open and collaborative manager and see where that gets you.

ISSUE 22#2 | COLLISION REPAIR 31 ON THE COVER

TO REMEMBER A FORUM

Canadian Collision Industry Forum hosts Toronto event

It had been three years—nearly to the date—since the Canadian Collision Industry Forum (CCIF) hosted its annual event in Toronto. It was clear from attendance that the industry had missed the event.

The sold-out event kicked off with a networking reception, where guests were treated to lavish spreads and drinks to complement a five-star networking opportunity. The next day, the festivities continued with a lineup of speakers to highlight current industry happenings—including the state of partner relations, labour shortages, parts delays and more.

The Collision Repair mag team was there with cameras in tow—check out our scrapbook from CCIF Toronto 2023.

32 COLLISION REPAIR COLLISIONREPAIRMAG.COM EVENTS
Story, photos by ALLISON ROGERS Flavio Battilana, CSN; Paul Carrobourg, PPG Canada. Roger Schroder, Car-Part.com; Gloria Mann, Media Matters; Vinesh Mistry, IAA; Steve Fletcher, Automotive Recyclers of Canada; Wanja Mann, Media Matters; John Turner, Simplicity Car Care; Howard Berg, Fuyao North America. Jeff Labanovich, CARSTAR, incoming chairman for CCIF, with Paul Prochilo, Simplicity Car Care, outgoing chairman of CCIF.
ISSUE 22#2 | COLLISION REPAIR 33 EVENTS
Allison Rogers, Collision Repair magazine, and Vince Mattozzo, CARSTAR Canada. Danny Frangione, CSN Bemac Group. Wanja Mann, Media Matters, and Chloe Devine Drouin, AIA Canada. Daryll O’Keefe, Fix Network Canada. Derek Florczyk, Assured Automotive; David Black, Color Compass; Craig Jalbert, 3M. Joe Saputo, CARSTAR Ancaster, and Bing Wong of Canadian Hail Repair. Michael Carcone, Carcone’s Auto Recycling; Gloria Mann, Media Matters. Lion Lang, SATA Canada. Paul Souliere, Trista Anger, BASF Canada; Michael O’Callaghan, Craftsman Collision; Mark Huisman, BASF Canada. Glory Garisto, Kent-Automotive; John Turner, Simplicity Car Care. Joern Stoever, SATA Canada, and Patrice Marcil, Axalta.
34 COLLISION REPAIR COLLISIONREPAIRMAG.COM EVENTS
Bruce Carrick, Audatex; John Donald, Uniparts O.E.M. Rebecca Fyfe and Jenica Bennett, AutoHouse Technologies; Ken Chung, Simplicity Car Care, and Mike Gilliland, AutoHouse Technologies. Sylvain Seguin and Sonia Bouthillette, Fix Network. Steve Gallance, 3M Canada and Terry Groves, Uni-Select. Sean Donaldson and Ryan Bruno, CSN Collision Centres; Gloria Mann, Media Matters and Howard Berg, Fuyao North America. Emile Fremont, Lordco Auto Parts. Stefano Liessi, Canadian Collision Specialist; Trevor Mccullagh, Leader Auto Resources.

Serving your PBE needs for 50 years

36 COLLISION REPAIR COLLISIONREPAIRMAG.COM
Richard Marsh, Justin Brown of Brown’s Auto Supply. Benjamin Perrier and Trista Anger, BASF Canada. Michael St. Germain, Mercedes-Benz Oakville and Marlene Van Zyl, Norton Saint-Gobain Canada. John Marlowe, Level 5 Drive; Allison Rogers, Collision Repair magazine. Mike Beier, Consolidated Collision Services; Larry Jefferies, Collision Builders; John Harvey, CrashBay.com. Ishra Mohammed, Holly Switzer-Pitts and Nalini Faizool, Certified Collision Care/OEC. Kari Barton, Sharon Ashley and Destiny Earle of Bodyshop Connect. Max Reid, Collision Repair magazine; Kim Roberts, Fix Auto Barrie.
At CSN, we charge a flat monthly fee, not a percentage of your sales. That way, you can keep more of your hard-earned money to grow your business. LESS IS MORE. ® csncollision.com Insist on CSN

MEETING IN MOOSE JAW

Saskatchewan Association of Automotive Repairers prove that teamwork makes the dream work

The Saskatchewan Association of Automotive Repairers (SAAR) got a head start on spring, hosting its seasonal conference on February 10 and 11, 2023.

Attended by more than 100 industry representatives and hosted at the luxurious Temple Gardens Hotel and Spa, SAAR’s Spring Conference featured a jam-packed day of insightful speaker sessions, followed by a catered dinner.

Collision Repair mag was in Moose Jaw to capture all the action. See our Saskatchewan scrapbook on the following pages!

38 COLLISION REPAIR COLLISIONREPAIRMAG.COM EVENTS
Tom and Barb Bissonnette, SAAR. The SGI crew, with Jessica Hill Flaman and Ryan Smith of Saskatchewan Government Insurance. Don Pogoda, formerly of Parr Auto Body; Constantino Uliano, Spanesi Americas. Story, photos by ALLISON ROGERS
EVENTS
Sharon Ashley, Bodyshop Connect. Scott Kucharyshen, Saskatchewan Polytechnic, awards Randy Vold of Vold’s Collision a $500 raffle prize. Don Pogoda; Raj Kavia, Kavia Auto Body. Craig Alvaro, 3M, presents on the company’s new RepairStack platform. Bill and Denise Fonstad, Ideal Auto Body. Marty Coonan, LKQ Canada. Domeni Prochilo, Simplicity Car Care. Scott Schkopich, NAPA Auto Parts; Jarred Henrickson and Brock Paul, Cruiser’s CARSTAR Collision. Koos Reineking, Lift Auto Group, and Christie Hall, CARSTAR Canada. Greg Wing, Paul Prochilo, Simplicity Car Care.
40 COLLISION REPAIR COLLISIONREPAIRMAG.COM EVENTS
Rob Dick, Mitchell, and his wife Sherri; Dave Kohonick, Bennett Dunlop Ford; Rose and Bryan Leier, Bennett Dunlop Ford. Terry Hrabowy, Dodge City Collision; Jeryl Olorenshaw, SGI; Bert Cormier, PPG, and wife Tanis. 3M’s Brett McNeil with Garth Wicks from Valley Collision Centre, who went home with a brand-new Festool dust extractor. Donny Hall, CSN Collision Centres; Greg Smith, Lift Auto Group; David Ribeiro, Automotive Retailers Association. Carla and Colin of AAA Dent Repair. Nathan Rust, Chuck’s Auto Body, and Jolene Watson, networking expert and keynote speaker at SAAR.
Division of Division of RUST CHECK CORP. 6175 Danville Road Mississauga, Ontario L5T 2H7 1800-265-0790 ESTABLISHED IN 1972

FLAUNTING THE FUTURE

Latest in products, tools and training at the Auto Electric Service Show

Held every five years, the Regina Auto Electric Service Trade Show hosted its 80th event in mid-March, where more than 100 vendors gathered to show the latest products, tools and training the industry has to offer.

Collision companies in attendance included BETAG North America, Saskatchewan Polytechnic, the Saskatchewan Association of Automotive Repairers (SAAR), PPG, 3M Automotive Aftermarket, Spanesi Americas and Specialty Product Sales.

BETAG took the opportunity to promote its Outer Panel Repair Specialist (OPRS) course offered through Sask Polytech, which instructor Scott Kucharyshen says, “takes repairs to the next level.” The course is designed to help collision centres repair more parts, rather than replace, and is said to drive production by increasing the technician’s capability and efficiency.

Given recent interest, Sask Polyech has upped its course offerings, with four separate classes set to run from August through December this year: two in Saskatoon, and two in Regina.

Brett McNeil was at the show representing 3M Automotive Aftermarket, where he demonstrated the company’s Cubitron II abrasive line and the Festool dustless sanding system.

Josh Stoez of Specialty Product Sales showed off some Canadian-made products, like Uniram’s best-selling UG5000W and UG2000DM gun washer models, as well as Dominion Sure Seal products and “classic equipment” from Innovative Tools, like the new Spray Gun Cabinet Deluxe and various stands.

Constantino Uliano, the Canadian rep for Spanesi Americas, was also in attendance to show off Spanesi’s “360” arsenal of products, from the FLASH pulling system to the Spanesi Touch 3D measuring system, the PULL UP! glue system and more.

PPG’s booth featured the exciting Moonwalk automated paint mixing machine. While popular in Europe, Gilbert Cormier of PPG Canada said the coatings giant is now ready to “get everyone in Canada excited about it.”

“It gives your painters the opportunity to go do something more productive than mixing paint. Mixing paint takes time, we can make mistakes, we can overmix, we have spillage—what this helps is do is stay accurate up to hundredth of a gram—compared to most conventional mixing systems, which stick to a tenth of a gram.

After the user fires a paint code, toner is manually loaded (in no specific order), and a “robot” scans all the barcodes to kickoff the mixing process.

“Me, as a painter—I can do something else. I can go prep, go mask; if I have another job going, I could go finish painting something while Moonwalk does my mixing for me.”

Cormier says Moonwalk is highly efficient in large shops doing between six and eight mixes per day.

“If we look at the cost of a labour minute per technician; say it takes eight minutes to mix paint. Six mixes per day, times eight minutes each time,” explained Cormier.

PPG is offering a five-year lease program for the tool, at approximately US$750, or just over $1,000 per month.

“After that, [shops] have the option to purchase,” he added. “But the benefits of a lease versus a purchase—shops don’t own the maintenance. It’s PPG’s responsibility to fix it, and we will fix it.”

For more information on the Regina Auto Electric Service Trade Show, visit the SAAR Facebook page at www.facebook.com/saarsk for Tom Bissonnette’s exclusive coverage.

42 COLLISION REPAIR COLLISIONREPAIRMAG.COM EVENTS
Brett McNeil of 3M Automotive Aftermarket. Constantino Uliano, Spanesi Americas. Gilbert Cormier, PPG Canada. Art Ewing, BETAG North America; Tom Bissonnette, SAAR; Scott Kucharyshen, Saskatchewan Polytechnic; Dave Flockhart, BETAG North America.

EAST COAST EXPO

Collision community gathers for a lucky St. Pat’s weekend in New Jersey

As the North American automotive aftermarket collectively wakes from winter hibernation it would appear that enthusiasm for industry events has not waned one bit, as the AASP/NJ’s Northeast 2023 Automotive Services Show went off without a hitch on St. Patrick’s Day weekend. Featuring a trade show floor packed with familiar faces from across the collision industry, educational sessions from some of those same experts, and even a friendly bodywork skills competition, this year’s Northeast show had something for everyone.

Collision industry mainstays, like BETAG, AirPro Diagnostics, Axalta, CARSTAR, AkzoNobel, Car-o-Liner and KECO Body Repair, all exhibited their products on the Northeast show floor this year.

Charles Aoun, CEO of Quebec-based CamAuto Pro, told Collision Repair that this year’s show was a true return to form following several years of postponement and poor attendance, on account of the COVID-19 pandemic.

“I believe things are getting back to how they were in previous years,” he said.

“Northeast is the second-biggest show after SEMA, especially for collision repair, so that is why we come.”

Aoun said that his company had its entire suite of products on display for show-goers to take for a spin.

“We did a glue-pulling demo on a used door. We made sure to let everyone use, touch and feel the glue pull tools so that they know how they work.”

Fellow players in the paintless dent repair space, KECO Body Repair was also in attendance at Northeast, displaying its own line of fine dent-pulling products.

“The main thing we were demonstrating was our Level 2E glue pull repair system. Our lateral tension tool, which is also pretty popular, is really a system in of itself,” said Scott Stayton, KECO’s director of marketing and portfolio management.

“Basically, what it does is apply lateral tension away from the damaged area, making it very easy to restore the damage as close as possible [to pre-collision condition] and be ready for paint.”

For KECO, the trip to Secaucus actually proved rather convenient, despite the 20 hour drive from home base in Oklahoma, as Stayton said the team managed to squeeze in a few extra training sessions at some technical institutions along the way.

The show’s main stage was graced by

influential collision industry experts, like Chuck Olsen from AirPro Diagnostics, who spoke on ADAS procedures and how to get paid for them; Mike Anderson from Collision Advice, who offered up proven negotiation tactics for shop managers; and Tim Morgan from Spanesi Americas, who delivered best practices on effective pre-repair planning, to name a few.

On the technician side of things, this year’s Northeast show saw the debut of the Bodywork Bowl Skills Competition for welders, painters and estimators.

Technicians squared off for $500 cash prizes in a variety of collision repair competitions, including a virtual reality painting competition where the top three winners also came away with gift bags from AkzoNobel.

Additionally, winners of the welding competition received, in addition to cash prizes, a new welding mask and smart TV donated by Spanesi Americas, with the top performing tech earning a brand new welding unit.

The AASP/NJ’s Northeast 2023 Automotive Services Show ran from March 17 to 19 at the Meadowlands Exposition Center in Secaucus, New Jersey.

ISSUE 22#2 | COLLISION REPAIR 43 EVENTS
Charles Auon, CamAuto Pro. Dave Luehr, Elite Bodyshop Solutions Danny Gredinberg, Database Enhancement Gateway. Scott Stayton, KECO Body Repair. Tim Morgan, Spanesi Americas. Mike Anderson, Collision Advice. Story by MAX REID

LKQ Monthly Specials

LKQ Monthly Specials

spot and panel refinishing to provide excellent DOI range of topcoats. 1K Low Sealer can be applied over primers on replacement This product is tintable basecoat.

April 1st - 30th, 2023

April 1st - 30th, 2023

On Special!

2 in 1 Primers

Buy 12, Get 1 Free

Buy 12, Get 1 Free

On Special!

1K Low VOC Speed Sealer

1K Low VOC Speed Sealer

Buy 12, Get 1 Free

Buy 12, Get 1 Free

is a ready-to-spray acrylic sealer with good holdout properties and excellent adhesion. This non-sanding sealer is ideal for spot and panel refinishing and is designed to provide excellent DOI under a wide range of topcoats. 1K Low VOC Speed Sealer can be applied over sanded factory primers on replacement parts and panels. This product is tintable with tint paste or basecoat.

is a ready-to-spray acrylic sealer with good holdout properties and excellent adhesion. This non-sanding sealer is ideal for spot and panel refinishing and is designed to provide excellent DOI under a wide range of topcoats. 1K Low VOC Speed Sealer can be applied over sanded factory primers on replacement parts and panels. This product is tintable with tint paste or basecoat.

1 Gallon

2 in 1 Primers

2 in 1 Primers

Buy 12, Get 1 Free

1 Gallon

is a specialty coating designed and convenient priming parts. These primers help seal out moisture, while base for topcoat application metal substrates.

Buy 12, Get 1 Free

is a specialty coating designed for easy and convenient priming of metal and plastic parts. These primers help prevent rust and seal out moisture, while providing a smooth base for topcoat application on metal substrates.

Want to Mix

is a specialty coating designed for easy and convenient priming of metal and plastic parts. These primers help prevent rust and seal out moisture, while providing a smooth base for topcoat application on metal substrates.

20 oz. Aerosol

Want to Mix & Match?

20 oz. Aerosol

Buy12, Get 1 Aerosol

See reverse side for product details and pricing.

See reverse side for product details and pricing.

Buy12,Get 1 Aerosol Primer, Free!

Want to Mix & Match?

Buy12,Get 1 Aerosol Primer, Free!

Transtar 1K Low VOC Speed Sealer

Buy 12, Get 1 Free

Transtar 1K Low VOC Speed Sealer is a ready-to-spray acrylic sealer with good holdout properties and excellent adhesion. This non-sanding sealer is ideal for spot and panel refinishing and is designed to provide excellent DOI under a wide range of topcoats. 1K Low VOC Speed Sealer can be applied over sanded factory primers on replacement parts and panels. This product is tintable with tint paste or basecoat.

Transtar 1K Low VOC Speed Sealer is a ready-to-spray acrylic sealer with good holdout properties and excellent adhesion. This non-sanding sealer is ideal for spot and panel refinishing and is designed to provide excellent DOI under a wide range of topcoats. 1K Low VOC Speed Sealer can be applied over sanded factory primers on replacement parts and panels. This product is tintable with tint paste or basecoat.

Transtar 1K Low VOC Speed Sealer is a ready-to-spray acrylic sealer with good holdout properties and excellent adhesion. This non-sanding sealer is ideal for spot and panel refinishing and is designed to provide excellent DOI under a wide range of topcoats. 1K Low VOC Speed Sealer can be applied over sanded factory primers on replacement parts and panels. This product is tintable with tint paste or basecoat.

Part No.

Transtar 1K Low VOC Speed Sealer Transtar 2 in 1

Part No Description

Description

TRN6091 Gray; 1 Gallon $119.95

TRN6091B Black; 1 Gallon $119.95

Price

TRN6091B Black; 1 Gallon $119.95

Gallon $119.95

TRN6091B Black; 1 Gallon $119.95

TRN6091W White; 1 Gallon $119.95

Want to Mix & Match? Buy 12, Get 1 Aerosol Primer, free!

Transtar

designed for easy of metal and plastic help prevent rust and providing a smooth application on

Safety & Handling

LKQ Dartmouth | 877-301-2639

LKQ Hamilton | 800-747-0601

LKQ London | 888-826-8666

Buy 12, Get 1 Free

2 in 1 Primers are a specialty coating designed for easy and convenient priming of metal and plastic parts. These primers help prevent rust and seal out moisture, while providing a smooth base for topcoat application on metal substrates. 2 in 1 Primers also have excellent flexibility and adhesion properties that enable them to be applied to flexible and rigid parts. 2 in 1 Primers are fast drying, provide superior fill and build, and are easy to sand. They are compatible with virtually all automotive paints.

2 in 1 Primers are a specialty coating designed for easy and convenient priming of metal and plastic parts. These primers help prevent rust and seal out moisture, while providing a smooth base for topcoat application on metal substrates. 2 in 1 Primers also have excellent flexibility and adhesion properties that enable them to be applied to flexible and rigid parts. 2 in 1 Primers are fast drying, provide superior fill and build, and are easy to sand. They are compatible with virtually all automotive paints.

TRN6091W White; 1 Gallon $119.95 Part No.

Description Special

Price

20 oz.

Part No Description

TRN4603 Gray; 20oz. Aerosol $19.95

Special Price

TRN4613 Black 20oz. Aerosol $19.95

TRN4603 Gray; 20oz. Aerosol $19.95

TRN4613 Black 20oz. Aerosol $19.95

TRN4633 White; 20oz. Aerosol $19.95

TRN4613 Black 20oz. Aerosol $19.95

TRN4633 White; 20oz. Aerosol $19.95

Read all directions and warnings prior to using Transtar Products

LKQ Moncton | 877-445-5537

LKQ Niagra Falls | 800-668-9593

LKQ Ottawa | 888-834-3666

LKQ Trenton | 800-267-6306

us

online

TRN4633 White; 20oz. Aerosol $19.95 Offer expires April 30, 2023

Offer expires April 30, 2023

LKQ Upper Brookside | 800-565-2433

LKQ Whitby | 800-747-0601

LKQ Windsor | 800-265-7372

refinishing and is designed DOI under a wide Low VOC Speed over sanded factory replacement parts and panels. with tint paste or Primers 1 Gallon
Aerosol
Mix & Match? Aerosol Primer, Free! Transtar
VOC Speed Sealer
Buy 12, Get 1 Free
1K Low
Safety & Handling Read all directions and warnings prior to using Transtar Products
Transtar 2 in 1 Primer
Part No. Description Special Price TRN6091 Gray; 1
expires
Visit us online at www.LKQCanada.ca/en/ Buy aftermarket parts at Portal.LKQCorp.com/login
Brampton | 800-747-0601 LKQ Dartmouth | 877-301-2639 LKQ Hamilton | 800-747-0601 LKQ London | 888-826-8666 LKQ Moncton | 877-445-5537 LKQ Niagra Falls | 800-668-9593 LKQ Ottawa | 888-834-3666 LKQ Trenton | 800-267-6306 LKQ Upper Brookside | 800-565-2433 LKQ Whitby | 800-747-0601 LKQ Windsor | 800-265-7372 Buy 12, Get 1 Free Buy 12, Get 1 Free Want to Mix & Match? Buy 12, Get 1 Aerosol Primer, free!
Offer
April 30, 2023
LKQ
Primer
Special
Description Special
Price
Visit us online at www.LKQCanada.ca/en/ Buy aftermarket parts at Portal.LKQCorp.com/login LKQ Brampton | 800-747-0601 LKQ Dartmouth | 877-301-2639 LKQ Hamilton | 800-747-0601 LKQ London | 888-826-8666 LKQ Moncton | 877-445-5537 LKQ Niagra Falls | 800-668-9593 LKQ Ottawa | 888-834-3666 LKQ Trenton | 800-267-6306 LKQ Upper Brookside | 800-565-2433 LKQ Whitby | 800-747-0601 LKQ Windsor | 800-265-7372 Buy 12, Get 1 Free Buy 12, Get 1 Free Want to Mix & Match? Buy 12, Get 1 Aerosol Primer, free!
Safety & Handling Read all directions and warnings prior to using Transtar Products
2 in 1 Primer
2 in 1 Primers are a specialty coating designed for easy and convenient priming of metal and plastic parts. These primers help prevent rust and seal out moisture, while providing a smooth base for topcoat application on metal substrates. 2 in 1 Primers also have excellent flexibility and adhesion properties that enable them to be applied to flexible and rigid parts. 2 in 1 Primers are fast drying, provide superior fill and build, and are easy to sand. They are compatible with virtually all automotive paints. Special
Price
TRN6091 Gray; 1 Gallon $119.95
TRN6091W White; 1 Gallon $119.95 Part No
TRN4603 Gray; 20oz. Aerosol $19.95
at
Buy aftermarket parts at Portal.LKQCorp.com/login
Visit
www.LKQCanada.ca/en/
LKQ Brampton | 800-747-0601

TEN YEARS OF TONG

Rick Tong honoured for decade of service with Uniparts O.E.M. Canada

Achievement and success do not happen by accident. Being in the collision industry, you could say accidents help; but in the case of Rick Tong at Uniparts O.E.M. Canada, it was all hard work and dedication.

Uniparts O.E.M. Canada Inc. says it is fortunate to have a strong team. When Uniparts first expanded West of Quebec and Eastern Ontario in 2013, Mike Kaplaniak—now president of Uniparts—began to build a team with Rick Tong. Together, they built the foundation of what Uniparts O.E.M. Canada is today.

Join Collision Repair magazine and Uniparts O.E.M. in congratulating Rick on his significant milestone in reaching this anniversary with Uniparts.

“People are, and always will be the greatest asset,” says the Uniparts team. “Rick, please know that you are an important member of our team and your abilities and contributions will be an important part of our continued success.

Thank you for all that you do and please accept our good wishes on this, your 10-year anniversary with Uniparts. We honor you for the part you play in maintaining our integrity, performance and commitment to service excellence.”

“Since day one Rick has developed strong and substantial relationships with his customers and dealers.” says Mike Kaplaniak. “Over the last 10 years, I have heard consistently from Rick’s customers about the quality of his character and the integrity he displays in his work. The one thing they all say: ‘Rick is a man of his word.’”

46 COLLISION REPAIR COLLISIONREPAIRMAG.COM PROFILE
Rick Tong is celebrating 10 years of working with Uniparts O.E.M. Story by ALLISON ROGERS and MIKE KAPLANIAK

Today, Uniparts has more than 180 dealers in its network, serving over 680 customers across Ontario, Alberta and BC. And together with Unipiece O.E.M., services more than 1,600 customers through over 380 dealers. The company has long served the Canadian

industry and is celebrating its 25-year anniversary in 2023.

Uniparts O.E.M. represents all major brands of OE dealers from Acura to Volvo across Canada. Uniparts offers collision centres a one stop shop service for all their OEM parts needs,

from account set up, negotiation, to back-order parts searches.

“We are the bodyshops’ complete OEM parts management solution with the highest level of service possible,” says the company.

For more information, visit unipartsoem.com

ISSUE 22#2 | COLLISION REPAIR 47 PROFILE
The Uniparts O.E.M. Canada team.

THE ROYAL TREATMENT

With EV expertise and top tools, Royal Auto Collision is fit for the future

At Royal Auto Collision, cars are treated as they should be—like kings and queens. The familyowned facility has been serving Mississauga, Ontario-area customers with the signature Royal treatment for the last 10 years.

The Ayoub family, spearheaded by Sam, president of Royal Auto Collision, and Ferial, CEO, invited Collision Repair magazine to their castle for an up-close look at the well-oiled Royal machine.  Sam has spent more than 25 years in the automotive collision business, continuing a 70+ year legacy in his family. With Royal Auto Collision, the Ayoub family has constructed a “one-stop-shop” for autobody repair, paint and mechanics.

“We are truly a full-service spot for all aspects of auto repair in the Mississauga area,” says Sam.

Cars repaired at Royal are always fixed to the highest industry standard, assure

ADVERTORIAL
Richard Barnes, Customer Service Manager, Royal Auto Collision.

the Ayoubs. Customers leave Royal with peace of mind, knowing their car was repaired to OEM standards with original parts. Plus, each car is meticulously disassembled at the start of the repair process to ensure not a speck of damage goes undetected.

Work moves in a straight line, through the shop like an assembly line, as opposed to a circular work path. Cars start at the back of the production floor and move toward the front of the building, processing through departments all the way to completion.

Customer service manager Richard Barnes says this method has maximized efficiency and flow; the Royal team pushes through an average of 40 cars per week.

The facility is currently certified with both Tesla and General Motors. On any stroll through Royal Auto Collision’s two-building campus, you are certain

to run into more than a few electric vehicles.

“Electric vehicles make up about 30 percent of our work mix,” Ferial told Collision Repair

To meet Tesla certification, one technician per department must be trained and prove their knowledge according to the OEM’s repair procedures. Eight of Royal’s technicians have completed the certification, and Richard says the team is confident in their ability to work with EVs—something few can say, even in 2023.

“Once [our staff] did the training, we were able to see which EVs are similar,” he said. “They took the time to learn, and it’s clearly paid off.”

Richard says Royal is the only Tesla-certified shop in Peel Region, despite the popularity of EVs in the region. Peel authorities say zero-emissions vehicle registrations jumped 40 percent be -

tween April 2021 and February 2022. As of February 2022, Peel Region claimed to have more than 8,000 zero-emissions vehicles registered.

The Ayoubs have invested significant time, energy and resources to outfit their business for the future. They have armed their team with state-of-the-art repair tools like the Celette frame machine, which lives in the facility’s dedicated aluminum room alongside a Eurovac aluminum sanding system; they own a Chief 3D measuring system; two Saima spray booths with tall ceilings and much, much more. Plus, Royal Auto Collision staff are trained in plenty of modern repair techniques and are able to perform on a variety of welders, including GT squeezetype resistance welders, aluminum welders and MIG/MAG units.

For more information about Royal Auto Collision, visit royalautocollision.ca or call 905-282-1622

ADVERTORIAL
At Royal Auto Collision, work moves through the shop, in a straight line, like the assembly process. Customer service manager Richard Barnes says this has proven to be an effective strategy for increasing productivity and throughput.
“ELECTRIC VEHICLES MAKE UP ABOUT 30 PERCENT OF OUR WORK MIX.”
— Ferial Ayoub CEO, Royal Auto Collision

BY THE NUMBERS

Crash course on capital cost claims

We get it—equipping your collision centre with modern equipment is a daunting task. The often-enormous price tags, the training associated with a new tool, making space for a machine...it's a whirlwind to even consider a new addition to your production floor.

New tools pop up on the market every day, and any walk across a trade show floor can send your mind spinning with purchasing considerations. But the tools, while impressive—who’s to say that shiny new tool won’t be obsolete in two years time, right?

With the added consideration of frequent

updates to OEM position statements, plenty of thought must go into any new tooling or training decisions. You must understand the benefits.

The costs don’t make the deal an entirely unfair trade-off, though—with proper equipment and training to match, your team can increase productivity and, in turn, generate more dollars. And, to make matters more palatable, not all equipment must be paid in full, upfront. As Tim Morgan, COO of Spanesi Americas puts it: “You wouldn’t pay your tech five years in advance—so why are you paying for your tools outright?”

50 COLLISION REPAIR COLLISIONREPAIRMAG.COM INDUSTRY INSIGHTS
CSN 427 in Etobicoke, Ontario. The company recently added top-of-the-line systems, including Symach's FixLine repair process and plenty of new equipment.
Story by ALLISON ROGERS

CURRENT VS. CAPITAL EXPENSES

A CAPITAL EXPENSE:

• Generally, gives long-lasting benefit or advantage

• Maintains or improves the property beyond original condition

• May replace a separate asset within the property

• Generally, is of considerable value to the property

A CURRENT EXPENSE:

• Usually recurs after a short period

• Simply restores property to original condition

• Could involve ordinary maintenance of a property/item already in the business; repairing property by replacing a part is usually considered a current expense

1K 3 IN 1

PRIMER SHADE

3 SUBSTRATE OPTIONS:

3 COLOR OPTIONS:

MADE FOR PROFESSIONALS www.spraymax.com

ISSUE 22#2 | COLLISION REPAIR 51 INDUSTRY INSIGHTS
Spanesi's MultiBench system. WHITE GRAY BLACK ALU PLASTIC METAL
“I always tell customers, ‘You wouldn’t pay your tech five years in advance—so why are you paying for your tools outright?’”
— Tim Morgan, COO, Spanesi Americas

CAPITAL COST ALLOWANCE

As of January 1, 2017, the eligible capital property (ECP) system was replaced with the new capital cost allowance (CCA) Class. Equipment could be quantified in the depreciable property category; since these properties may wear out or become obsolete over time, you can deduct their cost over a period of several years. This yearly deduction is called a capital cost allowance (CCA).

To calculate a capital cost allowance (CCA) claim, you should know the meaning of: available for use, capital cost, depreciable property, fair market value, non-arms length transaction, proceeds at disposition and underpreciated capital cost.

The amount you can deduct in a given year for any expense depends on if it is considered a current year expense or capital expense. You can usually claim CCA on property (other than a building) when it becomes available for use, whichever is earliest: the date you first use it to earn income; the second tax year after the year you acquire the property; the time just before you dispose of the property; the time the property is delivered or made available to you, and is capable of producing a saleable product or service. Other rules apply for buildings, parts of buildings or renovations/ alterations.

The capital cost is the amount on which you first claim CCA; it is usually a culmination of the purchase price; legal, accounting, engineering, installation or other fees related to buying or constructing the property and the costs of any additions or improvements (if not already claimed as current expenses).

Depreciable property is any purchase that wears out as it is used over the years, like cars, equipment or other machines. You can claim capital cost allowance on depreciable property.

Fair market value refers to the highest price a business, property or other asset would sell for in an open and competitive market where buyer and seller are dealing at arm’s length with each other. An arm’s length transaction is generally a transaction that reflects ordinary commercial dealings between parties acting in their separate interests. A non-arms length transaction is one that may occur between individuals connected by family or otherwise, though such a transaction can exist between individuals and partnerships, depending on the circumstances.

The proceeds of disposition are usually the amount you receive, or that the CRA considers you to have received for your property. It could include compensation received for damage, expropriated, destroyed or stolen properties.

Underpreciated capital cost, or UCC, is equal to the total capital cost of all the depreciable property in a class, minus the CCA claimed in previous years; meaning the CCA claimed each year reduced the UCC of the property.

The CRA advises to use the declining balance method to calculate your CCA, wherein you apply the CCA rate to the capital cost. Over the life of the property, the rate is applied against the remaining balance. The remaining balance declines each year that you claim CCA, says the CRA. It also stresses that you do not have to pay the maximum amount of CCA in any given year; any amount can be claimed, from zero to the maximum.

More information on CCA and filing claims can be found at www.canada.ca/en/ revenue-agency.

52 COLLISION REPAIR COLLISIONREPAIRMAG.COM INDUSTRY INSIGHTS
To calculate a capital cost allowance (CCA) claim, you should know the meaning of: available for use, capital cost, depreciable property, fair market value, non-arms length transaction, proceeds at disposition and underpreciated capital cost.
DISCLAIMER: All information sourced from federal Canadian government website. Collision Repair magazine does not intend to provide financial advice; always contact your CPA for professional advice before filing any proceedings.

OF THE BODYSHOP

Do you have a hardworking furry friend that comes to work with you? Send us a picture of your shop pet with their name and their “role” in your shop for a chance to be featured in the magazine. Scan the QR code or visit www.collisionrepairmag.com/pet-profile-submissions/

Moose, Lobby Greeter at Fix Auto Stratford

“Moose has been coming to the shop to ‘work’ every day since he was a puppy! He has become our mascot! He enjoys greeting and meeting our guests and has become quite popular with them. Sometimes they return with special treats or toys for him! “His days mostly include snoring his heart out, stinking up offices and being as cute as he can be! He understands what ‘going to the shop’ means and sure does get excited! He is always happy to show off his tricks for some treats! He knows how to sit, roll over, high-five, bang and play dead. “He’s not the hardest-working employee we have but he’s the cutest.”

ISSUE 22#2 | COLLISION REPAIR 53 WHIMSY accuvision-3D.com arslanauto.com Contact your distributor or Call (800) 465-8575 AUTOMATIC, INVERTER RESISTANCE SPOT WELDERS 3664 & 3680 Smart Spot welder Automatic setting of parameters Water cooled for hi productivity 22 ft. long cable, No EMF emissions Output 14,000 Amps, 450 daN or 700 daN Input 50 Amps, 208-240V, 3 Phase Approved by OEMs 3680 model wi-Fi, enabled for factory Updates and diagnostics #60-TM736 ACCUWELD® SINGLE TORCH PULSE MIG WELDER #60-TM742 ACCUWELD® 2 TORCH PULSE MIG WELDER #60-TM750 ACCUWELD® ARC DENT PULLER SYSTEM #60-TM743 ACCUWELD®3 TORCH PULSE MIG WELDER
ENTER NOW AND YOU COULD WIN A $25 PETSMART GIFT CERTIFICATE
PETS

Convenient or concerning? That is what many in the U.S. aftermarket are asking themselves following the launch of Amazon’s new OEM auto parts portal, a new purchasing option that cuts costs and cuts out dealers.

Bruce Halcro, owner of Capital Collision Center in Helena, Montana, spoke to Repairer Driven News about how he thinks the collision community will react to this new avenue of parts sourcing.

“I have not spoken to a shop that is happy with the parts sourcing companies already available,” said Halcro.

“Shops are not going to look favourably on customers sourcing their own parts and supplying them for the repair. This industry already operates on suppressed labour rates—shops would not be able to sustain the parts profit loss too.”

The parts on display in this new virtual store are largely mechanical components, however, Amazon told media that it plans on expanding its selection of parts from new automakers over time. Parts from Tesla, Lincoln, Land Rover, and Mini Cooper are notably excluded from the portal.

54 COLLISION REPAIR COLLISIONREPAIRMAG.COM INDUSTRY INSIGHTS
Amazon enters the parts sector BOOKS, TOYS… AND AUTO PARTS? 3/16/23, 3:34 PM Amazon.com: https://www.amazon.com/b?ie=UTF8&node=24675388011 ExteriorAccessories Car DeflectorsCovers & Shields Grilles & Grille GuardsLights&Accessories TRunningBoards&Steps owingProducts&Winches › All ExteriorAccessories Tires & Wheels Car WheelsTruck Wheels SUV Wheels Car Truck & SUV Tires SnowAccessories Chains TSnowChainBuyingGuide WheelirePressureMonitoring(TPMS) & Tire Care › All Wheels & Tires Car Care Car Care Kits Exterior Care Glass InteriorCare Care › All Car Care Tools&EquipmentDiagnostic& Test Tools Engine Tools HandGarage&Shop Tools &JumpStarters,BatteryChargers Portable Power Tire & Wheel Tools › All Tools&Equipment Motorcycle&Powersports Accessories Accessories Helmets Jackets Pants Parts Protective Gear › AccessoriesAllMotorcycle&Powersports Other Vehicles RJeepParts&Accessories V Parts &Accessories Marine Electronics Car ElectronicsCar Electronics Resource Center Car Stereos CarCarSpeakers Video GPSCarCarAmplifiersSubwoofers Radar&Navigation SatelliteDetectors Radio › All Car ElectronicsEnthusiast Merchandise ChevroletDodgeCorvette ACDELCO ACURA AUDI BMW BRP CHRYSLER DODGE FORD MGENERAL OTORS HONDA HYUNDAI JEEP JLR KIA LEXUS MAZDA MOPAR NISSAN PO SUBARU TO Amazon's OEM Parts Shop At Amazon Automotive we provide our customers a one-stop-shop for their vehicles We strive to offer the best selection ofgenuine parts and accessories from original equipment manufacturers We carry products from AcDelco, Acura, Audi, Chrysler, Dodge, BMW BRP , Ford, Honda, Hyundai Jeep JLR, Kia, Lexus, Mazda, Mopar Nissan Polaris Porsche Subaru, Toyota, Volvo, VW, and Yamaha With fast and convenient shipping Amazon Automotive ensures you get the highest quality parts for your vehicle quickly Amazon will help you find the parts you need to maintain, upgrade, clean and accessorize your vehicle 1-12 of over 20,000 results for Automotive Original Equipment Manufacturer (OEM) Parts M ginal Version Oil Filt 4 8 (7 192) List:$620 $9 07 Motorcraft FL-820-S Oil Filter 4 8 (7 776) List: Save more with Subscribe & Delivery Sat O $579 $8 18 Amazons Choice
Story by MAX REID

Comparable online auto parts marketplaces, like eBay, have faced significant scrutiny in the past from consumer advocacy organizations for unintentionally creating an easy avenue for parts counterfeiting.

In 2021, the Automotive Anti-Counterfeiting Council (A2C2) called on eBay to stop selling airbags and airbag components on its platform as there are currently no safeguards in place to verify their efficacy.

This time around, A2C2 told Repairer Driven News that it is specifically concerned by “the ease with which sellers can gain entry to online marketplaces, the ability of counterfeiters to conceal their activities on these platforms, and consumers’ lack of awareness that many products sold online are counterfeit.

“A2C2 encourages consumers to check the source of auto parts and accessories purchased online and supports legislation such as the INFORM Consumers Act, which was recently signed into law, to help improve transparency in the online purchasing process and allow consumers to more easily identify the source of all products offered on e-commerce platforms such as Amazon.”

Amazon’s new OEM store currently lists parts from AcDelco, Acura, Audi, Chrysler, Dodge, BMW, BRP, Ford, Honda, Hyundai, Jeep, Jeep-Land Rover, Kia, Lexus, Mazda, Mopar, Nissan, Polaris, Porsche, Subaru, Toyota, Volvo, Volkswagen, and Yamaha.

3/16/23, 3:34 PM Amazon.com: Automotive Original Equipment Manufacturer (OEM) Parts: Automotive https://www.amazon.com/b?ie=UTF8&node=24675388011 1/5 Skip to main content Automotive Deals & Gifts Deals & Rebates Outlet Deals Subscribe & Save 15% Automotive Ship to Store Services Tires Brakes Batteries Automotive Specialty Stores OEM Parts Store EV Learning Center RV Lifestyle Page Performance Parts & Accessories Brake System Exhaust System Filters Fuel System Ignition Parts Shocks & Struts Suspension › All Performance Parts & Accessories Replacement Parts Body & Trim Brake System Exhaust System Filters Lighting Shocks & Struts Suspension & Chassis Wiper Blades › All Replacement Parts Truck Accessories Cargo Management Deflectors & Shields Grilles & Grille Guards Tonneau Covers Towing Products & Winches Truck Wheels › All Truck Accessories Interior Accessories Air Fresheners Cargo Liners, Custom Fit Cargo Liners, Full Selection Dash Mats Floor Mats, Custom Fit Floor Mats, Universal Fit Gauges Seat Covers, Custom Fit Seat Covers, Universal Fit Steering Wheels & Accessories › All Interior Accessories Find p ts for your vehicle: Add a new vehic e BELTS HOSES & PULLEYS BODY & TRIM ENGINES & ENGINE PARTS EXTERIOR ACCESSORIES FILTERS INTERIOR ACCESSORIES LIGHTING OILS & FLU DS PA NT & PA NT SUPPL ES TIRES & WHEELS All Shop great deals now Today s Deals Buy Aga n Customer Service G ft Cards Registry Sell Deliver to All son Port Perry L9L 1B EN Returns & Orders Automot ve O igina Equipment Manufacturer OEM) Parts Account & Lists Hello A lison 0 ISSUE 22#2 | COLLISION REPAIR 55 INDUSTRY INSIGHTS The power to choose the right scan type for the job (remote OEM or OEM-compatible) Identify and perform more ADAS calibrations Support from 400+ cer tified technicians Seamless estimatic integration and reporting Learn more at astech.com/simplify Simplify your workflow
Vehicles have never been more complex. For asTech customers, collision repair has never been easier.
A screenshot of Amazon’s OEM parts storefront. While not available on Amazon.ca, many parts on the Canadian site are labelled “OEM” or “exactly as the OEM makes”, with no proof of validity on those statements.

SEE YOURSELF IN SASKATCHEWAN

Opportunity as far as the eye can see

There’s something special about life in Saskatchewan—and the collision repairers of the province can easily prove it to you. The provincial autobody organization—the Saskatchewan Association of Automotive Repairers, or SAAR—is putting the province on display in a series of shop showcases. SAAR wants the industry to know that the communities of Saskatchewan have plenty to offer, both in careers and standard of living.

Any technicians, refinishers or others seeking a new opportunity should seriously consider a future in Saskatchewan—especially if you’re keen to save money, or in search of reasonable housing prices.

In this third installment of our Saskatchewan Shop Spotlight, Collision Repair narrows in on Harv’s Autobody and Towing in Rosthern and Discovery Edge Collision and Glass in Humboldt.

ROSTHERN’S RICH RECREATION

Harv’s Autobody and Towing is stationed almost halfway between the central and south sectors of Saskatchewan, just a 40-minute drive from Saskatoon and three hours from Regina. Not that you’d have much reason to stray far—Rosthern, Saskatchewan has everything you need, according to Elaine and Harv Britton of Harv’s Autobody and Towing.

“When you come to Rosthern, you may think it’s a sleepy little town, but it’s very active,” says Elaine.

The town itself has plenty of new facilities any young family would consider a major asset, including a brand-new K-12 school, a swimming pool, a hospital and a recently-built health centre.

The community is also near plenty of lakes and the Valley Regional Park—which also has an 18-hole golf course. Plus, life in Rosthern is attractively affordable; you can get a nice home for between $230,000 and $250,000, says Harv.

“Families love what we have. The lower costs allow parents to give their kids more chances to participate in extracurriculars like hockey or dance. In many metropolitan areas, you just can’t afford those luxuries. Here, you can, and still pay your mortgage!”

There are careers available for family members that are not part of the automotive industry, too, from openings at the local care centre to retail locations all over town.

Harv’s Autobody is always hiring, whether you’re a painter, tech, tow truck operator or front office expert. The facility has served the Rosthern community since 1990 and offers a sprawling space to perform SGI-accredited work.

“We aim to provide a reliable, stress-free working environment for staff to learn, grow and move forward,” says Harv.

For more information about opportunities at Harv’s Autobody and Towing, contact the facility at 302-232-5506, or scan the adjacent QR code.

ADVERTORIAL
Elaine and Harv Britton, Harv's Autobody and Towing.

HUMBOLDT HOSPITALITY

The sparkling new facility of Discover Edge Collision and Glass could be your new workplace, should you decide to call Humboldt your new home.

Discovery Edge Collision and Glass offers Humboldt-based collision repairers an opportunity to work on a brand-new production floor. The facility is hiring in many areas; Discovery offers services in collision repair, window and glass replacement, small scratch and dent repairs and towing. The facility is I-CAR Gold Class certified, SGI Elite Accredited and can work on “anything and everything” related to passenger vehicles, says operations manager Jeff Litzenberger.

“Humboldt is a great place to grow business,” says resident and local business owner, Adam Tremblay. “We have a wide demographic of opportunities in other fields, too, from mining to manufacturing and retail.”

“Small-town Humboldt is great,” says Ryan Chamberlain, who’s spent ten years working at Discovery. “I’ve got a nice big house with a huge yard!”

Outdoor enthusiasts will thrive in Humboldt, which offers more than 30 acres of parks and open spaces in addition to an ever-expanding trail system. The Uniplex, Humboldt’s recreational facility, features a curling rink, an indoor aquatic centre, a fitness centre and a convention centre.

According to Humboldt residents, it never takes more than five minutes to drive anywhere, and the community offers a safe place to raise a family. Kids can ride their bikes to school without worry, and large homes in nice, quiet communities come with an affordable price tag.

For more information on opportunities at Humboldt’s Discovery Edge Collision and Glass, call 306-682-4407, or scan the adjacent QR code.

ADVERTORIAL
Jeff Litzenberger, field operations manager, Discovery Edge Collision and Glass. The University Bridge in Saskatoon, Saskatchewan. Photo by Mukesh Tanna

WIN AS A TEAM

If there is one thing that makes the collision repair industry lucky, it’s that, when compared to many other industries, many who run collision repair businesses once worked the trade themselves.

Far less often in our field will you find a shop manager without any conception of the sweat and toil required to complete even the most basic dent repair job. Further, the sense of helplessness brought on by less-than-stellar labour rates is a feeling not lost on the best of today’s business leaders.

To that end, many of these top-performing managers will devise extra ways to reward their highly skilled staff for their labour. Some may

choose a group retirement plan, where the staff agrees to have a portion of their wage set aside into a tax-free trust account that will accumulate interest if the employee stays with the company. Other businesses put in place more complex profit-sharing models that aim to promote and reward accountability and quality work through tiered bonus systems.

While both these models have proven effective across numerous industries, there are a few things to keep in mind before you dive whole hog into opening the books with your staff.

That last point is arguably the most important as you need to be ready for all that full financial transparency with your staff entails.

To instil the feeling of ownership and job security intended by a profit-sharing scheme, you need to be prepared to start treating your team as partial owners of your business, and opening up your books is the only way to start. If you are a shop manager who can’t bear the thought of your technicians knowing the details of your finances—think long and hard about who really keeps the lights on in your office.

To be fair, however, the issues that most often arise out of profit sharing schemes tend to be rooted in some amount of financial illiteracy on the part of technicians with no experience in business ownership, so as with any relationship, patience is a prerequisite for both sides.

58 COLLISION REPAIR COLLISIONREPAIRMAG.COM INDUSTRY INSIGHTS
Treat your techs like veterans, and veterans they will become

Put in its simplest terms, a profit sharing system typically implements monthly or quarterly goals and distributes set bonuses from an agreed upon bonus pool to staff when those goals are met.

For example, let’s say a collision repair centre of ten technicians sets aside 10 percent of its quarterly profit to reward staff upon hitting a $20,000 profit goal for that period. If the team hits the goal, each of the ten technicians gets a $2,000 bonus for the quarter, on top of usual pay.

This sort of model usually includes an additional annual bonus, where even if some individual bonus periods don’t meet profit goals, techs still receive a payout so long as the total year-end profit exceeds the set annual goal. That way, when Q1 wildly outperforms Q3 profits, as long as the shop surpasses, say $80,000 for the year, technicians will still receive their Q3 bonus.

But wait, that’s not all, as the implementation of a truly productive profit-sharing plan is not so simple as creating a spreadsheet and writing a few extra cheques.

Managers must understand not just how to operate their profit sharing system, but why they are doing so in the first place.

To touch again on financial literacy; when your staff misses out on their quarterly bonus

because an expensive, but necessary, equipment purchase cut into their profits, what will you tell them? And more importantly, will they be understanding?

To that end, many financial advisors and business planners recommend managers have a picture of where things are heading, expense-wise. If you know you have a list of profit-eating purchases to make, maybe now isn’t the best time to try and split up the remainder and call it a bonus—that is a proven path to resentment from your staff.

The Business Development Bank of Canada (BDC) recommends businesses looking to implement profit sharing plans make use of the “SMART” method for success.

Specific:

Clearly establish the roles and specific responsibilities of those you wish to include in the program. There should be no ambiguity as to what qualifies a staff member for being included in the program.

Measurable:

Set goals for staff that are easy to measure, using metrics like quantity, cost, time, etc. Attempting to assign bonuses based on the perception of effort is a recipe for jealousy and disunity among the team.

ISSUE 22#2 | COLLISION REPAIR 59 INDUSTRY INSIGHTS
“If an auto body shop wants to improve its profitability, it can always implement a balanced scorecard or profit-sharing model. Even if they are not making a profit, by motivating employees in the right manner and encouraging the right things, you might see a positive impact on losses, or potentially even profits.”
— Amit Ashani, CPA
The profit sharing model employed by Simplicity is exclusive to its corporate stakeholders, but Ieraci says similar models can be integrated into businesses on any scale. Amit Ashani, CPA. Domenic Ieraci, Simplicity Car Care

Achievable:

This is where the past experience of managers comes in handy. You must ensure that the goals put in place by the program are realistic for your staff. It is generally agreed that the most baseline bonus tier should be achievable from a relatively average workflow for your shop. If your team is struggling to reap the rewards of even the lowest bonus tier, then are they really being set up to actually share profits?

Relevant:

Set goals need to be directly relevant to those who can actually affect them. Things can get complex here, as to make a profit sharing scheme applicable to an entire business, multiple systems may be required to ensure that reward and responsibility remain equal. For example, if you want your front-end staff involved in your program, don’t make their bonuses dependent on production floor work that is beyond their control. Establish specific and relevant goals for all involved in the sharing of profit.

Time-bound:

While a profit sharing scheme and the culture around it are by no means required to have an expiration date, experts recommend that goals be reassessed on a departmental basis every year, or at least, when a significant change to the business’ finances is expected. In doing so, managers can be kept up to date with whether their team is meeting goals and what changes need to be implemented if they aren’t. At this time, managers should also be transparent about expenses they expect to incur, such as equipment purchases that may have an effect on employee bonuses. If there is any one thing you want your profit sharing plan to be, it is predictable.

While studies on the efficacy of profit sharing programs in the Canadian skilled trades industry, much less the collision repair sector specifically, are sparse to say the least, a great deal has been written on the concept of employee ownership and the insights it can it provide into employee behaviour when labourers drive their own profits.

A May 2022 global report published by private German research firm, IZA World of Labor, found that of 56, 984 firms studied, those that use an employee ownership system tend to experience “a small but significant positive relation, on average, with firm performance.”

“The positive relation exists across firm size, and has increased in studies over time, possibly because firms are learning to implement employee ownership more effectively,” reads an excerpt from the report.

When it comes to questions of when—not if—an employee tries to take a free ride on the hard work their co-workers are putting in to meet bonus goals, shop owners are right to be hesitant about giving their staff such power.

However, in the previously mentioned report, it was found that businesses with an employee ownership system are actually highly effective

in countering what is known as the free-rider phenomenon, with many respondents to a corresponding survey reporting that they would take action if they saw a co-worker impeding staff bonus goals.

Lower staff turnover, reduced absenteeism and increased company pride have also been identified as trends within businesses that operate under an employee ownership model.

Simplicity Car Care president Domenic Ieraci says his company makes an effort to ensure everyone involved in their corporate profit-sharing model doesn’t just feel like an equity owner but learns to think like one as well.

“Even if you are an independent collision repair centre, it’s good to always have your staff, whether it be the technicians or the front office, be aligned to the goals of the centre and be incentivized to support the profitability of that business,” he said over a phone call with Collision Repair

On the flip side, it is important for managers be open with technicians about their potential impact on a shop’s profitability, through both good and poor performance, and help guide their habits to be efficient and profit-forward.

60 COLLISION REPAIR COLLISIONREPAIRMAG.COM INDUSTRY INSIGHTS
Don’t let taboos about discussing finances loom over your business. Less transparency rarely translates to more trust. Whether the profits be modest or massive, the simple gesture of bonus pay is a sure way for shops of any size to secure loyalty for years to come.

Amit Ashari, an Ontario-based CPA who has worked with several body shops to implement profit sharing programs, says that part of financial literacy for technicians involves understanding aspects of the job where potential profit is being sacrificed. If explained correctly, he says that profit sharing can be a highly effective motivating factor for staff.

“If an auto body shop wants to improve its profitability, it can always implement a balanced scorecard or profit-sharing model. Even if they are not making a profit, you might see a positive impact on losses—potentially even profits—by motivating employees in the right manner and encouraging the right things,” said Ashani.

Your technicians may rightly feel frustrated if they are positioned to never hit their goals, however, so Ashani recommends managers be strategic about when and why they choose to start profit sharing at a given time.

“In the first year, it would definitely be difficult. But once a company is not a start-up anymore, and has some level of standardized output, then it is always a good time.”

In the aim of inspiring support and solidarity among team members, some repair facilities employ a less formal “peer-awarded bonus” system.

Under this system, technicians are allowed to issue a set number of bonuses throughout the year to their co-workers. For example, if a tech sees a peer do good work on a repair, they can tell their manager and that technician will be marked to receive a small individual bonus.

Some businesses even use the bonuses as credits for a year-end auction where staff can bid on prizes purchased by the manager. Systems like this can do wonders for cementing a supportive culture around a bodyshop.

Whether you are serious about building a robust profit sharing system, or simply want another way to show appreciation for your staff, there are many ways managers can spread the wealth around, and ideally, build healthy, worker-supportive businesses across the country.

If you are curious, talk to your CPA or business advisor—your technicians will be around to thank you for years to come.

ISSUE 22#2 | COLLISION REPAIR 61 INDUSTRY INSIGHTS
There are many complexities in the collision repair industry. DON’T LET YOUR INVENTORY BE ONE OF THEM.
With KUBE Inventory Management, your inventory will be organized, reliable, and profitable. The system will intuitively automate your supply chain and track consumption, usage, and materials profitability at every turn and any level of complexity.
www.colorcompass.com
While profit sharing schemes do not need to be overly complex, it is important to reassess the terms of agreement regularly to ensure everyone gets a fair slice of the pie.

CROSSED WIRES

Survey suggests the industry wants to learn about EV repair—accessibility is the issue

It’s time for an electric check—is the industry ready and able to embrace its role in the vehicle electrification process?

Collision Repair magazine ran a survey asking readers across the industry for their opinions on electric vehicles. Responses came from various verticals of the sector, including collision repair centre owners and staff (66.7 percent); industry educators (12.1 percent); front-end staff (12.1 percent); suppliers and distributors (6.1 percent) and insurance reps (3 percent).

According to the results, not everyone is prepared to get on board with the electric era. One respondent even said they plan to turn away electric vehicle jobs.

The majority of the industry, however, is prepared to embrace zero-emissions vehicles—if only the circumstances better allowed it.

There are courses out there, like AIA Canada’s EV training program or EVFriendly’s certification for collision repair, and 84.8 percent of respondents agreed that the industry has ample resources for EV repair education and training.

Still, 51.5 percent of respondents said they lack a basic understanding of how to repair EVs compared to ICE vehicles, and the same percentage said they haven’t taken any courses or seen any industry presentations on EV repair.

There are plenty of resources out there—people just appear to be hesitant to read them.

Accessibility and costs are the major obstacles, according to respondent comments. There’s only so much you can learn about EVs online when there’s no physical vehicle in front of you. Not to mention the price of travel, course fees, etc. Then tag the price of equipment required for the jobs.

One survey comment said there “needs to be better compensation for shops, so they can invest.” Otherwise, wrote the respondent, shops will turn away EVs—which they said is currently happening.

The focus of course materials and the lack of specific collision repair information remains another challenge for the sector. Many respondents commented that courses or resources specifically catered to electric vehicle collision repair are needed for any real progress to occur. Others suggest one-on-one courses, where an expert instructor comes to the shop.

Some respondents pointed fingers at industry presentations for “fear-mongering” and giving “the aura of fear to new technology instead of rallying to accept the opportunities before us.”

Overall, the industry does understand the need to understand EV repairs—more than 90 percent of survey respondents said they believe their role will require an understanding of EVs in the next five years. More than 85 percent want to learn how to repair them.

62 COLLISION REPAIR COLLISIONREPAIRMAG.COM STAND UP SPEAK OUT
Story by ALLISON ROGERS

Q: Do you want to learn how to repair EVs?

YES — 87.9% NO — 12.1%

Q: Agree or disagree: I believe my role will require an understanding of EVs in the next five (5) years.

AGREE — 93.9% DISAGREE — 6.1%

Q: Agree or disagree: I already have a basic understanding of how to repair EVs compared to ICE vehicles.

AGREE — 48.5% DISAGREE — 51.5%

Q: Have you taken any courses or seen any industry presentations on EV repair?

YES — 48.5% NO — 51.5%

Q: Agree or disagree: There are ample reliable industry resources for EV repair education and training.

AGREE — 84.8% DISAGREE — 15.2%

ISSUE 22#2 | COLLISION REPAIR 63 STAND UP SPEAK OUT

“I am currently taking AIA Canada and St. Lawrence College’s EV course. A collision-specific course would be very helpful for our industry.”

“To date, there are very poor repair procedures for many makes of vehicles—regardless of the mode of propulsion. Many presentations, though not all, give the aura of fear to new technology instead of rallying to accept the opportunities before us.”

“We are looking at [bringing in] an instructor from Quebec who will do workshops on EVs.”

“In my markets today, EV vehicle repairs would barely register as a percentage of sales, but we know it’s coming. It’s going to be a huge task, but the biggest hurdle will be in affording the training required at our current compensation rates. We’re going to have to utilize sublet vendors (dealers) for a period of time…increasing the cost of claims, but mitigating training expenses and/or equipment we simply cannot afford to purchase.”

“We need training to be provided to more sources, a wider audience than what’s currently available.”

“I am in an EV course and it is very informative. Audatex Inc. Saint Jean in Richelieu, Québec.”

“I will be turning EV repairs away.”

should be made more available and affordable.”

“Being able to repair EVs will require significant investment [from a collision centre]. We need better compensation for the shops, so they can invest. Otherwise, you’ll see shops turn away EV repairs— which is what is currently happening. Those who have invested need to be compensated!”

64 COLLISION REPAIR COLLISIONREPAIRMAG.COM STAND UP SPEAK OUT
Are you ready to embrace change for a secure future? PROCOLOR IS YOUR ANSWER Operational field support Exclusive territory –adds equity to your business Proven experience in winning Insurance work National supply arrangements Full branding and marketing support The power of a global brand Contact Daryll O’Keefe at dokeefe@fixnetwork.com or visit procolor.com/franchise to find out more.

WITHIN THE STRENGTH

Traits and practices of resilient leaders

uildings need foundations. Even a good house of cards needs a sturdy base. Leaders are an integral beam in the foundation of your business. If you are a leader in the workplace—and that doesn’t mean just the bosses—your actions and attitudes will often be mirrored by others. In other words, you’d better

At CSN Collision Centres’ recent conference in Nashville, the network had keynote speaker Dr. Robyne Hanley-Dafoe speak on resiliency, and what it takes to be a resilient leader. A multi-award-winning psychology and education instructor, Dr. Hanley-Dafoe aims to provide practical strategies to foster resiliency in ourselves and our teams. Her presentations are rooted in global research and case studies.

DID YOU KNOW?

DR. ROBYNE SAYS PEOPLE WHO FREQUENTLY CUSS (IN ORDINARY CONVERSATION—NOT IN A VOLATILE WAY) ARE PROVEN TO LIVE LONGER. SHE SAID IT, NOT US.

CORE TRAITS OF RESILIENCY

Dr. Hanley-Dafoe says there are five core traits of resilience:

1 2 3 4 5

BELONGING

Resilient people believe they are part of something bigger; what they do truly matters. Community connections with like-minded individuals can also build strong capacities for resiliency.

PERSEVERANCE

Outlook has a profound impact on one’s ability to process challenges.

ACCEPTANCE

Asking yourself “why” questions is limiting—i.e., why did this happen? It can insinuate you are trying to make sense of something unsolvable. Instead of asking “why” when we confront setbacks, try asking action-oriented questions beginning with “how” and “what”—how can we solve this; what can we do to prevent this same issue?

HOPE

When a leader is full of hope and belief in a team’s ability to excel, the entire group is empowered to achieve a goal.

HUMOUR

Comedy is a vital tool; it’s part of the human condition and plays a significant role in resilience. Strong leaders can see the humour in situations, when appropriate, and not take themselves too seriously.

66 COLLISION REPAIR COLLISIONREPAIRMAG.COM TRAINING
Story by ALLISON ROGERS

ACTIONS OF RESILIENT LEADERS

According to Jerry Patterson and Paul Keller’s 2005 book Resilient School Leaders: Strategies for turning adversity into achievement, resilient leaders;

Assess past and current realities with accuracy

• They expect disruption, look at reality from multiple perspectives and determine the root causes of adversity in their environments.

Stay positive

• They focus on possibilities over obstacles and believe that good things can—and will—happen despite setbacks.

Remain true

• They are clear about what matters most and model behaviours they wish to see from others. Resilient leaders seek feedback to ensure their actions are aligned with their values.

Keep a strong sense of personal efficacy

• They can bounce back from setbacks quickly and celebrate small successes while keeping confidence in their personal efficacy.

Invest personal energy with thought

• They take time to recover and do not overexert themselves to maintain mental focus.

Act with courage

• They remain courageous in the face of strong opposition and acknowledge mistakes to learn from them and remain aligned with values.

1 2 3 4 5

KEY TRAITS OF RESILIENT LEADERS

In the face of the COVID-19 pandemic, author Punjit Renjen outlined five key traits of resilient leaders today:

Design from the heart and the head

• Resilient leaders are empathetic and compassionate while simultaneously taking a hard, rational line to protect financial performance.

Put the mission first

• They will keep their company balanced in a crisis while finding opportunities to push through.

Aim for speed over elegance

• Resilient leaders will take decisive action, with courage, even with imperfect information.

Own the story

• They will be transparent about circumstances, including what they might not know while painting a compelling vision of the future.

Embrace the long-term vision

• They stay focused on the horizon, anticipate emerging business models and spark innovation.

ISSUE 22#2 | COLLISION REPAIR 67 TRAINING
Dr. Robyne Hanley-Dafoe delivers her keynote presentation at the CSN Tuned Up! Conference in Nashville, Tennessee.

REV IT UP

Let’s accelerate the CCCR

Ihave never considered myself to be the smartest person in the world of business, trust me, I have made my fair share of mistakes along the way. One thing I have always done is to show up at industry events and learn from other shop owners.

Whether it was our local association, SAAR, or CCIF, I attended as many events as I possibly could. I picked the brains of some amazing people: John Hume, Joe Schmidt, Jack Ryan and Dennis Corrigan locally; the Mario brothers, Isaac Sneath, Gerry Hauck and Lloyd Giles provincially; then guys like Ken Friesen, Dana Alexander and Glenn Hickey on the national stage. What a privilege it was to learn from these men that literally wrote the book on running a successful business.

When I first took over managing Parr Auto Body in 1986, I immediately knew that I had a tiger by the tail, I was way over my head in terms of experience. Then along came Koos Reineking who calmly took me under his wing and walked me through the process of getting myself up to speed with running a collision shop. I attended many Sikkens events, even an international tour of European Bodyshops where I really had my eyes opened to the potential possibilities.

68 COLLISION REPAIR COLLISIONREPAIRMAG.COM TOM’S TALES
Column by TOM BISSONNETTE
In the 40 years that I have been involved in the collision industry I do not think there has ever been a more crucial time where we all need to be more engaged with the direction our industry is going.

Another major turning point for me was participating in the 3M Auto Repair Management Systems (ARMS) in Vancouver back in 1987. The cost back then was over $3,000 and three days away from the shop—I wasn’t sure if I could make it work, but it literally transformed how I managed our shop going forward.

I soon realized that I did not have to be all that smart, I just had to show up and pay attention then let common sense take over. Over the years I enjoyed each and every event and organization that I belonged to. I learnt from so many good people how to be a better me so that I could have a better business.

Why am I telling you all this stuff?

Quite simply I am realizing that people just don’t connect as much today as we used to in the past. Our shops are more complex and busier so we think we cannot get away—but it is more than that. For example, last year our Tow Truck Association had a conference that included a Beauty Show of all makes and models of tow trucks. They contacted me asking for volunteers, so I sent an email out to our membership, not once but several times eventually begging people to help me for half a day on a Saturday. I did not get any response. I then contacted the Antique Auto Club, all guys over 60 years of age and immediately got about eight volunteers. We had a great time meeting over breakfast then getting to know each other when we formed teams of two to do the judging. I had a great time, but I felt bad that many of our members missed this opportunity.

Is showing up and volunteering a thing of the past?

I have talked to various organizations and witnessed it myself that if a survey is sent out to a group less than 20 percent will take the time to respond to it. Can you imagine that a handful of people are providing the direction for your organization or industry because you could not take time to respond?

How do you feel when your teammates and employees don’t respond to you when you ask for feedback? I certainly hope it is worse than when you post something on Facebook and no one comments! Or maybe you prefer to just make all your business decisions without getting advice from others? That is foolish. Listen, this is your business, and it is serious.

In the 40 years that I have been involved in the collision industry, I do not think there has ever been a more crucial time where we all need to be more engaged with the direction

our industry is going. We all know about the complexity of vehicles today, but there are simpler more basic things that are not being addressed. Things like not getting paid fairly for all the work you perform. We are not a cost recovery business venture, there should be nothing you do that is “the cost of doing business” Today, when we finally have the OEM’s giving us clear directions on how to repair their products, how can we or the insurance company even think about questioning their instructions? Whose neck is on the line, yours or the insurance company?

Folks, right now we have a grassroots movement in Canada called the Canadian Council of Collision Repairers (CCCR) whose mandate is to advocate on behalf of all collision repair shop owners and managers. Currently they have a committed group of leaders from each province in Canada and well over 225 shops have signed up sup porting the idea. Now I have no idea how many bodyshops exist in Canada—though I’m pretty sure it is in the thousands. So, I’m thinking we should have hundreds if not thousands of shops tuning in to see what CCCR is hoping to achieve for the benefit of all shops.

Currently they are undertaking a study of unpaid administration time that would include processing the vehicle for a damage assessment, looking up OEM repair proce dures to provide a safe and quality repair, doing a comprehensive inspection of all the damage and documenting it with pho tos or video, sourcing parts to provide the most cost effective repair then pulling this altogether and providing the insurers with a detailed damage assessment in the form of a computerized document that includes photos to back up what your repair order spells out.

My friend Joe Hinkens wrote a bodyshop operations manual in the late 1990s and he stated that it can take anywhere from three to five hours for every $1,000 in sales—depending on the job being at an independent shop or a dealer bodyshop. Fast forward 23 years and add the complexity of today’s vehicles—can you imagine how much time is involved?

This is a big deal folks and you need to be engaged. CCCR needs your voice and your input, consider getting onboard now by logging in at collisionrepaircouncil.ca.

Once we get the information solidly in place let’s have a respectful conversation with all stakeholders and see where this goes.

ISSUE 22#2 | COLLISION REPAIR 69
TOM BISSONNETTE is the director of the Saskatchewan Association of Automotive Repairers (SAAR). Tom’s Tales is a series of Collision Repair magazine articles chronicling his journey through the collision industry, since 1982. Besides telling his story, Tom hopes that today’s shopowners and manager can learn from his victories—and his mistakes.
OF COLLISION REPAIRERS CANADIAN COUNCIL
Folks, right now we have a grassroots movement in Canada called the Canadian Council of Collision Repairers (CCCR) whose mandate is to advocate on behalf of all collision repair shop owners and managers.

STRENGTHEN SKILLED WORKERS

The leadership-apprenticeship training equation

What does real leadership and coherent management look like in today’s automotive trades setting? Over time, the scope and complexity of our work has increased dramatically, and the use of modern technology has grown exponentially. How are you setting your apprentices up for success?

Consider these strategies:

Group Demos:

Most of your major vendors have reps, whose job it is to assist you with product training.  Use their skills judiciously to help all your shop staff and especially apprentices gain valuable knowledge.  Much of the equipment is complex, and with the current cost of materials, “figure it out” is no longer a viable option when specific training and guidance is necessary.

Financial aid and support:

At the start of my apprenticeship, there were mentors—though few and far between—who were kind enough to provide me with one or two hand me down tools, but it helped get me started. While not “cheap” tools were significantly less “budget destroying” than they are today. The cost associated with equipment and tools has made it all but impossible for the present-day

apprentice to show up on day one with what’s necessary to start work.

Buy them a DA!  Buy them a primer gun!

After all, somebody helped you start out or guided you through and taught you the trade.

Provide significant tool time:

So, they messed something up. This is the learning process and how  you deal with the situation will determine if it’s a win or a lost opportunity! Don’t punish someone for making a mistake. Get them back into the booth or back on the tools.  Stay with them as a guiding hand until they steady their course. Be a mentor.

Lead by example:

“Do as I say, Not as I do” to my knowledge has never been a useful strategy in any endeavor. Demonstrate your personal shop skills and put them into practice every day. That is the mark of true leadership!

Management strategies akin to bullying, telling one what to do, or micro-managing all guarantee diminished morale which equals pending failure on multiple fronts. Real leaders who strive for excellence and success understand that a positive workplace is a major component in their quest.

MANAGEMENT STRATEGIES AKIN TO BULLYING, TELLING ONE WHAT TO DO, OR MICROMANAGING ALL GUARANTEE DIMINISHED MORALE WHICH EQUALS PENDING FAILURE ON MULTIPLE FRONTS.

70 COLLISION REPAIR COLLISIONREPAIRMAG.COM GROUND RULES
MEGHAN MCEWEN is a dual-trade automotive technician and motorsports enthusiast in Vancouver, British Columbia. She can be reached at bullitt1516@gmail.com.

Pump Up Your Business with GoMobile Tires!

Attention shop owners and technicians!

Get ready to take your business to the next level with the ultimate mobile tire solution. Join our team of successful franchise owners and offer your customers convenient and reliable tire services right at their doorstep.

Go with the GoMobile brand, co-brand, or go on your own. Raise awareness of your company and your brand by turning the fully-equipped and modern Mercedes van into a mobile billboard.

Our cutting-edge mobile tire trucks are equipped with state-of-the-art technology, ensuring efficient and accurate services. Our highly trained technicians provide quality services in a timely manner, making us the leading mobile tire company in the industry.

As a franchise owner, you’ll benefit from our established brand recognition, comprehensive training, and ongoing support. With our proven business model and low startup costs, you can be up and running in no time.

You know the business. Now expand on it. Take it on the road.

 Email Us william@gomobiledetail.com  Call Us Anytime 904-844-5280 For more info visit gomobiletires.com Don’t miss this exciting opportunity to join a rapidly growing industry. Contact us today to learn more about becoming a GoMobile Tire franchise owner!

THE ONE-STOP SHOP

On the road to profitability, stay in your lane

Our industry is going through a very interesting time. Consolidation, OE certifications, electrification….so much is happening at the exact point where our shops have largely run out of capacity.

Customer wait times are weeks out—or longer! Parts issues, while improving, are still not even close to resolved. We still lack enough trained technicians to do the work we have. Our workdays are so chock full of activities related to insurance claims administration that many repairers struggle to research even the most critical of OE repair procedures.

Obviously, now would be the very best time to add some new tasks so we can “keep it in house,” right?

“How much are we spending on things like windshield sublets every month? That’s just money going right out the door!”

“Those guys at the alignment shop are making out like bandits, while we are struggling to make any money at all! We should buy an alignment rack!”

Same discussion for protective film application, ADAS calibrations, suspension and exhaust work, anything that gets sublet.

It’s a theme that I’m hearing with increasing frequency, and in many cases, with increasing panic and anxiety.

I suppose that it’s normal for us to look for some sort of silver bullet, a “cure”, when things aren’t working as they should.

Instead of us looking inward and recognizing that we need to change how we do our core business, we’re looking to add something new and unfamiliar in hopes that we might gain a few more precious percentage points on our bottom line.

1. Who will do the glass work? Surely your collision techs are already at their maximum capacity!

2. Who will research the procedures? A quick trip through most OE service manuals will reveal a myriad of sensors, brackets, airbags, and other equipment that must be handled correctly. You won’t need to damage or mishandle very many components before any chance of profitability vanishes.

WHAT MOST OF US NEED TO DO IS TO EXAMINE OUR EXISTING CORE BUSINESS AND UNDERSTAND WHY WE AREN’T ABLE TO GENERATE THE TYPES OF PROFITS THAT WE MIGHT REASONABLY EXPECT GIVEN THE VERY SIGNIFICANT INVESTMENTS WE MAKE IN OUR BUSINESSES.

It is exceedingly unlikely that adding more tasks in your shop will result in greater profitability.

Let’s look a bit closer at bringing glass work in-house…

3. Where will you keep the glass until the vehicle arrives? Or, if you’ve removed some glass as part of the repair process, where and how will you store it until you’re ready to reassemble the vehicle?

72 COLLISION REPAIR COLLISIONREPAIRMAG.COM WATCH YOUR GLASS

Here’s the reality: you will have to pay somebody to do the work. You will have to train them. You will have to create and manage processes for this new element of your business. Most collision repair shops do not have sufficient glass work for a full-time employee. That means that most will have to find another task for that person to perform, and train them to do it, when there is no glass work to do; or, they will have to find someone else to do that person’s regular job while they’re doing glass work.

Now add in some typical issues: windshield leaks, glass was damaged in storage, mist sensors no longer work, there’s a wind noise that wasn’t there before. Smells like false economy.

You already have a good relationship with one or more companies specializing in dealing with auto glass. They are trained. They arrive when you need them, and they aren’t underfoot when you don’t. They often store the glass for you! Is there an issue with the installation? Call them back in!

With a phone call, you get the services of a professional specialist and you still get to make a profit!

Minimal headaches. Zero investment.

You can substitute any of the traditionally sublet activities for this argument.

There are, of course, exceptions. There are some collision repair businesses were adding one or more in-house services makes sense.

What most of us need to do is to examine our existing core business and understand why we aren’t able to generate the types of profits that we might reasonably expect given the very significant investments we make in our businesses.

Is your hourly rate high enough? I’m not talking about the one posted on the wall. I mean the overall hourly rate that you charge in the real world. It can be a delicate balancing act to set a rate that allows you to remain competitive while also allowing your business to invest in training and developing the people who do the work, new technologies and equipment to remain relevant and productive, infrastructure upgrades to keep your building comfortable for your customers and safe and productive for your people. A rate that allows you to pay a decent wage and also to make a reasonable profit for your business.

Are you charging properly for the work you do? Do you hear the phrase “we won’t pay for that,” around your office regularly? Here’s a secret: the insurance company isn’t the enemy. They are not the reason that you aren’t able to charge appropriately for the work you do. If your facility is, like so many others, unable to take in another car in the next two weeks and you’re considering bringing services

in-house because you aren’t making enough money doing collision repairs, then the enemy is you.

Stop making excuses about why you aren’t researching OE procedures. Those are the standards to which we must repair collision damaged vehicles. Research is the key to gaining the documentation required to support the need for the operations and parts that keep getting rejected at the image desk. The insurance company does not repair vehicles. That’s your job. It’s unlikely to be evident to somebody reviewing your collision damage analysis why the front radar must be calibrated on a Ford pickup truck that got hit on the rear bumper. It’s only by researching and then providing supporting documentation that this procedure is likely to be understood as required and therefore owed by the insurance company. It’s also only by researching that you become aware of such things and can then perform a complete repair of a collision damaged vehicle.

If your business isn’t profitable in our current market, changes are in order. However, these changes should be related to correcting/ removing/replacing any obstructions to profitably repairing collision damaged vehicles.

Stay in your lane; stay in control.

ISSUE 22#2 | COLLISION REPAIR 73 WATCH YOUR GLASS
JOHN MARLOWE is the co-founder of Level 5 Drive, a B2B ADAS calibration service catered to collision repair, auto glass, daily rental and mechanical repair providers. He can be reached at info@level5drive.com.

RESPONSE VS. REACTION

It’s easy to become upset with circumstances presented within our day. Mature leaders know that they simply cannot give into the temptation of blowing up at someone. We must respond as opposed to react. This is a very difficult task for a leader as there seems to be a deep-rooted hardwired mechanism in humans allowing our reactions to dominate our response.

Maybe your mom taught you the same as my mom taught me, to count to ten prior to acting out upon an impulse. What our moms were really teaching us is to move our thinking away from reactionary-style thinking to responsive-style thinking. When

There are a couple of tips I can offer to help with the slowing down that is necessary. First, assume positive intent. Very rarely will you come across someone that has deliberately done something to upset you. For the most part people want to please others and especially superiors. They will make mistakes, that is not at issue, but did they make this mistake purposely or inadvertently? Most likely inadvertently. And that is the enabling sentiment we must cling to if we are to start to respond as opposed to react. People don’t make mistakes on purpose.

Some immature leaders will take a mistake or misunderstanding as an excuse to react in

do differently?” or “If you had a ‘re-do’ could you come to me or another team member to get assistance?”

What leaders really miss about these frustrating situations is that there is a teaching opportunity present. They usually waste it blowing up at someone.

So, think it through and respond—that’s how you can stay the one who’s driving!

we slowdown in allowing a reaction to take place, we change our thinking from the oldest part of our brain to the largest part of our brain.

This larger part, called the cerebral cortex, is where conscious thought in logic happens. This access to logic allows us to work out details and see more clearly the potential downside of reactions. We all have regrets for reactions we have made in the past. Only in creating an awareness around this issue can we start to take control of ourselves. That control allows us to plot a superior course to whatever reactionary activity we might be tempted to take.

an adversarial way, launching tirades against the perpetrators. That’s a reaction—not a response. To turn our following action into a response, ask a question such as, “What were you trying to accomplish? ” You will likely see the positive intent of the person; “I thought it would be faster, cheaper, better, easier,” etc. The intention is not evil. From their perspective it is noble—through their perspective, they are trying something to improve results.

Perhaps it has been misplaced but the intention is noble, nonetheless. So, work with this. Ask more questions like, “Are you happy with the results?” or “What would you

74 COLLISION REPAIR COLLISIONREPAIRMAG.COM WHO’S DRIVING
VERY
RARELY WILL YOU COME ACROSS SOMEONE THAT HAS DELIBERATELY DONE SOMETHING TO UPSET YOU.
He can be reached at jayperryally@gmail.com
Column by JAY PERRY
JAY PERRY is the founder of Ally Business Coaching, a process improvement and leadership development firm, and co-author of the book Success Manifesto with Brian Tracy. Jay is also an education partner with California Coast University in Santa Ana, California.
Hold your fire—think it through
EVREPAIR TOUR AND MAGAZINE PRESENTED BY Keep Current EVTOUR EVREPAIRMAG.COM Coming Fall 2023—the brand-new EV Repair magazine, brought to you by the folks at Collision Repair. Sign up for our mailing list—absolutely FREE—and the publication will go from the press straight to your inbox. Don’t miss the essential electric vehicle knowledge and trends at the forefront of collision repair. Some of the topics include OEM tips on EV repair; EV interest among consumers; training courses on EVs across Canada; interviews with EV experts. Subscribe to EV Repair magazine and secure your future in collision repair. To subscribe, scan the QR code or email james@mediamatters.ca Subscribe to the Future Join us, and energize the industry with the brand-new EV Repair magazine

THAT’S INCLUDED IN

THE COST OF DOING BUSINESS

Nice try—no, it’s not

As we look, this month, at finances, I will keep this article a bit shorter as I don’t want to repeat the same points I have in the last piece I wrote, and at a recent conference I spoke at.

To this point, I will only reiterate it once: GET PAID FOR WHAT YOU DO. It is why you are in business, to make a profit. If you were running a charity, the licence on the wall in the office would be one of a charitable foundation and not a business licence.

Those who may not know what article or presentation I speak of can find them on my website and in the most recent issue of Collision Repair magazine. I am not one to sugar-coat a topic or give you some long-winded, runaround explanation that rationalizes a less-than-straightforward concept. So, I will straighten out a few things for some of you who may have been told

otherwise about the Cost of Doing Business.

It has been brought to my attention that there needs to be more clarity about this. The Cost of Doing Business is a term used in accounting and finances related to running a business and can encompass a wide range of items. What I will do here is present this concept in a very straightforward approach.

Let us start with a definition—Cost of Doing Business or “overhead expense” means all costs of doing business incurred in the conduct of the business and shall include without limitation the following items of expense: [indirect administrative] labour (including salaries of executives and officers), rent, interest on borrowed capital, depreciation, selling cost, maintenance of equipment, credit losses, all types of licenses, taxes, insurance and advertising.

The complete list is substantial; this definition

only encompasses a brief portion of the expenses that can fall under this category. To add to this, we would list bank fees and interest, rent, utilities, business vehicles, software, furniture, office supplies, membership dues (including union or other professional affiliations), business meals, business travel expenses, employee retirement plans, employee education plans, employee benefit programs, subscriptions, office equipment, legal fees. etc. These costs are passed on by generating income from repairing vehicles charged out on your ROs using your door rate, a topic for another day.

As you peruse the listed items, you will notice something, not one of these items will you find as a line item on an RO. Strange, my opening statement is to get paid for what you do. You read this list and think to yourself; I do all these things. Yes, you do; however, these

76 COLLISION REPAIR COLLISIONREPAIRMAG.COM LET’S TALK TRAINING

items enable you to run your business, ergo, the cost of doing business. When I say get paid for what you do, I am referring to your business; if you are reading this, it is likely a collision repair facility. Your business is repairing vehicles, which means ANYTHING directly related to the repair of that vehicle; a procedure, a part, an operation; these are all aspects of the actual repair; the cost of doing business allows you to carry out the repair, and the repair is your business.

One-time use items, nuts, bolts, and fasteners are all car parts; they are not shop supplies and materials or a cost of doing business. If an item was on the vehicle from the factory, it is a ‘part.’ If I spend time researching codes, or OE procedures, these are not the cost of doing business; these are required to repair the vehicle; the cost of doing business would be acquiring the software and the scan tool. Applying them to the repair is part of the repair. Quite simple.

In his last article, Tom Bissonnette referred to ‘margin compression,’ which is a direct product of an incorrect analysis, or shortcomings, on your cost of doing business, not to mention other less-than-savoury tactics and stressors placed on shops in our current dynamic. His

article is also well worth the read as it covers aspects of shops’ financial burdens. The title of his article is “The Crux of the Matter.” Always a good read from Tom.

It has been mentioned to me on more than one occasion that this ‘Cost of Doing Business rationalization’ has been presented to estimators and managers on more than one occasion as a justification to cut costs on a repair by a payee. I find it amusing that the individuals that present this are not in this business for themselves; if they were, they would understand otherwise. So, to those uncertain and who inadvertently misused this phrase, now you know.

Here is a web link to a Cost of Doing Business calculator using the expenses listed by the CRA: at npac.ca/cost-of-doing-business-calculator.

Sometimes the answers are already there; you just need to realize it. Getting swayed by hearsay and losing focus on the facts is very easy; sometimes, a simple reminder with a reset and you can get back on track.

I will close out by paraphrasing a gentleman I follow on social media, “you should never let the party that owes you money dictate how much they owe you.” In my opinion, and you are all entitled to my opinion, that is very sound financial advice.

ONE-TIME USE ITEMS, NUTS, BOLTS, AND FASTENERS ARE ALL CAR PARTS; THEY ARE NOT SHOP SUPPLIES AND MATERIALS OR A COST OF DOING BUSINESS. IF AN ITEM WAS ON THE VEHICLE FROM THE FACTORY, IT IS A ‘PART.’

STEFANO LIESSI

As a Red Seal technician, refinisher, and the founder of Canadian Collision Specialist, Stefano enhances his 40 years of experience with 15 years of I-CAR instruction, a post-secondary degree and Skills Alberta training students to bring home 11 medals while as a high school teacher for 6 years. This experience brings you training that encompasses all learning styles. Having experienced the corporate side of the industry through insurance, and management, Stefanos’ focus is, getting it right the first time with proper repairs performed equitably for all involved.

Stefano can be reached at:

sliessi@canadiancollisionspecialist.com or www.canadiancollisionspecialist.com

ISSUE 22#2 | COLLISION REPAIR 77 LET’S TALK TRAINING

The fact that collision repair facilities have a lot on their plate comes as no surprise. After all, they need to keep their customers happy, remain competitive with industry KPIs, and source and retain employees in a very competitive environment. No wonder it’s so tough for an owner, manager or employee to find the time, energy and motivation to take an existing business to the next level in terms of sales and profits.

As a marketing and performance-based solutions company, we are often called in when an automotive business has exhausted all its ideas for growing sales and profits and is now looking for us to provide quick results. And although it’s true that marketing campaigns have the capabilities to provide quick results,

the true value of advertising comes when a business makes a consistent investment in marketing their brand and building awareness within their local markets.

With a little foresight and planning, the money you spend on marketing should provide you with a continuous return on your investment (ROI).

When I think about how best to describe the most effective, valuable, sustainable, and results-driven method of promoting your business, this is the best analogy that I can think of:

Picture marketing like a seed... In order for your business to grow into a beautiful tree, every day you need to water it, feed it, and keep it in the right environment to encourage it to

develop into something really great. Marketing is your water, food, and environment.

In other words, if you’re looking to market your business, the most effective and resultsdriven method comes from adopting the mindset that marketing demands a long term, multi-pronged approach that leads not only to consistent sales growth, but also to consistently greater profits over time.

Yet, while growing a company’s sales and profits sounds great, it’s not something you should think of as an out-of-pocket expense, but rather as an ROI. And businesses need to know that by spending the money in marketing dollars and working with the right company, they should be fully recouping that marketing investment—and more!

78 COLLISION REPAIR COLLISIONREPAIRMAG.COM AN INTRICATE WEB
The formula for measuring your marketing ROI

So, if you’re going to allocate the recommended two-to-five percent to a marketing budget to achieve results for your collision repair facility, is it reasonable to expect to see results and growth greater than two-to-five percent?

The answer is absolutely…and then some!

But how does a shop determine the impact of marketing on the business’ success? At the most basic level, ROI is a direct comparison of the amount of money you spend on a project versus the amount of revenue you gain from it.

For example, if the business is seeing organic sales growth of two percent on average every year for the last five years, then your ROI calculation should be to strip out two percent from the sales growth.

As a result, the equation becomes: (Sales Growth - Average Organic Year over Year Sales Growth - Marketing Cost) / Marketing Cost = ROI

Let's say that your company achieves two percent growth in organic sales year over year, and you decide to hire a marketing company for $1,500 per month.

Assume your total annual sales were $1,500,000 and your total annual marketing expense was $18,000 ($1500 X 12 months). Two percent (or $30,000) would be organic based on historical yearly averages.

THE CALCULATION GOES:

($1,500,000 - $30,000 - $18,000) / $18,000 = 81%

The total Marketing ROI for that year would be 81% BUT—let’s say we are on year two of marketing and we want to measure your Marketing ROI and compare it to year one. This time, your annual sales went up to $1,600,000.00, so the calculation becomes ($1,600,000.00 - $30,000 (in historical sales) - $18,000)/$18,000 = 86%

Great news! There was a five percent increase in Marketing ROI from year one to year two.

ISSUE 22#2 | COLLISION REPAIR 79 AN INTRICATE WEB

VENESSA DI VITO

is the owner and founder of Auto+ Performance. For almost 20 years Venessa has been helping automotive businesses across North America with business best practices and will continue to find ways to support and grow this ever evolving, yet incredibly exciting, industry.

PICTURE MARKETING LIKE A SEED... IN ORDER FOR YOUR BUSINESS TO GROW INTO A BEAUTIFUL TREE, EVERY DAY YOU NEED TO WATER IT, FEED IT, AND KEEP IT IN THE RIGHT ENVIRONMENT TO ENCOURAGE IT TO DEVELOP INTO SOMETHING REALLY GREAT. MARKETING IS YOUR WATER, FOOD, AND ENVIRONMENT.

This is the kind of dramatic improvement you should be seeing when you work with a reputable marketing agency.

But what happens if you don’t want to wait a whole year to find out that your marketing agency is failing to deliver the impressive ROI you deserve to see each month?

Well, any marketing company that’s worthy of your trust should be providing you with performance reports and offering suggestions for making things better—as often as you wish! Furthermore, metrics should include results being tracked month-overmonth and year-over-year to show true results in growth and profits.

Additional metrics that are important include:

• Social Media Marketing: Measuring reach, impressions and engagement

• Website: Existing user count, new user count, page views, bounce rate and authority score are just a few examples of data to measure

• Email Marketing Campaigns: Monitor open rate, number of views, total clicks, total opens, bounces, and new vs. repeat customers

• Ad Campaigns: Measuring reach, link clicks, and cost per click and dollars spent.

As a marketing agency ourselves, we cannot stress this point enough: Whenever you decide to invest in marketing initiatives for your business, be sure you are testing to see if what you’re doing or investing in is truly helping your business to grow.

The goal for any marketing company should be to work as a vital support to their customer’s goals—constantly being on the lookout for new and innovative ways to help the business make money (and spend money) as wisely and efficiently as possible. By helping the business to experience the benefits of a positive and powerful marketing ROI that leads to continuous success and increased profits, that’s what we define as a mutual win/win!

ABOUT AUTO+ PERFORMANCE

Auto+ Performance is a full-service automotive solutions company specializing in generating growth in sales, traffic, and customer retention for a Collision Repair facility within their local communities. The company offers products, services, and solutions around Websites, Social Media Marketing, SEO, Email Marketing, Advertising, Estimating, Jobs & HR Services, Scheduling, Production, Bookkeeping, and much more. You can learn more about them at www.autoplusperformance.com or send them an email at info@autoplusperformance.com.

80 COLLISION REPAIR COLLISIONREPAIRMAG.COM AN INTRICATE WEB
To register for upcoming webinars visit www.collisionrepairmag.com/open-dialogue-webinars/ Webinars are a highly effective way to connect, communicate technology advancements, build awareness of your company’s technical expertise, showcase customer testimonials and explain product differentiators. Each live event is available on demand and promoted on the Collision Repair website for 12 months. Brought to you by Open Dialogue Webinar Series Tune in - it’s just not the same without you! Scan here to sign up for our next webinar, or to watch the ones you may have missed.

CLASS AT CAMOSUN

Camosun College has received a $1.285 million donation the college says will help open the doors to more women pursuing a career in a range of Red Seal trades programs.

The gift from The Gwyn Morgan and Patricia Trottier Foundation is the second time the foundation has supported the Empowering Women in the Trades program and is a five-year commitment. It represents the largest philanthropic gift in the history of the college outside of estate gifts.

CLEARED OF CHARGES

North Vancouver residents, Tesla critics or fans of fire in general, may recall an incident in May where a Tesla Model Y burst into an uncontrollable blaze and prompted a Transport Canada investigation—well, EV advocates can exhale as battery failure has been ruled out as a cause.

Jamil Jutha was driving towards Mountain Highway when his vehicle shut down in the middle of the road. The public spectacle created by the blazing Tesla on a busy Vancouver Street prompted Transport Canada to conduct its own investigation, which ruled out a battery in thermal runaway as the cause.

82 COLLISION REPAIR COLLISIONREPAIRMAG.COM REGIONAL NEWS | BRITISH COLUMBIA
In 2017, the Gwyn Morgan and Patricia Trottier Foundation made a $1,000,000 pledge to create this incredibly important and successful program. As a result of the women-specific programs at Camosun, more than 1,000 women have gone on to pursue a career in high-demand areas such as automotive. Jutha’s vehicle has undergone two official inspections from Transport Canada and ICBC officials in June and August of 2022, where investigators deduced that the fire started closer to the body control module on the left side of the dashboard. (PHOTO: @SonsofVancouver on Twitter).

BOOSTS WITH BETAG

Saskatchewan Polytechnic will host another BETAG Outer Panel Repair Specialist (OPRS) course at its Saskatoon campus from April 3 to June 23, the institution told attendees at the recent Saskatchewan Association of Automotive Repairers event.

The only school in North America to offer the program, BETAG’s OPRS course at Sask Polytech is designed to help collision centres repair more parts rather than replace, driving production by increasing technician capability and efficiency.

At SAAR’s Spring Conference, Sask Polytech’s Scott Kucharyshen informed the industry of just a few of the course benefits. Kucharyshen showed an image of a cab corner on a Dodge truck that took a rear-end hit, resulting in box contact in the cabin. Sask Polytech also plans to run two courses in Regina this fall, so long as they can fill the spots.

According to BETAG, there are government grants available that will cover up to 66 percent of the program cost.

ISSUE 22#2 | COLLISION REPAIR 83
SASKATCHEWAN | REGIONAL NEWS
A PROCESS YOU CAN TRUST. Catalytic Converters • ECUs • Hybrid Batteries UNITED CATALYST CORPORATION UNITED CATALYST CORPORATION • PGM prices DIRECT to your phone twice daily - It’s Free! • Get market prices for Platinum, Palladium, and Rhodium twice each business day. PGM DAILY DOUBLE Subscribe Today! Text “DAILY” to: 844.713.PGMS (7467) www.UnitedCatalystCorporation.com 100 Industrial Blvd. | Fountain Inn, SC 29644 | 864.834.2003 YEAR ANNIVERSARY YEAR ANNIVERSARY
The first graduating class for the Sask Polytech-based BETAG Outer Panel Repair Specialist program.

RATE CAP CLAPBACK

Announced in a joint release from the province’s ministry of finances and affordability and utilities, the Alberta government says it will be “taking action on insurance” through this rate cap, as well as a mandate for insurance companies to allow customers to pay premiums through payment plans.

“Affordability is a primary challenge facing many Albertans as rising inflation makes it challenging for many to afford necessities, including auto insurance,” said minister of affordability and utilities, Matt Jones.

“We are taking decisive action to protect Albertans from increased costs while working to keep Alberta affordable.”

This move, which is regarded as a further step toward rate stabilization on the part of government, has already been met with criticism from the Insurance Bureau of Canada (IBC) who see it instead as kicking the can further down the road.

“Today’s announcement of the government’s decision to freeze insurance rate filings for private passenger vehicles is disappointing for insurers and, most importantly, for consumers,” read part of the IBC’s response to Thursday’s announcement.

“A rate freeze does nothing to improve the affordability of auto insurance in the near term and only pushes today’s challenges down the road.”

The IBC says it is willing to work with the Alberta government to expand on a plan that it says could result in an average premium savings of $325 per driver in the province.

84 COLLISION REPAIR COLLISIONREPAIRMAG.COM REGIONAL NEWS | ALBERTA
OPEN 8 AM - 5 PM MONDAY - FRIDAY Go to www.carcone.com | Call Toll Free 800.263.2022 Or visit us at 1030 Bloomington Road, Aurora, Ontario L4G 0L7 CARCONE’S CARCONE’S AUTO RECYCLING & WHEEL REFINISHING Our state of the art equipment and quality craftsmanship makes us the industry leader in Wheel Refinishing and OEM aftermarket wheels. Your trusted source since 1978 for recycled OEM Parts. Providing quality wheel refinishing for 29 years. Your source for quality recycled OEM parts on all makes and models with 1 million parts guaranteed in stock. We have new products arriving daily. WHEEL REFINISHING RECYCLED PARTS WE SHIP CANADA WIDE. 24-48 hour deliveries to many of the surrounding areas including: Toronto | Mississauga | Scarborough | Port Hope | Brampton | Barrie | Orillia | Cookstown | Alliston | Tottenham C M Y CM MY CY CMY K ai1673372384116_Carcones_COLL_AR_HalfPage_7125x475_FIN copy.pdf 1 2023-01-10 12:39 PM
The IBC contends that during previous rate cap periods in Alberta, customers struggled to secure coverage as insurers lagged on making payouts, despite a 12 percent premium increase while the cap was in place. The organization also cites cases in California as an example, pointing toward past rate caps that forced insurers to limit their policy options to remain viable, effectively reducing choice for consumers and competition for insurers.

SELLEY’S SKILLS

Dorrian Selley, SkillsCanada National competition winner and technician at St. Claude’s Auto Body has claimed a $750 scholarship, courtesy of the Sam Piercey Foundation.

Selley was named national autobody champion at the SkillsCanada 2022 competition, post-secondary category. He first began his automotive career halfway through high school, when he was hired on at a private body shop.

“I worked there for almost five years,” he told Collision Repair.

Selley’s close relationship with his boss cemented his interest in the industry; in fact, he was the one who suggested Selley take a pre-employment course at Red River College.

The Sam Piercey Foundation was established in memory of Sam Piercey, general manager of Budds’ Collision. The idea first began with Sam Piercey Jr., and the foundation officially launched in December 2017 at the annual Budds’ Collision Pig Roast. The foundation aims to provide annual scholarships and funding to students studying or competing in collision repair or paint across Canada.

GREENER PASTURES

The government of Manitoba is providing $150,000 to Eco-West Canada, tasked with installing more EV chargers across the province as the country strives to achieve EV only sales by 2035.

According to a press release on Feb. 23, 2023, the project will partner with six municipalities to support the procurement and installation of seven new Level 3 chargers.

“Transitioning to electric vehicles and increasing access to transit will help reduce greenhouse gas emissions, support a low-carbon economy and ensure affordability for Manitobans,” said Kevin Klein, provincial minister for environment and climate.

✓ OEM certified systems

✓ The most powerful pumps and filtration systems on the market

✓ Complete line of vacuum-ready hand tools

✓ Properly engineered systems

ISSUE 22#2 | COLLISION REPAIR 85 MANITOBA | REGIONAL NEWS
1-800-265-3878 info@eurovac.com
The leader in Dustless Sanding
Systems
Central Vacuum Systems Portable Vacuum Systems You can learn more about Selley’s journey in collision repair in the recent cover story of Bodyworx Professional.

FAIR TRADE

If you live in the Toronto area and have always wanted to try your hand at the trade, a new collaborative program between Tropicana Community Services and Centennial College seeks to give prospective auto body technicians a chance to see if collision repair is the right fit, completely free of charge.

Set to run from April to August of this year, Tropicana says this provincially funded offering of the Auto Body and Collision Damage Repairer 310B Pre-Apprenticeship L-1 program is designed as a stepping stone to apprenticeship for technicians looking to dive right into the trade.

Following the 30-week semester, students will jump straight into a paid work placement that will last from September to November—so Ontario shops can expect some potential hires.

Along with the invaluable work experience itself, the program will also provide students with a free toolkit and course materials, a free TTC Presto Pass for use during the program, as well as eligibility to receive Tropicana’s Student Success Scholarship.

TRADES FAST TRACK

The Ontario government has announced that Grade 11 will now be eligible to enrol in full-time skilled apprenticeship programs.

With this new decision, students looking to pursue a trades education may now opt to begin a full-time apprenticeship program in Grade 11, and upon earning their Certificate of Apprenticeship, apply to receive their Ontario Secondary School Diploma as mature students.

The Ontario government is also currently in consultations to lower the entry requirements of the 106 recognized trades that call for a Grade 12 education, in the aim of filling seats in the province’s woefully under-attended skilled trades classrooms.

“For far too long, parents and students have been told the only path to succeed in life is by going to university, which is simply not true,” said Ontario Labour Minister Monte McNaughton.

“When you have a career in the skilled trades, you have a career for life. Our government will continue to provide students with the tools they need to land well-paying and life-long careers.”

According to the government’s press release, the Ministry of Education is working to recognize up to 30 credits required to earn the Ontario Secondary School Diploma (OSSD) for individuals with a Certificate of Apprenticeship or equivalent.

During the announcement, Ontario Labour Minister Monte McNaughton said the government will continue to “provide students with the tools they need to land well-paying and lifelong careers.” (Photo: Ontario Legislature)

86 COLLISION REPAIR COLLISIONREPAIRMAG.COM REGIONAL NEWS | ONTARIO
Tropicana’s program is open to students between the ages of 18 and 30, are legally entitled to work in Canada, have a Grade 12 diploma or equivalent and can commit to up to 30 weeks of training.

ROAD REPORT

The Ontario Provincial Police reported there were nearly 14,000 more collisions in the province in 2022 than in 2021.

There were 74,173 collisions on Ontario roads in 2022. In 2021, the OPP reported 60,659 collisions. There were 359 motorvehicle fatalities in 2022, compared to 315 fatalities in 2021.

Traffic volume was up last year, compared to 2021 levels, but the OPP stressed that “the increases in fatalities noted in the data should not be viewed or accepted as an inevitable outcome of more people out on roads.”

RETURNED AT LAST

An outgoing shipment of stolen vehicles is on the way back home to their owners, with 64 vehicles valued at $3.5 million being repatriated with the assistance of the Canada Border Service Agency (CBSA) and the Malta Port Authority.

According to the York Regional Police’s Auto Cargo Theft Unit, the vehicles were located inside shipping containers in the Republic of Malta, ready for illegal sale.

This rescue can be attributed to the York Regional Police’s “Project Majestic,” an investigation into a criminal syndicate responsible for high-end vehicle thefts from residential driveways across the Greater Toronto Area.

Suspects entered the vehicle and reprogrammed the ignition computers with new keys, transporting them to the Port of Montreal before delivering the vehicles by sea to buyers in the United Arab Emirates and Africa.

ISSUE 22#2 | COLLISION REPAIR 87 ONTARIO | REGIONAL NEWS
Under “Project Majestic,” A total of 18 people were arrested on March 2021, following an investigation into a Greater Toronto Area-based auto theft ring. Additionally, 70 stolen vehicles valued at $4.5 million were seized.

ANOTHER FOR THE WALL

AutoCanada recently announced its location in Montreal, AutoLux MB Collision, has earned the much sought-after Tesla certification.

AutoLux MB Collision, which came under AutoCanada ownership in 2021, is one of a number of auto body centre acquisitions made by the company over the past several years, and news of this certification comes hot off the heels of a record-breaking third quarter for the MSO group.

The shop is nearby four of AutoCanada’s dealers in Montreal, and will surely see an influx of new business from Tesla drivers in the area.

EV CHARGER PARTNERSHIP

On January 23, SWTCH Energy, an electric vehicle (EV) charging solutions provider announced its partnership with Bectrol, a Québecbased integrator of EV chargers.

This announcement marks SWTCH’s first major partnership in Québec and expands EV charging infrastructure for tenants of multiunit residential buildings (MURBs) and commercial properties in the province.

SWTCH’s open charging platform is interoperable with Hydro-Québec’s Circuit Électrique, a public electric utility in Québec. Currently, 46 percent of all registered EVs in Canada are in Québec.

In 2020, Québec committed to banning the sale of all new gasoline-powered vehicles in the province after 2035, several months before Canada committed to the same goal nationwide and aims to have 1.5M electric vehicles on the road by 2030.

NOUVEAUX AMIS

The Automotive Industries Association of Canada has appointed some new members to its Quebec Division Committee, according to a press release from January 10.

Annie Demarais is among four other industry leaders appointed to AIA’s Quebec committee and has an established background in Canada’s automotive industry, having spent the past nine years at Uni-Select and recently being named a banner programs manager.

Pierre-Luc Tremblay of CARSTAR Marché Central will take up the mantle for the Quebec market, putting more than 14 years of diverse industry expertise to work.

Mathieu Côté, co-owner of Pièces d’Auto Alain Côté and Quebec auto parts will represent the parts store sector in his role.

Alexandre Lajeunesse, co-owner of Garage Max in Montreal will represent the mechanic shop sector on the committee.

Finally, Natasha Akhavan of Entrepôts AB will serve alongside Demarais as a distribution sector expert on the committee, specializing in collision repair.

CONTRE TOUTE ATTENTE

Proving that the Canadian car show spirit is still alive and well, the organizers of this year’s Montreal International Auto Show (MIAS) are proud to report that the show drew in a crowd of 148,516 attendees, despite the snowy weather.

This year’s show was notable for its showcase of more than 220 green and exotic vehicles; the largest number ever presented in a general public exhibition, according to MIAS’s press release.

Periera said that he is hoping the success of this year’s show will instill some enthusiasm in the OEMs who chose not to attend. The seventy-third edition of the Montreal International Auto Show ran from Jan. 20 to 29 at the Palais des congrès, and is set to return next year, according to organizers.

88 COLLISION REPAIR COLLISIONREPAIRMAG.COM REGIONAL NEWS | QUEBEC
AutoCanada executive chairman Paul Antony said, “the addition of this high-quality collision centre is another step towards our goal of filling out our national collision centre footprint.” Left to right: Mathieu Cote, Pierre-Luc Tremblay, Natasha Akhavan, Alexandre Lajeunesse, Annie Desmarais. Despite the noticeable absence of major OEMs like Ford/Lincoln, Mazda, Honda Mitsubishi, nor any German manufacturers, Jim Scott, sponsor for General Motors Canada was nothing short of enthusiastic about the turnout at MIAS this year.

ROOTS TAKING HOLD

A Statistics Canada report shows that the Maritimes are quickly becoming a gateway for immigrants looking for a future in the nation’s rapidly depleting skilled trades workforce.

While Ontario leads the country in retention of new skilled tradespeople to Canada, the Atlantic provinces, and Prince Edward Island in particular, are showing positive growth in attracting skilled immigrants to the East Coast.

In an examination of data collected from 2010 to 2015, it was found that while PEI has consistently ranked the lowest in retaining skilled workers five years after their arrival, that figure has been steadily rising over the past ten years, with a significant spur in retention resulting from the launch of Atlantic-based immigration initiatives.

The Atlantic Immigration Pilot Program was launched in 2017 with the aim of bolstering the skilled workforces of Newfoundland and Labrador, PEI, Nova Scotia and New Brunswick. International skilled labour recruiting has become a hot topic in the Atlantic provinces, as many auto body repair facilities out east have taken to sourcing their staff from international markets in response to local labour shortages.

LEARN MORE

FROM CHAMPIONSHIP WHITE TO RACING YELLOW, THAT’S NAPA KNOW-HOW.

When you need that exact colour, our NAPA/CMAX experts are there for you. napacanada.com

ISSUE 22#2 | COLLISION REPAIR 89 ATLANTIC | REGIONAL NEWS
FIND
YOUR DREAM JOB

www.simplicitycarcare.ca

PRODUCT SPOTLIGHT

ph.parker.com

Become a Simplicity Franchisee

The support, partnerships, and training you need to grow your business Simplicity offers everything you need to grow your collision and auto repair business in an ever-changing marketplace. Our franchisees are like family. We help collision centre owners around Canada grow their business and customer base. Our team of specialists will work with you to implement our proprietary system along with training your team on how to use it. As a Simplicity Car Care franchisee, you’re ready to watch your business grow and are now a part of a nationwide community of collision repair owners dedicated to providing top-notch service. Spend more time focusing on your customers and let us simplify the rest. Call 1-800-871-7612 or visit simplicitycarcare.ca/franchisee

www.hunter.com

Fusor 800DTM Seam Sealer is used to duplicate factory seams where a non-sag, toolable/brushable seam sealer is required. Fusor 800DTM is a single-component, direct-to-metal (DTM), non-sag cosmetic sealer/ adhesive that has excellent adhesion to bare metal, cold rolled steel, e-coat, and aluminum. Fusor 800DTM has terrific features and benefits that include holding brush marks without die back, Indirect UV resistant, having low VOC, and can be welded with no burn back.

Call: +1 877 ASK LORD (275 5673) to learn more.

Take Control of ADAS

Hunter ADASLink® Full Diagnostic Scan Tool offers Dynamic (driving) ADAS calibration coverage included. Static (fixture) ADAS calibration is available with DAS 3000. It is FCA secure gateway compatible.

Hunter ADASLink® Full Diagnostic Scan Tool is pre- and post-scan ready. For use in any bay, with or without Hunter aligner.

Call your local Hunter Sales Representative to order!

For more information visit
THE LATEST COLLISION REPAIR TOOLS AND TECHNOLOGY RIGHT AT YOUR FINGERTIPS! 2023 ISSUE AVAILABLE NOW Canada Post Canadian publication sales product agreement 40841632. special edition Collision Repair Magazine. John St. Thornhill, ON, L3T TY2 SPECIAL #1 SOURCE FOR THE INDUSTRY’S HOTTEST PRODUCTS! ABRASIVES | ADHESIVES ALIGNMENT RECYCLING WELDING | TOOLS SCANNERS SOFTWARE PAINT | PAINT HARDWARE AND MORE BUYERSGUIDE.COLLISIONREPAIRMAG.COM 100+ PRODUCTS AND SERVICES INSIDE 90 COLLISION REPAIR COLLISIONREPAIRMAG.COM PRODUCT SPOTLIGHT
buyersguide.collisionrepairmag.com
Fusor 800DTM Seam Sealer

www.axalta.com

www.car-o-liner.com

Cromax® EZ

Easy to mix. Easy to match. Easy to apply. Cromax® EZ is a waterborne basecoat system that makes life simpler-without compromising the integrity of your craft. It’s easy to mix. Easy to match. Easy to apply. With less material consumption and essentially no flash time between basecoat and clearcoat, Cromax® EZ is designed to deliver better coverage and speed than competitive waterborne systems. It’s not just better for your customers, it’s better for your bottom line.

Visit Axalta website: https://www.axalta.com/ca/en_CA.html

www.LKQCanada.ca/en/

Proper Repair Procedures

Set up your shop for maximum efficiency with certified quality processes. Here is a list of the proper repair procedures:

• Damage Analysis

• Guided Repair Processes

• Proper ADAS Calibration

• Electronic Measurements

• Anchoring and Fixturing Setups

• Process Documentation

• Factory Quality Welding Procedures

To learn more visit car-o-liner.com

www.equalizer.com

LKQ Recycled OEM Engine

At LKQ, our Original Equipment Manufactured Recycled Engines are drained of all fluids during the dismantling process, prepped, washed and visually inspected for damage. Our Recycled Engines come with a standard 6 Month Warranty or extend the warranty with an Optional Service Agreement.

For more information contact your local LKQ location, call 866-557-2677 or visit us at www.LKQCanada.ca/en/

Eliminate The Need For Manual Pumping

Equalizer Industry’s Equalizer PowerPump eliminates the need for manual pumping of your Visual Vacuum Cups or Wood’s Powr-Grip Vacuum Cups, according to the company. Simply replace the original plunger in your existing cup with the PowerPump, press the button and let your cup automatically draw down. The PowerPump is designed for a minimum 5 hours of constant run time and can be used as a manual pump if your battery needs to be recharged. Includes 1 USB-C charging cord.

For more information visit www.equalizer.com

ISSUE 22#2 | COLLISION REPAIR 91 PRODUCT SPOTLIGHT

IN MEMORIAM

The Canadian automotive recycling community is saddened to learn of the passing of Clarence “Cuppy” Katz, former president of the Automotive Dismantlers and Recyclers Association (ADRA) and all-around friend of the industry.

As one of the first Canadians to ever head up the ADRA, an instrumental member of the Canadian Auto Recycler Hotline group, in addition to co-owning Dominion Auto Wreckers alongside his brother Bernie, Katz was a trail-blazer in many respects and will be dearly missed by those who knew him.

Katz’s nephew Benjy reached out to Canadian Auto Recycler over email, describing his uncle as “singularly instrumental in building the auto recycling industry in Canada to everyone’s benefit.”

“He was not only proud of his involvement in the industry but also appreciative of the good friendships he made from his participation.”

“Beloved husband of Elaine. Father and father-in-law of David & Roberta Katz, Carolyn Katz & Reuben Segelbaum. Cherished grandfather of Rebecca a’h, Noah, and Maxine. Brother and brotherin-law of Bernie and Rhoda a’h Katz, Helen Greenbaum, Ted a’h and Merle Rachlin,” read a portion of Katz’s bereavement notice.

A NEW LEAF ON LIFE

What once powered a Nissan Leaf may soon be powering homes in the San Francisco Bay area, as the Japanese automaker signed a deal with energy storage startup Relyion Energy to give a second life to retired batteries of the popular EV.

Surinder Singh, CEO and co-founder of Relyion, spoke with Business Insider about the opportunity being left on the table when we prematurely recycle EV batteries.

“A majority of these batteries actually have a very good state of health that is left over once the car is retired, but they’re just not suitable for cars anymore,” he said. “They can be of very good use on the stationery and energy storage side.

“Why would somebody prematurely kill them rather than utilizing them for a very long period of time?” he added.

“These batteries can last for 15 to 20 years in addition to, let’s say, the ten years that they were in operation in the car. It makes a lot more sense to utilize them for as long as possible, and then at the end of the day, when they reach their true end of life, then recycle them.”

The plan is for Nissan to source batteries from end-of-life Leaf vehicles and ship them over to Relyion, from which point they will be integrated into large energy storage systems. Relyion says it expects to be offering residential energy options in the second half of 2023.

WATCH FOR BROKEN GLASS

Pennsylvania-based building materials company, Saint-Gobain North America and its glazing subsidiary Saint-Gobain Sekurit, recently launched recycling programs in California that aim to repurpose old auto glass into new fibreglass insulation for homes.

Through a collaboration with Danish recycling company, Shark Solutions, glass waste produced at Saint-Gobain Sekurit’s Garden Grove, California. Facility will be diverted from the landfill to fellow Saint-Gobain subsidiary CertainTeed Insulation’s facility in Chowchilla, California, to be used as an ingredient in fibreglass insulation.

92 COLLISION REPAIR COLLISIONREPAIRMAG.COM RECYCLING NEWS
Brought to you by
This announcement from Saint-Gobain comes as the company continues the rollout of its 2022 Grow and Impact strategy, which aims for a net-zero carbon footprint by 2050. Clarence “Cuppy” Katz.

CAR-Z’S CHARITY

Sam Kanoun of CarZ Auto Recycling donated the business’s ProgiPix auction fees generated between February 9 and February 17 toward Turkey-Syria earthquake relief efforts.

When announcing the initiative, Kanoun said keeper, buyer and storage fees earned over the eight-day period would be donated to Relief Humanity International.

“We are all humans and should help each other,” he said. “Disasters like this mobilize people and I want others to join me in helping the victims of the earthquake in Turkey/Syria. Right now, we can make a difference.”

Kanoun also notes that other organizations, like Red Cross, are gathering tax-deductible donations for the cause.

ISSUE 22#2 | COLLISION REPAIR 93 RECYCLING NEWS
1108 Beaverdams Road, Thorold, ON | 905-227- 4118 | 1-800-263-4708 DROP IN, GIVE US A CALL OR CHECK OUT OUR WEBSITE thoroldauto.com • VEHICLE DISPOSAL SERVICE • REBUILDABLE CARS & TRUCKS • REBATE PROGRAM AVAILABLE • FULL SERVICE MECHANICAL REPAIRS • NEW & USED TIRE SALES • APPROVED GOODYEAR DEALER YOUR ONE STOP SHOP FOR AUTOMOTIVE SOLUTIONS
Sam Kanoun, Car-Z Auto Recycling.

COMMON GOALS

Tough times can sometimes raise tensions among the various partners in the collision industry, but Lane Bailey, vice president of ELC Solutions and former insurance industry investigator, urged a CCIF Toronto audience not to paint all towers with the same brush when negotiating.

Bailey’s talk, “Navigating the Pitfalls of Towing and Storage,” frequently called for empathy from the collision industry when negotiating with the often maligned towing industry, saying that “every industry has those that are not ‘perfect.’”

Bailey’s company, ELC Solutions, offers data insights to the many wings of the automotive industry that partner with towing and storage companies, including collision, allowing them to make informed decisions when working alongside these companies.

He says that one of the main contributors to tension between the factions of collision and towing is that for as long as

OFF THE HOOK

Sad news for fans of the Discovery Channel’s popular show, “Heavy Rescue 401”, as the father-son towing team of Gary and Colin Vandenheuval prepare to watch the “bittersweet” final season alongside the show’s dedicated fans.

The duo hosted an advanced screening of the final season’s premiere in their hometown of Sarnia, Ontario in January, according to the CBC, to celebrate “a great run” as television personalities on the Discovery Channel, dating back to 2016.

As among the youngest towing professionals to be featured on the show, Colin says he takes a lot of satisfaction in the influence he has had on other young people who are curious about the towing industry.

“You know, now I’ve got kids showing up at the door saying, ‘I watch you, I wanna do what you do,’” he said.

“And, you know, that’s neat for me because I’ve influenced a generation to look at a different career because not a lot of people think of towing as a career.”

Gary told the CBC that doing his work

a vehicle is in the hands of a towing or storage company, repair facilities feel as though the cycle time is completely out of their control, directly affecting production.

Services offered by his company allow repair facilities to compare tow companies based on delivery success, as well as if they offer things like 24-7 dispatching, or the ability to conduct appraisals.

On the tow operators’ side of things, ELC also puts a significant portion of their efforts into staying current on any changes to towing legislation in Ontario municipalities.

The point that only 25 municipalities in Ontario have specific towing legislation, compared to more than 400 that don’t, drew a noticeable murmur of surprise from the room of collision experts.

while under the watch of cameras was “nerve-wracking” at first, but once he saw the dedication his assigned crew was putting into documenting him, sometimes putting in up to 16 hours of work to cover some larger recoveries according to Gary, the relationship became much more comfortable.

“You don’t even notice the cameras there anymore and it just becomes part of what you do.”

Gary’s wife Tammy has since used the platform provided by the show to help amplify Preferred Towing’s primary community venture, a community housing unit in Sarnia aimed at addressing youth homelessness, called “Ohana Landing.”

Proceeds generated by the Vandenheuvals’ recent season premiere screening, which included a meal and auctions, were put toward funding the ongoing Ohana Landing project, according to Gary.

“We’re really happy to give that opportunity to kids in our community.”

94 COLLISION REPAIR COLLISIONREPAIRMAG.COM TOWING NEWS
The Preferred Towing father-son towing team of Gary and Colin Vandenheuval are bidding “Heavy Rescue: 401” farewell as the show airs its final season. Bailey says ELC Solutions works tirelessly to provide regionally accurate data to its partners, by way of tracking local legislation, which also helps inform repair facilities on what is fair market value for their area.
Follow Canadian Auto Recyclers Visit or subscribe to canadianrecycler.ca today! 2023 Issue Available Now MEET THE PROS OF THE CANADIAN AUTOMOTIVE RECYCLING INDUSTRY The source for forward thinking practices and environmentally conscious programs, this fully bilingual magazine offers a comprehensive look at the recycling industry with up to 100 pages of content as well as exclusive articles on parts, the environment, association updates, the mechanical sector, a directory and much, much more. Canada Post Canadian Publications Mail Sales Product Agreement No. 40841632 86 John Street, Thornhill, ON L3T 1Y2 canadianrecycler.ca KING OF THE CASTLEGAR ROI DU CASTLEGAR ARC shares plastics survey results Stuart Ady has his finger on the pulse of the industry Stuart Ady a le doigt sur le pouls de l’industrie ROADMAP RESULTS L’ARC partage les résultats d’une enquête sur les plastiques RÉSULTATS DE LA FEUILLE DE ROUTE EVFRIENDLY EXPANDS NATIONALLY // EVFRIENDLY SE DÉVELOPPE AU NIVEAU NATIONAL WOMAN OF THE INDUSTRY // FEMME DU SECTEUR: AMANDA JAMES EMPIRE AUTO LEGENDS OF THE INDUSTRY // LÉGENDES DU SECTEUR: ED PLAZEK PLAZEK AUTO RECYCLERS

CANADIAN COUNCIL

OF COLLISION REPAIRERS

ALL FOR THE INDUSTRY

CCCR Inaugural meeting promotes professional standards and collaboration

The Canadian Council of Collision Repairers (CCCR) held its inaugural meeting on February 16, 2023, to introduce the council’s mission and welcome shopowners and managers to come together for the benefit of the collision repair industry.

Conducted via Zoom, the meeting featured discussions on the council’s purposes, mission, and updates from regional representatives.

Darryl Simmons, moderator, provided an introduction and background of the CCCR. He explained the council’s mission statement is to reflect the professional standards of collision repairers while providing advocacy, inspiration, knowledge and tools needed for shops to succeed to better serve their stakeholders and their clients. The council aims to achieve its goals through data-driven activities, and members will dictate future endeavors via email surveys and sub-committee development.

Kelvin Campbell, Atlantic Canada Representative, and Max DiFelice, Southern Ontario Representative, co-chaired the meeting and introduced themselves. The pair emphasized that the group is not designed to build walls with partners, but to establish goals that prioritize the needs of shops. They stressed the importance

of working together to create positive results across the board.

Regional representatives from Eastern Ontario, Greater Toronto Area, Northern Ontario,

the value of the industry and improve its image.

Tom Bissonnette, Director of Saskatchewan Association of Automotive Repairers (SAAR), shared his experience with SAAR to highlight the positive progress the organization has made by building relationships with its provincial insurer.

The group also discussed the potential of having a live, in-person meeting, which would piggy-back with Collision Repair magazine’s “EV Repair Tour” this summer. They agreed that the council should only be open to shop owners and managers at this time, while group mandates are decided.

Regional reps will encourage more sign-ups and sub-committees will be established with smaller meetings.

Regional reps are:

• Atlantic: Kelvin Campbell

• Southern Ontario: Max DiFelice

• Eastern Ontario: Shawn Stenson

• GTA: Jeff Pabst

Manitoba, Saskatchewan, Alberta and British Columbia also introduced themselves and provided updates on their regions. They discussed the importance of extending the group to be larger to establish further credibility, promote

• Northern Ontario: Daniel Trevisanutto

• Manitoba: Joel McPhail

• Saskatchewan: Mike Mario

• Alberta: Steve Hammond

• British Columbia: Wade Bartok

96 COLLISION REPAIR COLLISIONREPAIRMAG.COM INDUSTRY INSIGHTS
The CCCR’s first action topic was selected after a recent council member’s survey that prioritized three top issues facing the Canadian collision repair industry: unpaid administrative time, material costs and repair versus replace.
Kelvin Campbell and Max Difelice, co-chairs, CCCR.

The CCCR’s next step will address the issue of unpaid administrative time through a time study among its members. The first action topic was selected after a recent council member’s survey prioritized three top issues facing the Canadian collision repair industry: unpaid administrative time, material costs and repair versus replace.

“We are pleased with the participation of our members in this survey and are committed to addressing the issues that matter most to them. The time study will provide us with accurate data to understand the extent of the unpaid administrative time issue, which will help us to develop effective solutions,” said Campbell.

“The CCCR has grown significantly since its inception, and this survey is a testament to

our commitment to working together for the common good of the collision repair industry. We are excited to continue our progress by conducting this time study and addressing the issues that matter most to our members,” said DiFelice.

To conduct the time study, the CCCR will develop a survey or worksheet for members to share their data via the website’s “Info Sharing Group.” The CCCR will compile all the unpaid steps involved in getting a vehicle mapped out for repair, and the results will be prepared for public presentation.

The CCCR invites interested members and other shop owner/managers to sign up for these initiatives by visiting the group’s website at  www.collisionrepaircouncil.ca. Members

will gain access to the website firewall and the CCCR Action Groups.

In addition, the CCCR has updated its website with additional fields for registrants to complete to gain access to private discussion groups behind the website firewall. These chat rooms will be accessible by invite only to ensure confidentiality among group members.

The CCCR has also identified a need for regular meetings and will hold its first in-person meeting in conjunction with Collision Repair magazine’s EV REPAIR TOUR early this summer.

Some members note that CCCR correspondences have been routed to their spam or junk folders. Please add the CCCR newsletter contact to your address book to ensure you receive all correspondences.

CANADIAN COUNCIL

OF COLLISION REPAIRERS

For more information, or to contact a regional rep, Visit www.collisonrepaircouncil.ca or email info@collisionrepaircouncil.ca. REGISTER NOW COLLISION CENTRES: LET YOUR VOICE BE HEARD. JOIN TODAY! Get connected at collisionrepaircouncil.ca ISSUE 22#2 | COLLISION REPAIR 97 INDUSTRY INSIGHTS

IN ONE, OUT THE OTHER

Play like an elephant and open your ears

Anyone who knows me is very aware that I struggle to pass up an industry event. When the dates for the Saskatchewan Association of Automotive Repairers (SAAR) Spring Forum were announced, I couldn’t resist the chance to visit Moose Jaw, Saskatchewan, for the first time, even if it meant facing early-February prairie temperatures.

I have long been a fan of SAAR’s work and the efforts moved by Tom Bissonnette and the whole team, and this event did not disappoint. The environment was rich with camaraderie; representatives from different verticals lent ears to issues across the board, whether they had a stake in them or not.

The cohesive goal of all attendees, no matter their specific role in the industry, was im-

new talent to the trade, navigating ongoing parts delays, shortages and offering expensive-to-tool operations. The same conversations, with minor differences depending on market attributes, are had in bodyshops across the country. So, what makes the difference between effective conversations and screaming matches?

It’s one simple thing—well, two actually. Your ears.

It can be hard to rid your mind of preconceived notions, whether good or bad. I like to say that the hardest mind to change is your own. Human beings are naturally proud, after all. Few of us find joy in dissecting our own opinions and finding where we might be wrong. It can be even harder to perform cri-

mediately

clear. The meeting kicked off with a Saskatchewan Government Insurance (SGI) session discussing the impending PDR matrix tool process. The room was full of all kinds of industry representatives: bodyshop owners and staff, primarily, but also banner and franchise reps, suppliers and tooling experts, and SGI representatives. Not once did anyone talk over another person, nor did any opinions get squashed. Ideas were shared—and heard. Progress was made, all was well. Everyone even ate lunch together without the fists coming out!

I kid, of course—but the conversations fostered at SAAR’s Spring Forum made it clear that the organization truly cares about its members and the overall health of its automotive market. The association has established a platform where ideas are shared and positive action is made as a result. It was also clear that SAAR continues to work for progress and cohesivity in the industry—despite the work completed, they know there’s always more to be done.

The challenges discussed at the SAAR meeting echoed issues that are brought up nationwide—even beyond. Struggles like attracting

tique when you’re sat at a conference room table with five other industry members just like you. Complaints love company.

Some matriarch in your life has likely bestowed on you the adage, “you have two ears and one mouth—use them proportionately.” Somewhere between the foundational learnings of childhood and the humdrum days of adulthood, we forget to abide by the cliche. Speaking from personal experience: I was raised by an elementary school teacher, and her favourite word was “listeningggg!” She’d draw out the g in a nasally singsong tone that’s burned its way into the crooks of my skull; yet still, I forget to listen. I just love to talk. Don’t we all, around here?

Of course, SAAR has put years of hard work and relationship-building efforts into its endeavours. Nothing good simply happens overnight; we know this. But, if anything, SAAR provides proof that, when all parties lend a respectful, listening ear, progress is possible.

You can be powerful all alone. But together we can create a mighty energy with a positive charge.

98 COLLISION REPAIR COLLISIONREPAIRMAG.COM LAST WORD ADVERTISER INDEX Allison
Rogers is the editor of Collision Repair magazine. She can be reached at allison@mediamatters.ca.
3M 02 Arslan Automotive 17,53 Auto Data Labels 05 Axalta 91,100 Camauto Pro 13 Carcone’s Auto Recycling 84 Cardinal Couriers Ltd............08 Car-o-liner ............................. 91 Color Compass Corp 61 CSN Collision Centres 37 CWB Group 19 Dominion Sure Seal 35 Equalizer 18,91 Eurovac 85 Fix Auto Canada 25 GoPro Mobile 71 Hunter Engineering 90 IAA 09 Induction Innovations 16 Keystone (LKQ) 21,23,44,45,91 Mirka Canada ........................85 Parker Lord ...........................90 ProColor 10,11,65 PPG 07 Repairify 55 Royal Auto Collision 48,49 Rust Check 41 SAAR 56,57 Sata Canada 99 Simplicity Car Care 15,90 Spraypaint Canada 51 Thorold Auto Parts 93 UAP/Napa 89 Uniparts OEM ....................... 47 United Catalyst .....................83
I like to say that the hardest mind to change is your own.

SATA Spring Promotion

SATAjet X 5500 + BBQ Kit: Awaken the Grill Master within!

Leap into spring with the SATA BBQ promotion and get yourself a stylish, strong and functional BBQ apron as well as solid, innovative and multifunc tional BBQ tongs in stainless steel. Whether at the next garden party or on the camping site - with the SATA BBQ Kit you are perfectly set.

SATA Canada Inc. 125 Buttermill Avenue Vaughan, ON L4K 3X5 Phone: +1 905 660 1101 Toll-free: +1 844 554 SATA (7282) Fax: +1 905 760 1250 contact@sata.ca www.sata.com SATA Special Edition 2021
www.sata.com/bbq-set
From April 11 – only while stocks last From 11 April 2023, all SATA customers will get the limited edition BBQ Kit along with each SATAjet X 5500 (all technologies and versions) as a gift. Available only by your authorized SATA-dealers – and only while stocks last. INFO AwAken the Grill MAster within! INFO www.sata.com/bbq-set

Turn static files into dynamic content formats.

Create a flipbook
Issuu converts static files into: digital portfolios, online yearbooks, online catalogs, digital photo albums and more. Sign up and create your flipbook.