Autohome Σκηνές Οροφής 2024

Page 1

THE ORIGINAL SINCE 1958

>ENJOY YOUR FREEDOM

INTERNATIONAL TRADE MARK N° 886239
INDEX 20 90 32 98 138 210 150

Historical Designs Patented

Autohome included in the “Italy’s Historical Brands

The history

Production and evolution philosophy

Interview: Giuseppe Fercodini

My name’s Nino Cirani and I work as a photographer

Comfort without compromise

AUTOHOME® SHELL AHS®

Maggiolina Carbon Fiber

Maggiolina Airlander

Maggiolina Airlander Plus 360° X-Large

Maggiolina Extreme

Maggiolina Grand Tour 360°

Maggiolina Air-Sky 360°

Ludwig Schimid named "Luggi"

AirTop Classic

AitTop 360°

AirTop Plus

Autohome® Roof Tent for Mini

Maggiolina Technical

Maggiolina and AirTop Accessories

The master of Stuttgart: Bernd Woick

Experience: Akis Temperidis

The World Off Road

The deserved success

Columbus Classic

Columbus Variant

Columbus Carbon Fiber

Autohome® Roof Tent for Land Rover Defender 110

Columbus Technical

Columbus Accessories

AHS® Active Hard Shell

Handmade shells as from tradition

Autohome®: Into the Mood

Safari Service: Claudio Chiodi

AUTOHOME® TEXTILE HP

Air-Camping

Air-Camping Technical

Overland

Overland Technical

Overland Accessories

Overzone

Overzone Technical

Overzone Accessories

Overcamp

Overcamp Technical

Overcamp Accessories

Nomadland

Nomadland Technical

The new generation is green

High profile

Anti-Wind

High Tex

Montage System

Universal accessories

Products comparison: features and equipment

INDEX 204 4 6 20 22 24 26 28 32 36 40 42 50 54 58 62 66 70 72 78 90 96 98 100 102 108 112 118 122 126 130 136 138 142 146 150 158 166 168 176 182 184 190 194 196 200 204 206 210 212 214 216 218 220 226 216 NEW NEW 56

THE ORIGINAL AUTOHOME®. THE YEARS OF THE TURNING POINT

An expression of freedom with a long history, each AUTOHOME® tent conveys all the originality of an idea that continues to fascinate. Designed more than 60 years ago, it characterized the affirmation of the car roof tent and its technical and stylistic evolution. True icons of the adventure car raid, loved and appreciated from generation to generation.

Choosing the Original AUTOHOME® is a certainty for several reasons, recognized since the early sixties: reliability, durability, versatility. To these advantages is added a competent pre- and post-sales assistance and the certainty of dialogue with an Italian and European company that has made Quality its strong point to establish itself on the world markets.

Those who choose AUTOHOME® know that they have a unique and unparalleled product, even if there are many attempts at imitation in every part of the world, with roof tents produced in recent years in the mass market without encountering any success.

While exclusively the original AUTOHOME®, pride of Made in Italy, ensure, in addition to their functionality, the charm of an adventure that has been going on for over 60 years.

Autohome®: a great story that moves between past, present and future.

4
HISTORICAL 195919581961

DESIGNS PATENTED

1. Patent drawings No. 595326 Year 1958 Ministero dell'Industria e del Commercio di Milano

Title of the invention: Apparecchiatura ripiegabile e fissabile amovibilmente alla parte superiore di un veicolo per ottenere uno o più abitacoli, specialmente per campeggio o altro.

Drawings of some patent extensions abroad:

N. 1323037 - Year 1962

Cabine de camping autotrasportable No. 989081-

Tents with cars

N. 317857 - Year 1965

Mejoras introducidas en tiendas de campana replegablesy transportables sobre un vehículo automovil

N. 7237478 - Year 1972

Zusamnenfaltbares Autodachzelt

N. 7237631 - Year 1972

Structure pour la constitution d’un abri, pouvant se replier et se fixer sur le toit d’un véhicule automobile

1
5

AUTOHOME®

AUTOHOME INCLUDED IN THE “ITALY’S HISTORICAL BRANDS”

THIS IS AN IMPORTANT SIGN OF PROTECTION AGAINST ATTEMPTS OF IMITATION. THIS IMPORTANT RECOGNITION REAFFIRMS AND UNDERLINES THE UNIQUENESS OF THIS FAMOUS BRAND THAT ALWAYS BELONGED TO THE AUTOHOME® REALITY.

6
7

MONDAY 22ND JUNE 2020.

LAND ROVER AND AUTOHOME ® . GLOBAL ADVENTURE

Here we are! Land Rover and Autohome® designed the roof tent for the New Defender. Cooperation between two iconic Brands, committed in the off-road and outdoor world: the roof tent dedicated to the New Defender 110 is finally available.

Monday, June 22 2020, Gaydon, UK - Land Rover worked with Autohome® to design a tailor-made tent for the New Land Rover Defender 110.

Robust and easy to use, it allows customers to enjoy comfortable nights both on camping and during long journeys.

AUTOHOME® OFFICIAL ROOF TENT X LAND ROVER DEFENDER 110

THE OFFICIAL ROOF TENT FOR LAND ROVER DEFENDER 110 GAYDON, UK

THE OFFICIAL ROOF TENT FOR

AUTOHOME®: THE OFFICIAL ROOF TENT FOR MINI COUNTRYMAN TESTED AND APPROVED BY MINI

MINI COUNTRYMAN

THE WINNING COMBINATION

After a long, hard work an exclusive edition of the roof tent model Airtop for the all new MINI Countryman is available. Collaboration between two iconic Brands with a strong heritage on the occasion of the launch of the new MINI Countryman. The quality of the Autohome® production wears the unique colours chosen by MINI, for a perfect match with the lively and refined look of the MINI Countryman. Two customizations done in collaboration with the MINI Design Team, to enhance the spirit for adventure of MINI Countryman Cooper and MINI Countryman Cooper S.

IMPORTANT INFORMATION

If you have a tent that fits into the shape of the car when open, you can stop and sleep wherever you want, as it is a kind of parking.

If you have a tent that comes out from the shape of the car when open, you need to go in a camping site or in a private area.

MAGGIOLINA AIRTOP COLUMBUS OVERCAMP AIR-CAMPING OVERLAND OVERZONE OVERCAMP

THE HISTORY

The world’s First rooftop tents that have been designed, patented and manufactured.

For everyone, not only for those who turned travel and outdoor life into a passion, “Maggiolina” and “Air-Camping” are an historical synonym for roof tents. An original Italian invention from 1958 (see historical information) the Autohome® vehicle roof top tent has been the companion of adventurers, explorers and travellers around the world for well over sixty years. The extraordinary intuition of that time, based on the newly born mass car-tourism market, identified a sense of freedom and independence and offered the greatest possible luxury as the basis of its well deserved success in the world market.

Sleeping, ok. But how? And where?

An idea came forth: “… why not attach the tent on the roof of the car…”? The following question was a natural response: yes, but how?

In mechanics there are countless solutions. It was just a case of understanding which one to adopt.

Between the end of 1957 and March 1959 there had been two innovative interpretations of the same idea: vertical lifting tent and the lateral hinged folding tent. Almost contemporary, the first one – even if just for a while – was the ancestor of the current “Maggiolina” (called “Autocampeggio Stogl” in its first version, from the name of its creator); patented between 1957 and 1958, only a few months before “Air-Camping”, the folding fabric roof tent by Giuseppe Dionisio (an inventor and designer also known as Gidion) who obtained the relevant patent in 1959.

Between the shell model and the folding fabric model there was no immediate competition, they were even lauched on the same stand at two exhibitions in 1959, first in Milan and then in Cuneo. Both “Maggiolina” and “Air-Camping”, as they were named, with their extraordinary inginuity were a huge success at the time, thanks to technical innovations that remain almost unchanged throughout 60 years of production, travel and history.

Despite the commercial aspect concerning ownership which followed, the “Air-Camping” model – which was easier to manufacture in terms of build and production – gradually attracted the attention of the public, finally entering the myth of adventure and extreme camping thanks to the historic adventures of Nino Cirani. This innovative outdoor lifestyle accessory was then being built - under Italian manufacturing licence - in many different countries, including: Brazil, Canada, France, Germany, USA and Great Britain. At first, the roof tent represented an inexpensive alternative to independent travellers, however as time passed, they became an essential travel accessory, to such an extent that the manufacturing company of the time decided to create “Autohome”, a brand created and manufactured in Italy that now includes seven styles of roof tents, “Maggiolina”, “AirTop”, “Columbus”, “Overland”, “Overzone”, “Overcamp” and “AirCamping”, with well over 50 models available to choose from, plus accessories to suit all requirements. Unequivocal equipment for adventure tourists, professionals and lovers of the great outdoors, Autohome® is synonymous – today as in the past – with the adventurers who made history. Autohome® is the history of roof tents.

THE WORLD’S

1 7 8 20

FIRST - DATING BACK TO 1958

1. Historical information

2. Air-Camping on a small Fiat 500 Giardiniera (Sixties)

3. Maggiolina with sunroof (Seventies).

4. Air-Camping on Aziza 3: the legendary Land Rover 109 of Nino Cirani.

5. Air-Camping while opening (Sixties).

6. Campfire with Maggiolina Tent (Seventies).

7. Air-Camping roof tent on the Land Rover Aziza 1 of Nino Cirani. Milan – Singapore Rally, 1962.

8. Maggiolina roof tent on the roof of Fiat 1500 sedan (late Sixties).

9.Columbus Days was the original name. This model was created for camper vans and higher vehicles (Eighties).

10. Air-Camping on the roof of Fiat 850 (Seventies).

2 3 4 5 6 9 10 21

AUTOHOME: AN ITALIAN

22

HISTORY

PRODUCTION AND EVOLUTION PHILOSOPHY

Autohome® : historical trademark that has become a legend.

There are people who dream of travelling and people who make dream journeys. For the latter we manufacture with passion and competence comfortable alternatives to itinerant tourism since 60 years to allow people’s dreams to come true.

Autohome®’s innovative and creative spirit, as well as its strictly made in Italy design, top quality materials and state-of-the-art technology all result in the realization of top quality roof tents that can meet any need of tourists having travel and freedom in movement as absolute priorities.

The first items have been patented and presented in 1958; in sixty years of history Autohome® has been attending international fairs and spreading in new markets (United States, Australia, Japan and South Africa) showing the company’s creative spirit and professionalism by a brand that became the most famous Italian brand in the world of design and production of roof tents.

Zifer Italia has wisely handed down its success to Autohome® brand, which offers a prestigious line of 7 roof tent models, 60 kinds of equipment and a wide range of accessories and allows to turn adventure and vacation in freedom into a real lifestyle.

A healthy manufacturing company, highly qualified technicians, innovative technological material and patents have been characterizing the story of our Italian brand, which represents since more than half a century the ideal companion of trips and adventures discovering the most charming places in the world.

Made in Italy quality and passion for outdoor are our marketing strategies: no commercial business or production abroad. These are simply our features.

23

INTERVIEW

ROOF TENTS: WHICH ONE TO CHOOSE?

An interesting conversation with Giuseppe Fercodini, founder and owner of Autohome®. The main principles of a mythical product that became the symbol of the journey in freedom and its guide to the purchase of the right tent.

Who is Giuseppe Fercodini, a life dedicated to roof tents?

Only by knowing the character can we understand the philosophy that led him to create a product that has become a status symbol and synonymous with adventure.

I have recently turned 60 and I can safely say that much of my life was devoted to knowing, improving and promoting our product, the roof tents. Over the years, my brother Giacomo and I, with the Autohome® brand, always aimed at making people understand what quality means in our sector.

A commitment that requires honesty and transparency. I am a person who loves beauty and beautiful things, created by man and nature. I have two passions that I believe in: freedom and travel. Each tent has its own soul, a story to tell. Our job is to help people achieve this goal: to travel freely.

Why does the roof tent like more and more and what is its charm?

First at all, it is a choice of independence, which opens up perspectives that other modes of travel cannot offer. Whatever the type of trip, discovery, adventure, relaxation, from the big raid to the short weekend, the roof tent can be fast and easy, transforming the vehicle into a home in seconds, wherever you are. The real roof tents, and I stress true, are stable and safe in the wind, do not undergo installation constraints. They always allow comfortable accommodation in the front row: by the sea, by the lake, by the river, in the pine forest... however in direct contact with nature.

24

What is the most requested and preferred tent by users today?

Let me take our offer as an example: Autohome® shell tents are exported to more than 40 countries and account for 70% of sales; the remaining 30% belongs to fabric tents. Why this reversal of trend? Because only a few years ago, “pure and hard” adventurers, Saharans included, who were prone to folding fabric tents, prevailed. The main reason for choosing the fabric tent was that it occupies half the roof of the off-road vehicle, thus leaving the other half in space to carry tanks, spare tires and travel equipment. This was the main choice in the Off Road world that distinguished the market. But that is no longer the case today. The tent with a shell roof has taken over.

But an expert like you, Giuseppe, who has had the opportunity to thoroughly test and test all the tents in the Autohome® range and knows their features well, which tent does he use personally?

When I was young, my first tent was the Maggiolina, which has always been my favourite. What memories! ... and that years of great enthusiasm and continuous discoveries... Initially I placed it on a Volkswagen Golf, then on a Passat Variant. I also used the mythical Air-Camping, but I did not have the right car to be in tune with what an extreme traveller did such as the great Nino Cirani, to be clear! Today that I am 60 years old, I use a Columbus shell with great joy. Exactly the X-long Land Rover model. This is because I want to be 100% safe and find myself in aesthetic harmony with my personal and timeless “Defender”, year 2008. Also on this topic I would have a lot to tell... maybe next time, if you want.

© GIULIA MARONI PHOTOGRAPHER 25

“MY NAME’S NINO CIRANI AND I WORK AS A PHOTOGRAPHER...”

Nino Cirani was born in Modena in 1926. Although he graduated in Architecture, he was renowned as a photographer, journalist, explorer and protagonist of car rallies around the world. Eating up thousands and thousands of miles, from the deserts of the Sahara to the forests of Amazon, in extreme and sometimes very dangerous conditions, he became a legend to all Land Rover drivers.

Throughout his journeys his travel companions varied, but there were two constants that never changed: his unstoppable Land Rover, named “Aziza”, and his Air-Camping tent. Thanks to the experiences and suggestions of Nino Cirani, the Car-Top Tent is now a state-of-the-art, ergonomic, comfortable and practically indestructible tent.

Today Autohome® honours Nino Cirani with the tent that has been with him for 30 years, with the same colours and the same technical innovations adopted by the man who made it a legend.

26
WELCOME

TO THE WORLD OF AUTOHOME

27

WHO SAID THAT ADVENTURES ARE UNCOMFORTABLE?

When choosing an Autohome® you will see a large range of models that are the result of almost sixty years of experience, tried and tested products, proven by their outstanding sales success. All Autohome® products have undergone exhaustive testing in extreme conditions, from polar cold to torrid desert, from sand storms to unceasing tropical rains. Autohome®, the original vehicle roof top tents, with their technical and innovative features, are exported all over the world to satisfy the demands of the most demanding of travellers. Quality is paramount in the construction, from the technical fabrics to the resins and metals of the shell, to ensure comfort and safety without compromise. Autohome® is not only a successful brand, but also a lifestyle, enabling people to enjoy the outdoors in a safe and comfortable way, whether it’s on a small car for a family weekend or an a four wheel drive ready to explore off the beaten track. Autohome® is number one, not just on quantities sold and international distribution network, but also for its impressive model range with over thirty variations.

AUTOHOME® QUALITY CERTIFIED ON ALL HARD SHELL MODELS ISO 9001: 2015 Quality Management System Certificate Reg. 18323-A / Valid from 2019 - 12 - 10 COMFORT 28

WITHOUT COMPROMISE

29

AKIS TEMPERIDIS & VOULA NETOU

SUPERSTAR TRAVELLERS

MAGGIOLINA

CARBON FIBER

MAGGIOLINA

AIRLANDER

MAGGIOLINA

AIRLANDER PLUS

MAGGIOLINA

AIRLANDER PLUS 360

MAGGIOLINA

EXTREME

MAGGIOLINA

GRAND TOUR 360

MAGGIOLINA NEW 2023

AIR-SKY 360

TO FREEDOM PASSPORT

When we think about “tour operators, all inclusive travel and travel offers” there are plenty of options to choose. If you really want to be free and independent by planning your holiday day by day, there is an option for you: Maggiolina.

Maggiolina is your passport to freedom, to unspoilt beauty, to far away destinations and away from it all.

Wherever you are, suitable for all types of cars, Maggiolina can be opened in seconds, offering you a comfortable snug bed with no need for floor support. It doesn’t matter if the land is wet, muddy, rocky or asphalted you don’t need to pitch your tent, because Maggiolina is on your car.

Maggiolina Carbon Fiber also has plenty of space for your travel accessories. Easy to pack away, you can leave any place at a moments notice.

CARBON FIBER MAGGIOLINA 32

“Across the Atlantic Ocean by a wooden boat equipped with a dragon head… More than thousand years ago, people should have a particular inward conviction to launch in such an adventure. Nowadays, people can count on the reliable Maggiolina tent, a safety at any latitude, in case of long journeys, at any weather condition, wind, cold, rain.”

60 YEARS OF ADVENTURE

“The travelling bedroom: designed and built with passion, we hope you’ll enjoy it, have a good journey!” - thus ran the advertising for the Maggiolina Roof Tents of old. Autohome® celebrated the sixtieth anniversary of its historic model Maggiolina, with a special commemorative model, a worthy hi-tech homage to this incredible products extraordinary adventure - the Maggiolina Carbon Fiber “60th Anniversary” - this was the new challenge, “enjoy the future today!”

33
Mìla Janàcek

EXCLUSIVE SERIES CARBON FIBER

On request the innovative and exclusive production of Carbon Fiber shells allows to have a decisively lighter tent. Amongst the main features: extraordinary mechanic resistance and high thermal insulation.

SMALL

Art. MCF/01

Maggiolina Carbon Fiber Small, made of carbon fibre shells.

Recommended for two adults.

MEDIUM

Art. MCF/02

Maggiolina Carbon Fiber Medium, made of carbon fibre shells.

Recommended for two adults and a child.

110 210 130 145 210
FIBER MAGGIOLINA
CARBON
34

CARBON FIBER

All ladders are height adjustable.

Standard ladder for car height max 190 cm

Closed: 120x8x34 cm

4x4 ladder for car height max 215 cm

Closed: 130x8x34 cm

Extra Long ladder for car height max 240 cm

Closed: 147x8x34 cm

AIRY TEXTILE

CARBON

YEARS WARRANTY 5 THE ORIGINAL TRADE MARK N. 014537451
56 62 kg kg S M 35 OPENING WITH HANDLE
OF THE SHELLS Small about 196 l Medium about 220 l
INTERNAL CAPACITY

ADVENTURE HOLIDAYS

No more stressful searching around for accommodation. No more worries about finding a place to set up your tent before the night sets in. Pick Maggiolina and you are away!

Adventure holidays or weekend breaks away from the stress of everyday life. In the freedom of your car you can enjoy the comfortable, safe and welcoming accommodation of Maggiolina and you can remain in touch with the wonders of nature and enjoy your restful break. With its aerodynamic design, Maggiolina is the perfect choice for any vehicle small or large. Manufactured with the traditional care, Maggiolina Airlander and Maggiolina Airlander Plus offer great internal volume even when closed.

AIRLANDER MAGGIOLINA 36

Would you be interested in travelling through Africa by car.… Give me some time, I have to think about it…

The expedition “Down through Africa” (Trans- West Africa) takes its origins from the meeting between the photographer Diego Assandri and the philosopher Luca Oddera. From Tangier to Cape Town, 25.000 km throughout the whole Dark Continent to bring humanitarian aid in Congo R.D. by means of “Amici per l’Africa” Association.

“Houston we have a problem: here children have never been on the moon.”

Diego Assandri, Luca Oddera | Jambo

37

DESIGN MADE IN ITALY

Design Made in Italy means quality, originality and style. A production process of every single roof top tent is based on master craftsmanship and industry, characterized by high-quality materials, aesthetic taste, a care for detail, sensitivity to beauty and durability, making Autohome® a leading and excellent participant in international competition.

SMALL Airlander: MG/09

Airlander Plus: MPG/09 - MPC/09 MPBS/09

Aerodynamic version. Recommended for two adults.

MEDIUM

Airlander: MG/10

Airlander Plus: MPG/10 - MPC/10 MPBS/10

Aerodynamic version. Recommended for two adults and a child.

LARGE Airlander: MG/11

Airlander Plus: MPG/11 - MPC/11 MPBS/11

Aerodynamic version. Recommended for two adults and two children.

AIRLANDER MAGGIOLINA
TEXTILE 130 210 145 210 160 215
GRAY
AIRY
38

Closed shells can hold sleeping bags, blankets, suitcases, beauty cases or travel accessories. See below the capacity of the shells expressed in liters according to the size.

In the Plus series, doors equipped with arched hinges become windows or variable openings.

AIRY TEXTILE BLACK STORM

Black shells | Carbon fabric

X-LONG

On request, Maggiolina Airlander and Airlander Plus in sizes Small and Medium are available in longer versions: L=230 cm instead of 210 cm.

GRAY OPENING WITH HANDLE

THE SHELLS

INTERNAL CAPACITY OF

Medium about 220 l

Large about 260 l

YEARS WARRANTY 5 THE ORIGINAL TRADE MARK N. 014537451 130 230 145 AIRLANDER PLUS MAGGIOLINA SAFARI 110
CARBON 39
Small about 196 l

PANORAMIC VIEW

... with this mosquito net you have more intimacy, outside you can’t see inside, inside you see outside.

AIRLANDER PLUS 360 MAGGIOLINA
40

X-LARGE

Unique, this model has 6 windows and 2 doors/windows protected by a perimeter mosquito net.

A total of 8 apertures for a perfect 360° view.

Top of the range fittings.

Solution possible only on large vehicles (4x4, minivans, vans).

BLACK STORM

Black shells | Carbon fabric

X-LARGE

Airlander Plus 360°:

Art. MP360/12 - Carbon

Art. MP360BS/12 - Black Storm

Aerodynamic version. Recommended for two adults and two children.

INTERNAL CAPACITY OF THE SHELLS

X-Large about 300 l.

YEARS WARRANTY 5 THE ORIGINAL TRADE MARK N. 014537451
180 230 CARBON
110 41
TOP AIRTEX® TEXTILE
OPENING WITH HANDLE

THE EXTREME PASSION THE EXTREME

The revolutionary Maggiolina Extreme is a product designed for all off road enthusiasts. Built to the same high standards with new colours and more aerodynamic design, it incorporates a new style roof rack for all your sporting or essential travelling equipment making it ideal for weekend trips, holidays and adventures on and off roads the world over.

EXTREME MAGGIOLINA
42

Certainly we compete to win, but it’s not the only reason. The attraction of the jungle cannot be described, it’s in my adrenalin, it makes me feel alive.

Miky Fragapane | raider

43
Extreme with white shells is not a series product. It is available on request.

The Greek adventurers lived with ancient tribes like the Hajabe, the Maasai and the Mursi in Africa and the Kalasha in Asia, they filmed the best safari parks like Serengeti, Ngorongoro, Kruger, Saadani and Zambezi falls, they visited the mountain gorillas in Congo and the Orangutans in Sumatra.

During their adventure, Akis and Vula wrote about 70 articles in different magazines, took more than 150.000 pictures and collected 200 hours of HD filming material. How does it feel after all this experience?

"The only think I fear is to lose my memory", Akis says...

44

The ideal model for those who want to merge with their environment: a variation of the Maggiolina Extreme, which can transport up to 25 kg of essential equipment on its’ inbuilt roof rack.

The non reflective shells, colour of the fabrics, internal furnishing and silent operation of the openings, are details that offer the bird watcher, hunter, naturalist or photographer discreet concealment.

45

GENEROUS

EXTREME

With the special “C” shaped guides built into the top, you can fit specific roof racks to hold items such as canoes or surfboards without any additional attachments. Max 25 kg (see the istructions).

SMALL

Maggiolina Extreme

Small: MBS/05

The exclusive model with roof rack attachment built into the top. Recommended for two adults.

MEDIUM

Maggiolina Extreme

Medium: MBS/06

CAPACITY OF THE SHELL MAX 25 kg

The exclusive model with roof rack attachment built into the top. Recommended for two adults and a child.

145 210 130 210 EXTREME MAGGIOLINA
115
46

Adjustable bars

BLACK STORM

AIRY TEXTILE

YEARS WARRANTY 5 THE ORIGINAL TRADE MARK N. 014537451
CARBON
kg MAX ! 47 OPENING WITH HANDLE INTERNAL CAPACITY OF THE SHELLS Small about 203 l Medium about 228 l
Check the maximum capacity in the car booklet.
Black shells | Carbon fabric

To go anywhere, leave everything behind and just take off on a new trip! Some images we would like to fix for all eternity. Moments that capture our thoughts and aspirations. Maggiolina will never let you down: an indispensable companion and comfort throughout your journey!

48
49

MAGGIOLINA

GRAND TOUR 360

If you do not want to give up on the idea of looking at the view even when you are inside a tent, Maggiolina Grand Tour 360° is for you. Four additional new windows at the corners of the tent increase the visibility provided by the doors and windows along the walls. There are now eight apertures, perfect for those who want to live in close contact with nature but protected from insects and curious eyes, thanks to the innovative fiberglass “black edition” mosquito nets, which make it easy to look out but hard to look in. Privacy is guaranteed.

A hi-tech tent, with the best materials such as AIRTEX® for the side walls: waterproof yet able to expel water vapour whilst protecting against the weather. Each door and window can be darkened to keep out the light and sunshine.

Maggiolina 360° is a tent for all weather conditions: ideal in the heat due to its large windows, but perfect too in the rain and wind, when the apertures are closed.

PANORAMIC VIEW

Ludwig Schmid
50

WITHOUT COMPROMISE TENTS

“I have always dreamt of “wild” holidays. It doesn’t matter if it is a large expedition or a small adventure – I can say that Autohome® has precisely hit my target. With Maggiolina+ I take each and every opportunity to travel in total freedom”.

51

GRAND TOUR 360

INFINITY LANDSCAPE

Unique, this model has 6 windows and 2 doors/windows protected by a perimeter mosquito net. A total of 8 apertures for a perfect 360° view. Top of the range fittings.

SMALL

Maggiolina Grand Tour 360°

Small:

M360/15 - M360BS/15

Aerodynamic version with spacious interior.

Recommended for 2 adults.

MEDIUM

Maggiolina Grand Tour 360°

Medium:

M360/16 - M360BS/16

Aerodynamic version with spacious interior.

Recommended for 2 adults + 1 child.

PANORAMIC VIEW

With the blackout mosquito net inside you can see outside, outside you can’t see inside.

LARGE

Maggiolina Grand Tour 360°

Large:

M360/17 - M360BS/17

Aerodynamic version with spacious interior.

Recommended for 2 adults + 2 children.

130 210 145 210 160 215
MAGGIOLINA
52
YEARS WARRANTY 5 THE ORIGINAL TRADE MARK N. 014537451 230 115 BLACK STORM CARBON TOP AIRTEX® TEXTILE HIGH CAPACITY 53 OPENING WITH HANDLE X-LONG On request, Maggiolina Grand Tour 360° in sizes Small, Medium and Large are available in longer versions: L=230 cm INTERNAL CAPACITY OF THE SHELLS Small about 344 l Medium about 378 l Large about 461 l Black shells | Carbon fabric

THE SKY IN A TENT

NEW 2023!

Autohome® announces the launch of a new generation shell: AIR-SKY.

The shell is equipped with a panoramic window located on the roof, with a double result: the wonder of seeing the starry sky while comfortably lying in the tent and the anti-condensation obtained through the “chimney” effect of the opening.

The upper window (dimension cm 70x60) is perfectly integrated into the design of the shell and can be lifted to create a partial slit, or be completely open at 90°, to allow standing up inside the Tent and look out from the opening.

Furthermore, the side walls allow a 360° view of the outside to enjoy nature in every direction.

AIR-SKY 360 is top of the range: it offers ample internal space and protected airiness.

AIR-SKY 360 MAGGIOLINA 54

When I travel I want to be free and in close contact with nature.

That is why my Air-Sky 360 is vital for my road trips: through it I have admired starry skies, amazing views and breathtaking Sunsets. For those who love all-round adventure like me, there is no better alternative!

55

AIR-SKY 360

MAGGIOLINA STARS VIEW

SIDES WITH 360° VIEW

This roof top tent differs from 6 windows and 2 French windows. So you will have 8 bright and customizable opening, protected by an innovative, very fine and darkening perimetral net that repairs from insects and from prying eyes, in order to have a higher privacy.

SMALL Maggiolina

Air-Sky 360° Small: AS360/01 AS360BS/01

Aerodynamic version with spacious interior.

Recommended for 2 adults.

MEDIUM

Maggiolina

Air-Sky 360° Medium: AS360/02 AS360BS/02

Aerodynamic version with spacious interior.

Recommended for 2 adults + 1 child.

Air-Sky 360: “inside you can see outside; outside you can’t see in”.

LARGE Maggiolina

Air-Sky 360° Large: AS360/03 AS360BS/03

Aerodynamic version with spacious interior.

Recommended for 2 adults + 2 children.

130 210 145 210 160 215
PANORAMIC VIEW
56

ROOF WINDOW BUS LUXORY with 70x60 cm aluminium frame that allows partial openings (anti-condensation or air recirculation) and 90° openings for going out and looking out of the window. It is equipped with roller mosquito net and overshadow curtain.

X-LONG

On request, Maggiolina Grand Tour 360° in sizes Small and Medium are available in longer versions: L=230 cm

YEARS WARRANTY 5 THE ORIGINAL TRADE MARK N. 014537451 230 125
STORM CARBON TOP AIRTEX® TEXTILE 57 OPENING WITH HANDLE
BLACK
INTERNAL CAPACITY OF THE SHELLS Small about 236 l Medium about 260 l Large about 286 l
Black shells | Carbon fabric

LUDWIG SCHMID

Ludwig Schmid is one of the top off-road specialists in southern Germany for AUTOHOME® roof tents, outdoor accessories, awnings, and vehicle transformation for travel, hunting or adventure. In addition, it is also a manufacturer for Suzuki series productions and special solutions.

Ludwig boosts an extensive and qualified experience, thanks to his work as a former mechanic at the Dakar Rally and as part of the DTM Audi, ADAC GT series team. It was thanks to this experience that the passion for the off-roader and travels definitely took over him. As a master mechanic in one of southern Germany’s most renowned dealerships, a workshop with over 40 years of experience in the offroad sector, he finds inspiration and turns his ideas into reality.

PASSION MAKES A DIFFERENCE

He developed a passion for the off-road world already at an early age thanks to his father: “I’ve always been fascinated by off-road, by the spirit of freedom, by the contact with a unique nature. At the same time, this is a world where technology is essential and precision and rationality are required. For this reason, I was able to turn my passion into my work. I like to have no barriers between hobby and professional activity” says Ludwig.

It is no coincidence that his main hobbies, in addition to off-road, are fishing, hunting, skiing, ice hockey and roof tents for cars. Ludwig enjoys being outdoors and prefers to travel with his car and his AUTOHOME® roof tent. “Hitting the road” makes him happy and broadens his horizons. This is also how he gets the best ideas, which he puts then into practice on a professional level!

58

NAMED “LUGGI” FROM MUNICH

INTUITION WITH A LOT OF CREATIVITY AND PERSEVERANCE

Luggi travels a lot, he often uses his AUTOHOME® roof tent all over Europe, at any time of the year! His tent has always been by AUTOHOME®. He prefers to travel to the Nordic countries. Due to the adverse weather conditions, he had the idea to optimize the AUTOHOME® Maggiolina tent. Thanks to his intuition, combined with a lot of creativity and perseverance, the new AUTOHOME® Maggiolina Grand Tour 360° with panoramic views and their own WILD LAND DRIVERS Extreme were designed.

In the basic design, the tent was designed to offer above all a lot of space and freedom inside, as well as maximum visibility to the outside. The windows can be opened from the inside on each side, thus offering a 360° view and allowing direct contact with nature. In addition, it is very solid and stable, so that it can also be used as a hold during the journey.

Above the roof, it also offers additional mounting and transport options, such as a self-developed solar panel support. On request, on the side of the vehicle, a special awning protecting from the sun and the weather conditions developed and produced by WILD LAND DRIVERS.

Thanks to its advice, widened and developed in its production department, the characteristics of many AUTOHOME® models were developed and highlighted.

Another very important point for Luggi, whether you travel to the South or the North, is the need to have the maximum protection from insects. The innovative mosquito net, used in Autohome® tents with “black edition” fiberglass, is very dense and dark while offering, however, a good view to the outside. It also protects against prying eyes and it offers a good air flow. The breathability of high-quality fabrics depends on the use of the AIRTEX® fabric on the side walls: waterproof and at the same time water vapour repellent outside the tent. Luggi also appreciates the accuracy and high quality of AUTOHOME® handmade, well designed roof tents.

59
360 AIRTOP CLASSIC AIRTOP PLUS AIRTOP

THE CROSS-OVER ROOF TENT

A new body style for a new opening system: A combination of the Maggiolina design and Columbus gas strut opening system makes the AirTop model, the first shell tent with great accommodation and incomparably quick opening system.

AirTop incorporates all the great features of the traditional Maggiolina series with even more comfort and space. To open simply remove the safety hooks and the tent opens instantaneously! Extreme Adventure with Extreme Comfort!

CLASSIC AIRTOP 62

“Photographer for over twenty years dedicating great passion and commitment to his work in nature photography. His photographs have earned him more than 180 awards abroad, winning photographic contests in Argentina, Austrian, Belgium, Canada, China, Croatia, Germany, Great Britain, India, Indonesia, Holland, Republic of San Marino, Scotland, Singapore, Usa, Vietnam. Among all, it is standing out the Grand Prix of the Trierenberg Austrian Super Circuit, the largest annual salon of photography on the globe.”

63

QUICK OPEN

AUTOMATIC, QUICK AND INSTANTANEOUS OPENING SYSTEM.

Once the latches have been unlocked (1 on the back and 2 on the front), AirTop opens by means of 4 gasstruts (non-commercials). The system is perfectly designed for the purpose which determine the complete opening without having to make additional maneuvers to put in tension the springs or the tent.

Standard equipment 2 doors and 2 windows.

SMALL AirTop: ATG/01 -Gray

Recommended for 2 adults.

MEDIUM AirTop: ATG/02 - Gray

Recommended for 2 adults + 1 child.

LARGE AirTop: ATG/03 - Gray

Recommended for 2 adults + 2 children.

CLASSIC AIRTOP 1 2 3 130 210 145 210 160 215
64
YEARS WARRANTY 5 THE ORIGINAL TRADE MARK N. 014537427 115 GRAY TOP AIRTEX® TEXTILE 65 AUTOMATIC OPENING INTERNAL CAPACITY OF THE SHELLS Small about 271 l Medium about 305 l Large about 340 l WINDSTOP An Autohome® exclusive that makes the essential difference in strong wind conditions.

A VIEW

The four new additional windows at the corners bring out the best in the large doors and windows at the sides. A total of eight apertures for the sunlight and contact with nature. Airtop 360° provides an all-round view from the tent, which is protected with a high-tech innovative mosquito net called “black edition”, a standard fitting for Airtop 360°: dense and with heavy shading, it keeps away insects and inquisitive looks, for greater privacy.

A refined tent with high-density mattress and pillows with matching yellow ochre zip to close the shades. The Top Airtex® fabric technical keeps out moisture and prevents condensation, ensuring comfort and a good night’s sleep.

Ideal for torrid climates, with the same weather-proofing as the other tents in the Airtop range, it is one of the best loved tents made by Autohome®.

Airtop 360°: “inside you can see outside; outside you can’t see in”.

360 AIRTOP PANORAMIC VIEW 66

“Many unhappy people do not take the initiative to change their situation, because they are influenced by a sense of security, conformism and conservatism. This seems to ensure peace of mind, actually there is nothing such devastating for an adventurous soul as a secure future. The real core of the vital spirit is the passion for adventure. The joy of living rises from new experiences, and so there is no greater joy than having a constantly changing horizon, of being every day under new and different sky... That’s why my tent is my home.

67

SMALL AirTop 360°: AT360/01 - Carbon

AT360BS/01 - Black Storm

Recommended for 2 adults.

MEDIUM AirTop 360°: AT360/02 - Carbon

AT360BS/02 - Black Storm

Recommended for 2 adults + 1 child.

PANORAMIC VIEW

With the blackout mosquito net inside you can see outside, outside you can’t see inside.

LARGE AirTop 360°: AT360/03 - Carbon

AT360BS/03 - Black Storm

Recommended for 2 adults + 2 children.

NEW 160 215 130 210 145 210
SKYLINE
360 AIRTOP 68
Unique, this model has 6 windows and 2 doors/windows protected by a perimeter mosquito net. A total of 8 apertures for a perfect 360° view. Top of the range fittings.
YEARS WARRANTY 5 THE ORIGINAL TRADE MARK N. 014537427 115 HIGH CAPACITY BLACK STORM CARBON TOP AIRTEX® TEXTILE 69 AUTOMATIC OPENING INTERNAL CAPACITY OF THE SHELLS Small about 271 l Medium about 305 l Large about 340 l
WINDSTOP An Autohome® exclusive that makes the essential difference in strong wind conditions.
Black shells | Carbon fabric

The Airtop Plus range made with AIRTEX® fabric and with 4 openings. For those who want to feel they are outdoors even when they are in a comfortable roof top tent.

Large openings and windows on each side, protected by high-quality fiber mosquito nets provide an all-around view. A tent that is perfectly insulated from the outside and becomes a panoramic bed in a jiffy.

The 4 largest doors and windows in the range satisfy the pleasure of relaxing outdoor without compromising your privacy. Impeccable finish as behoves a top-of-the-range product.

Shells with refined design, providing excellent living space, fabrics with excellent waterproofing and high transmission speed of heat to outside the tent, and all the practicality of instantaneous opening by air-springs. Airtop plus: outdoor relax, respecting privacy and good taste.

160 215 130 210 145 210 PLUS AIRTOP
115 70
RELAX OUTDOOR
SMALL Airtop Plus Small: ATPG/01 - Gray ATPBS/01 - Black Storm Recommended for 2 adults. MEDIUM Airtop Plus Medium: ATPG/02 - Gray ATPBS/02 - Black Storm Recommended for 2 adults + 1 child. LARGE Airtop Plus Large: ATPG/03 - Gray ATPBS/03 - Black Storm Recommended for 2 adults + 2 children.
YEARS WARRANTY 5 THE ORIGINAL TRADE MARK N. 014537427 CARBON GRAY TOP AIRTEX® TEXTILE BLACK STORM 71 AUTOMATIC OPENING INTERNAL CAPACITY OF THE SHELLS Small about 271 l Medium about 305 l Large about 340 l Black shells | Carbon fabric WINDSTOP An Autohome® exclusive that makes the essential difference in strong wind conditions.

AUTOHOME® ROOF TENT FOR MINI COUNTRYMAN

“Autohome® roof tent for MINI Countryman”, easy to open: just remove the safety hooks and the tent is automatically opened by 4 gas springs. Two different positions to lift the shell in 2 stages.

MINI ADVENTURE LOVERS

MINI COUNTRYMAN ORIGINAL AUTOHOME® ROOF TENT FOR FIBERGLASS ADVANTAGES 1 2 3 130 210 115 74 SMALL ATEG/01- Gray ATEB/01- Black Storm Autohome® roof tent for MINI Countryman Recommended for 2 adults. Dimensional stability Long duration Mechanical strength Easy to repair Thermal insulation Shock resistance Does not retain heat ± 5° C

Important information: currently, “Autohome® roof tent for Mini Countryman” is not available for canadian and us markets.

INTERNAL CAPACITY OF THE

EXCLUSIVE TEXTILE ATLANTIC

Waterproof and non-deformable color stability

Strong weft fibres

Resistant to extreme temperatures

WINDSTOP

Foldable even when wet

Consistent, insulating and darkening

Easy to maintain

YEARS WARRANTY 5 THE ORIGINAL TRADE MARK N. 886239
CARBON GRAY
75 AUTOMATIC OPENING
SHELLS Small about 271 l

WE ARE ALL AMERICANS

MAGGIOLINA®: SYNTHESIS OF THE RANGE

Autohome®, the most widespread and variegated range of roof tents, offers 6 categories of shell tents:

AIRLANDER

AIRLANDER PLUS

AIRLANDER PLUS 360° XL

GRAND TOUR 360°

EXTREME CARBON FIBER

The models, the internal room of the shells and the standard equipment are all different, and so are the 2 opening typologies: “by handle” for most of the versions and “by gas springs” – for AirTop. Variables also in the material of the shells: in glass fiber and carbon fiber for the special versions.

[ DESIGN PATENT ]

AIRLANDER

Elegantly designed and aerodynamic classic models perfect on small cars and 4WD vehicles. Models equipped with opening “by handle”, soundproof and anti-condensation roof, high density sponge mattress with cotton cover, 2 to 4 pillows and adjustable aluminiun ladder for medium height vehicles.

Here are the key features that make this folding tent the best ally for your outdoor adventures.

1 2 7 3
9 8 78
TECHNICAL 1

1 - Easy-to-use handle to open and close in a flash. The reliable function is assured by a mechanism consisting of screw jacks linked by a chain drive system within the structure.

2 - This opening system is reliable, lasts forever and needs no maintenance.

It is operated by a removable handle. When the tent is open it will remain steady even in stormy weather conditions*.

3 - The handle is also an anti-theft device for your contents stored inside, as the shell cannot be opened without the handle.

4 - The aerodynamic design coupled with its ample storage capacity will allow you to safeguard all your overnight items, camping/travel accessories, sporting equipment and valuables from all weather conditions.

5 - All tent models have 2 doors (one each side) and 2 windows (one each end). Each opening is equipped with zip fasteners and mosquito mesh screens.

6 - Roll up, roll down mosquito net with two zip fasteners.

7 - Each Maggiolina has a overhead quality light (18x5 cm), with 3 super bright Leds, with pivotable reflector and easy to replace batteries. Roof is equipped with anti-condensation insulation.

8 - Maggiolina has three “self-adjustable” locks to offer the perfect locking even after years.

9 - All tent models are equipped with two doors as standard, one each side, giving the user a choice for entry and exit as well as complete through ventilation of the tent.

10 - Protection sheet fitted to the base of the door giving greater insulation and protection from dust, rain and cold.

11 - The aluminium ladder has very small overall dimensions. The antiskid unit is normally supplied with the tent.

12 - As standard, the automatic spring device blocks the ladder when it is open.

The risk of slipping is prevented and the ladder is stable and safe on any terrain.

4 11 SECURITY LOCK 12 5 6 10 79
1 1 5 6 2
AIRTOP
5 6 1 2
AIRTOP 360° AIRTOP PLUS
1 2 EXTREME 2 80
AIRLANDER PLUS AIRLANDER PLUS 360° XL GRAND TOUR 360°
EXTREME
CARBON FIBER All Airtop range have automatic opening.

1 - 2 - 3 - Entry and exit is made using either of the 2 doors with vertical zip fasteners.

A second, additional, arc zip fastener is also fitted for partial door opening giving privacy and ventilation which can help eliminate condensation. Standard fitting: 2 windows and 2 French windows. Standard fitting: 2 windows and 2 French windows. For the Grand Tour 360° and Airlander Plus 360° X-Large models: 6 windows and 2 French windows.

4 - Elastic straps assist in folding the fabric when closing.

5 - Ladder storage bag.

6 - Nécessaires storage: a new solution applied to the inner ceiling, equipped with closeable pockets.

7 - 8 - Grand Tour 360° Small and Medium versions are configured for roof bars using ‘Kit Fix’ Art. K/F (not supplied) suitable for transporting sporting or camping equipment.

1 - The series with all the top of range equipment is characterized by the possibility of additional load on the shells.

2 - 3 - 4 - The special supplied bars are removable and adjustable according to the loads being carried. All large items (camping tables, chairs etc) can be perfectly stored on the roof whilst bed linen etc can be stored safely inside the outer shells.

On request, various and specific kit fix sets can be fastened to the “C” shaped channels integrated in the shell.

A new shell very capacious and glamorous that can be quickly opened thanks to 4 gas springs. The lifting of the shell takes place in two times, changing the action position. Equipment: top of range.

1 - As standard: 4 gas springs. The lifting of the shell takes place in two times.

2 - WINDSTOP - For greater stability in strong winds

3 - 4 - In the standard equipment for the Airtop Classic model there are 2 doors and 2 windows.

5 - 6 - In the standard equipment for the Airtop Plus model there are 4 doors and 4 windows integrated in the doors. All have mosquito netting and covers against wind or rain. For the Airtop 360° model: 6 windows and 2 French windows.

7 - As standard: internal elastics straps to help folding of the fabric when closing the tent.

8 - Closing: simple and adjustable.

7 8 7 8 3 4 4 3 3 4 81

TECHNICAL 2

All particulars, from the design concept, materials and components, to the safety features and insulation, have been methodically chosen and thoroughly tested in order to obtain an all-weather proof product that can be depended upon at all times. Just like the structure of a boat, we have used fibreglass to prevent it from aging, discolouring or losing its shape. Its remarkable capacity to withstand knocks and bumps can ensure durability but should the worst happen Maggiolina is easily repaired. The roof and base provide a strong, lightweight shelter with exceptional insulating capabilities: ideal for car roof tents that are currently used in every corner of the world, from African savannahs to the polar regions.

ROOF INSULATION TESTED - UNI EN ISO

The dual Autohome® roof comprises an original fiberglass shell and a special honeycomb panel pre-perforated by laser technology. This exclusive “structural” system creates an “air cushion” preventing 24 7 the formation of moisture and condensation inside the tent.

THE ORIGINAL AUTOHOME® “INSULATED ROOF”: HOW IT WORKS

The insulated roof uses the same principle as applied by the building industry to the rooftops over lofts: an air cushion is created forming an interspace connecting the inside and outside, providing extra insulation against the cold and noise, but also keeping off the heat and humidity. The result is a quiet, healthy environment when it rains.

ANTI-CONDENSATION FOAM

Also important is the thick “anticondensation foam” system adopted by Autohome® for the lining under the roof. Experience has taught us that for the outdoors this is an essential feature for wellbeing inside the tent.

NO OTHER DEVICES ARE NEEDED

With the advanced design of the Autohome® roof, no other devices – noisy and inefficient dehumidifiers and fans or solar chimneys and the like – are needed.

In the event of thunderstorms, the Fiberglass roof does not attract lightning.

82
“QUALITY IS NEVER RANDOM; IT IS ALWAYS THE RESULT OF AN INTELLIGENT EFFORT.”
JOHN RUSKIN

TOP ISOLATION AHS®

ACTIVE - HARD - SHELL

NEW MOSQUITO NETS

La The mosquito net has an extraordinary blackout feature that provides more privacy to the occupants of the tent. Outside you can’t see inside, inside you can see outside.

It is incomparable to the standard and it features an innovative weave so fine that it does not allow the passage of any kind of insects Quiet nights in marshy areas, near watercourses, on the banks of rivers or in areas where the presence of microscopic mosquitoes is very high.

Dim. 1,12 x 0,96 mm [18x20/square inch] Autohome® has always used very fine mesh mosquito nets.

The mosquito net is very strong. It is resistant to longitudinal tearing but also to tearing in the oblique direction.

The mosquito net is resistant to different environmental conditions. It is resistant to UV rays, saline environment and temperature changes.

Hard Shell Fiberglass Alveolar Panel
Air
-40 UV +70
Anti-condensantion Foam
circulation System Inside of the Tent
83

With doors and windows too, we have gone beyond the usual and the standard, creating a technological product that is of the highest quality in terms of materials, devices and design.

Our innovative “High Performance” doors and windows are made of aluminium and steel, purpose-designed for our shells to get the best out of them.

There is just nothing like it in the market. Just the same old coldrolled plate.

Our doors and windows are strong, reliable, durable and ideal for off-road adventure, even in the toughest driving and camping conditions. Distinctive advantages, up to TUV standard:

Processing: made from the extrusion of solid aluminium rods, suitable cut

Strength: in thick reinforced aluminium with a stainless steel core, able to handle the toughest mechanical forces and harshest environmental conditions

Ergonomics: comfortable and easy to close

Versatility: adjustable closing for unstinting performance over time

Practicality: a special spring device to get rid of hanging parts when open

Safety: fitted with “Press Lock”, an automated system (easy to activate) to ensure perfect closing.

Quality certification: 2 closures on the front, located on the surface most exposed to the air impact, to guarantee greater safety in the event of high driving speed, and only 1 closure behind, as asked and certified by the certification body TUV SUD.

Patent: the exclusive closure is protected with a patent.

And more… They are elegant and transform practicality into style with an exclusive design created by Autohome®.

TECHNICAL 3 LOCK OPEN 84
“HIGH PERFORMANCE” DOORS AND WINDOWS BY AUTOHOME®
Lock with key available on request.

LADDERS IN DETAIL AUTOHOME® QUALITY CERTIFIED

Not satisfied by the huge variety of ladders on the market, Autohome® produces its own ad hoc aluminium ladders to tight specifications: light, compact, of minimum thickness, a perfect match with the tent.

We don’t use Ladders available on the market nor low-cost massproduced ladders.

Each ladder is composed by two halves, one sliding over the other, held together by four Arnitel-coated steel supports: Arnitel is an extremely strong plastic designed and manufactured by Autohome® to ensure that sand, dirt or mud is are not trapped in the sliding mechanism and that the ladder works perfectly in all conditions.

The ladder can be placed at the entrance as you want, and locked automatically in position with the built-in “Security Lock”. No ugly and impractical hooks.

A bag is supplied for the ladder.

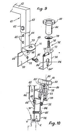
1 - The automatic spring in the “Security Lock” locks the two parts of the ladder in position for perfect stability and, above all, safety.

2 - The two parts of the ladder are held together by Arnitel plastic supports designed to be “open” to remove dirt ensuring a smooth sliding mechanism even on a sandy or muddy terrain.

4 - Ladders are designed ergonomically with rounded aluminium profiles for easy use.

3 - The built-in strut has the dual function of preventing oscillation and protecting the vehicle roof or drip surface (where the ladder is used, for example, with a Lan Rover Defender).

5 - The steps are oval with anti-slip surface and can be climbed with bare feet.

6 - 7 - 8 - The ladder has no fixed position at the base of the tent and so can be placed to the left or right or at the centre of the entrance, as you wish, depending on the opening of the vehicle door. Simple, practical, without ugly and clumsy hooks.

1 2 3 4 5 6 7 8 85
Lateral deflection test of the
Bending test of the styles Torsion test of roungs and steps Test for ladder rung / step hooks Test Result: PASS
ladder

HIGH QUALITY TEXTILES

You can’t control the weather. But in a violent storm, in high winds or blistering temperatures, Autohome® has the right answer for comfortable tent life.

The AIRLANDER, AIRLANDER PLUS, EXTREME and AIRTOP models have always used prestige Dralon® (a Bayer textile). Unlike plasticized, coated or simply cotton fabrics, Dralon® is waterproof, strong and, above all, breathable.

Every square centimeter of Dralon® helps to renew the air naturally, for genuine wellbeing and comfort inside the tent.

The particular design of the fabric ensures insulation against both the heat and cold, and keeps off glare and excessive sunlight.

TEXTILE REPORT

The analyses carried out by qualified and impartial certification institutes confirm the extraordinary quality of the Autohome® fabric. More info: Autohome-official.com > Products > Textile Report

THE ADVANTAGES OF AUTOHOME® TEXTILES

Maintenance: Construction of Dralons’ special/ unique fabrics ensures a long maintenance free life.

Waterproof: Waterproofing treatment is unecessary because the fibres shed, not retain water, allowing you to fold the tents even when wet.

THE TRUTH ABOUT BREATHABILITY

TEST IT YOURSELF

Pick any portion of the fabric and hold it to your mouth. Blow hard. If you can feel the air on the palm of your hand, it means the fabric is breathable.

With a breathable fabric you never feel the lack of air and can breathe easily even when it is a hot night.

And there are no draughts because you don’t need to leave the windows open to get rid of the moisture in the air.

Breathability

Dralon Fabric: mm/s 23,1

K100-K200 Fabric: mm/s 9,3

Strength: Strong weft fibres help create a tear and crease resistant fabric, that will not shrink or expand even in extreme temperature fluctuations.

Fabrics ensure the tents are more soundproof and less transparent agaist light than traditional materials, yet still feel soft to the touch.

86
TECHNICAL 4

HIGH TECH TEXTILES

Condensation is a natural phenomenon in a campsite tent.

When the outside temperature falls below the temperature inside the tent, the moisture in the air condenses on the inside walls of the tent in the form of water droplets. This usually happens in the evening, at night or at high altitude when the fabric is coldest.

On the basis of many years of experience with the best materials, Autohome® has chosen high-quality Airtex® for its new Airlander Plus 360° X-Large, Grand Tour 360°, Airtop 360° and Airtop Plus models. Airtex® is extremely versatile, is waterproof and strong, and transmits water vapour rapidly, removing it from inside the tent. So condensation is no longer a problem.

THE TRANSMISSION OF WATER VAPOUR

Transmission speed: 440g/mq/24hrs

Airtex® is a fabric that does not trap water vapour inside the tent but removes it naturally. This is the great difference with plasticized polyester, which is airtight and therefore creates moisture and condensation.

APPLICATION OF THE FABRIC PATENT PROTECTED

The exclusive fitting of the fabric at the base of the tent is made with elastic steel springs: seamless.

Exclusive and qualifying choice that characterised the Autohome® production for years!

No dangerous seams exposed to water at the most delicate fixing point.

Stability: Dralon fibres are pre-dyed before the fabric is woven, making it fade resistant, even under burning desert sun.

Temperature: The fabric is guaranteed for use in extremes of temperature, ranging from -30° C up to 70° C.

Easy to maintain: No need of particular treatments.

87 SEAMLESS

INDEPENDENT VERANDAH More space for freedom to travel

An independent verandah is an additional area to enhance the enjoyment of your holiday: ideal to relax in sheltered from the sun or rain, perfect for cooking or dining, excellent as a store for camping or sports equipment, and useful for the many pleasures of outdoor life. It can also be used as extra sleeping space, or for privacy, when needed. The verandah is an independent stand-alone structure, so it can be left in place when you want to take a short trip in the car. The equipment inside is sheltered and you are hidden from view, for perfect privacy. It is closed on all 4 sides and keeps off the rain and bad weather. With the verandah, camping leaves the car free for other uses, such as driving to a restaurant or going shopping, visiting a local beauty spot or heading for the seaside. Even if you fold away the Maggiolina, you can leave the verandah standing, so you don’t have to pack everything into the boot of the car.

The verandah is a reliable addition reflecting the customary high quality of Autohome®: it uses strong aluminium poles, enabling its use either with the tent or on its own, as a stand-alone tent. With this versatility, the “Verandah” is another success created by Autohome®.

200 180 8 0 1 6 0 80 80 100 200 200 180 8 0 160 80 80 100 ≈ 230 / 250 h min 171 max 220 ≈ 210 / 230 h min 155 max 170 MAGGIOLINA® AIRTOP® 90 ACCESSORIES
Anodised Aluminium Poles Made of AIRTEX® tissue. VERANDAH FOR CARS Art. M/05A VERANDAH 4x4 Art. M/06A
91

INTEGRATED CHANGING ROOM

Privacy in a few seconds

Travelling freely is a pleasure, and it doesn’t mean giving up on privacy. There are many occasions on which an additional area of privacy is useful or even necessary.

This original changing room is an expression of the basic approach of Autohome®: maximum practicality and reliability, easy assembly, simple use, style.

Assembly is quick: the changing room fits onto the Maggiolina with 3 easy-to-use telescopic aluminium poles, and perfectly matches the tent.

This creates an area of privacy in the campsite and other overnight stay areas. Designed as a changing room, it can be used as a temporary store for equipment during brief stays or overnight. Every detail has been designed with care: closed on all 4 sides, the changing room is fitted with a mosquito net and entrance with archshaped zip, for partial opening as the occupant decides.

CHANGING ROOM 4X4

(For Sports Utility vehicle – trucks – Land Rovers) cm 150 x 200 x h250/270

It is the accessory that won over even the most demanding travellers due to its great practicality. The very attractive Carbon-coloured Airtex fabric, distinguished this 4x4 series. With enlarged measurements, it has 2 windows on the sides and a big door in front. All the openings have dimming, tight-weft mosquito nets for better protection.

CABINA MAGGIOLINA PER AUTO 170 80 80 76 150 CABINA MAGGIOLINA 4X4 80 80 200 76 150
AIRTOP® 92 ACCESSORIES
MAGGIOLINA®
CHANGING ROOM Art. M/12A CHANGING ROOM 4x4 Art. M/13A Anodised Aluminium Poles Made of AIRTEX® tissue.
Art. M/12A h min 155 h max 170 Art. M/13A-1 h min 171 h max 185 Art. M/13A-2 h min 186 h max 200 Art. M/13A-3 h min 201 h max 220 93

ACCESSORIES

MAGGIOLINA® AIRTOP®

1 - WING (Art. M/W01)

“Bat wing”

Entrance protection for additional shelter in case of rain. Simple, easy to use and much appreciated by customers.

Made of Airtex fabric with windproof structure, aluminium and steel, space saving. Equipped with hooks for shoes. Colours available: Black.

2 - WINTER HOOD (Art. M/10A)

Made of resin bonded nylon fibre and aluminium powder. Excellent protection from the burning effect of the suns rays, and equally useful for extra insulation in colder conditions. Quickly attached, by Velcro strips, and removed, it can also provide additional protection in the most extreme of conditions. Can be left in situ when closing the tent.

3 - AWNING (for cars) Art.M/11A-1

AWNING 4X4 (for vans and 4 wheel drivers) Art.M/11A-2

A quick protection from sun and rain. The framework consists of round anodised aluminium poles. It measure 200x160 cm.

4 - FEET (Art. M/09A)

Four strong feet allows you to place Maggiolina on the floor if desired. Measuring 25 cm high a safe distance from floor humidity, water, insects, stones etc. Foldable and clutter free they can be installed in any desired position. Useful in camping sites or residential areas which prohibit the entry of vehicles during the night.

5 - ROLLING TOP- SHELL

Art. R/TOP - S cm 180x180

Art. R/TOP - M cm 220x225

Available with a load-bearing structure in anodized aluminium box and easily installed on any roof rack.

It is an exclusive product designed and manufactured by Fiamma® for Autohome®. Included in the standard KIT supply: awning attachment bracket to be applied to roof bars - roof rack.

ROLLING TOP- SOFT

Art. R/TOPS - S cm 200x250

Awning with load-bearing structure in aluminium with a PVC cover, easily installed on any roof rack. The Autohome® product is practical and always ready.

Included in the standard KIT supply: awning attachment bracket to be applied to roof bars - roof rack.

160 cm 80 cm 85 cm 1
94
Anodised Aluminium Poles Wings, awning and Rolling Top are made of AIRTEX® tissue. Hooks for shoes included
80 80 200 76 150 4 2 3 5 CABINA MAGGIOLINA 4X4 80 80 200 76 150 CABINA MAGGIOLINA 4X4 80 80 200 76 150 ROLLING TOP SMALL ROLLING TOP MEDIUM 220 200 200/300 160 180/250 180/200 225 95 VELCRO AWNING Art.M/11A-1 - Art.M/11A-2

THE MASTER

OF STUTTGART

BERND WOICK

For many years, Bernd Woick has managed shops specializing in outdoor clothing, tents and technical products for trekking, mountaineering and adventure travel. With his professional skills, he is well-known for his expertise in the sector and someone who personally tests his products and is familiar with the opinions of his clients. His company was founded in 1982 in Filderstadt, Germany and now has stores in other German cities. With the help of trusted colleagues, in recent years Woick has decided to dedicate more and more time to travelling, in the form of tours based on a strong spirit of discovery in out-of-theway locations ensuring maximum contact with nature. He particularly likes to travel in a properly equipped vehicle, tested personally for his type of trip with no limits, and consulting in the auto sector obviously helps. His motto is: “Travel means living your dreams”. This combination of professional experience and passion makes him an ideal tester for Autohome® products.

96

AUTOHOME® AND WOICK: GROWING TOGETHER

From its creation, I’ve watched Autohome® grow and followed its developments through the products I sell in my specialist stores. We immediately understood the philosophy of Autohome® and its technical and manufacturing decisions based on excellence and distinguishing itself in a market where improvisation sadly still exists today. Whereas Autohome® aimed straight for excellence and reliability, so we chose it as a flagship manufacturer for our stores. And we were right. Autohome® has been increasingly successful for us even with the most demanding and expert clients.

I’VE ALWAYS BELIEVED IN THE CONCEPT OF A ROOF TENT

The advantages of an excellent roof tent are so obvious it seems strange that it took so long for the idea to be accepted. And yet it did! I’ve always recommended roof tents, right from the start, over twenty years ago, because I knew they were practical, comfortable and safe. Roof tents are practically immediately available, they are practical and are an excellent shelter from the weather when you’re sleeping outdoors. They make cars more useful and competitive compared to the alternatives for sleeping at night. Today, the concept is largely but not completely accepted. Some people still don’t really understand the difference a roof tent can make and here, the quality of products like Autohome® is very persuasive. You don’t change your mind after an Autohome® tent, as many of my clients have proved. And, indeed, as I can personally testify.

FROM CONSULTANT TO USER

These days, I travel most of the year. I can consider myself justifiably a “citizen of the world”, because I’ve been to every continent. Yet there is still so much to explore and discover! Since I use Autohome® roof tents so much, I think I can be considered a top tester. I have been able to personally appreciate how the technical and manufacturing decisions of Autohome® truly make the difference. In the past, I have given technical and theoretical rather than practical advice, but now it’s the other way round. I know from experience that Autohome® roof tents last longer and provide far more protection than any other in the sector. I could sum it up like this: an Autohome® tent is the best investment a traveller can make. It provides wellbeing, safety and comfort.

97

AKIS TEMPERIDIS

EXPERIENCE

NO ONE LIKE HIM

After years of journalism, I felt the need to launch myself more directly into the part of the traveller, the one who starts and goes. In addition, it was passion right away! With my expedition “The world Offroad I” I wanted an experience of great commitment right away, without half measures. I set up a Land Rover Discovery equipped with a Maggiolina Extreme Forest tent and I set off on a roundthe-world trip. I knew it was going to be hard, but I had no idea to travel 167,000 km in 1,234 days, touching 67 countries and 5 continents. How did I do that? Passion and curiosity. Shared with Vula, my life and travel companion. Maggiolina has been our home and refuge for 718 nights in about 600 different places!

For Vula and me those were unforgettable moments, perhaps unrepeatable. We were excited and we loved that total sense of freedom that only an Autohome® roof tent can provide. I underline: a very good roof tent, because if there had not been the quality of Maggiolina on several occasions there would have been trouble. I have told it many times remembering this great journey: Maggiolina gave us positive energy from day to day. We slept both in hot temperatures and in freezing conditions, but in the Maggiolina we always found ourselves pampered.

98
"The Maggiolina roof top tent was our home for 700 days. We still miss it!"
"It's more than a tent, it's positive energy!"

AN IRRESISTIBLE DESIRE TO TRAVEL

Our first big tour was in collaboration with the leading automotive magazine in Greece, for which I worked. Writing has always been my main job, which also includes editing books and travel guides. With Vula and our daughter, we lived in Italy for several years, but the desire to travel never abandoned us. Not really! We had many more experiences since 2010. For example, we took part in the project “Around the World” launched by “7Milamiglialontano”. After this collaboration “The World Offroad II” was set up, which is taking us along new routes starting from the mythical “Silk Road”. In this adventure, I am driving an IVECO 4x4 motorhome, but without renouncing to mount a 90 cm wide Overland Autohome® tent on the roof, as a wildcard space useful both for relaxation and to accommodate additional travelling guests. Also during the new tours, I continue my activity as a writer and photographer, which today is carried out mainly thinking about the online world, on sites, portals and social networks. It will always be the network to welcome my next reports, documentaries created with particular attention in observing the countries and populations with which we come into contact. Cultural experiences as well as adventure, on which I like to involve my daughter very much.

99

THE WORLD OFF ROAD

"Here as a gift some drawings I made The World Off Road."

100

Anastasia Temperidis

during the long journey

Greece.

101
"My name is Anastasia and I am from Salonicco,
My mom,s name is Vula and my dad is Akis"
MAGGIOLINA: 102
PH. MAX DONOSO
*
AKIS TEMPERIDIS E VOULA NETOU SUPERSTAR TRAVELLERS

When you are miles away from home – in the desert or jungle, when you are having to endure the harshest of conditions in the most inhospitable places, the success of an expedition depends not only on the ability and skills of the explorer but also on the equipment used.

Maggiolina will always offer you comfortable and safe accommodation. Lifted off the ground it is safe from nasty surprises! Those who have tried Maggiolina on their car roof no longer consider any other way of sleeping. The numerous users of all nationalities taking Maggiolina on their travels prove this.

Listing all the journeys and expeditions where Maggiolina has played a key and successful role is simply impossible. We can only say that Maggiolina is an ideal companion to share your exciting adventures.

THE DESERVED SUCCESS

103

ONLY BY KNOWING YOUR

DESTIN

ATION WILL YOU FIND THE WAY

COLUMBUS CLASSIC COLUMBUS

VARIANT

CARBON FIBER COLUMBUS

FUN AND EXCITEMENT

GUARANTEED

A sense of freedom, adventure and truly independent spirit at first glance. Columbus is the ideal roof tent for a week-end, holiday or tough trip. This surprising range of roof tents is a lesson in design: made by expert hands with passion and dedication in every detail. Columbus is much more than a campsite roof tent: its strength, versatility and safety make it ideal for extreme camping and Off-Road holidays. Like all Autohome roof tents, Columbus has a history of adventure throughout the world, providing users with maximum protection. Opening the tent is really quick and easy, thanks to the special gas strutts, which lift up the top whilst keeping the fabric properly tensioned. Columbus – your essential travel partner.

CLASSIC COLUMBUS 108

It represents travel comfort and, because it is spacious, is ideal for anyone who wants to share an adventure with others; it keeps out the cold which matters to someone like me, a mountain lover.  Yet, it is also something more; it is my dream and the embodiment of a perfect idea of freedom, as for every freerider or skialper.

109

SO FAST SO HIGH

All Columbus models open in an instant. By releasing the catch at the back, the tent will open thanks to two special gas springs (just like those on car tailgates) which lift the top whilst keeping the fabric tensioned.

Closing it is just as simple; you are then ready to set off again in total safety.

It is the highest tent there is: opened, it reaches 150 cm keeping the shell firmly anchored to the base to offer advantages in terms of stability and ease of use.

SMALL Columbus Classic Small: C/01

Aerodynamic version. Recommended for two adults.

MEDIUM

Columbus Classic Medium: C/02

Aerodynamic version. Recommended for two adults and a child.

LARGE Columbus Classic Large: C/03

Aerodynamic version. Recommended for two adults and two children.

150 130 210 145 210 160 215
CLASSIC COLUMBUS 110

Optional for Columbus Classic Small and Medium: instead of the standard 210 cm long, this version is available at 230

Airtex® is a top-of-the-range fabric made in Germany not retaining water vapour inside the tent, but it releases it in a natural way unlike plasticised polyesters or fabrics of Asian origin considered moisture generators.

YEARS WARRANTY 5 THE ORIGINAL TRADE MARK N. 014532105
130 230 145
GRAY
111 AUTOMATIC OPENING
TOP AIRTEX® TEXTILE WINDSTOP
X-LONG
INTERNAL CAPACITY OF THE SHELLS Small about 196 l Medium about 220 l Large about 260 l
cm in length.

GIVING A LOOK AT THE WORLD

The classic model has Airtex Gray, Safari or Wild Green fabric and versatile opening: this roof tent has a large rear window and can be customized in numerous ways. Ventilation and light is excellent, without compromising privacy.

The modular nature of the openings and further features of the Columbus Variant give you the opportunity to enjoy the pleasures of outdoor life, without sacrificing the comfort of the best roof tents on the market, original Autohome models which have made the history of extreme camping.

VARIANT COLUMBUS 112

“I like hard work in a simple camp, on clear or dark nights and when the sandstorm rages the desert is terrible and merciless, but if you know it, you cannot forget it”. My work consists of writing and taking photographs of motorcycles in Africa. Deserts are nearly always my destination and the tent on my Toyota roof is my ‘village all inclusive’.“

113
Edo Bauer

FREEDOM

IS IN THE AIR

Like all roof tents in the range, Columbus Variant is made with high-quality materials that guarantee strength and comfort. The fiberglass shells combine the benefits of strength and lightweight design in a single material which is easy to wash and repair if damaged (which is unlikely); the AIRTEX® fabrics are highly waterproof yet breathable ensuring overnighting is dry and comfortable. In Columbus roof tents everything contributes to excellence.

SMALL

Columbus Small: CVG/01 - CVBS/01

CVC/01

Aerodynamic version. Recommended for two adults.

MEDIUM

Columbus Medium: CVG/02 - CVBS/02

CVC/02

Aerodynamic version. Recommended for two adults and a child.

LARGE

Columbus Large: CVG/03 - CVBS/03

CVC/03

Aerodynamic version. Recommended for two adults and two children.

150 130 210 145 210 160 215
VARIANT COLUMBUS 114

NEW! OF SERIES

WING

A further protection to enjoy your stay in the tent even in the event of bad weather.

All openings, the side entrances and the tailgate, are covered and can remain open when it rains.

Wing is easily applied using Velcro and a modular arc pole (AL).

Material: 100% Nylon, colour: Black, bag included.

BLACK STORM

Black shells | Carbon fabric

X-LARGE

Columbus X-Large: CVG/04 - CVBS/04

CVC/04

Aerodynamic version. Recommended for two adults and two children.

Solution possible only on large vehicles (4x4, minivans, vans).

X-LONG

Optional for Small and Medium: instead of the standard 210 cm long, this version is available at 230 cm in length.

WINDSTOP

YEARS WARRANTY 5 THE ORIGINAL TRADE MARK N. 014532105 GRAY CARBON 130 230 145 180 230
TOP AIRTEX® TEXTILE
115 AUTOMATIC OPENING
THE SHELLS
INTERNAL CAPACITY OF
l
l
l
Small about 196 l Medium about 220
Large about 260
X-Large about 300

WING OF SERIES

TAKE YOUR ADVENTURES

TO NEW HEIGHTS

Le idee d’avanguardia si misurano in una sfida: superare i confini inesplorati. Columbus Carbon Fiber è, nella sua specie, la prima tenda al mondo con il guscio in fibra di carbonio: i particolari accorgimenti tecnici abbinati all’inedito polimero garantiscono caratteristiche dinamiche senza precedenti. La fibra di carbonio ha una resistenza specifica simile all’acciaio, ma è estremamente più leggera: i nuovi gusci del modello Columbus possono pesare il 20% in meno dei gusci tradizionali. Le caratteristiche generali sono le stesse dei modelli Variant, ma i materiali compositi in fibra di carbonio, adottati da tempo nel settore aerospaziale, conferiscono elasticità e resistenza impareggiabili. Columbus Carbon Fiber è la nuova sfida: godetevi il futuro, oggi.

CARBON FIBER COLUMBUS 118

Tour leaders belonging to the most important expeditions, international selectors. Land Rover Experience is aimed at training offroad lovers to let them discover exotic regions, far from usual paths as well as from tourist traps. With Autohome®, under any circumstances people are sure to obtain the best results!

119

RESISTANT

The innovative and exclusive production of Carbon Fiber shells allows to have a decisively lighter tent. Amongst the main features: extraordinary mechanic resistance and high thermal insulation. If you are looking for a tough roof tent, Maggiolina Carbon Fiber is undoubtedly the best on the market.

SMALL

Columbus Carbon Fiber Small: Art. CCF/01

Aerodynamic version, recommended for two adults.

MEDIUM

Columbus Carbon Fiber Medium: Art. CCF/02

Aerodynamic version, recommended for two adults and a child.

AND 150 130 210 145 210 CARBON FIBER COLUMBUS
120
LIGHT
YEARS WARRANTY 5 THE ORIGINAL TRADE MARK N. 014532105 49 55 kg kg S M CARBON TOP AIRTEX® TEXTILE 121 AUTOMATIC OPENING INTERNAL CAPACITY OF THE SHELLS Small about 196 l Medium about 220 l
WINDSTOP An Autohome® exclusive that makes the essential difference in strong wind conditions.
CARBON FIBER

Joe Sinclair, Land Rover Director of Branded Goods and Licencing, said:

“The New Land Rover Defender is the ideal vehicle to reach remote destinations comfortably both on and off-road. This roof tent will enable Defender drivers to continue their adventure above and beyond their journey; it’s perfect for the modern-day explorer.”

Giuseppe Fercodini, CEO of Autohome®, said:

“Land Rover has worked hand-in-hand with our technicians to design a unique roof tent for the Land Rover Defender. This tent is much more than a campsite accessory: its strength, comfort, versatility and reliability makes it ideal for extreme camping and off-road holidays.”

AUTOHOME® OFFICIAL

ROOF TENT X LAND ROVER DEFENDER 110

AUTOHOME® OFFICIAL ROOF TENT X LAND ROVER DEFENDER 110

GLOBAL ADVENTURE LAND ROVER AND AUTOHOME®

The Land Rover Autohome® tent is the result of the experience of those who invented and patented the hard shell roof tent in 1958: a tent providing for a maximum speed of use, a real mattress to sleep on and the best protection from atmospheric agents. All it takes is a simple gesture to open and close the tent, ready to start off again perfectly rested, then safe and focused on driving.

Designed for those who have an adventurous, durable heart and the height of the vehicle which it was created for: the New Land Rover Defender 110. Land Rover and Autohome®, the perfect combination for those who set no limits to their freedom.

OPENING CLOSING

Shells open automatically with 2 tidily housed gas springs, just the right size and perfect even in extreme temperatures.

124
Exclusive Autohome® series for Land Rover
YEARS WARRANTY 5 THE ORIGINAL TRADE MARK N. 886239 150 130 230 CARBON TOP AIRTEX® TEXTILE WINDSTOP 125 AUTOMATIC OPENING INTERNAL CAPACITY OF THE SHELLS Small X-Long about 271 l With the blackout mosquito net inside you can see outside, outside you can’t see inside. SMALL X-LONG Autohome® for Land Rover: Art. CO/LR Aerodynamic version, recommended for two adults.

TECHNICAL 1

150 cm

COLUMBUS: SYNTHESIS OF THE RANGE

The series Columbus offers roof tents models realized in fiberglass and carbon fiber. Sizes, volumes and internal capacity of the various models are all different and some of them also allow to fit additional bars on the shell useful to transport surf boards, kajaks and other tools.

All the shells have the same shape and design: a fluid, clean, aerodynamic line and esthetically perfect also on small vehicles.

SHELLS OPENING

The opening of the shells takes place automatically with 2 gas springs perfectly allocated, sized and respondent to the most different and extreme temperatures you can face.

Once opened, the tent reaches an internal height of about 150 cm.

The internal height is another important element of evaluation characterising the tent model, as to provide for greater comfort and freedom of movement when you are inside.

Even a few centimetres of shell height can make the difference, everything is calculated and designed so that medium-height occupants (170-190 cm) can be comfortably seated or on their knees, keeping their head at a proper distance from the roof, thus allowing greater freedom of movement.

The overall length of 210 cm is a measure providing for optimal comfort and the use of sleeping bags or bulky blankets. For very tall people, the X-LONG model (length 230 cm) is recommended.

ANTI-CONDENSATION VENTILATED ROOF

The ventilated roof in attics and luxury houses is the element that inspired us to develop this project. Columbus® has an internal false ceiling that, thanks to the air cushion provided, guarantees superior thermal and acoustic insulation for a healthier and quieter environment in case of rain. This peculiarity, however, is present on the entire line of shell tents made by AUTOHOME®.

In the event of thunderstorms, the Fiberglass roof does not attract lightning.

HIGH TECH PERFORMANCE INSULATED ROOF

This exclusive “Structural System” is able to counteract in a natural way the formation of moisture and condensation inside the tent 24 hours a day.

AIRTEX® MADE IN GERMANY

The Columbus® series adopts AIRTEX®, a high-end fabric produced in Germany.

It is a highly waterproof fabric with a high transmission coefficient of water vapour to prevent the build-up of moisture and condensation inside the tent.

Fiberglass Alveolar panel
[ DESIGN PATENT ] 126
Mousse ROOF INSULATION

Condensation

Transpirant textile

EXCELLENT VAPOUR TRANSMISSION, BETTER WELLBEING

AIRTEX® promotes the leakage of excess heat and water vapour, 24 hours a day.

TOP AIRTEX® TEXTILE

Provides water vapour transmission of 440 g / m²2/ 24 h

Weight 200 g/m2

Indipendent and removable elastic

EASY TO OPEN, CONVENIENT TO CLOSE

The perfectly placed gas springs do not disturb the occupants, while lifting the upper shell maintaining the roof integral with the base of the tent thanks to the hinging that provides for the maximum internal height ensuring the necessary stability.

Elastic tensioning straps inside the tent help to fold the fabric into place when closing the shell, particularly useful on high vehicles.

Stretching strength 200/1000 N /50 mm

Resistance to extreme temperatures da -40° a +70° C.

Waterproofing 600 mm

Resistance to tearing 280/80 N

127

COLUMBUS CLASSIC

Elegantly designed and aerodynamic classic models perfect on small cars and 4WD vehicles. Models equipped with opening with 2 gas springs, soundproof and anti-condensation roof, high density sponge mattress with cotton cover, 2 to 4 pillows and adjustable aluminium ladder for medium height vehicles. The roof tent is internally equipped with a directable LED light (12 volt) and a big window in the real. All openings have a mosquito net: everything is windproof and anti-shock, therefore quiet sleeps are possible with both breeze and strong wind. The mosquito nets are fine knitted and blackout type: “inside you can see outside, outside you can’t see inside”.

1 - Columbus provides extra storage area while travelling. The mattress does not fold, does not take up space and remains flat on the base, allowing to store travel accessories, bed linen, sleeping bags, personal effects, all in a safe place.

2 - WINDSTOP: Two internal safety locks to prevent closure during gusts of wind are fitted as standard (when locks are inserted, the tent does not close).

3 - Available with: 2 roomy storage pockets, one per side.

4 - Arched door fitted on each side complete with roll up, roll down mosquito nets. Fitted with circular zips, they can easily be changed into windows.

5 - 6 - The aluminium ladder is extremely compact, foldable for travel or pull-out during the night.

7 - Adjustable height alloy ladder with automatic locking device. Ladder bag included.

8 - Overhead light with 3 super bright Leds, including 3x1,5V batteries.

COLUMBUS VARIANT AND COLUMBUS CARBON FIBER

The roof tent is equipped with a new net with closable pockets, a directable LED light (12 volts) and a large rear opening that allows you to personalize comfort and intimacy. All openings have a mosquito net: everything is windproof and shockproof.

In addition to all the elements present in the Columbus Classic model, the Columbus Variant series is equipped with:

9 - New! WING: the additional perimeter protection, ideal in bad weather, becomes from today a “standard” solution.

Wings means two prominent eaves on the side entrances, and a wide back protection. This self-supporting solution can be easily attached to the roof with Velcro and a modular arched pole. The feeling of protected space and airiness is remarkable: an upgrade designed to increase attention and appreciation.

10 - Full size rear opening, adjustable in 6 variants. Entirely redesigned, it offers even more functional and customizable solutions. The transparent glass PVC needs to be mentioned,

allowing to see outside even in case of bad weather, which now become removable. The customised back door openings are supported by aluminium poles embedded in the fabrics, to counteract the negative effects of the wind.

11 - The internal ventilation system, which is now called AIR CLIMATE, changes its appearance and size. It now has a wide opening in the upper part of the fabric, 80 cm wide, which efficiently and naturally promotes air exchange.

12 - NÉCESSAIRES STORAGE: a new solution applied to the inner ceiling, equipped with closeable pockets to prevent objects and other materials falling.

13 - 14 - The Columbus Variant Small and Medium version is configured for supplementary roof bars using ‘Kit Fix’ Art. K/F (not supplied) suitable for transporting sporting or camping equipment. The model Columbus Variant Small X-Long and Medium X-Long is not equipped for the application of Kit Fix.

1 2 3 10 4 11 9
TECHNICAL 2
128
CLIMATE

6 DIFFERENT KINDS OF BIG BACK OPENING

SECURITY LOCK 6 7 5 8 14 13 12 129
Example 1 100% open. Example 2 100% opening with mosquito netting closed. Example 3 60% door upper opened with mosquito netting closed, giving 40% darkening and privacy inside the tent. Example 4 40% upper door opened with mosquito netting closed giving 60% darkening and privacy inside the tent. Example 5 20% upper door opened with mosquito netting closed giving 80% darkening and privacy inside the tent. Example 6 Opening 100%.

ACCESSORIES

COLUMBUS®

SELF-CONTAINED VERANDAH (Art. C/03A)

Self-contained Verandah (200 x 160 x 245 cm high approx). being self-contained, it allows you to move your car whenever desired. Fitted with openings on all sides, it is very versatile and useful. Plenty of space for storage, cooking, eating and additional sleeping area.

2 0 0 2 0 0 80 160 8 0 80 245 cm min 155 max 170 200 cm 160 cm
130
Anodised Aluminium Poles
131

ACCESSORIES

COLUMBUS®

1 - WINTER HOOD (Art. C/04A)

The Winter hood is extremely easy to use thanks to the Velcro fastening. One half is attached under the Columbus roof, the other half on the Winter hood. The Winter hood can be attached and remain in situ, whilst travelling.

2 - AWNING for cars (Art. C/05A-1)

AWNING 4X4 for vans and 4 wheels drives (Art. C/05A-2)

A quick protection area that allows more privacy. Variable sizes according to the height of the car: width of the roof 150 cm, depth 100/200 cm. As a standard, it can be applied on the driver’s side.

3 - FEET (Art. C/06A)

These supports are classic accessories and come in really handy. Especially in a campsite after midnight. Most campsites in Europe close at midnight, for the peace and quiet, so if you think you won’t be back until after midnight, it’s a good idea to leave the tent on these ground supports in the allotted area. If you’re staying somewhere on holiday for any amount of time, the supports are indispensable: the rooftent can be used as a traditional tent on the ground.

4 - WING FOR COLUMBUS CLASSIC

A further protection to enjoy your stay in the tent even in the event of bad weather. All openings, the side entrances and the tailgate, are covered and can remain open when it rains. Wing is easily applied using Velcro and a modular arc pole (AL). Material: 100% Nylon, colour: Black, bag included.

5 - ROLLING TOP- SHELL

Art. R/TOP - S cm 180x180

Art. R/TOP - M cm 220x225

Available with a load-bearing structure in anodized aluminium box and easily installed on any roof rack.

It is an exclusive product designed and manufactured by Fiamma® for Autohome®.

Included in the standard KIT supply: awning attachment bracket to be applied to roof bars - roof rack.

ROLLING TOP- SOFT

Art. R/TOPS - S cm 200x250

Awning with load-bearing structure in aluminium with a PVC cover, easily installed on any roof rack. The Autohome® product is practical and always ready.

Included in the standard KIT supply: awning attachment bracket to be applied to roof bars - roof rack.

1 CABINA
4X4 80 80 200 76 150 CABINA MAGGIOLINA 4X4 80 80 200 76 150 ROLLING TOP SMALL ROLLING TOP MEDIUM 220 180/250 180/200 225
MAGGIOLINA
132
Anodised Aluminium Poles VELCRO
2 2 3 5 4 133

Cactus is like our lives. They are full of thorns, but sometimes they contain moments of great beauty.

AHS® ACTIVE

AHS® PROTECTION

AUTOHOME® shell tents are defined by the most authoritative experts in the outdoor sector as “ACTIVE HARD SHELL”. Namely “Tents with active roof”. the top shell: it’s not just the tent cover when you’re moving, it’s the roof of the tent itself when it’s open.

This leads to greater reliability, because the shell, when lifted, protects the underlying environment fully and actively. So, it is not a trivial passive element, a sort of wall or a simple lid without utility: it is in effect the TRUE roof of the tent!

IMPORTANT INFO
AUTOHOME® 136

HARD SHELL

AHS® FREEDOM

The shell tent rises vertically. The Autohome® tent, when it is open and the roof in place, every structural element, from the fabrics to the service ladder, remains inside the shape of the car. The open tent fits into the space defined laterally by the car mirrors, so it does not suffer from the conditioning imposed by parking and parking areas.

In practice, it means being able to stay anywhere, even in public areas without the obligation to stop only at the campsite.

AHS® ISOLATION: DOUBLE ROOF

A distinctive identity, justified by numerous quality elements, able to stand out on the market. One of these fundamental elements is the shell with an active under roof, that is a semi-rigid inner lining designed and manufactured with great care and suitable materials: its function is in fact to concretely help counteract humidity and condensation, 24 hours a day and in a natural way, thus keeping the environment drier and healthier.

It deeply differs from the banal tapestries applied, unreliable and sometimes masking their poor quality with imaginative designs or eye-catching colours. Even less reliable are the low-cost finishes, almost always of Asian origin. These are the choices that distinguish Autohome®, the only one that can tell... the difference starts from the roof!

137

HANDMADE SHELLS AS FROM

MATERIAL COMPARISON TABLE

FIBREGLASS ADVANTAGES

MANO 138 Shock resistance
Lightness Long duration Lack of maintenance Weathering resistance Does not retain heat ± 5° C Thermal insulation
SPECIFIC WEIGHT g/cm³ TENSILE STRENGTH MPa ELASTIC MODULUS GPa COEFFICIENT OF THERMAL EXPANSION K¯1 COEFFICIENT OF THERMAL CONDUCTIVITY W/mK FIBREGLASS 1,5 400 26 11 x 10 6 0,35 WOOD 0,7 250 12 14 x 10 6 0,1 ALUMINIUM 2,7 80 70 23 x 10 6 170 STEEL 7,8 400 210 12 x 10 6 40 PLASTIC 1,8 70 3 85 x 10 6 0,1

TRADITION

ARTISAN QUALITY IN MASS-PRODUCTION

As for most of the versions made by Autohome®, the shells are made of fiberglass.

Fiberglass is a particular fabric fiber interweaved and soaked in resinous liquid substances or polyester. This material is also known as GRP, glass reinforced plastic (GFK in German).

The above mentioned really expensive liquid resins, once adequately mixed with catalyzing or accelerating additives, are manually spread with hairy roller brushes on a glassy fabric previously lay on open stamps. In this way, while solidifying, the liquid resin incorporates the glassy fibers and creates the fiberglass. It is a laborious process by hand but it is surely worthy the quality of the result.

Fiberglass is very widespread within the building industry and used especially for roofs and other industrial and urban coverings. It does not get warm under the sun and keeps any closed environment insulated from heat and cold, an indispensable feature for any roof tent. Thanks to fiberglass, Autohome®’s shells guarantee excellent quality not only in regard to their endurance and sound proof insulation, but also in terms of lightness and easiness to repair (avoiding this way the high costs of substitution of entire shells, usual in the case of Asian manufacturing that commonly uses simple plastic).

The quality of fiberglass is so great that this material is also used in the manufacturing of boats and cars, especially for bodyworks and hulls that need rigidity and stability throughout time… the best campers, for example, are the ones with single body made with fiberglass and therefore easily repairable (bodies made with ABS are indeed not very diffused anymore because of their difficult reparation processes).

Thanks to its excellent qualities of lightness, robustness and resistance to decompression, fiberglass is also used for windmill blades and within the aeronautical and aerospace industry.

ATTENTION! NO PLASTIC NO ABS NO ACRILIC 100% FIBERGLASS

Autohome®’s shells are designed and manufactured with the best existent material today. No presumption of travelling to the moon (for the time being…).

139
Fire
Mechanical
Dimensional stability -
not deform Electrical
Resistance
environmental
Easy to repair
Radar transparency
resistant
strength
does
isolation
to
agents

AUTOHOME:

INTO THE MOOD

A creation with which Autohome® celebrates the freedom to move in the river of emotions and pays tribute to the great artist of the images Peter Lindbergh.

Moving along the river of emotions, the traveller of images looks for the perfect place: essential nature and cleanliness of the space, in an impeccable “black and white”. Go beyond the usual and be able to choose without limitations where to stay. “True beauty only springs from the acceptance of oneself, from an awareness of who we really are”. Peter Linderberg whispered all the time...

Strengthened by his teaching, the traveller of images captures the charm of spontaneously free subjects with his camera. Especially women: natural, real, free even from the constraints of fashion.

Thus, a real symbiosis with space is created, day and night. With the nomadic spirit in the heart. And when waking up? The desire to resume the journey is renewed! Along the river of memories and passions. In the world, where the whole world is our home.

The emotion of words becomes images on www.autohome-official.com/video/into-the-mood/

142

INTO THE MOOD

143

Finally the role of protagonist on the stage of nature, with no one here to applaud it.

CLAUDIO CHIODI SAFARI SERVICE

THE DESERT, MY LIFE

Claudio Chiodi has always travelled, he often likes to say about himself: “I began to travel even before I was born, in my mother’s belly, who was following my father for his work”. And he never stopped, first with his parents, then with the first experiences with the scooter and then with the bikes, one of his great loves. In 1984 another love at first sight: Africa and the desert. The sand became almost a vital necessity and since then it was an integral part of his life: spaces, silences, infinite horizons... His travels thus became increasingly demanding, even economically, but lucky for him, the first sponsors and collaborations with some magazines in the sector supported his projects. The world of the outdoors was now interested in him. The requests of the readers pushed him to share these experiences and in 1988, SAFARI SERVICE came to life, a sports association aimed at travelling. He promised to maintain the philosophy of his travelling even with the participants in his projects. He started raid experiences in total navigation: Libya, Algeria, Niger, Mali, without scouting, absolute premières shared directly with his raid friends. Everyone plays an active role in the journey. No programs: you only do what the group is able to face. And no fake packaged adventures. For Claudio, this meant living in Africa for almost 38 years, mainly in the deserts. More than 2,000,000 km covered and 140 expeditions in all countries of the African continent and the Middle East.

SAFARI SERVICE AND AUTOHOME®

When Safari Service came to life, Claudio abandoned the bikes to move to the 4 wheels. In fact, the car offers many more possibilities to transport equipment and increase the potential of the trip and the quality of life especially during stops, without giving up a philosophy of movement that is itself freedom. The “guiding thought” is similar: lean, light, dynamic means. The only concession: an eye on rest: improving sleep and safety. From a sleeping bag on the ground to sleeping on the car roof. The memorable Air-Camping of the legendary Nino Cirani was the inspiration. The first Maggiolina tents were sold on the market, the reference to offer something original. In the early 90s, he started working with Autohome® and the Columbus Variant tent was designed by combining ideas, passion, and experiences.

146

AN AUTHOR ‘S OPINION

Claudio says about Autohome®: “Clearly at the time I was looking for sponsors and in the roof tents sector, Autohome® was the reference. We were immediately in tune. However, I did not want a product already on the market, I was looking for something to solve what I thought were my needs. They listened and trusted me. And what struck me, yesterday and today as well, was passion. At the time Autohome® was a small company, but with extraordinary energy: people who took your advice and tried to find innovative solutions, with a maniacal attention to details. On this basis Colombus was designed, a tent I can say I am one of the “designers”. Still today, for me, it is absolutely the best tent on the market. Lightweight, very fast to open and close, robust and water-resistant even in difficult weather conditions. In addition, it is also an excellent container.

A SEVERE TESTER

Claudio was always driven by passion in his choices, but he is equally motivated by quality and functionality of the products he uses: “I have been using Autohome® tents for 30 years, and if by default I calculate 90/100 nights per year spent in the tent, it means that I spent at least 8 years sleeping in this... second home! A scenario that clearly explains how important a product is for me: it protected me under the rains of the rainforests, from the wind and sandstorms blowing at more than 100 km per hour, from the frost and the torrid temperatures of the deserts. I am proud when Autohome® techs say: “Test this new solution, because if it passes your travel tests and it does not break... nobody will break it anymore!” It is a double pride, because I know I am a tester for a staff animated by a commitment that has no equal in the sector. I love recalling these testing experiences, because it is not easy to imagine how an apparently simple object such as a tent is continuously checked during travel and perfected: from the paint of a rivet to the breathability or waterproofing of a fabric, to the smoothness of a zipper or the comfort of a mattress... Collaborating as a tester with a team such as Autohome® is a high responsibility, but it is also a great satisfaction!

147
NEW 2023

It was 1964 and, like every year, I was exhibiting the Air-Camping tent at the Fair of Milan, when a person appeared in front of me: « ... My name is Nino Cirani and I work as a photographer and journalist: I am organizing a journey with my Land Rover and another Land Rover driven by some friends of mine. We need to cross the entire continent of Africa, first northwards, from Cape Town to Cairo, and then, west, across North Africa to Morocco, we will then drive back to Italy through Spain and France. I have a taste for perfection, and would like my tent to be suitable for photographic purposes. I would also like to receive any updates, as our journey will be very demanding... ». An irrepressible joy was flashing in the eyes of this young man. I immediately understood that he was not looking for a simple tent, but for equipment to achieve a big dream.

STATISTICS OF

30 years of extreme car rallies on all five continents; 500.000 km of roads, tracks and cross-country trails; 2.000 nights inside the Air-Camping tent.

150
Dr. and maker of the Air-Camping tent

MAIN CAR RALLIES PARTICIPATED IN BY NINO CIRANI

A LEGEND

151
YEAR DESTINATION LENGTH KM 1959 MILAN - NORTH CAPE Across 10 countries 3 months 24.000 1962 ITALY - SINGAPORE Across 13 countries 5 months 31.000 1963 ITALY – former USSR Across 7 countries 3 months 22.000 1964 JOURNEY ACROSS AFRICA 1st Italian crossing across 17 countries 9 months 53.000 1968 ALASKA – LAND OF FIRE 1st Italian crossing and record of length across 18 countries 11 months 103.000 1972 1st SAHARA EXPLORATION Across 8 countries 3 months 25.000 1973 2nd SAHARA EXPLORATION Across 9 countries 4 months 32.000 1974 3rd SAHARA EXPLORATION 1st Italian crossing of the Great Erg of Bilma across 7 countries 3 months 26.000 1975 ITALY - CEYLON Across 9 countries 9 months 52.000 1976 4 th SAHARA EXPLORATION 1st World crossing from Fachi to Termit Mountains across 6 countries 3 months 30.000 1977 JOURNEY ACROSS AFRICA Across 25 countries 12 months 55.000 1978 AUSTRALIA – NEW ZEALAND 9 months 45.000 1979 5th SAHARA EXPLORATION 3 months 24.000 1980 NORTH CAPE AND ICELAND 4 months 25.000

"Where the sand dunes with their marvellous squiggles disappear beyond the horizon, under a hopeless and merciless sun, that hard, demanding nature, where everything is strictly motionless and essential, made me feel perfectly at ease, as if I was born and had always lived there."

Nino Cirani published several photojournalist reports in the most prestigious magazines. In 1973, he published his experiences “The Car Rally; How, Where, When” (Domus Publishers - “Il raid automobilistico. Come, dove, quando”) a handbook full of suggestions, explanations and drawings to prepare for an adventure raid in the best possible way.

The equipment was prepared with the utmost care: including his Land Rover, where all the mechanical components and tanks were protected by means of metal plates, fabricated and modified by himself in the machine shop of his friend Amedeo Gaiani in Milan.

In the book, Cirani describes at great length how he used to prepare his car and the equipment required for the expedition or rally: The roof tent is defined as decidedly better than any traditional product.

152
The big dazzling open space: the Desert, where the wind sometimes blows so hard that, mixed with sand, it succeeds in grinding the windscreens of cars''.
''
Everything could be found in “Aziza”: Tools, cooking utensils, additional fuel tanks, a small fridge (to preserve photographic films), one hatchet, one pickaxe and one shovel. Also one machete, one rifle and one hand gun. In the images you can see Aziza 3, on which preparation work took 1.500 hours.

One day, in the desert of Nubia, on the track to Abu Simbel, I crossed an enormous truck of the Egyptian army. The soldier, who was driving, looked and smiled at my Land Rover and said “aziza”, which, in the Arab language, means “nice” and is an adjective used for young, handsome and attractive girls. In this way is born the series of Azizas.

A sand storm caught us off our guard. We could no longer see anything and when, finally, the wind stopped blowing, we had to clear Aziza that was almost covered with sand. It had been a hard, very hard journey, but now, in my memory, it remains the most beautiful I have ever made.

153

Alaska - Land of Fire: it is the longest route that one can make on the Earth. It is a ride from the extreme North to the extreme South, a journey across all the latitudes, from the ice of the Arctic to the ice of the Antarctic, through all the climates, from the arctic to the equator, across all altitudes, from 80 metres below sea level, in the Valley of Death to 5.000 metres in Peru and Bolivia. By force of zigzagging in and out the different countries, we had to undergo a good 64 customs checks. Also this, I think, is a record for a single journey.

Great Undertakings on a Reduced Scale

In 1970, the adventures of Nino Cirani aroused the interest of Mebetoys, which reproduced Aziza on a 1:43 scale, equipping it not only with doors, bonnet and hatchback that could be opened, but also with all the relevant equipment fitted. On its roof, beside the additional spare wheel, there is the Air-Camping tent. The Land Rover of the “Trans-American Tour” is still in demand by customers today, and is available in the BBurago catalogue both on a 1:43 and on a 1:24 scale.

154
''
Here cross-country driving is completely impossible. For 34 days, we travelled on mule tracks at an altitude of 4.000 metres, always on the edge of the precipice. The smallest mistake would have been fatal.''

Nevertheless what we found in the hinterland re-paid us for the dangers, for the efforts, for the fords we crossed, and for getting stuck in the mud: Titicaca Lake, the Urus Indians on their floating islands, the Indians of the Andes in Peru, the very high mountains covered with ice, the huge expanse of the “puna” of Bolivia, empty and swept by the wind. And the colours of the Indians, the colours of the landscape and the colours of the wide skies.

155

1.200 nights in the Air-Camping tent of the Dragesco brothers.

Two brothers, Alain and Eric Dragesco, from Paris are professional photographers, have confirmed sleeping 1.200 nights in their Air-Camping tent in the space of 5 years. In 1988, when returning from a long journey in Pakistan, they wrote «This tent is comfortable and safe, a really outstanding tent, it has been very serviceable for us».

156

There are people who dream of travelling, and people who make dream travels. Allow yourself the biggest luxury in the world: Freedom.

157
The tent of the Dragesco brothers that is mounted on a small military luggage trailer. Pass of Baltistan, Pakistan, at an altitude of 3.500 m.

COMFORT ALWAYS HOLDS THE FIRST PLACE

FABRICS

The roof and sides are made of a heavy duty single skin 420g/m2, 50% cotton and 50% acrylic fabric, which is water proof, breathable and rot-proof.

This fabric has several advantages: it’s extremely breathable, so inside the tent is fresh and airy, unlike plastic-coated or resintreated fabrics, which are non-breathable and therefore create lots of condensation, which is the main cause of moulds. However the breathable nature of the fabric doesn’t reduce it’s impermeabilty to rain: on contact with water, the fabric weave swells and thickens; where sewing has occurred, the holes created by the needles swell and seal as does the thread used for stitching, whereas in plastic-coated fabrics, some permeable holes will still remain.

YARNS

A widely used, high-technology yarn, made of two different fibres: pure cotton outside, to swell on contact with water and fill the holes made by the needle plus a synthetic fibre core is used on the inside of the yarn to obtain a high strength seam.

COLOURS

The colours used since 1959, are for very practical reasons, including reducing the amount of light filtering through, by using medium grey on the roofs and dark blue for the sides.

158 WOOD
TECHNICAL 1
Above Air-Camping installed on the car in Explorer version Non-slip step

STANDARD SET-UP

Opening and entrance on the side of the vehicle.This configuration is available for all models.

EXPLORER SET-UP

Set-up with opening and entrance on the rear of the vehicle. This configuration is particularly suitable for Land Rovers and 4x4s. Option available for SMALL and MEDIUM. For the Large model, solution possible only on large vehicles (4x4, minivans, vans).

PLATFORM BOARDS

The boards used for the tent base are made of a poplar plywood, which, thanks to its long fibres, is very resilient and hard-wearing. This 12 mm thick plywood has been developed for this particular application; the different layers are bonded together by the cross-overlapping method, following the wood grain to produce the products unique features.

The Air-Camping procedure includes, veneering both outside and inside of the tent base, by applying two 0.3 mm thick Silver-Quartz CHPL (Casework with High Pressure Laminate Finish) laminated sheets. The plywood, therefore, has a double protection: it is waterproof and waterrepellent both outside and inside, does not absorb humidity, will not warp and prevents the formation of harmful mould.

METAL COMPONENTS

Both steel and aluminium are used in a combination that achieves a tent with strength, high resistance to wear and the elements, yet still maintain a light overall weight. The metal elements used are first quality; being hot-galvanized during the mills’ rolling process directly in the factory.

LADDER

The ladder was redesigned to achieve the best goals of functionality, reliability, and comfort. First, it is made of stainless steel, with wide wooden steps. Max. length 2,30 m.

EASY USE telescopic adjustment is a very reliable smart solution, that has made the history of the roof tent. It is easy to adjust and is always functional: it does not fear the presence of sand, soil or dirt. It also does not require maintenance or repeated cleaning.

ACE/03
ACE/02 MEDIUM ACE/01
159
LARGE
SMALL
AC/03
S leeps two adults + 2
Sizes: 180 x 220 cm (when closed: 180 x 110 x h 35 cm) AC/02
S
two
1
Sizes: 160 x 220 cm (when closed: 160 x 110 x h 35 cm) AC/01
Sleeps two adults Sizes: 130 x 220 cm (when closed: 130 x 110 x h 35 cm)
AIR-CAMPING LARGE
children
AIR-CAMPING MEDIUM
leeps
adults +
child
AIR-CAMPING SMALL

TECHNICAL 2

1 2 1 4 6 7 8 3 9 2 160

OPENING AND CLOSING

The automatic pop-up, swivel opening is the main reason for the Air-Campings’ success: since 1959, it has remained unchanged, faithful to its original design and well known simplicity. Once you have removed the cover, the tent opens in three seconds, simply by pulling down and lowering the ladder. Nothing further is required!

1- Two mounting channels on the underside of the tent base, plus locking clamps, enable a quick installation of the tent on any vehicles roof bars or rack, they also allow you to customize the opening system: Standard or Explorer. The whole installation can be completed without further drilling or modification.

2- Exclusive hinge system allowing the two halves of the tent base to “lock” together.

3 - Ladder anti-slip mechanism.

4 - The removable inner elastic cords (supplied) make folding the fabric much simpler.

5 - Two attached cam buckle straps keep the tent closed and compact, when sleeping bags or blankets have been left inside the tent.

6 - The poles supplied create a practical awning.

7 - Double opening.

8 - Mosquito net on both sides

9 - Textile = 420 g/mq

TEXTILE COLOUR

Blue: the walls to contrast the early morning lights.

Gray: medium, the roof to reduce solar absorption.

Yellow: mosquito nets because they are less attractive to mosquitoes.

THE PERFECT ICONIC SHAPE IDENTIFYING THE ORIGINAL PRODUCT SINCE 1959

When closed on the go, they have a regular parallelepiped shape; each structural element, including the staircase, stays in the shape. And all thanks to the telescopic ladder that, with its footprint, does not change the shape of the tent when closed, with its unique folding opening and closing.

3 BLUE GRAY YELLOW 5 AUTOHOME®
ORIGINAL YEARS WARRANTY 5 THE ORIGINAL TRADE MARK N. 882126 161 POP-UP OPENING
NOT

TARGET: AFRICA.

Francesco Delogu and five friends were members of a sport and scientific rally made in 1987 through Tunisia, Algeria, Nigeria, Cameroon, Central African Republic, Zaire, Rwanda, Tanzania and Kenya. In three months, driving two Toyota Land Cruisers, they covered 13.000 km of roads, tracks and cross-country trails. Their hotel room has always been their Air-Camping tent.

THERE ARE NO FOREIGN LANDS,

JUST FOREIGN TRAVELLERS

Overland, identical to the timeless Nino Cirani tent model, is presented today with a completely renovated multifunctional sunroof. The airiness and the wide protected space are the natural qualities to spend with serenity and well being the hot summer nights or fight the torrid equatorial heat. More privacy to sleep under the stars in contact with nature, in intimacy and out of sight of neighbours or passers-by.

The history changes dress to respond to new trends and needs, distinguishing itself not only for the tested and smart wind-proof design, but also for its strong brand identity, surpassing any previous record of appreciation and sales.

OVERLAND: Comfort is not a luxury.

LUXURY ADVENTURE

166

Silk Road

Jürg Solberger, Severin Bucher and his team, professionals and experienced in great adventure-trips.

From west to east on Marco Polo’s tracks to discover history and events which left their mark on people’s fortunes.

167

TECHNICAL 1

POP-UP OPENING

1 - The travel over-cover can be quickly removed by the single elastic tensioner. The particular configuration always assures the maximum adherence also during the trip.

2- The ladder is permanently connected to the base of the tent and allows to open quickly the tent with no effort.

3 -Overland is ready in a moment: your holiday can afford any comfort you would like to have.

INNOVATION AND DEVELOPMENT NEVER STOPPED.

The new DOUBLE-FACE roof, as defined by the Autohome staff, allows you to face any weather condition: through a zipper you can completely uncover the roof, and close it with equal ease when it rains, all while comfortably lying in the tent.

Nothing to add, no extra cover to install in case of rain, the Overland roof is ALL-SEASON.

Having a roof made of coupled fabric is really important : the turbulence in the wind is avoided, no need to control additional flying sheets, no more noise and discomfort neither with the night breeze nor with the strong wind.

Transparent PVC windows, often source of heat and condensation, are equipped with Velcro and easily removable when needed.

The innovative high tech mosquito nets keeps prying eyes away: from the inside you can see outside, from the outside you can’t see inside. An Autohome exclusive that takes all discomfort away.

The fabric combinations have an adventure style: black anti-UV roof and attenuated Carbon 420 grams sides. An impenetrable barrier to the lights of the night and the first glare of the morning, no untimely awakening and guaranteed privacy. The fabrics are Blackout and do not reveal the occupants shapes even at night with the light on. Good reading!

The certified waterproofness of the roof reaches 1000 mm of water column while the equally waterproof sides have a high breathability of 53 mm/s.

The series supplied Wing completes the product. A protective pre-entry in case of bad weather, so the transparent Crystal panels supplied with the tent, strictly removable, allow to enjoy the view while it rains outside.

1 3
2 NEW WING! 168
EXPLORER YEARS WARRANTY 5 THE ORIGINAL TRADE MARK N. 014529606 NEW 169 POP-UP OPENING SMALL Art. OLC/01 Overland Standard Small: recommended for 2 adults. MEDIUM Art. OLC/02 Overland Standard Medium: recommended for 2 adults + 1 child. LARGE Art. OLC/03 Overland Standard Large: recommended for 2 adults + 2 children. SMALL Art. OLCE/01 Overland Explorer Small: recommended for 2 adults. MEDIUM Art. OLCE/02 Overland Explorer Medium: recommended for 2 adults + 1 child.
LARGE Art. OLCE/03 Overland Explorer Large: recommended for 2 adults + 2 children. Solution possible only on large vehicles (4x4, minivans, vans). STANDARD Serial supplied: 2 large roof windows and 2 windows on the doors.
Overland Carbon Small installed on Jeep Wrangler with standard opening.

TECHNICAL 2

1 - The ladder was redesigned to achieve the best goals of functionality, reliability, and comfort. First, it is made of stainless steel, with wide wooden steps. Max. length 2,30 m.

2 - EASY USE telescopic adjustment is a very reliable smart solution, that has made the history of the roof tent. It is easy to adjust and is always functional: it does not fear the presence of sand, soil or dirt. It also does not require maintenance or repeated cleaning.

3 - The strong structure consists of special profiles being incorporated in the frame, which give the structure the highest transversal rigidness.

4 - Small packed size, with tight fitting travel over cover, ensures stability and reduced noise.

5 - To protect against cold, wind and sand, a special zip fastener, can be closed at the base of the door.

6 - Support bars hold open the doors to create awnings.

7 - 2 Windows with a new design equipped with mosquito nets and blackout protection adjustable from the inside: all wind and rain proof.

8 - The plates on the sides better fix the fabric at the base of the tent.

9 - The large openings are equipped with mosquito nets that can be closed by double slide zip fasteners.

6 1 7 5 11 12 13
170

10 - The outer of the bottom shell has been given a plastic coating, for incresed longevity, while the mattress inside, sits in an insulating protective cover.

11 - Each tent has two large storage pockets.

12 - The roof stakes are equipped with condensate proof covering: no need of additional sheets or inner cabins.

13 - NEW! WING: The useful protective pre-entry, ideal in case of bad weather, becomes standard. The transparent Crystal panel supplied with the tent, strictly removable, allow you to enjoy the view while it rains outside.

14 - Elastic tensioning straps inside the tent help to fold the fabric into place when closing the tent, particularly useful on high vehicles.

15 - Compression straps ensure the tent and bedding remain in place whilst travelling.

16 - Elastic strap, used to hold bedding in place when packing down the tent.

14 2 8 9 4 15 16 10 3 171

TECHNICAL 3 WIND THE

FABRIC QUALITY: MORE ADVANTAGES, LESS WIND AND NOISE

The most important thing about a tent is obviously the fabric and with OVERLAND by Autohome® you can be sure you are getting the best there is. The superior quality is provided not only by the density of the material, able to guarantee insulation against the heat, cold and bad weather, but also by the stability it gives to the tent.

THE FABRIC DOES NOT BLOW IN THE WIND AND DOES NOT GENERATE TURBULENCE, IT IS STABLE AND SILENT

The density also helps to make the tent silent even when buffeted by the wind: there is no noisy flapping or turbulence.

The special Overland fabric is manufactured exclusively by Autohome® with features that are able to match up to the toughest military specifications. As unlike conventional and unreliable fabrics – common in the mass market and discount stores - as possible.

172

ADVANTAGES

1. The fabric of the roof is polyester 255 g/m2 coupled with an anti UV blackout net of 170 gr/m2, which reaches a waterproofness equal to 1000 mm of water column.

For the sides, on the other hand, a combined 50% cotton and 50% polyester fabric is used, to guarantee a high breathability of 53 mm/s in addition to waterproofing. Its consistency is 420 g/m2 to offer excellent stability.

One more advantage: The combination of the two fabrics provides for a breathable anti-condensation cabin.

2. It is breathable and does not require the support of additional bulky sheeting. These are generally used only to hide condensation inside the tent, without reducing it (something non-experts may not immediately realize).

3. It does not flap or make a noise in the wind or a morning breeze, guaranteeing a peaceful night and pleasant awakening.

4. With the Overland fabric, everything is flush to the walls of the tent, preventing the irritating “sail” effect in windy conditions.

5. The windows can be opened and closed even staying in bed. You don’t need to leave the tent to close the windows.

6. No “balloon/ball effect” because the roof is stable, sewn tightly to the walls. No “flying” and no flapping. For anyone sleeping well above ground these are vital features. And that is not all…

7. In the evening, with the internal light on, no disturbing rays enter the tent; the thick, compact fabric provides maximum privacy. So, no peeping either.

8. At sunrise, the fabric remains dark, so you can stay in bed as long as you want.

For all of the reasons set out above, Overland fits an UNDOUBTEDLY SUPERIOR RANGE OF FABRICS.

YEARS WARRANTY 5 THE ORIGINAL TRADE MARK N. 014529606 173 POP-UP OPENING
174

TENT CHOOSE YOUR

By varying the configuration of the “C” guide mounting rails, the tent can be mounted in two ways. Standard mounting, opening to the side of the vehicle, or Explorer mounting opening to the front or rear of the vehicle. With the Explorer mounting being particularly suitable for off-road vehicles.

MOUNTING STANDARD

MOUNTING EXPLORER

BLACK

ROOF TEXTILE SIDE TEXTILE

High quality 420g fabrics, are both waterproof and breathable due to their 50% cotton 50% acrylic construction.

Unique “C” guides and clamps allow for easy installation and removal of the tent from the vehicle.

TÜV certified quality and safety

CARBON
175

ACCESSORIES

OVERLAND®

INDEPENDENT VERANDAH (Art. OL/04A)

Dimensions: cm 200 x 200 x h240. With the Overland system, the verandah can be customized with the rooftent according to the type of holiday, i.e. with the tent on the roof for frequent short stays or the tent on supports on the ground for long stays in campsites.

The verandah is a stand-alone structure which can be used to store things while you are away at the seaside or shopping and is the perfect accessory for anyone holidaying in campsites.

S 130 cm

M 160 cm

L 180 cm

Anodised Aluminium Poles

130-160-180 2 0 0 130-160-180 100 h min 155 max 170 ≈ 240 200 cm
176
6 177

accessori overland OVERLAND®

ACCESSORIES

1 - CHANGING ROOM Carbon, (Art OLC/07A for cars) (Art OLC/08A for offroad vehicles and vans)

Dimensions cm: Small 130 x 110

Medium 160 x 110 - Large 180 x110

This accessory is a true ally. Just a few days using it will convince you it is an indispensable part of the equipment.

Essentially, it has 4 walls in the same fabric as the tent, connected by zip fastener, providing two types of use. Everything can be applied simply under the tent floor. It provides room to change clothes but also to store camping equipment, especially during bad weather.

It is a simple accessory but adds to comfort, without cluttering up the tent itself: the changing room fits the tent perfectly. This too makes it a “system”, optimizing the space without sacrificing the compact nature of Overland.

2 - WINTER HOOD (Art. OL/05A)

Made of resin bonded nylon fibre and aluminium powder. Excellent protection from the burning effect of the suns rays, and equally useful for extra insulation in colder conditions. Quickly attached, by Velcro strips, and removed, it can also provide additional protection in the most extreme of conditions. Can be left in situ when closing the tent.

3 - ROLLING TOP- SHELL

Art. R/TOP - S cm 180x180

Art. R/TOP - M cm 220x225

Available with a load-bearing structure in anodized aluminium box and easily installed on any roof rack.

It is an exclusive product designed and manufactured by Fiamma® for Autohome®. Included in the standard KIT supply: awning attachment bracket to be applied to roof bars - roof rack.

ROLLING TOP- SOFT

Art. R/TOPS - S cm 200x250

Awning with load-bearing structure in aluminium with a PVC cover, easily installed on any roof rack. The Autohome® product is practical and always ready.

Included in the standard KIT supply: awning attachment bracket to be applied to roof bars - roof rack.

4 - FEET (Art. OL/06A)

Four strong folding feet keep the tent raised some 25cm off the ground protecting the base of the tent from water, condensation and insects.

178
1 3 Anodised Aluminium Poles
h min 201 h max 220 h min 155 h max 170 h min 171 h max 185 h min 186 h max 200 Art. OL/08A-3 Art. OL/07A Art. OL/08A-2 Art. OL/08A-1 179 4 2

ICONS

A RANGE OF SUCCESS

The Overzone can trace its ancestry through a pedigree range of tents. As an evolution of the successful Overland, it’s the largest model of tent in the “fold over” range. Compared to the Overland, there’s more internal space with total protection from the elements, including the main entrance doorway. The Overzone meets the most demanding requirements of the adventure traveller offering total privacy and freedom.

The new DOUBLE-FACE roof allows you to deal with deal with any weather condition: it opens and closes with ease while remaining comfortably lying in the tent. No need for any extra cover to install in case of rain: the Overland roof is ALL-SEASON. OVERZONE is the most ambitious model in terms of integrated abitability for those who, without space limits, choose to explore the most spectacular landscapes, where adventure is everyday life. Enjoy the greatest luxury: freedom.

182

“Fortunately, we had Autohome® tents on our vehicle roof. This very functional and protected system allows to safely sleep, even in case of intense cold and wind. They are very strong and ensure total comfort and safety conditions. And in the morning, on waking up, it was possible to enjoy a view of the desert in the first daylight: beautiful!”

183

COMFORT WITHOUT COMPROMISE. TEXTILE 420g/m2

The tent access is completely protected, both on the roof and on the sides, but also on the front without any false shelter so as to avoid the sail effect of the wind, a real advantage, cutting the tent instability to the bare minimum.

The fabrics are not “flying”, their texture is not light: their weight is, 420 gr/m2, thus providing for a better stability to the tent while avoiding transparency or letting the first light of dawn pass.

What is more, the fabric is highly insulating but above all breathable complying with the highest quality standards, not comparable to lowcost or mass market tents.

The colours of the tent are olive green (sage) and safari for a sober and elegant touch that is always combined with the surroundings, another element that makes Overzone very welcome among the fans of adventure or safari.

Overzone is another amazing Autohome® family tent.

POP-UP OPENING

1. The practical and unique elastic tie rod allows to quickly remove the PVC cover. When travelling, the special shape of the outside casing ensures the best grip.

2. The quick opening of the tent (closed height 110 cm – open 230 cm) is driven by the positioning of the ladder, which remains fitted to the base.

3. It takes just a few seconds to make Overzone liveable: a certainty for comfortable and safe travel and holidays.

STANDARD MOUNTING

OLIVE 3 1 2 4 TECHNICAL
NEW 184 SMALL Art. OZ/01 Overzone Standard Small: recommended for 2 adults. MEDIUM Art. OZ/02 Overzone Standard Medium: recommended for 2 adults + 1 child. LARGE Art. OZ/03 Overzone Standard Large: recommended for 2 adults + 2 children.
1
Serial supplied: 2 large roof windows and 2 windows on the doors.

openings are equipped with mosquito nets that can be closed by double slide zip fasteners.

Adjustable tensioning bar, in combination with straps to maintain rigidity and stability at the entrance.

Multi-use hooks to organise your daily essentials.

Internal and external window covers, both of which can be opened and closed from inside the tent. Vertical opening external window covers eliminate any sail effect on the tent material.

EXPLORER MOUNTING

Solution possible only on large vehicles (4x4, minivans, vans)

YEARS WARRANTY 5 THE ORIGINAL TRADE MARK N. 014529655
185 POP-UP OPENING SMALL Art. OZE/01 Overzone Explorer Small: recommended for 2 adults. MEDIUM Art. OZE/02 Overzone Explorer Medium: recommended for 2 adults + 1 child. LARGE Art. OZE/03 Overzone Explorer Large: recommended for 2 adults + 2 children.
Design Anti-Wind The large Overzone installed with standard opening
186
187

TRAVELLING AROUND TUNISIA

1

1 - FEET (Art. OZ/06A)

Eight strong folding feet keep the tent raised some 25cm off the ground protecting the base of the tent from water, condensation and insects Foldable and adjustable, these supports can be fitted easily where required. Useful in campsites or residential areas which do not allow vehicles entry at night.

2 - DAY ROOM Cars & trailers: art. OZ/04A

(Small cm 130x180, Medium cm 160x180) 4x4 & campers: art. OZ/05A

(Small cm 130x180, Medium cm 160x180)

Accessories are made from the same quality 420g fabric as the Overzone. The Day Room consists of 4 panels with zip fastener doors. Each side has one window; one a fixed transparent window, and one with mosquito mesh, both have ‘curtains’ for privacy. To use the end panel as an extended awning two telescopic poles are supplied. A practical, easy to use non-bulky accessory, with a multitude of uses such as kitchen, dressing area, toilet tent or shower room.

3 - WINTER HOOD (Art. OZ/03A)

Traditional hood made from aluminised nylon to offer increased protection from sun rays and cold conditions.

2b

accessori
190
overzone OVERZONE®
ACCESSORIES
191 2c 2a 3

TULUM BEACH,

www.wanderwith.me

MEXICO: WANDER WITH ME

Overcamp represents the latest concept for todays camping needs. Great attention to detail, the attractive colours and design, the reassuring tough fabric which is waterproof, strong outer structure smooth to the touch are just some of the outstanding and eye catching features of Overcamp.

Overcamp offers additional storage capacity on roof rack, allowing you to carry your sporting equipment easily: your bicycle, canoe, surfboard, hand glider or other accessories for your favourite sport. Another feature is the unique Double-Up System which allows you to obtain twice the normal living space by fitting two tents on one roof.

You can carry two Overcamp even on the smallest of cars and obtain four places (2+2) or eight places on large vehicles (4+4) providing two totally independent bedrooms. Overcamp is the unrivalled choice for adventure going people.

TRADITION MEETS INNOVATION

194

“We are a team of instructors with a great passion for Africa who put their know-how at the disposal of anyone who would like to discover the desert’s landscapes. There are still a few places in which men have not yet been, but thanks to Autohome® there will be even less.” Ex rally driver and experienced in African deserts.

195

TECHNICAL 1

SMALL WHILE IN TRANSIT, SPACIOUS WHEN OPEN

ROOF

Overcamp is available today with an ALL-SEASON roof, multifunctional and completely renewed, to sleep truly outdoors, protected and in total privacy. Serial supplied: 2 large roof windows and 2 windows on the doors.

WINGS

The useful protective pre-entry, ideal in case of bad weather, becomes standard. The transparent Crystal panels supplied with the tent, strictly removable, allow you to enjoy the view while it rains outside.

FABRICS

The fabric of the roof is polyester 255 g/m2 coupled with an anti UV blackout net of 170 gr/m2, which reaches a waterproofness equal to 1000 mm of water column. For the sides, on the other hand, a combined 50% cotton and 50% polyester fabric, in GRAY colour, to guarantee a high breathability of 53 mm/s in addition to waterproofing. Its consistency is 420 g/m2 to offer excellent stability. In addition, the fabrics used are Blackout: they do not let the light filter, neither seeing the shapes of the occupants.

MOSQUITO NETS

Overcamp is fitted with new high-tech darkening mosquito nets. From the inside it is possible to see outside, but from the outside it is not possible to see inside.

As standard, the comfortable openings are equipped with blinds to protect you from prying eyes while keeping the large air circulation unaltered.

STEEL METAL PART

All metal parts are designed and produced exclusively by Autohome®.

PLYWOOD FLOORS

Poplar plywood is used because the material, with its long fibre, is also more elastic and resistant. It is made specifically for the specific Autohome® production in 7 layers.

196

When closed the tent looks like a small roof box. The over cover is secured by a continuous elastic cord which is very easy to remove and being made of strong PVC material, it offers complete protection while travelling.

Quick and easy book style opening. By just pushing down on extended ladder, the tent will open and in an effortless instant your bed is ready.

As standard equipment , the doors can be transformed into comfortable awnings to provide a shaded area and shelter from the rain.

DOUBLE UP SYSTEM

The exclusive “Double Up” system, designed in the 90s, allows the combination of two tents, thus improving its liveability. Widely tested, it is very appreciated for its rationality: it allows in fact to have two separate but communicating bedrooms, both with independent staircase. An ideal solution for families with children or for couples of friends travelling together: each one has his/her own more comfortable rest space and with greater privacy.

YEARS WARRANTY 5 THE ORIGINAL TRADE MARK N. 014529663 197 POP-UP OPENING
A comfortable and safe bed totally raised from the floor.

TECHNICAL 2

SURF, BIKE, KAYAK

Overhanging positioning: the tent occupies one half of the vehicles roof. The 2 “C” shaped mounting channels in the tent base and 4 clamps, supplied, allow the user to position the tent on the vehicle roof according to their needs and requirements. The exclusive hinge mechanism allows a safe and secure overhang to one half of the tent, allowing bikes, surf boards or other sports and leisure equipment to remain in place on the other half of the vehicle’s roof bars, always ready for use.

BLACK GRAY Design Anti-Wind
198
TEXTILE 420g/m2 High quality fabrics, breathable, resistant and wind stable.

Sizes Small cm130x200 (for 2 people) and Large cm180x200 cm (4 people) enhance the distinctive characteristics of the Roof Tent: practicality and versatility.

In fact these models, even when open, fit perfectly into the overall dimensions of the car roof, particularly with wellprofiled and secure support. No overhang from the upper design of the car and no parts that remain suspended, the typical cantilever supported by the ladder. This means having a bed that is always firm, without oscillations, which offers maximum reliability even during large or abrupt movements inside the tent. Remaining "in shape" to the car also gives significant advantages in terms of regulations regarding parking and overnight stays in public areas. With the size of these tents in fact, stops are always allowed in any place and therefore do not oblige you to go to a campsite.

SMALL

Overcamp Small: Art. OC/01

Recommended for two adults.

Central positioning: the tent will occupy the car roof space.

Open: 130 x 200 x 100 cm high

Closed: 65 x 200 x 35 cm high

LARGE

Overcamp Large: Art. OC/03

Recommended for two adults and two children.

Central positioning: the tent will occupy the car roof space. Open: 180 x 200 x 115 cm high

Closed: 90 x 200 x 35 cm high

DOUBLE UP

Double Up

Side positioning: the tent will occupy only half of the car roof space.

You can fit: Small + Small, Large + Small or Large + Large on large vehicle

YEARS WARRANTY 5 THE ORIGINAL TRADE MARK N. 014529663
199 POP-UP OPENING
NEW

VERANDAH (Art. OC/03A)

Verandah (200 x 200 x 240 cm high). Quick and easy to assemble.

It is very versatile with openings fitted with two-way zip fasteners on all sides. Used with Overcamp, it transforms it into a traditional camping tent with day and night areas.

Triangles of series with zip to attach the verandah to Overcamp on the floor, another option for a really comfortable holiday.

200 200 2 0 0 100 160 160 80 h min 155 max 170 ≈ 240 200 cm 160 cm accessori
200
overcamp OVERCAMP®
ACCESSORIES
Anodised Aluminium Poles
201

ACCESSORIES

OVERCAMP®

1 - FEET (Art. OC/06A)

Four strong feet to enable you to place Overcamp on the floor if desired. Approximately 25 cm high, they keep you a safe distance from humidity, water and insects. Foldable and clutter free, they can remain attached at the base while in transit.

2 - AWNING (Art. OC/05A)

A large and functional awning attached to Overcamp by means of a zip fastener, its self-contained strong structure provides extra protection from the sun and rain.

Roof: 200 x 170 cm

Length 4 metres approx.

Colours available: Black.

3 - WINTER HOOD (Art. OC/08A)

Made of resin blonded nylon fibre and aluminium powder, it is an invaluable protection against the cold and wind. Extremely useful for travellers going North. Very quick and easy to fit, it can be left on even when Overcamp is closed.

4 - ROLLING TOP- SHELL

Art. R/TOP - S cm 180x180

Art. R/TOP - M cm 220x225

Available with a load-bearing structure in anodized aluminium box and easily installed on any roof rack. It is an exclusive product designed and manufactured by Fiamma® for Autohome®.

Included in the standard KIT supply: awning attachment bracket to be applied to roof bars - roof rack.

ROLLING TOP- SOFT

Art. R/TOPS - S cm 200x250

Awning with load-bearing structure in aluminium with a PVC cover, easily installed on any roof rack. The Autohome® product is practical and always ready. Included in the standard KIT supply: awning attachment bracket to be applied to roof bars - roof rack.

202
1 2 4
203 3

The 2020 Oscar-winning film Nomadland is a road movie that fascinated the Autohome team. This name, symbol of life in freedom, could not be missing from our proposals. The spirit of the film, the aimless traveller, who moves first of all with himself and in close contact with nature, has thus become a new line of tents, an interpreter of nomadism. Starting with the design, with sober and natural colours: the “mud” colour of the walls, just like the black of the roof and the rain covers on the windows, are not image choices, but real technical solutions to contrast the lights of the night and the first gleams of the morning.

THE ESSENTIAL OF OUTDOOR LIFE

204

NEW 2023!

205

TECHNICAL

NOMADLAND

Nomadland begins its journey with three Entry Level versions, made with 100% polyester fabrics: easy to handle, light and at the same time impressive.

Measurements: 160x220 cm. The real medium size for 3 people.

As standard, the comfortable openings are equipped with blinds to protect you from prying eyes while keeping the large air circulation unaltered.

As standard equipment, the doors can be transformed into comfortable awnings to provide a shaded area and shelter from the rain.

206
Design Anti-Wind PRIVACY PANEL
“THE ESSENTIAL WITHOUT SACRIFICING COMFORT”.

STANDARD

SMALL Art. N/2S

Nomadland Standard Small: recommended for 2 adults.

EXPLORER

SMALL Art. N/2SE

Nomadland Explorer Small: recommended for 2 adults.

MEDIUM

Art. N/2M

Nomadland Standard Medium: recommended for 2 adults + 1 child.

MEDIUM

Art. N/2ME

Nomadland Explorer Medium: recommended for 2 adults + 1 child .

LARGE Art. N/2L

Nomadland Standard Large: recommended for 2 adults + 2 children.

WING INCLUDED HIGH PROTECTION

BLACKOUT FABRIC 4 SEASON

OPTIONAL ACCESSORY RECOMMENDED

Changing room in total black light fabric for greater privacy, zip on the corners for a diversified use - Art. N/CR2

LARGE Art. N/2LE

Nomadland Explorer Large: recommended for 2 adults + 2 children Solution possible only on large vehicles (4x4, minivans, vans)

YEARS WARRANTY 5 THE ORIGINAL TRADE MARK N. 014529663
BLACK BROWN
207 POP-UP OPENING
Nomadland installed on Land Rover with standard opening.
"I'm in love with cities I've never been to and people I've never met."
John Green

THE NEW GENERATION IS GREEN

MADE TO BE RECYCLABLE

Our Air-Camping, Overland, Overzone and Overcamp, which have always been iconic products, are now even more circular. Designed to be recyclable. Made with recyclable materials, as durable as ever but even more beautiful. Made to withstand the wear and tear of time.

SOME OF THE ADVANTAGES OF WOOD

NATURAL

NON-DEFORMABLE STRONG RESISTANT

it is natural and sustainable: Autohome® uses poplar plywood which, having a long fiber, is also more elastic and resistant , while withstanding stresses and weight of the occupants very well.

Autohome® uses only “certified” wood from the “eco-sustainable” supply chain.

Wood cannot be scretched, deformed, cracked, and it cannot be crumbled. A material therefore not comparable to polyurethane foam floors, alveolar, synthetic or lightened structures, much less to structures composed of coated polystyrene (a choice, the latter, very questionable, which instead someone on the market tends to declare positive. We recommend that you pay close attention!);

210

HISTORY AND DESIGN

Below there is the priority detail to ensure tents that meet our sustainability standards and reduce the environmental impact in the production processes.

WOODEN PARTS

We use the noblest material on offer in nature

For the soul of our tents, we prefer wood. This noble and refined and natural material provides for excellent elasticity, but also structural rigidity and great resistance to twisting. The use of wood is not an absolute novelty for us: even the legendary Nino Cirani supported its use, from the first trips. Since 1958 we have been manufacturing tents with green platforms and now more than ever, we reconfirm our preference for wood in the new versions.

LONG-LIVED NO CONDENSATION HEAT-INSULATING

For our tent tops we use dedicated wood, 10mm thick and consisting of 7 layers, which are glued together in a natural way with the method of cross overlapping, following the grain of the plant, as to provide for improved reliability over time;

Wood improves comfort and wellbeing inside the tent , as it has a low thermal transmittance value. Do not forget: “HIGH insulation = LOW thermal transmittance”, this means that it retains heat or fresh air inside the tent, as to avoid condensation and moisture unlike other cold surfaces or laminated metal, which make the environment damp and unhealthy.

The Autohome® wooden platforms maintain a balanced internal temperature inside the tent . Wood does not let in neither the heat nor the cold, therefore it makes the tent suitable for each geographical area: from the trip to the north pole, to equatorial or desert areas, where, among other things, the thermal overhang is very high. All obtained in a natural and healthy way, without generating moisture and condensation, normally found on cold metal laminates.

211

HIGH PROFILE

When roof tents are closed on the go, their covers stand out.

The original Autohome® covers are impeccable: they do not show any irregular shape issue as exhibited in low-cost tents. The defects are made even more evident when these covers cover the staircase that is not integrated into the shape.

AUTOHOME® NOT ORIGINAL

A sturdy cover is essential to protect the structure of the tent and the parts it consists of, including the ladder, which should also be “in shape”.

IMPORTANT INFO
PERFECT
AUTOHOME® 212

COVER

The superior quality of Autohome® production is noticeable and also stands out in an element such as the cover.

Let’s briefly see the distinctive factors...

1. It is important that the cover is easy to place and remove.

2. All Autohome® covers perfectly fit the tent, creating the proverbial shape of regular parallelepiped: a peculiarity unchanged since 1958, which became really “iconic “, identifying the original product at a glance.

The comfort of Autohome® covers is immediately noticeable and stands out more and more trip after trip. The mythical Nino Cirani knows it well, that in his writings, real “bibles” of the itinerant journey.

For these reasons, Autohome® tents positively stand out when closed as well. They are faithful to the original shape, including the ladder. Exactly the opposite of what happens with products from Asia, as you can see, lead to obvious aesthetic defects when they must also include the ladder. It is in fact made exactly for the “tent”: it remains firmly fitted and it does not require to be stored in the trunk.

The accuracy of Autohome® covers is even noticeable in the choice of how to fit it to the tent structure: an elastic tie rod acts along the entire perimeter of the tent. They are thus avoided unreliable zipper closures, badly withstanding the wear of time, and possibly jamming in case of sand, foliage and other materials to which the cover could come into contact.

In its rationality and simplicity, the cover is another symbol of the Autohome® philosophy: maximum functionality with style.

213
IMPORTANT
AUTOHOME® 214
INFO ANTI-WIND

FUNCTIONALITY WITHOUT MAKING MISTAKES

The wind is a natural energy as fascinating as it is potentially dangerous... but for those who love free travels it is important to implement specific “Anti-Wind” precautions.

Especially if you use a roof tent.

A tent placed 2 meters from the ground, must in fact necessarily be designed to withstand the action of the wind, even of considerable intensity. So, let’s see two fundamental aspects to pay attention to...

NO PLATFORMS

It is necessary that the roof is integral to the walls, therefore a tent consisting of a “single body”, without false layers and cantilevers affected by the wind and therefore compromising its stability.

The “Anti-Wind” quality of Autohome® curtains also plays an active and fundamental role in the choice of fabric: a structurally stable product of 420 grams per square metre, according to military specifications.

NO DOUBLE ROOF NO SAIL EFFECT NO BALL EFFECT

NO with pronounced gutters and oversized shelters. These elements weigh on the openings of doors and windows. Apparently, they may look like protective parts, but in reality they are components that generate turbulence, noise and therefore... sleepless nights!

NO double sheets on the roof.

In fact, a “sailing effect” is created that lifts and pushes the tissues, often causing breaks or lacerations at the studs and attachments.

Equally dangerous is the “Ball” effect , always produced by the wind, which inflates the fabrics creating turbulence, thus making the tent unstable.

The “ball effect” is even more pronounced in the case of tents in light and unstructured fabrics.

2m 215

HIGH TEX

AUTOHOME® FABRIC INFO

IMPORTANT AUTOHOME® 216

BREATHABILITY

TEXTILE FUNCTIONALITY

If we assume a breathability scale from 1 to 10, there are several fabrics on the market that do not even reach level 3. Yet in advertising they say they are tents with “breathable” performance.

Still applying this scale of values, Autohome® tents would easily reach the rating of 10 and praise!

According to the UNI EN ISO 9237/97 standard, the breathability of the fabrics used by Autohome® for the Air-Camping, Overland, Overzone and Overcamp tents was certified, and it accounts for 53mm/s.

A basic quality factor to effectively offset the formation of condensation inside the tent. A real strength of Autohome®, allowing the company to stand out on the market.

WATERPROOFING

The fabrics used by Autohome® are really “waterproof”, so much so that they do not require additional protections to protect the roof.

Another element to consider is the rate of transmission of water vapour to the outside of the tent, as it is crucial to reduce internal humidity.

Autohome® guarantees the waterproofing of its fabric even if burdened by a column of water 60 cm high, a resistance certified to UNI EN 811:1981 standards.

AUTOHOME®
1 2 3 4 5 6 7 8 9 10 WATER 600
TEXTILE 217
COMPETITORS
mm

AUTOHOME®

MONTAGE SYSTEM

The exclusive Autohome® security system allows all tents to be used on any vehicle: small cars, off-road vehicles, station-wagons, MPV’s (or people carriers), camper vans, and pick-up trucks...

A universal, quick attachment system, allows you to position the tent safely in any position, with no risk of damage or modifications to the body of the vehicle. Various fixing kits are available to suit.

NEW 2021

The “C-shaped” section of the bars integrated into the base exhibit an optimized shape to facilitate the bolt tightening. On request anti-theft bolts.

1st Advantage:

All tents are fully independent for easy installation on the car roof.

2ndAdvantage:

The C-shaped steel rails integrated into the bases of all Autohome®models strengthen the structure and make it possible to fix the tent to the roof bars by means of special clamps.

3rdAdvantage:

Just two people (standing beside the car) can easily lift the tent and position it on the roof bars without risk to the bodywork.

4thAdvantage:

The standard clamps slide along the C-shaped rails to fix the tent in the desired position. This position varies depending on the type of car, to be used as a carryall or for best appearance.

The tent bases must not be drilled for fixing onto the roof bars.

No holes are to be drilled in the roof bars to secure the tent. This operation is prohibited by current safety regulations. It is not permitted to make changes to the roof rack.

4 clamps are provided as standard for simple, easy mounting according to the rules.

Universal System Autohome®is a mounting system according to the standards, certified by TÜV - ID: 0000024461. Beware of imitations.

INDEPENDENT
218
An example of a roof rack for motor cars without water channels. Connection for off-road vehicles or motor cars with water channels. Attachment bars for motor cars with fitted rails. Special Order: Roof Bars or Expedition Roof Racks available in Steel or Aluminium.

OPENING SPEED

ACCOMMODATION AREA

CAPACITY OF SHELLS TRANSPORT

(BIKE, SURFBOARD, ETC…)

MAXIMUM LOAD AND THE SHELLS

AERODYNAMICS WHILE TRAVELLING

STABILITY IN STRONG WINDS

INSULATION AGAINST HEAT

INSULATION AGAINST COLD

DURABILITY IN OFF-ROAD SITUATIONS

FABRIC FEATURES

BREATHABLE FABRIC

TECHNOLOGICAL INNOVATION

AUTOHOME®’S ORIGINAL HARD SHELL PRODUCTS ARE CERTIFIED BY THE AUTHORITATIVENESS OF TÜV SÜD

A clear sign of Quality

Autohome® continually develops its commitment in the pursuit of research and innovation, to such an extent as to merit the most authoritative quality certifications. The excellent security and reliability of its roof top tents, which are the best sellers worldwide, is attested by the INTERNATIONAL TÜV SÜD CERTIFICATE. This is a prestigious recognition, a clear sign that the characteristics and functionality of the original Autohome® tents have been carefully tested.

TÜV SÜD Certification: unique, strict and impartial

The TÜV SÜD Certification is universally recognized as the real “quality license” of products. It should not be confused with the ISO certification which refers to the corporate parameters! TÜV SÜD provides the strictest certification that specifically guarantees the quality of the tent, such as safe driving. To ensure the utmost safety levels, TÜV SÜD Certification agency subjects the tents to tough stress tests, with the simulation of use limits. But that’s not all: Autohome® add additional tests performed by other certification agencies, to be absolutely sure of the results.

Warning: not all certifications are the same!

Many roof tents are declared to be “certified” but actually they are not, they have no proper product certificate. One should be beware of partial certifications (covering only some details) or certifications related to ISO 9001 indicators. In fact these ones only apply to the corporate organization and are not at all a guarantee of the quality and safety of the “tent as a product”. On the contrary, AUTOHOME® certification is global and covers the entire product. The TÜV SÜD certification is thus important for all: for the professional buyers, who can select products to place serenely on the market; for the end users, who can immediately recognize which products can guarantee maximum reliability.

AUTOHOME® RANGE PERFORMANCE

MAGGIOLINA COLUMBUS TEXTILE RANGE Carbon Fiber Airlander Extreme Grand Tour Airtop Variant Carbon Fiber X-Long A-C Overland Overzone Overcamp Nomadland •• •• •• •• ••• •••• •••• •••• • • • • • •• •• •• •• •• ••• ••• •••• ••• ••• •••• •• ••• •• •• •• ••• ••• •• •• •• ---- ---- •• •• ---- • ---- ---- •• •• •• ••• •• 25 kg 15 kg 15 kg ••• ••• •• ••• ••• ••• ••• ••• • • • • • •••• •••• •••• •••• •• •• •• •• • • • • • ••• ••• ••• ••• ••• ••• ••• ••• •• •• •• •• • ••• ••• ••• ••• ••• ••• ••• ••• • • • • • ••• ••• ••• ••• ••• ••• ••• ••• ••• ••• ••• ••• ••• ••• DRALON ••• DRALON ••• DRALON ••• DRALON ••• DRALON ••• AIRTEX ••• AIRTEX ••• AIRTEX ••• K 200 ••• K 200 ••• K 200 •• K 200 • KONDOR ••• ••• ••• ••• ••• •• •• •• ••• ••• ••• ••• • •••• •• ••• ••• ••• ••• •••• •••• •• •• •• •• • 219
Evaluation: • = GOOD •• = VERY GOOD ••• = EXCELLENT •••• = SUPER
Test results have been obtained from inspectors using a sample method survey on tents delivered during 2016.

ACCESSORIES

1- AIR CIRCULATION SYSTEM DRYWEAVE® (Art. ACS-3D)

New accessory to be positioned underneath the mattress. Made from a lightweight (450g/m2) woven polypropylene it’s semi elastic and allows a free flow of air between tent base and mattress, increasing ventilation and reducing the chance of condensation. The lightweight mesh construction is compression resistant (1 ton/m2) and is available in three sizes to fit all models of roof tent: Small (cm 120x210), Medium (cm 140x210) and Large (cm 160x210).

2 - COMFORT PLUS KIT (Art. O/S)

ORTHOPEDIC SPRINGS + MATTRESS WITH STRUCTURE

Two fundamental matching solutions to sleep better and enhance wellbeing while travelling: a top quality bed base with springs (h 3cm) and the mattress in foam with a special support (h 5cm) to set at the tent base for greater comfort. It is easy to position in the shell tent, and ensures orthopedic support to the entire body. It is all-in-one quality and versatility: in fact, it can adjust to every shell tent size. Warning: they cannot be used separately.

3 - SPACE SAVING KIT (Art. K/15A)

Garage accessory: pulley system that allows all models of roof tents to be raised from the vehicle for storage.

4 - UNIVERSAL ANTI-THEFT KIT (Art. K/16A)

The roof tent is a precious good that must be protected! Autohome®also thought about a way to prevent theft. In order to protect the roof tent from prowlers, we have created an exclusive system dissuading them from removing the roof tent from the roof bars of your car.

THE ANTI-THEFT KIT IS BASED ON THREE PRINCIPLES:

A - The rationality of the system

B - The robustness of the components

C - The effectiveness of the security key Kit made of 4 anti-theft caps and a special key.

5 - COMPASS AWNING (Art. TC/01)

Compass 220 cm (length of bag)

The light and multifunctional compass awning. A simple solution for off-road vehicles and minivans to protect yourself from the sun. The awning opens out 270° around the vehicle and is extremely easy to put up and take down.

6 - ROLLING TOP- SHELL

Art. R/TOP - S cm 180x180

Art. R/TOP - M cm 220x225

Available with a load-bearing structure in anodized aluminium box and easily installed on any roof rack.

It is an exclusive product designed and manufactured by Fiamma® for Autohome®.

Included in the standard KIT supply: awning attachment bracket to be applied to roof bars - roof rack.

ROLLING TOP- SOFT

Art. R/TOPS - S cm 200x250

Awning with load-bearing structure in aluminium with a PVC cover, easily installed on any roof rack. The Autohome® product is practical and always ready.

Included in the standard KIT supply: awning attachment bracket to be applied to roof bars - roof rack.

7 - ANTI-THEFT SYSTEM WITH KEY

On request, the new Autohome®technology with key lock is designed and suitable for shell tent models that open with gas springs: for the Columbus and Airtop ranges. While it is not necessary on Maggiolina models with an handle opening.

UNIVERSAL ACCESSORIES 1 7 UNIVERSAL 220
5 6 2 3 CABINA MAGGIOLINA 4X4 80 80 200 76 150 CABINA MAGGIOLINA 4X4 80 80 200 76 150 ROLLING TOP SMALL ROLLING TOP MEDIUM 220 180/250 180/200 225 145 335 300 150 221
7MILAMIGLIALONTANO.COM

7MML_5.0 H2oPLANET

PROJECT

A 7-year project to map the planet’s coasts

A new and daring dream, a portrait of the state of health of seas and oceans and of those who live along the coasts, on the thin line that separates land and water. Photographers, video-makers, writers and marine biologists will show the beauty and the ugliness of what they will encounter for a monumental work of documentation. As always the trip will be used to raise funds for partner non-profit associations.

Cultural Association 7milamiglialontano

Giuliano Radici - Photographer and Project Manager

PRODUCTS COMPARISON FEATURES AND EQUIPMENT

The tents used the world over by Tour Leaders and Explorers, for extreme car rallies and expeditions, are identical to the standard production: the same product anybody can buy.

We guarantee that all models of Fibreglass Shell Tents are skilfully constructed entirely by hand. Their composition is very sable and will not weaken or fade over time like common plastic or similar products available on the market. In addition, the composition of glass fibre polyester used, is a perfect insulator from hot and cold environments and if necessary can be easily repaired or painted to colour match your vehicle.

VOLUME

(l*) variable approximate value depending on the model and size which indicates, with the tent closed, the volumetric capacity of the upper shell that allows you to stow: blankets, sleeping bags and night necessities, beauty-cases, bags and accessories for travel.

The GRP (fibreglass) outer shells are all hand made and finished, therefore some variations may appear in the finished weights (Manufacturers tolerance rate is within 10%).

The shell products are guaranteed and of Tüv certified quality, the manufacturing company is also ISO 9001 certified.

ISO 9001:2015

226
:
Opening with handle Automatic opening Pop-up opening
TYPES OF OPENING

MAGGIOLINA

CARBON FIBER

TOP OF RANGE*

Includes: carbon fibre shells for maximum resistance and lightness, waterproof and transpirant dark grey dralon textile, 2 doors with step by step opening and 2 windows, mosquito nets on all windows and doors, 4 universal clamps for attachment to roof bars, 1 opening handle, soundproof and anti-condensation roof insulation, 1 mattress with 2/3 pillows, 2 air inlets, 1 head light, 1 height adjustable alloy ladder, ladder storage bag, elastic straps assist in folding the fabric when closing.

SMALL VOLUME about 196 l* Mod. 130 x 210 Closed h: cm 30

Open h: cm 110

Weight: about 56 kg

MEDIUM VOLUME about 220 l* Mod. 145 x 210 Closed h: cm 30 Open h: cm 110

Weight: about 62 kg

Art. MCF/01 Maggiolina Carbon Fiber Small

Art. MCF/02 Maggiolina Carbon Fiber Medium

Maggiolina Carbon Fiber: Carbon Fiber shells, Carbon fabric

*Top of range in standard equipment.

TOP OF RANGE*

BEST SELLER***

Includes: 4 universal clamps for attachment to roof bars, 1 opening handle, 2 doors with step by step opening and 2 windows, mosquitonetting on windows and doors, soundproof and anti-condensation roof insulation, stowage net, 1 mattress and 2-3-4 pillows, 2 air vents, 1 interior light, 1 height adjustable alloy ladder, ladder storage bag, elastic straps assist in folding the fabric when closing.

Optional X-Long for Small and Medium: instead of the standard 210 cm long, this version is available at 230 cm in length. The X-Long version is suitable for longer length cars, camper vans, RV’s and 4x4’s.

Weight: Small about 72 kg - Volume: about 210 l*

Weight: Medium about 79 kg - Volume: about 235 l*

SMALL

Art. MPG/09 Art.

MEDIUM

Maggiolina Airlander Plus: White shells, Gray fabric

LARGE

Art.

Maggiolina Airlander Plus Gray Small Maggiolina Airlander Plus Carbon Small Maggiolina Airlander Plus Black Storm Small

Maggiolina Airlander Plus Gray Medium

Maggiolina Airlander Plus Carbon Medium

Maggiolina Airlander Plus Black Storm Medium

Maggiolina Airlander Plus Gray Large

Maggiolina Airlander Plus Carbon Large Maggiolina Airlander Plus Black Storm Large

Maggiolina Airlander Plus: White shells, Carbon fabric

Maggiolina Airlander Plus: Black shells, Carbon fabric

*Top of range in standard equipment.

***Best Seller: it’s one of the best seller models.

32
AIRLANDER
MAGGIOLINA 39
PLUS
227
Mod.
Closed
Open
VOLUME about 196 l*
130 x 210
h: cm 30
h: cm 110
Weight: about 66 kg
MPC/09
MPBS/09
Art.
VOLUME about 220 l* Mod. 145 x 210 Closed h: cm 30 Open h: cm 110
about 72 kg
MPG/10 Art. MPC/10
MPBS/10
Weight:
Art.
Art.
VOLUME
260 l* Mod. 160 x 215 Closed h: cm 30 Open h: cm 110 Weight: about 84 kg
about
MPG/11
MPC/11
MPBS/11
Art.
Art.

Includes: 4 universal clamps for attachment to roof bars, 1 opening handle, 2 doors and 2 windows, mosquito-netting on windows and doors, soundproof and anti-condensation roof insulation, 1 mattress and 2-3-4 pillows, 1 interior light, 1 height adjustable alloy ladder.

Optional X-Long for Small and Medium: instead of the standard 210 cm long, this version is available at 230 cm in length. The X-Long version is suitable for longer length cars, camper vans, RV’s and 4x4’s.

Weight: Small about 72 kg - Volume: about 210 l*

Weight: Medium about 79 kg - Volume: about 235 l*

SMALL VOLUME about 196 l*

MEDIUM VOLUME about 220 l*

LARGE VOLUME about 260 l*

Mod. 130 x 210

Closed h: cm 30

Open h: cm 110

Weight: about 66 kg

Mod. 145 x 210

Closed h: cm 30

Open h: cm 110

Weight: about 72 kg

Mod. 160 x 215

Closed h: cm 30

Open h: cm 110

Weight: about 84 kg

Art. MG/09 Maggiolina Airlander Gray Small

Art. MG/10 Maggiolina Airlander Gray Medium

Art. MG/11 Maggiolina Airlander Gray Large

Maggiolina Airlander: white shells, Gray fabric

*Standard: it is the model with basics standard equipment.

TOP OF RANGE*

Includes: 4 universal clamps for attachment to roof bars, 1 opening handle, 2 doors with step by step opening and 6 windows, mosquitonetting on windows and doors, soundproof and anti-condensation roof insulation, stowage net, 1 mattress and 4 pillows, 2 air vents, 1 interior light, 1 height adjustable alloy ladder, ladder storage bag, elastic straps assist in folding the fabric when closing.

360° X-LARGE VOLUME about 300 l*

Mod. 180 x 230 Closed h: cm 30

Open h: cm 110

Weight: about 99 kg

Art. MP360/12

Art. MP360BS/12 Maggiolina Airlander Plus Carbon 360° X-Large Maggiolina Airlander Plus Black Storm 360° X-Large MAGGIOLINA AIRLANDER PLUS 360° X-LARGE

Maggiolina Airlander Plus 360° X-Large: White shells, Carbon fabric

Maggiolina Airlander Plus 360° X-Large Black Storm: Black shells, Carbon fabric

*Top of range in standard equipment.

***Best Seller: it’s one of the best seller models.

AIRLANDER PLUS 360
40 BEST SELLER*** AIRLANDER MAGGIOLINA 36
228
MAGGIOLINA
STANDARD*

TOP OF RANGE*

Includes: 2 adjustable load bars on the upper shell, 4 universal clamps for attachment to roof bars, 1 opening handle, 2 doors with step by step opening and 2 triangular windows, mosquito-netting on windows and doors, soundproof and anti-condensation roof insulation, stowage net, 1 mattress and 2-3 pillows, 2 air vents, 1 interior light, 1 height adjustable alloy ladder, ladder storage bag, elastic straps assist in folding the fabric when closing.

Maggiolina Extreme: Black shells, Carbon fabric

MAGGIOLINA PREMIUM****

GRAND TOUR 360

TOP OF RANGE*

Includes: 4 universal clamps for attachment to roof bars, configuration for the attachment of auxillary bars on outer shell, 1 opening handle, 2 doors with step by step opening and 6 windows, mosquito-netting on doors and windows, soundproof and anti-condensation roof insulation, stowage net, 1 mattress and 2-3-4 pillows, 2 air vents, 1 interior light, 1 height adjustable alloy ladder, ladder storage bag, elastic straps assist in folding the fabric when closing.

Optional X-Long for Small Medium and Large: instead of the standard 210 cm long, this version is available at 230 cm in length. The X-Long version is suitable for longer length cars, camper vans, RV’s and 4x4’s.

Weight: Small about 73 kg - Volume: about 358 l*

Weight: Medium about 79 kg - Volume: about 393 l*

Weight: Large about 92 kg - Volume: about 477 l*

LARGE VOLUME about 461 l*

Mod. 160 x 215 Closed h: cm 36 Open h: cm 115

Weight: about 85 kg

Art. M360/17 Art. M360BS/17

Medium

Maggiolina Grand Tour 360° Carbon Large

Maggiolina Grand Tour 360° Black Storm Large

Maggiolina Grand Tour 360°: White shells, Carbon fabric

Maggiolina Grand Tour 360°: Black shells, Carbon fabric

*Top of range in standard equipment.

Premium: Very appreciated range for off-road trips. The best-selling colour is Black Storm.

EXTREME MAGGIOLINA 42 50
229
VOLUME about 203 l* Mod. 130 x 210 Closed: h cm 33 Open h: cm 115
about 70 kg
MBS/05 Maggiolina Extreme Black Storm Small MEDIUM VOLUME about 228 l* Mod. 145 x 210 Closed: h cm 33 Open h: cm 115 Weight: about 75 kg
MBS/06 Maggiolina Extreme Black Storm Medium
SMALL
Weight:
Art.
Art.
SMALL VOLUME about 344 l* Mod. 130 x 210 Closed h: cm 36 Open h: cm 115 Weight: about 67 kg Art. M360/15 Art. M360BS/15 Maggiolina Grand Tour 360° Carbon Small Maggiolina Grand Tour 360° Black Storm Small MEDIUM VOLUME about 378 l* Mod. 145 x 210 Closed h: cm 36 Open h: cm 115 Weight: about 72 kg Art. M360/16 Art. M360BS/16 Maggiolina Grand Tour 360° Carbon Medium Maggiolina Grand Tour 360° Black Storm

MAGGIOLINA

AIR-SKY 360

BEST SELLER***

Includes: 4 universal clamps for fixing to roof racks, 1 handle for opening and closing, 2 doors with with arched zippers for partial opening and 6 windows, mosquito nets on all openings, 1 mattress and 2/3/4 pillows, 2 ventiation openings on the doors, 1 storage net, 1 internal LED light, internal elastics for textile folding, 1 aluminium adjustable aluminium ladder (h closed: 120 cm - h open: 200 cm) foldable during travel, ladder bag, soundproof and anticondensation roof.

BUS LUXURY with aluminium frame 70x60 cm allows partial openings (anticondensation or for airing) and at 90° to for standing up inside the Tent and look out from the opening, mosquito net and black out curtain are included.

Optional X-Long for Small and Medium: instead of the standard 210 cm long, this version is available at 230 cm in length. The X-Long version is suitable for longer length cars, camper vans, RV’s and 4x4’s.

Weight: Small about 79 kg - Volume: about 245 l*

Weight: Medium about 86 kg - Volume: about 275 l*

*Top of range in standard equipment. ***Best Seller: it’s one of the best seller models.

Air-Sky 360°: White shells, Carbon fabric

Air-Sky 360°: Black shells, Carbon fabric

54
230
SMALL VOLUME about 271 l* Mod. 130 x 210 Closed h: cm 35 Open h: cm 125 Weight: about 74 kg Art. AS360/01 Art. AS360BS/01 Air-Sky 360° Small Air-Sky 360° Black Storm Small MEDIUM VOLUME about 305 l* Mod. 145 x 210 Closed h: cm 35 Open h: cm 125 Weight: about 80 kg Art. AS360/02 Art. AS360BS/02 Air-Sky 360° Medium Air-Sky 360° Black Storm Medium LARGE VOLUME about 340 l* Mod. 165 x 215 Closed h: cm 35 Open h: cm 125 Weight: about 94 kg Art. AS360/03 Art. AS360BS/03 Air-Sky 360° Large Air-Sky 360° Black Storm Large
TOP OF RANGE*

TOP OF RANGE*

BEST SELLER***

Includes: 4 universal clamps for fixing to roof racks or roof bars, 2 doors, 2 semi-circular windows (1 front and 1 rear) 2 air vents, mosquito mesh on all doors and windows, anti-condensation and soundproofing roof insulation, roof mounted stowage net, 1 mattress and 2-3-4 pillows, 1 internal roof light, 1 height adjustable alloy ladder, ladder storage bag, elastic straps assist in folding the fabric when closing.

SMALL VOLUME about 271 l*

MEDIUM VOLUME about 305 l*

LARGE VOLUME about 340 l*

Mod. 130 x 210

Closed h: cm 33

Open h: cm 115

Weight: about 60 kg

Mod. 145 x 210

Closed h: cm 33

Open h: cm 115

Weight: about 65 kg

Mod. 160 x 215

Closed h: cm 33

Open h: cm 115

Weight: about 77 kg

Art. ATG/01 AirTop Gray Small

Art. ATG/02 AirTop Gray Medium

Art. ATG/03 AirTop Gray Large

*Top of range in standard equipment.

***Best Seller: it’s one of the best seller models.

AIRTOP

TOP OF RANGE*

BEST SELLER***

Includes: 4 universal clamps for fixing to roof racks or roof bars, 2 doors with step by step opening, 6 semi-circular windows 2 air vents, mosquito mesh on all doors and windows, anti-condensation and soundproofing roof insulation, roof mounted stowage net, 1 mattress and 2-3-4 pillows, 1 internal roof light, 1 height adjustable alloy ladder, ladder storage bag, elastic straps assist in folding the fabric when closing.

SMALL VOLUME about 271 l*

MEDIUM VOLUME about 305 l*

LARGE VOLUME about 340 l*

Mod. 130 x 210

Closed h: cm 33

Open h: cm 115

Weight: about 60 kg

Mod. 145 x 210

Closed h: cm 33

Open h: cm 115

Weight: about 65 kg

Mod. 160 x 215

Closed h: cm 33

Open h: cm 115

Weight: about 77 kg

Art. AT360/01

Art. AT360BS/01

Art. AT360/02

Art. AT360BS/02

Art. AT360/03

Art. AT360BS/03

AirTop 360° Carbon Small AirTop 360° Black Storm Small

AirTop 360° Carbon Medium AirTop 360° Black Storm Medium

AirTop 360° Carbon Large AirTop 360° Black Storm Large

*Top of range in standard equipment.

***Best Seller: it’s one of the best seller models.

Airtop 360°: White shells, Carbon fabric

Airtop 360°: Black shells, Carbon fabric

62
66
CLASSIC AIRTOP
360
231
Airtop Classic : White shells, Gray fabric

PLUS AIRTOP

TOP OF RANGE*

EXCLUSIVE**

Includes: 4 universal clamps for fixing to roof racks or roof bars, 4 doors with step by step opening, 4 windows 2 air vents, mosquito mesh on all doors and windows, anti-condensation and soundproofing roof insulation, roof mounted stowage net, 1 mattress and 2-3-4 pillows, 1 internal roof light, 1 height adjustable alloy ladder, ladder storage bag, elastic straps assist in folding the fabric when closing.

SMALL VOLUME about 271 l*

MEDIUM VOLUME about 305 l*

LARGE

*Top of range in standard equipment.

**Exclusive: limited edition on request.

Airtop Plus: White shells, Gray fabric

Airtop Plus: Black shells, Carbon fabric

130 x 210

Weight: about 65 kg

Art. ATPG/01 Art. ATPBS/01 Airtop Plus Gray Small

Plus Black Storm Small

Art.

Plus Gray Medium

Plus Black Storm Medium

70
232
Mod.
Closed
Open
h: cm 33
h: cm 115 Weight: about 60 kg
Airtop
Mod.
Closed
Open
145 x 210
h: cm 33
h: cm 115
Airtop
Airtop
ATPG/02 Art. ATPBS/02
Mod.
Closed
Open
VOLUME about 340 l*
160 x 215
h: cm 33
h: cm 115 Weight: about 77 kg
Airtop
Art. ATPG/03 Art. ATPBS/03
Plus Gray Large Airtop Plus Black Storm Large

EXCLUSIVE**

Includes: 4 universal clamps for fixing to roof racks or roof bars, 2 doors with step by step opening, 2 semi-circular windows 2 air vents, mosquito mesh on all doors and windows, anti-condensation and soundproofing roof insulation, roof mounted stowage net, 1 mattress and 2 pillows, 1 internal roof light, 1 height adjustable alloy ladder, ladder storage bag, elastic straps assist in folding the fabric when closing.

SMALL VOLUME about 271 l*

Mod. 130 x 210

ATEG/01

Autohome® roof tent for MINI Countryman: White shells, Gray fabric

Autohome® roof tent for MINI Countryman: Black shells, Carbon fabric

*Top of range in standard equipment.

** Exclusive: limited edition on request.

CLASSIC COLUMBUS

TOP OF RANGE* TOP OF RANGE*

BEST SELLER***

Includes: 4 universal clamps for attachment to roof bars, 2 doors/ windows with mosquito-netting, soundproof and anti-condensation roof insulation, 1 mattress and 2-3-4 pillows, interior light, 1 height adjustable alloy ladder, ladder storage bag, elastic straps assist in folding the fabric when closing, large window on the rear.

Optional X-Long for Small and Medium: instead of the standard 210 cm long, this version is available at 230 cm in length. The X-Long version is suitable for longer length cars, camper vans, RV’s and 4x4’s.

Weight: Small about 64 kg - Volume: about 210 l*

Weight: Medium about 71 kg - Volume: about 235 l*

SMALL VOLUME about 196 l*

MEDIUM VOLUME about 220 l*

LARGE VOLUME about 260 l*

Closed h: cm 33

Open h: cm 115

Weight: about 60 kg

ATEB/01

Autohome® roof tent for MINI Countryman Gray Small Autohome® roof tent for MINI Countryman Black Storm Small

Columbus Classic: White shells, Gray fabric

*Top of range in standard equipment.

***Best Seller: it’s one of the best seller models.

Mod. 130 x 210

Closed h: cm 30

Open h: cm 150

Weight: about 59 kg

Mod. 145 x 210

Closed h: cm 30

Open h: cm 150

Weight: about 65 kg

Mod. 160 x 215

Closed h: cm 30

Open h: cm 150

Weight: about 77 kg

Art. C/01

Columbus Classic Gray Small

Art. C/02

Columbus Classic Gray Medium

Art. C/03

Columbus Classic Gray Large

72
108
233

TOP OF RANGE*

BEST SELLER***

BEST SELLER***

Includes: 4 universal clamps for attachment to roof bars, configuration for the attachment of auxillary bars on outer shell, 2 doors/windows with mosquito-netting, soundproof and anti-condensation roof insulation, stowage net, 1 mattress and 2-3-4 pillows, interior light, 1 height adjustable alloy ladder, full opening on the back with graduated darkening, outer door with Crystal window, elastic cord for secure rear door closure, anti-condensation Air Climate, ladder storage bag, elastic straps assist in folding the fabric when closing. Wing included.

Optional X-Long for Small and Medium: instead of the standard 210 cm long, this version is available at 230 cm in length. The X-Long version is suitable for longer length cars, camper vans, RV’s and 4x4’s.

Weight: Small about 64 kg - Volume: about 210 l*

Weight: Medium about 71 kg - Volume: about 235 l*

SMALL VOLUME about 196 l*

MEDIUM VOLUME about 220 l*

LARGE VOLUME about 260 l*

X-LARGE VOLUME about 300 l*

Mod. 130 x 210

Closed h: cm 30

Open h: cm 150

Weight: about 59 kg

Mod. 145 x 210

Closed h: cm 30

Open h: cm 150

Weight: about 65 kg

Mod. 160 x 215

Closed h: cm 30

Open h: cm 150

Weight: about 77 kg

Mod. 180 x 230

Closed h: cm 30

Open h: cm 150

Weight: about 99 kg

Art. CVG/01

Art. CVC/01

Art. CVBS/01

Art. CVG/02

Art. CVC/02

Art. CVBS/02

Art. CVG/03

Art. CVC/03

Art. CVBS/03

Art. CVG/04

Art. CVC/04

Art. CVBS/04

Columbus Variant Gray Small Columbus Variant Carbon Small Columbus Variant Black Storm Small

Columbus Variant Gray Medium Columbus Variant Carbon Medium Columbus Variant Black Storm Medium

Columbus Variant Gray Large Columbus Variant Carbon Large Columbus Variant Black Storm Large

Columbus Variant Gray X-Large Columbus Variant Carbon X-Large Columbus Variant Black Storm X-Large

Columbus Variant: White shells, Gray fabric

Columbus Variant: White shells, Carbon fabric

Columbus Variant: Black shells, Carbon fabric

*Top of range in standard equipment.

*** Best Seller: the Medium X-long model with gray fabric is a best seller.

VARIANT
112
COLUMBUS
234

TOP OF RANGE*

Includes: carbon fiber shells, 4 universal clamps for attachment to roof bars, 2 doors/windows with mosquito-netting, soundproof and anti-condensation roof insulation, stowage net, 1 mattress and 2-3 pillows, interior light, 1 height adjustable alloy ladder, full opening on the back with graduated darkening, outer door with Crystal window, anti-condensation Air Climate, ladder storage bag, elastic straps assist in folding the fabric when closing. Wing included.

SMALL VOLUME about 196 l*

MEDIUM VOLUME about 220 l*

Mod. 130 x 210

Closed h: cm 30

Open h: cm 150

Weight: about 49 kg

Mod. 145 x 210

Closed h: cm 30

Open h: cm 150

Weight: about 55 kg

Art. CCF/01 Columbus Carbon Fiber Small

Art. CCF/02 Columbus Carbon Fiber Medium

Columbus Carbon Fiber: Carbon Fiber shells, Carbon fabric

*Top of range in standard equipment.

AUTOHOME® OFFICIAL ROOF TENT X LAND ROVER DEFENDER 110

TOP OF RANGE*

EXCLUSIVE**

Includes: 4 universal clamps for attachment to roof bars, 2 doors/ windows with mosquito-netting, soundproof and anti-condensation roof insulation, stowage net, 1 mattress and 2 pillows, interior light, 1 height adjustable alloy ladder, full opening on the back with graduated darkening, outer door with Crystal window, elastic cord for secure rear door closure, anti-condensation Air Climate, ladder storage bag, elastic straps assist in folding the fabric when closing.

SMALL X-LONG VOLUME about 271 l*

Mod. 130 x 230

Closed h: cm 33

Open h: cm 150

Weight: about 64 kg

Art. CO/LR Autohome® Official Roof Tent x Land Rover Defender 110

AUTOHOME® OFFICIAL ROOF TENT X LAND ROVER DEFENDER 110: Black shells, Carbon fabric

*Top of range in standard equipment. **Exclusive: limited edition on request.

CARBON FIBER COLUMBUS 118 122
235

TOP OF RANGE*

Includes: 4 Universal clamps for attachment to roof bars, 2 windows and 2 large doors all with mosquito-netting, 1 mattress and 2-3-4 pillows, 4 awning support poles (hold open doors to create awnings) 1 PVC travel cover, 1 height adjustable alloy ladder.

Standard: all models are configured for side (standard) opening.

Optional: Explorer opening for opening over rear (or front) of vehicles.

SMALL Closed: 130 x 110 x h 35

Open: 130 x 220 x h 125

Weight: about 54 kg

MEDIUM Closed: 160 x 110 x h 35

Open: 160 x 220 x h 125

Weight: about 63 kg

LARGE Closed: 180 x 110 x h 35

Open: 180 x 220 x h 125

Weight: about 69 kg

Art. AC/01

Air-Camping Small

*Top of range in standard equipment.

Air-camping: Gray roof , Blue sides

TOP OF RANGE*

BEST SELLER***

Includes: 4 Universal clamps for attachment to roof bars, 2 windows and 2 large doors all with mosquito-netting, 1 mattress and 2-3-4 pillows, 4 awning support poles (hold open doors to create awnings) 1 PVC travel cover, 1 height adjustable alloy ladder. Standard: all models are configured for side (standard) opening. Wing included.

Optional: Explorer opening for opening over rear (or front) of vehicles.

SMALL Closed: 130 x 110 x h 35

Open: 130 x 220 x h 125

Weight: about 54 kg

MEDIUM Closed: 160 x 110 x h 35

Open: 160 x 220 x h 125

Weight: about 63 kg

LARGE Closed: 180 x 110 x h 35

Open: 180 x 220 x h 125

Weight: about 69 kg

Art. AC/02

Air-Camping Medium

Art. AC/03

Air-Camping Large

*Top of range in standard equipment.

***Best Seller: the models Small and Medium with carbon fabric are the best sellers.

Overland: Gray roof, Carbon sides

TOP OF RANGE*

Includes: 4 universal clamps for attachment to roof bars, 2 windows and 2 large doors all with mosquito-netting, 1 mattress and 2-4 pillows, 2 awning support poles, (hold open doors to create awning) 1 PVC travel cover, 1 height adjustable steel ladder. Wing included.

DOUBLE UP SYSTEM

The coupling can be made with the following: Small+Small, Small+Medium, Medium+Medium on large vehicles.

*Top of range in standard equipment.

Overcamp: Carbon roof, Gray sides

SMALL Closed: 65 x 200 x h 35

Open: 130 x 200 x h 100

Weight: about 54 kg

MEDIUM Closed: 90 x 200 x h 35

Open: 180 x 200 x h 115

Weight: about 66 kg

Art. OLC/01

Overland Carbon Small

Art. OLC/02 Overland Carbon Medium

Art. OLC/03

Overland Carbon Large

Art. OCC /01

Overcamp Carbon/Gray Small

Art. OCC /02

Overcamp Carbon/Gray Medium

150 166
194 236

TOP OF RANGE*

BEST SELLER***

Includes: 4 universal clamps to fixing onto roof-bars, two triangular windows with mosquito nets, two large doors with mosquito netting, one mattress and 2/3 pillows, 2 internal pockets, 2 adjustable stakes for unfolding additional outdoor area awning, 2 stakes to hold up back door and create awning, 1 PVC travel cover, the roof stakes are equipped with condensate proof covering, 2 windproof tightening ropes included in the tent’s structure, multi-purpose hooks, the tent is pre-arranged for possible supplementary changing-room, 1 height adjustable alloy ladder.

Standard: all models are configured for side (standard) opening.

Optional: Explorer opening for opening over rear (or front) of vehicles.

*Top of range in standard equipment.

***Best Seller: it’s one of the best seller models.

Overzone: Black roof, Olive sides

SMALL Closed: 130 x 110 x h 35

Open: 130 x 220

+ 70 (appendix) x h 125

Weight: about 56 kg

MEDIUM Closed: 160 x 110 x h 35

Open: 160 x 220

+ 70 (appendix) x h 125

Weight: about 65 kg

LARGE Closed: 180 x 110 x h 35

Open: 180 x 220 + 70 (appendix) x h 125

Weight: about 74 kg

SMALL Closed: 130 x 110 x h 35

Art. OZ/01 Overzone Small

Art. OZ/02 Overzone Medium

Art. OZ/03 Overzone Large

Art. OLC/01 Overland Carbon Small

TOP OF RANGE*

Includes: 4 universal clamps for fixing to roof racks (including 2 "C" guides oriented for standard mounting), 2 large circular windows on the sides, 1 large roof window with fly screen and 2 large doors with fly screens, 1 mattress and 2/3/4 pillows, 2 internal pockets, 4 poles to transform the doors into Awnings, Wing included, 1 pvc tent cover, anti-condensation covering on the roof poles, 1 height-adjustable alloy ladder (h closed: 110 cm - h open: 230 cm).

Open: 130 x 220 x h 125

Weight: about 54 kg

MEDIUM Closed: 160 x 110 x h 35

Open: 160 x 220 x h 125

Weight: about 63 kg

LARGE Closed: 180 x 110 x h 35

Open: 180 x 220 x h 125

Weight: about 69 kg

Art. OLC/02

Overland Carbon Medium

Art. OLC/03

Overland Carbon Large

*Top of range in standard equipment.

Nomadland: Gray roof, Brown sides

182 204
237

THE IMPORTANT GOALS ARE

238

ALWAYS REACHED TOGETHER

239

AUTOHOME

An Italian company which embraces a precise industrial philosophy based on solid values of consistency, reliability and transparency.

- Supports Made in Italy products

- Furthers technological research

- Selects only top quality materials

- Produces respecting the environment

- Designs using professionals with adventure professionals in mind

- Promotes beauty and design

- Inspires adventure and life outdoors

5* YEARS GUARANTEE

Every single Autohome® product has been studied in detail and carried out by utilizing the most suitable materials for its expected use. The fifty-year experience concerning the products allowed the Company to choose suitable materials tested in any different weather and travel conditions.

Strict “Autohome® Quality” controls assure that the product is faultless both concerning materials and construction.

*see notes in the instructions given with the product or ask for information: e-mail: info@autohome.it

The tents used the world over by Tour Leaders and Explorers, for extreme car rallies and expeditions, are identical to the standard production: the same product anybody can buy. Each Autohome® roof tent is marked by a Serial Number (label on the internal side of tents’ inlet door), which distinguishes the tent and indicates the quality controls it has undergone.

It is recommended to carefully read the general instructions for use and maintenance, which are an integral part of the product and are supplied within its packaging. Pay attention not to lose them! In case of loss, ask for them to the point of sale or to info@autohome.it

AUTOHOME® MADE IN ITALY

The indications of this catalogue are not binding and have no contractual value. The manufacturer reserves the right to make technical, constructive and aesthetic modifications on the products without prior notification.

All the technical data, colours, weights and measurements are indicative only. All roof tents are hand built and therefore weights may vary slightly. If you need more details, please, contact an authorized reseller or the Manufacturer, also see our General Instructions for Use, Maintenance & Warranty, which are an integral part of the product. The catalogue is printed in Italy and it cannot be reproduced without prior authorisation of the manufacturer.

Info: www.autohome-official.com

Any dispute will be dealt with only by the Court in Mantova, Italy.

© Zifer Italia S.r.l. – Any reproduction or partial reproduction is stricly forbidden without the written consent of Zifer Italia S.r.l - Viale Risorgimento, 23 – 46017 Rivarolo Mantovano (MN) – Italy. Any infringement of intellectual property rights will lead to legal action which may result in prosecution.

AUTOHOME® produced by Zifer Italia Srl

Viale Risorgimento, 23 46017 Rivarolo Mantovano (Mantova) Italy

Tel. +39 0376 99590

Tel. +39 0376 958164

info@autohome.it

MADE IN ITALY Autohome-Official
[WEB SITE] [CATALOGUE]
PRINTED IN ITALY - JULY 2023 GB

Turn static files into dynamic content formats.

Create a flipbook
Issuu converts static files into: digital portfolios, online yearbooks, online catalogs, digital photo albums and more. Sign up and create your flipbook.