Revista Geotecnia - SMIG - 269

Page 1

DETERMINACIÓN DEL MÓDULO DE ELASTICIDAD COMPUESTO DE PILAS

MONITOREO DE DEFORMACIONES EN EL REVESTIMIENTO DE UN TÚNEL

CONSTRUIDO EN SUELOS MUY BLANDOS DEL VALLE DE MÉXICO

ISSN: 2594-1542
SEPTIEMBRENOVIEMBRE 2023 269
ÓRGANO OFICIAL DE LA SOCIEDAD MEXICANA DE INGENIERÍA GEOTÉCNICA, A. C. WWW.SMIG.ORG.MX

Qué ofrecemos

Soluciones con Geosintéticos

procesos constructivos e instalación de nuestras soluciones con Geosintéticos a consultores, constructores, proyectistas, universidades, entidades gubernamentales, en sectores como:

• Infraestructura del transporte

• Petróleo, energía y gas

• Minería

• Ambiental

• Construcción civil de todo tipo

Nuestra experiencia

Contamos con un equipo de ingenieros especializados en geotecnia, pavimentos e infraestructura vial que lleva más de 40 años desarrollando proyectos en Latinoamérica.

Transformación digital en la infraestructura

Geosoft: infraestructura con Geosintéticos y software de diseño gratuitos.

Geotraining: Amplía tus conocimientos sobre soluciones constructivas con Geosintéticos.

Contáctanos para que te asesoremos en el desarrollo de tus proyectos

Somos el mayor fabricante de Geotextiles en Latinoamérica

Contamos con 5 plantas de producción localizadas en 4 países de Latinoamérica, incluido México, y 7 centros de distribución en Hermosillo, Monterrey, Guadalajara, León, Cuautitlán, Oaxaca y Mérida.

❘ Núm. 269 Septiembre
¿Necesitas asesoría técnica especializada para tus proyectos de infraestructura?
@WavinGeosintéticos @amancowavin_geosinteticos amancowavingeosintéticos.com @amancowavingeosintéticos2957 amanco-wavin-geosintéticos
Tenemos el más completo portafolio de soluciones con Geosintéticos.
32 1 2 3 26 10 17 20

Mesa Directiva 2023-2024

Presidente

Ricardo Enrique Ortiz Hermosillo

Vicepresidenta

Natalia del Pilar Parra Piedrahita

Secretario

Miguel Ángel Mánica Malcom

Tesorera

María del Carmen Cabrera Velázquez

Vocales

María Elena Acevedo Valle

Jorge Armando Rábago Martín

Yari Yanela López Calix

Giovanni A. Quintos Lima

Yoleida del Valle Suárez Arellano

Gerente

Brenda Aguilar Silis

Delegaciones regionales

Baja California

Michoacán

Occidente

Puebla

Querétaro

Tabasco

Veracruz

Representaciones

Chiapas

Ciudad Juárez

Irapuato

Mérida

Monterrey

Síguenos

Depósitos de residuos mineros: un gran desafío para la ingeniería geotécnica

Los depósitos de residuos mineros se cuentan entre las estructuras de ingeniería más grandes del planeta. A diferencia de otras estructuras similares, como las presas de almacenamiento de agua, se pretende, generalmente, que estos depósitos contengan a los residuos de la producción de un cierto mineral (o varios de ellos) de forma perenne. Sin embargo, bastante contradictorio con este objetivo de permanencia, en muchos casos estas estructuras se han conformado con diseños inadecuados o inexistentes, con métodos de construcción deficientes y con escasos o nulos controles de calidad. Esto ha conducido a las inaceptables tasas de falla que exhiben estas estructuras en la actualidad –con entre dos y cinco colapsos–, con graves consecuencias en un año promedio. A pesar de que esta situación no es nueva, no fue hasta la ocurrencia de la fatídica rotura de la presa de Brumadinho en 2019 (quizá porque se capturó en video) que finalmente se desencadenó un enorme esfuerzo en escala mundial para mejorar la seguridad y estabilidad de estas estructuras tan necesarias para el progreso de la humanidad. En el contexto de esta monumental tarea, la ingeniería geotécnica desempeña una función preponderante, proporcionando las bases teóricas para identificar, explicar y prevenir los mecanismos de rotura que puedan presentarse en los distintos tipos de depósitos, así como para anticipar las consecuencias de un posible colapso.

A pesar de que es ya evidente el beneficio de una mayor participación de la ingeniería geotécnica en el análisis, diseño, evaluación y gestión de los depósitos de residuos mineros, es importante recordar que varios aspectos del problema se encuentran en la frontera del conocimiento de la disciplina. Un claro ejemplo de lo anterior es el fenómeno de licuación de flujo (o licuación estática), asociado con una pérdida repentina de resistencia en condiciones no drenadas (o de drenaje parcial), responsable de algunas de las fallas más catastróficas en estas estructuras. Aunque técnicas modernas de conformación tienden a reducir significativamente la posibilidad de ocurrencia de este fenómeno (e.g. residuos filtrados), existen miles de depósitos construidos en el mundo con condiciones particularmente desfavorables (e.g. deposición hidráulica y crecimiento aguas arriba), los cuales representan un riesgo constante para las poblaciones aledañas. A pesar de los invaluables avances en el entendimiento del fenómeno de licuación desde las pioneras investigaciones de Casagrande y Castro en la Universidad de Harvard, aún existe considerable trabajo, tanto en la academia como en la industria, para incorporar de forma objetiva y cotidiana la posibilidad de ocurrencia de este fenómeno en nuestros análisis y evaluaciones, particularmente en el caso de nuestras simulaciones numéricas.

Desde luego, el ejemplo planteado es solo uno de varios aspectos que requieren la atención e intervención de la ingeniería geotécnica, en colaboración con otras disciplinas, con el propósito de mejorar las condiciones de seguridad en los depósitos de residuos mineros, objetivo que los geotecnistas debemos afrontar con compromiso, determinación y humildad.

Geotecnia, año 13, núm. 269, septiembre - noviembre 2023, es una publicación trimestral editada por la Sociedad Mexicana de Ingeniería Geotécnica, A.C. Valle de Bravo 19, colonia Vergel de Coyoacán, alcaldía Tlalpan, CP 14340, teléfono (55) 5677 3730 · www.smig.org.mx. Editor responsable: Carlos Roberto Torres Álvarez. Reserva de Derechos al Uso Exclusivo núm. 04-2017-060819470900-102, otorgada por el Instituto Nacional del Derecho de Autor. ISSN: en trámite. Responsable de la última actualización de este número: Ediciones de la Sierra Madre, S.A. de C.V., 8 de Septiembre 42-2, colonia Daniel Garza, alcaldía Miguel Hidalgo, CP 11830, Ciudad de México. Fecha de última modificación: 31 de agosto de 2023.

Los artículos firmados son responsabilidad de los autores y no reflejan necesariamente la opinión de la SMIG. Los textos publicados, no así los materiales gráficos, pueden reproducirse total o parcialmente siempre y cuando se cite la revista Geotecnia como fuente. Para todo asunto relacionado con la revista Geotecnia, dirigirse a helios@heliosmx.org.

Septiembre - Noviembre 2023
Miguel Ángel Mánica Malcom Secretario de la Mesa Directiva 2023-2024
en @smiggeotecnia Sociedad Mexicana de Ingeniería Geotécnica inggeotec
1 38 41 43 44 45 47 48 40 42 Ir a TexTo CorrIdo

CONVOCATORIA

Además de comentarios y sugerencias de sus lectores sobre los contenidos, Geotecnia está abierta a las colaboraciones de los profesionales vinculados a la especialidad. De igual forma se invita a presentar artículos que permitan inaugurar una nueva sección en la que se haga prospectiva o se aborden casos insólitos en el ejercicio de la especialidad. Quien desee proponer trabajos debe comunicarse a través de helios@heliosmx.org para ser informado de los requisitos para recibir materiales. Los textos serán puestos a consideración del Consejo Editorial para su eventual publicación.

Contenido

Dirección general

Ricardo Enrique Ortiz Hermosillo

Dirección ejecutiva

Natalia del Pilar Parra Piedrahita

Consejo Editorial

38 Ámbito académico Evaluación del aprendizaje en la pandemia

Norma Elisa Amirante Marignac y cols.

40 RESEÑAS - Tesis

41 Normatividad NTC-Cimentaciones Alberto Cuevas Rivas

41 CULTURA

42 Cursos de actualización y apoyo para la certificación de peritos profesionales en Geotecnia

42 Primera Conferencia Concepción Mendizábal Mendoza

43 Homenaje a Guillermo Springall Cáram

44 Casos para detección de grietas empleando métodos geofísicos

45 Noticias de la Vicepresidencia por Norteamérica de la ISSMGE

47 Premios "Javier Barros Sierra" y "Miguel A. Urquijo"

47 CAPÍTULOS ESTUDIANTILES Licenciatura de la Universidad Nacional Autónoma de México

Juan de Dios Alemán Velásquez

Gabriel Yves Armand Auvinet Guichard

Roberto Avelar Cajiga

María del Carmen Cabrera Velázquez

Jorge E. Castilla Camacho

Francisco Alonso Flores López

Moisés Juárez Camarena

Germán López Rincón

Raúl López Roldán

Miguel Ángel Mánica Malcom

Héctor Moreno Alfaro

Rodrigo Murillo Fernández

Ricardo Enrique Ortiz Hermosillo

Alexandra Ossa López

Walter Iván Paniagua Zavala

Margarita Puebla Cadena

Luis Bernardo Rodríguez González

Juan Jacobo Schmitter M. del C.

Guillermo Springall Cáram †

Carlos Roberto Torres Álvarez

Comercialización

Brenda Aguilar Silis

Realización

HELIOS comunicación

+52 (55) 29 76 12 22

Dirección ejecutiva

Daniel N. Moser da Silva

Dirección editorial

Alicia Martínez Bravo

Contenidos

Ángeles González Guerra

Diseño

Diego Meza Segura

Dirección comercial

Daniel N. Moser da Silva

Comercialización

Laura Torres Cobos

48 CALENDARIO

sismos del 6 de febrero de 2023

Efraín Ovando Shelley y cols.

PORTADA: PRUEBA DE CARGA ESTÁTICA, A COMPRESIÓN, EN PILA DE CIMENTACIÓN

FOTO DE PORTADA: CLAUDIA PINEDA

Difusión

Bruno Moser Martínez

Dirección operativa

Alicia Martínez Bravo

❘ Núm. 269 Septiembre
3 Conversando con… La ingeniería civil es para servir a la sociedad Manuel Zárate Aquino 10 Semblanza Ralph Peck Contribuciones al conocimiento de la geotecnia temprana durante el siglo XX Antonio Lara Galera y cols. 17 Nota técnica El nuevo puente Harry Nice. Historia de su instrumentación Kevin Tehansky y cols. 20 Tema de portada / Artículo técnico Determinación del módulo de elasticidad compuesto de pilas Walter I. Paniagua Zavala 26 Artículo técnico Monitoreo de deformaciones en el revestimiento de un túnel construido en suelos muy blandos del Valle de México Joel M. de la Rosa Rodríguez 32 Nota informativa Visita de reconocimiento de daños del Instituto de Ingeniería de la UNAM a Turquía por los
2 32 1 2 3 26 10 17 20

La ingeniería civil es para servir a la sociedad

Desde joven empecé a entender la importancia de la ingeniería civil en el mundo, en la sociedad. Tengo un libro en cuya introducción el autor dice: “Les pido que hagamos un ejercicio mental. Piensen ustedes qué pasaría si no hubiera ingeniería civil. Es muy sencillo: no habría ninguna infraestructura”.

Corría el año 1937 cuando nació Manuel Zárate Aquino hace nada menos que 86 años. Su familia es originaria de la Mixteca alta, en Oaxaca.

“Vivíamos en la ciudad de Oaxaca; para ir al pueblo de donde nuestra familia es originaria, primero teníamos que transportarnos en ferrocarril hasta una estación llamada El Parián –nos cuenta Manuel Zárate–, y de allí había que ir a pie, en caballo o en burro. El problema era en época de lluvias, porque eso era intransitable. Actualmente, mediante la autopista, el viaje se efectúa en menos de una hora”.

Tiempo después se empezaba a construir la llamada Carretera Panamericana. Curiosamente, el jardín de niños al que asistía Manuel Zárate estaba frente a esa carretera y pudo observar cómo se construía. A sus cuatro años de edad veía las máquinas trabajando y esto le llamó mucho la atención.

“No tengo dudas de que esa experiencia durante varios años me impulsó a estudiar ingeniería civil”, afirma nuestro entrevistado.

Le pedimos que nos cuente su vida familiar durante su infancia. “La familia estaba inte -

Ingeniero Francis N. Hveem capacitando al personal en la aplicación del perfilógrafo que lleva su nombre para determinar el índice de perfil en el pavimento del aeropuerto de Acapulco, 1964.

grada por papá, mamá, una tía y mis hermanos María Luisa y Renato, que son médicos. Era una familia chapada a la antigua, en la que se esperaba a papá para comer. Todos nos reuníamos a desayunar con él, a cenar juntos. No es como ahora, en que todo el mundo tiene que trabajar, y ya la familia se ha dispersado.

”Fue una infancia tranquila, segura… en esa época todos los niños, compañeros de escuela,

Septiembre - Noviembre 2023
CONVERSANDO CON...
3 38 41 43 44 45 47 48 40 42 Ir a TexTo CorrIdo

CONVERSANDO CON... ❘ La ingeniería civil es para servir a la sociedad

éramos amigos. Estudiábamos juntos, jugábamos juntos, hacíamos travesuras juntos. Había una gran convivencia. Por la noche salíamos, como se acostumbraba en la provincia, para ir al zócalo de la ciudad a pasear, a conocer muchachas; en fin, era una vida muy bonita”.

En el ámbito deportivo, Manuel Zárate se inclinó firmemente por el futbol. “Jugábamos mucho al futbol en la escuela y en el llano. También me gustaba mucho estudiar, leer”.

Cuando hizo la primera comunión, su padrino, Fernando Gómez, le regaló varios libros. “El que más me impresionó fue la novela de Julio Verne Viaje al centro de la Tierra. Y de ahí en adelante me di a la tarea de leer prácticamente todas las novelas de Julio Verne, una persona muy avanzada para su época. Definitivamente, 20,000 leguas de viaje submarino, De la Tierra a la Luna, La vuelta al mundo en 80 días, etcétera, todas esas novelas fueron impresionantes para mí y me causaban una gran emoción”.

Su papá también acostumbraba leerles por la noche algún libro famoso. “Nos leía El jorobado de nuestra señora de París, Los tres mosqueteros y otras más. Era muy interesante la vida en la familia de esa época. Recuerdo también las fiestas decembrinas con nostalgia. Por ejemplo, la Navidad, que en Oaxaca todavía se sigue celebrando de una manera un tanto tradicional; los días dedicados a los muertos, la Semana Santa. En algunas ocasiones estas festividades las pasábamos en el pueblo. Una gran tradición que se ha conservado, porque están empeñados en no perderla”.

El pueblo se llama Yanhuitlán (en español significa “pueblo nuevo”). Su nombre mixteco es Yosocahui, que en español significa “valle nuevo”.

Zárate Aquino vivió en Oaxaca hasta terminar la secundaria. Emigró a la Ciudad de México para estudiar la preparatoria en el antiguo palacio de San Ildefonso en 1953. Lo impresionó sobremanera llegar allí “teniendo en cuenta la antigüedad y belleza del inmueble, su historia, el hecho de que allí habían estudiado personajes tan famosos como José Vasconcelos –mi paisano–, entre muchos más”.

Quisimos saber si la decisión de estudiar ingeniería civil se reduce a la experiencia de su primera infancia o hubo otros hechos motivadores.

“Ya de joven empecé a entender la importancia de la ingeniería civil en el mundo, en la sociedad. Tengo un libro en cuya introducción el autor menciona: “Les pido que hagamos un ejercicio mental. Piensen ustedes qué pasaría si

no hubiera ingeniería civil. Es muy sencillo: no habría ninguna infraestructura”.

La llegada a la Ciudad de México no fue fácil, aunque tampoco traumática. No tenía familiares que le dieran cobijo.

“Me vine solo. Vivía yo en una casa de vecindad donde alquilaban cuartos. Era interesante porque, para mi gusto, resulta que la entrada del edificio está en la calle de Guatemala 90. Allí hay una placa que dice: En este edificio de 1792 se estableció la primera escuela de ingeniería. O sea que fue el antecedente del Palacio de Minería donde yo estuve. ¡Qué satisfacción!”

Hoy en día esa casa ha sido recuperada, y actualmente es propiedad de la Facultad de Ingeniería.

¿Cómo era su vida cotidiana en esa época? ¿Cómo era un día de semana típico, un fin de semana?

❘ Núm. 269 Septiembre
Ingenieros Luis Miguel Aguirre Menchaca (con sombrero) y Federico Dovalí (con casco) determinando el parámetro LCN en el pavimento del aeropuerto de Acapulco, 1964.
4 32 1 2 3 26 10 17 20
Brindis de fin de año con personal del laboratorio de la Dirección General de Proyectos y Laboratorios de la SCOP, 1965.

Manuel nos cuenta: “Mi padre me dijo: ‘Te vas a estudiar; pero si repruebas, te regresas’. Eso fue peor que si me hubiera prometido una paliza. Para mi satisfacción, obtuve el primer lugar en la escuela preparatoria, y tuve el gusto de compartir ese lugar con el doctor Daniel Reséndiz Núñez, que lamentablemente ya nos dejó”.

En esa época conoció a otro condiscípulo, también ya fallecido: Enrique Santoyo Villa. Ambos fueron amigos entrañables de Zárate Aquino, de toda la vida.

“La casa donde viví durante 11 años estaba a un par de cuadras del Colegio de San Ildefonso, de manera que era muy fácil ir a la escuela. Por ejemplo, en la noche teníamos clases de cosmografía, y aprovechando que en la azotea del edificio había un pequeño observatorio, se abrió para mí un campo maravilloso: observar el cielo a través de un telescopio”.

La escuela preparatoria le abrió un campo de nuevo de conocimientos: clases de filosofía, de lógica, de historia, de literatura, además de las necesarias física, química y matemáticas.

“Considero –nos dice Manuel– que la educación que recibí allí fue muy interesante, completa, productiva. Debo decir que en 1954, estando yo en el segundo año de preparatoria, se inauguró la Ciudad Universitaria. Y fui, precisamente, a esa ceremonia”.

¿Qué hacía además de estudiar? “Leía yo las obras de Julio Verne, por ejemplo, y escuchaba música; pero los domingos salía a la calle a recorrer esta ciudad impresionante, a visitar museos, parques, jardines, todos los edificios antiguos. Los museos me llaman mucho la atención, y en nuestra ciudad existe una gran cantidad de museos muy importantes”.

Además, se reunía con amigos que también habían emigrado de Oaxaca. “Íbamos en ocasiones a corridas de toros, al clásico de futbol americano para echar porras a los Pumas. En esa época era algo maravilloso, había una gran tradición universitaria: muchas actividades en donde había participación de toda la comunidad de la UNAM, de manera que eso también servía para sentirse cada vez más universitario”.

El paso de la preparatoria a la universidad no fue cosa menor. “Entré a la Facultad de Ingeniería en 1955, cuando la Ciudad Universitaria tenía un año de haber sido fundada. En esa época todo olía a nuevo. Nada más que, curiosamente, los laboratorios aún no estaban montados, y teníamos que ir al Palacio de Minería a tomar las clases de Laboratorio de materiales, de manera

que también teníamos esa interesante situación de estar en ese colegio, en Tacuba 5”.

Cuando debió elegir dónde hacer su examen de titulación, Zárate Aquino optó por la sede del Palacio de Minería. “Los maestros –nos cuenta– eran sumamente responsables, conocedores. Grandes maestros tuve en aquella época. Mariano Hernández, José L. de Parres, Alberto y Antonio Dovalí, Enrique Tamez, Esteban Salinas y muchos más, que sería largo de enumerar”.

Como muchos de sus compañeros, nuestro entrevistado se planteó “ser perfeccionista, trabajar con responsabilidad, profesionalismo, con ética, y todo al servicio de la sociedad. Se debe servir a la sociedad. Todo lo que hace la ingeniería civil es para servir a la sociedad”.

Zárate Aquino terminó la carrera en 1959. “Empecé a trabajar en 1958. Tuve contacto con

Septiembre - Noviembre 2023 La
❘ CONVERSANDO CON...
ingeniería civil es para servir a la sociedad
Ceremonia de entrega de diplomas al terminar la especialidad en Vías Terrestres, 1961.
5 38 41 43 44 45 47 48 40 42
XX Reunión Nacional de Mecánica de Suelos, Oaxaca, noviembre de 2000. Manuel Zárate Aquino, segundo de izquierda a derecha, fue presidente del Comité Organizador.

otro gran amigo, el ingeniero Carreño Romaní. Él había participado en el curso de especialidad que se realizaba bajo los auspicios de la Secretaría de Obras Públicas, donde yo trabajaba también. Obtuve la beca para estudiar en 1961 la especialidad en Vías Terrestres, y en 1962 la maestría en Vías Terrestres con profesores muy serios y responsables, conocedores, como el maestro Alfonso Rico, el doctor Eulalio Juárez Badillo, Luis Miguel Aguirre Menchaca y muchos más”.

También hacían viajes, recorridos interesantes, viendo las obras que se estaban construyendo en el país y algunas del extranjero.

“Empecé a trabajar en la Secretaría de Obras Públicas en 1958. En esa época el director de la facultad era el ingeniero Javier Barros Sierra, que posteriormente fue nombrado secretario de Obras Públicas. Unos compañeros y yo fuimos a solicitarle trabajo y nos aceptaron. Me dio mucho gusto trabajar, entre otras cosas, porque en ese momento le dije a mi papá que ya no me enviara dinero, porque ya trabajaba, lo que lo llenó de emoción y orgullo, debo decir”.

Así comenzó a ser económicamente independiente. Entre los ingenieros civiles es común decidirse por alguno, algunos o inclusive todos los espacios de desarrollo laboral: el empresarial, el académico y el sector público. Zárate Aquino comenzó con el sector público.

“Llegué a la Ciudad de México a estudiar y a trabajar. En la Secretaría de Obras Públicas ingresé al Departamento de Construcción de Ferrocarriles. Entonces tuve que hacer viajes a la obra del ferrocarril Durango-Mazatlán. Estando allí obtuve la beca para estudiar la especialidad y la maestría en Vías Terrestres. Cuando terminé los estudios tuve que volver a trabajar. Me enviaron a lo que entonces se llamaba Dirección General de Proyectos y Laboratorios, que hoy es la Dirección General de Servicios Técnicos”.

Allí trabajó con el maestro Alfonso Rico, el doctor Juárez Badillo y el ingeniero Luis Miguel Aguirre Menchaca, que era su jefe y había sido su profesor. Este lo invitó a dar clases para ayudarlo en las que daba en la especialidad de vías terrestres, y también algunas veces a suplirlo en la clase de Mecánica de suelos que en ese momento impartía en la Facultad.

“Después de nueve años en la secretaría, en una ocasión el maestro Aguirre Menchaca me dijo que pensaba retirarse de la secretaría para formar una empresa y me invitó a ir con él; sin pensarlo acepté, y en 1967 se fundó la empresa donde todavía trabajo”.

En los sesenta, los ensayos de laboratorio eran muy simples, los métodos de diseño de pavimentos también, todo funcionaba de manera razonable, porque los vehículos, tanto terrestres como aéreos, pesaban muy poco. La frecuencia de ocupación también era bajísima. Una carretera con 3 mil vehículos por día ya era un caso extraordinario. Ahora hay carreteras que tienen 150 mil o 160 mil vehículos por día.Las aeronaves pesaban unas 10 o 12 toneladas. Ahora pesan 500 o 600 toneladas. De manera que esto ha modificado radicalmente el panorama.Los puertos muestran signos de saturación; muchas carreteras han tenido que ser ampliadas, se están construyendo líneas férreas, aeropuertos nuevos.

Le pedimos que nos comente los adelantos tecnológicos que ha observado a lo largo de su extensa y prolífera carrera profesional.

“He observado cambios trascendentales. En los sesenta, los ensayos de laboratorio eran muy simples, los métodos de diseño de pavimentos también, todo funcionaba de alguna manera razonable. ¿Por qué razón?, porque los vehículos, tanto terrestres como aéreos, pesaban muy poco. La frecuencia de ocupación también era bajísima. Una carretera con 3 mil vehículos por día ya era un caso extraordinario. Ahora tenemos carreteras que tienen 150 mil o 160 mil vehículos por día.

”Las aeronaves de aquella época pesaban unas 10 o 12 toneladas. Ahora pesan 500 o 600 toneladas. De manera que esto ha modificado radicalmente el panorama.

”La infraestructura de transporte es importantísima hoy en día. Los puertos, por ejemplo, muestran signos de saturación; muchas carreteras han tenido que ser ampliadas, se están construyendo líneas férreas, aeropuertos nuevos”.

Le solicitamos a Manuel Zárate que nos refiera cuáles, a su juicio, son los avances tecnológicos más relevantes.

“Por ejemplo –apunta–, ahora se necesita conocer con sumo detalle las características de muchos materiales, los térreos, por ejemplo, porque son producto de la naturaleza; tenemos que aprender a conocerlos y saber cuáles son apropiados para la obra que se va a construir. Otro aspecto interesantísimo es el conocimiento cada vez más profundo de los asfaltos, que también son de origen natural y por lo tanto tienen características variables. Se han estado haciendo estudios muy profundos, muy serios, para determinar el creep recuperable, por ejemplo, definir los asfaltos que deben ser utilizados de acuerdo con la posición geográfica del sitio; el uso de modificadores, estabilizadores, cementantes, de tal manera que he tenido que volver a mis estudios de química, sobre todo de química orgánica, para entender los nuevos conceptos y poder aplicarlos”.

No es lo único: “Otro aspecto para destacar –continúa– es la evolución de los métodos de diseño. Antes bastaban unas gráficas, unos programas muy sencillos; ahora todo se maneja con programas de computadora, que en un momento dado pueden dar soluciones, hacer análisis de sensibilidad, etc., para poder realizar mejor el diseño. Otro factor para destacar es el uso de materiales reciclables con objeto de no desperdiciar y lograr el menor impacto a la naturaleza”.

❘ Núm. 269 Septiembre
CONVERSANDO
La ingeniería
6 32 1 2 3 26 10 17 20
CON... ❘
civil es para servir a la sociedad

Para el uso de nuevas tecnologías y el desafío que ello implica se necesitan nuevos ingenieros civiles capacitados para el mejor aprovechamiento de las nuevas tecnologías.

“Efectivamente, nos dice Zárate, también necesitamos más y mejores ingenieros. Aquí van de por medio varios aspectos: desde luego, las escuelas de ingeniería deben considerar en sus planes de estudio precisamente el panorama actual, un mundo globalizado, muy competitivo, con grandes conocimientos tecnológicos, de manera que las universidades deben modificar, actualizar sus planes de estudio para que los jóvenes que terminen la carrera estén capacitados para ejercer la profesión”.

La práctica profesional es otro elemento a considerar. “El Banco Mundial establece que para ser experto en vías terrestres se necesitan al menos 15 años de práctica profesional, pero también con la condición de que durante esos años permanentemente los ingenieros participen en cursos de reafirmación de conceptos, de actualización y de capacitación.

”La ciencia avanza muy rápidamente, los avances tecnológicos son impresionantes, de manera que necesitamos profesionales capacitados, lo que incluye la necesidad de investigadores y profesores de vías terrestres”.

Siendo la ingeniería civil una profesión de alto impacto social, sin negar la importancia del enfoque empresarial, también es necesario que el Estado, el sector público, desempeñe un papel determinante, ya que su prioridad no es el lucro (legítimo en el sector empresarial), sino el servicio a la sociedad.

En cuanto a la evolución de los métodos de diseño, antes bastaban unas gráficas, unos programas muy sencillos; ahora todo se maneja con programas de computadora, que en un momento dado pueden dar soluciones, hacer análisis de sensibilidad, etc., para poder realizar mejor el diseño. Otro factor para destacar es el uso de materiales reciclables con objeto de no desperdiciar y lograr el menor impacto a la naturaleza.

“La participación de los gobiernos es fundamental –resalta Manuel Zarate–. Los países altamente desarrollados destinan un 3 o 4% del PIB para investigación, y tengo entendido que México apenas destina un 1 por ciento”.

A pregunta expresa sobre los mayores desafíos profesionales que ha enfrentado y cómo los resolvió, nuestro entrevistado responde: “Toda obra es un desafío, todas las obras tienen situaciones particulares que deben atenderse. No hay dos proyectos iguales; para cada caso tienen que aplicarse técnicas específicas, teniendo en cuenta las características del proyecto.

”Respecto a la preparación de los jóvenes, sigo siendo académico de nuestra universidad, participo en el curso de especialización de Vías Terrestres de la UNAM”.

Uno de los aspectos que le preocupan es precisamente que los alumnos estén conscientes de la participación de la geotecnia en los proyectos de vías terrestres. “En mis clases dedico un tiempo al tema de los llamados suelos difíciles, compresibles, expansivos, débiles, erosionables, colapsables. Otro tema son las amenazas de la naturaleza, como sismos, tormentas, tsunamis. Todo esto debe conocerlo el ingeniero. Por ejemplo, tuvimos un problema interesante en el proyecto de los pavimentos del aeropuerto de la Ciudad de México, precisamente situado en los terrenos del ex Lago de Texcoco, sobre suelos sumamente compresibles. Se habían construido los pavimentos de manera convencional y esto provocó un mal comportamiento de ellos: hundimientos diferenciales indeseables, asentamientos totales, etc., de tal manera que el in-

Septiembre - Noviembre 2023
Participación de Manuel Zárate durante la ceremonia inaugural de la XVII Reunión Nacional de Ingeniería de Vías Terrestres. Monterrey, julio de 2008.
La
CONVERSANDO CON... 7 38 41 43 44 45 47 48 40 42
ingeniería civil es para servir a la sociedad ❘

geniero Luis Miguel Aguirre y yo emprendimos una campaña de exploración de suelos con objeto de conocer específicamente las características del subsuelo en esa zona. De esta manera se nos ocurrió establecer el llamado ‘pavimento de sección compensada’, teniendo como antecedente las cimentaciones compensadas de los edificios. Este concepto no es nuevo, el maestro José A. Cuevas lo utilizó para el proyecto del edificio original de la Lotería Nacional, que se ha comportado adecuadamente. Ese proyecto se ha llevado a cabo en el Aeropuerto Internacional de la Ciudad de México y se ha resuelto el problema de mal comportamiento del pavimento, aunque sigue vigente el fenómeno de subsidencia”.

En materia de planificación de vías terrestres, es necesario considerar que las vías terrestres, además de las carreteras, son las pistas de los aeropuertos, las líneas ferroviarias, las zonas de transporte intermodal. En el marco de la conocida “rivalidad” entre las carreteras y las vías férreas, en materia de planificación, consultamos con nuestro entrevistado dónde debe haber línea de ferrocarril y dónde carreteras en México, y por qué.

“Debo decir que le faltaron las vialidades urbanas. En nuestro país más del 70% de la población habita en ciudades que cada vez crecen más, necesitan más calles, más avenidas, más arterias seguras, de manera que estas deben considerarse vías terrestres.

”Debemos tomar en cuenta, en primer lugar, que las vías de transporte incluyen carreteras, ferrocarriles, transporte marítimo y transporte

“En mis clases dedico un tiempo al tema de los llamados suelos difíciles, compresibles, expansivos, débiles, erosionables, colapsables. Todo esto debe conocerlo el ingeniero. Por ejemplo, tuvimos un problema interesante en el proyecto de los pavimentos del aeropuerto de la Ciudad de México, precisamente situado en los terrenos del ex Lago de Texcoco, sobre suelos sumamente compresibles. Se habían construido los pavimentos de manera convencional y esto provocó un mal comportamiento de ellos”.

aéreo. Definitivamente no debe ser una disputa entre ellos, sino que son obras complementarias. Por ejemplo, si vamos a enviar productos de Chiapas a Baja California, se pueden trasladar por carretera o por ferrocarril, pero también hay que considerar el transporte marítimo de cabotaje, de tal manera que se quite presión sobre los otros medios de transporte”.

Nuestro interlocutor es uno de los ingenieros más conocedores de las especificaciones de áreas de operación para aeropuertos.

“Los pavimentos para aeropuertos han tenido que ser modernizados en todos sus aspectos: en lo geométrico, ampliación de pistas, calles de rodaje, plataformas comerciales, de tal manera que puedan servir a un número de aeronaves de mayores dimensiones y peso.

”Un aspecto muy importante en los pavimentos flexibles, por ejemplo, es que suelen utilizar capas asfálticas de alto desempeño, con asfaltos modificados que tienen una mayor resistencia, menor deformabilidad y requerimiento de una mínima conservación. En el caso de pavimentos rígidos, se están utilizando ahora también concretos hidráulicos que tienen módulos, por ejemplo, de 48 hasta 50 kg/cm2; espesores de 40 cm o hasta 50 cm. Todo eso para poder soportar las cargas de las modernas aeronaves. Así pues, en el aspecto aeroportuario los pavimentos flexibles y rígidos han tenido que ser modificados considerando esta situación”.

En el caso de carreteras y pistas de rodaje de aeropuertos surgen desafíos: ¿cómo serán las carreteras y los aeropuertos del futuro? ¿Seguirán creciendo las aeronaves en número y peso? ¿Seguirá incrementándose el número y el peso de los vehículos carreteros o también intervendrán otros medios de transporte, como por ejemplo los ductos?

Manuel Zárate responde: “Se están haciendo ensayos de esta naturaleza: vehículos que funcionen con levitación, aeronaves que despeguen y aterricen verticalmente. Esos cambios no los podemos predecir todavía, pero sí será necesario que estemos pendientes de esos avances tecnológicos para enfrentarlos a tiempo y de manera eficiente”.

Le consultamos a Manuel Zárate si las pistas y plataformas proyectadas para el aeropuerto que finalmente no se concluyó en el Lago de Texcoco planteaban nuevas soluciones.

En la apertura de la exposición de la XVII Reunión Nacional de Ingeniería de Vías Terrestres. Manuel Zárate Aquino, presidente de la AMIVTAC, es el cuarto de izquierda a derecha.

“A final de cuentas se eligió una solución que fue propuesta por una compañía holandesa mediante la construcción de precarga, con objeto

❘ Núm. 269 Septiembre
CONVERSANDO CON... ❘ La ingeniería
servir a la sociedad 8 32 1 2 3 26 10 17 20
civil es para

de sobrecargar el terreno hasta cierto nivel para retirar la precarga hasta cierto punto y construir el pavimento, de manera que ya el asentamiento esperado fuera mínimo. Eso luego tuvo el problema del tiempo y el costo, porque la precarga tiene que ser lo suficientemente importante para producir los asentamientos deseables. Y, desde luego, se incrementaba la cantidad de materiales que debían transportarse y colocarse. Se llegó a una etapa de descarga y ya había zonas donde se había alcanzado, otras en las que se necesitaba más tiempo. Esto, definitivamente, fue motivo de atraso en tiempo y aumento en el costo, una situación que se ha presentado en todo el mundo. La obra del Canal de Panamá en un momento estuvo a punto de ser suspendida; un puente en Turquía, igual. Pero al final de cuentas se decidió continuar, haciéndose cargo del incremento de costo y considerando nuevos plazos. Se dice que esto es debido a un aspecto fundamental: que los estudios y proyectos no han tenido suficiente tiempo para completarse ni la amplitud necesaria, y que, precisamente, durante la obra se presentan problemas que deben ser resueltos sobre la marcha”.

Ya sobre el final, le preguntamos a Zárate Aquino: en las condiciones de nuestro país, cuáles considera que son los mejores tipos de pavimentos, ¿a base de asfalto, a base de concreto hidráulico o con otra solución, para las carreteras troncales?

“Considero que no se puede decir qué pavimento sería mejor, porque primero se deben conocer las características de la obra. Cada tipo de pavimento tiene sus ventajas y sus desventajas; desde luego, el mejor pavimento es el que ha sido adecuadamente proyectado y construido.

”El pavimento rígido tiene muchas ventajas, como que la conservación que requiere es mínima, dura mucho tiempo, etcétera. Pero también los pavimentos asfálticos con un material especial de altas especificaciones, pavimentos perpetuos, se pueden diseñar para plazos de 40 o 50 años, si están bien proyectados, con los materiales adecuados. Solamente requerirán un mantenimiento mínimo de tipo superficial. Y esto los hace también competitivos, precisamente, para estas condiciones.

”Hemos visto, por ejemplo, el caso del costo. Anteriormente, el costo del pavimento rígido era dos o tres veces superior al asfáltico, pero había dos condiciones: una era que el asfalto nosotros lo usábamos subsidiado; como país productor de petróleo, el asfalto estaba adquirido a un precio mínimo. Por otro lado, la tecnología de cons-

Un aspecto muy importante en los pavimentos flexibles, por ejemplo, es que suelen utilizar capas asfálticas de alto desempeño, con asfaltos modificados que tienen una mayor resistencia, menor deformabilidad y requerimiento de una mínima conservación. En el caso de pavimentos rígidos, se están utilizando ahora también concretos hidráulicos que tienen módulos, por ejemplo, de 48 hasta 50 kg/cm2; espesores de 40 cm o hasta 50 cm. Todo eso para poder soportar las cargas de las modernas aeronaves. Así pues, en el aspecto aeroportuario los pavimentos flexibles y rígidos han tenido que ser modificados considerando esta situación.

trucción de pavimentos de concreto hidráulico no estaba tan desarrollada como ahora; se hacía de manera casi artesanal. El primer aeropuerto con pistas de concreto hidráulico que yo diseñé fue el de Acapulco; tengo unas fotografías impresionantes de la forma en que se construyó ese pavimento, prácticamente de manera artesanal. Hoy en día tenemos pavimentadoras con cimbra deslizante, inclusión de pasajuntas automático, control mediante sensores especiales, de forma que todo eso ha avanzado muchísimo. Lo mismo en el caso de los pavimentos flexibles, los cuales tienen una gran aplicación en todo el mundo. Más o menos un 90% de los pavimentos de todo el mundo son de tipo flexible, porque pueden adaptarse a cualquier circunstancia: son más ligeros, más potentes. Hay una gran gama de opciones con los pavimentos flexibles. Existen productos hoy en día que garantizan un buen comportamiento, larga durabilidad, etcétera, de manera que esto ha avanzado mucho y seguirá en el futuro”.

Nos hemos referido a la actividad de Manuel Zárate como profesional, tanto en el sector de la gestión pública como en el académico y el empresarial. Nos interesa también conocer su participación gremial, y le pedimos que comparta con los lectores algunas de sus actividades y ocupaciones más importantes en ese ámbito.

“Desde el punto de vista gremial –nos dice–tuve la oportunidad de ser nombrado presidente del Comité Organizador de la XX Reunión Nacional de Mecánica de Suelos y Geotecnia en el año 2000, celebrada en la ciudad de Oaxaca. Posteriormente fui nombrado presidente de la AMIVTAC, y durante mi gestión se llevó a cabo la XVII Reunión Nacional de Vías Terrestres en la ciudad de Monterrey en el año 2008. Ambos eventos tengo la impresión de que fueron exitosos por la participación de activos grupos de trabajo; además, he tenido el honor de ser invitado para dictar algunas conferencias e impartir cursos especiales, principalmente por la AMIVTAC. Entre las conferencias que tuve el honor de dictar, destaco la VI Conferencia Alfonso Rico Rodríguez en 2011, auspiciada por la SMIG y la AMIVTAC.

He publicado más de 50 artículos técnicos, dos de los cuales han sido premiados por la AMIVTAC”

Entrevista de Daniel N. Moser

Apreciamos su opinión e información sobre el tema de este artículo. Escríbanos a helios@heliosmx.org

Septiembre - Noviembre 2023
La
CONVERSANDO CON... 9 38 41 43 44 45 47 48 40 42
ingeniería civil es para servir a la sociedad ❘

SEMBLANZA

Antonio Lara Galera, Rubén Galindo Aires y Gonzalo Guillán Llorente

Contribuciones al conocimiento de la geotecnia temprana durante el siglo XX: Ralph Peck

Ralph B. Peck (1912-2008), graduado y doctorado en filosofía en ingeniería civil (1934 y 1937, respectivamente) en el Rensselaer Polytechnic Institute, fue uno de los mayores contribuyentes al desarrollo de la geotecnia en el siglo XX. Estuvo influenciado desde su niñez por el mundo de la ingeniería civil a través de su padre, Orwin K. Peck, quien era ingeniero civil, particularmente ingeniero estructural en el sector ferrocarrilero.

Ante la falta de ofertas de trabajo como ingeniero estructural, Ralph Peck llegó a la Universidad de Harvard en 1938 para tomar los cursos de mecánica de suelos impartidos por Arthur Casagrande, los cuales orientaron su carrera profesional hacia la geotecnia. Además de Casagrande, Peck tuvo la oportunidad de conocer y trabajar con otras personas muy importantes relacionadas con la geotecnia: Albert E. Cummings, Laurits Bjerrum, Alec W. Skempton y, sobre todo, Karl Terzaghi, con quien forjó una gran amistad, además de él haberle dado apoyo y asesoría profesional y haber realizado trabajos importantes, como las obras del metro de Chicago.

Peck se dedicó activamente al trabajo de consultoría, lo cual le permitió visitar 44 estados dentro de la Unión Americana y 28 países de cinco continentes. También participó en labores de investigación donde se le solicitaba y fue un comprometido educador en la Universidad de Illinois, donde impartió clases durante 32 años.

La finalidad de este trabajo es analizar, a través de la biografía de Peck, sus contribuciones al campo de la geotecnia con base en sus investigaciones, enseñanzas y trabajos de consultoría, y a través de la influencia de Peck en otras personalidades importantes en este campo, como fue el caso de Karl Terzaghi.

Cuando era niño, Ralph Peck quería ser operador de tranvías, pero su padre se las ingenió para convencerlo de que estudiara para ingeniero. El 5 de septiembre de 1930, cuando Ralph tenía 18 años, rechazó dos becas, una de la Universidad de Colorado y la otra de la Escuela de Minas de Colorado, para finalmente inscribirse en el Rensselaer Polytechnic Institute (RPI) en Troy, Nueva York, fundado en 1824. Justo antes de iniciar sus estudios universitarios, durante el verano de 1930, Ralph se encontraba trabajando en la Denver & Rio Grande Railroad Company, como parte de un grupo de empleados que realizaban tareas en las vías del ferrocarril.

❘ Núm. 269 Septiembre
Departamento de Ingeniería y Construcción, Universidad Politécnica de Madrid, España
10 32 1 2 3 26 10 17 20 Ir a TexTo CorrIdo

Contribuciones al conocimiento de la geotecnia temprana durante el siglo XX: Ralph Peck ❘

Todavía en la universidad, Peck encabezó el proyecto de su primer puente para el ferrocarril Rio Grande. El proyecto se llevó a cabo durante las vacaciones de navidad de su último año académico, en diciembre de 1930. Específicamente, el proyecto era para un puente con vigas para claros de 20 m sobre el río Ánimas, cerca de Aztec, Nuevo México. El proyecto se construyó dentro del periodo mencionado, pero fue destruido unos años después debido a una fuerte avenida del río Ánimas.

En 1934 Ralph Peck obtuvo su título de ingeniero civil a los 22 años. Debido a las consecuencias todavía presentes de la Gran Depresión de 1929, no pudo encontrar trabajo, por lo que aceptó una beca de tres años en el RPI para estudios de posgrado en estructuras, matemáticas y geología. Su tesis, “Rigidez en puentes colgantes”, fue revisada por el reconocido ingeniero en puentes David Barnard Steinman, y Peck recibió su doctorado en ingeniería civil el 14 de junio de 1937. Después de obtener su doctorado, y por influencia de su padre, Peck se inscribió en un curso de seis semanas ofrecido por la American Company of Bridges en Pennsylvania, con la cual empezó a trabajar pasando ahí el verano de 1937. Siete meses más tarde, en marzo de 1938, tuvo que dejar el trabajo debido a que la compañía no tenía proyectos.

PRIMERAS INFLUENCIAS EN LA MECÁNICA DE SUELOS

Arthur Casagrande

Una vez más Peck estaba desempleado en marzo de 1938, y no había recibido ofertas de trabajo debido al final de la cola de la Depresión.

Conforme continuaba su búsqueda de trabajo, Ralph le escribió a Linton Elias Grinter, ingeniero y rector del Armour Institute of Engineering, en Chicago, solicitándole el puesto de profesor. Grinter le informó que podía tener un trabajo si aprendía mecánica de suelos e ingeniería de cimentaciones. En una decisión inspirada, Peck le pidió prestados 5,000 dólares a su suegro para inscribirse en la Universidad de Harvard y con ello satisfacer el requisito necesario para el puesto en el Armour Institute.

En marzo de 1938, Peck le escribió a Arthur Casagrande para solicitar su admisión tan pronto como fuera posible a Harvard. Casagrande aceptó y Peck se agregó a sus clases como oyente en abril para el año académico 1937-1938.

Dos días después de haberle escrito a Casagrande, Peck obtuvo la oportunidad laboral que había estado esperando para trabajar como diseñador de puentes en la prestigiada compañía Waddell & Hardesty en Nueva York, pero la rechazó. Peck se las ingenió para impresionar a Casagrande con sus habilidades como estructurista y llegó a ser ayudante de laboratorio en Harvard bajo la supervisión de Ralph E. Fadum, ingeniero y asistente de Casagrande, lo mismo que observador de campo para Casagrande en su trabajo de consultoría de Boston.

Albert Edward Cummings

A principios de la carrera profesional de Ralph Peck, uno de sus mentores fue Albert Edward Cummings, un gran ingeniero, geotécnicamente autoempleado y pionero en la cimentación con pilotes, quien trabajó durante 40 años con la Raymond Concrete Pile Company. Estaba muy familiarizado con los avances teóricos, sobre todo con aquellos relacionados con la elasticidad, que podían ser aplicados a la mecánica de suelos. Él también había mantenido una amplia correspondencia con expertos en la elasticidad de los suelos y la mecánica de suelos de todo el mundo. Cummings murió en 1955 y le legó su muy amplia biblioteca técnica a Ralph Peck.

Karl Terzaghi

Peck empezó a trabajar como ayudante de Karl Terzaghi en enero de 1939 en el proyecto del metro de Chicago (sistema inicial de los subterráneos de Chicago). Terzaghi había regresado a Estados Unidos como inmigrante con la ayuda de Cummings y de Arthur Casagrande, quienes respaldaban a Terzaghi como un importante activo para el país.

Al volver a Estados Unidos, Cummings le ofreció la posibilidad de impartir una conferencia ante la sección local de Chicago de la American Society of Civil Engineers (ASCE), a lo que Terzaghi accedió. Para esta conferencia, Terzaghi aprovechó el tema de desagüe de excavaciones en túneles urbanos, y generó un gran interés entre la audiencia. Como resultado, se le ofreció un trabajo como consultor para dos diferentes clientes del proyecto del metro de Chicago, en diciembre de 1938. Terzaghi impuso una serie de condiciones para aceptar el puesto, incluido el muestreo con tubos Shelby (tubos huecos de acero de pared delgada que se hincan en el terreno para extraer una muestra de suelo relativamente inalterada para usarse en pruebas de laboratorio), la instalación de un laboratorio bajo la dirección de una persona escogida por él mismo, y un salario de 100 dólares diarios. Sus condiciones fueron aceptadas y Terzaghi se quedó con el puesto.

Para administrar el trabajo en el proyecto del metro de Chicago, Terzaghi le pidió a Arthur Casagrande que le asignara a alguna persona como colaborador en el sitio.

Septiembre
Noviembre 2023
-
SEMBLANZA
Ca- Figura 1. Ralph Peck y Arthur Casagrande.
11 38 41 43 44 45 47 48 40 42
FAMILIA DE RALPH B. PECK. DERECHOS RESERVADOS.

sagrande propuso a Ralph Peck, quien había sido anteriormente su alumno y era un brillante ayudante de laboratorio en la Universidad de Harvard. En enero de 1939, Ralph Peck llegó a Chicago para convertirse en representante de Terzaghi ante el proyecto del metro.

Durante los trabajos para el metro de Chicago, Peck se mantuvo en contacto frecuente con Terzaghi, quien le solicitó numerosos datos acerca de una gran variedad de mediciones diarias, figuras, esquemas e informes escritos a máquina. Cada mes o mes y medio, Terzaghi permanecía durante una semana en Chicago para comentar los resultados de Peck y para ofrecerle asesoría profesional.

Ray Knapp y Ralph Burke

Durante su paso por Chicago, Peck trabajó bajo la supervisión de Ray Knapp, quien era el supervisor administrativo y jefe de la sección de inspección de obras. Él era responsable de la topografía, la medición de deformaciones en edificios, el programa de sondeos y el laboratorio de suelos. Knapp era un veterano de la Primera Guerra Mundial y oficial del ejército y, en el proyecto, él era el intermediario entre los obreros y la administración de los trabajos del metro de Chicago para terminar las tareas en curso. Además, también sirvió de mentor de Ralph Peck durante su carrera en Chicago.

Años después de haber trabajado juntos, Peck comentó que él aprendió tanto de Ray Knapp como lo había hecho con Terzaghi, no sólo en mecánica de suelos sino también en cómo un ingeniero geotecnista podría hacer algo bueno en una organización.

Otra persona que influyó en la carrera de Peck fue Ralph Burke, ingeniero en jefe de muchos proyectos notables en Chicago, incluido el metro, el aeropuerto Meigs Field y el aeropuerto O’Hare. Cuando éste abrió su propia empresa de consultoría en 1951, empleó a Peck como asesor en muchos de sus proyectos.

Metro de Chicago

Durante su periodo laboral en el proyecto del metro de Chicago, Ralph Peck hizo importantes contribuciones en el campo de la geotecnia. Entre estas aportaciones se puede destacar su participación, en conjunto con Terzaghi, en el libro Soil mechanics in engineering practice, que se publicó en 1948.

Terzaghi le escribió a Peck: “Yo valoro, de una manera que no puedo expresar adecuadamente lo que ha significado trabajar con usted en este libro. Además de todos los beneficios que podría citar, el que más me impresionó fue su personalidad. He oído decir que hay personas cuya pasión por la verdad y la perfección eclipsa cualquier interés personal. Yo consideraba que esta era, en gran medida, una forma de hablar, hasta que la entendí a través de nuestra asociación. Es un placer debatir con usted, porque el argumento siempre es constructivo y nunca personal. No hay mucha gente así. He aprendido de usted cosas más importantes que la mecánica de suelos”.

En el texto aparece por primera vez el término “prueba de penetración estándar” (SPT), un término inventado por Terzaghi para describir un tipo de prueba para la exploración geotécnica del terreno. La SPT requería el uso del instrumento desarrollado por Charley Gow en Boston a principios de la década de 1900.

No fue hasta 1953 que Peck publicó otro libro con el título Foundation engineering (Ingeniería de cimentaciones), el cual escribió en coautoría con Thomas Thornburn y Walter Hanson, ambos profesores de la Universidad de Illinois. Este libro fue inmediatamente adoptado como texto de referencia en más de 50 universidades.

Método observacional

Durante los trabajos para el metro de Chicago con Karl Terzaghi, Peck desarrolló una nueva técnica controversial de construcción conocida como “método observacional” (OM), aunque el nombre inicial de la técnica constructiva fue “procedimiento observacional o de aprendizaje sobre la marcha”. El objetivo principal del método OM fue analizar el proyecto a medida que avanza, mediante un seguimiento del comportamiento del suelo durante la construcción. De esta manera, es posible diseñar la estructura hasta el límite de lo que es posible sin alcanzar el colapso. El método observacional consta de las siguientes etapas, con el orden de ejecución dependiendo de la naturaleza del terreno y de la complejidad del trabajo por realizar:

• Exploración. Consiste en hacer una observación lo suficientemente precisa para establecer al menos el patrón y las propiedades de los depósitos, aunque no necesariamente en detalle.

• Evaluación. Se basa en evaluar las condiciones más probables durante los trabajos y, a su vez, las más desfavorables desviaciones concebibles con respecto a las condiciones más probables. La evaluación del estudio geológico desempeña un papel importante.

• Diseño. Se determina un primer diseño con base en una hipótesis de trabajo y se predice el comportamiento bajo las condiciones más probables.

• Selección. A medida que avanza la construcción, se seleccionan las unidades que se van a observar, para las cuales se calculan los valores anticipados con base en la hipótesis de trabajo.

• Cálculo. Se calculan los valores de las unidades seleccionadas bajo las condiciones más desfavorables a partir de los datos disponibles del terreno.

• Selección preliminar. La selección temprana consiste en anticipar la selección de acciones o modificaciones del diseño para cada una de las desviaciones observadas que sean predecibles, con base en las predicciones hechas a partir de la hipótesis de trabajo.

• Medición. Consiste en cuantificar las unidades de trabajo para observar y para evaluar las condiciones de trabajo reales.

❘ Núm. 269 Septiembre
SEMBLANZA ❘ Contribuciones al conocimiento de la geotecnia temprana durante el siglo XX: Ralph Peck
12 32 1 2 3 26 10 17 20

• Modificación. Por último, se reajusta el diseño para adaptarse a las condiciones actuales de trabajo.

El método observacional ayuda a evaluar el comportamiento de la estructura térrea durante la construcción, la cual puede ser entonces modificada de acuerdo con los resultados.

Fue en 1969 cuando se le pidió a Peck impartir la 9ª Conferencia Rankine, donde él públicamente anunció su método observacional en un artículo intitulado “Ventajas y limitaciones del método observacional aplicado a la mecánica de suelos”.

En relación con el método OM, Ralph Peck comentó que no estaba exento de trampas y limitaciones y que no debía usarse a menos que el proyectista tuviera en mente un plan de acción para cada situación desfavorable que se pudiera detectar mediante las observaciones. Además, insistió en que las observaciones debían ser reales, que revelaran el significado del fenómeno, y que debían comunicarse de manera tal que permitieran una rápida respuesta sin comprometer la seguridad del proyecto. A pesar de las limitaciones del OM, Peck afirmaba que esta técnica tenía un gran potencial para ahorrar tiempo y dinero sin sacrificar la seguridad.

El OM refleja la creencia de Peck en el buen juicio de ingeniería y en el muestreo y análisis del comportamiento del suelo, en clara oposición al surgimiento de la ciencia a base de modelos y análisis numéricos. De hecho, de acuerdo con Peck, la teoría numérica moderna no considera adecuadamente la variabilidad de las condiciones del terreno. “Las teorías y los cálculos no son sustitutos del criterio (juicio) pero son las bases para un criterio más completo”, opinión que le generó algunos enemigos dentro de los círculos académicos.

ARTÍCULOS CON TERZAGHI

Durante el avance del proyecto del metro de Chicago, Terzaghi y Peck colaboraron para preparar un informe sumario acerca de la construcción de esta obra.

Tres artículos clave se originaron a partir de estos informes.

• El primero fue escrito por Terzaghi y se refirió al revestimiento de los túneles.

• El segundo fue escrito por Peck para la misma sesión de mecánica de suelos descrita en el primer trabajo. En este segundo artículo, titulado “Mediciones del empuje de tierras en excavaciones a cielo abierto para el metro de Chicago”, Peck describió la distribución de las presiones equivalentes en una excavación a cielo abierto. Además, dentro del segundo artículo Peck presentó las presiones equivalentes

para excavaciones ademadas en arcillas que están gobernadas por una distribución trapezoidal. Esto fue un avance desde que en 1857 la teoría de empuje de tierras de Rankine predijo una distribución triangular de la presión.

• El tercer artículo fue escrito por Terzaghi acerca de apoyos en túneles.

Estos artículos se publicaron posteriormente en junio de 1942 en las memorias de la ASCE y, poco después, en 1943, como discusiones de la ASCE. Por otro lado, el tercer artículo también lo publicó la Society of Civil Engineers de Boston.

Por último, en mayo de 1942 los dos proyectos del metro de Chicago fueron suspendidos. El cierre ocurrió debido a la escasez de acero derivada de las necesidades de Estados Unidos durante la Segunda Guerra Mundial.

UNIVERSIDAD DE ILLINOIS

Además de todo el trabajo de Peck durante el proyecto del metro de Chicago, también daba clases e impartía conferencias de mecánica de suelos en el Armour Institute of Technology, tanto para estudiantes de maestría como para ingenieros en activo. También daba conferencias en la Universidad de Illinois, a unos 320 km al sur de Chicago, aunque a esta asistía con menos frecuencia.

La suspensión de los trabajos del metro de Chicago significó que una vez más Peck se encontrara desempleado. Debe mencionarse que varios meses antes del cierre, en marzo de 1942, Peck era uno de los tres finalistas considerados para el puesto de jefe de la división de suelos y cimentaciones del Corps of Engineers, en la US Army Waterways Experiment Station (WES) durante la Segunda Guerra Mundial. Peck sintió que él no podía ser la persona encargada de las responsabilidades administrativas que eran requeridas, por lo que dejó pasar la oportunidad.

Septiembre - Noviembre 2023
SEMBLANZA
Contribuciones al conocimiento de la geotecnia temprana durante el siglo XX: Ralph Peck ❘
Figura 2. De izquierda a derecha, Ralph B. Peck, Thomas Thornburn y Walter Hanson.
13 38 41 43 44 45 47 48 40 42
FAMILIA DE RALPH B. PECK. TODOS LOS DERECHOS RESERVADOS

En el mismo mes de mayo de 1942, la Universidad de Illinois le ofreció el puesto de profesor de mecánica de suelos. Antes de tomar la decisión, Peck buscó el consejo de Terzaghi, quien le dijo, con cierta seriedad, que él necesitaba “más experiencia” antes de que se pudiera considerar a sí mismo como profesor de ingeniería de cimentaciones. Considerando el consejo de Terzaghi, Peck rechazó la oferta, a pesar del riesgo de seguir desempleado.

En busca de la experiencia que Terzaghi le había recomendado, Peck aceptó trabajos de consultoría. Durante sus primeros años como profesional, la mayor parte de su trabajo de consultoría estaba orientado a las cimentaciones.

Después de estos trabajos, en diciembre de 1942, Peck se unió al Departamento de Ingeniería Civil de la Universidad de Illinois. Desde allí ayudó a desarrollar un programa modelo de ingeniería geotécnica durante el periodo de expansión que siguió a la Segunda Guerra Mundial. Después de asociarse a la universidad, Peck dedicó gran parte de su vida a la academia y permaneció activo hasta su jubilación en 1974, combinando la enseñanza con la consultoría y la investigación.

PRIMER TRABAJO INTERNACIONAL

Después de las contribuciones de Peck al mundo de la geotecnia, como consultor y profesor, e incluso como investigador, en enero de 1950 le llegó su primera oportunidad fuera de EUA. Este trabajo se refería a una consultoría para el diseño de la presa Neusa, cerca de Bogotá, Colombia, que llevó a cabo junto con su mentor Albert Cummings.

Neusa es una presa de tierra de unos 40 m de altura. Se concibió con un núcleo de arcillas de haloisita, pero durante los trabajos se decidió cambiarla por otro tipo de arcillas que fueran menos problemáticas. Después de la visita a la presa que dio lugar a este cambio en el diseño, Cummings le delegó a Peck la redacción de un informe de esa visita.

ALEC W. SKEMPTON Y LAURITS BJERRUM

En 1953, Ralph Peck asistió al 3er Congreso Internacional de Mecánica de Suelos e Ingeniería de Cimentaciones que tuvo lugar en Zúrich. Allí conoció en persona al ingeniero inglés Alec Westley Skempton, con quien había mantenido correspondencia profesional desde 1948. Skempton era amigo de Terzaghi y conocía la amistad entre Terzaghi y Peck, por lo que le pidió información acerca de las arcillas de Chicago y de las arcillas tixotrópicas de New Heaven (suelos con propiedades geotécnicas dependientes del tiempo).

Skempton aprovechó la oportunidad para presentar a Peck con el danés Laurits Bjerrum, ingeniero civil de la Universidad Técnica de Copenhague y primer director del Norwegian Geotechnical Institute (NGI).

Parte del 3er Congreso Internacional fue una visita a la presa de tierra Marmorera, bien conocida para Bjerrum por sus años de trabajo en el Engineering Research Institute of Hydraulic and Civil Engineering en Zúrich.

La buena relación que tuvieron después del congreso hizo que Peck visitara el NGI en 1959 para participar en la investigación acerca de la distribución de empujes de tierra en zanjas ademadas, con Laurits Bjerrum a cargo del equipo. Los servicios de Peck fueron solicitados debido a su experiencia en la construcción del metro de Chicago, e incluso acordaron que un ingeniero civil, un colaborador de Peck, se cambiara al NGI para estudiar el programa de mediciones y sus resultados. Los resultados de este trabajo se presentaron en 1961 en el 5º Congreso Internacional de Mecánica de Suelos e Ingeniería de Cimentaciones efectuado en París.

Peck y Bjerrum se volvieron a reunir profesionalmente en 1964, después del temblor de Good Friday en Alaska. El Corps of Engineers del Distrito Alaska contrató a un grupo de expertos para ayudar en el análisis de los deslizamientos de tierra asociados al temblor, sobre todo en conexión con el gasoducto Trans-Alaska Pipeline Transport System. Este grupo de expertos estuvo constituido por Ralph Peck, Laurits Bjerrum y el ingeniero estadounidense Thomas M. Leps. Más tarde, también trabajaron juntos en el metro de Oslo, en el controversial proyecto de la presa Dead Sea (Mar Muerto), trabajo que duró cerca de seis años, y en los tratamientos del terreno para contrarrestar las deformaciones bajo la torre inclinada de Pisa, Italia.

ACCIDENTE EN EL FIRST WILSON TUNNEL

El 10 de julio de 1954, un accidente durante la excavación del First Wilson Tunnel en la isla de Oahu, Hawái, causó la muerte de cinco trabajadores. El accidente se originó a 200 m de la entrada sur. Ralph Peck, quien estaba colaborando como asesor municipal en ese proyecto, se vio envuelto en el proceso legal más largo habido contra un ingeniero de Estados Unidos.

Después del accidente, Peck escribió un informe de los hechos. Como resultado del informe, fue hostigado por los medios, los políticos y los ingenieros locales que estaban

❘ Núm. 269 Septiembre
14 32 1 2 3 26 10 17 20
Figura 3. Gholamreza Mesri y Ralph B. Peck frente al retrato de Terzaghi.
SEMBLANZA ❘ Contribuciones al conocimiento de la geotecnia temprana durante el siglo XX: Ralph Peck FUENTE: FAMILIA DE RALPH B. PECK. TODOS LOS DERECHOS RESERVADOS.

Contribuciones al conocimiento de la geotecnia temprana durante el siglo XX: Ralph Peck ❘

siguiendo su trabajo de perforación del First Wilson Tunnel. Además, el contratista E. E. Black, enfurecido por las declaraciones de Peck, lo demandó de entrada por 1.5 millones de dólares.

El caso legal sacó a la luz que Peck, antes de la ocurrencia del accidente, había mandado al alcalde una carta de renuncia porque la ciudad decidió conservar al contratista original en lugar de respetar las recomendaciones del propio Peck. La revelación de esta carta de renuncia enfureció aún más al contratista, que elevó su reclamación a 3 millones de dólares.

En abril de 1955, Ralph B. Peck fue sacado de un avión de pasajeros y detenido por esa demanda judicial. Allí empezó una penosa experiencia para Peck que duró tres años hasta que se resolvió el proceso. Durante este periodo, Peck fue forzado a continuar con su trabajo de consultoría.

Tres años después, el caso fue desestimado y la ciudad le tuvo que devolver los honorarios legales a Peck.

OTROS TRABAJOS Y PUBLICACIONES

Además de sus clases y del trabajo de consultoría arriba mencionado, Peck también realizó trabajo de investigación y otras actividades relacionadas con importantes trabajos de consultoría.

Llevó a cabo numerosas investigaciones avanzadas para la Association of American Railroads. Rara vez recibió apoyo federal para realizar sus investigaciones; él mismo solicitó fondos para resolver problemas específicos que surgieron durante algunos de los proyectos en los cuales participó.

Además de los trabajos antes mencionados, Peck también participó en los siguientes proyectos de gran escala:

• Línea metropolitana de ferrocarriles en Second Avenue de Nueva York

• Ferrocarril suburbano de Washington

• Sistema de ferrocarriles suburbanos de San Francisco

• Ferrocarril suburbano de Baltimore

• Ferrocarril suburbano de Los Ángeles

• Sistema de gasoductos de Alaska

• Presa Mica

• Presa Bennett

• Presa Churchill Falls

• Presa hidroeléctrica James Bay en Quebec, Canadá

Todos estos proyectos, y los anteriormente mencionados, representaron una vida activa para Peck como consultor. Con el transcurrir de los años, y sobre todo en las dos últimas

décadas de su trabajo profesional, a Peck se le solicitó frecuentemente ser miembro de un comité consultivo en vez de ser un asesor individual. Varios de estos comités consultivos se formaron para analizar las causas de algunas fallas catastróficas en las cuales, además del conocimiento, se tenía la necesidad de una larga experiencia acumulada y de amplios criterios técnicos.

OTRAS PUBLICACIONES

Además de todas las publicaciones arriba mencionadas, en 1972 Peck publicó algunos comentarios bastante controversiales acerca de la instrumentación en la construcción, comentarios que reflejaban la posición en favor de normas y del buen juicio en el campo de la ingeniería.

Desde el año 1940 Peck ya había defendido las observaciones de campo, valorando la instrumentación como un requisito necesario para las mediciones adecuadas en el terreno. Peck recordaba que la instrumentación fue finalmente aceptada después de algún difícil convencimiento, pero con el paso del tiempo la instrumentación se volvió una práctica tecnológica. Sin embargo, la aplicación excesiva dio lugar a una falta de precisión en el diseño de los instrumentos.

JUBILACIÓN

La última etapa académica de Peck fue un periodo marcado por el reconocimiento de sus logros, entremezclado con sus participaciones como consultor sobresaliente en problemas geotécnicos. En junio de 1974, en su cumpleaños 62, Peck se retiró de la enseñanza después de 32 años como profesor en la Universidad de Illinois y fue nombrado profesor emérito, además de que fue creada la “Cátedra RB Peck en ingeniería

Septiembre - Noviembre 2023
SEMBLANZA
peck.geoengineer.org 15 38 41 43 44 45 47 48 40 42
Figura 4. Ralph B. Peck recibiendo la National Medal of Science de manos del presidente Gerald R. Ford el 18 de septiembre de 1975.

SEMBLANZA ❘ Contribuciones al conocimiento de la geotecnia temprana durante el siglo XX: Ralph Peck

jo daños de más de 400 millones de dólares. Las estimaciones del total de daños alcanzan la cifra de 2 billones de dólares.

Sin menoscabo de la excelente semblanza aquí presentada, cabe añadir dos sobresalientes eventos que dan cuenta de la relevante contribución de Peck a la experiencia geotécnica nacional.

El primero se refiere al VII Congreso Internacional de Mecánica de Suelos e Ingeniería de Cimentaciones realizado en la Ciudad de México en 1969, durante el cual el doctor Peck presentó su publicación Deep excavations and tunneling in soft ground, especialmente dedicada a las excavaciones profundas y a la incipiente tunelería, que por esas fechas se empezaba a desarrollar en la ciudad capital.

El segundo se refiere a la 2ª Conferencia Nabor Carrillo “Selección de los parámetros del suelo para el diseño de cimentaciones”, presentada por Peck en la Reunión Nacional de Mecánica de Suelos de la SMMS realizada en Guadalajara en 1974.

geotécnica”, la cual fue ocupada por su socio y colaborador Gholamreza Mesri.

En su muy amplia carrera como profesor, Peck se hizo famoso entre sus estudiantes por su manera de enseñar y de hacer que aprendieran a pensar para resolver problemas complejos de la vida real como casos historia, tratando de que se alejaran de las computadoras. Ningún estudiante podía salir hasta haber destilado la esencia del problema y haberse enfrentado con posibles soluciones en una hoja de papel. Decía Peck: “Si no puede reducir un problema difícil de ingeniería en una hoja de papel, probablemente nunca lo entenderá”.

Con la siguiente anécdota se muestra la gran demanda que implicaba el trabajo de Peck como profesor. En 1974, ya jubilado, la Universidad de California en Berkeley lo invitó a impartir a los profesores un curso basado en casos reales, con el objetivo de que estos pudieran continuar con el curso en semestres posteriores. Después de completar el curso, la Facultad de Ingeniería Civil canceló los siguientes cursos porque los propios profesores reconocieron que ninguno de ellos tenía la suficiente experiencia para esa manera tan demandante de enseñar.

Incluso después de su jubilación, Peck regresaba dos veces al año, como profesor emérito, a la Universidad de Illinois a impartir una serie de conferencias especiales en temas muy variados, desde lo último en consultoría hasta la evolución de las cimentaciones de edificios en Chicago a partir del siglo XIX. El último proyecto en el que Peck participó fue el puente Rion-Antirion que cruza el golfo de Corinto en Grecia.

PRESA TETON

El 5 de junio de 1976, la presa Teton, diseñada por el US Bureau of Reclamation, falló durante el primer llenado de su embalse. La presa tenía una altura de 135 m de su cimentación a la corona y la ruptura causó la muerte de 14 personas y produ-

Para estudiar esta ruptura, se creó un comité independiente integrado por Wallace L. Chadwick como presidente, Howard A. Coombs, Munson W. Dowd, E. Montford Fucik, R. Keith Hiffinson, Thomas M. Leps, H. Bolton Seed, Arthur Casagrande y Ralph B. Peck. Cada miembro del equipo estaba encargado de un capítulo específico para luego tratar todos en conjunto.

Resultó virtualmente imposible identificar alguna contribución de un miembro específico del comité, con excepción del mecanismo de ruptura basado en los criterios de Casagrande, quien también redactó el borrador original relacionado con la fractura hidráulica, y el análisis de la ruptura mediante elementos finitos preparado por Bolton Seed.

A Peck se le encomendó redactar el capítulo 12: Causas de la ruptura. Peck reconoció que no era posible conocer con precisión las condiciones que dieron lugar a la primera ruptura y consideró que había sido una combinación de varios factores: detalles geológicos, compactación deficiente, presencia de presión de poro y diferencias de esfuerzos en el terreno y, debido a que eran desconocidos, no eran por lo tanto irrelevantes. En lo que se refiere a las condiciones de la ruptura, Peck aclaró que “la falla se originó no porque hubiera alguna combinación fatal impredecible, sino por el hecho de que muchas circunstancias desfavorables inherentes a la situación no se habían visualizado y no se incluyeron en el diseño medidas adecuadas de protección contra estas circunstancias”.

RECONOCIMIENTOS

A lo largo de toda su vida, Peck recibió numerosos premios y reconocimientos a su carrera, y fue miembro de múltiples asociaciones.

En 1999, la ASCE creó el premio Ralph B. Peck para reconocer los méritos de una persona por sus contribuciones extraordinarias a la profesión de ingeniería geotécnica a través de publicaciones razonadas y cuidadosamente investigadas de antecedentes históricos o casos reales, o de publicaciones de prácticas o de metodologías de diseño basadas en la evaluación de antecedentes o de casos históricos.

En mayo de 2000 el Norwegian Geotechnical Institute fundó la Biblioteca Ralph Peck, además de la Biblioteca Terzaghi ya existente.

Finalmente, Ralph B. Peck murió de congestión cardiaca el 18 de febrero de 2008 en su casa de Albuquerque, Nuevo México

Este es un resumen de la traducción hecha por Raúl Esquivel del artículo original Contribution to the knowledge of early geotechnics during the twentieth century: Ralph Peck, publicado en History of Geo and Space Sciences 10, 2019. El artículo original completo puede consultarse en hgss.copernicus.org/articles/10/3/2019/

Apreciamos su opinión e información sobre el tema de este artículo. Escríbanos a helios@heliosmx.org

❘ Núm. 269 Septiembre
16 32 1 2 3 26 10 17 20
Juan J. Schmitter M. de Campo

El nuevo puente Harry Nice

Historia de su instrumentación geotécnica

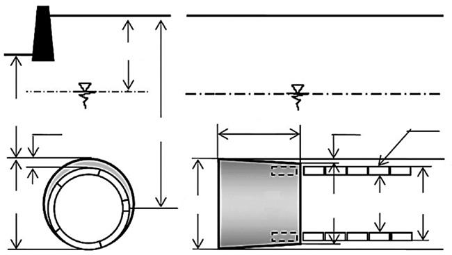
El nuevo puente Harry Nice se localiza sobre el río Potomac; tiene una longitud de 3 km y conecta a Maryland con Virginia. Fue inaugurado en el otoño de 2022 para un vida útil de diseño de más de 100 años. Cuenta con cuatro carriles de 4 m de ancho cada uno, acotamientos de 0.6 m y carriles compartidos para ciclistas.

ANTECEDENTES GEOTÉCNICOS

La investigación geotécnica del sitio reveló varios factores de riesgo que podían causar movimientos del suelo a lo largo del puente. Debajo de la capa superior de relleno no controlado de hasta 10 m de espesor, la geología de la planicie costera del Atlántico medio del sitio de proyecto consiste en terrazas recientes de depósitos de suelo aluvial que cubren la formación terciaria inferior más antigua de las formaciones Nanjemoy, Marlboro y Aquia. Los suelos aluviales variaron desde los 14 m de profundidad en las costas hasta los

43 m de profundidad por debajo de la línea de lodo en las secciones más profundas del Potomac, y se componen de arcillas blandas a muy blandas con capas de arena y grava. Los suelos terciarios inferiores que se encuentran debajo de las terrazas y de los depósitos aluviales consisten en capas de arcillas rígidas a muy rígidas y arena de densidad media a muy densa, algunas de las cuales están cementadas.

El análisis de riesgo determinó que con el hincado de pilotes cuadrados de concreto pretensado de 915 mm de lado, instalados a 11 m de distancia del puente existente, y con terraplenes

Septiembre - Noviembre 2023 NOTA TÉCNICA
Antiguo y nuevo puente Harry Nice. Kevin Tehansky Foundation Test Group
17 38 41 43 44 45 47 48 40 42 Ir a TexTo CorrIdo
Melih Demirkan Rite Geosystem.

de hasta 10 m de altura colocados de manera adyacente al mismo puente, el impacto del desplazamiento lateral y vertical, la densificación del suelo y las vibraciones sobre la subestructura estarían por debajo de las tolerancias de diseño estructural del antiguo puente. Sin embargo, para garantizar la protección estructural del puente existente y para verificar el impacto estructural de la construcción del nuevo puente, se recomendó la colocación de instrumentación geotécnica para monitorear la actividad del hincado de pilotes y la construcción de los terraplenes.

INSTRUMENTACIÓN

El objetivo de la instrumentación fue monitorear las condiciones estructurales del puente existente en toda su longitud y en sus terraplenes, para lo cual se desarrolló un plan de instrumentación y monitoreo. Para entender el impacto de la construcción del nuevo puente y determinar los movimientos del puente existente por dicha construcción, se instaló una combinación de más de 140 instrumentos de diversos tipos. Se instalaron estaciones totales automatizadas en tres ubicaciones para monitorear 122 prismas a través de la estructura del antiguo puente en varios tableros, pilas y estribos. Para monitorear el nivel de esfuerzo en el acero, se instalaron ocho sensores extensométricos cada 150 m. Para el control rotacional de pilas y estribos, se instalaron en la tapa del pilar y en las elevaciones de la plataforma del puente existente 20 sensores de inclinación. Para el monitoreo de vibraciones en los pilotes hincados, se instalaron 10 sensores triaxiales de vibración y fueron rotados conforme fue progresando la construcción. Para el seguimiento de las deformaciones, se instalaron dos medidores automáticos de grietas en las pilas de concreto. Para el monitoreo de terraplenes, se instalaron siete inclinómetros, 14 piezómetros de cuerda vibrante y 16 placas para medición de asentamientos.

Los lugares disponibles para ejecutar el monitoreo limitaron la cantidad y las ubicaciones de los prismas de referencia que se instalaron en el sitio. Una forma de determinar los datos de redundancia y comprender el comportamiento del puente existente era duplicar la cantidad y tipo de instrumentos en una sola ubicación con el fin de obtener múltiples métodos para la evaluación de su estructura.

Se realizó un monitoreo continuo de las tendencias de los datos durante las tardes, los fines de semana y en las etapas críticas de la construcción para evaluar la validez de las alertas activadas. Parte integral del éxito del proyecto fue contar con un sólido análisis geotécnico de la instrumentación implementada durante las etapas iniciales de la construcción. A lo largo del proyecto, se analizaron los datos de

los instrumentos y se hicieron modificaciones para ajustar o ampliar los niveles de umbral, con el que en consecuencia se modificaba el diseño.

RESULTADOS DE LA INSTRUMENTACIÓN Y DEL MONITOREO

A partir de mayo de 2020, se instalaron sensores de vibración en el puente existente desde el estribo de Maryland hasta la pila de concreto de Virginia para monitorear las vibraciones de la estructura. Los sensores de vibración se reubicaron regularmente en varias curvas y muelles para que coincidieran con las operaciones de avance del hincado de los pilotes adyacentes. La evaluación de los datos de los sensores de vibración durante un periodo de seguimiento de 20 meses, en conjunto con los datos observados de los sensores de inclinación y de los prismas colocados en los mismos sitios, no mostró efectos estructurales a largo plazo en el puente existente provocados por las vibraciones inducidas por la construcción del nuevo puente. En el transcurso del proyecto, la actividad del hincado de los pilotes produjo niveles elevados de vibración en la estructura por encima de los niveles de referencia. Sin embargo, las lecturas de vibración nunca se observaron por encima del nivel del umbral de alerta de diseño de 13 mm/s establecido. Los pilotes prefabricados de concreto fueron diseñados para desarrollar su resistencia lateral en los suelos rígidos de Nanjemoy y Marlboro, como también en las arenas densas a muy densas de Aquia. Por otro lado, se esperaba que se presentara una influencia de los impactos del hincado de pilotes sobre la estructura del puente adyacente; es decir, se habían calculado rangos de hasta 18 mm de desplazamiento lateral del suelo y 28 mm/s de la velocidad máxima prevista.

El 6 de julio de 2021, durante la actividad de hincado de los pilotes en el pilar Virginia A, aumentó el movimiento lateral del suelo hasta 50 mm a la profundidad de 18 m. El análisis del informe geotécnico determinó que los desplazamientos del suelo fueron causados por una combinación de

❘ Núm. 269 Septiembre
NOTA
Harry Nice 18 32 1 2 3 26 10 17 20
Puente existente (izquierda) y actividades de hincado de pilotes en el nuevo puente (derecha).
TÉCNICA ❘ El nuevo puente

deformaciones radiales y verticales que se presentaron en varios estratos de suelo con variaciones en sus características geotécnicas y a medida que se hincaba el pilote. Debido a la magnitud del movimiento lateral del suelo, se volvieron a analizar los datos de los inclinómetros y de otros instrumentos cercanos al puente existente para determinar la influencia generada durante el hincado de los pilotes en los cimientos del puente existente. El análisis geotécnico original predijo que el hincado de los pilotes generaría un movimiento lateral del suelo de aproximadamente 10 mm en el borde del estribo del puente existente. Debido a lo anterior, se utilizaron factores de proximidad junto con la información de los movimientos medidos en los inclinómetros, y adicionalmente se realizó un análisis de elementos finitos, con lo que se determinó que el movimiento del suelo en el punto más cercano a la pila del puente existente era de aproximadamente 15 mm, en promedio. Finalmente, con lo establecido en el proyecto de especificaciones y con los movimientos esperados del suelo por encima de la tolerancia del diseño original, se analizaron los datos de la instrumentación en la pila en relación con la tolerancia de la estructura de ±12 mm de asentamiento o levantamiento

total. Al concluir el hincado de los pilotes, los datos de los inclinómetros ya no indicaron ningún movimiento adicional; igualmente, el prisma de seguimiento estructural tampoco indicó asentamientos ni levantamientos, ni tampoco los sensores de inclinación cercanos mostraron movimientos de rotación, lo que permitió seguir con la construcción.

CONCLUSIONES

Los datos adquiridos a través del monitoreo de la instrumentación geotécnica demostraron, durante un periodo de seguimiento de 2.5 años, que las dos construcciones de alto riesgo: hincado de pilotes y construcción de terraplenes, no tuvo ningún impacto a largo plazo en el puente existente, como lo muestran los eventos que se indican en este documento; sin embargo, se presentaron consecuencias menores aunque ninguna de ellas activó las alertas establecidas. En cambio, se encontró que el clima, el tráfico y los escombros eran las causas primarias de alertas generadas por la instrumentación. El monitoreo exitoso del comportamiento del puente existente se logró gracias a la planificación cuidadosa y la utilización de la instrumentación seleccionada. Se evitó instalar una instrumentación y recolección de datos excesiva; por el contrario, se planteó un propósito específico y se mantuvo un nivel manejable de datos obtenidos de los instrumentos colocados

*Este es un resumen del artículo publicado en la revista Deep Foundations marzo-abril de 2023.

Traducción: Ricardo Enrique Ortiz Hermosillo.

Apreciamos su opinión e información sobre el tema de este artículo. Escríbanos a helios@heliosmx.org

Septiembre - Noviembre 2023 El nuevo puente Harry Nice ❘ NOTA TÉCNICA
Se muestra la redundancia en la instrumentación antes (izquierda) y durante (derecha) la construcción del terraplén Maryland del nuevo puente. Lecturas del inclinómetro antes y después de las actividades de hincado de pilotes.
19 38 41 43 44 45 47 48 40 42

Determinación del módulo de elasticidad compuesto de pilas

INTRODUCCIÓN

La utilidad de las pruebas de carga estática, particularmente en la etapa de diseño, se incrementa al determinar las curvas de transferencia de carga vs. la profundidad, durante el desarrollo de la prueba. La transferencia de carga a lo largo de la pila se refiere a la manera en que las fuerzas internas de la pila se transfieren al suelo circundante, resultando en la resistencia por fricción movilizada a lo largo de la pila, lo que se refleja en el movimiento relativo suelo-pila, a lo largo de su fuste.

Ningún instrumento mide las fuerzas internas directamente; las mediciones que se obtienen son de la deformación de la pila, en diferentes puntos del cuerpo de esta. Tales deformaciones pueden medirse utilizando diferentes instrumentos, como tell-tales , transductores ahogados en concreto, transductores soldados al acero de refuerzo longitudinal o sister bars.

La confiabilidad de las mediciones de deformación puede ser muy buena, pero la conversión de esas mediciones a las fuerzas internas en la pila puede no ser necesariamente directa, ya que son función de las características físicas de la pila, así como de la profundidad a la que se hizo la medición (Sinnreich, 2011). Algunas de estas características pueden ser medidas, pero generalmente se dan por hecho, se estiman, se basan en relaciones constitutivas o se retrocalculan. Así, dependiendo del método que se utilice, se pueden introducir errores significativos en el cálculo de las fuerzas internas, que repercuten en la magnitud de las fuerzas de fricción.

Las pruebas de carga se hacen aplicando incrementos de carga por etapas. Para cada incremento de carga, las deformaciones se miden y se calculan las fuerzas internas de la pila para cada nivel de instrumentación, que se calculan

utilizando la deformación promedio medida en ese nivel, y el producto de la sección transversal de la pila y del módulo de elasticidad de la sección compuesta de la pila:

Fi = E iA iε i (1)

donde, para cada nivel de instrumentación i: Fi fuerza interna de la pila Ei módulo de elasticidad compuesto

Ai área de la sección transversal de la pila εi deformación de la pila

De estas variables, la deformación se mide durante la prueba y el cálculo de la fuerza interna involucra la determinación del área transversal y el módulo de elasticidad compuesto para cada nivel de instrumentación.

En el caso de los pilotes, ya sean de concreto o de acero, la sección transversal se conoce con cierta exactitud. Para las pilas, la determinación del área transversal puede derivarse de mediciones con pruebas de baja deformación, reflexión sísmica, perfil térmico, mediciones del volumen de concreto colocado, o con las dimensiones de la herramienta de perforación. Excepto cuando se usa un ademe permanente, todos los procedimientos mencionados contienen diferentes grados de incertidumbre.

Es posible calcular el módulo combinado entre el concreto y el acero de refuerzo conociendo las áreas transversales de cada material, así como los módulos de elasticidad de cada uno, utilizando la siguiente expresión: Ecomb = EsAs+EcAc As+Ac (2)

❘ Núm. 269 Septiembre
TEMA DE PORTADA ❘ ARTÍCULO TÉCNICO 20 32 1 2 3 26 10 17 20 Ir a TexTo CorrIdo

Determinación del módulo de elasticidad compuesto de pilas

donde:

Ecomb módulo combinado

Es módulo del acero

As área del acero

Ec módulo del concreto

Ac área del concreto

El módulo del acero es conocido con cierta precisión: es un valor de entre 200 y 207 GPa. Lam y Jefferis (2011) realizaron un estudio para determinar el módulo de elasticidad del concreto. En ese trabajo identifican 10 procedimientos: cuatro basados en pruebas de laboratorio y seis a partir de pruebas de carga en pilas instrumentadas. En este trabajo se presentan cuatro, que se identificaron como los más utilizados.

RELACIONES EMPÍRICAS

Existen muchas relaciones empíricas para determinar el módulo de elasticidad del concreto, con base en la resistencia a la compresión simple después de 28 días, denominada f’c, y determinada a partir de especímenes cilíndricos. A continuación se presentan algunas de las expresiones más utilizadas.

• Las ecuaciones 3 y 4 están basadas en la regresión lineal de los datos estadísticos y pueden ser algunas de muchas ecuaciones aplicables.

• El valor del módulo de elasticidad depende más del peso volumétrico del concreto que de la resistencia f’c.

• El módulo de elasticidad es muy sensible al módulo de elasticidad de los agregados que forman el concreto; esto no se toma en cuenta en ninguna de las ecuaciones.

Por otro lado, el valor del módulo de elasticidad decrece al incrementarse la deformación (Fellenius, 1999), y no es constante a lo largo de una prueba de carga. Se concluye que este procedimiento se utiliza solamente cuando no se cuenta con datos que permitan desarrollar algún otro método, como los que se comentan más adelante.

MÉTODO DEL MÓDULO CONSTANTE

f’c resistencia a la compresión del concreto, en kg/cm2

de elasticidad del concreto, en MPa

volumétrico del concreto, en kg/m3

Se hace notar que las ecuaciones 3 y 4 son las más utilizadas en la práctica profesional; sin embargo, en la figura 1 se muestran avances al respecto.

Observando la figura 1, así como las ecuaciones 3 a 9, se puede comentar lo siguiente:

• Las ecuaciones 3 y 4 no siempre permiten obtener resultados confiables del módulo de elasticidad del concreto para el cálculo de fuerzas internas a partir de la medición de deformaciones.

Con este procedimiento, el módulo de elasticidad compuesto se determina utilizando las mediciones de los instrumentos de deformación localizados cerca de la zona de aplicación de carga (por ejemplo, a 50-60 cm de distancia). En el caso de pruebas de carga convencionales, cerca de la cabeza de la pila; en el caso de pruebas bidireccionales, cerca de la celda de carga, del lado de la porción más larga de la pila. Se utiliza la ecuación 10 (Marinucci et al., 2021): Ecomp (z)=

donde:

Ecomp (z) módulo de elasticidad compuesto, calculado a la elevación (z) del instrumento de medición de deformación, determinada en el primer incremento

Septiembre - Noviembre 2023
ARTÍCULO TÉCNICO
DE PORTADA
❘ TEMA
Ecuación Referencia Número de ecuación Ec = 0.043 wc1.5 √f'c ACI 318-14 3 Ec = 9500 (f’c)0.33 Eurocode 4-04 4 Ec = 0.03 wc1.5 √f'c Hossain et al. (2011) 5 Ec = (0.062 + 0.0297 √f'c) wc1.5 Nilson y Martinez (1986) 6 Ec = 2.1684 (f’c)0.535 Tasnimi (2004) 7 Ec = 4730 √f'c ACI 318-11 8 Ec = 22000 (f’c)0.033 Noguchi et al. (2009) 9 donde:
Ec
Wc
módulo
peso
∆σ ∆ε
∆Q ∆ε(z)Ap(z) (10)
=
E c (145/w) 1.5 × 10 –3 , MPa
√f’c
√f’c
2 4 6 8 10 12 E c (145/w) 1.5 × 10 –6 , psi 9 8 7 6 5 4 3 2 1 0 20 30 40 50 60 70 80 90 100 110 120 130 140 60 40 20 0 21 38 41 43 44 45 47 48 40 42
Figura 1. Módulo de elasticidad del concreto vs. resistencia a la compresión simple, a los 28 días.
Myers
y Yang, 2004. , MPa
, psi

Δσ/Δε relación de incremento de esfuerzo/incremento de deformación

ΔQ diferencia en la carga aplicada en el primer incremento (Q1-Q0)

Δε diferencia en la deformación medida en el primer incremento (ε1-ε0)

Ap área de la sección transversal de la pila a la elevación (z)

El valor del módulo compuesto calculado se ajusta para los demás niveles de instrumentación, con base en las diferencias en el diámetro inferido de la pila y el acero de refuerzo utilizado al nivel del instrumento (en su caso). La fuerza interna en el instrumento F(z) puede ser calculada como:

del módulo de elasticidad compuesto de pilas

datos carga-deformación de un instrumento localizado cerca de la cabeza de la pila.

Una vez concluida la prueba, se grafican las rigideces tangentes medidas vs. la deformación, para cada incremento de carga (los valores del cambio de carga o esfuerzo), divididos entre el cambio de deformación; se grafican vs. la deformación medida (ecuaciones 12 y 13). La gráfica del módulo Et se muestra en la figura 2.

MÉTODO DEL MÓDULO TANGENTE

El enfoque propuesto por Fellenius (2001) parte de la base de que la curva carga-desplazamiento puede simularse con una ecuación de segundo grado: y = ax2 + bx + c, donde y es el esfuerzo y x es la deformación. Se buscan las constantes a y b (la constante c es cero).

Se supone que el esfuerzo puede tomarse como el módulo secante, multiplicado por la deformación unitaria; o bien, la rigidez secante es la carga aplicada dividida entre la deformación medida. Se puede determinar directamente de los

Q carga aplicada en la cabeza medida con las celdas de carga

A área transversal total de la sección superior ε deformación unitaria media

Para un instrumento colocado cerca de la cabeza de la pila, la rigidez calculada para cada incremento no está afectada por la resistencia de fricción, y la rigidez tangente calculada es la rigidez real. Para instrumentos colocados en niveles inferiores de la pila, los primeros incrementos de carga se reducen sustancialmente con la resistencia por fricción desarrollada a lo largo de la pila.

En la figura 2 se muestran las curvas de la carga aplicada y la deformación medida de cinco niveles de instrumentos. La forma de las curvas de los niveles 1, 2 y 3 son muy similares, lo que indica que no hay mucha resistencia por fricción arriba del nivel del instrumento 3. Los valores convergen en una recta, representada como la de mejor ajuste (best fit line), y se ignoran los valores no lineales iniciales, causados por la

❘ Núm. 269 Septiembre TEMA DE PORTADA ❘ ARTÍCULO TÉCNICO ❘
Determinación
(z) = ε (z) Ecomp (z) Ap (z)
F
(11)
Et = ∆σ/∆ε (12) ∆σ = ∆Q/A (13)
donde
Figura 2. Módulo tangente vs. deformación unitaria. Figura 3. Curvas de transferencia de carga para cada incremento, aplicado en la cabeza de la pila.
Deformación με Es GPa Et GPa 200 42.7 40.6 400 40.6 36.4 600 38.5 32.2 800 36.4 28.0 Adaptado de Fellenius,
Módulo tangente, Gpa 100 90 80 70 60 50 40 30 20 10 0 0 200 400 600 800 Microdeformación Nivel 1 Nivel 2 Nivel 3 Nivel 4 Nivel 5 Best fitline Adaptado de Fellenius, 2001. 0 5 10 15 20 Carga, KN 0 1000 2000 3000 Profundidad, m 22 32 1 2 3 26 10 17 20
Tabla 1. Valores de módulos secante y tangente para la figura 2
2001.

Determinación del módulo de elasticidad compuesto de pilas ❘

movilización incompleta de la resistencia de fricción.

Así, la ordenada al origen es la constante b de la ecuación, y la pendiente de la recta, el coeficiente a . Los módulos secante Es y tangente Et serán (Fellenius, 2001):

Es = 0.5 aε + b (14)

Et = aε + b (15)

Para el ejemplo de la figura 2, el valor de a = –0.021 y b = 44.8 GPa. Para distintos valores de deformación, los valores de los módulos se muestran en la tabla 1. La pendiente negativa indica que los valores de Ec decrecen al incrementarse la deformación.

Este método requiere que los datos provengan de una prueba donde todos los incrementos sean iguales y se hayan sostenido por un intervalo de tiempo igual, y que no existan ciclos de carga. En la figura 3 se muestran las curvas de transferencia de carga para el ejemplo calculado, utilizando la ecuación 14. La figura presenta la distribución de las cargas realmente aplicadas en la prueba; sin embargo, si existen cargas residuales en la pila antes del inicio de la prueba, deben tomarse en cuenta para obtener la carga en cada nivel.

El método del módulo tangente ofrece amplias ventajas respecto de las relaciones empíricas mencionadas en el apartado “Relaciones empíricas”; principalmente, que la medición se hace en la masa de la pila, que incluye acero y concreto, además de tomar en cuenta la dependencia del módulo respecto de la deformación.

Para un instrumento localizado cerca de la cabeza de la pila, el módulo tangente calculado para cada incremento no está afectado por la resistencia de fricción y es el módulo real. Para instrumentos localizados a mayores profundidades, los primeros incrementos de carga se reducen sustancialmente por la fricción a lo largo de la pila, arriba de la elevación del instrumento. Inicialmente, el módulo tangente será mayor. Sin embargo, conforme se moviliza la resistencia por fricción hacia abajo en la pila, los incrementos de deformación serán mayores y el módulo calculado será mayor. Cuando se moviliza toda la resistencia de fricción arriba del instrumento, los valores calculados del módulo para los incrementos de carga subsecuentes en ese nivel de instrumentación serán los valores de módulo tangente de la sección transversal de la pila.

MÉTODO DE LA RIGIDEZ INCREMENTAL

Se han desarrollado procedimientos complementarios, como el propuesto por Moghaddam y Komurka (2019), llamado

ARTÍCULO TÉCNICO ❘ TEMA DE PORTADA

∆Q/∆ε = (–2.7746E–03με+3.884E+00) kips × 106 ∆Q/∆ε = (–1.2342E–03με+1.7278E+00) MN × 104

método de la rigidez incremental, que está basado en el propuesto por Fellenius (2001), pero en vez de relacionar los cambios de esfuerzo a cambios en deformación para determinar la relación del modulo, relaciona los cambios en la carga aplicada a la deformación para determinar la relación con la fuerza. De esta manera, el método permite obtener una conversión de la deformación medida a la fuerza interna por un camino más directo.

De manera similar al método del módulo tangente, este método se basa en la premisa de que, después de que se ha movilizado totalmente la resistencia por fricción arriba de un nivel de instrumentación, los incrementos de carga siguientes provocan un incremento proporcional de fuerza interna a ese nivel de instrumentación.

Se define como rigidez axial al producto EA, que es una propiedad que depende de los materiales de los que está constituido, su forma y condiciones de frontera (específicamente, la localización en la pila de prueba). En una prueba, el cociente del cambio de carga y cambio en deformación (ΔQ/Δε, rigidez incremental) graficada vs. la deformación, para un instrumento a determinada profundidad, converge en una línea recta, con una pendiente de mayor a menor, conforme se incrementa la deformación. Una comparación

Septiembre - Noviembre 2023
Figura 4. Diagrama de rigidez incremental para un nivel de instrumentación de deformación.
Par de SG SG1-SG-2 SG2-SG-3 SG3-SG4 SG4-SG5 SG5-SG6 Prof. inicio, m 0.6 3.0 6.1 12.2 15.2 Prof. final, m 3.0 6.1 12.2 15.2 17.6 Longitud, m 2.4 3.0 6.1 3.0 2.4 Marinucci et
2020.
Rigidez incremental ∆Q/∆ ε , kips × 10 6 10 9 8 7 6 5 4 3 2 1 0 0 50 100 150 200 250 300 350 400 450 500 Microdeformación 4.0 3.5 3.0 2.5 2.0 1.5 1.0 0.5 0.0 Rigidez incremental ∆Q/∆ ε , MN × 10 4
Tabla 2. Niveles de instrumentación de prueba de carga en pila C-2 de hélice continua
al.,
Adaptado de Komurka y Moghaddam, 2020.
23 38 41 43 44 45 47 48 40 42

PORTADA ❘ ARTÍCULO TÉCNICO ❘ Determinación del módulo de elasticidad compuesto de pilas

que, suponiendo que la constante de integración = 0, queda como:

F = 0.5 aε2 + bε (18)

donde:

Q carga aplicada en la cabeza de la pila

dQ cambio en la carga aplicada en la cabeza de la pila

ε deformación medida en un nivel de instrumentación

dε cambio en la deformación medida en un nivel de instrumentación

a pendiente de la recta de rigidez incremental

b ordenada al origen de la línea de rigidez incremental (i.e. rigidez inicial con cero deformación)

Revisando las ecuaciones 16 y 17, se observa que con este método se pueden obtener las fuerzas internas sin conocer por separado los valores del módulo o del área. Además, ofrece las ventajas del método del módulo tangente, con el beneficio adicional de que puede aplicarse en pilas que no tengan una sección transversal uniforme, o con diferentes áreas de acero y concreto.

El método provee mejores resultados para niveles de instrumentación cercanos a la carga, ya que la fuerza de fricción estará movilizada totalmente en esos niveles. Los resultados son más difíciles de interpretar en niveles de instrumentación lejos de la aplicación de la carga: en una prueba convencional cerca de la base; en una prueba bidireccional cerca de la cabeza y cerca de la punta de la

Komurka y Moghaddam (2020) sugieren algunas recomendaciones:

entre las figuras 3 y 4 muestra que el eje vertical entre una y otra difiere solamente por dividir entre el área de la sección transversal (la diferencia entre carga y esfuerzo).

Reacomodando la ecuación 11 y utilizando la carga aplicada en la cabeza de la pila, resulta:

Q/ε = EA (16)

La ecuación para la línea de rigidez incremental es: dQ dε = aε + b (17)

• Los instrumentos deben localizarse cuando menos a un mínimo de dos diámetros de la pila, del punto de la aplicación de la carga, y un diámetro de la punta de la pila. Para sister bars, esta dimensión se refiere al extremo de la barra.

• Evitar ciclos de carga/descarga, ya que inducen cargas de compresión residuales, que varían de manera no uniforme a lo largo de la pila (Fellenius, 2020; Ibarra y Rangel, 2017), lo que dificulta la interpretación de los datos.

• Aplicar incrementos de carga iguales, con un objetivo de mínimo 20 incrementos.

❘ Núm. 269 Septiembre
Figura 5. Curvas de transferencia de carga para la pila C-2, calculadas con diferentes métodos: módulo constante (CM), módulo tangente (TM), rigidez incremental (IR). pila. Figura 6. Valores de resistencia de fricción unitaria calculados y medidos e interpretados con diferentes métodos: módulo constante (CM), módulo tangente (TM), rigidez incremental (IR). Adaptado de Marinucci et al., 2021. Con datos de Marinucci et al., 2021. Carga aplicada o fuerza interna, kN
Profundidad, m Profundidad,
Resistencia de fricción unitaria, kPa 160 140 120 100 80 60 40 20 0 SG1-SG2 SG2-SG3 SG3-SG4 SG4-SG5 SG5-SG6 CM TM IR Calculado
24 32 1 2 3 26 10 17 20
Carga aplicada o fuerza interna, kip Núm. de golpes SPT
ft
TEMA DE

• Mantener la carga lo más constante posible. Si la carga se controla a través del gato hidráulico, se recomienda utilizar un manómetro digital.

• Utilizar tiempos iguales para cada incremento de carga.

• Aplicar incrementos de carga el mayor tiempo posible; se sugieren 8-10 minutos como mínimo. De esta manera, se permite que la fuerza interna se distribuya a las porciones más profundas de la pila y se estabilice la deformación.

• Utilizar el mismo colector de datos para la adquisición de la fuerza (en celdas de carga o transductor de presión) y la deformación con los instrumentos embebidos.

• Utilizar tiempos de lectura relativamente cortos, del orden de 30 segundos o menos.

COMPARACIÓN DE RESULTADOS CON DIFERENTES MÉTODOS

Marinucci et al. (2021) presentan una comparación de resultados de pruebas de carga en dos pilas de hélice continua (C-1 y C-2) en un sitio al sur de Florida, EUA. En particular, calculan las fuerzas internas en la pila a partir de seis niveles de instrumentación (strain gages, SG), utilizando los diferentes métodos aquí presentados: módulo constante (MC), módulo tangente (TM) y rigidez incremental (IR). En la tabla 2 se presentan los niveles de instrumentación utilizados, donde se indica la longitud entre los diferentes niveles (i.e. entre el nivel 1 y 2: SG1-SG2), para la pila C-2. En la figura 6 se muestran las curvas de transferencia de carga para la pila C-2. Se pueden hacer las siguientes observaciones:

• Las fuerzas calculadas con el método CM fueron considerablemente menores que las calculadas con los otros dos métodos, TM e IR. Adicionalmente, con el método CM la transferencia de carga a lo largo de la pila es relativamente lineal, a pesar de que en el sondeo de la figura 5 se muestra el perfil del número de golpes en la prueba SPT.

• Las fuerzas determinadas con los métodos TM e IR arrojaron valores similares, hasta una profundidad de 7.6 a 9.1 m, a partir de la cual los valores difieren notablemente.

• Las fuerzas internas calculadas utilizando el método IR proveen una estimación más representativa de la transferencia de carga a lo largo de la pila.

Con base en los resultados calculados, en la figura 5 se muestran los diferentes valores de fricción unitaria obtenidos a partir de los diferentes métodos indicados (figura 6). Se observa nuevamente que el método CM arroja valores de fuerza menores en los estratos menos competentes, comparado con los métodos TM e IR. Tomando en cuenta el sondeo SPT mostrado en la figura 5, el método IR sigue mejor el comportamiento del suelo.

COMENTARIOS

• Se confirma la importancia de la determinación del módulo de elasticidad compuesto o del módulo de elasticidad

del concreto en las pilas de cimentación para el cálculo de las fuerzas internas durante una prueba de carga.

• Se presenta un método basado en relaciones empíricas a partir de ensayes de laboratorio en especímenes de concreto. Se considera que este procedimiento no presenta resultados confiables para los propósitos de la interpretación de una prueba de carga.

• Se presentan tres métodos que se desarrollan a partir de las mediciones de deformación en instrumentos embebidos en pilas, a partir de pruebas de carga:

– Método del módulo constante: arroja resultados conservadores, particularmente en estratos blandos o sueltos.

Método del módulo tangente: ofrece ventajas respecto de los métodos empíricos. Es el método más usado actualmente.

– Método de rigidez incremental: relativamente reciente, presenta ventajas respecto de los otros métodos, al no requerir el conocimiento del área transversal. Utiliza el mismo principio que el del módulo tangente, pero genera una conversión de deformación a fuerza más directa

Referencias

Fellenius, B. H. (1999). Bearing capacity of footings and piles – A delusion? Proceedings of the Deep Foundation Institute Annual Meeting. Dearborn.

Fellenius, B. H. (2001). From strain measurements to load in an instrumented pile. Geotechnical News Magazine 19(1): 35-38.

Fellenius, B. H. (2020). Basics of foundation design. www.fellenius.net.

Hossain, K., S. Ahmed y M. Lachemi (2011) Lightweight concrete incorporating pumice based blended cement and aggregate: mechanical and durability characteristics. Construction and Building Materials 25(3): 1186-1195.

Ibarra, E., y J. L. Rangel (2017). Pruebas de carga. En: Ingeniería de cimentaciones profundas. México: Sociedad Mexicana de Ingeniería Geotécnica.

Komurka, V., y R. Moghaddam (2020). The incremental rigidity method – more-direct conversion of strain to internal force in an instrumented static loading test. Minneapolis: GeoCongress.

Lam, C., y S. A. Jefferis (2011). Critical assessment of pile modulus determination methods. Canadian Geotechnical Journal 48(10): 1433-1448.

Marinucci, A., R. Moghaddam y W. M. NeSmith (2021). Full-scale load testing and extraction of augered cast-in-place (ACIP) piles in Central Florida. DFI Journal 15(1).

Moghaddam, R., y V. E. Komurka (2019). Modulus of elasticity impact on equivalent top-loading curves from bi-directional static load tests. Eighth International Conference on Case Histories in Geotechnical Engineering. Dallas: Geo-Congress.

Myers, J., y Y. Yang (2004). High performance concrete for bridge A6130-Route 412, Pemiscot County, MO (No. RDT 04-016). Missouri Department of Transportation.

Nilson, A. H., y S. Martinez (1986). Mechanical properties of highstrength lightweight concrete. ACI Journal Proceedings 8(4): 606-613.

Noguchi, T., et al. (2009). A practical equation for elastic modulus of concrete. ACI Structural Journal 106(5): 690.

Sinnreich, J. (2011). Strain gage analysis for nonlinear pile stiffness. Geotechnical Testing Journal 35(2): 367-374.

Tasnimi, A. (2004). Mathematical model for complete stress-strain curve prediction of normal, light-weight and high-strength concretes. Magazine of Concrete Research 56(1): 23-34.

Apreciamos su opinión e información sobre el tema de este artículo. Escríbanos a helios@heliosmx.org

Septiembre - Noviembre 2023
❘ ARTÍCULO TÉCNICO ❘ TEMA DE PORTADA 25 38 41 43 44 45 47 48 40 42
Determinación
del módulo de elasticidad compuesto de pilas

Monitoreo de deformaciones en el revestimiento de un túnel construido en suelos muy blandos del Valle de México

En este trabajo se describe el patrón de deformaciones diametrales que se presentaron durante la construcción de un túnel de drenaje semiprofundo en suelos muy blandos, en su revestimiento primario de 5 m de diámetro interior y que está conformado por dovelas segmentadas de 1.5 m de longitud, el cual se ubica en la zona poniente del Valle de México a profundidades variables entre 20 y 28 m, a lo largo de 13 km de longitud. A partir de los datos obtenidos durante el monitoreo de 6,000 anillos (9 km de túnel) durante más de un año, se realizó el procesamiento y análisis de datos para establecer cuál es la magnitud de las deformaciones y desplazamientos típicos, expresados como porcentaje del diámetro interior del túnel, así como los máximos que se pueden presentar. La información obtenida servirá para establecer rangos de deformación aceptables y críticos que sirvan para mejorar la toma de decisiones por parte de los ingenieros en obra.

El Valle de México era una cuenca cerrada hasta 1789, cuando se abrió el tajo de Nochistongo. Hacia el norte está limitado por las sierras de Tepotzotlán, Tezontlalpan y Pachuca; al este por los llanos de Apan y la Sierra Nevada; al sur por las sierras de Cuauhtzin y Ajusco, y al oeste por las sierras de Las Cruces, Monte Alto y Monte Bajo. Su superficie es de 7,160 km2 y cuenta con altitudes superiores a 2,240 m sobre el nivel del mar (Marsal y Mazari, 1959).

Debido a la naturaleza de los suelos que conforman el Valle de México, así como al fenómeno de hundimiento regional provocado por el abatimiento sistemático de sus mantos acuíferos profundos, la existencia de un sistema de drenaje profundo es tan necesario como inevitable. La primera etapa

del Sistema de Drenaje Profundo de la ciudad, desarrollada entre 1967 y 1975, abarcó la construcción de 67.9 km de túneles comprendidos entre el Emisor Central de 49.7 km, el Interceptor Central de 7.9 km y el Interceptor Oriente de 10.3 km (Moreno, 1989).

CRITERIOS GENERALES

Revestimiento primario

Los anillos prefabricados segmentados son el principal método de revestimiento primario en túneles excavados mediante máquinas tuneladoras (TBM) en sus distintas modalidades. Los segmentos se construyen de manera tal que formen un anillo y su número depende del diámetro del túnel y de las ca-

❘ Núm. 269 Septiembre ARTÍCULO TÉCNICO
26 32 1 2 3 26 10 17 20 Ir a TexTo CorrIdo

pacidades del contratista. La práctica más extendida en el plano mundial es la de reforzar medianamente los segmentos del revestimiento primario si el túnel contará con revestimiento secundario colado en sitio; sin embargo, es práctica local habitual de diseño considerar que el revestimiento primario sea capaz de soportar todas las cargas de corto y largo plazo, independientemente del aporte del revestimiento secundario.

El anillo de dovelas se erige dentro del escudo (faldón) de la tuneladora, la cual se autoimpulsa empujando contra las dovelas ya colocadas para avanzar hacia la excavación del túnel. Durante la erección y colocación de cada anillo, el espacio anular que deja la rueda de corte entre el faldón y la excavación es protegido por medio de cepillos con celdas metálicas engrasadas que impiden la entrada de productos de la excavación y agua. Una vez que la tuneladora sigue su avance y los anillos de dovelas salen de la protección del faldón, inicia el proceso de transferencia de cargas desde el suelo hacia el revestimiento primario, y para cuando el frente de excavación se encuentra a aproximadamente 2 diámetros de distancia, la mayor parte de la carga del suelo ha sido transferida al revestimiento. El espacio anular entre anillo y excavación suele ser inyectado con mezclas fraguantes tipo bicomponente, a través de conductos prefabricados para permitir su paso y rellenar dicho espacio, con lo que se aminoran las deformaciones y sus efectos en superficie. Las deformaciones alrededor del túnel son provocadas por varios mecanismos, además de la transferencia de carga del suelo al soporte. En la figura 1 se muestran las notaciones geométricas principales para una tunnel boring machine (TBM) típica.

Deformaciones en revestimientos de túneles La deformación que ocurre en un suelo blando durante el proceso de tuneleo y justo antes de que entre en contacto con el revestimiento suele ser grande en comparación con la deformación del revestimiento después de que se establece el contacto (Paul et al., 1983).

La deformación del revestimiento primario de un túnel excavado en suelos muy blandos y saturados suele ser un parámetro principal de monitoreo para tomar decisiones preventivas y correctivas por parte de la residencia de obra, en conjunto con los datos de salida de la tuneladora.

Regularmente, los proyectos de túnel de drenaje incluyen un capítulo de instrumentación geotécnica donde se detallan tanto la posición como las características de los dispositivos, sus frecuencias y rangos de medición, como valores máximos admisibles para los principales parámetros monitoreados.

Tolerancias de instalación

Las tolerancias de instalación se pueden describir como desviaciones admisibles o tolerables de la posición nominal de los segmentos, las cuales dependen del uso futuro del túnel y del diseño del segmento y son especificadas por el diseñador en acuerdo con el cliente (Daub, 2013). Articulación, desalineación o desplazamiento, ovalización y separación son las principales tolerancias de instalación, pero en la bibliografía también se mencionan diferentes tipos de excentricidades durante el almacenamiento o al soportar el empuje de la tuneladora (Bergeson et al., 2020).

Convergencias y conceptos relacionados

La medición de convergencias es básicamente la medición de cambios en la distancia entre dos puntos del revestimiento, y representa un método muy extendido, simple y barato para el monitoreo del comportamiento del revestimiento entre etapas constructivas y a largo plazo. La convergencia del túnel (cierre) entre puntos de referencia (ganchos) fijados en los segmentos se mide generalmente mediante extensómetros de

Septiembre - Noviembre 2023
cinta o medidores láser de mano. Estos métodos Figura 2. Arreglos típicos: a) convergencias para distintas etapas constructivas y b) monitoreo de la variación del diámetro. Figura 1. Notaciones de la geometría y componentes para una TBM típica.
Modificado de Beghoul y Demagh, 2019.
C D Espacio anular Túnel Hw H Dext L Escudo TBM ∆/2 Dint a b Revestimiento ϕ Int ϕ Ext Monitoreo de deformaciones en el revestimiento de un túnel ❘ ARTÍCULO TÉCNICO 27 38 41 43 44 45 47 48 40 42

ARTÍCULO TÉCNICO

❘ Monitoreo de deformaciones en el revestimiento de un túnel

Para suelos blandos, la deformación radial recomendada es de entre 0.25 y 0.75% para anillos de dovela (Carpio et al., 2020).

Modificado

La distorsión relativa (deformación) es la relación entre el desplazamiento diametral del revestimiento (ovalización) y su desplazamiento radial (convergencia). En la figura 4 se muestran esquemáticamente estos fenómenos.

La relación de esbeltez (slenderness ratio) es una métrica comúnmente usada para el dimensionamiento preliminar del revestimiento segmentado y se refiere a su “relación de aspecto”, es decir, la relación entre el espesor de los segmentos y el diámetro total del anillo de revestimiento. Adicionalmente, el comportamiento de túneles revestidos con segmentos es altamente dependiente de las relaciones entre la presión que ejerce el suelo y la relación de esbeltez del revestimiento (Carpio et al., 2020).

Modificado

tienen precisión de 0.20 mm por cada 10 m medidos (Liu y Wang, 2009).

El método confinamiento-convergencia emplea estos datos para establecer la distorsión relativa de la sección transversal analizada, a partir de una malla de distancias medidas respecto a un sistema de referencia arbitrario. Por lo general se requiere un mínimo de tres vectores de desplazamiento, y es habitual incluir mediciones diametrales de control. En la figura 2 se muestran arreglos típicamente empleados para distintos tipos de suelos y dependiendo de la etapa constructiva o la distancia respecto al frente de excavación.

Durante un correcto monitoreo de las deformaciones de los segmentos que conforman un anillo de revestimiento, se evalúa la posición relativa de los puntos medidos inicial y posteriormente, mediante el uso de vectores, y se obtiene el cambio real en la forma del revestimiento, mientras que mediante los sistemas tradicionales de medición de convergencias y cambios diametrales suele evaluarse la posición relativa entre secciones de referencia previamente establecidas y puntos diametralmente opuestos, respectivamente. Ambas modalidades proveen información útil y suficiente para conocer las deformaciones reales que se presentan en la sección de revestimiento circular que se analice. En la figura 3 se observa la representación esquemática de las deformaciones medidas y los desplazamientos relativos reales.

La deformación radial (∂R) es la relación entre el cambio medido ( ∆R ) y el radio original ( R m ) del revestimiento.

La deformación diametral es la relación entre la variación medida (∆D) y el diámetro original (Dm) del revestimiento.

ANTECEDENTES

Estudios similares

El proceso de construcción de túneles ha evolucionado hasta el punto de ser un procedimiento automatizado con maquinaria especializada. Las máquinas tuneladoras TBM son empleadas comúnmente para túneles largos, ya que son eficientes y adaptables a distintos medios (Carpio et al., 2020). Las tuneladoras tipo EPB (earth pressure balance) o slurry son especialmente habituales en la construcción de túneles de drenaje sostenidos mediante dovelas y que atraviesan suelos blandos y saturados.

Es común que, en el proyecto ejecutivo y últimamente incluso como requisito contractual, se establezcan valores límite a las deformaciones admisibles en términos de la relación entre la variación de dimensiones en radio (∆R) y diámetro (∆D) y el diámetro interior del revestimiento. Esta relación ha sido definida por varios autores en términos de lo indicado en la ecuación 1, tomada de Peck (1969), donde se recomiendan deformaciones diametrales (∂D) admisibles máximas de 0.5%.

δD = ∆D Dm (1)

Por otro lado, la British Tunnelling Society (BTS) y la Institution of Civil Engineers (ICE) recomiendan valores antes indicados por Schmidt (1984) de las deformaciones radiales admisibles máximas recomendables para túneles construidos en suelos blandos. Los valores recomendados oscilan entre 0.25 y 0.75% para arcillas y limos blandos normalmente consolidados (Carpio et al., 2020).

Otros autores refieren sus recomendaciones a las deformaciones diametrales, entre ellos Peck (1969), que recomienda 0.5%; Daub (2013) indica 0.5%; el Código de Construcción

❘ Núm. 269 Septiembre
Figura 4. Fenómenos de ovalización, convergencia uniforme y su relación mediante la distorsión relativa. Figura 3. Esquema de los desplazamientos radiales y diametrales, y la relación entre ambos. de Carpio et al., 2020. de Pinto et al., 2014.
Desplazamiento radial δR ∆R Rm Desplazamiento diametral δD ∆D Dm Distorsión relativa (deformación) ρ Dmáx Dmin Distorsión relativa ρ = –uδ uε Ovalización uδ uδ Convergencia uniforme uε –uε –uε 28 32 1 2 3 26 10 17 20

Chino para Túneles para Trenes (SPC, 2016) indica 0.3%; Bakhshi y Nasri (2018) recomiendan 0.25-0.50%; Aguilar et al. (2013) establecen 0.5% o menos como admisible para deformación diametral, y establecen otros rangos de valores como fronteras para distintos tipos de acciones, fijando 1.5% como no óptimo y valores mayores a esta magnitud como hitos para llevar a cabo labores correctivas como reinyecciones y refuerzos estructurales.

También existen manuales que indican 0.5% como límite en suelos duros o rocas y 1% como límite en suelos blandos (Bergeson et al., 2020). Por otro lado, Peck (1969) indica 0.25% como un valor típico a considerar durante el diseño, y refiere que en un proyecto ubicado en Oakland, donde fueron monitoreados 4,647 anillos, 48% de ellos presentaron distorsiones de alrededor de 0.25%, mientras que otro 25% llegó a 0.5%. Solo 5% de los anillos monitoreados excedieron el 1% de deformación del revestimiento. En otros casos (Schmitter y Moreno, 1983, y Peña et al., 2015) se reportaron deformaciones diametrales entre dos y tres veces mayores a las recomendadas en proyecto, antes de presentar algún tipo de daño.

Las lumbreras de construcción y de acceso también están sujetas a este tipo de restricciones, y para el túnel objeto de este trabajo se han realizado análisis del monitoreo geotécnico que indican valores típicos de 0.20% y máximos de 0.35% (De la Rosa et al., 2016).

Descripción del proyecto

El túnel objeto de este trabajo es un túnel semiprofundo (cobertura mayor a 2.5 diámetros) que formará parte del sistema de drenaje del Valle de México. Inicia en la zona centrooriental del Valle de México, en las cercanías del cerro Chimalhuache y a lo largo de 13 km va captando las aguas residuales y algunos sistemas pluviales de las demarcaciones poblacionales cercanas hasta conectarse al Túnel Emisor Oriente, para terminar en una planta de tratamiento ubicada a 60 km de distancia.

Los suelos que conforman la estratigrafía de la zona de proyecto son arcillas altamente plásticas de consistencia blanda a muy blanda, así como contenido de agua máximo de 400 y 235% en promedio. Superficialmente existen canales, lagunas artificiales así como infraestructura preexistente y proyectada para construcción durante la ejecución del túnel (líneas eléctricas, vías de tren, pasos vehiculares elevados, etc.).

La zona que presenta mayor defor-

mabilidad y resistencias más críticas, así como condiciones saturadas, se encuentra en la periferia de una de sus lumbreras centrales, y en dicha zona se pueden encontrar resistencias no drenadas de entre 10 y 60 kPa, con promedio de 30 kPa, contenidos de agua de entre 250 y 350%, límite líquido de 254 y plástico de 160, en promedio.

El método constructivo fue definido contractualmente en la etapa de ingeniería de detalle y proyecto ejecutivo; se dio al constructor la posibilidad de rediseñar algunos componentes principales, seleccionar la máquina tuneladora que se emplearía y establecer las características definitivas de los revestimientos a construir. El revestimiento primario del túnel está conformado por siete dovelas de concreto reforzado de 1.5 m de ancho; los anillos que conforman el revestimiento primario son de 5.6 m de diámetro interior y 35 cm de espesor. El revestimiento primario (dovelas) fue diseñado para resistir el 100% de las acciones a que se verá sujeto a corto plazo, y de los análisis geotécnicos se establecieron 4 cm como deformación superficial máxima esperada y 1.5 cm en promedio.

Metodología

Se recopilaron, procesaron y analizaron los datos obtenidos durante el monitoreo de desplazamientos a lo largo del trazo del túnel de proyecto, los cuales se obtuvieron a lo

Septiembre - Noviembre 2023
túnel ❘ ARTÍCULO TÉCNICO
Figura 5. Variación diametral medida en el revestimiento primario a) el primer mes, b) el primer año, a lo largo del trazo del túnel.
Monitoreo de deformaciones en el revestimiento de un
Desplazamiento diametral, ∆D, mm 35 30 25 20 15 10 5 0 0+000 02+000 04+000 06+000 08+000 10+000 Cadenamiento
Variación diametral (∆D) al primer mes
Desplazamiento diametral, ∆D, mm 200 150 100 50 0 0+000 02+000 04+000 06+000 08+000 10+000 Cadenamiento 29 38 41 43 44 45 47 48 40 42
Variación diametral (∆D) al primer año

ARTÍCULO TÉCNICO ❘ Monitoreo de deformaciones en el revestimiento de un túnel

y disposiciones provenientes de la residencia de obra o el cliente, que tienden a la optimización constante y algunas veces ello resulta contraproducente. En este orden de ideas, resulta relevante que los ingenieros especialistas en túneles, residentes de lumbrera, jefes de frente y jefes de obra tengan acceso a datos fácilmente medibles y directrices claras acerca de los rangos aceptables en el comportamiento observado previo o durante eventos críticos que requieran acciones para prevenir o mitigar riesgos de seguridad.

largo de más de un año de monitoreo después del paso de la tuneladora y la colocación del revestimiento primario. Los datos obtenidos se analizaron por tramo, y en aquellos casos donde los desplazamientos excedieron o se acercaron a los máximos admisibles indicados en el proyecto ejecutivo (3.3 cm), se incrementó la frecuencia de monitoreo y se incluyó la participación de un especialista en túneles mediante visitas técnicas, según lo estipulado en el alcance contractual, con la intención de que realizara un análisis de la información y dispusiera las medidas a llevar a cabo, tanto para fines de remediación como para fines de prevención.

Resultados obtenidos

El desplazamiento diametral máximo que se midió fue 13.8 cm, que implica una ∂D = 2.46%. En los tramos críticos del trazo (los cuales necesitaron refuerzos adicionales), los desplazamientos promedio fueron de 7.6 cm para un ∂D = 1.4%, mientras que el promedio de las mediciones tomadas durante el primer mes después de colocado el anillo fue de 0.82 cm y el promedio durante el primer año fue de 2.8 cm, implicando ∂D de 0.15 y 0.50%, respectivamente. Un 84% de los anillos monitoreados presentó deformaciones menores al admisible estipulado en el proyecto ejecutivo, mientras que las mediciones por encima del admisible fueron un 16% del total. La distribución de variaciones diametrales (∆D) al primer mes y al primer año se muestran en la figura 5.

DISCUSIÓN

En la construcción de túneles en el Valle de México existen prácticas habituales que suelen dificultar el aprovechamiento de los sistemas de auscultación indicados en el proyecto ejecutivo, principalmente en lo que se refiere a cantidad de instrumentos y frecuencia de monitoreo, a menudo promovidas por una combinación de desconocimiento sobre la relación costo/beneficio de la instrumentación

De los resultados obtenidos durante el primer mes de monitoreo de revestimiento primario una vez colocado, se puede observar que, para el caso de túneles de dos revestimientos, es de gran importancia que la construcción del revestimiento secundario se realice de manera expedita; las labores de coordinación y gerencia de obra resultan esenciales para la estabilidad y seguridad del túnel durante su construcción.

El 92% de los anillos monitoreados tuvieron deformaciones diametrales por debajo de 0.3% a lo largo del primer mes después de colocado el revestimiento primario, y el 8% de anillos se deformaron entre 0.3 y 0.6% para el mismo periodo; para los máximos registrados a lo largo del primer año, el 70% de los anillos tuvo deformaciones diametrales menores de 0.4%, otro 12% de los anillos se deformó entre 0.4 y 0.6%, y el restante 18% se deformó entre 0.6 y 3.0%. En la figura 6 se muestran los resultados descritos.

CONCLUSIONES

Del análisis y procesamiento de los datos medidos en campo, se concluye que para túneles construidos en suelos arcillosos saturados y muy blandos del Valle de México o similares a ellos es recomendable acelerar los procesos relativos a la construcción del revestimiento definitivo o implementar los esquemas completos de inyección anular, en el caso de revestimiento único.

Durante el proceso de construcción, y en especial cuando existan retrasos en la ejecución, se puede considerar como admisible una deformación diametral menor al 0.5% del diámetro interior del revestimiento. Rebasar este límite implica un incremento en la frecuencia de medición en los puntos donde se detecten cambios y un análisis de velocidades de deformación como información de apoyo para el especialista que determinará las acciones de prevención y mitigación, como reinyecciones o refuerzos estructurales.

Se propone, como futuras líneas de análisis, considerar la influencia del tiempo mediante la velocidad de deformación, así como la profundidad de la sección analizada;

❘ Núm. 267 ❘ Núm. 269 Septiembre
realizar
1 año 1 mes Deformación diametral (δD) Anillos en el rango, % 50 40 30 20 10 0 0-0.1 0.1-0.2 0.2-0.3 0.3-0.4 0.4-0.5 0.5-0.6 0.6-1.0 1.0-2.0 1.0-3.0 Rango de deformación diametral, %
Figura 6. Porcentaje de anillos por rango de deformación diametral.
30 32 1 2 3 26 10 17 20

análisis de anillos instrumentados (deformaciones del suelo, presiones de suelo y agua) y análisis considerando parámetros geotécnicos de clasificación, resistencia y deformabilidad

Referencias

Aguilar, M., et al. (2013). Diametric deformations in the concrete segment lining of a tunnel excavated in soft soils. Criteria for their evaluation and mitigation actions for their control. Proceedings of the 18th International Conference on Soil Mechanics and Geotechnical Engineering. París.

Bakhshi, M., y V. Nasri (2018a). Standard practice and latest developments in tunnel segment tolerances, measurement, and dimensional control. Proceedings of World Tunnel Congress. Dubai.

Beghoul, M., y R. Demagh (2019). Slurry shield tunneling in soft ground. Comparison between field data and 3D numerical simulation.

Bergeson, W., et al. (2020). Precast concrete segmental liners for large diameter road tunnels. Literature survey and synthesis. US Department of Transportation, Federal Highway Administration.

Carpio, F., et al. (2020). Evaluation of traditional deformation limits for segmental tunnels in soft soils. Proceedings of the Institution of Civil Engineers – Structures and Buildings. ICE Publishing.

De la Rosa, J., et al. (2016). Desplazamientos horizontales permisibles durante la construcción de lumbreras en suelos blandos del Valle de México. Caso historia. XXVIII Reunión Nacional de Ingeniería Geotécnica. Mérida.

Liu, S.T., y Z. W. Wang (2009). Deformation monitoring during construction of subway tunnels in soft ground. Fourth Team of Henan Province Coal Field Geology Bureau. Xinzheng.

Marsal, R., y M. Mazari (1959). El subsuelo de la Ciudad de México UNAM, Facultad de Ingeniería.

Moreno, A. (1989). La excavación de lumbreras y túneles en las arcillas blandas de la Ciudad de México. Memorias del Congreso Internacional sobre los Túneles y el Agua. Madrid: A. A. Balkema/ Rotterdam/Brookfield

Paul, S., et al. (1983). Design recommendations for concrete tunnel linings. Vol. II: Summary of research and proposed. US Department of Transportation.

Peck, R. (1969). Deep excavation and tunneling in soft ground, state of the art report. Proceedings of the 7th International Conference on Soil Mechanics and Foundation Engineering. México City: 225-281.

Peña, F., et al. (2015). Asesoría de especialistas en planeación, hidrología, hidráulica, geotecnia y estructuras que requieran las obras de infraestructura hidráulica del Valle de México. Informe Final. Parte 1: Estructuras y materiales. México: Instituto de Ingeniería, Universidad Nacional Autónoma de México.

Pinto, F., et al. (2014). Ground movements due to shallow tunnels in soft ground 2: Analytical interpretation and prediction. Journal of Geotechnical and Geoenvironmental Engineering (4)140.

Schmidt, B. (1984). Tunnel liningdesign – do the theories work? Proceedings of the 4th Australia-New Zealand Conference on Geomechanics. San Francisco: Parsons Brinckerhoff.

Schmitter, J., y A. Moreno (1983). Túnel con deformaciones excesivas. Memorias del 7º Congreso Panamericano de Mecánica de Suelos e Ingeniería de Fundaciones. Vancouver: Canadian Geotechnical Society.

Apreciamos su opinión e información sobre el tema de este artículo. Escríbanos a helios@heliosmx.org

Marzo - Mayo 2023 Septiembre - Noviembre 2023
Monitoreo de deformaciones en el revestimiento de un túnel ❘ ARTÍCULO TÉCNICO 31 38 41 43 44 45 47 48 40 42

Visita de reconocimiento de daños del Instituto de Ingeniería de la UNAM a Turquía por los sismos del 6 de febrero de 2023

El Instituto de Ingeniería de la UNAM (II UNAM) envió una brigada de reconocimiento de daños a Turquía, a las zonas afectadas por los sismos del 6 de febrero de 2023. La brigada estuvo compuesta por los autores de esta nota.

El primero de los sismos mencionados ocurrió a las 4:17 am, hora local, con una magnitud Mw 7.7 y a la 1:24 pm ocurrió el segundo con magnitud Mw 7.6 (véase figura 1). Estos sismos ocasionaron, según cifras oficiales, alrededor de 55,000 muertos, 108,000 heridos y afectó por lo menos a 13.5 millones de personas. En cuanto a estructuras, 38,018 colapsaron, de las cuales 11,868 fueron de concreto; más de 20,000 requieren demolición urgente. Del total de estructuras en la zona (2.14 millones), casi 15% experimentó daño moderado o más severo. De acuerdo con la Oficina de Estrategia y Presupuesto, el costo total del desastre se estima en 103.6 billones de dólares estadounidenses, equivalentes a 9% del producto interno bruto de Turquía en 2023. Los daños en vivienda comprenden 55% del total (Alcocer, 2023).

La visita se llevó a cabo del 12 a 22 de abril del 2023; se realizó un recorrido de 1,600 km y se visitaron las ciudades de Kahranmanmaraş, Adıyaman, Gaziantep, Gölbaşı, Adiyaman, Pazarcik, Altinuzum, Fevzipasa, Hassa, Hatay, Antakya, Iskenderun, Adana, Nurdaği, Osmaniye, Dortyol y Estambul.

Los principales aspectos geotécnicos que se observaron se relacionan con la licuación de arenas, problemas de cimentación, estabilidad de taludes, desplazamiento lateral y estructuras de retención. La ubicación de los sitios en los cuales se detectaron los aspectos mencionados se presentan en la figura 2 y se detallan a continuación.

LICUACIÓN DE ARENAS

La licuación de arenas se manifestó en muchos sitios, principalmente de las regiones de Hatay-Paşaköy, Hatayİskenderun, Adıyaman-Gölbaşı y Adıyaman-Türkoğlu. En el campo libre, se manifestó a través de emisiones de materia granular (volcancitos de arena como el ilustrado en la figura 3), hundimientos del terreno y desplazamientos laterales en sitios con pendientes ligeras, principalmente cerca de las costas (véanse figuras 4 a 6).

En zonas urbanizadas, muchos edificios experimentaron hundimientos que en ocasiones provocaron la pérdida de verticalidad por la aparición de asentamientos diferenciales, los que, a su vez, indujeron en algunos casos el volteo com-

❘ Núm. 269 Septiembre NOTA INFORMATIVA
32 32 1 2 3 26 10 17 20 Ir a TexTo CorrIdo

pleto. Fue común observar la aparición de material granular expulsado por el exceso de presión de poro en la periferia de estas construcciones. Todas estas manifestaciones resultan por la pérdida total o parcial de la capacidad de los suelos para resistir esfuerzos cortantes debido a los incrementos de presión de poro que se genera dentro de la masa arenosa durante el sismo. El exceso de presión de poro también indujo la migración de agua hacia la superficie, lo que provocó que los sótanos y los estacionamientos subterráneos de varios edificios se inundaran. De acuerdo con Cetin et al. (2023), los asentamientos en edificios, ocasionados por los excesos de presión de poro (licuación parcial) en Hatay-İskenderun y AdıyamanGölbaşı, alcanzaron magnitudes de 30 a 80 cm e indujeron inclinaciones de 10 a 15 grados en las edificaciones afectadas.

También se ha reportado la ocurrencia de desplazamientos laterales en taludes carreteros, así como desplazamientos en estructuras de retención en zonas costeras. En estas últimas se observaron agrietamientos en caminos y andaderos costeros, provocados por la licuación de arenas, con agrietamientos a lo largo del eje del camino o carretera (véanse figuras 7 y 8).

Las técnicas para evaluar el potencial licuable de los materiales arenosos sueltos eran bien conocidas por los especialistas turcos (véase, por ejemplo, Cabalar et al. , 2019 o Canbolat, 2017). También es seguro que conocen las técnicas de densificación para mitigar o anular el potencial licuable. Sin embargo, es poco probable que se hicieran estudios específicos con el fin de evaluarlo en terrenos urbanos destinados a la construcción de edificios de vivienda, como los que abundan en Turquía, tanto en grandes ciudades como en poblaciones medianas o pequeñas. En estos casos, la mejora del subsuelo por densificación significa costos adicionales, probablemente excesivos para familias de ingresos reducidos o, cuando mucho, medios. Adicionalmente, hay que considerar el problema de la falta de control y supervisión de desarrollos inmobiliarios en las ciudades así como del cumplimiento de los códigos de construcción y diseño, como quedó evidenciado por el tipo de daños y colapsos observados.

CIMENTACIONES TÍPICAS

De acuerdo con la información recabada en el Centro de Administración de Riesgos de Estambul, es muy común cimentar los edificios de vivienda con zapatas aisladas desplantadas a poca profundidad, de lo cual se infiere que se

Septiembre - Noviembre 2023
NOTA INFORMATIVA
Visita de reconocimiento de daños del Instituto de Ingeniería de la UNAM a Turquía ❘
Figura 1. Ubicación del epicentro del terremoto del 6 de febrero de 2023 y sus réplicas (Taftsoglou et al., 2023). Figura 2. Ubicación de los sitios donde se detectaron problemas geotécnicos en la visita (GeoSetter 2019).
Magnitud 0.9-4 4-5 5-6 6-7 7-7.8 36ºE 38ºE 36ºN 38ºN H1 H2 Estrato de baja permeabilidad Nivel freático Conducto de arena Estrato licuado Dirección del flujo de agua 33 38 41 43 44 45 47 48 40 42
Figura 3. Eyecciones de agua con arena que dan lugar a “volcancitos” de arena (adaptado de Obermeier, 1996).

diseñan considerando que los terrenos arenosos de desplante son capaces de proveer la capacidad de carga necesaria (véase figura 9). Sin embargo, como ya se dijo, es poco probable que en su diseño no se haya considerado la posibilidad de que sufrieran asentamientos por licuación de las arenas subyacentes. En la figura 9 se presenta un esquema de una cimentación típica resuelta con zapatas aisladas, en el que destaca el hecho de que no se incluye la colocación de trabes de liga. También es destacable que la disposición de las zapatas induce excentricidad en lo que se refiere a su rigidez y a su centro de cargas.

Durante la visita también fue posible identificar algunos edificios cimentados con losas desplantadas varios metros por debajo de la superficie. Incluso se identificaron edificios en los que se tenían sótanos para albergar estacionamientos y –como ya se mencionó–dichos sótanos se inundaron durante el temblor en al menos dos de estos edificios (figura 6). En estos casos fue evidente que los estratos subyacentes se habían licuado, al menos parcialmente, y que había prueba de ello por la eyección de arenas en la periferia de las construcciones, además de hundimientos en ambas edificaciones.

En las inspecciones se detectaron dos hospitales cimentados con pilas (véase figura 10). Se informó que uno de ellos se había cimentado por medio de pilas, aunque no fue posible conocer su diámetro o longitud. En la periferia de este edificio también fue evidente que los materiales arenosos subyacentes se habían licuado, pero el edificio no sufrió

daño estructural aparente. El otro edificio hospitalario cimentado con pilas o pilotes contaba con aisladores sísmicos. La condición estructural de este hospital no se discute aquí, aunque el efecto benéfico de los aisladores resultó evidente.

❘ Núm. 269 Septiembre
NOTA INFORMATIVA ❘ Visita de reconocimiento de daños del Instituto de Ingeniería de la UNAM a Turquía
Figura 5. Evidencias de licuación por hundimiento de edificaciones, eyección de arena y hundimiento del suelo perimetral en edificaciones de Gölbaş ı. Figura 4. Evidencias de licuación por hundimiento del suelo circundante, emersión de redes hidráulicas y eyección de arena en el hospital de Pazarcik.
34 32 1 2 3 26 10 17 20

INESTABILIDAD DE TALUDES

En diversos sitios a lo largo de las carreteras que se recorrieron se observaron deslizamientos de tierra, aunque de poca magnitud e importancia; también se observaron desprendimientos de fragmentos rocosos que a veces se acumularon en el borde de las carreteras (véase figura 11). Igualmente se distinguieron parches en los pavimentos, en sitios donde se infiere que habían ocurrido fallas provocadas por la inestabilidad de taludes. Es altamente destacable la rapidez y la eficiencia con la que actuaron las autoridades turcas para restablecer la circulación en las vías de

Septiembre - Noviembre 2023 Visita de reconocimiento de daños del Instituto de Ingeniería de la UNAM a Turquía ❘ NOTA INFORMATIVA
Figura 6. Evidencias de licuación por inundación de sótanos y falla parcial de cimentación en Iskenderun. Figura 7. Fenómeno de desplazamiento lateral en Dortyol. comunicación. Figura 8. Agrietamiento en una vía de Izkerendun por desplazamiento lateral. Figura 9. Esquema de un sistema de cimentación típico, resuelto con zapatas aisladas desplantadas a poca profundidad o superficialmente (cortesía del Centro de Administración de Riesgos de Estambul). Zapata Columna Losa Trabe
35 38 41 43 44 45 47 48 40 42
Muro de cortante

NOTA INFORMATIVA ❘ Visita de reconocimiento de daños del Instituto de Ingeniería de la UNAM a Turquía

En las laderas del castillo de Antep en Gaziantep también se observaron deslizamientos de tierra en sitios que incluso ya habían sido provistos de elementos para evitar el humedecimiento de los suelos subyacentes (véase figura 12).

En la figura 13 se puede apreciar, en la carretera Gaziantep-Osmaniye, lo que parece un movimiento lateral en la vía, ocasionado por una de las fallas que generaron los sismos. Esos desplazamientos sugieren que ahí se localiza una falla geológica activa.

ESTRUCTURAS DE RETENCIÓN

Se observaron algunos muros de gravedad con fallas locales, principalmente al pie de cortes en taludes carreteros. Algunos de estos incluso sufrieron daños a causa de los impactos recibidos por fragmentos de roca que se desprendieron y rodaron hacia el pie de los taludes (véase figura 11).

También se identificaron algunos taludes de aproximación a puentes o pasos elevados, que se resolvieron con la técnica de tierra armada.

❘ Núm. 267 ❘ Núm. 269 Septiembre
En ninguno de estos se pudieron apreciar Figura 10. Hospital de Pazarcik cimentado sobre pilas y hospital Osmaniye que se encuentra sobre disipadores de energía. Figura 12. Deslizamientos en las laderas del castillo de Antep. Figura 13. Evidencia de desplazamiento de una falla geológica en la carretera Gaziantep-Osmaniye. Figura 11. Deslizamientos de tierra en la carretera de Gaziantep-Osmaniye y en la carretera Adiyaman-Malatya.
36 32 1 2 3 26 10 17 20

Visita de reconocimiento de daños del Instituto de Ingeniería de la UNAM a Turquía

daños o signos de mal comportamiento, pues, al parecer, no sufrieron daños, ni siquiera aquellos localizados en la cercanía de la zona epicentral (véase figura 14).

LECCIONES APRENDIDAS

Turquía cuenta con un reglamento de construcciones nacional que, como en otros países, se ha actualizado cada vez que ocurre un sismo de elevada intensidad que produce mucho daño o, en promedio, cada 10 años. Así, la última actualización es de 2018, luego de un par de modificaciones significativas, en 2000 y 2007, derivadas del sismo M7.6 del mar de Mármara de 1999, que ocurrió cerca de Estambul. La ingeniería y la investigación sísmica turcas son reconocidas mundialmente por su alta calidad, originalidad e innovación. Sus contribuciones se encuentran plasmadas en métodos de diseño de edificios, así como en requisitos de normas de construcción propias y de otros países, pero Turquía ha adolecido de la falta de observancia y cumplimiento del reglamento de construcción, en sus etapas de diseño y construcción, ya sea por razones económicas (asociadas a la corrupción) o por ignorancia (Alcocer, 2023)

Referencias

Alcocer, S. (2023). Apuntes sobre los sismos en Turquía y Siria. Letras Libres

Cabalar, A. F., et al. (2019). Soil liquefaction potential in Kahramanmaras, Turkey. Geomatics, Natural Hazards and Risk 10:1: 1822-1838.

Canbolat, Abdullah (2017). Use of gis for evaluating the geotechnical properties in Kahramanmaraş, Turkey Hasan Kalyoncu University, Graduate School of Natural & Applied Sciences M.Sc. Thesis in Civil Engineering

Çetin, K., et al., Eds. (2023). Preliminary Reconnaissance Report on February 6, 2023, Pazarcık Mw=7.7 and Elbistan Mw=7.6, Kahramanmaraş-Türkiye Earthquakes. Report NO: METU/EERC 2023-01. Ankara: Earthquake Engineering Research Center. Middle East Technical University

Obermeier, S. F. (1996). Use of liquefaction-induced features for paleoseismic analysis. An overview of how seismic liquefaction features can be distinguished from other features and how their regional distribution and properties of source sediment can be used to infer the location and strength of Holocene paleo-earthquakes. Engineering Geology 44: 1-76.

Taftsoglou, M., et al. (2023). Preliminary mapping of liquefaction phenomena triggered by the February 6 2023 M7.7 earthquake, Türkiye / Syria, based on remote sensing data.

Apreciamos su opinión e información sobre el tema de este artículo. Escríbanos a helios@heliosmx.org

APLICACIONES:

• PATIOS DE MANIOBRA

• ESTACIONAMIENTOS

• VIALIDADES SECUNDARIAS

• BAJA VELOCIDAD

• PARQUES

• COCHERAS

• JARDINERAS

Ficha Técnica

Es un sistema de rejillas de plástico 100% reciclado que se ensamblan entre sí y se rellenan con grava para formar pisos firmes y permeables para bajas velocidades con gran capacidad de carga o aplicaciones peatonales.

Las rejillas se deben rellenar con grava, logrando un piso permeable de gran resistencia para caminos de uso peatonal, ligero o pesado. Para uso pesado el suelo deberá llevar una preparación como la de un concreto.

ventas4@absplastica.com tmarketing@absplastica.com

Marzo - Mayo 2023 Septiembre - Noviembre 2023
Figura 14. Taludes con buen desempeño en la carretera Gaziantep-Osmaniye.
NOTA INFORMATIVA
conocer más de PAVIXSO ?
¿Quieres
37 38 41 43 44 45 47 48 40 42

Norma Elisa Amirante Marignac

Elia Echeverría Arjonilla

Margarita Puebla Cadena Facultad de Ingeniería,

Evaluación del aprendizaje en la pandemia

En este texto se presenta una aproximación al análisis de los efectos de la pandemia en el proceso de enseñanza-aprendizaje en las escuelas de ingeniería, que se desarrollará mediante dos instrumentos diseñados para el efecto: una entrevista anónima en línea para los estudiantes y una entrevista que se prevé realizar a los docentes, con el propósito de indagar las experiencias de esta etapa desde cada perspectiva.

Mucho se ha hablado sobre los efectos de la pandemia de COVID-19 en el aprendizaje, pero poco se puede afirmar categóricamente al respecto. Y es que no se puede hablar de cuantificaciones en el sentido más estricto del término, porque para conocer cómo varió el aprovechamiento escolar de los alumnos se tendrían que haber hecho mediciones en condiciones iguales antes y después de la pandemia. En otras palabras: se tendrían que haber realizado experimentos en los cuales se aplicara algún tipo de examen o evaluación a grupos de estudiantes antes de la pandemia y se habría de aplicar el mismo instrumento

(el mismo examen o evaluación), y de preferencia a los mismos grupos de alumnos, después de la pandemia, para luego comparar los resultados de ambas pruebas y así señalar las diferencias cuantitativas en el aprendizaje.

Esto resulta imposible de hacer, ya que a ningún profesor se le ocurrió que iba a presentarse una emergencia de salud de gran magnitud que lo obligaría a cambiar su clase de presencial a virtual, y por lo tanto no aplicó exámenes antes de algo que no sabía que iba a suceder. Por otra parte, aun suponiendo que aplicase un mismo examen antes y luego de la pandemia, necesariamente lo aplicaría a distintos grupos de alumnos, y en consecuencia, los diferentes resultados obtenidos en el mismo examen no se podrían atribuir necesariamente al efecto de la virtualidad en la impartición de la clase, pues la diferente composición de los grupos seguramente tendría influencia en los resultados obtenidos en el examen.

Algunos docentes alegarán que, luego de mucho tiempo de impartir una asignatura a numerosos grupos de estudiantes y de aplicarles exámenes similares (que no estrictamente iguales) en cuanto al grado de dificultad, sí perciben cambios en los resultados obtenidos por los alumnos antes y después de la pandemia. Esta apreciación es válida, pero siempre será refutada por los fundamentalistas de la medición exacta (aquellos que no valoran experimentos que no sean en términos de las ciencias “duras”) porque contiene un porcentaje de “subjetividad” (como si las ciencias duras fuesen objetivas).

❘ Núm. 267 ❘ Núm. 269 Septiembre ÁMBITO ACADÉMICO
Universidad Autónoma de la Ciudad de México Universidad Autónoma de la Ciudad de México UNAM.
BOLETIN.BUAP.MX 38 32 1 2 3 26 10 17 20 Ir a TexTo CorrIdo

Sin ánimo de entrar en discusiones de carácter filosófico en torno al estatus epistemológico en las disciplinas de tipo social y las llamadas ciencias duras, lo cierto es que resulta complicado hacer afirmaciones categóricas y cuantificables en lo concerniente al aprendizaje de los estudiantes durante la pandemia, porque además de lo mencionado anteriormente existen otros muchos factores que repercuten en él, como son: la posibilidad y calidad de la conectividad de los estudiantes, aspectos socioeconómicos, aspectos emocionales y la forma de trabajo del docente (que puede ayudar o no al fomento de las habilidades del pensamiento).

Por todo lo anterior, habrá que admitir que no se podrán esperar resultados absolutamente exactos, cuantificables y definitivos respecto al asunto de la influencia de la pandemia en el rendimiento escolar.

Sin embargo, y pese a todo lo mencionado, se puede estudiar dicho asunto por medio de entrevistas aplicadas tanto a los alumnos como a los docentes, tomando en consideración la complejidad del fenómeno.

En cuanto a los estudiantes, hemos diseñado un cuestionario para ser aplicado por vía electrónica y que se contesta en forma anónima, con la finalidad de conocer su percepción de su aprendizaje durante la pandemia. En este instrumento se investigaron los siguientes aspectos: herramientas computacionales

empleadas en las clases virtuales, forma de trabajo de los docentes, tareas y proyectos solicitados en dichas clases, evaluación de los cursos, interacción entre alumnos y profesores y de los estudiantes entre sí, prácticas de laboratorio y de campo, conectividad, autoevaluación del aprendizaje (en comparación con el de las clases presenciales) y los aspectos a rescatar en las clases virtuales. La liga para que los alumnos puedan acceder al cuestionario y contestarlo es: https://forms.gle/YH2YJKpN JRjm5mnA6. Los resultados llegarán directamente.

Respecto a los docentes, se pretende realizar entrevistas a profundidad en las cuales se indague la forma de trabajo docente durante la pandemia (y antes de ella), los recursos computacionales empleados por los profesores, los trabajos, proyectos y demás tareas que se dejaron a los estudiantes, la forma de evaluación que se utilizó y la percepción que tienen respecto al aprendizaje de los alumnos en comparación con la que se tiene en las clases presenciales.

Los resultados obtenidos, tanto de las entrevistas a los maestros como de los cuestionarios aplicados a los estudiantes, permitirán esbozar un panorama del aprendizaje durante la pandemia, plantear retos y tomar medidas que permitan paliar las falencias detectadas Apreciamos su opinión e información sobre el tema de este artículo.

Escríbanos a geotecnia@heliosmx.org

Septiembre - Noviembre 2023 +(52)(55) 9150-1208 , 9150-1209, 9150-1210 www.pilotec.com.mx pilotec@prodigy.net.mx Pilas Muros milán Tablestacas Pruebas de carga estática Pruebas de carga bidireccional Pilotes Anclas Pantallas flexoimpermeables Sistemas de anclaje Pruebas de integridad Consultoría y diseño geotécnico Cimentaciones Profundas Evaluación del aprendizaje en la pandemia ❘ ÁMBITO ACADÉMICO
39 38 41 43 44 45 47 48 40 42

TESIS

Evaluación de propuestas de mejora a la metodología de la ASHRAE para el diseño de sistemas de bombas de calor geotérmico

Para obtener el grado de ingeniero civil Facultad de Ingeniería, Universidad Nacional Autónoma de México

Directora: Norma Patricia López Acosta

El objetivo de esta tesis fue evaluar las propuestas de mejora que diversos autores han hecho a la metodología de la Sociedad Estadounidense de Ingenieros de Calefacción, Refrigeración y Aire Acondicionado (ASHRAE, sus siglas en inglés) para el diseño de bombas de calor geotérmico (BCG). Estas bombas surgen como una alternativa para reducir las emisiones de carbono generadas por los sistemas convencionales para el acondicionamiento de espacios; permiten transferir el calor del suelo a una edificación, o viceversa, a través de un sistema cíclico cerrado. A pesar de sus múltiples ventajas, la implementación de los sistemas a base de BCG se ha visto restringida debido a sus costos iniciales y a la falta de especificaciones para su diseño. Así, la ASHRAE propuso una metodología para calcular la longitud de excavación requerida para satisfacer la demanda energética o térmica de un edificio o estructura. Un aspecto fundamental de la metodología de diseño de la

ASHRAE es la estimación de la temperatura de penalización T_p, que representa la sanción a largo plazo en la temperatura no alterada del suelo debido a posibles desequilibrios en la transferencia de calor del/al suelo durante el funcionamiento de las BCG. Algunos autores han analizado la temperatura de penalización y su comportamiento a largo plazo con distintos modelos analíticos y se ha demostrado que la temperatura de penalización T_p determinada con el método de la ASHRAE subestima los valores reales en más de 50%. En esta investigación se evaluaron cinco propuestas de mejora a la metodología de la ASHRAE para la obtención de la temperatura de penalización T_p, las cuales se utilizaron para diseñar el sistema de calefacción de una casa habitacional ubicada al poniente de la Ciudad de México. Los resultados obtenidos muestran que es factible aplicar este tipo de tecnología en el país; asimismo se corroboró que existe una diferencia aproximada de ±10% entre el método de la ASHRAE y los otros métodos propuestos en la bibliografía internacional. Esta tesis contribuye al conocimiento de los métodos de diseño de pozos intercambiadores de calor, los cuales constituyen una alternativa ecoamigable para la reducción de gases de efecto invernadero, particularmente para la disminución de dióxido de carbono

Análisis multidireccional del índice de fracturamiento y distribución de bloques en macizos rocosos

Tesis de Álvaro Daniel Suárez Cortés

Para obtener el grado de maestro en Ingeniería Programa de Maestría y Doctorado en Ingeniería, Universidad Nacional Autónoma de México.

Director: Fermín Antonio Sánchez Reyes

El trabajo se enfoca en el análisis de la disposición estructural de las discontinuidades en un macizo rocoso y la influencia que dicha disposición tiene en la determinación de la designación de calidad de la roca (RQD, sus siglas en inglés) y en el volumen de los bloques generados por sus intersecciones. La disposición estructural de las discontinuidades se describe en términos de su rumbo y buzamiento, agrupando discontinuidades con orientaciones similares en familias. La interacción de estas familias determina el grado de fracturamiento del macizo, el cual se caracteriza a través del RQD. El RQD se determina, generalmente, a partir de los fragmentos de roca

recuperados en perforaciones o mediante la medición de las intersecciones de las discontinuidades con líneas arbitrarias trazadas en superficies expuestas de la roca (afloramientos, taludes o en el frente de excavación de un túnel). Sin embargo, el RQD muestra una importante dependencia respecto a la dirección en la que este se determina. En tal contexto, en este trabajo se desarrollan códigos computacionales que permiten simular la disposición estructural de las discontinuidades y determinar el RQD para múltiples direcciones en un cierto volumen característico. Esto permite describir al macizo de forma más objetiva desde un punto de vista estadístico y no en términos de un RQD puntual. Las herramientas desarrolladas también permiten determinar la distribución de los volúmenes de roca generados por la intersección de las familias de discontinuidades. En general, el trabajo representa un primer paso hacia una caracterización más objetiva de los macizos rocosos, que con el tiempo conducirá a parámetros geomecánicos más realistas

❘ Núm. 269 Septiembre
Tesis de Luis Manuel García Rivera
RESEÑAS
40 32 1 2 3 26 10 17 20 Ir a TexTo CorrIdo I r a T ex T o C orr I do

NTC-Cimentaciones Capítulo 6. Verificación de la seguridad de muros de contención

En esta actualización de las normas se incluye, para facilidad del diseñador, un diagrama con las fuerzas que intervienen en el diseño, así como recomendaciones para el dimensionamiento del muro. En este se precisan los factores de carga y de resistencia que se deben utilizar para el diseño, todos ellos acordes con lo establecido en las NTC-Criterios. Se presentan también comentarios específicos relativos a los estados límite de falla y de servicio, que guiarán al diseñador. En relación con los movimientos, se citan las referencias concernientes a los desplazamientos horizontales por giro o flexión que generan el empuje activo.

En el apartado 6.4 Aspectos sísmicos se incluyen los criterios que deben seguirse para determinar las fuerzas sísmicas y efectuar el diseño de los muros.

Para los muros mecánicamente estabilizados se establece también, de manera precisa, la obligación de presentar la

Cultura

Desde un lugar de la pandemia

El autor, médico especialista en salud pública, habla sobre su larga experiencia profesional en la que le tocó lidiar con el sida, la influenza aviar, la influenza AH1N1, el SARS, el ébola y el COVID-19. Subraya la importancia de la modelación epidemiológica, de la microbiología y la inmunología como partes de los mecanismos de respuesta ante una emergencia de salud.

Se refiere a las estrategias de contención de un brote epidemiológico: la tradicional, que consiste en hacer múltiples

memoria de cálculo detallada con la verificación de la estabilidad interna y externa del conjunto, cumpliendo los estados límite de falla y de servicio citados en la presente norma. En el procedimiento constructivo se indicará el tipo de relleno, granulometría y límites de consistencia, el espesor de las capas, el método y energía de compactación, así como los ensayes para verificar el grado de compactación alcanzado. Se especificarán también las características del refuerzo interior, su separación horizontal y vertical, geometría y sistema de fijación de los paneles de concreto exterior; se presentará el diseño estructural de los paneles de concreto reforzado señalando la cimentación de la primera hilera, así como los puntos de maniobra e izado y procedimiento de montaje

Apreciamos su opinión e información sobre el tema de este artículo. Escríbanos a helios@heliosmx.org

pruebas, detectar a los infectados, rastrear sus contactos aislando los casos positivos y poner en cuarentena a los contactos cercanos a ellos; y las estrategias distorsionadas, que incluyen no hacer pruebas y apostar por la inmunidad del rebaño.

Es un falso dilema, sostiene el autor, creer que se debe decidir entre reapertura de la economía y confinamiento (salud vs. economía); deben perseguirse en paralelo ambos objetivos. Otro falso dilema es de carácter político: contraponer la idea de la libertad individual vs. el autoritarismo gubernamental.

Finalmente se refiere a los aspectos culturales y sociales que influyen en las pandemias y presenta reflexiones generales y propuestas encaminadas a un mejor manejo futuro de estas

Julio Frenk (1953) es médico cirujano con maestría en Salud Pública. Ha sido profesor en la Escuela de Salud Pública de México, El Colegio de México y la UNAM. Su obra incluye 28 libros y monografías, y gran número de artículos. Fue secretario de Salud en 2000-2006. Es presidente de la Universidad de Miami.

Septiembre - Noviembre 2023
NORMATIVIDAD
41 38 41 43 44 45 47 48 40 42 Ir a TexTo CorrIdo
Ir a TexTo CorrIdo

Cursos de actualización y apoyo para la certificación de peritos profesionales en geotecnia

En el contexto de los cursos de actualización y apoyo para la certificación de peritos profesionales en Geotecnia 2023, el 22 de abril pasado se llevó a cabo el curso “Procedimientos constructivos de cimentaciones profundas y mejoramiento masivo de suelos”, cuyos expositores fueron Walter Iván Paniagua Zavala, vicepresidente por Norteamérica de la ISSMGE, y Norma Patricia López Acosta, secretaria académica e investigadora titular del Instituto de Ingeniería de la UNAM.

El curso se dividió en dos secciones. En la primera se trataron los temas correspondientes a sistemas constructivos de pilas, pilotes, micropilotes y pilotes de control, así como control de calidad de dichos elementos. Durante la segunda sección se

expusieron los temas relativos a métodos de mejoramiento de suelos, tales como precarga, compactación dinámica e inclusiones rígidas.

El 4 de mayo se impartió en modalidad remota el curso “Dinámica de suelos”, a cargo de Raúl Aguilar Becerril. El objetivo principal del curso fue proporcionar conocimientos actualizados sobre los diferentes aspectos relacionados con la dinámica de suelos y su aplicación práctica, a fin de aportar criterios fundamentales para el correcto desempeño de los peritos profesionales en geotecnia.

El temario del curso incluyó temas como el peligro sísmico, las propiedades dinámicas de los suelos, los espectros de respuesta, los cambios en las propiedades dinámicas de los suelos por consolidación, la interacción suelos-estructura y la licuación de arenas. Cada uno de estos temas fue presentado de manera clara y concreta, mostrando metodologías y procedimientos aceptados en el diseño sísmico de edificaciones y proyectos de infraestructura.

Finalmente, hubo una sesión de preguntas y respuestas muy nutrida y enriquecedora para los asistentes, lo que permitió profundizar en los temas tratados y aclarar dudas. En resumen, el curso fue una valiosa oportunidad de actualización y aprendizaje para los profesionales de la geotecnia

Primera Conferencia Concepción Mendizábal Mendoza

El 23 de junio del presente año, en el marco de la conmemoración del Día Internacional de la Mujer en la Ingeniería, la Sociedad Mexicana de Ingeniería Geotécnica llevó a cabo la Primera Conferencia Concepción Mendizábal Mendoza, creada como un reconocimiento a la trayectoria de la primera ingeniera mexicana, quien se destacó en el siglo pasado por su gran trabajo, entrega y compromiso con la profesión, con aportaciones en el ámbito de la enseñanza y la práctica profesional.

Inspirada en el legado de esta gran mujer, la Primera Conferencia Concepción Mendizábal Mendoza reconoció la destacada labor de Norma Patricia López Acosta, secretaria académica del II UNAM e investigadora titular de dicha entidad, quien es pionera en México en los estudios y diseños de pilas de energía; ha realizado destacadas contribuciones al estudio del flujo de agua en suelos y al comportamiento de suelos parcialmente saturados.

El auditorio José Luis Sánchez Bribiesca del Instituto de Ingeniería de la UNAM fue la sede de esta conferencia, a la que asistieron cerca de 100 personas de distintas organizaciones

gremiales y de los sectores público y privado. Durante el registro, los participantes recibieron promocionales de las firmas patrocinadoras: Amanco Wavin, Berma, Cimentec-IEC, Gerdau Corsa, IGM-Itasca, Ingeum y Keller, a las que la SMIG agradece su valioso apoyo y respaldo a las ingenieras mexicanas.

❘ Núm. 269 Septiembre
42 32 1 2 3 26 10 17 20 Ir a TexTo CorrIdo I r a T ex T o C orr I do

La inauguración estuvo a cargo de Ricardo Ortiz Hermosillo, presidente de la SMIG; Rosa María Martínez Zamora, directora del II UNAM; Mariana Gómez, copresidenta del Capítulo México de Mujeres en Cimentaciones Profundas del Deep Foundation Institute; Natalia del Pilar Parra Piedrahita, vicepresidenta de la SMIG, y Miguel Mánica Malcom, secretario de la SMIG, como maestro de ceremonias.

Gabriel Auvinet Guichard presentó a la conferencista resaltando sus cualidades y méritos en sus primeros años de ejercicio de su especialidad. La conferencia, que tuvo por título “Cimentaciones termoactivas en México: diseño, implementación, retos y oportunidades”, despertó el interés de los asistentes por el gran potencial de aplicación y desarrollo que representa para México. La primera conferencista Concepción Mendizábal Mendoza recibió de manos del presidente de la SMIG una medalla y un diploma en reconocimiento de su trayectoria. Acto seguido, los

asistentes se trasladaron a la terraza de la Torre de Ingeniería de la UNAM, donde se proyectó un emotivo video que refleja la historia profesional y personal de López Acosta mediante fotografías y mensajes de personas importantes en su formación. Luego, se llevó a cabo el foro Mujer en la Ingeniería, y en tal contexto Martha Patricia Ramírez Mercado impartió la conferencia “El género y su impacto en la vida profesional de las ingenieras”. Finalmente, se dio lugar a la comida conmemorativa del Día Internacional de la Mujer en la Ingeniería.

La Conferencia Concepción Mendizábal Mendoza es un reconocimiento justo y necesario para honrar la trayectoria de la primera ingeniera mexicana, sus logros y su legado, así como el de muchas otras mujeres que han hecho importantes contribuciones a este campo y son inspiración para las futuras generaciones de mujeres científicas y líderes tecnológicas.

El evento puede verse en: youtu.be/DNmKfnK4HCk

Homenaje a Guillermo Springall Cáram

El viernes 23 de junio se llevó a cabo un homenaje a Guillermo

Springall Cáram, un ingeniero que desarrolló un trabajo gremial muy amplio durante el tiempo que perteneció a la SMIG. Fue vocal durante el bienio 19691970 de la Sociedad Mexicana de Mecánica de Suelos (SMMS) y presidente en el bienio 1975-1976. Como expresidente de la SMMS formó parte de su Consejo Con-

sultivo, y a partir de 1993 de su Consejo de Honor. De 1997 a 2001 fue vicepresidente por Norteamérica de la Sociedad Internacional de Mecánica de Suelos e Ingeniería Geotécnica, y desde 2011 trabajó activamente en el Consejo Editorial de la revista Geotecnia de la SMIG.

Durante este homenaje se entregó un número especial de la revista Geotecnia que fue dedicada al ingeniero Springall,

donde se publican semblanzas desde los puntos de vista familiar (escrita por Luby Springall), profesional (escrita por Jaime Martínez) y gremial (escritas por Gabriel Auvinet y Walter Paniagua). También se incluyen algunos de sus artículos técnicos relativos a temas que el ingeniero trabajó durante su larga vida profesional.

El homenaje se organizó en tres momentos. El primero correspondió a la

Septiembre - Noviembre 2023
43 38 41 43 44 45 47 48 40 42 I r a T ex T o C orr I do

participación de los invitados en la mesa del presídium: Jorge Castilla Camacho, Walter Paniagua Zavala, William van Impe (su participación fue mediante un emotivo mensaje grabado), Jaime Martínez Mier, Gabriel Auvinet Guichard y Guillermo Springall del Villar (Billy Springall). En el segundo momento se pre -

sentó un video homenaje, que fue elaborado por Giovanni Quintos (vocal de la actual Mesa Directiva de la SMIG) con la colaboración de Alejandro Springall.

En el último momento del homenaje participó el Cuarteto de Música de la Orquesta Sinfónica del Palacio de Minería, que presentó diferentes piezas de la

música que fue del agrado del ingeniero Guillermo Springall Cáram.

En el homenaje estuvieron presentes Lourdes del Villar, esposa de Guillermo Springall Cáram; la familia Springall del Villar; familiares y amigos del ingeniero y asociados de la SMIG. Se concluyó el homenaje con un vino de honor y canapés

Casos para detección de grietas empleando

métodos geofísicos

El pasado jueves 6 de julio, la SMIG y el Colegio de Ingenieros Geofísicos organizaron el desayuno-plática “Casos para detección de grietas empleando métodos geofísicos”. El evento se llevó a cabo en la casa sede de la SMIG, y contó con la participación de los ingenieros geofísicos David Camargo Guzmán, Cristian Merino Camargo, Roberto Antonio Ortega Guerrero, Alejandro Navarro Guerrero y Mario Benhumea León.

Los asistentes tuvieron la oportunidad de adentrarse en fascinantes experiencias sobre distintos proyectos en los que fue necesaria la detección de grietas utilizando métodos geofísicos. Los ponentes compartieron casos de estudio reales y experiencias prácticas; brindaron una visión integral sobre las técnicas empleadas y los retos a los que se enfrentan los profesionales relacionados con la geotécnica.

La plática introductoria despertó un gran interés entre los asistentes, quienes participaron activamente en la sesión de preguntas y respuestas, donde se generó un enriquecedor intercambio de ideas.

El evento fue un éxito en términos de asistencia y participación, con lo que se demostró el compromiso del Colegio de Ingeniero Geofísicos y de la SMIG en promover la actualización y el intercambio de conocimientos en el campo de la ingeniería de suelos.

Los asistentes valoraron la oportunidad de aprender de expertos reconocidos y de establecer contactos con colegas del ámbito. Esperamos que este tipo de actividades sigan impulsando el desarrollo y la difusión de esta disciplina en nuestro país

❘ Núm. 269 Septiembre
44 32 1 2 3 26 10 17 20 I r a T ex T o C orr I do

Noticias de la Vicepresidencia por Norteamérica de la ISSMGE

El 12 de agosto pasado se llevó a cabo la tercera reunión presencial de la Mesa Directiva de la Sociedad Internacional de Mecánica de Suelos e Ingeniería Geotécnica (ISSMGE, sus siglas en inglés) en las instalaciones de la Universidad Nacional Euroasiática en la ciudad de Astaná, Kazajstán.

Allí se planeó la reunión del Consejo Internacional, que se llevaría a cabo al día siguiente, principalmente en los temas de agenda, informes de los vicepresidentes de las diferentes regiones y de los comités de mesa directiva, la incorporación de la ISSMGE en una asociación sin fines de lucro y el presupuesto 2023.

En relación con la incorporación de la sociedad, se presentaron los resultados de la investigación del proceso que realizó un despacho londinense de abogados, especialistas en este tema, que fue consultado para el efecto. Se revisó el estado actual de la sociedad, así como

los riesgos de seguir con este estatus. Se analizó la conveniencia de convertir a la ISSMGE en una compañía de garantía limitada, con base en Londres, cuyos propietarios serían las sociedades miembro; los artículos de la nueva sociedad serían los estatutos actuales. Además, se plantearon las limitaciones de esta incorporación, así como el mecanismo que se seguiría para llevar a cabo dicha propuesta. Se preparó una presentación para el Consejo Internacional en la que, como conclusión, se solicitaría la moción positiva para continuar con el proceso. A continuación, se prepararían los artículos de la nueva asociación para someterlos a revisión de las sociedades miembro; esta actividad puede tomar de 3 a 4 semanas. Se propondrá una reunión en línea del Consejo Internacional, alrededor del 15 de noviembre de 2023, para una votación al respecto, con la idea de iniciar la gestión con la nueva organización a partir del 1º de enero de 2024.

Se propuso la creación de un nuevo comité de nivel mesa directiva dedicado a las publicaciones de la ISSMGE: memorias de congresos internacionales y regionales y derivadas de comités técnicos; revista de casos historia; boletín; revista de avances en la investigación (en proceso de creación); otros documentos, como Lexicon, Manual de publicaciones, etc. En caso de aprobarse en una junta posterior, se nombrarán el presidente, vicepresidente, miembro de enlace con la mesa directiva y editores.

También se acordó que los congresos internacionales se lleven a cabo cada cuatro años a partir de 2026 en Viena, sin tomar en cuenta el año que se atrasó el último congreso en Sídney. La siguiente junta en persona se programó para el 7 de mayo de 2024 en Osaka, Japón.

El 13 de agosto se llevó a cabo la reunión del Consejo Internacional de la ISSMGE en las instalaciones de la Universidad Nazarbayev; asistieron 34 delegados, con 19 representantes, para un total

Septiembre - Noviembre 2023
45 38 41 43 44 45 47 48 40 42
Ir a TexTo CorrIdo

de 53 votos válidos. El orden del día, así como los documentos relacionados, se enviaron a las sociedades miembro oportunamente, y pueden consultarse en www.issmge.org/astana-council-meeting-papers. A continuación se reportan los puntos más destacados.

Se realizó el cambio de secretario general, ya que Neil Taylor renunció al cargo el año pasado después de 24 años de servicio; en su posición entró Andrew McNamara. Como un reconocimiento especial, la mesa directiva acordó entregarle a N. Taylor la Medalla a la Trayectoria, instituida recientemente.

Respecto a la incorporación de la ISSMGE, G. Scholey (vicepresidente por Australasia) expuso los argumentos a favor y en contra, que fueron analizados el día anterior; la respuesta del Consejo fue positiva, excepto por dos sociedades: Rusia (que rechazó la propuesta) y Kazajstán (que se abstuvo). Al contar con mayoría de votos, se procederá a elaborar los artículos de la nueva asociación, con base en los estatutos actuales. Corresponderá a los vicepresidentes de cada región informar a cada sociedad miembro la situación a detalle, así como aclarar las dudas o encauzar los cuestionamientos pertinentes.

Se presentó un video promocional, producido en México, que forma parte de una campaña de mercadotecnia para

atraer nuevas sociedades miembro a la ISSMGE. En relación con el proyecto de la Cápsula del Tiempo (Heritage Time Capsule), se distribuyó un folleto explicativo de la fase 1, Contribuciones. Se prepararán otros para las siguientes etapas.

El delegado de Austria, Helmut Schweiger presentó un resumen de los preparativos para el XXI Congreso Internacional de Mecánica de Suelos e Ingeniería Geotécnica, que se llevará a cabo del 14 al 19 de junio de 2026 en Viena, Austria. Se otorgará el espacio para artículos, de acuerdo con lo estipulado por la ISSMGE en congresos anteriores; la

revisión de los artículos estará a cargo de cada sociedad miembro, y la edición de las memorias será únicamente digital, con un proceso interno.

Del 14 al 18 de agosto se llevó a cabo el 17º Congreso Regional Asiático con 580 asistentes. Varios miembros de la mesa directiva de la ISSMGE participaron con conferencias magistrales y especiales, así como presidiendo sesiones técnicas; Walter Paniagua estuvo a cargo de la sesión “Geotecnia, ingeniería y tecnología del transporte”. Las memorias del congreso pueden descargarse, sin costo, en el sitio www.17arc.org

❘ Núm. 269 Septiembre
46 32 1 2 3 26 10 17 20

Premios “Javier Barros Sierra” y “Miguel A. Urquijo”

El libro Temas selectos de análisis numérico aplicados a la ingeniería geotécnica , coordinado por Rigoberto Rivera Constantino y editado por la SMIG con motivo de su 65° aniversario, se hizo acreedor del premio “Javier Barros Sierra” al Mejor Libro de Ingeniería Civil 2023, otorgado por el Colegio de Ingenieros Civiles de México (CICM).

Asimismo, el artículo “Desplazamientos horizontales en excavaciones hechas en la Ciudad de México”, escrito por Walter

Iván Paniagua Zavala y Felipe de Jesús Jiménez Ramírez, obtuvo la presea “Miguel A. Urquijo”, que junto con el premio “José A. Cuevas” distingue a los dos mejores artículos técnicos publicados durante el año 2022.

Así lo hizo saber el presidente del XXXIX Consejo Directivo del CICM, Jorge Serra Moreno, mediante sendos comunicados oficiales en los que informa que el consejo que él preside decidió por unanimidad otorgar dichos premios.

Serra Moreno felicitó a los autores y pidió que, en el caso del libro, se haga extensiva la felicitación a los coautores. “Sabemos de antemano que este libro trascenderá el ámbito de nuestra profesión y aportará al desarrollo de la infraestructura de nuestro México”. Además, invitó a los premiados a “seguir enalteciendo el prestigio de la ingeniería civil mexicana”.

El premio consiste en un diploma y una medalla alusiva, que se entregarán en ceremonia especial

Capítulos estudiantiles

LICENCIATURA DE LA UNIVERSIDAD NACIONAL AUTÓNOMA DE MÉXICO

El pasado 9 de junio se llevó a cabo la toma de protesta del Capítulo Estudiantil de la Licenciatura de la UNAM ante la SMIG, dirigida por Daniela Mendoza.

La inauguración estuvo a cargo de Marcos Trejo Hernández, secretario académico de la División de Ingeniería Civil y Geomática de la Facultad de Ingeniería, quien agradeció la presencia de autoridades y estudiantes y destacó la importancia de la participación de los jóvenes en la sociedad y su compromiso con la formación de las nuevas generaciones.

A continuación, Ricardo Ortiz Hermosillo, presidente de la SMIG, tomó la palabra para saludar a las autoridades presentes y manifestar su satisfacción por la creación de este capítulo estudiantil, enfatizando la importancia de la formación académica y el compromiso con la excelencia en el campo de la geotecnia.

La conferencia magistral estuvo a cargo de Agustín Demeneghi Colina, quien compartió sus conocimientos sobre las cimentaciones en la Ciudad de México. Demeneghi cuenta con una distinguida trayectoria profesional; es profesor en la División de Ingeniería Civil y Geomática de la Facultad de Ingeniería de la UNAM y presidente del Comité de Interacción Suelo-Estructura de la SMIG.

Posteriormente, Christian Coronado, presidente saliente del capítulo, informó de las actividades realizadas durante su gestión. Los nuevos integrantes de la mesa directiva del capítulo estudiantil protestaron cumplir y hacer cumplir los estatutos que rigen a las organizaciones estudiantiles de la SMIG, y reafirmaron su compromiso con la ética profesional y el desarrollo de la ingeniería geotécnica en México.

La toma de protesta culminó con la intervención del nuevo presidente del capítulo estudiantil, Alder Rendón Fuentes, quien habló sobre las actividades a desarrollar durante su gestión

Septiembre - Noviembre 2023
Ricardo Enrique Ortiz Hermosillo, Natalia del Pilar Parra Piedrahita, Giovanni Alejandro Quintos Lima, Yoleida Suárez.
47 38 41 43 44 45 47 48 40 42 Ir a TexTo CorrIdo Ir a TexTo CorrIdo

2023

Septiembre 9th International Conference, Innovative Geotechnologies for Energy Transition Londres, Reino Unido

12-14

www.osig2023.com

13 Septiembre Conferencia “El rol del flujo de agua subterránea en la energía geotérmica” En línea

www.smig.org.mx

14 Septiembre Curso “Sistemas de protección para taludes” Ciudad de México

www.smig.org.mx

18-19 Septiembre México a través de los sismos Ciudad de México

www.smis.org.mx

25 Septiembre 26 Octubre

Curso “Interacción suelo-estructura para la práctica profesional”

Ciudad de México

www.smig.org.mx

29 Septiembre Primer Concurso Internacional de Fotografía en la Construcción Geotécnica

Ciudad de México

www.smig.org.mx

9-14 Octubre 15th ISRM International Congress in Rock Mechanics Salzburgo, Austria

www.isrm.net

19-20 Octubre 6° Simposio Internacional de Cimentaciones Profundas y Mejoramiento de Suelos Ciudad de México

www.smig.org.mx

1-4 Noviembre XXIV Congreso Nacional de Ingeniería Sísmica Guadalajara, México

www.smis.org.mx

6-12 Noviembre XVIII Congreso Latinoamericano de Estudiantes de Ingeniería Civil

Puebla, México www.coleicoficial.com/events/2023

9 Noviembre IV Foro Internacional Edificaciones Sustentables y la Normalización Ciudad de México info@alianzafiidem.org

14-16

Noviembre 32 Congreso Nacional de Ingeniería Civil Ciudad de México www.congresocicm.com

15-17

Noviembre XIII Simposio Internacional de Estructuras, Geotecnia y Materiales de Construcción

Caibarién, Cuba convencion.uclv.cu/es/event/xiii-simposiointernacional-de-estructuras-geotecniay-materiales-de-construccion-estructuras-2023-190/register

17-18

Noviembre 8° Coloquio de Jóvenes Geotecnistas y 1er Encuentro de Capítulos Estudiantiles Puebla, México www.smig.org.mx

29 Noviembre 1

Diciembre

29 Noviembre 1

Diciembre

5º Congreso Mexicano de Ingeniería de Túneles y Obras Subterráneas Ciudad de México www.amitos.org

7ª Conferencia Internacional de Modelos Mecánicos en Ingeniería Estructural Málaga, España eventos.uma.es/84521/tickets

14-15

Diciembre 5ª Conferencia Internacional de Geotecnia de Hanoi 2023 Ingeniería geotécnica por el desarrollo de infraestructura sostenible

Hanoi, Vietnam geotechn.vn

❘ Núm. 267 ❘ Núm. 269 Septiembre
48 32 1 2 3 26 10 17 20
CALENDARIO

CON LA FUERZA DEL ACERO

SOPORTAMOS ESPACIOS SUBTERRÁNEOS

En Gerdau Corsa promovemos el uso del acero en túneles y lumbreras para crear espacios subterráneos resistentes conforme a demandas técnicas de cada proyecto. gerdaucorsa.com.mx

Marzo - Mayo 2023 Septiembre - Noviembre 2023
38 41 43 44 45 47 48 40 42

Sociedad Mexicana de Ingeniería Geotécnica, A.C.

Mesa Directiva 2023-2024

SIMPOSIO INTERNACIONAL DE CIMENTACIONES PROFUNDAS Y MEJORAMIENTO DE SUELOS

Walter Paniagua, Daniel Martínez, Norma Patricia López, Ricardo Ortiz, Mariana Gómez, Roberto Avelar

Dos Conferencias Magistrales:

EXCAVACIONES Y SISTEMAS DE CONTENCIÓN.

MEJORAMIENTO DE SUELOS.

Temas generales:

1. Cimentaciones Profundas

2. Excavaciones y Sistemas de Contención.

3. Mejoramiento de Suelos.

4. Mesa redonda Consultores y Constructores.

5. Mesa redonda Mujeres en la Ingeniería.

19 Y 20 DE OCT 2023

Turn static files into dynamic content formats.

Create a flipbook
Issuu converts static files into: digital portfolios, online yearbooks, online catalogs, digital photo albums and more. Sign up and create your flipbook.