
Liesituuletin I-75

KÄYTTÖOHJEET
Liesituuletin I-7509-S 90cm rst (90559)
Liesituuletin I-7509-W 90cm valkoinen (92559)
Liesituuletin I-7509-B 90cm mattamusta (93559)

![]()

Liesituuletin I-75

Liesituuletin I-7509-S 90cm rst (90559)
Liesituuletin I-7509-W 90cm valkoinen (92559)
Liesituuletin I-7509-B 90cm mattamusta (93559)

Nämä käyttöohjeet tällä sivulla koskevat useampaa liesituuletinmallia. Asennuskuvat ovat ohjeellisia ja näyttävät yksityiskohtia, jotka eivät ole välttämättä valitsemanne tuotteen mukaisia. Katso tuotekohtaiset tiedot seuraavilta sivuilta.
YLEISOHJEET ASENNUKSESTA
Valmistaja ei vastaa virheellisestä tai huolimattomasta asennuksesta aiheutuvista vahingoista.
Sähkölieden yhteydessä liesituulettimen asennuskorkeudeksi suositellaan min. 650mm. Kattoon asennettavien saarekemallien osalta suosittelemme asennuskorkeudeksi 600 - 800mm liesitason pinnasta. Tällöin asennuskorkeuteen vaikuttaa myös liesituulettimen toimivuuden lisäksi sen käyttömukavuus. Kaasulieden yhteydessä pienin sallittu etäisyys liesitason ja liesituulettimen välillä on 650mm.
Käyttö puuhellan päällä on kielletty muoviosien sulamisvaaran takia
Sähköverkon jännite tulee vastata liesituulettimen arvokilpeen merkittyä arvoa.
Kytke laite vain maadoitettuun pistorasiaan.
Yhdistä liesituuletin hormiin vähintään Ø 125 mm putkella. Suositeltava hormikoko on Ø 160 mm. Jos kyseessä on ulkoisella huippuimurilla varustettu järjestelmä, on hyvä noudattaa huippuimurin valmistajan ilmoittamaa hormin Ø -mittaa. Liesituulettimen poistohormin pitäisi olla mahdollisimman lyhyt ja suora. Liesituulettimen mukana tulee 150 mm (ulkohalkaisija) suora lähtölaippa, sekä 150/120mm sovituslaippa.
Älä yhdistä liesituuletinta savuhormiin (lämmityskattilat, tulisijat, jne.).
Mikäli virtajohto vahingoittuu, saa sen vaihtaa vain valmistaja tai tekninen huoltopalvelu, näin vältetään mahdolliset vaaratilanteet. Korjaustyötä tehtäessä on laite kytkettävä irti sähköverkosta.
Ilmanpoistossa on noudatettava viranomaismääräyksiä.
KÄYTTÖ
Liesituuletin on tarkoitettu vain kotitalouskäyttöön.



650mm



Älä koskaan käytä liesituuletinta muuhun tarkoitukseen kuin, mihin se on suunniteltu.
Älä koskaan jätä avotulta liesituulettimen alle.
Säädä kaasulieden liekki siten, että se kohdistuu vain astian pohjaan eikä sen reunoille.
Syviä paistinpannuja on pidettävä silmällä, sillä ylikuumentunut öljy voi leimahtaa tuleen.
Lapset tai henkilöt, joita ei ole opastettu laitteen oikeaan käyttöön, eivät saa käyttää laitetta.
Liesituulettimen alla ei saa valmistaa liekitettäviä ruokia (tulipalovaara).
Käytön aikana on huolehdittava riittävästä korvausilman saannista.
LED-malleissa valo on hyvin kirkas ja se voi vahingoittaa silmiä suoraan läheltä katsottaessa.
Huolehdi riittävästä korvausilman saannista.
HUOLTO
Laite suositellaan aina irrotettavaksi verkkovirrasta ennen huoltotoimenpiteitä.
Puhdista ja/tai vaihda suodattimet säännöllisen ajan kuluttua (tulipalovaara).
Puhdista liesituuletin kostealla kankaalla ja miedolla, tähän tarkoitukseen sopivalla nestemäisellä pesuaineella.


Ylähorminsuojaputken voi asentaa kummin päin tahansa.
Max. mitta on 1050 kun ilmanpoistoritilät on ylhäällä.
Max. mitta on 930 kun ilmanpoistoritilät on alhaalla piilossa.

Asennuksessa on noudatettava hyviä työtapoja ja varovaisuutta. Asennus suositellaan kahden henkilön tehtäväksi, painavan tuotteen takia.
• Minimietäisyys liesitason ja liesituulettimen alareunan välillä on sähköliedelle 50cm. Kaasuliedelle 65cm.
• Poista rasvasuodattimet ennen asennusta.
• Ota liesituulettimen runko paketista ja laita se työpöydälle ja erota rungon ylä– ja alaosa toisistaan irrottamalla kaksi ruuvia A (Kuva 2).
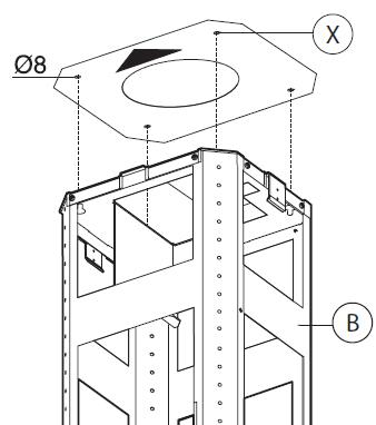
• Teippaa paperinen kattoasennussapluuna kattoon haluamaasi asennuspaikkaan ja katso että nuoli tulee samalle puolelle kuin liesituulettimen käyttöpainikkeet (Kuva 3)
• Poraa sapluunan avulla kattoon neljä Ø8 mm reikää ja kiinnitä reikiin löysästi kolme ruuvia. Jätä kuitenkin X-merkillä ilmoitettu reikä (kuva 3) vielä vapaaksi. Huomaa, että käytettävät ruuvit ja mahdolliset ruuviankkurit pitää olla sopivia kattomateriaaliin ja painavaan asennukseen!
• Mitoita, leikkaa ja asenna poistohormiputki (125 tai 160mm, hankittava erikseen) niin, että se yltää liesituulettimen lähtökaulukseen (Ø150mm) kun liesituuletin on paikallaan. Käyt apunasi kuvan 13 mittatietoja. Huom! Poistohormiputki mahdollisine muunto– tai sovitusliitinkomponentteineen on ostettava erikseen rautakaupasta. Savo suosittelee hormiputkiasennuksessa SISÄ/ULKOLIITIN BDEM-4-012-230 (125mm poistohormille) tai BDEM-4-016-230 (160mm poistohormille) käyttämistä helpottamaan asennusta. Tämä helpottaa kiinteän katosta tulevan kierresaumaputken ja liesituulettimen lähtökauluksen yhdistämistä. Sisätilaan kierrättävässä ratkaisussa poistohormiputki on lyhyt ja se yhdistää liesituulettimen lähtökauluksen ylempänä olevaan ilmanohjaimeen M (kuva 12).
• Ota rungon yläosa B (kuva 4) ja käännä runko-osaa kunnes se on ruuvien osalta kohdallaan ja kiinnitä puuttuva neljäs ruuvi (X) ja kiristä lopuksi kaikki neljä ruuvia. Yläosa on nyt tukevasti kiinni katossa.
• Ota teleskooppirungon alaosa C ja liitä se rungon yläosaan B (kuva 5). Säädä rungon korkeus oikeaksi mukana tulevilla kahdeksalla ruuvilla G (kuva 6), kuvien 14 ja 15 mukaisilla mittaohjeilla.

ASENNUSOHJEET (JATKUU)
• Sisätilaan palauttavassa versiossa kiinnitä ilmanohjain M kuvan 12 mukaisesti.
• Aseta ylempi peiteputki B paikalleen ruuveilla (kuva 7).
• Liu’uta alempi peiteputki ylös, osittain ylemmän peiteputken päälle (kuva 8). Kiinnitä se väliaikaisesti teipinpaloilla, jotta se pysyy ylhäällä (kuva 8).
• Löysää ruuveja O max. 3mm (kuva 8). Kiinnitä liesituuletin teleskooppirunkoon, varmista, että liesituuletin asettuu teleskooppirungon alaosan koloihin (O). Kiristä ruuvit N ja O.
• Poista väliaikaset teippituet ja laske alapeiteputki alas (kuva 10).


Ilmanhajotin sisätilaan palauttavassa asennustavassa.
Kuva 1B

















A = liesituulettimen korkeus = 60mm
X = rungon kokonaispituus (yläosa + alaosa) säädettävissä
Z = rungon alaosan alareunan ja liesituulettimen yläpinnan väli = 80mm
A+X+Z = liesituulettimen alapinnan korkeus katosta

Kylmäsuojaventtiili (eli perhospelti)
Kylmäsuojaventtiili estää kylmän ilman takaisinvirtauksen asuntoon poistohormista.
Jos teet asennuksesta sisätilaan kierrättävän, on kylmäsuojaventtiili turha ja se kannattaa poistaa.

Kuva: Kylmäsuojaventtiilin kiinnitys moottorin lähtökaulukseen
Aktiivihiilisuodattimen asentaminen
Kuvassa Long Life aktiivihiilisuodattimen asentaminen. Poista aktiivihiiliyksikkö tukikehikosta ennen aktiivihiiliyksikön pesua ja regenerointia uunissa (tukikehikko ei kestä uunin lämpötiloja).
Katso pesu- ja regenerointiohjeet suodattimen mukana tulleesta ohjeistuksesta. Kertakäyttöinen aktiivihiilisuodatin asennetaan samalla tavalla, mutta sitä ei pestä eikä regeneroida, vaan vaihdetaan aina uuteen.



OMINAISUUDET
• Saareke (kattoasennus)
• Energiatehokkuusluokka A
• Rasvansuodatuksen erotusasteen luokka A
• Elektroniset käyttökytkimet
• Valaistus 4 x 1,3 W LED (4000 K)
• Ajastustoimintoja, mm. Jaksokäyttö (10 min päällä, 50min pois päältä joka tunti)
• Metalliset pestävät rasvasuodattimet 3 kpl
• Rasva- ja aktiivihiilisuodattimen puhdistusmuistuttaja (30h /120h)
• Poistokanavan halkaisija 150/125 mm (125mm muuntoliittimellä)
• Kylmäsuojaventtiili (perhospelti) vakiovaruste
• Moottoriteho 300–600 m3/h, int. 732 m3/h
• Ottoteho 253W (230VAC)
• Äänitaso 46-62 dB(A), int.68 dB(A)
• Aktiivihiilisuodatinmalli HS-45 (tuotekoodi 90271), paketti sisältää kaksi suodatinta (lisätarvike)
• Aktiivihiilisuodatinmalli Long Life LL-45 (tuotekoodi 90200), paketti sisältää kaksi suodatinta (lisätarvike)
• 898 x 600 x 790-1030 mm (l x s x k)
Kytkentä sähköverkkoon
Laite on varustettu suojausluokan 1 (Schuko) mukaisella maadoitetulla pistotulpalla.
Liesituulettimien Energiamerkki EU:n ekosuunnitteludirektiivin (65/2014) mukaisesti




Liesikuvussa on elektroninen säätöjärjestelmä. Energiankulutuksen optimoimiseksi 4. nopeus (tehoasento, intensiivinopeus) siirtyy EU-direktiivien vaatimusten mukaisesti automaattisesti alemmalle nopeudelle (lähtönopeudelle) 6 minuutin jälkeen. Intensiivinopeus ilmaistaan vilkuttamalla E-painiketta toiminnon ajan. Liesituulettimen ominaisuuksiin kuuluvat myös jaksokäyttötoiminto sekä hälytys– ja jälkikäyttöajastustoiminnot.
Mikäli liesikuvun käytön aikana sattuu sähkökatkos, laite (valot ja moottori) sammuvat. Tämän jälkeen laite tulee käynnistää uudelleen.
KÄYTTÖKYTKIMET

Painike A Valot päälle ja pois. Suodatinhälytykset, katso alla.
Painike B Puhaltimen pysäytys.
Painike C Puhallinnopeus 1.
Painike D Puhallinnopeus 2.
Painike E
Painike F (T)
Puhallinnopeus 3 ja 4. Painamalla painiketta noin 2 sekunnin ajan, käynnistyy intensiivinopeus (= nopeus 4). Puhallinmoottori käy silloin täysillä ja palaa takaisin alkuperäiseen nopeuteensa noin 6 minuutin kuluttua. Intensiivinopeuden ollessa valittuna, painikkeen E led vilkkuu.
Jälkikäyttöajastintoiminto 15 min. Paina painiketta ’T lyhyesti puhaltimen ollessa päällä. Kun tämä toiminto on valittuna, sammuttaa puhallin moottorin 15 minuutin jälkeen ajastuksesta. Ajastintoimintoa ei voi valita jos intensiivinopeus (4. nopeus) on valittuna.
Jaksokäyttöajastintoiminto (katso alla).
JAKSOKÄYTTÖTOIMINTO
Jaksottainen käyttö otetaan käyttöön painamalla F(T)-painiketta kahden sekunnin ajan liesikuvun puhaltimen ollessa pysäytettynä. Puhaltimen nopeus 1 on päällä nyt aina 10 minuutin ajan joka tunti, kunnes toiminto keskeytetään painamalla mitä tahansa painiketta paitsi valoja. 10 minuutin puhallusjakson ollessa päällä, vilkuttaa liesituuletin C ja F painikkeiden valoja samanaikaisesti. 50 min taukojakson aikana vain F(T) painikkeen valo palaa (ei vilkuta).
SUODATINHÄLYTYKSET (30h ja 120h)
Kun A- painikkeen merkkivalo vilkuttaa noin 2s sykleissä, pitää rasvasuodattimet puhdistaa. Hälytys kuitataan painamalla painiketta noin 5s ajan. Hälytys aktivoituu uudestaan 30 käyttötunnin kuluttua.
Kun A-painikkeen merkkivalo vilkuttaa noin 0,5s sykleissä, pitää aktiivihiilisuodatin vaihtaa. Hälytys kuitataan painamalla painiketta noin 5s ajan. Hälytys aktivoituu uudestaan 120 käyttötunnin päästä.

! Ennen puhdistus- tai huoltotöitä irrota laite sähköverkosta !
LIESITUULETTIMEN PUHDISTUS
Puhdista vähintään kahden kuukauden välein tulipalovaaran ehkäisemiseksi.
ULKO-OSAN PUHDISTUS:
Käytä haalealla vedellä ja miedolla pesuaineella (maalatut liesituulettimet) kostutettua rättiä. Teräspintaisen liesituulettimen puhdistamiseen käytä sille tarkoitettuja erikoistuotteita.
SISÄOSAN PUHDISTUS:
Käytä etyylialkoholilla kostutettua rättiä (tai sivellintä).
Älä käytä hankaavia ja syövyttäviä tuotteita (esimerkiksi metallisieniä, kovia harjoja, voimakkaita pesuaineita jne.)
RASVASUODATTIMIEN PUHDISTUS (30 käyttötuntia): Irrota rasvasuodattimet painamalla suodattimen lukitussalpaa kahvansuuntaisesti taaksepäin ja vedä suodatin pois alakautta.
Puhdista käsin tai astianpesukoneessa miedolla pesuaineella. Mikäli suodatin pestään astianpesukoneessa, se saattaa haalistua, mikä ei kuitenkaan vaikuta sen toimintaan.
AKTIIVIHIILISUODATTIMIEN VAIHTO (120 käyttötuntia):
Irrota rasvasuodatin. Vedä hiilisuodatin irti kehikostaan ja asenna uusi paikalleen. Puhdista samalla rasvasuodatin.
Kertakäyttöinen aktiivihiilisuodatinmalli HS-45.

VALAISIMIEN VAIHTAMINEN
Laitteessa on erittäin pitkäikäiset LED-valaisimet. Mikäli valaisin on vaurioitunut, tulee valtuutetun huoltomiehen tai vastaavan pätevyyden omaavan henkilön vaihtaa valaisin uuteen.
TOIMINTAHÄIRIÖT
Tarkista seuraavat seikat ennen kuin olet yhteydessä huoltopalveluun:
• onko sähkönsyötöt katkenneet (liesituuletin ja puhallinlaite)
• onko jokin tehoporras valittuna
Jos liesituuletin vetää huonosti:
• onko valittu moottorin nopeus riittävä tilassa olevan käryn ja höyryn poistamiseen
• riittääkö keittiön korvausilmansaanti
• ovatko rasvasuodattimet puhtaat
• onko asennettu takaiskuventtiili (perhospelti) toimintakuntoinen


Tyyppikilpi löytyy liesituulettimen sisältä, poista ensin rasvasuodattimet.


ASIAKASPALVELU
Sähköposti: info@savo.fi, huolto@savo.fi
Puh: 0207-181 450
Valtuutetut huoltoliikkeet verkkosivustollamme: www.savo.fi
TAKUUEHDOT
www.savo.fi
VALMISTAJA
Savo Design & Technic Oy Kisällintie 3, 01730 VANTAA
Tämä laite on merkitty sähkö– ja elektroniikkalaiteromusta annetun Euroopan unionin direktiivin 2002/96/EY mukaisesti. Tämän tuotteen asianmukainen hävittäminen auttaa estämään mahdolliset kielteiset ympäristö– ja terveysvaikutukset, joita vääränlainen jätteenkäsittely voisi muutoin aiheuttaa. Tuotteeseen merkitty tunnus osoittaa, että tätä tuotetta ei saa käsitellä kotitalousjätteenä. Sen sijaan se tulle toimittaa sähkö–ja elektroniikkalaiteromun keräyspisteeseen. Tuote tulee hävittää paikallisten jätehuoltomääräysten mukaisesti. Lisätietoja tämän tuotteen käsittelystä, keräämisestä ja kierrätyksestä saa kunnan ympäristöviranomaisilta, jätehuoltoyhtiöstä ja liikkeestä, josta tuote on ostettu.

