IT-ES-i3 義大利電動昇降衣架 安裝說明書

Page 1


ISTRUZIONI DI MONTAGGIO

ASSEMBLY

MONTAGE

MONTAGE

MONTAJE

SERVETTO ELETTRICO i3

ISTRUZIONI DI MONTAGGIO

WARNING: Prima di procedere con il montaggio del prodotto, leggere attentamente tutto il manuale di istruzioni e le indicazioni di sicurezza. Utilizzare il Servetto Elettrico i3 in ambienti chiusi e asciutti, nell'ambito dei dati tecnici ammessi da Servetto srl e unicamente in abbinamento con l'alimentatore in dotazione.

2 NORME DI SICUREZZA

 L'apparecchio non è destinato a essere usato da persone (bambini compresi) le cui capacità fisiche o sensoriali o mentali siano ridotte, oppure con mancanza di esperienza o di conoscenza, a meno che esse abbiano potuto beneficiare, attraverso l'intermediazione di una persona responsabile della loro sicurezza, di una sorveglianza o di istruzioni riguardanti l'uso dell'apparecchio. I bambini devono essere sorvegliati per sincerarsi che non giochino con l'apparecchio.

 Non collegare il Servetto Elettrico i3 alla rete elettrica se la spina o il cavo di alimentazione dell'alimentatore (F) sono danneggiati, inoltre se esso è danneggiato deve essere sostituito da un cavo speciale, disponibile presso il suo costruttore o il servizio di assistenza tecnica.

 Non lasciare il Servetto Elettrico i3 collegato alla rete elettrica quando vi assentate per periodi lunghi.

 La spina del cavo di alimentazione dell'alimentatore (F) dovrà risultare facilmente accessibile per agevolare un'eventuale sua disconnessione.

 Accertatevi che la spina del cavo di alimentazione dell'alimentatore (F) sia ben inserita nella presa e che ci sia corrente elettrica.

 Il Servetto Elettrico i3 deve essere collegato a una rete elettrica la cui tensione, tipo di corrente e frequenza siano conformi alle indicazioni riportate sulla targhetta dell'alimentatore.

 Non provate mai a ricaricare, a riscaldare o a buttare sul fuoco le batterie perché potrebbero scoppiare.

 Non permettete ai bambini di giocare con le batterie e le parti dell'imballo. Le buste di plastica, i cartoni, ecc... possono essere causa di soffocamento.

 Non aprite né il Servetto Elettrico i3 (A,B,C) né l'alimentatore (F): all'interno c'è corrente che può essere causa di scosse elettriche e ciò ne fa decadere la garanzia.

 Non posizionate il Servetto Elettrico i3 e i relativi telecomandi in zone umide, con presenza di vapori o possibili spruzzi d'acqua.

 Non collegare il Servetto Elettrico i3 vicino a fonti di calore come caloriferi, stufe o apparecchi che producono calore.

 Non fate eseguire controlli o riparazioni da personale non specializzato, ma rivolgetevi al rivenditore.

 Pulire i bracci, il trasformatore e il telecomando esclusivamente con un panno asciutto, in quanto infiltrazioni di umidità e detergenti aggressivi possono danneggiare l'elettronica.

 Durante il movimento non allungare le mani/non ostruire con alcuna parte del corpo e/o oggetto l'area di lavoro del Servetto Elettrico i3

 Ne il trasformatore ne qualsiasi altro cavo devono entrare in contatto con i componenti in movimento.

 Il Servetto Elettrico i3 è da utilizzare solo con l’unità di alimentazione fornita e deve essere alimentato unicamente ad una bassissima tensione di sicurezza corrispondente alla marcatura sull’apparecchio.

WARNING: Non aprire i bracci, in caso di apertura esiste la possibilità di lesioni. L’apertura dei bracci fa decadere la garanzia del prodotto.

WARNING:Nel caso in cui il Servetto Elettrico i3 non funzioni o si blocchi in una posizione diversa da quella verticale, non muovere manualmente la barra porta abiti, ma rivolgersi all’installatore. Eventuali rotture causate da azionamenti manuali fanno decadere la garanzia del prodotto.

3 CARATTERISTICHE TECNICHE

Alimentazione Servetto Elettrico i3

Voltaggio: 100-240 V

Frequenza: 50-60 Hz

Potenza: 60 W

Tensione di uscita: 12 V

Posizionare l'alimentatore, in una zona lontana da fonti di umidità Per una corretta aerazione è necessario osservare una distanza di sicurezza di 50 mm da eventuali ostacoli, altrimenti, con un uso continuativo, sussiste il pericolo di surriscaldamento dell'alimentatore. Inoltre l'alimentatore deve essere accessibile per eventuali opere di manutenzione.

Alimentazione Telecomandi

Batteria al litio da 3V, cod. CR2032

3.1 CONTENUTO DELLA CONFEZIONE

A - Braccio sinistro

B - Braccio destro

C - Centralina

D - Cavi Collegamento braccio - centralina (2pz.)

E - Sensore di sicurezza (1 pz.)

F - Alimentatore

G - Piastrine di fissaggio

H - Tubo porta-abiti estensibile

I - Dima di foratura (2 pz.)

L - Viti di fissaggio (12 pz.)

M - Viti degli angolari (2 pz.)

N - Telecomando monotasto (già programmato)

O - Tappi tubo

Fig. 1

3.2 COLLEGAMENTI ED INDICATORI LED

1 – Led rosso di segnalazione sensore di sicurezza Nr. 1

2 – Led rosso di segnalazione sensore di sicurezza Nr. 2

3 – Connettore per domotica

4 – Led arancione di segnalazione attivazione domotica

5 – Led verde di segnalazione presenza alimentazione

6 – Led rosso di segnalazione radio

7 – Led blu di segnalazione bluetooth

8 – Led rosso di segnalazione esclusione sensori di sicurezza

9 – Pulsante per esclusione sensori di sicurezza

10 – Connettore di alimentazione

11 – Connettore per il braccio di destra

12 – Connettore per il braccio di sinistra

13 – Connettore per il sensore di sicurezza Nr. 1

14 – Connettore per il sensore di sicurezza Nr. 2

15 – Pulsante per:

- Azionamento manuale

- Programmazione Telecomando

- Cancellazione Telecomandi memorizzati

Fig. 2
Fig. 3
Fig. 4

3.3 DIMENSIONI

5

Posizionare la centralina in una zona lontana da fonti di umidità. Per un’installazione e connessione dei cavi corretta, è necessario osservare le distanze riportate nella Fig 6

ATTENZIONE: L'alimentatore e la centralina devono essere accessibile per eventuali opere di manutenzione.

Fig. 6

Fig.

3.4 SCHEMA CABLAGGIO

Schema esplicativo del cablaggio da effettuare per un corretto funzionamento del vostro Servetto Elettrico i3 Nel capitolo 5 viene spiegata la sequenza di installazione e collegamento dei componenti

ATTENZIONE: Collegare il Servetto Elettrico i3 all’alimentazione solamente dopo che si è completato il collegamento di tutti i cavi.

ATTENZIONE: è vietato tagliare o modificare in alcun modo i cavi di collegamento fra le varie parti del prodotto, pena il decadimento della garanzia.

Fig. 7

3.5 ESEMPIO DI INSTALLAZIONE

Esempio di installazione su armadio con cablaggio nascosto del Servetto elettrico i3.

8

In Fig. 9, sono riportate le indicazioni suggerite per la fresatura della spalla in caso di cablaggio nascosto.

Nel caso in cui l’armadio non sia predisposto per il passaggio dei cavi, è possibile sfruttare l’opportuna asola ricavata nella piastrina di fissaggio per far uscire i cavi all’interno del vano armadio Fig. 10

10 Fig. 9

L'installazione e il percorso dei cavi rimangono a discrezione dell'installatore, compatibilmente con la lunghezza dei cavi inclusi nella confezione, non sono ammesse prolunghe o modifiche ai cavi standard. Attenzione: non tagliare i cavi (tagliare/manomettere i cavi comporta il decadimento della garanzia del prodotto).

Fig.
Fig.

4 SENSORE DI SICUREZZA

4.1 FUNZIONAMENTO SENSORE DI SICUREZZA

L’utilizzo di almeno un sensore di sicurezza risulta essere obbligatorio in armadi che abbiano delle ante di chiusura Si consiglia l’adozione del secondo sensore di sicurezza nel caso in cui il vano sia chiuso da due ante.

11

I led Nr. 1 e 2, posti sulla centralina (Fig. 2), indicano lo stato del sensore:

- Led Acceso  Sensore non collegato o occupato (Servetto non effettua nessun movimento)

- Led Spento  Sensore correttamente collegato e libero (Servetto libero di funzionare normalmente)

Si consiglia l’installazione del sensore secondo le specifiche (vedi punto 5.2), in una posizione libera da ingombri, affacciato sull’anta come da specifica (Fig. 11) e con un fissaggio stabile.

Il sensore di sicurezza non rileva la presenza di materiali completamente trasparenti come ad esempio vetro e policarbonato.

ATTENZIONE: nel caso in cui nessun sensore di sicurezza sia collegato o uno o più siano occupati o rilevino un ostacolo, il Servetto Elettrico i3 non funzionerà e la centralina emetterà un doppio “BIP” di avviso quando verrà premuto il tasto di azionamento.

Fig.

4.2 ESCLUSIONE SENSORE DI SICUREZZA

Nel caso in cui il Servetto Elettrico i3 venga utilizzato in cabina armadio/in vani senza ante (fig. 12 ) è possibile escludere il funzionamento dei sensori di sicurezza

12

Per escludere i sensori di sicurezza, bisogna tenere premuto per 10 secondi il tasto Nr. 9 sulla centralina (Fig. 2)

Al rilascio si accenderà il led rosso Nr. 8, da questo momento il Servetto Elettrico i3 funzionerà senza i sensori di sicurezza collegati.

WARNING: Prestare maggiore attenzione al funzionamento del saliscendi senza i sensori, in quanto eventuali ostacoli non verranno rilevati e il servetto non verrà quindi arrestato automaticamente

Servetto declina ogni responsabilità nel caso in cui l’esclusione del sensore di emergenza venga effettuata in casi non idonei e ciò comporti eventuali danni, direttamente o indirettamente, a persone, animali domestici o cose.

Per riattivare il funzionamento dei sensori di sicurezza, premere per 2 secondi il tasto Nr. 9 sulla centralina (Fig. 2) Il led rosso Nr. 8 rimarrà acceso per segnalare che, in precedenza, i sensori sono stati disattivati.

Fig.

5 INSTALLAZIONE

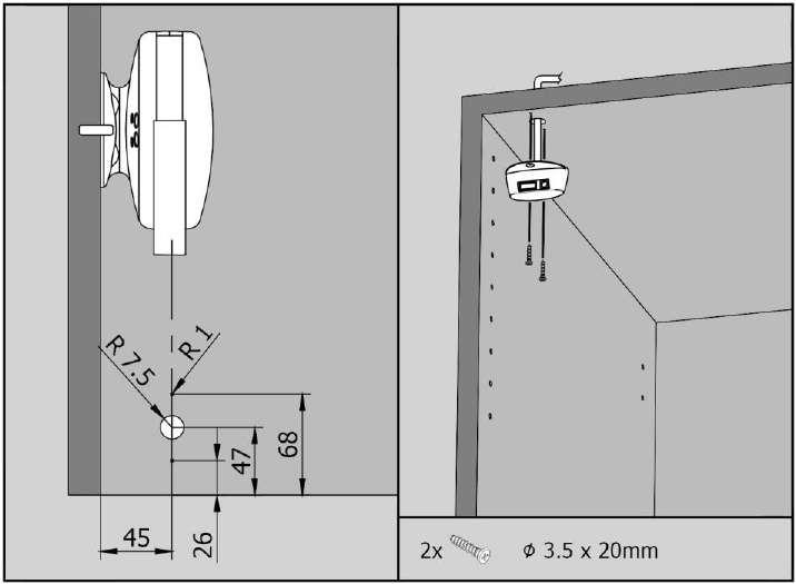
5.1 FORATURA E MONTAGGIO PIASTRINA DI FISSAGGIO

Procedimento di foratura utilizzando le dime fornite in kit e montaggio della piastrina di fissaggio (Fig. 14 – 15)

Fig.13
Fig.14
Fig. 15 - a
Fig.15 - b

5.2 FORATURA E MONTAGGIO SENSORE DI SICUREZZA

Posizione di fissaggio e installazione del sensore di sicurezza (Fig. 17)

Fig. 16
Fig. 17

5.3 MONTAGGIO BRACCI

Collegare i cavi e montare il braccio sulla piastrina di fissaggio, come mostrato nella sequenza di Fig. 18, e collegare l'altra estremità dei cavi alla centralina C (Fig. 1)

18

Collegare eventuali sensori di sicurezza alle prese13 e 14 (Fig. 3) della centralina.

5.4

ATTENZIONE: Verificare che i cavi non siano rovinati o in posizioni che potrebbero inficiare il corretto funzionamento del prodotto. Non tagliare o manomettere in alcun modo i cavi.

CONNESSIONE ALIMENTAZIONE

Collegare l'alimentatore alla linea di alimentazione (110-240V, 50-60Hz). Successivamente collegare l'alimentatore alla centralina, il led verde di segnalazione tensione 5 (Fig. 2) deve accendersi accompagnato da un”BIP”.

Fig.19

Nel caso in cui, una volta inserita l’alimentazione, la centralina emetta continuamente dei “BIP”, verificare la correttezza della connessione dei cavi braccio–centralina Nr. 11, 12 (Fig. 3).

Fig.

5.5 PRIMO FUNZIONAMENTO DEL SERVETTO ELETTRICO i3

Regolare la lunghezza del tubo come mostrato in Fig 20 e bloccare il tubo portabiti ruotando reciprocamente i due tubi

Premere il tasto del telecomando (lettera N Fig. 1), il Servetto Elettrico i3 effettua la corsa di discesa. Inserire i tappi in plastica (lettera O), inserire il tubo (lettera H) ed avvitare le viti negli angolari (Fig 21).

ATTENZIONE: se il Servetto Elettrico i3 non funziona e la centralina emette un doppio “BIP”, verificare di aver installato correttamente i sensori di sicurezza o di averli esclusi correttamente (Cap. 4)

Fig.20
Fig.21

Premete nuovamente il tasto del telecomando per far risalire i bracci. ll Servetto Elettrico i3 è ora installato e funzionante: è possibile caricare il tubo porta abiti.

E' possibile fermare in qualsiasi momento il Servetto Elettrico i3 premendo il tasto del telecomando. Premendo nuovamente il tasto del telecomando, il Servetto Elettrico i3 riprende la corsa in direzione opposta.

E’ inoltre possibile azionare il Servetto elettrico i3 premendo il tasto di azionamento 15 (Fig.2) posto su uno dei due bracci.

ATTENZIONE: se nella fase di risalita il Servetto Elettrico i3 si ferma ed emette due BIP, ciò significa che la portata è stata superata. Premendo nuovamente il pulsante del telecomando, il Servetto Elettrico i3 scenderà, quindi scaricare degli abiti e riprovare.

6 SINCRONIZZAZIONE DEL TELECOMANDO

ATTENZIONE: il telecomando monotasto incluso è già sincronizzato. Ripetere la sincronizzazione solo se necessario.

In caso di telecomando a 4 o 12 tasti (acquistato come optional), effettuare la sincronizzazione come sotto indicato.

Per sincronizzare il Servetto Elettrico i3 con il telecomando desiderato, si deve eseguire la seguente procedura:

1 - Premere il tasto di programmazione (Fig. 22) per 5 secondi, al rilascio si sentirà un doppio “BIP”

2 - Premere il pulsante desiderato del telecomando (Fig. 23), si udirà un altro “BIP”.

Attraverso questa procedura, il Servetto Elettrico i3 ha acquisito il tasto premuto come comando di discesa/salita.

Telecomandi disponibili (vedi Fig. 23):

A) telecomando monotasto, fornito in dotazione

B) telecomando 4 pulsanti, optional (art. SWCO02504)

C) telecomando 12 pulsanti, optional (art. SWCO02512)

Fig.22
Fig.23

Nel caso di telecomando a 4 o 12 pulsanti, ripetere questa operazione per ciascun Servetto Elettrico i3 sincronizzandolo al relativo tasto per acquisire il comando di discesa/salita.

6 1 CANCELLAZIONE DEI TELECOMANDI MEMORIZZATI NEL SERVETTO ELETTRICO i3

Se si desidera cancellare tutti i telecomandi, si deve mantenere premuto il tasto di programmazione (Fig.22) per 10 secondi. Al rilascio del pulsante, tre “BIP” consecutivi indicano che tutti i telecomandi sincronizzati sono stati cancellati E' quindi possibile risintonizzare il telecomando/i desiderato/i

7 SINTONIZZAZIONE BLUETOOTH

Assicurarsi che il Servetto Elettrico i3 sia collegato all’alimentazione.

Scaricare la App “Servetto” (da AppStore / Google Play Store) Aprendo la App, il Servetto Elettrico i3 viene automaticamente rilevato e può quindi essere selezionato ed azionato tramite smartphone

8 SMALTIMENTO

Questo prodotto rientra nel campo di applicazione della Direttiva 2012/19/UE riguardante la gestione dei rifiuti di apparecchiature elettriche ed elettroniche (RAEE).

L’apparecchio non deve essere eliminato con gli scarti domestici in quanto composto da diversi materiali che possono essere riciclati presso le strutture adeguate. Informarsi attraverso l’autorità comunale per quanto riguarda l’ubicazione delle piattaforme ecologiche atte a ricevere il prodotto per lo smaltimento ed il suo successivo corretto riciclaggio. Si ricorda, inoltre, che a fronte di acquisto di apparecchio equivalente, il distributore è tenuto al ritiro gratuito del prodotto da smaltire.

Il prodotto non è potenzialmente pericoloso per la salute umana e l’ambiente, non contenendo sostanze dannose come da Direttiva 2011/65/UE (RoHS), ma se abbandonato nell’ambiente impatta negativamente sull’ecosistema. Leggere attentamente le istruzioni prima di utilizzare l’apparecchio per la prima volta. Si raccomanda di non usare assolutamente il prodotto per un uso diverso da quello a cui è stato destinato, essendoci pericolo di shock elettrico se usato impropriamente.

Il simbolo del bidone barrato, presente sull’etichetta posta sull’apparecchio, indica la rispondenza di tale prodotto alla normativa relativa ai rifiuti di apparecchiature elettriche ed elettroniche.

L’abbandono nell’ambiente dell’apparecchiatura o lo smaltimento abusivo della stessa sono puniti dalla legge.

9 INFO AMBIENTALI

Consigli per il rispetto dell'ambiente

IMBALLI

I materiali utilizzati per l'imballo rispondono alle norme ecologiche vigenti; se non avete problemi di spazio, vi consigliamo di conservare l'imballo del prodotto almeno per il periodo di garanzia. Se invece volete disfarvene, è bene farlo senza danneggiare l'ambiente.

BATTERIE

Le batterie che non sono del tipo ecologico, cioè "verdi", vanno portate nei punti di raccolta e smaltimento previsti per i prodotti inquinanti. in ogni caso, non devono essere disperse nell'ambiente e comunque, per la salvaguardia di questo, è bene usare sempre batterie prive di mercurio.

1. E’ possibile sincronizzare più telecomandi su un Servetto elettrico i3? Si, applicando la procedura di sintonizzazione del telecomando (cap. 6) ad un massimo di 8 telecomandi diversi per ogni Servetto Elettrico i3 Per ogni tasto da sincronizzare, bisogna ripetere la procedura illustrata al cap. 6.

2. E’ possibile collegare il Servetto Elettrico i3 alla domotica o ad un tasto remoto? Si, per collegare il Servetto Elettrico i3 ad un impianto di domotica o ad un tasto remoto monostabile, bisogna acquistare il cavo accessorio (art. DOMOi3ELZ) e gestire l’azionamento del Servetto Elettrico i3 con la chiusura del circuito accessorio.

3. Quando premo il telecomando il Servetto Elettrico i3 emette due BIP ma non scende Il Servetto Elettrico i3 richiede almeno un sensore di sicurezza collegato e libero da ostacoli per funzionare. Verificare quindi che i sensori di sicurezza siano correttamente collegati e che, ad ante completamente aperte, i led (Nr. 1 e/o 2 Fig. 2) siano spenti. Nel caso in cui i led rimangano accesi, verificare che davanti al sensore e per una distanza di circa 30 cm, non sia presente alcun oggetto e/o che il sensore sia correttamente collegato

4. Il Servetto Elettrico i3 in salita emette due BIP e poi si arresta. Controllare che il carico sul tubo portabiti sia di 17 Kg o inferiore Azionare il saliscendi premendo nuovamente il pulsante del telecomando: il Servetto Elettrico i3 scenderà, a questo punto scaricare degli abiti fino al raggiungimento della portata corretta e riazionare il saliscendi.

5. Il Servetto Elettrico i3 in discesa si blocca ed emette due BIP. Qualcosa ha ostruito il sensore di sicurezza: liberare il sensore e premere il pulsante, il Servetto Elettrico i3 ripartirà nella stessa direzione

6. Il Servetto Elettrico i3 non funziona. Effettuare le seguenti verifiche:

o Verificare che il Led verde di alimentazione sia acceso (Nr.5 Fig. 2)

o Verificare che il/i sensore/i di emergenza funzioni correttamente (Cap. 4)

o Verificare che il telecomando sia sintonizzato correttamente e funzionante (Cap. 6)

7. Premendo il tasto del telecomando scendono contemporaneamente due Servetto Elettrico i3 Cio’ significa che Il tasto del telecomando è stato sintonizzato su entrambi i Servetto Elettrico i3. Bisogna quindi cancellare i telecomandi sintonizzati (Cap.6.1) e ripetere la sintonizzazione dei telecomandi su entrambi i Servetto elettrico i3 scegliendo un diverso pulsante per ciascun saliscendi (Cap. 6)

8. Quando collego il Servetto Elettrico i3 all’alimentazione, la centralina emette una serie continua di BIP. Verificare la connessione dei bracci seguendo le etichette poste sulla centralina. Se i cavi di collegamenti dei bracci vengono invertiti o non collegati, il Servetto Elettrico i3 emette un segnale di allarme e non funziona.

11 CONDIZIONI DI GARANZIA

CERTIFICATO DI GARANZIA

Complimenti per aver scelto il nostro Servetto Elettrico i3

Questo apparecchio è stato sottoposto dalla ditta produttrice a severi collaudi secondo gli Standard Internazionali.

Siamo quindi certi della sua alta qualità. Nell'eventualità che si manifestasse un cattivo funzionamento, vi invitiamo a rivolgervi al rivenditore, il quale provvederà ad inviarlo alla ditta produttrice, la quale eseguirà l'intervento tecnico con l'impiego di pezzi di ricambio originali.

IMPORTANTE: in caso d’intervento e per aver diritto alla garanzia, è indispensabile allegare al Servetto Elettrico i3 il presente foglio di GARANZIA, unitamente al documento di vendita (Scontrino Fiscale o Fattura) che comprovi la data d’acquisto.

SERVETTO srl

Via Brughetti 32

I-20813 Bovisio M.go (MB)

Tel: +39/0362558899

Sito internet: www.servetto.it

E-mail: servetto@servetto.it

CONDIZIONI DI GARANZIA

1. L'apparecchio è garantito per un periodo di 24 mesi dalla data d'acquisto, che viene comprovata presentando il presente certificato e la ricevuta fiscale, o documento equivalente rilasciato all'atto dell'acquisto, e comprovante la data di acquisto di questo prodotto e il nominativo del rivenditore. La mancante esibizione di documenti validi comporta il decadere della garanzia e l'addebito di tutte le spese di riparazione a carico dell'utente. La ditta produttrice non risponde per lo smarrimento del certificato e non può emettere duplicati.

2. Non sono coperte da garanzia tutte quelle parti che dovessero risultare difettose o danneggiate a causa del trasporto, della negligenza, della trascuratezza nell'uso, dell'errata installazione o manutenzione operata da personale non autorizzato, dall'uso dell'apparecchio in modo improprio o comunque diverso da quello per il quale è stato costruito, o l'apertura del prodotto, ovvero, infine, a causa di circostanze che, comunque, non possono farsi risalire a difetti di fabbricazione dell'apparecchio. Restano in ogni caso esclusi dalla garanzia i particolari asportabili e gli eventuali accessori, se non si dimostri che trattasi di vizio di fabbricazione. Sono altresì esclusi dalla prestazione in garanzia gli interventi tecnici inerenti l'installazione e/o il collaudo dell'apparecchio, oltre alle parti soggette a normale usura.

3. La ditta produttrice declina ogni responsabilità per eventuali danni che possono derivare, direttamente o indirettamente, a persone, animali domestici o cose, conseguenti alla mancata osservanza di tutte le prescrizioni indicate nel libretto d'istruzioni del prodotto e concernenti, soprattutto, le avvertenze in tema d'installazione, uso e manutenzione del prodotto.

4. Il prodotto sarà riparato presso la ditta produttrice. Le spese e i rischi di trasporto da e per la ditta produttrice saranno a carico dell'acquirente.

5. Trascorsi i 24 mesi dalla data d'acquisto, il prodotto non sarà più coperto da garanzia e l'assistenza verrà prestata addebitando il costo delle parti sostituite, le spese di manodopera, di trasporto, del personale e dei materiali, secondo le tariffe vigenti dalla ditta produttrice. Qualsiasi forma di garanzia decade dopo 3 anni dall'uscita del prodotto dal listino ufficiale.

6. La presente garanzia è l'unica valida; nessuno è autorizzato, ad esclusione della ditta produttrice, a estendere o modificare i termini della stessa, e ancor più a rilasciare altre garanzie scritte o verbali. In ogni caso è esclusa la sostituzione dell'apparecchio, nonché il prolungamento della garanzia a seguito d'intervenuto guasto.

7. Il prodotto non deve essere manomesso né modificato.

8. La ditta produttrice si riserva la facoltà di apportare le opportune modifiche senza alcun preavviso.

ELECTRIC SERVETTO i3

ASSEMBLY

WARNING: Please read the entire instruction manual and safety instructions carefully, before installing the product. Use the Electric Servetto i3 in dry, enclosed environments as intended by Servetto S.r.l and only in combination with the supplied transformer.

2 SAFETY STANDARDS

 The equipment is not intended for use by people (including children) with reduced physical, sensory or mental capacities, or people with no experience or knowledge of the equipment, unless they can be supervised or instructed on how to use the same from a person who is responsible for their safety. Children must be supervised to ensure that they do not play with the equipment.

 Do not connect the Electric Servetto i3 to the mains if the transformer’s (F) plug or power cable is damaged. Furthermore, if the cable is damaged, it must be replaced by a special cable supplied by the manufacturer or by the retailer.

 Do not leave the Electric Servetto i3 connected to the mains when you go away for long periods of time.

 The transformer’s (F) power plug must easily be accessible so that it can easily be unplugged.

 Make sure that the transformer’s (F) power plug has been inserted properly into the socket and that the socket is live.

 The Servetto Electric i3 must be connected to a mains whose voltage, current type and frequency comply with the information indicated on the transformer’s nameplate.

 Under no circumstances should you try to recharge, heat or throw batteries onto an open flame as they could explode.

 Do not allow children to play with the batteries or packaging components. The plastic bags and cardboard boxes, etc. are a potential choking hazard.

 Do not open the Servetto Electric i3 (A, B, C) or transformer (F): electricity is contained inside of these and therefore, there is a risk of electric shocks. Should these parts be opened, the guarantee will become null and void.

 Do not place the Servetto Electric i3 and its remote controls in damp areas that are prone to steam and possible splashes of water.

 Do not connect the Servetto Electric i3 near heat sources such as radiators, stoves or heat-generating appliances.

 Do not have checks or repairs performed by unqualified personnel; please contact the retailer instead.

 Only use a dry cloth to clean the arms, transformer and remote control, as moisture and aggressive cleaners can damage the electronics.

 Keep your hands away from the equipment whilst it is moving. Furthermore, do not obstruct the working area of the Electric Servetto i3 with any body part and/or object.

 Neither the transformer nor any other cable should come into contact with the moving components.

 The Electric Servetto i3 must be used only with the supplied transformer and at a lowvoltage corresponding to the indicated marking on the appliance

WARNING: Do not open the arms as there is a risk of injury if these are opened. Opening the arms will void the product guarantee.

WARNING: If the Servetto Electric i3 is not working or stops in any other position than its vertical one, do not manually move the clothes rail; the installer should instead be contacted. Any breakages caused by manual operations, will cause the product guarantee to become null and void.

3 TECHNICAL SPECIFICATIONS

Electric Servetto i3 power supply

Voltage: 100-240 V

Frequency: 50-60 Hz

Power: 60 W

Output voltage: 12 V

Position the transformer in a moisture-free location. For proper ventilation, please make sure that there is a safety distance of at least 50 mm from any obstacles, otherwise, when used continuously, the transformer risks overheating. Furthermore, the transformer must be accessible for any maintenance work.

Remote Control Power Supply

3 V lithium battery, code: CR2032

3.1 PACKAGE CONTENTS

A - Left arm

B - Right arm

C - Control unit

D - Arm to control unit connection cables (2 pcs)

E - Security sensor (1 pc)

F - Transformer

G - Fixing plates

H - Extensible clothes rail tube

I - Drilling templates (2 pcs)

L - Fixing screws (12 pcs)

M - Corner bracket screws (2 pcs)

N – 1-button remote control (pre-programmed)

O - Tube end caps

Fig. 1

1 – Red LED indicator for security sensor No 1

2 – Red LED indicator for security sensor No 2

3 – Home automation connector

4 – Orange LED indicator for the home automation activation process

5 – Green power LED indicator

6 – Red radio LED indicator

7 – Blue Bluetooth LED indicator

8 – Red LED indicator for the security sensor-disabling process

9 – Pushbutton for disabling the security sensors

10 – Power connector

11 – Right arm connector

12 – Left arm connector

13 – Security sensor No.1 connector

14 – Security sensor No.2 connector

15 – Pushbutton for:

- Manual operation

- Remote control programming

- Deleting programmed remote controls

Fig. 2
Fig. 3
Fig. 4

3.3 DIMENSIONS

Position the control unit in a location that is far away from sources of moisture. For a correct installation of the control unit and of connection cables, the distances indicated in Fig. 6 must be observed.

WARNING: Both the transformer and control unit must be accessible for any maintenance work.

Fig. 5
Fig. 6

3.4 WIRING DIAGRAM

Explanatory diagram of the wiring to be carried out for a correct working of the Electric Servetto i3. Chapter 5 describes the order in which the components must be installed and connected.

WARNING: Connect the Electric Servetto i3 to the power supply only after all the cables have been connected.

WARNING: It is forbidden to cut or modify the connection cables between the various product components in any way; should this occur, the guarantee shall be rendered null and void.

Fig. 7

3.5 INSTALLATION EXAMPLE

Example of installation of the Electric Servetto i3 in a wardrobe with the wiring concealed.

Fig. 9 shows the recommended drilling positions on the side of the wardrobe for a concealed wiring installation.

If the wardrobe has not been designed for cables to pass through, the appropriate backplate slot can be used as a cable inlet into the wardrobe compartment (Fig. 10).

The installation and routing of cables remains at the discretion of the installer, depending on the length of the cables included in the package. The supplied cables cannot be modified, and no extensions can be used. Warning: do not cut the cables (if the cables are cut/tampered with, this will render the product’s guarantee null and void).

Fig. 8
Fig. 10
Fig. 9

4 SECURITY SENSOR

4.1 WORKING OF THE SECURITY SENSOR

At least one security sensor must be used in wardrobes with closing doors. We recommend using the second security sensor if the wardrobe compartment has two closing doors.

Fig. 11

LEDs No. 1 and 2 on the control unit (Fig. 2), indicate the sensor status:

- LED On  The sensor is not connected or occupied (The Servetto does not move at all). - LED Off  The sensor is correctly connected and free (The Servetto is free to operate normally).

We recommend installing the sensor according to the specifications (see point 5.2), in a door-facing, obstruction-free position as per the specification (Fig. 11) and ensuring that it is securely mounted.

The security sensor does not detect fully transparent materials such as glass and polycarbonate.

WARNING: If no security sensor is connected or one or more sensors are occupied or detect an obstacle, the Electric Servetto i3 will not work and the control unit will “BEEP” twice as a warning when the activation button is pressed.

DISABLING THE SECURITY SENSOR

If the Electric Servetto i3 is installed in walk-in closets/open wardrobes (Fig. 12), the security sensors can be disabled.

12

To disable the security sensors, press and hold button No 9 on the control unit (Fig. 2) for 10 seconds; when released, red LED No. 8 will light up. The Electric Servetto i3 will now be able to operate without the security sensors connected.

WARNING: Please be more vigilant when the pull-down lift is being operated without the sensors, as any obstacles will not be detected and the Servetto will not stop automatically.

Servetto accepts no responsibility should a security sensor be disabled in unsuitable circumstances and if this results in any direct or indirect damage to persons, pets or property.

To reactivate the operation of the security sensors, press and hold button No.9 on the control unit (Fig. 2) for 2 seconds; red LED No. 8 will remain lit to indicate that the sensors had previously been disabled.

Fig.

5.1 DRILLING AND MOUNTING THE FIXING PLATE

13

The drilling procedure using the templates supplied in the kit and the fixing plate mounting procedure (Fig. 14 – 15).

14

Fig.
Fig.
Fig. 15 – a
Fig. 15 - b

5.2 DRILLING AND MOUNTING THE SECURITY SENSOR

The fixing and installation position of the security sensor (Fig. 17).

Fig. 16
Fig. 17

5.3 MOUNTING THE ARMS

Connect the cables and mount the arm on the fixing plate, as shown in the steps indicated in Fig. 18 and connect the other end of the cables to the control unit (C in Fig. 1).

18

If required, connect the security sensors to its connectors 13 and 14 (Fig. 3) of the control unit.

WARNING: Check that the cables are not damaged or positioned in such a way that they could cause the product to function incorrectly. Do not cut or tamper with the cables in any way.

5.4 POWER SUPPLY CONNECTION

Connect the transformer to the mains (110-240 V, 50-60 Hz) and then connect the transformer to the control unit. The green power LED (No. 5 in Fig. 2) must light up and be accompanied by a “BEEP”.

19

Fig.
Fig.

If the control unit continually emits “BEEP” when the power supply is connected, check that the arm to control unit cables (No. 11 and 12 in Fig. 3) have properly been connected.

5.5 FIRST USE OF THE ELECTRIC SERVETTO i3

Adjust the length of the tube as shown in Fig. 20, then lock the clothes rail tube in place by rotating both tubes in opposite directions.

Fig. 20

Press the remote control button (letter N in Fig. 1), and the Electric Servetto i3 will lower. Insert the plastic tube end caps (letter O) into each side of the tube (letter H). Next, insert the tube and tighten the screws in the corner brackets (Fig. 21).

WARNING: If the Electric Servetto i3 does not work and the control unit “BEEPS” twice, check that the security sensors have correctly been installed or that the same have correctly been disabled (Chap. 4).

21

Fig.

Press the remote control button again to raise the arms back up.

The Electric Servetto i3 is now installed and working: the clothes rail tube can now accommodate your clothing.

The Electric Servetto i3 can be stopped at any time by pressing the button on the remote control. When the remote control button is pressed again, the Electric Servetto i3 will move in the opposite direction.

The Electric Servetto i3 can also be operated by pressing the activation button (No. 15 on Fig. 2), located on one of the two arms.

WARNING: If the Electric Servetto i3 stops and BEEPS twice during the ascent phase, this means that the load capacity has been exceeded. Press the remote control button once more and the Electric Servetto i3 will lower back down. Remove some clothes and try again.

6 SYNCHRONISING THE REMOTE CONTROL

ATTENTION: The included 1-button remote control is already programmed. Repeat the synchronising only if necessary.

The 4 or 12-buttons remote controls, available as an optional, must be synchronized following the steps below.

22

To synchronise the Electric Servetto i3 with the desired remote control, the following procedure must be performed:

1 - Press and hold the programming button (Fig. 22) for 5 seconds; when released, the control unit will “BEEP” twice.

2 - Press the desired button on the remote control (Fig. 23) and it will “BEEP” again.

The Electric Servetto i3 has now been synchronized with the selected button for the up/down command.

Available remote controls (Fig.3):

A) 1-button remote control, included

B) 4-buttons remote control, optional (art. SWCO02504)

C) 12-buttons remote control, optional (art. SWCO02512)

Fig.
Fig. 23

For the 4 and 12-buttons remote controls, repeat the above indicated procedure for each button you need to synchronize with the Electric Servetto i3.

6.1 DELETING THE REMOTE CONTROLS ALREADY PROGRAMMED WITH THE ELECTRIC SERVETTO i3

If you want to delete all the remote controls, press and hold the programming button (Fig. 22) for 10 seconds; when this button is released, there will be three consecutive “BEEPS”, indicating that all the synchronised remote controls have been deleted. The desired remote control(s) can then be retuned.

7 BLUETOOTH PAIRING

After you ensure that the Electric Servetto i3 is connected to the power supply , download the “Servetto” app from AppStore/Google Play Store

The Electric Servetto i3 will automatically be detected opening the App and can therefore be selected and operated with the smartphone.

8 DISPOSAL

This product falls within the scope of Directive 2012/19/EU concerning the management of waste electrical and electronic equipment (WEEE).

The equipment must not be disposed of with domestic waste as it is composed of various materials that can be recycled at suitable facilities. Information should be obtained from local authorities regarding the location of the most suitable recycling centres that can accept the product and then either dispose or properly recycle the same.

Please note that if you purchase a similar piece of equipment, the distributor is obliged to collect and dispose of the product free of charge.

The product is not potentially harmful to human health and the environment, since it does not contain dangerous substances, as per Directive 2011/65/EU (RoHS). However, if not disposed of correctly, it negatively impacts the ecosystem.

Please read the instructions carefully before using the equipment for the first time. Under no circumstances should the product be used for any purpose other than that for which it is intended, as there is a risk of electrical shocks should it be used inappropriately.

The crossed-out wheelie bin symbol on the label affixed to the equipment, indicates that the product complies with the legislation concerning waste electrical and electronic equipment. Fly-tipping or illegally disposing of this equipment is punishable by law.

9 ENVIRONMENTAL INFORMATION

Advice for protecting the environment

PACKAGING

The packaging materials we use comply with the current environmental standards. If you have enough storage room, we recommend retaining the product packaging for at least the duration of the guarantee period. If however, you would like to dispose of the packaging, please do so in an environmentally friendly manner.

BATTERIES

The batteries are not ecological, i.e. “green”. They should be taken to the waste collection and disposal facilities provided for polluting products. In any case, they must not be disposed of incorrectly and in order to prevent this, we recommend using only mercury-free batteries.

1. Can more than one remote control be synchronised with one Electric Servetto i3?

Yes, up to 8 different remote controls can be tuned via the tuning procedure (Chap. 6) to each Electric Servetto i3. The procedure indicated in Chap. 6, must be carried out for each button you wish to synchronise.

2. Can the Electric Servetto i3 be connected to a home automation system or a remote switch?

Yes, in order to connect the Electric Servetto i3 to a home automation system or a monostable remote switch, you will need to purchase the cable as an optional accessory (Part No. DOMOi3ELZ) and manage the Electric Servetto i3’s operation by closing the circuit.

3. When I press the remote control, the Electric Servetto i3 BEEPS twice but does not lower.

The Electric Servetto i3 requires at least one security sensor to be connected and free from obstacles in order to work. Therefore, check that the security sensors have been correctly connected and that the LEDS (No. 1 and/or 2 in Fig. 2) are off when the doors are fully open. If the LEDs remain lit, check that there is no object within approximately 30 cm of the sensor and that the sensor has been correctly connected.

4. When raising, the Electric Servetto i3 beeps twice and then stops.

Check that the load on the clothes rail tube is 17 kg or less. Activate the pull-down lift by pressing the remote control button once more; the Electric Servetto i3 will lower back down. Remove some clothing until the load weight is within the load capacity and then reactivate the pull-down lift.

5. When lowering, the Electric Servetto i3 stops and BEEPS twice.

Something has obstructed the security sensor. Remove the obstruction and press the button; the Electric Servetto i3 will then resume in the same direction.

6. The Electric Servetto i3 is not working. Carry out the following checks:

o Check that the green power LED is lit (No. 5 in Fig. 2).

o Check that the security sensor(s) is/are working correctly (Chap. 4).

o Check that the remote control has been correctly tuned and is working (Chap. 6).

7. When the remote control button is pressed, two Electric Servetto i3 lower at the same time.

The remote control button has been tuned to both Electric Servetto i3. Therefore, the remote controls tuned by both Electric Servetto i3 must be deleted (Chap. 6.1). Once deleted, repeat the tuning procedure on both Electric Servetto i3, this time choosing a different button for each pull-down lift (Chap. 6).

8. When I connect the Electric Servetto i3 to the power supply, the control unit emits a series of continuous BEEPS. Check the arm connections according to the labels affixed to the control unit. If the arm connection cables are reversed or not connected, the Electric Servetto i3 will emit an audible alarm and not work.

11 GUARANTEE CONDITIONS

GUARANTEE CERTIFICATE

Thank you for choosing our Electric Servetto i3. This equipment has been subjected to strict tests by the manufacturer, in accordance with the international standards. We are therefore certain of its high quality. Should a malfunction occur, please contact the retailer who will then send the equipment to the manufacturer, who will use original spare parts to repair the same.

IMPORTANT: Should any work need to be carried out, in order to for the guarantee to be valid, this GUARANTEE certificate must be attached to the Electric Servetto i3, together with the sales document (Receipt or Invoice), the latter of which provides proof of the date of purchase.

SERVETTO S.r.l.

Via Brughetti 32

Addr.: 20813 Bovisio Masciago (MB), Italy

Tel: +39/0362558899

Website: www.servetto.it

Email: servetto@servetto.it

GUARANTEE CONDITIONS

1. The equipment is guaranteed for a period of 24 months, starting from the date of purchase, which is proven by presenting this certificate and the receipt (or equivalent document issued at the time of purchase which provides proof of this product’s purchase date and the retailer’s name). If the valid documents are not provided as requested, the guarantee will become null and void and all repair costs must be borne by the user. The manufacturer is not responsible for the loss of the certificate and cannot issue duplicates.

2. All parts that are found to be defective or damaged due to transportation, negligence, careless use, incorrect installation, maintenance being performed by unauthorised personnel, the improper use of the equipment, the use of the equipment in a way that differs from the one for which it was manufactured, the product being opened and any circumstances that, in any case, cannot be traced back to the manufacturing defects of the equipment, are not covered by the guarantee. In any case, any removable components and accessories are not covered by the guarantee, unless a manufacturing defect is found. Technical interventions concerning the installation and/or testing of the equipment, as well as any parts subject to normal wear and tear, are also excluded from the warranty.

3. The manufacturer declines all responsibility for any damage that may result, either directly or indirectly, to persons, pets or property, resulting from the failure to comply with the instructions indicated in the product’s instruction booklet and above all, concerning the warnings regarding installing, using and maintaining the product.

4. The product will be repaired by the manufacturer. The transport costs and risks to and from the manufacturer are to be borne by the buyer.

5. After 24 months have elapsed from the date of purchase, the product will no longer be covered by the guarantee and any assistance will be provided by charging the cost of the replaced parts, labour, transportation, personnel and materials, according to the manufacturer’s current rates. Any form of guarantee expires 3 years after the product has been removed from the official product list.

6. This guarantee is the only valid guarantee. Nobody is authorised, except for the manufacturer, to extend or modify the terms of the same, and furthermore, issue other written or verbal guarantees. In any case, the replacement of the equipment is not covered by the guarantee and the guarantee period will not be extended, should a fault be found.

7. The product must not be tampered with or modified.

8. The manufacturer reserves the right to alter product specifications without prior advice.

ELEKTRISCHER SERVETTO i3

MONTAGE

WARNUNG: Vor dem Beginn der Montage des Produktes die gesamte Bedienungsanleitung und alle Sicherheitshinweise sorgfältig lesen. Den elektrischen Servetto i3 in geschlossenen und trockenen Umgebungen verwenden, innerhalb der von Servetto srl zugelassenen technischen Daten und nur in Kombination mit dem mitgelieferten Netzteil.

2

SICHERHEITSHINWEISE

 Das Gerät ist nicht für die Verwendung durch Personen (einschließlich Kinder) mit eingeschränkter körperlicher oder sensorischer oder geistiger Leistungsfähigkeit oder mangelnder Erfahrung oder Kenntnis bestimmt, es sei denn, sie konnten durch die Vermittlung einer für ihre Sicherheit verantwortlichen Person von der Aufsicht oder Anleitung über die Verwendung des Geräts profitieren. Kinder sollten beaufsichtigt werden, um sicherzustellen, dass sie nicht mit dem Gerät spielen.

 Den elektrischen Servetto i3 nicht an das Stromnetz anschließen, wenn der Stecker oder das Netzkabel des Netzteils (F) beschädigt ist. Desweitere, falls das Kabel fehlerhaft sein sollte, muss dieses durch ein Spezialkabel ersetzt werden, erhältlich beim Hersteller oder bei der technischen Assistenz.

 Den elektrischen Servetto i3 nicht an das Stromnetz angeschlossen lassen, wenn das Gerät längere Zeit nicht in Betrieb ist.

 Der Stecker des Transformators (F) muss leicht zugänglich sein, um das Trennen zu erleichtern.

 Sicherstellen, dass der Stecker des Transformators (F) fest mit der Steckdose verbunden ist und dass Strom vorhanden ist.

 Der elektrische Servetto i3 muss an ein elektrisches Netz angeschlossen sein, dessen Spannung, Stromart und Frequenz den Angaben auf dem Typenschild des Transformators entsprechen.

 Niemals versuchen, die Batterien aufzuladen, zu erhitzen oder in Brand zu setzen, da sie sonst platzen könnten.

 Kinder nicht mit Batterien und Verpackungsteilen spielen lassen. Plastikbeutel, Kartons usw. stellen Erstickungsgefahr dar.

 Weder den elektrischen Servettoi3 (A, B, C) noch den Transformator (F) öffnen: Im Inneren befindet sich ein Strom, der einen elektrischen Schlag verursachen kann, wodurch die Garantie erlischt.

 Den elektrischen Servetto i3 und seine Fernbedienungen nicht in feuchten Räumen mit Dämpfen oder möglichen Wasserspritzern aufstellen.

 Den elektrischen Servetto i3 nicht in der Nähe von Wärmequellen wie Heizkörpern, Öfen oder Geräten anschließen, die Wärme erzeugen.

 Keine Kontrollen oder Reparaturen durch ungeschultes Personal durchführen lassen, sondern sich an den Händler wenden.

 Die Arme, den Transformator und die Fernbedienung nur mit einem trockenen Tuch reinigen, da Feuchtigkeit und aggressive Reinigungsmittel die Elektronik beschädigen können.

 Während der Bewegung die Hände nicht ausstrecken und den Arbeitsbereich des elektrischen Servetto i3 nicht mit Körperteilen und/oder Gegenständen behindern.

 Weder der Transformator noch ein anderes Kabel darf mit beweglichen Teilen in Berührung kommen.

 Der elektrische Servetto i3 darf nur mit dem gelieferten Transformator gebraucht werden und muss an eine sehr niedrige Sicherheitsspannung angeschlossen sein, entsprechend der Kennzeichnung am Gerät.

WARNUNG: Die Arme nicht öffnen, es besteht Verletzungsgefahr, wenn sie geöffnet werden. Das Öffnen der Arme führt zum Verfallen der Produktgarantie.

WARNUNG. Wenn der elektrische Servetto i3 nicht funktioniert oder in einer anderen Position als der Vertikalen stehen bleibt, dürfen weder die Arme noch die Kleiderstange manuell bewegt werden! Wenden Sie sich an den Installateur. Jeder Bruch, der durch manuelle Bedienung verursacht wird, führt zum Verfallen der Produktgarantie.

3 TECHNISCHE EIGENSCHAFTEN

Stromversorgung elektrischer Servetto i3

Spannung: 100-240 V

Frequenz: 50-60 Hz

Leistung: 60 W

Ausgangsspannung: 12 V

Den Transformator vor Feuchtigkeit fernhalten. Für eine korrekte Belüftung muss ein Sicherheitsdistanz von 50 mm von eventuellen Hindernissen gehalten werden, da sonst bei kontinuierlicher Nutzung die Gefahr einer Überhitzung des Transformators besteht. Außerdem muss der Transformator für eventuelle Wartungsarbeiten frei zugänglich sein.

Stromversorgung Fernbedienungen

Lithium-Batterien 3V, Code CR2032

3.1 INHALT DER VERPACKUNG

A - Linker Arm

B - Rechter Arm

C - Steuereinheit

D - Verbindungskabel für Arme - Steuerung (2 Stück)

E - Sicherheitssensor (1 Stück)

F - Transformator

G - Unterlegscheibe für Befestigung

H - Ausziehbares Kleiderstange

I - Bohrlehre (2 Stück)

L - Schrauben (12 Stücke)

M - Winkelverbinder (2 Stück)

N – Eintasten-Fernbedienung (programmiert)

O – Rohrverschlüsse

Abb. 1

3.2 SCHALTUNGEN UND LED-ANZEIGEN

1 - Rote LED für Sicherheitssensor Nr. 1

2 - Rote LED für Sicherheitssensor Nr. 2

3 - Anschluss für Heimautomation

4 - Orange LED für Aktivierung der Heimautomation

5 - Grüne LED aktive Stromversorgung

6 - Rote LED für Radio

7 - Blaue LED für Bluetooth

8 - Rote LED für Trennung der Sicherheitssensoren

9 - Knopf für Trennung der Sicherheitssensoren

10 - Anschluss für die Stromversorgung

11 - Anschluss für den rechten Arm

12 - Anschluss für den linken Arm

13 - Anschluss für den Sicherheitssensor Nr. 1

14 - Anschluss für den Sicherheitssensor Nr. 2

15 - Knopf für:

- Manuelle Betätigung

- Einstellung der Fernbedienung

- Löschen der gespeicherten Fernbedienungen

Abb. 2
Abb. 3
Abb. 4

3.3 ABMESSUNGEN

Abb. 5

Die Steuereinheit von Feuchtigkeit fernhalten. Für eine korrekte Installation und Verbindung der Kabel die Distanzen in Abb. 6 beachten.

ACHTUNG: Der Transformator und die Steuereinheit müssen für eventuelle Wartungsarbeiten frei zugänglich sein.

Abb. 6

3.4 VERKABELUNGSSCHEMA

Verkabelungsschema, um ein korrektes Funktionieren des elektrischen Servetto i3 zu gewährleisten. In Kapitel 5 werden die Reihenfolge der Installation und die Verbindung der Komponenten erklärt.

ACHTUNG: Den elektrischen Servetto i3 nur an die Stromversorgung anschließen, nachdem alle Kabel verbunden worden sind.

ACHTUNG: Es ist untersagt, auf irgendeine Art und Weise die Verbindungskabel zwischen den verschiedenen Teilen des Produktes zu ändern oder zu schneiden, dies führt zum Verfall der Garantie.

Abb. 7

3.5 INSTALLATIONSBEISPIEL

Installationsbeispiel auf dem Kleiderschrank mit versteckter Verkabelung des elektrischen Servetto i3.

Abb. 8

In Abb.9 werden die empfohlenen Schneidevorlagen der Rückwand für eine eventuelle versteckte Verkabelung gezeigt.

Falls die Kabel nicht durch den Kleiderschrank verlaufen können, ist es möglich, eine passende Öffnung in die Unterlegscheibe für die Befestigung zu schneiden, um die Kabel in den Innenraum des Kleiderschranks zu führen. Abb. 10

Die Installation und der Verlauf der Kabel stehen im Ermessen des Installateurs, kompatibel mit der Länge der im Lieferumfang enthaltenen Kabel, es sind keine Verlängerungen oder Änderungen an den Kabeln zulässig. Achtung: Eine Zerschneidung/ Änderung der Kabel führt zum Verfall der Produktgarantie.

Abb. 10
Abb.9

4.1 FUNKTION DES SICHERHEITSSENSORS

Das Benutzen von mindestens einem Sicherheitssensor in Kleiderschränken mit Türen ist obligatorisch, es ist empfohlen einen zweiten Sicherheitssensor bei zwei Türen zu installieren.

11

Die LEDs Nr. 1 und 2 auf der Steuereinheit (Fig. 2) zeigen den Status der Sensor: - LED an  Sensor ist nicht verbunden oder belegt (Servetto bewegt sich nicht) - LED aus  Sensor ist korrekt verbunden und frei (Servetto funktioniert einwandfrei)

Es wird empfohlen den Sensor gemäß der Vorgabe (s. Punkt 5.2) an einer hindernisfreien Stelle zu installieren, auf die Tür zeigend wie Abbildung 11 und stabil zu befestigen

Der Sicherheitssensor reagiert nicht bei komplett transparenten Materialien wie z.B. Glas und Polycarbonat.

ACHTUNG: Falls kein Sicherheitssensor installiert ist oder einer oder mehr belegt ist, funktioniert der elektrische Servetto i3 nicht und die Steuereinheit gibt ein doppeltes „BIP“-Warnzeichen, wenn die Betätigungstaste gedrückt wird.

Abb.

4.2 DEAKTIVIERUNG DES SICHERHEITSSENSORS

Falls der elektrische Servetto i3 bei einem Kleiderschrank ohne Tür (Abb. 12) benutzt wird, kann der Sicherheitssensor deaktiviert werden.

12

Zur Deaktivierung des Sicherheitssensoren die Taste Nr. 9 auf der Steuereinheit (Abb. 2) 10 Sekunden lang gedrückt halten, beim Loslassen geht die rote LED Nr. 8 an. Danach funktioniert der elektrische Servetto, auch ohne dass die Sicherheitssensoren installiert sind.

WARNUNG: Erhöhte Beachtung auf den Lift, da ohne Sensoren eventuelle Hindernisse nicht erkannt werden könnten und der Servetto somit nicht automatisch stoppt.

Die Firma Servetto lehnt jegliche Haftung ab, wenn die Deaktivierung der Sicherheitssensoren bei ungeeigneten Situationen erfolgt und dies direkt oder indirekt zu Schäden an Personen, Haustieren oder Sachen führt.

Um die Funktion der Notfallsensoren erneut zu aktivieren, die Taste Nr. 9 auf der Steuereinheit (Abb. 2) 2 Sekunden lang drücken. Die rote LED Nr. 8 bleibt an, um anzuzeigen, dass zuvor die Sensoren deaktiviert wurden.

Abb.

5.1 BOHRUNG UND UNTERLEGSCHEIBE FÜR BEFESTIGUNG

Abb. 13

Bohrlöcher mit den mitgelieferten Lehren und Montage der Unterlegscheibe für die Befestigung (Abb. 14-15).

Abb. 14

Abb. 15 - a
Abb. 15 - b

16

5.2 BOHRUNG UND MONTAGE DES SICHERHEITSSENSOR

Positionierung der Befestigung und Installation des Sicherheitssensor (Abb. 17).

Abb. 17

Abb.

5.3 MONTAGE DER ARME

Die Kabel verbinden und die Arme auf die Unterlegscheibe für die Befestigung wie in der in Abb. 18 gezeigten Reihenfolge montieren und das andere Ende der Kabel an die Steuereinheit C (Abb. 1) anschließen.

18

Eventuelle Sicherheitssensoren falls vorgeschrieben an die Steckdosen 13 und 14 (Abb. 3) der Steuereinheit anschließen.

ACHTUNG: Sichergehen, dass die Kabel nicht beschädigt sind oder so positioniert sind, dass die korrekte Funktion des Produktes nicht beeinträchtigt wird. Die Kabel auf keine Weise zerschneiden oder ändern.

5.4 ANSCHLUSS DER STROMVERSORGUNG

Der Transformator an die Stromleitung (110-240V, 50-60Hz) anschließen. Anschließend den Transformator mit der Steuereinheit verbinden. Die grüne LED der Anzeige für die Spannung 5 (Abb. 2) sollte von einem „BIP“ begleitet leuchten.

Abb.
Abb. 19

Falls beim Verbinden des Transformators ein kontinuierliches „BIP“ zu hören ist, die Korrektheit der Kabelverbindungen zwischen den Armen und dem Steuereinheit Nr. 11 und 12 (Abb. 3) überprüfen.

5.5 ERSTE INBETRIEBNAHME DES ELEKTRISCHEN SERVETTOS

Die Länge der Kleiderstange wie in Abb. 20 regulieren, die Kleiderstange blockieren, indem man die zwei Rohre ineinander dreht.

Abb. 20

Die Taste der Fernbedienung mit dem Buchstaben N (Abb. 1) drücken; der elektrische Servetto i3 bewegt sich herab. Die Plastikverschlüsse einsetzen, die Kleiderstange einstecken und die Schrauben in die Winkelverbinder drehen (Abb. 21).

ACHTUNG: Wenn der elektrische Servetto i3 nicht funktioniert und von der Steuereinheit ein doppeltes „BIP“ zu hören ist, überprüfen, ob die Notfallsensoren korrekt installiert oder korrekt deaktiviert sind (Kap. 4).

Abb. 21

Erneut die Taste der Fernbedienung drücken, damit die Arme sich hochbewegen

Der elektrische Servetto i3 ist nun installiert und funktionsfähig: Die Kleiderstange kann nun beladen werden.

Es ist jederzeit möglich den elektrischen Servetto i3 durch Drücken der Taste auf der Fernbedienung anzuhalten. Durch erneutes Drücken der Taste auf der Fernbedienung bewegt sich der elektrische Servetto i3 in die entgegengesetzte Richtung.

Es ist auch möglich, den elektrischen Servetto i3 zu bedienen, indem man die Betätigungstaste 15 (Abb.4) drückt, die sich an einem der beiden Arme befindet.

ACHTUNG: Falls beim Aufstieg der elektrische Servetto i3 stehen bleibt und zwei BIP zu hören sind, wurde die Tragfähigkeit überschritten. Erneut die Taste der Fernbedienung drücken, der elektrische Servetto i3 wird sich hinab bewegen, einige Kleider von der Stange nehmen und erneut versuchen.

6 SYNCHRONISIERUNG DER FERNBEDIENUNG

ACHTUNG: Die in der Verpackung beiliegende Eintasten-Fernbedienung ist bereits programmiert. Die Synchronisierung nur machen falls notwendig.

Für die Verwendung des 4 oder 12 Tasten-Fernbedienung (separat zu kaufen) bitte wie folgt vorgehen.

Abb.22

Um den elektrischen Servetto i3 mit der gewünschten Fernbedienung zu synchronisieren, wie folgt vorgehen:

1 - Die Programmierungstaste (Abb. 22) 5 Sekunden lang drücken, beim Loslassen hört man ein doppeltes „BIP“

2 - Die gewünschte Taste der Fernbedienung drücken (Abb. 23), man hört ein weiteres „BIP“.

Durch diesen Vorgang hat der elektrische Servetto i3 mit der entsprechenden Taste die Ab-/Aufbewegung erhalten.

Verfügbare Fernbedienungen (Abb.23)

A) Eintasten-Fernbedienung in der Verpackung beiliegend

B) 4-Tasten Fernbedienung, zusätzlich (Art. SWCO02504)

C) 12-Tasten Fernbedienung, zusätzlich (Art. SWCO02512)

Abb. 23

Bei Verwendung der 4 oder 12 Tasten-Fernbedienung, den oben erwähnte Vorgang für jeden elektrischen Servetto i3 wiederholen.

6.1 LÖSCHEN DER GESPEICHERTEN FERNBEDIENUNG IM ELEKTRISCHEN SERVETTO i3

Falls das Löschen aller Fernbedienungen erwünscht ist, die Programmierungstaste (Abb. 22) für 10 Sekunden gedrückt halten. Beim Loslassen hört man drei aufeinanderfolgende „BIP“, die anzeigen, dass alle synchronisierten Fernbedienungen gelöscht worden sind.

Von daher ist es möglich, die gewünschte/n Fernbedienung/en erneut zu synchronisieren.

7 SYNCHRONISIERUNG DES BLUETOOTH

Sicherstellen, dass der elektrische Servetto i3 am Strom angeschlossen ist.

Die App “Servetto” runterladen (bei AppStore / Google Play Store). Mit dem Öffnen der App, wird der elektrische Servetto i3 automatisch erkannt und kann somit gleich selektiert und aktiviert werden.

8 ENTSORGUNG

Dieses Produkt fällt unter den Anwendungsbereich der Richtlinie 2012/19/EU bezüglich der Entsorgung von Elektro- und Elektronik-Altgeräten (EEAG).

Das Gerät darf nicht mit dem Hausmüll entsorgt werden, da es verschiedene Materialien enthält, die in den entsprechenden Anlagen recycelt werden können. Informieren Sie sich bei den städtischen Behörden über den Standort der ökologischen Plattformen, die das Produkt für die Entsorgung und anschließende ordnungsgemäße Verwertung entgegennehmen können. Beachten Sie auch, dass der Händler, beim Kauf ähnlicher Geräte, verpflichtet ist, das zu entsorgende Produkt entgegenzunehmen.

Das Produkt ist nicht potenziell gefährlich für die menschliche Gesundheit und die Umwelt, da es keine schädlichen Substanzen gemäß der Richtlinie 2011/65/EU (RoHS) enthält, kann aber negative Umweltauswirkungen auf das Ökosystem haben, wenn es unsachgemäß in der Umwelt entsorgt wird.

Lesen Sie die Anweisungen sorgfältig, bevor Sie das Gerät zum ersten Mal benutzen. Es wird empfohlen, das Produkt auf keinen Fall für einen anderen Zweck als den für den es bestimmt ist; zu verwenden, da bei unsachgemäßer Verwendung die Gefahr eines Stromschlags besteht.

Das Symbol der durchgestrichenen Mülltonne auf dem Etikett am Gerät vermerkt, dass das Produkt den Rechtsvorschriften über Elektro- und Elektronik-Altgeräte entspricht.

Die unsachgemäße Entsorgung von Geräten in der Umwelt oder illegale Beseitigung der Geräte ist strafbar.

9 UMWELTINFORMATIONEN

Tipps zum Umweltschutz

VERPACKUNGEN

Das Verpackungsmaterial entspricht den geltenden ökologischen Normen. Es wird empfohlen das Verpackungsmaterial mindestens bis zum Verfall der Produktgarantie aufzubewahren. Falls nicht möglich, das Verpackungsmaterial umweltgerecht entsorgen.

BATTERIEN

Batterien, die nicht zur ökologischen Kategorie gehören, also die nicht „grünen“, sind zu Sammelstellen für Schadstoffe zu bringen. Sie dürfen auf keinen Fall in der Umwelt entsorgt werden und für ihren Schutz wird das Benutzen von Batterien ohne Quecksilber empfohlen.

1. Ist es möglich mehr Fernbedienungen mit dem elektrischen Servetto i3 zu synchronisieren? Ja, man folgt dem Vorgehen für das Einstellen der Fernbedienung (Kap. 6) (maximal 8 verschiedene Fernbedienungen für den elektrischen Servetto i3 möglich). Für jede zu synchronisierende Taste muss das in Kap. 6 beschriebene Vorgehen wiederholt werden.

2. Ist es möglich den elektrischen Servetto i3 mit der Heimautomatik oder einem Microschalter zu verbinden? Ja, um den elektrischen Servetto i3 an ein Hausautomationssystem oder an einen monostabilen Microschalter anzuschließen, ist es notwendig, das Zubehörkabel (Art. DOMOi3ELZ) zu erwerben und den Betrieb des elektrischen Servetto i3 mit Schließen des Zubehörkreises zu verwalten.

3. Wenn ich die Fernbedienung betätige, gibt der elektrische Servetto i3 zwei „BIP“ von sich, aber bewegt sich nicht hinab. Der elektrische Servetto i3 benötigt mindestens einen verbundenen Sicherheitssensor mit freier Sicht. Deshalb überprüfen, ob die Sicherheitssensoren korrekt verbunden sind und ob bei komplett geschlossenen Türen die LEDs (Nr. 1 und/oder 2, Abb.2) aus sind. Falls die LEDs an sind, überprüfen, ob sich 30 cm vor dem Sensor kein Objekt befindet und ob der Sensor korrekt verbunden ist.

4. Der elektrische Servetto i3 gibt beim Hinaufbewegen zwei „BIP“ von sich und bleibt dann stehen. Sicherstellen, dass nicht mehr als 17 kg Gewicht auf der Kleiderstange ist. Um den Lift zu bewegen, erneut die Taste der Fernbedienung drücken: der elektrische Servetto i3 bewegt sich hinab, deshalb die Kleider von der Stange nehmen, bis die korrekte Tragfähigkeit erreicht ist und den Lift erneut bewegen.

5. Der elektrische Servetto i3 gibt beim Hinabbewegen bleibt stehen und gibt zwei „BIP“ von sich.

Etwas hat den Notfallsensor versperrt, den Notfallsensor befreien und auf die Taste drücken, der elektrische Servetto i3 bewegt sich wieder in die gleiche Richtung.

6. Der elektrische Servetto i3 funktioniert nicht. Folgende Überprüfungen durchführen:

o Überprüfen, ob die grüne LED des Transformators leuchtet (Nr. 5 Abb. 2)

o Überprüfen, ob der/die Sicherheitssensor/en korrekt funktionieren (Kap. 4)

o Überprüfen, ob die Fernbedienung richtig eingestellt ist und funktioniert (Kap. 6)

7. Durch das Drücken der Taste auf der Fernbedienung bewegen sich gleichzeitig zwei elektrische Servetto i3 hinab

Die Taste der Fernbedienung wurde auf beide elektrische Servetto i3 eingestellt, deshalb müssen die eingestellten Fernbedienungen auf beiden elektrischen Servetto i3 (Kap. 6.1) und die Einstellung auf beide elektrischen Servetto i3 durch Wählen verschiedener Tasten für jeden Lift wiederholen (Kap. 6).

8. Wenn ich den elektrischen Servetto i3 an die Stromversorgung schließe, gibt der Steuereinheit unaufhörlich „BIP“ von sich. Die Verbindung der Arme mit den Etiketten auf dem Steuereinheit überprüfen, ob die Verbindungskabel der Arme umgeschaltet oder nicht verbunden sind. Der elektrische Servetto i3 gibt ein akustisches Warnsignal und funktioniert nicht.

11 GARANTIEBEDINGUNGEN

GARANTIEZERTIFIZIERUNG

Danke, dass Sie sich für unseren elektrischen Servetto i3 entschieden haben. Dieses Gerät wurde vom Hersteller einer strengen Prüfung nach internationalen Normen unterzogen. Wir sind daher von der hohen Qualität überzeugt. Im Falle einer Fehlfunktion wenden Sie sich bitte an Ihren Händler, der sie an den Hersteller schickt, der den technischen Eingriff mit Originalersatzteilen durchführt.

WICHTIG: Im Falle eines Eingriffes, um Anspruch auf die Garantie zu haben, ist es unerlässlich, dem elektrischen Servetto dieses Garantieblatt zusammen mit dem Verkaufsbeleg (Steuerbeleg oder Rechnung), der das Kaufdatum nachweist, beizufügen.

SERVETTO srl

Via Brughetti 32

I-20813 Bovisio M.go (MB)

Tel: +39/0362558899

Webseite: www.servetto.it

E-mail: servetto@servetto.it

GARANTIEBEDINGUNGEN

1. Die Garantiezeit für das Gerät beträgt 24 Monate ab Kaufdatum, was durch Vorlage dieses Zertifikats und der Quittung oder eines gleichwertigen Dokuments, das zum Zeitpunkt des Kaufs ausgestellt wurde, sowie durch den Nachweis des Kaufdatums für dieses Produkt und des Namens des Händlers belegt wird. Wenn keine gültigen Dokumente vorgelegt werden, erlischt die Garantie und dem Benutzer werden alle Reparaturkosten in Rechnung gestellt. Der Hersteller haftet nicht für den Verlust des Zertifikats und kann keine Duplikate ausstellen.

2. Die Garantie erstreckt sich nicht auf alle Teile, die infolge des Transports, der Fahrlässigkeit, der Fahrlässigkeit, der Fahrlässigkeit, der falschen Installation oder Wartung durch nicht autorisiertes Personal, der unsachgemäßen oder in jedem Fall anderen Verwendung des Geräts als der, für die es gebaut wurde, oder der Öffnung des Produkts oder schließlich aufgrund von Umständen, die jedoch nicht auf Herstellungsfehler des Geräts zurückzuführen sind, defekt oder beschädigt sein können. In jedem Fall sind abnehmbare Teile und Zubehörteile von der Garantie ausgeschlossen, wenn nicht nachgewiesen wird, dass ein Herstellungsfehler vorliegt. Die Garantie erstreckt sich auch nicht auf technische Eingriffe im Zusammenhang mit der Installation und/oder Prüfung des Gerätes sowie auf Teile, die einem normalen Verschleiß unterliegen.

3. Der Hersteller lehnt jede Verantwortung für Schäden ab, die direkt oder indirekt an Personen, Haustieren oder Gegenständen entstehen können, die sich aus der Nichtbeachtung aller Anweisungen in der Bedienungsanleitung des Produkts und vor allem aus Warnungen vor Installation, Verwendung und Wartung des Produkts ergeben.

4. Das Produkt wird vom Hersteller repariert. Die Kosten und Risiken des Transports zum und vom Hersteller gehen zu Lasten des Käufers.

5. Nach 24 Monaten ab Kaufdatum wird das Produkt nicht mehr von der Garantie abgedeckt und die Unterstützung erfolgt durch die Berechnung der Kosten für ersetzte Teile, Arbeitskosten, Transport, Personal und Materialien gemäß den vom Hersteller geltenden Sätzen. Jede Form der Garantie erlischt nach 3 Jahren ab dem Austritt des Produkts aus der offiziellen Preisliste.

6. Diese Garantie ist die einzige gültige Garantie; niemand ist berechtigt, mit Ausnahme des Herstellers, die Bedingungen derselben zu verlängern oder zu ändern und noch mehr, andere schriftliche oder mündliche Garantien zu geben. In jedem Fall ist der Austausch des Gerätes und die Verlängerung der Garantie aufgrund eines Fehlers ausgeschlossen.

7. Das Produkt darf nicht manipuliert oder verändert werden.

8. Die Hersteller behält sich das Recht vor, ohne vorherige Ankündigung angemessene Änderungen vorzunehmen.

SERVETTO ÉLECTRIQUE i3

MONTAGE

ATTENTION : Avant d'effectuer le montage du produit, lire attentivement le manuel d'instructions ainsi que les indications de sécurité. Utiliser Servetto Électrique i3 dans des endroits fermés et secs, selon les données techniques fournies par Servetto srl et seulement avec le transformateur fourni.

2 NORMES DE SÉCURITÉ

 Cet appareil n'est pas destiné à être utilisé par des personnes (y compris des enfants) dont les capacités physiques ou sensorielles ou mentales seraient réduites, ou ayant un manque d'expérience ou de connaissance, à moins qu'elles ne soient surveillées ou n'aient été formées à l'utilisation de l'appareil par une personne responsable de leur sécurité. Les enfants doivent être surveillés afin de s'assurer qu'ils ne jouent pas avec l'appareil.

 Ne pas brancher Servetto Électrique i3 au réseau électrique si la fiche ou le câble d'alimentation du transformateur (F) sont endommagés. Si le câble d’alimentation est endommagé, il doit être remplacer par un câble spécial disponible chez le constructeur ou le service d'assistance technique.

 Ne pas laisser Servetto Électrique i3 branché en cas de période d'absence prolongée.

 La fiche du câble d'alimentation du transformateur (F) devra être accessible afin de pouvoir éventuellement être débranchée.

 S'assurer que la fiche du câble du transformateur (F) est bien insérée dans la prise et de la présence du courant électrique.

 Le Servetto Électrique i3 doit être branché à un réseau électrique dont la tension, type de courant et fréquence doivent être conforme aux indications mentionnées sur la plaque signalétique du transformateur.

 Ne jamais recharger, réchauffer ou jeter sur le feu des batteries car elles pourraient exploser.

 Ne permettez pas aux enfants de jouer avec les batteries ou des parties d'emballage. Les sacs en plastique, les cartons, etc...comportent des risques d'étouffement.

 Ne pas ouvrir le Servetto Électrique i3 (A,B,C) ni transformateur (F) car la présence du courant à l'intérieur pourrait causer des décharges électriques et cela ferait déchoir la garantie.

 Ne pas placer Servetto Électrique i3 et ses télécommandes dans des zones humides, avec présence de vapeur ou de possibles jets d'eau.

 Ne pas brancher Servetto Électrique i3 à côté de source de chaleur comme des radiateurs, des poêles ou des appareils qui produisent de la chaleur.

 Ne pas faire contrôler ou faire réparer l'appareil par du personnel non qualifié, mais vous adresser à votre revendeur.

 Nettoyer les bras, le transformateur et la télécommande avec un chiffon sec, car des infiltrations d'humidité et de détergents agressifs pourraient endommager les parties électroniques.

 Pendant le mouvement de la penderie ne pas tendre les bras ou obstruer avec des parties du corps et/ou des objets l'espace de fonctionnement du Servetto Électrique i3

 Ni le transformateur ni tout autre câble ne doivent absolument pas entrer en contact avec des composants en mouvement.

 Utiliser Servetto Electrique i3 seulement avec le transformateur fourni. Alimenter Servetto Electrique i3 uniquement à très basse tension de sécurité correspondant au marquage sur l’appareil

ATTENTION : Ne pas ouvrir les bras, en cas d'ouverture il y a un risque de lésions. L'ouverture des bras fait déchoir la garantie du produit.

ATTENTION : Dans le cas où Servetto Électrique i3 ne fonctionne pas ou se bloque dans une position différente de la position verticale, ne pas déplacer manuellement la barre de penderie mais contacter un installateur. Les éventuels dommages causés par un actionnement manuel font déchoir la garantie.

3 CARACTÉRISTIQUES TECHNIQUES

Alimentation Servetto Électrique i3

Tension d'alimentation : 100-240 V

Fréquence : 50-60 Hz

Puissance : 60 W

Tension de sortie : 12 V

Placer l'alimentateur dans une zone éloignée de toutes sources d'humidité. Pour une correcte aération il faut prévoir une distance de sécurité de 50 cm d'éventuels obstacles car avec une utilisation de manière continue il y a un risques de surchauffe de l'alimentateur. En outre l'alimentateur doit être accessible pour des éventuelles opérations de maintenance.

Alimentation Télécommandes : Batterie au lithium de 3V, code CR2032

3.1 CONTENU DU PAQUET

A - Bras G

B - Bras D

C - Unité de commande

D - Câble de connexion bras - unité de commande (2 pces)

E - Sensor de sécurité (1 pce)

F - Transformateur

G - Plaque de fixation

H - Barre de penderie extensible

I - Gabarit de perçage (2 pces)

L - Vis de fixation (12 pces)

M - Vis angulaire (2 pces)

N - Télécommande mono-touche (déjà programmée)

O - Bouchons barre

Fig. 1

3.2 BRANCHEMENTS ET VOYANTS LED

1 – Voyant Led rouge de signalisation sensor de sécurité n° 1

2 – Voyant Led rouge de signalisation sensor de sécurité n° 2

3 – Connecteur pour domotique

4 – Voyant Led orange de signalisation activation domotique

5 – Voyant Led vert de signalisation présence alimentation

6 – Voyant Led rouge de signalisation radio

7 – Voyant Led bleu de signalisation Bluetooth

8 – Voyant Led rouge de signalisation exclusion sensors de sécurité

9 – Bouton pour exclusion sensor de sécurité

10 – Connecteur d'alimentation

11 – Connecteur pour le bras droit

12 – Connecteur pour le bras gauche

13 – Connecteur pour le sensor de sécurité n° 1

14 – Connecteur pour le sensor de sécurité n° 2

15 – Bouton pour :

- Actionnement manuel

- Programmation Télécommande

- Suppression Télécommandes mémorisées

Fig. 2
Fig. 3
Fig. 4

3.3 DIMENSIONS

5

Placer l'unité de commande dans un endroit loin de sources humidité pour une installation et un branchement correct des câbles il faut respecter les distances mentionnées dans la Fig.6.

ATTENTION : Le transformateur et l'unité de commande doivent être accessibles pour des éventuelles opérations de maintenance.

Fig. 6

Fig.

3.4 SCHÉMA DE CABLÂGE

Schéma d'explication du câblage à effectuer pour un correct fonctionnement de votre Servetto Électrique i3. Dans le chapitre 5 vous trouverez l'explication de l'installation et du branchement des composants.

ATTENTION : Brancher le Servetto Électrique i3 à l'alimentation uniquement après avoir effectué le branchement de tous les câbles.

ATTENTION : il est interdit de couper ou modifier de quelque manière que ce soit les câbles de connexion entre les différentes parties de l'appareil, sous peine de déchéance de la garantie.

Fig. 7

3.5 EXEMPLE D'INSTALLATION

Exemple d'installation sur armoire avec câblage invisible du Servetto Électrique i3.

Fig. 8

Dans la Fig. 9, vous trouverez les indications suggérées pour la rainure de la structure en cas de câblage invisible.

Dans le cas où le passage des câbles n'est pas prévu sur l'armoire, il est possible d'utiliser la fente obtenue dans la plaque de fixation pour faire sortir les câbles à l'intérieur du compartiment armoire Fig. 10

10

L'installation et le parcours des câbles est à la discrétion de l'installateur, en fonction de la longueur des câbles fournis, aucune rallonge ou modification des câbles standard n'est autorisée. Attention : ne pas couper les câbles (couper/ modifier les câbles comporte la déchéance de la garantie du produit).

Fig. 9

Fig.

4.1 FONCTIONNEMENT SENSOR DE SÉCURITÉ

L'utilisation d'au moins un sensor de sécurité est obligatoire dans des armoires avec portes, il est conseillé d'utiliser un second sensor de sécurité dans le cas où l'armoire est fermée par deux portes.

11

Les led n° 1 et 2 placés sur l'unité de commande (Fig. 2) indiquent l'état du sensor :

- Led Allumé  Sensor non branché ou occupé (Servetto n'effectue aucun mouvement)

- Led Éteint  Sensor correctement branché et libre (Servetto libre de fonctionner normalement)

Il est conseillé d'installer le sensor en suivant les spécifications fournies (voir paragraphe 5.2), dans en endroit sans encombrement et sur la porte (voir spécification technique Fig. 11) et avec une fixation stable.

Le sensor de sécurité ne détecte pas la présence de matériaux entièrement transparents comme per exemples le verre et le polycarbonate.

ATTENTION : dans le cas où aucun sensor de sécurité ne serait branché et où un ou plusieurs sensors seraient occupés ou détecteraient un obstacle, le Servetto Électrique i3 ne fonctionnera pas et l'unité de commande émettra un double Bip d'avertissement quand on appuiera sur le bouton d'activation.

Fig.

4.2 EXCLUSION SENSOR DE SÉCURITÉ

Si le Servetto Électrique i3 est utilisé dans un dressing ou dans des compartiments sans portes (fig.12) il est possible d'exclure le fonctionnement des sensors de sécurité

12

Pour exclure les sensors de sécurité, il faut maintenir appuyé pendant 10 secondes la touche n° 9 sur l'unité de commande (Fig. 2), au moment où la touche est relâchée le voyant rouge n° 8 s'allume, à partir de ce moment le Servetto Électrique i3 fonctionnera sans les sensors de sécurité connectés.

ATTENTION : Faire attention au fonctionnement de descentes et de montées de la penderie sans sensor car d'éventuels obstacles ne seraient pas détectés et Servetto ne s'arrêterait pas automatiquement Servetto décline toute responsabilité si l'exclusion du sensor de sécurité est effectuée dans des cas non adaptés et que cela comporte des éventuels dommages, directement ou indirectement, à des personnes, des animaux domestiques ou des biens.

Pour réactiver le fonctionnement des sensors de sécurité, appuyer pendant 2 secondes sur la touche n° 9 sur l'unité de commande (Fig. 2), le voyant rouge n° 8 reste allumé pour signaler que les sensors ont été précédemment désactivés.

Fig.

5.1 PERÇAGE ET MONTAGE PLAQUE DE FIXATION

Perçage avec gabarit fourni en kit et montage de la plaque de fixation (Fig. 14 – 15).

Fig.13
Fig.14
Fig. 15 – a
Fig.15 - b

16

5.2 PERÇAGE ET MONTAGE SENSOR DE SÉCURITÉ

Position de fixation et installation du sensor de sécurité (Fig. 17).

Fig.
Fig. 17

5.3 MONTAGE BRAS

Connecter les câbles et monter le bras sur la plaque de fixation, comme illustré dans la séquence de la Fig. 18 et brancher l'autre extrémité des câbles à l'unité de commande C) Fig. 1).

18

Brancher les éventuels sensors de sécurité si demandés aux prises 13 et 14 (Fig. 3) sur l'unité de commande.

ATTENTION : Vérifier que les câbles ne sont pas abimés ou dans une position qui peut affecter le correct fonctionnement du produit.

Ne pas couper ou modifier de quelque manière que ce soit les câbles.

5.4 CONNEXION ALIMENTATION

Brancher le transformateur à la ligne d'alimentation (110-240V, 50-60Hz), puis brancher le transformateur à l'unité de commande, le voyant vert de signalisation de tension 5 (Fig. 2) doit s'allumer accompagné d'un Bip.

Fig.19

Dans le cas où, une fois l'alimentation électrique branchée, l'unité de commande émet une série de Bips en continu, vérifier que la connexion des câbles bras-unité de commande est correcte n° 11, 12 (Fig. 3).

Fig.

5.5 PREMIÈRE MISE EN ROUTE DU SERVETTO ÉLECTRIQUE i3

Régler la longueur de la barre penderie comme cela est illustré dans la fig. 20, bloquer la barre penderie en faisant tourner les deux barres.

Appuyer sur la touche de la télécommande, lettre N (Fig. 1), le Servetto Électrique i3 effectue une descente. Insérer les bouchons en plastique (lettre O), insérer le tube (lettre H) et visser avec les vis angulaires (Fig.21).

ATTENTION : si Servetto Electrique i3 ne fonctionne pas et l'unité de commande émet un double Bip, vérifier d'avoir installé correctement les sensors de sécurité ou d'avoir exclu correctement les sensors de sécurité (Chap.4)

Fig.20
Fig.21

Appuyer de nouveau sur le bouton de la télécommande pour faire remonter les bras. Le Servetto Électrique i3 est maintenant installé et fonctionne : il est possible de charger la barre de penderie.

Il est possible d'arrêter à tout moment le Servetto Électrique i3 en appuyant sur la touche de la télécommande. En appuyant de nouveau sur la touche de la télécommande, le Servetto Électrique i3 reprend sa course dans la direction opposée.

Il est aussi possible d'actionner le Servetto Électrique i3 en appuyant sur le bouton d'actionnement 15 (Fig.2) placé sur un des deux bras.

ATTENTION : si en phase de remontée le Servetto Électrique i3 s'arrête et émet deux Bips cela indique que le poids est supérieur à la limite autorisée, en appuyant de nouveau sur le bouton de la télécommande, le Servetto Électrique i3 descend et il sera alors possible d'enlever des vêtements et de réessayer.

6 SYNCHRONISATION DE

LA TÉLÉCOMMANDE

ATTENTION : télécommande mono-touche inclus déjà programmé. Répéter la synchronisation seulement si nécessaire. Pour la synchronisation de la télécommande à 4 touches ou à 12 touches (optionnel) effectuer la procédure ci-dessous.

Fig. 22

Pour synchroniser le Servetto Électrique i3 avec la télécommande souhaitée, il faut effectuer la procédure suivante :

1 - Appuyer sur la touche de programmation (Fig. 22) pendant 5 secondes, quand la touche est relâchée on entend un double Bip

2 - Appuyer sur la touche de la télécommande souhaitée (Fig. 23) et on entend un autre Bip. Avec cette procédure le Servetto Électrique i3 a mémorisé la touche appuyée comme la commande de montée / descente.

Télécommandes disponibles (fig. 23) :

A) Télécommande mono-touche inclus

B) Télécommande à 4 touches, optionnel (ref. SWCO02504)

C) Télécommande à 12 touches, optionnel (ref. SWCO02512)

Fig.23

En cas de télécommande à 4 touches ou à 12 touches, répéter cette procédure pour synchroniser chaque Servetto Electrique i3 à la touche correspondent pour mémoriser la commande de montée/descente.

6.1 SUPPRESSION DES TÉLÉCOMMANDES MÉMORISÉES DANS LE SERVETTO ÉLECTRIQUE i3

Si vous souhaitez supprimer toutes les télécommandes maintenir appuyé la touche de programmation (Fig.22) pendant 10 secondes, une fois la touche relâchée vous entendrez trois Bips consécutifs qui indiquent que toutes les télécommandes synchronisées ont été supprimées. Il est ainsi possible de resynchroniser la télécommande (les télécommandes).

7 SYNCHRONISATION BLUETOOTH

Vérifier que le Servetto Électrique i3 est branchée à la ligne d’alimentation

Télécharger l’App « Servetto » (AppStore / Google Play Store). En ouvrant l’App, le Servetto Électrique i3 est automatiquement détecté et peut donc être immédiatement sélectionné et fait fonctionner avec smartphone

8 ÉLIMINATION

Ce produit relève du champ d'application de la Directive 2012/19/UE concernant la gestion des déchets d'équipements électriques et électroniques (DEEE).

L'appareil ne doit pas être éliminé comme un déchet ménager car il est composé de différents matériaux qui peuvent être recyclés dans des structures adaptées. S'informer auprès de la municipalité pour savoir où se trouve la décharge pour ce genre de produit pour sa mise au rebut et son recyclage. Nous vous rappelons que si vous achetez un appareil équivalent le distributeur est tenu au retrait gratuit de l'appareil à mettre au rebut.

Le produit n'est pas potentiellement dangereux pour la santé et l'environnement, il ne contient pas de substances nocives conformément à la Directive 2011/65/UE (RoHS), mais s'il est abandonné dans la nature il a un impact négatif sur l'écosystème Lire attentivement les instructions avant d'utiliser l'appareil pour la première fois. Nous vous recommandons de ne pas utiliser le produit pour une finalité autre que celle pour laquelle il a été conçu, car il y a un risque de choc électrique s'il est utilisé d'une manière inappropriée.

Le symbole de la poubelle barrée présent sur l'étiquette placée sur l'appareil indique la conformité du produit à la norme relative aux déchets d'équipements électriques et électroniques. L'abandon de l'appareil dans la nature ou sa mise au rebut abusive sont punis par la loi.

9 INFORMATIONS ENVIRONNEMENTALES

Conseils pour le respect de l'environnement

EMBALLAGES

Les matériaux utilisés pour l'emballage répondent aux normes écologiques en vigueur, si vous n'avez pas de problèmes de place nous vous conseillons de conserver l'emballage pendant toute la durée de la garantie. Si vous voulez jeter l'emballage il faut le faire sans nuire à l'environnement.

BATTERIES

Les batteries sont de type écologique, c'est à dire « vertes », et elles doivent être portées dans des centres de collectes et d'élimination prévus pour les produits polluants. Dans tous les cas elles ne doivent pas être jetées dans l'environnement et dans un but de sauvegarde de ce dernier il vaut mieux utiliser des batteries sans mercure.

1. Est-il possible de synchroniser plusieurs télécommandes sur un Servetto Électrique i3 ?

Oui, il faut suivre la procédure de synchronisation de la télécommande (chap. 6) à un maximum de 8 télécommandes pour chaque Servetto Électrique i3. Pour chaque touche à synchroniser il faut répéter la procédure illustrée au chap. 6.

2. Est-il possible de connecter le Servetto Électrique i3 à la domotique ou à une touche à distance ?

Oui, pour connecter le Servetto Électrique i3 à un système de domotique ou à une touche à distance monostable, il faut acheter le câble accessoire (art. DOMOi3ELZ) et gérer l'actionnement du Servetto Électrique i3 avec la fermeture du circuit accessoire.

3. Quand j'appuie sur la télécommande le Servetto Électrique i3 émet deux Bip mais il ne descend pas.

Pour fonctionner, le Servetto électrique i3 doit avoir au moins un sensor de sécurité branché et sans obstacles Vérifier que les sensors de sécurité sont correctement branchés et qu'avec les portes sont entièrement ouvertes les leds (n° 1 et/ou 2 Fig. 2) sont éteints, si les leds restent allumés, vérifier que devant les sensors (30 cm) il n'y a pas d'objet ou que le sensor est correctement connecté.

4. Le Servetto Électrique i3 en montée émet deux Bips et se bloque. Contrôler la charge de la barre penderie qui doit être inférieure à 17 kg. En appuyant de nouveau sur le bouton de la télécommande : le Servetto Électrique i3 descend et il sera alors possible d'enlever des vêtements jusqu'à arriver au poids maximal autorisé et réactiver la barre de penderie automatisée.

5. Le Servetto Électrique i3 en descente se bloque et émet deux Bips. Quelque chose a obstrué le sensor de sécurité, libérer le sensor de sécurité et appuyer sur le bouton, Le Servetto Électrique i3 repart dans la même direction.

6. Le Servetto Électrique i3 ne fonctionne pas.

Effectuer les contrôles suivants :

o Vérifier que le voyant led vert d'alimentation est allumé (n°5 Fig. 2)

o Vérifier le correct fonctionnement du (des) sensor(s) de sécurité (chap. 4)

o Vérifier que la télécommande est correctement synchronisée et en état de fonctionner (chap. 6)

7. Appuyer sur le bouton de la télécommande en faisant descendre en même temps deux Servetto Electrique i3 La touche de la télécommande a été synchronisée sur les deux Servetto Électriques i3, il faut donc supprimer les télécommandes synchronisées par les deux Servetto Électrique i3 (Chap. 6.1) et répéter la synchronisation sur les deux Servetto Électrique i3 en choisissant un bouton différent pour chaque barre de penderie automatisée (chap.6)

8. Lors du branchement à l'alimentation du Servetto Électrique i3 l'unité de commande émet une série de Bips en continu. Vérifier le branchement des bras en suivant les étiquettes placées sur l'unité de commande, si les câbles de connexion des bras sont inversés ou non branchés le Servetto Électrique i3 émet une alarme sonore et ne fonctionne pas.

11 CONDITIONS DE GARANTIE

CERTIFICAT DE GARANTIE

Félicitations pour avoir choisi notre Servetto Électrique i3.

Cet appareil a été soumis par la société productrice à des tests rigoureux conformément aux standards internationaux. Nous sommes donc certains de la qualité élevée de notre appareil. Toutefois si un mauvais fonctionnement devait se vérifier, nous vous invitions à contacter votre revendeur qui se chargera d'envoyer l'appareil à la société productrice, laquelle effectuera une intervention technique en utilisant des pièces détachées d'origine.

IMPORTANT: En cas d'intervention, afin d'avoir le droit à la garantie, il faut joindre au Servetto Électrique la présente fiche de garantie, ainsi que le document de vente (ticket ou facture) qui prouve la date d'achat.

SERVETTO srl

Via Brughetti 32

I-20813 Bovisio M.go (MB)

Tél: +39/0362558899

Site internet: www.servetto.it

E-mail: servetto@servetto.it

CONDITIONS DE GARANTIE

1. L'appareil est garanti pour une période de 24 mois à partir de la date d'achat. Cette date est présente sur le présent certificat et sur la facture, ou sur tout autre document délivré au moment de la vente, et qui atteste la date d'achat du produit ainsi que le nom du revendeur. La non présentation de documents valides comporte la déchéance de la garantie ainsi que la facturation de tous les frais de réparation. Le fabricant ne répond pas en cas de perte du certificat de garantie et ne peut pas en émettre une copie.

2. Les parties défectueuses ou endommagées lors du transport ou à cause d'une négligence d'utilisation, d'une mauvaise installation ou d'une maintenance effectuée par du personnel non agréé, par une utilisation impropre ou différente de celle pour laquelle l'appareil a été construit, ou l'ouverture de l'appareil, ou à cause de circonstances qui, dans tous les cas, n'ont pas pour origine des défauts de fabrication de l'appareil, ne sont pas couvertes par la garantie. Dans tous les cas s'il n'est pas prouvé qu'il s'agit d'un vice de fabrication, les pièces détachables et les éventuels accessoires sont exclus de la garantie. Les interventions techniques concernant l'installation et/ou les test de l'appareil sont aussi exclus de la garantie ainsi que les pièces sujettes à l'usure normale.

3. La société productrice décline toute responsabilité pour des éventuels dommages qui pourraient survenir, directement ou indirectement, à des personnes, animaux domestiques ou biens, résultant d'un non-respect des prescriptions indiquées dans le manuel d'instruction du produit en ce qui concerne, notamment, les avertissements relatifs à l'installation, l'utilisation et la maintenance du produit.

4. Le produit sera réparé chez le fabricant. Les frais et les risques de transport de et vers le fabricant seront à la charge de l'acheteur.

5. Passé le délai de 24 mois de la date d'achat, le produit ne sera plus couvert par la garantie et l'assistance sera fournie en facturant le coût des pièces remplacées, les frais de main-d'œuvre, de transport, de personnel et des matériaux, selon les tarifs en vigueur de la société productrice. Toute forme de garantie expire 3 ans après la sortie du produit du tarif officiel.

6. La présente garantie est la seule valable ; nul n'est autorisé, à l'exclusion de la société de production, à étendre ou modifier les termes de la garantie, ou à délivrer d'autres garanties écrites ou orales. Dans tous les cas le remplacement de l'appareil est exclu tout comme le prolongement de la garantie à la suite d'une panne.

7. Le produit ne doit pas être manipulé ou modifié.

8. La société productrice se réserve le droit d’apporter les modifications nécessaires sans préavis

SERVETTO ELÉCTRICO i3

MONTAJE

ADVERTENCIA: Antes de comenzar con el montaje del producto, leer atentamente todo el manual de instrucciones y las indicaciones de seguridad. Utilizar el Servetto Eléctrico i3 en ambientes cerrados y secos, en el ámbito de los datos técnicos admitidos por Servetto srl y únicamente con el alimentador en dotación.

2 NORMAS DE SEGURIDAD

 El aparato no está destinado a su uso por parte de personas (niños incluidos) cuyas capacidades físicas, sensoriales y/o mentales sean reducidas, o con falta de experiencia o de conocimiento, a no ser que estén en compañía de personas responsables de su seguridad, vigilándolos y explicándoles las instrucciones de uso del aparato. Los niños deben ser vigilados para constatar que no jueguen con el aparato.

 No conectar el Servetto Eléctrico i3 a la red eléctrica si el enchufe o el cable de alimentación del alimentador (F) están dañados. Además, si el cable està dañado, debe ser reemplazado por un nuevo cable especial suministrado por la empresa fabricante o por el revendedor.

 No dejar el Servetto Eléctrico i3 conectado a la red eléctrica cuando se ausente de casa por largos períodos.

 El enchufe del cable de alimentación (F) debe estar al alcance de la mano para facilitar una eventual rápida desconexión.

 Verificar que el enchufe del cable de alimentación del alimentador (F) esté bien conectada en la toma y que haya corriente eléctrica.

 El Servetto Eléctrico i3 debe conectarse a una red eléctrica cuya tensión, tipo de corriente y frecuencia sean conformes a las indicaciones que se encuentran en la etiqueta del alimentador.

 No intentar recargar, recalentar ni echar al fuego las baterías porque podrían explotar.

 No permitir a los niños que jueguen con las baterías ni las partes del embalaje. Las bolsas de plástico, los cartones, etc. pueden ser causa de asfixia.

 No abrir el Servetto Eléctrico i3 (A, B, C) ni el alimentador (F): en el interior hay corriente que puede ser causa de descargas eléctricas, anulando así la garantía.

 No colocar el Servetto Eléctrico i3 ni los relativos mandos a distancia en lugares húmedos, con presencia de vapores o posibles salpicaduras de agua.

 No conectar el Servetto Eléctrico i3 cerca de fuentes de calor como radiadores, estufas o aparatos que produzcan calor.

 No realizar controles ni reparaciones por personal no especializado, sino dirigirse al revendedor.

 Limpiar los brazos, el transformador y el mando a distancia exclusivamente con un paño seco, ya que las infiltraciones de humedad y los limpiadores agresivos pueden dañar la electrónica.

 Durante el movimiento no estirar las manos/no obstruir con ninguna parte del cuerpo y/o algún objeto el área de movimiento del Servetto Eléctrico i3.

 Ni el transformador ni ningún otro cable deben estar en contacto con los componentes en movimiento.

 El Servetto eléctrico i3 debe ser utilizado solo con el alimentador suministrado y a baja tensión correspondiente a lo indicado en el marcado del aparato.

ADVERTENCIA: No abrir los brazos, su apertura podría causar lesiones. La apertura de los brazos ocasiona la anulación de la garantía del producto.

ADVERTENCIA: En caso de que el Servetto Eléctrico i3 no funcione o se bloquee en una posición diferente a la vertical, no mover manualmente la barra perchero, sino contactar con el instalador. Las eventuales roturas causadas por el accionamiento manual ocasiona la anulación de la garantía del producto.

3 CARACTERÍSTICAS TÉCNICAS

Alimentación Servetto Eléctrico i3

Voltaje: 100-240 V

Frecuencia: 50-60 Hz

Potencia: 60 W

Tensión de salida: 12 V

Posicionar el alimentador en una zona lejana de lugares húmedos. Para una correcta aireación es necesario respetar una distancia de seguridad de 50 mm de eventuales obstáculos, de lo contrario, con un uso continuado, existe el peligro de recalentamiento del alimentador. Además, el alimentador debe ser accesible para eventuales trabajos de mantenimiento.

Alimentación Mandos a distancia

Batería de litio de 3V, cód. CR2032

3.1 CONTENIDO DEL EMBALAJE

A - Brazo izquierdo

B - Brazo derecho

C - Centralita

D - Cables de conexión brazo-centralita (2 pzs.)

E - Sensor de seguridad (1 pz.)

F - Alimentador

G - Plaquetas de fijación

H - Tubo perchero extensible en anchura

I - Plantilla de perforación (2 pzs.)

L - Tornillos de fijación (12 pzs.)

M - Tornillos para las piezas de rincón (2 pzs.)

N - Mando a distancia 1 botón (ya programado)

O - Tapas para el tubo perchero

1

Fig.

3.2 CONEXIONES Y INDICADORES LED

1 – Led rojo de señalización sensor de seguridad N.º 1

2 – Led rojo de señalización sensor de seguridad N.º 2

3 – Conector para domótica

4 – Led naranja de señalización activación domótica

5 – Led verde de señalización presencia alimentación

6 – Led rojo de señalización radio

7 – Led azul de señalización bluetooth

8

– Led rojo de señalización exclusión sensor de seguridad

9 – Botón para exclusión sensor de seguridad

10 – Conector de alimentación

11 – Conector para el brazo derecho

12 – Conector para el brazo izquierdo

13 – Conector para el sensor de seguridad N.º 1

14 – Conector para el sensor de seguridad N.º 2

15 – Botón para:

- Accionamiento manual

- Programación mando a distancia

- Eliminación mandos a distancia memorizados

Fig. 2
Fig. 3
Fig. 4

3.3 DIMENSIONES

5

Posicionar la centralita en una zona lejos de fuentes de humedad. Para una correcta instalación y conexión de los cables, es necesario respetar las distancias indicadas en la Fig.6.

ATENCIÓN: El alimentador y la centralita deben ser accesibles para eventuales trabajos de mantenimiento.

Fig. 6

Fig.

3.4 ESQUEMA DEL CABLEADO

Esquema explicativo del cableado que se debe realizar para un correcto funcionamiento del Servetto Eléctrico i3. En el capítulo 5 se explica la secuencia de instalación y conexión de los componentes.

ATENCIÓN: Conectar el Servetto Eléctrico i3 a la alimentación solamente luego de haber completado la conexión de todos los cables.

ATENCIÓN: está prohibido cortar o modificar los cables de conexión de las diferentes partes del producto, ya que ocasiona la anulación de la garantía.

Fig. 7

3.5 EJEMPLO DE INSTALACIÓN

Ejemplo de instalación del Servetto eléctrico i3 en armario con cableado oculto.

8

En Fig. 9, están indicadas las sugerencias para el fresado del estribo en caso de cableado oculto.

En caso de que el armario no esté preparado para el paso de los cables, es posible utilizar el orificio ubicado en la placa de fijación para permitir la salida de los cables en el interior del vano del armario Fig. 10

10

9

La instalación y el recorrido de los cables quedan a criterio del instalador. Compatiblemente con la longitud de los cables incluidos en el embalaje, no se admiten prolongaciones o modificaciones a los cables estándar. Atención: no cortar los cables (cortar/alterar los cables ocasiona la anulación de la garantía del producto).

Fig.
Fig.
Fig.

4 SENSOR DE SEGURIDAD

4.1 FUNCIONAMIENTO DEL SENSOR DE SEGURIDAD

El uso de al menos un sensor de seguridad resulta obligatorio en armarios que cuenten con puertas de cierre, se recomienda el acople del segundo sensor de seguridad en el caso de que el vano esté cerrado por dos puertas.

11

Los leds N.º 1 y 2, colocados en la centralita (Fig. 2), indican el estado del sensor:

- Led Encendido  Sensor no conectado o ocupado (Servetto no realiza ningún movimiento)

- Led Apagado  Sensor correctamente conectado y libre (Servetto libre para funcionar normalmente)

Se recomienda la instalación del sensor según las especificaciones (ver punto 5.2), en una posición libre de obstáculos, frente a la puerta como se especifica (Fig. 11) y con una fijación estable.

El sensor de seguridad no detecta la presencia de materiales completamente transparentes como, por ejemplo, vidrio y policarbonato.

ATENCIÓN: en el caso de que ningún sensor de seguridad esté conectado o uno o más estén ocupados o detecten un obstáculo, el Servetto eléctrico i3 no funcionará y la centralita emitirá un doble “BIP” de aviso cuando será pulsada la tecla de accionamiento.

Fig.

4.2 EXCLUSIÓN DEL SENSOR DE SEGURIDAD

En caso de que el Servetto eléctrico i3 se utilice en armarios/vanos sin puertas (Fig. 12) es posible excluir el funcionamiento de los sensores de seguridad

12

Para excluir los sensores de seguridad, se debe mantener presionada durante 10 segundos la tecla N.º 9 en la centralita (Fig. 2), al soltar la tecla, se encenderá el led rojo N.º 8. Desde este momento el Servetto eléctrico funcionará sin los sensores de seguridad conectados.

ADVERTENCIA: Prestar atención al funcionamiento del colgador abatible sin los sensores, ya que los eventuales obstáculos no serán detectados y el Servetto no se detendrá automáticamente.

Servetto declina toda responsabilidad en caso de que la exclusión del sensor de emergencia se efectúe en casos no adecuados y que esto ocasione eventuales daños, directa o indirectamente, a personas, animales domésticos o cosas.

Para reactivar el funcionamiento de los sensores de emergencia, presionar durante 2 segundos la tecla N.º 9 en la centralita (Fig. 2), el led rojo N.º 8 permanecerá encendido para señalar que anteriormente los sensores han sido desactivados.

Fig.

5 INSTALACIÓN

5.1 PERFORACIÓN Y MONTAJE DE LAS PLAQUETAS DE FIJACIÓN

Procedimiento de perforación utilizando las plantillas suministradas en el kit y montaje de la plaqueta de fijación (Fig. 14 – 15).

Fig.13
Fig.14
Fig. 15 - a
Fig.15 - b

16

5.2 PERFORACIÓN Y MONTAJE DEL SENSOR DE SEGURIDAD

Posición de fijación y instalación del sensor de seguridad (Fig. 17).

17

Fig.
Fig.

5.3 MONTAJE DE LOS BRAZOS

Conectar los cables y montar el brazo en la plaqueta de fijación, como se muestra en la secuencia de la Fig. 18, y conectar el otro extremo de los cables a la centralita C (Fig. 1).

Fig. 18

Conectar sensores de seguridad, si fueran necesarios, en las tomas 13 y 14 (Fig. 3) de la centralita.

ATENCIÓN: Verificar que los cables no estén dañados o en posiciones que podrían invalidar el correcto funcionamiento del producto. No cortar ni alterar en ningún modo los cables.

5.4 CONEXIÓN A LA ALIMENTACIÓN

Conectar el alimentador a la línea de alimentación (110-240V, 50-60Hz)

Sucesivamente conectar el alimentador a la centralita, el led verde de señalización de la tensión 5 (Fig. 2) debe encenderse acompañado por un ”BIP”.

En el caso de que la centralita emita continuamente un “BIP” al estar conectada la alimentación, verificar la correcta conexión de los cables brazo – centralita N.º 11, 12 (Fig. 3).

Fig.19

5.5 PRIMER FUNCIONAMIENTO DEL SERVETTO ELÉCTRICO i3

Regular la longitud del tubo como se muestra en la Fig. 20, bloquear el tubo perchero rotando recíprocamente los dos tubos.

Pulsar la tecla del mando a distancia (letra N Fig.1), el Servetto Eléctrico i3 efectúa el descenso. Introducir las tapas de plástico (letra O), introducir el tubo (letra H) y ajustar los tornillos en las piezas de rincón (Fig 21).

ATENCIÓN: si el Servetto eléctrico i3 no funciona y la centralita emite un doble “BIP”, verificar que los sensores de seguridad sean instalados correctamente o que se hayan excluido correctamente los sensores de seguridad (Cap. 4)

Pulsar nuevamente la tecla del mando a distancia para que los brazos vuelvan a subir.

Fig.20
Fig.21

El Servetto Eléctrico i3 está instalado y funcional: es posible cargar el tubo perchero.

Es posible detener en cualquier momento el Servetto eléctrico i3 pulsando la tecla del mando a distancia. Pulsando nuevamente la tecla del mando a distancia, el Servetto Eléctrico i3 retoma el movimiento en dirección opuesta.

Además es posible accionar el Servetto eléctrico i3 pulsando la tecla de accionamiento 15 (Fig.2) ubicada en uno de los brazos.

ATENCIÓN: si en la fase de ascenso el Servetto Eléctrico i3 se detiene y emite dos BIP, su capacidad ha sido superada. Pulsando nuevamente el botón del mando a distancia, el Servetto Eléctrico i3 descenderá a continuación, quitar algunas prendas y reintentar.

6 SINCRONIZACIÓN DEL MANDO A DISTANCIA

ATENCIÓN: El mando a distancia 1 botón es suministrado ya programado. Repetir la sincronización solo si necesario.

Los mandos a distancia 4 y 12 botones opcionales deben ser sincronizados como indicado abajo.

22

Para sincronizar el Servetto Eléctrico i3 con el mando a distancia deseado, se debe realizar el siguiente procedimiento:

1 - Pulsar la tecla de programación (Fig. 22) durante 5 segundos, al soltar se escuchará un doble “BIP”

2 - Pulsar el botón deseado del mando a distancia (Fig. 23), se escuchará otro “BIP”

A través de este procedimiento, el Servetto Eléctrico ha adquirido la tecla pulsada como mando de descenso/ascenso.

Mandos a distancia disponibles (Fig.23):

A) Mando a distancia 1 botón, suministrado en dotación

B) Mando a distancia 4 botones, opcional (art. SWCO02504)

C) Mando a distancia 12 botones, opcional (art. SWCO02512)

Fig.
Fig.23

Para los mandos a distancia 4 o 12 botones, repetir el procedimiento indicado para sincronizar cada Servetto Eléctrico i3 con la tecla corrispondiente y adquirir para cada tecla/Servetto Electrico i3 el mando de descenso/ascenso.

6.1 ELIMINACIÓN DE LOS MANDOS A DISTANCIA MEMORIZADOS EN EL SERVETTO ELÉCTRICO i3

Si se desean eliminar todos los mandos a distancia, se debe mantener pulsada la tecla de programación (Fig.22) durante 10 segundos. Al soltar el botón, tres “BIP” consecutivos indican que todos los mandos a distancia sincronizados han sido eliminados. De hecho, es posible resintonizar el/los mando/s a distancia deseado/s.

7 SINTONIZACIÓN BLUETOOTH

Asegurarse de que el Servetto eléctrico i3 esté conectado a la alimentación

Descargar y abrir la aplicación “Servetto” de AppStore/Google Play Store

El Servetto Eléctrico i3 es detectado automáticamente por la aplicación y puede ser seleccionado y utilizado con el smartphone

8 DISPOSICIÓN

Este producto se encuentra en el ámbito de aplicación de la Directiva 2012/19/UE concerniente a la gestión de residuos de aparatos eléctricos y electrónicos (RAEE).

El aparato no debe ser eliminado con los desechos domésticos ya que están compuestos con diferentes materiales que pueden ser reciclados en las estructuras correspondientes. Informarse a través de las autoridades municipales sobre la ubicación de las plataformas ecológicas aptas para recibir el producto para la eliminación y su sucesivo reciclaje correcto.

Se recuerda, además, que comprando un aparato equivalente, el distribuidor tiene la obligación de retirar gratuitamente el producto que se debe eliminar.

El producto no es potencialmente peligroso para la salud humana ni el medioambiente, al no contener sustancias dañinas como lo indica la Directiva 2011/65/UE (RoHS), pero si se lo abandona en el medioambiente tiene un impacto negativo en el ecosistema.

Leer atentamente las instrucciones antes de utilizar el aparato por primera vez. Se recomienda absolutamente no usar el producto para un fin diferente para el cual ha sido destinado, ya que existe el peligro de shock eléctrico si se usa inapropiadamente.

El símbolo del contenedor de basura con una cruz, presente en la etiqueta del aparato, indica la correspondencia de dicho producto con la normativa relativa a los residuos de aparatos eléctricos y electrónicos.

El abandono en el medioambiente del aparato o la eliminación abusiva del mismo están penados por la ley.

9 INFORMACIÓN AMBIENTAL

Consejos para el respeto del medioambiente

EMBALAJES

Los materiales utilizados para el embalaje responden a las normas ecológicas vigentes. Si no existen problemas de espacio, recomendamos conservar el embalaje del producto al menos por el período de duración de la garantía. Si en cambio se quiere deshacer del mismo, debe hacerse sin dañar el medioambiente.

BATERÍAS

Las baterías que no son del tipo ecológicas, o sea "verdes", se deben llevar a los puntos de recolección y eliminación previstos para los productos contaminantes. En todo caso no deben ser abandonadas en el medioambiente, por ello se recomienda usar siempre baterías sin mercurio.

10 PREGUNTAS FRECUENTES

1. ¿Es posible sincronizar más de un mando a distancia con un Servetto eléctrico i3? Sí, aplicando el procedimiento de sintonización del mando a distancia (cap. 6) hasta un máximo de 8 mandos diferentes por cada Servetto Eléctrico i3. Para cada tecla de sincronización se debe repetir el procedimiento ilustrado en el cap. 6.

2. ¿Se puede conectar el Servetto eléctrico i3 a la domótica o a un botón remoto? Sí. Para conectar el Servetto Eléctrico i3 a una instalación de domótica o a un botón remoto monoestable, se necesita adquirir el cable accesorio (art. DOMOi3ELZ) y gestionar el accionamiento del Servetto eléctrico i3 con el cierre del circuito accesorio.

3. Cuando pulso el mando a distancia, el Servetto eléctrico i3 emite dos BIP pero no desciende. El Servetto eléctrico i3 requiere al menos un sensor de seguridad conectado y libre de obstáculos para funcionar. Verificar que los sensores de seguridad estén correctamente conectados y que, con las puertas completamente abiertas, los leds (N.º 1 y/o 2 Fig. 2) estén apagados. En caso de que los leds permanezcan encendidos, verificar que delante del sensor no se encuentre ningún objeto en una distancia de aprox. 30 cm y que el sensor esté correctamente conectado.

4. El Servetto eléctrico i3 en ascenso emite dos bips y luego se detiene.

Controlar que la carga en el tubo perchero no supere los 17 kg. Accionar el colgador abatible pulsando nuevamente el botón del mando a distancia: el Servetto Eléctrico i3 descenderá a continuación, quitar algunas prendas hasta alcanzar la capacidad correcta y volver a accionar el colgador abatible.

5. El Servetto eléctrico i3 en descenso se bloquea y emite dos BIP.

Algo ha obstruido el sensor de seguridad. Liberar el sensor de seguridad y pulsar el botón. El Servetto eléctrico i3 volverá a partir en la misma dirección.

6. El Servetto eléctrico i3 no funciona.

Efectuar las siguientes verificaciones:

o Verificar que el Led verde de alimentación esté encendido (N.º 5 Fig. 2)

o Verificar que el/los sensor/es de seguridad funcionen correctamente (Cap. 4)

o Verificar que el mando a distancia esté sintonizado correctamente y en función (Cap. 6)

7. Pulsando la tecla del mando a distancia descienden contemporáneamente dos Servetto Eléctrico i3

La misma tecla del mando a distancia ha sido sintonizada con ambos Servetto Eléctrico i3

Por lo tanto, se deben eliminar los mandos sintonizados con ambos Servetto Eléctrico i3 (Cap.6.1), y repetir la sintonización con ambos Servetto eléctrico i3 eligiendo una tecla diferente para cada colgador abatible (Cap. 6)

8. Cuando conecto el Servetto eléctrico i3 a la alimentación, la centralita emite una serie de BIP sin parar. Verificar la conexión de los brazos siguiendo las etiquetas colocadas en la centralita. Si los cables de conexión de los brazos se invierten o no se conectan, el Servetto eléctrico i3 emite una alarma sonora y no funciona.

11 CONDICIONES DE GARANTÍA

CERTIFICADO DE GARANTÍA

Enhorabuena por haber elegido nuestro Servetto Eléctrico i3.

Este aparato ha sido sometido por la empresa fabricante a severas pruebas según los estándares internacionales. Por lo tanto, estamos seguros de su alta calidad. En el caso de que se manifestase alguna falla, le invitamos a dirigirse al revendedor, el cual enviará el producto a la empresa fabricante, la que realizará la intervención técnica con el uso de piezas de repuesto originales.

IMPORTANTE: En caso de intervención y para tener derecho a la garantía, es indispensable adjuntar al Servetto eléctrico i3 el presente documento de GARANTÍA, junto con el comprobante de venta (Ticket Fiscal o Factura) que compruebe la fecha de compra.

SERVETTO srl

Via Brughetti 32 I-20813 Bovisio M.go (MB)

Tel: +39/0362558899

Sitio web: www.servetto.it

Correo electrónico: servetto@servetto.it

CONDICIONES DE GARANTÍA

1. El aparato tiene una garantía durante un período de 24 meses desde la fecha de compra, que se comprueba presentando el presente certificado y el recibo fiscal, o documento equivalente entregado en el momento de la compra y comprobante la fecha de compra de este producto y el nombre del revendedor. La no presentación de dichos documentos válidos ocasiona la anulación de la garantía y todos los gastos de reparación correrán a cargo del usuario. La empresa fabricante no responde por la pérdida del certificado y no puede emitir duplicados.

2. No están protegidas por la garantía todas las partes que resulten defectuosas o dañadas a causa del transporte, de la negligencia, del descuido en su uso, de la incorrecta instalación o mantenimiento realizado por personal no autorizado, por el uso del aparato en modo inapropiado o diferente de aquel para el que ha sido fabricado, o la apertura del producto, o sea, en definitiva, a causa de circunstancias que no puedan justificarse como defectos de fabricación del aparato. Quedan fuera de la garantía los detalles extraíbles y los eventuales accesorios, si no se demuestra que se tratan de defectos de fabricación. Se excluyen también de la garantía las intervenciones técnicas inherentes a la instalación y/o la prueba del aparato, además de las partes sujetas al desgaste normal.

3. La empresa fabricante declina toda responsabilidad por eventuales daños que pueden derivar, directamente o indirectamente, a personas, animales domésticos o cosas, como consecuencia del no cumplimiento de todas las prescripciones indicadas en el manual de instrucciones del producto y relativos, sobre todo, las advertencias en la instalación, uso y mantenimiento del producto.

4. El producto será reparado en las instalaciones de la empresa fabricante. Los gastos y los riesgos de transporte desde y hacia la empresa fabricante serán a cargo del comprador.

5. Transcurridos los 24 meses desde la fecha de compra, el producto no contará más con la garantía y se brindará la asistencia cobrando el coste de las partes sustituidas, los gastos de mano de obra, de transporte, del personal y de los materiales, según las tarifas vigentes de la empresa fabricante. Cualquier forma de garantía caduca después de 3 años desde la salida del producto de la lista oficial.

6. La presente garantía es la única válida; nadie está autorizado, a excepción de la empresa fabricante, a extender o modificar los términos de la misma, y menos aún a entregar otras garantías escritas o verbales. En todo caso está excluida la sustitución del aparato, así como la extensión de la garantía después de una intervención por una avería.

7. El producto no debe ser forzado ni modificado.

8. El fabricante se reserva el derecho de cambiar las especificaciones del producto sin previo aviso.

电动 Servetto i3

装配

警示:组装产品前,请仔细阅读本说明书和安全指示的全部内容。电动 Servetto i3 产品应在干燥的室内环境内使用,符合 Servetto srl 提出的技术指 标,且只能使用配送的供源配件。

本设备不得由生理、感觉或精神能力受限人士(包括儿童)使用,也不得由缺

乏经验或对设备不了解的人员使用,除非这些人员能够获得其安全负责人的实 时指导、监督或获得有关设备使用的培训。请监管儿童行为,教导其不要玩耍 本设备。

 如电源(F)的供电线或插头损坏,请不要将电动 Servetto i3 接电。

 切勿将通电的电动 Servetto i3 产品置于长时间无人看管状态。

 如电源(F)的供电线或插头已经损坏,切勿将电动 Servetto i3 同供电网相 连; 此外,如这些配件已经损坏,请联系制造商或技术服务部门,更换新线 缆。

 请确保电源(F)的供电线插头已插入插座,并且电源已经上电。

 电动 Servetto i3 产品所接电源的电压、电流类型、频率等指标应同供电电源铭牌 上的标识值相符。

 切勿给电池充电,也不要加热电池或将其投入火中,以防发生爆炸。

 儿童不得玩耍电池和包装材料。塑料袋、纸板等材料可能导致窒息。

 不得拆开电动 Servetto i3(A、B、C)或供电电源部件(F):这些组件内部带 电,可能造成触电并导致产品保修失效。

 不得将电动 Servetto i3 产品及相应的遥控器置于潮湿的环境中,或是存放在蒸汽 或有水雾的地点。

 不得将电动 Servetto i3 产品连接在热源附近,如暖气片、取暖器或其它制热装置 等。

 非专业人员不得检查或修理设备,相关工作请咨询经销商。

 仅能用干布清洁伸臂、变压器和遥控器等部件,否则水汽或腐蚀性清洁剂渗入 可损坏电子部件。

 产品运行期间,切勿伸手进入电动 Servetto i3 工作区内,也不要令身体的任何部 位阻碍其部件运行。

 活动部件不得同变压器或任何线缆接触。

 电动 Servetto i3 仅可同附送的电源搭配使用,所使用的电压也必须同设备铭牌上 标识的最低安全电压适配

警示:切勿展开伸臂,否则有可能受伤。展开伸臂将导致产品保修失效。

警告:如果电动 Servetto i3 无法工作或锁死在非垂直位置,切勿手动移动拉 杆,请同安装人员联系。手动拉扯造成的任何损坏都将导致产品保修失效。

3 技术特性

电动 Servetto i3 电源

电压: 100-240 伏

频率: 50-60 赫兹

功率: 60 瓦

输出电压: 12 伏

请将供电电源放置在远离潮湿源的区域。为保证地点良好的通风条件,必须遵守安全距离要求,即距离任何障碍物至少 50 米,否则在连续使用条件下可能出现电源过热的危险。此外,供电电源应妥善布局,以便进行所有维护操作。

遥控器供电

3V 锂电池,规格 CR2032

3.1 包装内部件

A - 左伸臂

B - 右伸臂

C - 总线

D - 伸臂-总线连接线(2 条)

E - 安全感应器(1 个)

F - 供电电源

G - 固定板

H - 可伸展挂衣管

I - 钻孔板(2 件)

L - 固定螺钉(12 个)

M - 角螺钉(2 个)

N - 单按键遥控器(已预设)

O - 管盖

3.2 LED指示灯及连接

1 – 安全感应器红色指示灯 1 号

2 – 安全感应器红色指示灯 2 号

3 – 自动装置接头

4 – 自动装置激活橙色指示灯

5 – 上电绿色指示灯

6 – 无线红色指示灯

7 – 蓝牙蓝色指示灯

8 – 安全感应器关闭红色指示灯

9 – 安全感应器关闭按键

10 – 供电电源接头

11 – 右伸臂接头

12 – 左伸臂接头

13 – 1 号安全感应器接头 1

14 – 2 号安全感应器接头 2

15 – 功能按键: - 手动驱动 - 遥控器编程 - 删除遥控器预设

4

3.3 规格

请将总开关放置在远离潮湿源的区域。为了电源线能 够正确安装和布线,必须遵守图 5 中列出的距离。

注意:总线应妥善布局,以便进行所有 维护操作。

图 5
图 6

3.4 布线图

为使电动 Servetto i3 产品能够正常运行的布线说明图。第 5 章中将详述元件的安装顺序和连接步骤。

注意:只有在所有布线全部完成的情况下,才可将电动 Servetto i3 产品同供电电源相连。

注意:禁止以任何方式剪切或改动产品各部件的连线,此举将导致 保修失效。

图 7

电动 Servetto i3

3.5 安装示范

本示范描述了电动 Servetto i3 在衣柜上的安装步骤,亦包括其隐藏的线路。

图 8

图 9 显示了隐藏布线情况下铣削肩部的建议指示。

如衣柜中未预设接线通道,可以使用固定板上的适当插槽让线缆从衣柜内接 出。 图 10

电缆的安装和布线由安装人员自行决定,选用与包装中线缆长度兼容的产品,不得延长或更改 标准电缆。注意:不得剪切线缆(剪切/修改线缆将导致产品保修失效)

图 10
图 9

4.1 安全感应器运行

配有关闭门的衣柜中必须使用至少一个安全感应器。

如果隔间由两个拉门关闭,建议使用第二个安全传感器。

图 11

位于总线上的 1 号和 2 号 LED 灯(图 2),将指示感应器的状态:

- LED 灯亮  感应器未连接或已占用(Servetto 不执行任何动作)

- LEDL 灯灭  感应器正确连接且可用(Servetto 可执行正常功能) 建议按照规范要求安装感应器(参见第 5.2 点),安装位置应无障碍物,拉门的朝向符合规定(图 11),固定牢固。

安全感应器无法检测完全透明的材料如玻璃和聚碳酸酯等。

注意:如果没有任何一个安全感应器相连、一个或多个感应器被占用或系统检测到障碍物,电动 Servetto i3 将无法工作,于此同时,按下激活键时总线将发出双重蜂鸣警告音。

4.2 安全感应器排除

如果电动 Servetto i3 用于步入式衣橱/没有门的隔间(图 12),则可以排除紧急感应器的动作。

如需排除安全感应器,需按住总线上的键 9(图 2)10 秒钟,2)的连接是否正确。 此时红色 LED 灯(编号 8)将点亮,随后电动 Servetto i3 将在无安全感应器相连的状态下运行。

警示:在无感应器运作的情况下更应注意闩锁的操作,此时将不再检测是存 在障碍物,更不会自动停止 Servetto 的运行。

如果在不适合的情况下排除紧急感应器,对此所产生的任何直接或间接人员 伤亡、物品损失或宠物伤害,Servetto 不承担任何责任。

如需重新激活安全感应器的运作,请按住总线上的 9 号键(图 2)10 秒钟,2)的连接是否正确。 此时红色指示灯(编号 8)将亮起,表示先前已关闭的感应器重新激活。

图 12

5.1 钻孔和安装固定板

使用套件中提供的模板和安装固定板进行钻孔操作(图 14–15)

图 13
图 14
图 15
图 15

5.2 安全感应器的钻孔和组装 定位位置及安装安全感应器(图 17)

图 16
图 17

5.3 组装伸臂

连接电缆并将伸臂安装在固定板上,如图 18 所示,并将电缆的另一端连接在总线 C 上(图 1)

图 18

如有需要,将安全感应器安装在总线的 13 和 14 插口(图 3)上。

注意:检查电缆是否损坏,是否存在可能影响产品正常运行的点位。 不得以任何方式切断或改动线缆。

5.4 同电源相连

将电源同供电线缆相连(110-240 伏, 50-60 赫兹)。 随后将电源同总线相连,电压绿色 LED 指示灯 5(图 2)点亮,并伴有蜂鸣声。

图 19

供电电源上电后, 如总线连续发出蜂鸣声,请检查伸臂-总线第 11、12 号(图 3)的连接是否正确。

5.5 电动Servetto首次运行

如图 20 所示,调节管道的长度,并将相对转动挂管,将其锁定。

按下遥控器上的按键(编号 N)(图 1),此时电动 Servetto i3 将执行下降行程。 插入塑料管盖,放入挂管并将螺钉拧入角件中(图 21)。

注意:如果电动 Servetto i3 不运作且总线发出连续两声蜂鸣,请检查安全感应器是否正确安 装,检查是否已经正确排除了安全感应器(第 4 章)。

图 20
图 21

电动 Servetto i3

再次按下遥控器上的按键,将伸臂升起。

此时电动 Servetto i3 已经安装完毕且运行正常:随后可安装衣物挂管。

按下遥控器上的按键可随时停止电动 Servetto i3 运行。 再次按下遥控器上的按键,电动 Servetto i3 将沿相反方向运行。

此外还可通过两个伸臂中任何一个上的运行键 15(图 2)来驱动电动 Servetto i3 动作。

6 遥控器同步

注意:如电动 Servetto i3 在上升过程中停止并发出两声蜂鸣声,则表示装载重量超过限制。重新按下遥控 器上的按键,电动 Servetto i3 将下降,请减少负重后重试。

注意: 附带的单按键遥控器已经同步。仅可在必要时才可重新同步。

如为 4 键或 12 键遥控器(可选部件,另购),需按照下列说明重新同步。

22 请按照下列步骤操作,将电动 Servetto i3 同遥控器同步: 1 - 按住编程键(图 22)不放约 5 秒,松开时将听到两声蜂鸣声 2 - 按住遥控器上的对应按键(图 23),随后您将听到一声蜂鸣声。

通过该步骤电动 Servetto 将(遥控器上)按下的按键信号视为下降或上升指令。

可用遥控器(参见图 23)。

A)单键遥控器,随设备配送

B)4 键遥控器,可选(SWCO02504)

C)12 键遥控器,可选(SWCO02512)

如为 4 键或 12 键遥控器,请为每一电动 Servetto i3 设备重复这一操作,将每个按键逐一同步,控制上升/下 降的指令。

6.1 删除电动Servetto i3中保存的遥控器

如需删除遥控器上的所有信号,请按住编程键(图 22)不放 10 秒。松开按键后,连续三声蜂鸣表示遥控器 上的所有同步信号均已删除。此时可重新同步所需的遥控器。

7 蓝牙同步

确保电动 Servetto i3 已经连上电源。

下载“Servetto”程序(Google Play 或 AppStore)。打开程序,电动 Servetto i3 将被自动检出,此时可通过手机 选择和操纵。

8 处置

本产品属于第 2012/19/UE 指令“关于废弃电气和电子设备(WEEE)管理”的适用对象。

不得将本设备扔在生活垃圾中,本产品由不同的材料组成,可以在合适的设施中回收。对于可接收本产品的回收站的位置及其后续的正确回 收流程,请咨询当地的市政机构。

请注意,如您已经购买同等的新设备,经销商可免费接收待处置的旧产品。

本品对人体健康和环境没有潜在危险,因为它不含有害物质,符合第 2011/65/UE 号指令(RoHS)的要求;如将其废弃于环境中,会对生态系 统产生负面影响。

首次使用本产品前请仔细阅读说明。强烈建议绝对不可将本品用于非预计用途,如果使用不当,会有触电的危险。

9 环保信息

设备标签上所勾选的垃圾桶符号,表示该产品符合有关废弃电气和电子设备的法规要求。

将设备废弃于环境中或不当使用设备将受到法律制裁。

保护环境的建议

包装

用于包装的材料符合现行生态环保标准,如果您没有空间限制,建议您至少在保修期内保留产品的原包装。如确实需要丢弃包材,最 好不要破坏环境。

电池

不属于环保类型的电池(绿色电池),应带到专门处理污染产品的收集和处理点。无论何种情况,这些电池都不得废弃在环境中;总 之,为了保护环境,我们强烈建议您使用无汞电池。

1. 电动 Servetto i3 可同步多个遥控器吗? 是的,通过遥控器同步步骤(第 6 章),每一电动 Servetto i3 最多可连接 8 个遥控器。每一待同步的按键需重复第 6 章阐述 的步骤。

2. 能否将电动 Servetto i3 连接到自动装置或远程按键上? 可以的。如需将电动伺服器 i3 连接到自动装置或远程单稳态按键上,需购买配套线缆(编号:DOMOi3ELZ),并在配件电路 关闭时管理电动 Servetto i3 的运行。

3. 当按下遥控器后,电动 Servetto i3 发出连续两声蜂鸣,但不执行下降操作。 电动 Servetto i3 需要连接一个可自由工作的安全感应器。

请检查安全感应器是否正确连接,检查在柜门完全打开的情况下 LED 灯(图 2 中 1 号及 2 号)是否熄灭。如果 LED 灯一直点 亮,请检查传感器前大约 30 厘米范围内是否有物体,检查传感器正确连接。

4. 电动 Servetto i3 上升时发出连续两声蜂鸣,随后停止运行。

检查挂衣管上的负载是否超过 17 千克。再次按下遥控器上的按钮启动上下机构:电动 Servetto i3 下降后,请拿去一些衣 物,令负载处于正确范围内,再重新启动伺服装置。

5. 电动 Servetto i3 下降时突然锁死,并发出连续两声蜂鸣声。

有障碍物激活了安全感应器,请松开安全感应器并按下按键,此时电动 Servetto i3 将沿原方向再次运行。

6. 电动 Servetto i3 不工作。

请执行下列检查:

o 检查电源绿色指示灯是否点亮(图 2 中 5 号)。

o 检查紧急感应器是否正常运行(第 4 章)。

o 检查遥控器是否正确同步且运行正常(第 6 章)。

7. 按下遥控器上的按键后,两个电动 Servetto i3 同时下降。 这表示遥控器上的按键已经同这两个电动 Servetto i3 同步。此时需删除已同步的遥控器(第 6.1 章),并重复这两个电动 Servetto i3 和遥控器的同步步骤,并为它们选定不同的按键,控制其上升下降(第 6 章)。

8. 当给电动 Servetto i3 通电时,总线不断发出一系列蜂鸣声。

按照总线上的标签说明,检查伸臂的连线是否正确。如伸臂的连线接反或未连接,电动 Servetto i3 将发出警报声并停止动 作。

11 保修条款

保修证书

欢迎您选购我司的电动 Servetto i3 产品。 制造商采用国际标准,对该产品进行了严格测试。

因此,我们对产品的高品质具有信心。如产品出现故障,请联系经销商,经销商将会把产品送交制造商,随后使用原装配件进行技术处理。

重要!如需进行修理,为保证您享有保修权,您必须将此保修单连同证明 购买日期的销售凭证(税务收据或发票)附在待修的电子 Servetto i3 上。

SERVETTO srl

Via Brughetti 32 I-20813 Bovisio M.go (MB) 电话:+39/0362558899 网站地址:www.servetto.it 电子邮件:servetto@servetto.it

保修条款

1. 本产品自购买之日起保修 24 个月,寻求保修服务时需出示此证书和购买产品时的税务收据或同等证明文件,以便证明购买本产品的日期 和零售商的名称。未能出示有效文件将导致保修失效,此时用户将承担产品的所有维修费用。制造商不对质保证书的丢失负责,也无法为 您提供证书副本。

2. 因运输、粗心、使用时的疏忽、未授权人员不正确安装或维护、不正当使用设备或用于非制造用途而产生的所有缺陷或损坏部件,以及产 品开拆或任何无法归结到设备制造缺陷的情况,均不在产品保修范围内。无论何种情况,可拆卸部件和配件(如有)如无法证明属于制造 缺陷,则不在保修范围内。有关产品安装或测试时的技术处理以及属于正常磨损的部件也不在保修范围内。

3. 对于未能遵守产品说明书中所有指示,尤其时涉及产品安装、使用和维护相关的警示内容而导致的直接或间接人员伤亡、宠物伤害或物品 损失,制造商不承担任何责任。

4. 该产品将由制造商负责修理。产品送往制造商处以及制造商返还产品期间的运输成本和风险将由买方承担。

5. 自购买之日起 24 个月后,产品将不再享有保修服务,制造商将根据自己的价格表,计算更换部件、人工、运输、修理和材料成本,该费 用将由客户自行承担。任何形式的质保将在产品在正式产品表中剔除后 3 年失效。

6. 此保修证书是唯一有效的保修文件;除制造商外,任何人无权延长或修改保修条款,也无权出具其他形式的书面或口头保证。无论何种情 况,故障修理完毕后,不可更换设备,也不可延长保修期。

7. 不得篡改或改动产品。

8. 生产商保留在不预先通知的情况下,对产品进行修改的权力。

 Электрический пантограф Servetto

сети, напряжение,

пытайтесь перезаряжать, нагревать или бросать батареи в огонь,

Servetto

3

обслуживанию.

Питание пульта дистанционного управления

Литиевая батарея 3В, код CR2032

3.1 СОДЕРЖИМОЕ

A - Левый рычаг

B - Правый рычаг

C - Блок управления

D - Кабели подключения рычаг - блок

управления (2 шт.)

E - Датчик безопасности (1 шт.)

F - Блок питания

G - Крепежные пластины

H - Раздвижная штанга для одежды

I - Шаблон для сверления (2 шт.)

L - Крепежные винты (12 шт.)

М - Винты уголков (2 шт.)

N - Пульт дистанционного управления с одной

кнопкой (уже запрограммированный)

O - Заглушки для штанги

Рис. 1

1

5.3

Рис.23

В случае пульта дистанционного управления с 4 или 12 кнопками, повторите эту операцию для каждого электрического пантографа Servetto i3, синхронизировав его с соответствующей

команды опускания/подъема.

6.1 УДАЛЕНИЕ СОХРАНЕННЫХ ПУЛЬТОВ

BLUETOOTH

загрязняющих продуктов. В любом случае, они не должны выбрасываться в окружающую среду, и рекомендуется

батареи, не содержащие ртуть.

1. Можно ли синхронизировать

электрического пантографа Servetto i3

Поэтому проверьте, что датчики безопасности правильно

5. Электрический пантограф Servetto i3 при опускании остановится и издаст два BIP сигнала. Что-то заблокировало датчик безопасности, освободите датчик и нажмите кнопку, электрический пантограф Servetto i3 возобновит работу в том же направлении.

6. Электрический пантограф Servetto i3 не работает. Выполните следующие проверки:

SERVETTO srl

Виа Бругетти 32 I-20813 Бовизио М.го (провинция

Тел: +39/0362558899

Веб-сайт: www.servetto.it

Эл. почта: servetto@servetto.it

1.

3.

4.

5.

с себя всякую ответственность за любой ущерб, который

или имуществу в результате несоблюдения всех указаний,

покупки на изделие больше не распространяется гарантия,

Turn static files into dynamic content formats.

Create a flipbook
Issuu converts static files into: digital portfolios, online yearbooks, online catalogs, digital photo albums and more. Sign up and create your flipbook.
IT-ES-i3 義大利電動昇降衣架 安裝說明書 by San Liu 劉三blum五金 - Issuu