

Product: WHEEL LOADER
Model: 990H WHEEL LOADER BWX
Configuration: 990H Wheel Loader BWX00001-UP (MACHINE) POWERED BY C27 Engine
Disassembly and Assembly
Comfort Series Seat For Caterpillar Machines
Media Number -RENR2165-12
Air Suspension With Air Valve Knob Height Adjustment -
Assemble
SMCS - 7324-016-AJ
Assembly Procedure


Illustration 1 g00891451
1. Install compressor assembly (25) to mount (26). Make sure that compressor assembly (25) isseated firmly in mount (26).
This is the sample of the manual
Click on the download link for complete manual

2
Install bolts (24) in order to attach compressor assembly (25) to scissor assembly (11).

3
Improper assembly of parts that are spring loadedcancause bodily injury.
To prevent possible injury, follow the established assembly procedure and wear protective equipment.
3. Install bolt (23) in order to attach spring assembly (18) to scissor assembly (11). Attach hose assembly (22) to spring assembly (18).

4
4. Install shaft (20) in order to attach toggle assembly (21) to scissor assembly (11). Tighten the two nuts for shaft (20) to a torque of 15 ±3 N·m (11 ± 2 lb ft).

Illustration 5
g00872031
5. Install shaft assemblies (19) in order to attach tether straps (11A) and scissor assembly (11) to housing assembly (14). Tighten the nutson shaft assemblies (19) to a torque of 20 ± 5 N·m (15 ± 4 lb ft). Install blocking in order to prevent scissor assembly (11) from falling.

Illustration 6
g00872029

7
6. Install screw(17) in order to attach housing assembly (14) to spring assembly (18).
7. Install shaft (15) in order to attach toggle assembly (16) to scissor assembly (11). Tighten the two nuts for shaft (15) to a torque of 15 ±3 N·m (11 ± 2 lb ft).

8 g00897454

9
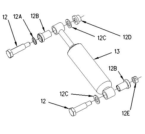
8. Install bearings (12B) to shock absorber (13).
9. Install bolts (12) in order to attach shock absorber (13) to scissor assembly (11) and housing assembly (14). Remove the blocking.
Note: Illustration 8 shows the location of lockwasher (12A), bearings (12B), washers (12C), nut (12D), and locknut (12E).
10. Repeat Steps 8 and 9 if the seat is equipped with a shock absorber on the opposite side.

Illustration 10
g00871994
11. Connect harness assemblies (9) and hose assembly (10) to air valve (8).

Illustration 11 g00871971
12. Position air valve (8) to upper housing assembly (7). Position upper housing assembly (7) to the seat.

Illustration 12 g00871951
13. Install cable strap (6) in order to secure harness assemblies (9) to upper housing assembly (7).



Illustration 13 g00876043
14. Install shaft assemblies (5). Tighten the nuts for shaft assemblies (5) to a torque of 20 ± 5 N·m (15 ± 4 lb ft).
15. Position plate (4) to the seat. Install lockwasher (3A) and nut (3) in order to secure air valve (8) to the seat. Tighten the setscrewin adjustment knob (1) in order to secure adjustment knob (1) to air valve (8).

Illustration 14
16. Install boot (2) to the seat. Copyright 1993 - 2021 Caterpillar Inc.
g00871915
Rights Reserved. Private Network For SIS Licensees. Tue Sep 14 22:36:54 UTC+0530 2021

Product: WHEEL LOADER
Model: 990H WHEEL LOADER BWX
Configuration: 990H Wheel Loader BWX00001-UP (MACHINE) POWERED BY C27 Engine
Disassembly and Assembly
Comfort Series Seat For Caterpillar Machines
Media Number -RENR2165-12
Air Suspension with Air Valve Knob Height AdjustmentDisassemble
SMCS - 7324-015-AJ
Disassembly Procedure
The air spring of the air suspension is filled withair pressure.
Prior to disassembly, release the air pressure in the air spring. Failure to do so could result in personal injury.

Illustration 1
1. Pull adjustment knob (1) in order to release the air from the seat.
2. Remove boot (2).



Illustration 2 g00876043
3. Loosen the setscrew in adjustment knob (1) and remove adjustment knob (1). Remove nut (3) and lockwasher (3A). Remove plate (4) from air valve (8).
4. Remove shaft assemblies (5).

Illustration 3 g00871951
5. Remove cable strap (6) in order to disconnect harnessassemblies(9) from upper housing assembly (7).

Illustration 4
g00871971
6. Lift upper housing assembly (7) and push air valve (8) away from upper housing assembly (7). Remove upper housing assembly (7).

Illustration 5
g00871994
7. Disconnect harnessassemblies(9) and hose assembly (10) from air valve (8).

Illustration 6
g00872007



Illustration 7 g00897454
8. Raise scissor assembly (11) and install blocking in order to prevent scissor assembly (11) from falling.
9. Remove bolts (12) in order to remove shock absorber (13) from scissor assembly (11) and housing assembly (14).
10. Remove bearings (12B) from shock absorber (13).
Note: Illustration 7 shows the location of lockwasher (12A), bearings (12B), washers (12C), nut (12D), and locknut (12E).
11. Repeat Steps 9 and 10 if the seat is equipped with a shock absorber on the opposite side.

Illustration 8

Illustration 9
g00872029
12. Remove shaft (15) in order to remove toggle assembly (16) from scissor assembly (11).
13. Remove screw(17) in order to disconnect spring assembly (18) from housing assembly (14).

Illustration 10
g00872031
14. Remove shaft assemblies (19) in order to remove scissor assembly (11) from housing assembly (14) and tether straps (11A).

Illustration 11
15. Remove shaft (20) in order to remove toggle assembly (21) from scissor assembly (11).

12
Personal injury can result from being struck by parts propelled by a releasedspring force.
Make sure to wear all necessary protective equipment.
Follow the recommended procedure and use all recommendedtooling to release the spring force.
16. Remove hose assembly (22) and bolt (23) in order to remove spring assembly (18) from scissor assembly (11).

13
17. Remove bolts (24) in order to remove compressor assembly (25) from scissor assembly (11).


Illustration 14 g00891451 18. Remove compressor assembly (25) from mount (26).
Copyright 1993 - 2021 Caterpillar Inc. All Rights Reserved. Private Network For SIS Licensees.
Tue Sep 14 22:36:29 UTC+0530 2021

Product: WHEEL LOADER
Model: 990H WHEEL LOADER BWX
Configuration: 990H Wheel Loader BWX00001-UP (MACHINE) POWERED BY C27 Engine
Disassembly and Assembly
Comfort Series Seat For Caterpillar Machines
Media Number -RENR2165-12
Air Suspension With System Air - Assemble
SMCS - 7324-016-AJ
Assembly Procedure Table 1 Tools
Loctite LB 8632 Silicone Lubricant (1)
- Loctite LB 8104 Silicone Lubricant (2)
- Loctite LB 8801 Silicone Lubricant (3)
- Loctite LB Superlube (4)
North America
EAME
Asia Pacific Division
South America
1. Check the condition of all parts of the air suspension. If any of the parts are worn or damaged, install new parts.

Illustration 1
TypicalExample
g00275862
2. Position slider track (31) on upper housing (6). Install bolt (33), two bolts (32) and the washers. Tighten bolts (33) and (32) to a torque of 30 ± 7 N·m (22 ± 5 lb ft). Install locknut (30) and the washer. Tighten locknut (30) to a torque of 40 ± 8 N·m (30 ±6 lb ft).

Illustration 2
g00275860

Illustration 3
g00275858
3. Position air spring (28) on scissor assembly (5). Apply Tooling (A) to the threads of bolt (27). Install bolt (27) that holds the air spring to scissor assembly (5). Tighten bolt (27) to a torque of 40 ± 8 N·m (30 ±6 lb ft).
4. Position tubes (12) and (22) on scissor assembly (5). Install new tie-wraps(29) to secure the tubes to the scissor assembly.
5. Connect tube (22) to fitting (26) on air spring (28). Install two bumpers (25).

Illustration 4
g00275857
6. Apply Tooling (B) to scissor assembly (5) at the point of installation for two rollers (24). Install two rollers (24) and two bearings (21). Connect tubes(12) and (22) to valve assembly (23).

Illustration 5
7. Install fitting (11) in lower housing (14).
g00275856

Illustration 6
TypicalExample
g00275855
8. Install two bearings (17) and (20), damper (18), the pin and locknut (19). Tighten locknut (19) to a torque of 30 ±7 N·m (22 ± 5 lb ft). Install shaft (7) and cap (15) on damper (18).

Illustration 7
g00275854
9. Install scissor assembly (5) into lower housing (14). Install two tether belts (10).

Illustration 8
g00275851
10. Install the lower shaft assembly. Install locknut (13) and the lock washer. Tighten locknut (13) to a torque of 40 ±8 N·m (30 ± 6 lb ft).

Illustration 9
11. Connect tube (12) to fitting (11).
g00275850

Illustration 10
TypicalExample
g00275849
12. Install two tether belts(10) and two bearings(9). Apply Tooling (B) to the scissor assembly at the point of installation for rollers(8). Install rollers (8) on the scissor assembly.

Illustration 11
g00275848
13. Apply Tooling (A) to the threads of screw (7). Install screw (7) to secure the air spring, which is not shown. Tighten the screwto a torque of 4.3 ± 1 N·m (38 ± 9 lb in).

12
14. Install upper housing (6) on scissor assembly (5).

Illustration 13
TypicalExample
g00275845
15. Install the upper shaft assembly, locknut (4), and the lock washer. Tighten the locknut to a torque of 40 ± 8 N·m (30 ±6 lb ft). Install locknut (4) and the lock washer. Apply Tooling (A) to the setscrewof knob (2). Install knob (2) and the setscrew.

Illustration 14
TypicalExample
g00275844
16. Install boot (1).
17. Install the seat on the air suspension. Install the seat in the machine.
Copyright 1993 - 2021 Caterpillar Inc. All Rights Reserved. Private Network For SIS Licensees.
Tue Sep 14 22:38:12 UTC+0530 2021

Product: WHEEL LOADER
Model: 990H WHEEL LOADER BWX
Configuration: 990H Wheel Loader BWX00001-UP (MACHINE) POWERED BY C27 Engine
Disassembly and Assembly
Comfort Series Seat For Caterpillar Machines
Media Number -RENR2165-12
Air Suspension With System Air - Disassemble
SMCS - 7324-015-AJ
Disassembly Procedure
1. Remove the seat from the machine. Separate the seat from the air suspension.

Illustration 1
g00275844 TypicalExample
2. Remove boot (1).

Illustration 2
TypicalExample
g00275845
3. Loosen the setscrew on knob (2) and remove the knob. Remove nut (3) and the lock washer.
4. Remove locknut (4) and the lock washer. Remove the upper shaft assembly.

Illustration 3
g00275846
5. Tilt upper housing (6) forward. Slide the upper housing off scissor assembly (7).

Illustration 4
g00275848
6. Remove screw(7) from the air spring, which isnot shown.

Illustration 5
g00275849
7. Disconnect two tether belts(10). Remove two bearings (9) and two rollers (9).

Illustration 6
8. Disconnect tube (12) from fitting (11).
g00275850

Illustration 7
g00275851
9. Remove locknut (13) and the lock washer. Remove the lower shaft assembly.

8
10. Remove two tether belts(10). Lift up scissor assembly (5) and slide the scissor assembly out of lower housing (14).

Illustration 9
TypicalExample
11. Remove cap (15) and shaft (16) from damper (18). Remove locknut (19), the pin, bearings (17) and (20), and damper (18).

Illustration 10
12. Remove fitting (11) from lower housing (14).
This is the sample of the manual
Click on the download link for complete manual

Illustration 11
13. Remove two bearings (21) and two rollers (24) from scissor assembly (5). Disconnect tubes (22) and (12) from valve assembly (23).

Illustration 12
g00275858

Illustration 13
g00275860
14. Remove two bumpers (25). Remove bolt (27) from air spring (28).
15. Disconnect tube (22) from fitting (26). Remove air spring (28) from scissor assembly (5).
16. Cut tie-wraps(29) that are holding tubes (22) and (12) to scissor assembly (5).