

Product: WHEEL LOADER
Model: 988H WHEEL LOADER BXY
Configuration: 988H Wheel Loader BXY00001-UP (MACHINE) POWERED BY C18 Engine
Disassembly and Assembly
Comfort Series Seat For Caterpillar Machines
Media
Air Suspension With Air Valve Knob Height AdjustmentAssemble
Assembly Procedure




Improper assembly of parts that are spring loaded can cause bodily injury.
To prevent possible injury, follow the established assembly procedure and wear protective equipment.









This is the sample of the manual
Click on the download link for complete manual





Product: WHEEL LOADER
Model: 988H WHEEL LOADER BXY
Configuration: 988H Wheel Loader BXY00001-UP (MACHINE) POWERED BY C18 Engine
Disassembly and Assembly
Comfort Series Seat For Caterpillar Machines
Media
Air Suspension with Air Valve Knob Height AdjustmentDisassemble
Disassembly Procedure
The air spring of the air suspension is filled with air pressure.
Prior to disassembly, release the air pressure in the air spring. Failure to do so could result in personal injury.














Personal injury can result from being struck by parts propelled by a released spring force.
Make sure to wear all necessary protective equipment.
Follow the recommended procedure and use all recommended tooling to release the spring force.




Product: WHEEL LOADER
Model: 988H WHEEL LOADER BXY
Configuration: 988H Wheel Loader BXY00001-UP (MACHINE) POWERED BY C18 Engine
Disassembly and Assembly
Comfort Series Seat For Caterpillar Machines
Media
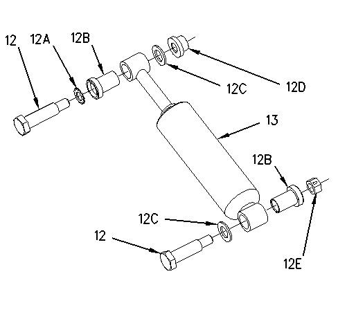
Air Suspension With System Air - Assemble
Assembly Procedure













9S-3263

Copyright 1993 - 2022 Caterpillar Inc.
All Rights Reserved.
Private Network For SIS Licensees. Sun Mar 27 00:34:42 UTC+0530 2022

Product: WHEEL LOADER
Model: 988H WHEEL LOADER BXY
Configuration: 988H Wheel Loader BXY00001-UP (MACHINE) POWERED BY C18 Engine
Disassembly and Assembly
Comfort Series Seat For Caterpillar Machines
Media Number -RENR2165-12
Air Suspension With System Air - Disassemble
Disassembly Procedure





