

Product: TRACK LOADER
Model: 963D TRACK LOADER LCS
Configuration: 963D TRACK-TYPE LOADER LCS00001-UP (MACHINE) POWERED BY C6.6 Engine
Disassembly and Assembly
Air Conditioning and Heating R134a for All Caterpillar Machines
Media Number -SENR5664-31
Publication Date -01/05/2015 Date Updated -23/10/2018
Refrigerant Orifice Tube Assembly - Remove and Install
SMCS - 7320-010-QT
The orifice tube may be located in the refrigerant line near the evaporator inlet, or in the in-line dryer.
If the orifice tube is located in the refrigerant line near the evaporator inlet, use the procedure that follows. If the orifice tube is located in the in-line dryer, refer to Dryer Replacement.
Removing the Orifice Tube
Refer to Safety Requirements before service work is performed on the air conditioning system.
The refrigerant must be recovered before removing the accumulator. Refer to the Testing and Adjusting, "Refrigerant Recovery" section.
NOTICE
Do not attempt to remove the orifice tube with pliers. Do not twist or rotate the orifice tube in the tube assembly.


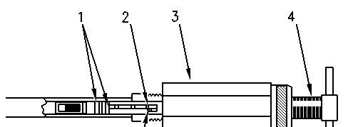
Illustration 1 g00379603
Orifice tube
(1) O-Ring seals
(2) Lugs
(3) Body
(4) Drive screw
(5) Finger lock
1. Disconnect the high side line at the enlarged section of the evaporator inlet port. This will expose the orifice tube for removal.
2. Align the short fingers of the 1U-9890 Orifice Removal Tool with the ribs of the orifice tube. Insert the tool onto the tube until the tool bottoms out.
3. Turn drive screw (4) clockwise. Turn far enough to engage the lugs (2) on the orifice tube in the finger lock (5) . The finger lock (5) is part of the removal tool.
4. Hold the drive screw (4) stationary. Thread the body (3) forward until the body makes contact with the inlet port.
5. Continue holding the drive screw stationary, and thread the body forward until the orifice tube becomes free.


Illustration 2 g00381412
Removing the broken orifice tube
(3) Body
(4) Drive screw
(6) Extractor tip
6. For the removal of the orifice tube assembly, use the extractor tip (6) on 1U-9890 Orifice Removal Tool . Insert the tool into the evaporator inlet tube and thread the tool into the brass center of the orifice tube.
7. Repeat steps 3 and 4.
8. If only the brass center of the orifice tube is removed, thread the tool into the plastic body and repeat step 3 and 4.
Orifice Tube Installation
1. Lubricate the O-Ring on the orifice tube with the proper clean refrigerant oil.
2. Place the orifice tube into the 1U-9890 Orifice Removal Tool . Insert the orifice tube straight into the evaporator inlet tube without twisting until the tube is seated.
3. Disengage the removal tool from the orifice tube.
4. Use a new O-Ring that is lubricated with clean refrigerant oil. Reconnect the high side line at the enlarged section of the evaporator inlet port.
5. Do a leak test. Evacuate the system and recharge the system. Refer to the Testing and Adjusting, "Refrigerant Systems-Evacuate" section. Also, refer to the Testing and Adjusting, "Refrigerant Systems-Charge" section.

Product: TRACK LOADER
Model: 963D TRACK LOADER LCS
Configuration: 963D TRACK-TYPE LOADER LCS00001-UP (MACHINE) POWERED BY C6.6 Engine
Disassembly and Assembly
Air Conditioning and Heating R134a for All Caterpillar Machines
Media Number -SENR5664-31
In-Line Refrigerant Dryer - Remove and Install
SMCS - 7322-010-QT
Dryer Installation
Personal injury can result from contact with refrigerant.
This system is under pressure at all times, even if the engine is not running. Heat should never be applied to a charged system.
Contact with refrigerant can cause frost bite. Keep face and hands away to help prevent injury.
Protective goggles must always be worn when refrigerant lines are opened, even if the gauges indicate the system is empty of refrigerant.
Always use caution when a fitting is removed. Slowly loosen the fitting. If the system is still under pressure, evacuate the system recovering the refrigerant before removing the fitting.
Personal injury or death can result from inhaling refrigerant through a lit cigarette.
Inhaling air conditioner refrigerant gas through a lit cigarette or other smoking method or inhaling fumes released from a flame contacting air conditioner refrigerant gas, can cause bodily harm or death.
Do not smoke when servicing air conditioners or wherever refrigerant gas may be present.
Before any checks of the air conditioning and heating system are made, move the machine to a smooth horizontal surface. Lower all implements
to the ground. Make sure the transmission is in neutral or park and that the parking brake is engaged. Keep all other personnel away from the machine or where they can be seen.
Personal injury can result from hot coolant. Any contact with hot coolant or with steam can cause severe burns. Allow cooling system components to cool before the cooling system is drained.
NOTICE
Never weld of solder any charged components.




Illustration 1 g01520430
Typical In-Line Dryer with quick disconnects
(1) Inlet hose with air conditioner quick disconnect
(2) Dryer
(3) Outlet hose with air conditioner quick disconnect
Note: Replace dryer (2) annually. Dryer (2) should also be replaced whenever the system is opened.
Disassembly and Assembly




Illustration 2
In-line dryer without quick disconnects
(4) Inlet hose without air conditioner quick disconnect
(5) Dryer
(6) Outlet hose without air conditioner quick disconnects
g01520434




Illustration 3 g03549076
320-0562 Refrigerant Dryer As (7) Dryer (8) Air conditioner orifice assembly
Note: Every 2 years replace dryer (5) and (7) . Dryer (5) and (7) should also be replaced whenever the system is opened.
Before removing the dryer, perform the following steps in order to diagnose the problem
1. Check the following components for blockages:
Condenser
Evaporator
2. Check the condition and the tension of the compressor drive belt.
3. Connect a manifold gauge set to the compressor. Refer to Testing and Adjusting, "Manifold Gauge Set (Refrigerant) - Install".
4. Operate the Air conditioning.
Operate the engine at 1400 rpm.
Place the air conditioning switch in the ON position.
Set the blower switch to the HIGH position.
Open all of the louvers in the cab.
Close the cab doors and close all of the cab windows.
5. Compare the pressures for the manifold gauge to the pressure ranges in Table 1 in order to ensure that the pressures are normal for the current ambient air temperature.
Table 1
Pressure Range (1)
Ambient Air Temperature C° (F°)
21°C (70°F)
High Pressure Test Fitting kPa (psi) (2) (3)
Low Pressure Test Fitting kPa (psi) (4) (5)
820 to 1300 kPa (120 to 190 psi) 70 to 138 kPa (10 to 20 psi)
27°C (80°F) 950 to 1450 kPa (140 to 210 psi) 70 to 173 kPa (10 to 25 psi)
32°C (90°F) 1175 to 1650 kPa (170 to 240 psi) 105 to 210 kPa (15 to 30 psi)
38°C (100°F) 1300 to 1850 kPa (190 to 270 psi) 105 to 210 kPa (15 to 30 psi)
43°C (110°F) 1450 to 2075 kPa (210 to 300 psi) 105 to 210 kPa (15 to 30 psi)
( 1 ) This table is only for reference.
( 2 ) Pressure may be slightly higher in humid conditions and lower in dry conditions.
( 3 ) With AC High-pressure Test Fitting is located near the Evaporator Inlet pressure reading will be 83 to 103 kPa (12 to 15 psi) lower.
( 4 ) Pressure before clutch disengagement.
( 5 )
This is the sample of the manual Click on the download link for complete Manual
With AC Low-pressure Test Fitting is located near the Evaporator Outlet pressure reading will be 14 to 21 kPa (2 to 3 psi) higher.
6. Check for frost at the dryer outlet.
Note: Moisture on the drier outlet tube after the orifice is normal and this moisture does not indicate a failure with the dryer. Frost on the drier outlet tube after the orifice is an indicator of a low refrigerant charge.
7. If frost is indicated at the dryer outlet or if pressures are low, proceed to Step 8. Otherwise, proceed to Step 15.
8. Recover the refrigerant charge from the machine. Refer to Disassembly and Assembly, "Refrigerant System Recovery".
9. Record the amount of refrigerant and oil that is recovered from the Air Conditioner system.
These values will be needed in order to calculate the amount of oil that is needed. Refer to Testing and Adjusting, "Refrigerant Compressor Oil - Test" Section.
10. If the charge was low, check the system for leaks.
a. Use an Ultraviolet light and use an electronic leak detector. Ensure that the following items are checked:
Quick disconnects which are on the dryer
Check the drier swivel nut and tighten the nut to 27 ± 4 N·m (20 ± 3 lb ft).
All the connections in the circuit that are O-ring
Hoses for rubbing, bulging, and wet spots (oil leaks)
Note: In order to help reveal leaks, simulate the vibrations which are made by the machine by moving the connections.
11. Recharge the refrigerant. Refer to Testing and Adjusting, "Refrigerant System - Charge" Section.
12. Retest the system with the engine at 1400 rpm and check for frost at the dryer outlet.
13. Ensure that the pressures are normal for the current ambient temperature.
14. Refer to Table 1 for the pressures which are normal for the current ambient air temperature.
15. If a component is leaking, bill the claim against the leaking component and provide details in the description.
Dryer Removal
If the dryer does not have air conditioner quick Disconnects, the refrigerant that is in the system must be recovered. Refer to the Testing and Adjusting, "Refrigerant System Recovery" section before you remove the dryer.
If the dryer has air conditioner quick disconnects, use the procedure that follows.
Refer to Disassembly and Assembly, "Machine Preparation for Disassembly and Assembly" before service is performed on the air conditioning system.
1. Stop the engine for 5 minutes to allow the air conditioning system to equalize the pressure.
2. Disconnect the inlet hose from the old dryer.
3. Connect the hose that was disconnected in Step 2 to the inlet on the new dryer.
Note: For a dryer that has air conditioner quick disconnects, do not add additional oil or refrigerant to the system.
4. Start the engine. Operate the air conditioning system for 1 minute.
5. With the air conditioning system in operation, disconnect the outlet hose from the old dryer. Disconnect the old dryer.
6. Stop the engine for 5 minutes to allow the air conditioning system to equalize pressure.
7. Connect the outlet hose that was disconnected in Step 6 to the new dryer.
8. Mark the new dryer in permanent marker Installed mm/dd/yy to assist in future maintenance of the in-line dryer.

Product: TRACK LOADER
Model: 963D TRACK LOADER LCS
Configuration: 963D TRACK-TYPE LOADER LCS00001-UP (MACHINE) POWERED BY C6.6 Engine
Disassembly and Assembly
Air Conditioning and Heating R134a for All Caterpillar Machines
Media Number -SENR5664-31
Publication Date -01/05/2015
Date Updated -23/10/2018
Refrigerant Receiver-Dryer - Remove and Install
SMCS - 7322-010

Illustration 1 g01257459
Top View of Receiver-Dryer
(1) Inlet
(2) Quick Disconnect Fittings
(3) Moisture Indicator
(4) Outlet
i05907625
NOTICE
If the receiver-dryer does not have air conditioner quick disconnects, the system must be recovered, evacuated, and recharged after the receiver-dryer has been replaced.
The refrigerant that is in the system must be recovered if the receiver-dryer does not have air conditioner quick disconnects (2) . Refer to the Testing and Adjusting, "Refrigerant Recovery" section before you remove the receiver-dryer. If the receiver-dryer has air conditioner quick disconnects (2) , use the procedure that follows.
Refer to Safety Requirements before service is performed on the air conditioning system.
1. Stop the engine for 5 minutes to allow the air conditioning system to equalize the pressure.
2. Disconnect the inlet hose (1) from the old receiver-dryer at the air conditioner quick disconnects.
3. Connect the hose that was disconnected in Step 2 to the inlet on the new receiver-dryer.
4. Disconnect the electrical connections on the old receiver-dryer. Connect the electrical connections to the new receiver-dryer.
Note: If the receiver-dryer has quick disconnects, do not add additional oil or refrigerant to the system.
5. Start the engine. Operate the air conditioning system for 1 minute.
6. With the air conditioning system in operation, disconnect the outlet hose (4) from the old receiver-dryer. Disconnect the old receiver-dryer at the air conditioner quick disconnects.
7. Stop the engine for 5 minutes to allow the air conditioning system to equalize pressure.
8. Connect the outlet hose (4) that was disconnected in step 6 to the new receiver-dryer.
Note: The receiver-dryer must be replaced annually. The receiver-dryer must also be replaced whenever the system is opened. The receiver-dryer should be replaced if moisture indicator (3) is filled with moisture. Moisture indicator (3) will display a pink color or white color if the receiverdryer is full of moisture.
Copyright 1993 - 2021 Caterpillar Inc. All Rights Reserved. Private Network For SIS Licensees.
Tue Nov 9 22:08:21 UTC+0530 2021

Product: TRACK LOADER
Model: 963D TRACK LOADER LCS
Configuration: 963D TRACK-TYPE LOADER LCS00001-UP (MACHINE) POWERED BY C6.6 Engine
Disassembly and Assembly
Air Conditioning and Heating R134a for All Caterpillar Machines
Media Number -SENR5664-31 Publication Date -01/05/2015 Date Updated -23/10/2018
Refrigerant Expansion Valve - Remove and Install
SMCS - 7320-010-EV
To replace the expansion valve, use the procedure that follows. Refer to Service Manual, "Troubleshooting Heating and Air Conditioning Control System" before service work is performed on the air conditioning system.
1. Recover the refrigerant.
Note: Cap all disconnected lines and hoses.
2. Remove the insulation and the clip. The insulation and the clip hold the sensing bulb to the evaporator outlet pipe.
3. Disconnect the sensing line for pressure from the evaporator outlet pipe.
4. Loosen and remove the two connections at the expansion valve. Remove the expansion valve.
Note: Check the O-ring seals. The seals must be in good condition and the seals must be properly lubricated with the correct refrigerant oil before assembly.
5. Install the expansion valve for replacement and tighten the two connections.
6. Tighten the pressure sensing connection on the evaporator outlet pipe.
7. Use a 8P-6355 Clip to hold the sensing bulb onto the evaporator outlet pipe. The sensing bulb should be as close to the coil as possible. The bulb should be upstream of the pressure sensing connection on the evaporator outlet pipe. The 5P-7070 Insulation should be wrapped tightly around the clip, the sensing bulb, and the outlet pipe. There should be no insulation between the bulb and the outlet pipe.
8. Tighten all the connections correctly.
9. Evacuate the system. Refer to the Testing and Adjusting, "Refrigerant System - Evacuate" section.
10. Charge the system with the correct amount of refrigerant by weight. Refer to the Testing and Adjusting, "Refrigerant System - Charge" section.
Copyright 1993 - 2021 Caterpillar Inc. All Rights Reserved. Private Network For SIS Licensees.
Tue Nov 9 22:08:06 UTC+0530 2021

Product: TRACK LOADER
Model: 963D TRACK LOADER LCS
Configuration: 963D TRACK-TYPE LOADER LCS00001-UP (MACHINE) POWERED BY C6.6 Engine
Disassembly and Assembly
Air Conditioning and Heating R134a for All Caterpillar Machines
Media Number -SENR5664-31
Publication Date -01/05/2015 Date Updated -23/10/2018
Refrigerant Accumulator - Remove and Install
SMCS - 1808-010-ZJ; 7320-010-ZJ
The refrigerant must be recovered before the accumulator is removed. Refer to the Testing and Adjusting, "Refrigerant Recovery" section.
Remove the accumulator. The accumulator has an internal oil drain hole which could become plugged. The oil could be trapped inside the accumulator. It is necessary to check for excessive oil when the accumulator is changed. Add the same amount of oil that was drained from the old accumulator. Add an additional 30 mL (1 fl oz) to the new accumulator before the new accumulator is installed. Do not add oil if the compressor was changed also. Evacuate the system and recharge the system. Refer to the Testing and Adjusting, "Refrigerant System - Evacuate" section. Refer to the Testing and Adjusting, "Refrigerant System - Charge" section.
Note: If the accumulator has frost on the outside, the air conditioning system still contains refrigerant.
Copyright 1993 - 2021 Caterpillar Inc. All Rights Reserved.
Private Network For SIS Licensees.
Tue Nov 9 22:07:50 UTC+0530 2021

Product: TRACK LOADER
Model: 963D TRACK LOADER LCS
Configuration: 963D TRACK-TYPE LOADER LCS00001-UP (MACHINE) POWERED BY C6.6 Engine
Disassembly and Assembly
Air Conditioning and Heating R134a for All Caterpillar Machines
Media Number -SENR5664-31
Publication Date -01/05/2015
Refrigerant Compressor - Remove and Install
SMCS - 1802-010 Removal
Date Updated -23/10/2018
i05907622


Illustration 1 g00742981
(1) Bolt
(2) Drive belt
(3) Suction and discharge hoses
(4) Compressor
1. Remove the refrigerant charge. Refer to the Testing and Adjusting, "Refrigerant Recovery" section.
2. Disconnect electrical wires from the magnetic clutch.
3. Loosen all the mounting bolts and loosen the belt tightener (if equipped). Remove drive belt (2) .
4. Disconnect hoses (3) and put plugs or caps on the hoses. Put plugs or caps on the fittings of the compressor. Put identification marks on the hoses. The marks will ensure that the hoses will be connected correctly at a later time.
5. Remove all the mounting bolts and remove the compressor (4) . The weight of the compressor is approximately 18 kg (40 lb).
Installation
1. Check the amount and condition of the oil in the compressor (4) . Refer to the Testing and Adjusting, "Refrigerant Compressor Oil-Test" section.
2. Inspect the drive belt (2) . If the drive belt (2) is damaged or worn replace the belt.
3. Install the compressor (4) . Do not tighten the mounting bolts until drive belt (2) is installed and adjusted.
4. Connect the discharge and the suction hoses (3) to the discharge and suction ports on the compressor.
5. Connect the electrical wires to the magnetic clutch.
6. Evacuate the system. Refer to the Testing and Adjusting, "Refrigerant System - Evacuate" section.
7. Charge the system. Refer to the Testing and Adjusting, "Refrigerant System - Charge" section.
8. For the correct system operation, refer to the Troubleshooting Section in this manual.
Note: Refer to the Specifications, "Refrigerant Compressor" in the Section for the correct belt tension.
9. For the oil level in the system, refer to Service Manual, "Refrigerant Compressor OilCheck".
Copyright 1993 - 2021 Caterpillar Inc. All Rights Reserved.
Network For SIS Licensees. Tue Nov 9 22:07:37 UTC+0530 2021

Product: TRACK LOADER
Model: 963D TRACK LOADER LCS
Configuration: 963D TRACK-TYPE LOADER LCS00001-UP (MACHINE) POWERED BY C6.6 Engine
Disassembly and Assembly
Air Conditioning and Heating R134a for All Caterpillar Machines
Media Number -SENR5664-31
Publication Date -01/05/2015 Date Updated -23/10/2018
Air Conditioner Lines - Remove and Install
SMCS - 1808-010
Personal injury can result from contact with refrigerant. This system is under pressure at all times, even if the engine is not running. Heat should never be applied to a charged system.
Contact with refrigerant can cause frost bite. Keep face and hands away to help prevent injury.
Protective goggles must always be worn when refrigerant lines are opened, even if the gauges indicate the system is empty of refrigerant.
Always use caution when a fitting is removed. Slowly loosen the fitting. If the system is still under pressure, evacuate the system recovering the refrigerant before removing the fitting.
Personal injury or death can result from inhaling refrigerant through a lit cigarette.
Inhaling air conditioner refrigerant gas through a lit cigarette or other smoking method or inhaling fumes released from a flame contacting air conditioner refrigerant gas, can cause bodily harm or death.
Do not smoke when servicing air conditioners or wherever refrigerant gas may be present.
Before any checks of the air conditioning and heating system are made, move the machine to a smooth horizontal surface. Lower all implements to the ground. Make sure the transmission is in neutral or park and that
the parking brake is engaged. Keep all other personnel away from the machine or where they can be seen.
Personal injury can result from hot coolant. Any contact with hot coolant or with steam can cause severe burns. Allow cooling system components to cool before the cooling system is drained.
NOTICE
Never weld or solder any charged components.
Care must be taken during removal of air conditioner lines. Before disconnecting any tube fittings, refer to Testing and Adjusting, "Refrigerant Recovery" in order to recover all refrigerant from the system.
Place dust caps on all hoses and fittings upon disconnecting.
Do not fold or twist hoses when you are routing the new hoses onto the machine. Damage can occur to the inner layers of the hoses and damage can cause premature failure.
Reassemble fittings by using the correct torque values for assembly of the air conditioning unit. Refer to Specifications, SENR3130, "Torque Specifications" in order to find the correct torque value.
Use the following procedure to reassemble the connections.
Proper Technique for Assembly

1
1. Drip clean mineral oil onto the clean O-ring.

Illustration 2
2. Place the O-ring on fitting.
g01519286

3
3. Oil the O-ring again.

Illustration 4
4. Align fittings and ensure that the seal is seated correctly. Hand tighten the fittings together.
Note: DO NOT CROSS THREAD.

5. Tighten the connection with proper torque. Use a wrench to avoid twisting parts.
Copyright 1993 - 2021 Caterpillar Inc. All Rights Reserved. Private Network For SIS Licensees.
Tue Nov 9 22:07:24 UTC+0530 2021

Product: TRACK LOADER
Model: 963D TRACK LOADER LCS
Configuration: 963D TRACK-TYPE LOADER LCS00001-UP (MACHINE) POWERED BY C6.6 Engine
Disassembly and Assembly
Air Conditioning and Heating R134a for All Caterpillar Machines
Media Number -SENR5664-31
Publication Date -01/05/2015 Date Updated -23/10/2018
Machine Preparation for Disassembly and Assembly
SMCS - 7320-017
Personal injury can result from contact with refrigerant.
This system is under pressure at all times, even if the engine is not running. Heat should never be applied to a charged system.
Contact with refrigerant can cause frost bite. Keep face and hands away to help prevent injury.
Protective goggles must always be worn when refrigerant lines are opened, even if the gauges indicate the system is empty of refrigerant.
Always use caution when a fitting is removed. Slowly loosen the fitting. If the system is still under pressure, evacuate the system recovering the refrigerant before removing the fitting.
Personal injury or death can result from inhaling refrigerant through a lit cigarette.
Inhaling air conditioner refrigerant gas through a lit cigarette or other smoking method or inhaling fumes released from a flame contacting air conditioner refrigerant gas, can cause bodily harm or death.
Do not smoke when servicing air conditioners or wherever refrigerant gas may be present.
Before any checks of the air conditioning and heating system are made, move the machine to a smooth horizontal surface. Lower all implements to the ground. Make sure the transmission is in neutral or park and that
the parking brake is engaged. Keep all other personnel away from the machine or where they can be seen.
Personal injury can result from hot coolant. Any contact with hot coolant or with steam can cause severe burns. Allow cooling system components to cool before the cooling system is drained.
NOTICE
Never weld or solder any charged components.
Note: Before you conduct a performance check, refer to the Troubleshooting, "Visual Inspection (Troubleshooting)" section.
Note: Refer to the Troubleshooting, "Machine Preparation for Troubleshooting" section before service work is performed on the air conditioning system.
When the service work is done on the air conditioning system, the service work must keep the system clean and free from contamination. Plugs and caps must be used in order to close the components and hoses when the components and hoses are open. The plugs and caps protect the system from dirt and air (moisture). Only new refrigerant oil of the correct viscosity and new refrigerant can be added to the system. For the correct oil, refer to the Specifications section of this manual. Any other material or any other substance is considered non-condensable and the material will contaminate the system. Keep the work area clean.
• Dust caps on the refrigerant compressor block fitting are the primary seal on the air conditioning system.
• All machines should have an identification tag in the cab that specifies the proper refrigerant charge for the machine.
When replacement or repair of components and hoses are required, perform the following procedure:
1. Remove the refrigerant charge. Measure the amount of oil recovered. Refer to the Testing and Adjusting, "Refrigerant Recovery" and Testing and Adjusting, "Refrigerant Oil - Test" section, for proper procedures.
2. Remove the component or remove the hose that is being repaired or replaced. Install protective plugs on components or hoses that are left exposed to the air.
3. Replace any damaged component or hose.
This is the sample of the manual Click on the download link for complete Manual