Skip to main content

931C II Caterpillar Track Loader Service Repair Manual

Page 1


Product: TRACK LOADER

Model: 931C II TRACK LOADER 6AJ

Configuration: 931C & 931C LGP SERIES II TRACK LOADER / POWER SHIFT / 6AJ00001-UP (MACHINE) POWERED BY 3204 ENGINE

Disassembly and Assembly

D3B & 931B BACKHOE

Media Number -SENR2593-00

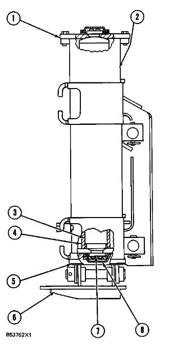
Hydraulic Oil Cooler

SMCS

Publication Date -01/12/1981

Remove And Install Hydraulic Oil Cooler

Date Updated -11/10/2001

Lower all hydraulically controlled equipment to the ground. Slowly remove the hydraulic tank filler cap to release pressure in the hydraulic tank. This will prevent the sudden release of hot hydraulic oil which can cause personal injury.

4.

6.

Product: TRACK LOADER

Model: 931C II TRACK LOADER 6AJ

Configuration: 931C & 931C LGP SERIES II TRACK LOADER / POWER SHIFT / 6AJ00001-UP (MACHINE) POWERED BY 3204 ENGINE

Disassembly and Assembly

D3B & 931B BACKHOE

Piston Hydraulic Pump

Remove

6.



NOTE: 

7.

8.

9.

Do not remove gear (20) with tooling (A) unless nut (18) is installed.

Piston Hydraulic Pump

5.

6.

7.



NOTE: 

8.

There is spring force behind cap (4).

This is the sample of the manual Click on the download link for complete Manual

Be extra careful not to cause damage to the machined (highly finished) surface on the plate assembly and barrel assembly.

There is spring force behind snap ring (29). 12.

 19.

Assemble Piston Hydraulic Pump

9.

NOTICE

Be extra careful not to cause damage to the machined (highly finished) surfaces of the barrel assembly.

15.

NOTICE

Pins (21) must be installed in the special grooves in the barrel.

16.

NOTICE

Be extra careful not to cause damage to the machined (highly polished) surface of the plate assembly.

Product: TRACK LOADER

Model: 931C II TRACK LOADER 6AJ

Configuration: 931C & 931C LGP SERIES II TRACK LOADER / POWER SHIFT / 6AJ00001-UP (MACHINE) POWERED BY 3204 ENGINE

Disassembly and Assembly

D3B & 931B BACKHOE

Media Number -SENR2593-00 Publication Date -01/12/1981 Date Updated -11/10/2001

Backhoe frame (Sideshift)

SMCS

Remove Backhoe Frame

4.

5.

NOTICE

Do not start the machine with hose assemblies (3) and (4) disconnected. Connect the fitting on hose assembly (4) to the fitting on the machine for hose assembly (3) before the machine is started. Failure to do this can cause damage to the hydraulic system.

Install Backhoe Frame

1.

2.

If the backhoe frame is to be put in a horizontal position, give support to the stabilizer cylinder rod at the bottom of the backhoe frame. Failure to do so will cause distortion of plate (1).

6.

NOTE: 

7.

8.

This is the sample of the manual Click on the download link for complete Manual

Turn static files into dynamic content formats.

Create a flipbook