

PreviousScreen
Product:MINIHYDEXCAVATOR
Model:307CMINIHYDEXCAVATORBCM
Configuration:307C&307CSBExcavatorsBCM00001-UP(MACHINE)POWEREDBY4M40Engine
OperationandMaintenanceManual
307CExcavator
MediaNumber-SEBU7421-05PublicationDate-01/04/2011DateUpdated-01/04/2011
Foreword
SMCS-7606
LiteratureInformation
Thismanualshouldbestoredintheoperator'scompartmentintheliteratureholderorseatback literaturestoragearea.
Thismanualcontainssafetyinformation,operationinstructions,transportationinformation, lubricationinformationandmaintenanceinformation.
Somephotographsorillustrationsinthispublicationshowdetailsorattachmentsthatcanbedifferent fromyourmachine.Guardsandcoversmighthavebeenremovedforillustrativepurposes.
Continuingimprovementandadvancementofproductdesignmighthavecausedchangestoyour machinewhicharenotincludedinthispublication.Read,studyandkeepthismanualwiththe machine.
Wheneveraquestionarisesregardingyourmachine,orthispublication,pleaseconsultyourCat dealerforthelatestavailableinformation.
Safety
Thesafetysectionlistsbasicsafetyprecautions.Inaddition,thissectionidentifiesthetextand locationsofwarningsignsandlabelsusedonthemachine.
Readandunderstandthebasicprecautionslistedinthesafetysectionbeforeoperatingorperforming lubrication,maintenanceandrepaironthismachine.
Operation
Theoperationsectionisareferenceforthenewoperatorandarefresherfortheexperiencedoperator. Thissectionincludesadiscussionofgauges,switches,machinecontrols,attachmentcontrols, transportationandtowinginformation.
Photographsandillustrationsguidetheoperatorthroughcorrectproceduresofchecking,starting, operatingandstoppingthemachine.
Operatingtechniquesoutlinedinthispublicationarebasic.Skillandtechniquesdevelopasthe operatorgainsknowledgeofthemachineanditscapabilities.
Maintenance
Themaintenancesectionisaguidetoequipmentcare.TheMaintenanceIntervalSchedule(MIS)lists theitemstobemaintainedataspecificserviceinterval.Itemswithoutspecificintervalsarelisted underthe"WhenRequired"serviceinterval.TheMaintenanceIntervalScheduleliststhepage numberforthestep-by-stepinstructionsrequiredtoaccomplishthescheduledmaintenance.Usethe MaintenanceIntervalScheduleasanindexor"onesafesource"forallmaintenanceprocedures.
MaintenanceIntervals
Usetheservicehourmetertodetermineservicingintervals.Calendarintervalsshown(daily,weekly, monthly,etc.)canbeusedinsteadofservicehourmeterintervalsiftheyprovidemoreconvenient servicingschedulesandapproximatetheindicatedservicehourmeterreading.Recommendedservice shouldalwaysbeperformedattheintervalthatoccursfirst.
Underextremelysevere,dustyorwetoperatingconditions,morefrequentlubricationthanisspecified inthemaintenanceintervalschartmightbenecessary.
Performserviceonitemsatmultiplesoftheoriginalrequirement.Forexample,atevery500service hoursor3months,alsoservicethoseitemslistedunderevery250servicehoursormonthlyandevery 10servicehoursordaily.
CaliforniaProposition65Warning
DieselengineexhaustandsomeofitsconstituentsareknowntotheStateofCaliforniatocause cancer,birthdefects,andotherreproductiveharm.
Batteryposts,terminalsandrelatedaccessoriescontainleadandleadcompounds.Washhandsafter handling.
CertifiedEngineMaintenance
Propermaintenanceandrepairisessentialtokeeptheengineandmachinesystemsoperating correctly.Astheheavydutyoff-roaddieselengineowner,youareresponsiblefortheperformanceof therequiredmaintenancelistedintheOwnerManual,OperationandMaintenanceManual,and ServiceManual.
Itisprohibitedforanypersonengagedinthebusinessofrepairing,servicing,selling,leasing,or tradingenginesormachinestoremove,alter,orrenderinoperativeanyemissionrelateddeviceor elementofdesigninstalledonorinanengineormachinethatisincompliancewiththeregulations (40CFRPart89).Certainelementsofthemachineandenginesuchastheexhaustsystem,fuel system,electricalsystem,intakeairsystemandcoolingsystemmaybeemissionrelatedandshould notbealteredunlessapprovedbyCaterpillar.
MachineCapacity
Additionalattachmentsormodificationsmayexceedmachinedesigncapacitywhichcanadversely affectperformancecharacteristics.Includedwouldbestabilityandsystemcertificationssuchas brakes,steering,androlloverprotectivestructures(ROPS).ContactyourCatdealerforfurther information.
CatProductIdentificationNumber
EffectiveFirstQuarter2001theCatProductIdentificationNumber(PIN)haschangedfrom8to17 characters.Inanefforttoprovideuniformequipmentidentification,Caterpillarandotherconstruction equipmentmanufacturersaremovingtocomplywiththelatestversionoftheproductidentification numberingstandard.Non-roadmachinePINsaredefinedbyISO10261.ThenewPINformatwill applytoallCatmachinesandgeneratorsets.ThePINplatesandframemarkingwilldisplaythe17 characterPIN.Thenewformatwilllooklikethefollowing:


2.MachineDescriptor(characters4-8)
3.CheckCharacter(character9)
4.MachineIndicatorSection(MIS)orProductSequenceNumber(characters10-17).Thesewere previouslyreferredtoastheSerialNumber.
MachinesandgeneratorsetsproducedbeforeFirstQuarter2001willmaintaintheir8characterPIN format.
Componentssuchasengines,transmissions,axles,etc.andworktoolswillcontinuetousean8 characterSerialNumber(S/N).
Copyright1993-2020CaterpillarInc. AllRightsReserved. PrivateNetworkForSISLicensees.
ThuDec1009:31:12UTC+05302020

PreviousScreen
Product:MINIHYDEXCAVATOR
Model:307CMINIHYDEXCAVATORBCM
Configuration:307C&307CSBExcavatorsBCM00001-UP(MACHINE)POWEREDBY4M40Engine
OperationandMaintenanceManual
307CExcavator
MediaNumber-SEBU7421-05PublicationDate-01/04/2011DateUpdated-01/04/2011
i02665171
AccessDoorandCoverLocations SMCS-726A-CH
EngineHood







PreviousScreen
Product:MINIHYDEXCAVATOR
Model:307CMINIHYDEXCAVATORBCM
Configuration:307C&307CSBExcavatorsBCM00001-UP(MACHINE)POWEREDBY4M40Engine
OperationandMaintenanceManual
307CExcavator
MediaNumber-SEBU7421-05PublicationDate-01/04/2011DateUpdated-01/04/2011
i01520787
AirConditioner/CabHeaterFilter(Recirculation)Inspect/Replace
SMCS-1054-040-A/C;1054-510-A/C
NOTICE
Anairrecirculationfilterelementpluggedwithdustwillresultin decreasedperformanceandservicelifetotheairconditionerorcab heater.
Topreventdecreasedperformance,cleanthefilterelement,as required.




Illustration1g00685718
Therecirculationfilterisonthelowerleftsideofthecab.
1.Toremovethefilterelement,slidetheelementstraightup.
2.RefertoOperationandMaintenanceManual,"GeneralHazardInformation"beforeusing pressureairtocleantheairfilterelement.
3.Cleanthefilterelementwithamaximumof200kPa(30psi)pressureair.
4.Afteryoucleanthefilterelement,inspectthefilterelement.Ifthefilterelementisdamagedor badlycontaminated,useanewfilterelement.Makesurethatthefilterelementisdry.
ThuDec1010:24:48UTC+05302020

PreviousScreen
Product:MINIHYDEXCAVATOR
Model:307CMINIHYDEXCAVATORBCM
Configuration:307C&307CSBExcavatorsBCM00001-UP(MACHINE)POWEREDBY4M40Engine
OperationandMaintenanceManual
307CExcavator
MediaNumber-SEBU7421-05PublicationDate-01/04/2011DateUpdated-01/04/2011
Battery-Clean
SMCS-1401-070
Cleanthebatterysurfacewithacleancloth.Keeptheterminalscleanandkeeptheterminalscoated withpetroleumjelly.Installthepostcoverafteryoucoattheterminalpostwithpetroleumjelly.
Copyright1993-2020CaterpillarInc. AllRightsReserved. PrivateNetworkForSISLicensees.
ThuDec1010:25:01UTC+05302020

PreviousScreen
Product:MINIHYDEXCAVATOR
Model:307CMINIHYDEXCAVATORBCM
Configuration:307C&307CSBExcavatorsBCM00001-UP(MACHINE)POWEREDBY4M40Engine
OperationandMaintenanceManual
307CExcavator
MediaNumber-SEBU7421-05PublicationDate-01/04/2011DateUpdated-01/04/2011
Battery-Recycle
SMCS-1401-561
Alwaysrecycleabattery.Neverdiscardabattery.
Alwaysreturnusedbatteriestooneofthefollowinglocations:
•Abatterysupplier
•Anauthorizedbatterycollectionfacility
•Recyclingfacility
Copyright1993-2020CaterpillarInc. AllRightsReserved. PrivateNetworkForSISLicensees.
i06543763
ThuDec1010:25:16UTC+05302020

PreviousScreen
Product:MINIHYDEXCAVATOR
Model:307CMINIHYDEXCAVATORBCM
Configuration:307C&307CSBExcavatorsBCM00001-UP(MACHINE)POWEREDBY4M40Engine
OperationandMaintenanceManual
307CExcavator
MediaNumber-SEBU7421-05PublicationDate-01/04/2011DateUpdated-01/04/2011
BatteryHold-Down-Tighten
SMCS-7257
Tightenthehold-downsforthebatteryinordertopreventthebatteriesfrommovingduringmachine operation.
Copyright1993-2020CaterpillarInc. AllRightsReserved. PrivateNetworkForSISLicensees.
ThuDec1010:25:30UTC+05302020
This is the sample of the manual Click on the download link for complete Manual

PreviousScreen
Product:MINIHYDEXCAVATOR
Model:307CMINIHYDEXCAVATORBCM
Configuration:307C&307CSBExcavatorsBCM00001-UP(MACHINE)POWEREDBY4M40Engine
OperationandMaintenanceManual
307CExcavator
MediaNumber-SEBU7421-05PublicationDate-01/04/2011DateUpdated-01/04/2011
BatteryorBatteryCable-Inspect/Replace
SMCS-1401-040;1401-510;1401-561;1401;1402-510;1402-040
Personalinjurycanresultfrombatteryfumesorexplosion. Batteriesgiveoffflammablefumesthatcanexplode.Electrolyteisan acidandcancausepersonalinjuryifitcontactstheskinoreyes.
Preventsparksnearthebatteries.Sparkscouldcausevaporstoexplode. Donotallowjumpercableendstocontacteachotherortheengine. Improperjumpercableconnectionscancauseanexplosion.
Alwayswearprotectiveglasseswhenworkingwithbatteries.
1.TurnalloftheswitchestotheOFFposition.TurntheenginestartswitchkeytotheOFF position.
2.TurnthebatterydisconnectswitchtotheOFFposition.Removethekey.
3.Disconnectthenegativebatterycableatthebattery.
4.Disconnectthepositivebatterycableatthebattery.
5.Disconnectthebatterycablesatthebatterydisconnectswitch.Thebatterydisconnectswitchis connectedtothemachineframe.
6.Makenecessaryrepairsorreplacethebattery.
7.Connectthebatterycableatthebatterydisconnectswitch.
8.Connectthepositivebatterycableofthebattery.
9.Connectthenegativebatterycableofthebattery.
10.InstallthekeyandturnthebatterydisconnectswitchtotheONposition.
Copyright1993-2020CaterpillarInc. AllRightsReserved. PrivateNetworkForSISLicensees.
ThuDec1010:25:44UTC+05302020

PreviousScreen
Product:MINIHYDEXCAVATOR
Model:307CMINIHYDEXCAVATORBCM
Configuration:307C&307CSBExcavatorsBCM00001-UP(MACHINE)POWEREDBY4M40Engine
OperationandMaintenanceManual
307CExcavator
MediaNumber-SEBU7421-05PublicationDate-01/04/2011DateUpdated-01/04/2011 i01914481
Belts-Inspect/Adjust/Replace
SMCS-1357-025;1357-040;1357-510;1397-510;1397-025;1397-040
NOTICE
TheV-beltmustbetensionedcorrectly.Failuretotensionthebelt properlycouldcausedamagetothebeltand/ortotheairconditioner compressor.


Yourenginecanbeequippedwithawaterpump,withafandrive,andwithanalternator.Yourengine canalsobeequippedwithaccessorydrivebelts.Formaximumengineperformanceandmaximum utilizationofyourengine,inspectthebeltsforwearandforcracking.Checkthebelttension.Adjust thebelttensioninordertominimizebeltslippage.Beltslippagewilldecreasethebeltlife.Belt slippagewillalsocausepoorperformanceofthealternatorandofanydrivenequipment.
Ifnewbeltsareinstalled,recheckthebeltadjustmentafter30minutesofoperation.Iftwobeltsor morearerequiredforanapplication,replacethebeltsinbeltsets.Ifonlyonebeltofapairisreplaced, thenewbeltwillcarrymoreload.Thisisduetothefactthattheolderbeltsarestretched.The additionalloadonthenewbeltcouldcausethenewbelttobreak.
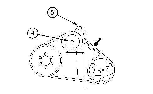
WaterPumpBelt,FanDriveBelt,andAlternatorBelt


Illustration2g00418343
(1)Alternatormountingbolt (2)Nut (3)Adjustingbolt
1.Opentheenginehood.
2.Applyapproximately98N(22lb)offorcemidwaybetweenthepulleys.
3.Measurethedeflectionofthebelt.Thebeltshoulddeflect8to11mm(5/16to7/16inch).
4.Ifthedeflectionisnotcorrect,loosenalternatormountingbolt(1)andnut(2).Turnadjusting bolt(3)inordertoadjustthebelttension.
5.Whentheadjustmentiscorrect,tightenbolt(1)toatorqueof21±4N·m(15±3lbft).Tighten nut(2)toatorqueof41±8N·m(30±6lbft).
6.Checkthedeflectionofthebeltagain.
Note:Ifanewbeltisinstalled,checkthebeltadjustmentagainafter30minutesofengine operationattheratedenginespeed.
AirConditionerBelt

Illustration3g00418344 (4)Collar (5)Adjustingbolt
1.Applyapproximately98N(22lb)offorcemidwaybetweenthepulleys.
2.Measurethedeflectionofthebelt.Thebeltshoulddeflect7to10mm(1/4to3/8inch).
3.Ifthedeflectionisnotcorrect,loosencollar(4).Turnadjustingbolt(5)inordertoadjustthe belttension.
4.Whentheadjustmentiscorrect,tightencollar(4)toatorqueof100±20N·m(75±15lbft).
5.Checkthedeflectionagain.
Note:Ifanewbeltisinstalled,recheckthebeltadjustmentagainafter30minutesofoperation.
6.Closetheenginehood.

PreviousScreen
Product:MINIHYDEXCAVATOR
Model:307CMINIHYDEXCAVATORBCM
Configuration:307C&307CSBExcavatorsBCM00001-UP(MACHINE)POWEREDBY4M40Engine
OperationandMaintenanceManual
307CExcavator
MediaNumber-SEBU7421-05PublicationDate-01/04/2011DateUpdated-01/04/2011
BladeCuttingEdges-Inspect/Replace
SMCS-6801
i01409565
Personalinjuryordeathcanresultfromafallingblade. Blockthebladebeforechangingthecuttingedgesandtheendbits.
Checkthecuttingedgeofthebladeandtheendbitsofthebladeforwear.Ifanyofthepartshave signsofunusualwearordamage,replacethepart.


1.Raisethebladeandplaceblockingunderneaththeblade.
2.Lowerthebladeontotheblocking.
3.Removebolts(1)andthenremovecuttingedge(2)andendbits(3).
4.Cleanthesurfacebetweenthecuttingedgeandtheendbits.
5.Turnthecuttingedgeand/ortheendbitsupside-downifthoseedgesarenotworn.
6.Ifbothsidesofthecuttingedgeandtheendbitsareworn,replacethepartswithnewparts.
7.Installthenewpartsortherotatedpartswithbolts(1).Tightentheboltstoatorqueof270±40 N·m(200±30lbft).
8.Raisethebladeandremovetheblocking.
9.Lowerthebladetotheground.
10.Afterafewhoursofoperation,tightenbolts(1)tothetorquethatisspecifiedinStep7.

PreviousScreen
Product:MINIHYDEXCAVATOR
Model:307CMINIHYDEXCAVATORBCM
Configuration:307C&307CSBExcavatorsBCM00001-UP(MACHINE)POWEREDBY4M40Engine
OperationandMaintenanceManual
307CExcavator
MediaNumber-SEBU7421-05PublicationDate-01/04/2011DateUpdated-01/04/2011
BladeLinkage-Lubricate
SMCS-6060-086-KL
i02055581
Note:Caterpillarrecommendstheuseof5%molybdenumgreaseforlubricatingthebladelinkage. RefertoSpecialPublication,SEBU6250,"CaterpillarMachineFluidsRecommendations"formore informationonmolybdenumgrease.
Wipeallfittingsbeforeyouapplylubricant.


1.Applylubricantthroughfitting(1).Thisfittingislocatedontheheadendofthebladecylinder.
https://127.0.0.1/sisweb/sisweb/techdoc/techdoc_print_page.jsp?returnurl=/sisweb/sisweb12/10/2020 ...
2.Applylubricantthroughfitting(2).Thisfittingislocatedontherodendofthebladecylinder.


3.Applylubricantthroughfitting(3)andthroughfitting(4).Thesefittingsarelocatedonthebar thatsupportstheblade.
Copyright1993-2020CaterpillarInc. AllRightsReserved. PrivateNetworkForSISLicensees.
ThuDec1010:26:26UTC+05302020
https://127.0.0.1/sisweb/sisweb/techdoc/techdoc_print_page.jsp?returnurl=/sisweb/sisweb12/10/2020 ...

PreviousScreen
Product:MINIHYDEXCAVATOR
Model:307CMINIHYDEXCAVATORBCM
Configuration:307C&307CSBExcavatorsBCM00001-UP(MACHINE)POWEREDBY4M40Engine
OperationandMaintenanceManual
307CExcavator
MediaNumber-SEBU7421-05PublicationDate-01/04/2011DateUpdated-01/04/2011 i01994559
BoomandStickLinkage-Lubricate-ParallelOffsetBoom(If Equipped)
SMCS-6501-086;6502-086
S/N-BCM1-UP
Note:Caterpillarrecommendstheuseof5%molybdenumgreaseforlubricatingtheboomandthe sticklinkage.RefertoSpecialPublication,SEBU6250,"CaterpillarMachineFluids Recommendations"formoreinformationongrease.
Applylubricantthroughallfittingsafteroperationunderwater.
Wipeallfittingsbeforeyouapplylubricant.


Illustration1g00413323
1.Applylubricantthroughthefittingatthebaseoftheboom.


Illustration2g00411721
2.Applylubricantthroughthefittingsatthebaseoftheboomcylinder.


3.Applylubricantthroughfitting(1).Thisfittingislocatedontherodendoftheboomcylinder.
4.Applylubricantthroughfitting(2)andthroughfitting(3).Thesefittingsarelocatedatthe junctionoftheforeboomandthestubboom.
5.Applylubricantthroughfitting(4).Thisfittingislocatedontheheadendofthestickcylinder. Illustration4g00746230


6.Applylubricantthroughfitting(5).Thisfittingislocatedontheheadendoftheoffsetcylinder.
7.Applylubricantthroughfitting(6).Thisfittingislocatedontheoffsetbar.


Illustration5g00746229
8.Applylubricantthroughfitting(7)andthroughfitting(8).Thesefittingsarelocatedonthe cylinderbracket.

Illustration6g00746231
9.Applylubricantthroughfitting(9).Thisfittingislocatedontherodendoftheoffsetcylinder.
10.Applylubricantthroughfitting(10).Thisfittingislocatedontheoffsetbar.
11.Applylubricantthroughfitting(11).Thisfittingislocatedatthejunctionoftheboomandthe stick.


Illustration7g00746232
12.Applylubricantthroughfitting(12).Thisfittingislocatedontherodendofthestickcylinder.
13.Applylubricantthroughfitting(13).Thisfittingislocatedatthejunctionoftheboomandthe stick.
14.Applylubricantthroughfitting(14).Thisfittingislocatedontheheadendofthebucket cylinder. Copyright1993-2020CaterpillarInc. AllRightsReserved.
ThuDec1010:26:41UTC+05302020

PreviousScreen
Product:MINIHYDEXCAVATOR
Model:307CMINIHYDEXCAVATORBCM
Configuration:307C&307CSBExcavatorsBCM00001-UP(MACHINE)POWEREDBY4M40Engine
OperationandMaintenanceManual
307CExcavator
MediaNumber-SEBU7421-05PublicationDate-01/04/2011DateUpdated-01/04/2011
BoomandStickLinkage-Lubricate
SMCS-6501-086;6502-086
S/N-BCM1-UP
i01994982
Note:Caterpillarrecommendstheuseof5%molybdenumgreaseforlubricatingtheboomandthe sticklinkage.RefertoSpecialPublication,SEBU6250,"CaterpillarMachineFluids Recommendations"formoreinformationongrease.
Applylubricantthroughallfittingsafteroperationunderwater.
Wipeallfittingsbeforeyouapplylubricant.

Illustration1g00411720
1.Applylubricantthroughthefittingatthebaseoftheboom.


Illustration2g00411721
2.Applylubricantthroughthefittingsatthebaseoftheboomcylinder.

Illustration3g00746217
This is the sample of the manual Click on the download link for complete Manual