Skip to main content

304E2 Caterpillar Mini Hyd Excavator Service Repair Manual

Page 1


Product: MINI HYD EXCAVATOR

Model: 304E2 MINI HYD EXCAVATOR ME4

Configuration: 304E2 Mini Hydraulic Excavator ME400001-UP (MACHINE) POWERED BY C2.4 Engine

Disassembly and Assembly

Air Conditioning and Heating R134a for All Cat Machines

Air Conditioner Lines - Remove and Install

SMCS - 1808-010

Personal injury can result from contact with refrigerant.

This system isunder pressure at all times, even ifthe engine is not running. Heat should never be applied to a charged system.

Contact withrefrigerant can cause frost bite. Keep face and hands away to help prevent injury.

Protective gogglesmust always be worn when refrigerant lines are opened, even if the gauges indicate the system isempty of refrigerant.

Alwaysuse caution when a fitting is removed. Slowly loosenthe fitting. If the system isstill under pressure, evacuate the system recovering the refrigerant before removing the fitting.

Personal injury or death can result from inhaling refrigerant through a lit cigarette.

Inhaling air conditioner refrigerant gas through a lit cigarette or other smoking method or inhaling fumes released from a flame contacting air conditioner refrigerant gas, can cause bodily harm or death.

Do not smoke whenservicing air conditionersor wherever refrigerant gas may be present.

i05907621

Before any checks of the air conditioning and heating system are made, move the machine to a smooth horizontal surface. Lower all implements to the ground. Make sure the transmission is in neutral or park and that the parking brake is engaged. Keepall other personnel away from the machine or where they can be seen.

Personal injury can result from hot coolant. Any contact withhot coolant or withsteam cancause severe burns. Allow cooling system components to cool before the cooling system is drained.

NOTICE

Never weld or solder any chargedcomponents.

Care must be taken during removal of air conditioner lines. Before disconnecting any tube fittings, refer to Testing and Adjusting, "Refrigerant Recovery" in order to recover all refrigerant from the system.

Place dust caps on all hoses and fittings upon disconnecting.

Do not fold or twist hoses when you are routing the new hosesonto the machine. Damage can occur to the inner layers of the hoses and damage can cause premature failure.

Reassemble fittings by using the correct torque values for assembly of the air conditioning unit. Refer to Specifications, SENR3130, "Torque Specifications" in order to find the correct torque value.

Use the following procedure to reassemble the connections.

Proper Technique for Assembly

Illustration 1 g01519272

1. Drip clean mineral oil onto the clean O-ring.

Illustration 2 g01519286

2. Place the O-ring on fitting.

Illustration 3

3. Oil the O-ring again.

Illustration 4

4. Align fittings and ensure that the seal is seated correctly. Hand tighten the fittings together.

Note: DO NOT CROSS THREAD.

g01519288
g01519290

5

5. Tighten the connection with proper torque. Use a wrench to avoid twisting parts.

Copyright 1993 - 2020 Caterpillar Inc. All Rights Reserved. Private Network For SIS Licensees.

Wed Aug 26 20:29:37 UTC+0530 2020

This is the sample of the manual Click on the download link for complete Manual

Product: MINI HYD EXCAVATOR

Model: 304E2 MINI HYD EXCAVATOR ME4

Configuration: 304E2 Mini Hydraulic Excavator ME400001-UP (MACHINE) POWERED BY C2.4 Engine

Disassembly and Assembly

Air Conditioning and Heating R134a for All Cat Machines

General Information

SMCS - 1808; 7309

Refrigeration System

Personal injury can result from contact with refrigerant.

This system isunder pressure at all times, even ifthe engine is not running. Heat should never be applied to a charged system.

Contact withrefrigerant can cause frost bite. Keep face and hands away to help prevent injury.

Protective gogglesmust always be worn when refrigerant lines are opened, even if the gauges indicate the system isempty of refrigerant.

Alwaysuse caution when a fitting is removed. Slowly loosenthe fitting. If the system isstill under pressure, evacuate the system recovering the refrigerant before removing the fitting.

Personal injury or death can result from inhaling refrigerant through a lit cigarette.

Inhaling air conditioner refrigerant gas through a lit cigarette or other smoking method or inhaling fumes released from a flame contacting air conditioner refrigerant gas, can cause bodily harm or death.

i05907617

Do not smoke whenservicing air conditionersor wherever refrigerant gas may be present.

Before any checks of the air conditioning and heating system are made, move the machine to a smooth horizontal surface. Lower all implements to the ground. Make sure the transmission is in neutral or park and that the parking brake is engaged. Keepall other personnel away from the machine or where they can be seen.

Personal injury can result from hot coolant. Any contact withhot coolant or withsteam cancause severe burns. Allow cooling system components to cool before the cooling system is drained.

• All refrigerant lines that are metal or flexible hose must be free of sharp bends. Also, do not use a refrigerant line that is kinked. Sharp bends will cause a restriction in the refrigerant flow. Restrictions in the refrigerant lines are identified by cold spots or frost on the line at the location of the restriction. Restrictions in the linesreduce the performance and the efficiency of the system.

• The radiusof bendsin the flexible hose must never be lessthan ten times the outside diameter of the hose.

• Do not allow the flexible hoses to come within 63.5 mm (2.50 inch) of the exhaust manifold.

• The hoses need to be inspected yearly for leaks and for hardness. Conduct a leak test on all the hoses and the lines. Refer to the Testing and Adjusting, "Refrigerant Leakage - Test" section. Replace hoses if leaksor hardnessare in the hoses. Replace hoses with newhose that issealed and free of contaminants.

• The correct use of wrenches is important when connections are made. The type of wrench that is used isalso important. Only use wrenches that are made for use with tube-type fittings. When a hose is connected or disconnected from the system, use a wrench on the fitting and use a wrench on the nut. When a metal line is connected or disconnected from the system, use a wrench on the fitting and use a wrench on the nut.

• Install protective plugsor protective caps on all components and hoses that are disconnected or removed.

• O-ring seals and O-ring seats must be in good condition. Small cuts, scratches, or particles of dirt will cause a leak in the system. Put new mineral oil (397-7507) on all new O-ring sealsat the time of installation. Do not use any sealant on connections.

• Dust capson the compressor block fittings are the primary seals on the air conditioning system.

• All machines should have an identification tag that specifies the refrigerant charge for the machine. The tag should be located in the operator compartment.

• If water is in the vents, check the non-return valve. If water leaks from the air conditioning system, check the non-return valve. The non-return valve should have the proper position and the proper direction.

• If engine coolant is leaking into the operator compartment, check for loose clamps on the heater hoses.

Product: MINI HYD EXCAVATOR

Model: 304E2 MINI HYD EXCAVATOR ME4

Configuration: 304E2 Mini Hydraulic Excavator ME400001-UP (MACHINE) POWERED BY C2.4 Engine

Disassembly and Assembly

Air Conditioning and Heating R134a for All Cat Machines

In-Line Refrigerant Dryer - Remove and Install

SMCS - 7322-010-QT

Dryer Installation

Personal injury can result from contact with refrigerant.

This system isunder pressure at all times, even ifthe engine is not running. Heat should never be applied to a charged system.

Contact withrefrigerant can cause frost bite. Keep face and hands away to help prevent injury.

Protective gogglesmust always be worn when refrigerant lines are opened, even if the gauges indicate the system isempty of refrigerant.

Alwaysuse caution when a fitting is removed. Slowly loosenthe fitting. If the system isstill under pressure, evacuate the system recovering the refrigerant before removing the fitting.

Personal injury or death can result from inhaling refrigerant through a lit cigarette.

Inhaling air conditioner refrigerant gas through a lit cigarette or other smoking method or inhaling fumes released from a flame contacting air conditioner refrigerant gas, can cause bodily harm or death.

i05907627

Do not smoke whenservicing air conditionersor wherever refrigerant gas may be present.

Before any checks of the air conditioning and heating system are made, move the machine to a smooth horizontal surface. Lower all implements to the ground. Make sure the transmission is in neutral or park and that the parking brake is engaged. Keepall other personnel away from the machine or where they can be seen.

Personal injury can result from hot coolant. Any contact withhot coolant or withsteam cancause severe burns. Allow cooling system components to cool before the cooling system is drained.

NOTICE

Never weld of solder any charged components.

Illustration 1 g01520430

TypicalIn-Line Dryer withquick disconnects

(1) Inlet hose with air conditioner quick disconnect

(2) Dryer

(3) Outlet hose with air conditioner quick disconnect

Note: Replace dryer (2) annually. Dryer (2) should also be replaced whenever the system is opened.

Disassembly and Assembly

Illustration 2 g01520434

In-line dryer without quickdisconnects

(4) Inlet hose without air conditioner quick disconnect

(5) Dryer

(6) Outlet hose without airconditionerquickdisconnects

Illustration 3 g03549076

320-0562 Refrigerant DryerAs

(7) Dryer

(8) Air conditioner orifice assembly

Note: Every 2 yearsreplace dryer (5) and (7) . Dryer (5) and (7) should also be replaced whenever the system is opened.

Before removing the dryer, perform the following steps in order to diagnose the problem

1. Check the following componentsfor blockages:

2. Check the condition and the tension of the compressor drive belt.

3. Connect a manifold gauge set to the compressor. Refer to Testing and Adjusting, "Manifold Gauge Set (Refrigerant) - Install".

4. Operate the Air conditioning.

Operate the engine at 1400 rpm.

Place the air conditioning switch in the ON position.

Set the blower switch to the HIGH position.

Open all of the louversin the cab.

Close the cab doors and close all of the cab windows.

5. Compare the pressures for the manifold gauge to the pressure ranges in Table 1 in order to ensure that the pressures are normal for the current ambient air temperature.

Table 1

Pressure Range (1)

(100°F)

to 1850 kPa (190 to 270 psi)

to 210 kPa (15 to 30 psi) 43°C (110°F) 1450 to 2075 kPa (210 to 300 psi)

( 1) This tableis only for reference.

( 2) Pressure maybe slightly higher inhumid conditions and lower in dry conditions.

to 210 kPa (15 to 30 psi)

( 3) With AC High-pressure Test Fittingis located nearthe Evaporator Inlet pressure readingwill be 83 to 103 kPa (12 to 15 psi) lower.

( 4) Pressure before clutch disengagement.

( 5) With AC Low-pressure Test Fittingis located near theEvaporatorOutlet pressure readingwill be 14 to 21 kPa (2 to3 psi) higher.

6. Check for frost at the dryer outlet.

Note: Moisture on the drier outlet tube after the orifice is normal and this moisture does not indicate a failure with the dryer. Frost on the drier outlet tube after the orifice is an indicator of a lowrefrigerant charge.

7. If frost isindicated at the dryer outlet or if pressuresare low, proceed to Step 8. Otherwise, proceed to Step 15.

8. Recover the refrigerant charge from the machine. Refer to Disassembly and Assembly, "Refrigerant System Recovery".

9. Record the amount of refrigerant and oil that isrecovered from the Air Conditioner system. These values will be needed in order to calculate the amount of oil that is needed. Refer to Testing and Adjusting, "Refrigerant Compressor Oil - Test" Section.

10. If the charge was low, check the system for leaks.

a. Use an Ultraviolet light and use an electronic leak detector. Ensure that the following items are checked:

Quick disconnects which are on the dryer

Check the drier swivel nut and tighten the nut to 27 ± 4 N·m (20 ±3 lb ft).

All the connections in the circuit that are O-ring

Hoses for rubbing, bulging, and wet spots (oil leaks)

Note: In order to help reveal leaks, simulate the vibrations which are made by the machine by moving the connections.

11. Recharge the refrigerant. Refer to Testing and Adjusting, "Refrigerant System - Charge" Section.

12. Retest the system with the engine at 1400 rpm and check for frost at the dryer outlet.

13. Ensure that the pressures are normal for the current ambient temperature.

14. Refer to Table 1 for the pressures which are normal for the current ambient air temperature.

15. If a component is leaking, bill the claim against the leaking component and provide detailsin the description.

Dryer Removal

If the dryer does not have air conditioner quick Disconnects, the refrigerant that isin the system must be recovered. Refer to the Testing and Adjusting, "Refrigerant System Recovery" section before you remove the dryer.

If the dryer has air conditioner quick disconnects, use the procedure that follows.

Refer to Disassembly and Assembly, "Machine Preparation for Disassembly and Assembly" before service is performed on the air conditioning system.

1. Stop the engine for 5 minutes to allow the air conditioning system to equalize the pressure.

2. Disconnect the inlet hose from the old dryer.

3. Connect the hose that was disconnected in Step 2 to the inlet on the new dryer.

Note: For a dryer that has air conditioner quick disconnects, do not add additional oil or refrigerant to the system.

4. Start the engine. Operate the air conditioning system for 1 minute.

5. With the air conditioning system in operation, disconnect the outlet hose from the old dryer. Disconnect the old dryer.

6. Stop the engine for 5 minutes to allow the air conditioning system to equalize pressure.

7. Connect the outlet hose that was disconnected in Step 6 to the newdryer.

8. Mark the new dryer in permanent marker Installed mm/dd/yy to assist in future maintenance of the inline dryer.

Product: MINI HYD EXCAVATOR

Model: 304E2 MINI HYD EXCAVATOR ME4

Configuration: 304E2 Mini Hydraulic Excavator ME400001-UP (MACHINE) POWERED BY C2.4 Engine

Disassembly and Assembly

Air Conditioning and Heating R134a for All Cat Machines

Machine Preparation for Disassembly and Assembly

SMCS - 7320-017

Personal injury can result from contact with refrigerant.

This system isunder pressure at all times, even ifthe engine is not running. Heat should never be applied to a charged system.

Contact withrefrigerant can cause frost bite. Keep face and hands away to help prevent injury.

Protective gogglesmust always be worn when refrigerant lines are opened, even if the gauges indicate the system isempty of refrigerant.

Alwaysuse caution when a fitting is removed. Slowly loosenthe fitting. If the system isstill under pressure, evacuate the system recovering the refrigerant before removing the fitting.

Personal injury or death can result from inhaling refrigerant through a lit cigarette.

Inhaling air conditioner refrigerant gas through a lit cigarette or other smoking method or inhaling fumes released from a flame contacting air conditioner refrigerant gas, can cause bodily harm or death.

Do not smoke whenservicing air conditionersor wherever refrigerant gas may be present.

i05907618

Before any checks of the air conditioning and heating system are made, move the machine to a smooth horizontal surface. Lower all implements to the ground. Make sure the transmission is in neutral or park and that the parking brake is engaged. Keepall other personnel away from the machine or where they can be seen.

Personal injury can result from hot coolant. Any contact withhot coolant or withsteam cancause severe burns. Allow cooling system components to cool before the cooling system is drained.

NOTICE

Never weld or solder any chargedcomponents.

Note: Before you conduct a performance check, refer to the Troubleshooting, "Visual Inspection (Troubleshooting)" section.

Note: Refer to the Troubleshooting, "Machine Preparation for Troubleshooting" section before service work isperformed on the air conditioning system.

When the service work isdone on the air conditioning system, the service work must keep the system clean and free from contamination. Plugs and caps must be used in order to close the components and hoses when the components and hoses are open. The plugs and capsprotect the system from dirt and air (moisture). Only newrefrigerant oil of the correct viscosity and new refrigerant can be added to the system. For the correct oil, refer to the Specifications section of this manual. Any other material or any other substance is considered non -condensable and the material will contaminate the system. Keep the work area clean.

• Dust capson the refrigerant compressor block fitting are the primary seal on the air conditioning system.

• All machines should have an identification tag in the cab that specifies the proper refrigerant charge for the machine.

When replacement or repair of components and hoses are required, perform the following procedure:

1. Remove the refrigerant charge. Measure the amount of oil recovered. Refer to the Testing and Adjusting, "Refrigerant Recovery" and Testing and Adjusting, "Refrigerant Oil - Test" section, for proper procedures.

2. Remove the component or remove the hose that is being repaired or replaced. Install protective plugs on components or hoses that are left exposed to the air.

3. Replace any damaged component or hose.

4. Use the following table in order to determine the amount of oil that is lost during individual replacements of components. Follow the processprovided in Testing and Adjusting, "Refrigerant OilTest" to calculate the correct amount of oil needed for the system.

Table 1

Oil Capacities for Component Replacements

Accumulator 30 mL (1 fl oz)

Compressor

Refer to the Testing and Adjusting, "Refrigerant Compressor Oil - Check" section.

Condenser 30 mL (1 fl oz)

Evaporator 90 mL (3 fl oz)

In-Line Dryer (1) before any oil is installed 30 mL (1 fl oz)

Receiver-Dryer 30 mL (1 fl oz)

( 1) Refer tothe Disassembly andAssembly, "InLine Refrigerant Dryer - Remove and Install"

5. Refer to the Testing and Adjusting, "Refrigerant System - Evacuate"section.

6. Refer to the Testing and Adjusting, "Refrigerant System - Charge" section.

Product: MINI HYD EXCAVATOR

Model: 304E2 MINI HYD EXCAVATOR ME4

Configuration: 304E2 Mini Hydraulic Excavator ME400001-UP (MACHINE) POWERED BY C2.4 Engine

Disassembly and Assembly

Air Conditioning and Heating R134a for All Cat Machines Media

Refrigerant Accumulator - Remove and Install

SMCS - 1808-010-ZJ; 7320-010-ZJ

i05907623

The refrigerant must be recovered before the accumulator isremoved. Refer to the Testing and Adjusting, "Refrigerant Recovery" section.

Remove the accumulator. The accumulator hasan internal oil drain hole which could become plugged. The oil could be trapped inside the accumulator. It is necessary to check for excessive oil when the accumulator is changed. Add the same amount of oil that was drained from the old accumulator. Add an additional 30 mL (1 fl oz) to the new accumulator before the new accumulator is installed. Do not add oil if the compressor was changed also. Evacuate the system and recharge the system. Refer to the Testing and Adjusting, "Refrigerant System - Evacuate" section. Refer to the Testing and Adjusting, "Refrigerant System - Charge" section.

Note: If the accumulator hasfrost on the outside, the air conditioning system still contains refrigerant.

Copyright 1993 - 2020 Caterpillar Inc. All Rights Reserved. Private Network For SIS Licensees.

Wed Aug 26 20:30:07 UTC+0530 2020

Product: MINI HYD EXCAVATOR

Model: 304E2 MINI HYD EXCAVATOR ME4

Configuration: 304E2 Mini Hydraulic Excavator ME400001-UP (MACHINE) POWERED BY C2.4 Engine

Disassembly and Assembly

Air Conditioning and Heating R134a for All Cat Machines

Media Number -UENR4125-06

Publication Date -01/02/2018

Date Updated -22/01/2018

i05907622

Refrigerant Compressor - Remove and Install

SMCS - 1802-010 Removal

Illustration 1 g00742981

(1) Bolt

(2) Drive belt

(3) Suction and discharge hoses

1. Remove the refrigerant charge. Refer to the Testing and Adjusting, "Refrigerant Recovery" section.

2. Disconnect electrical wiresfrom the magnetic clutch.

3. Loosen all the mounting bolts and loosen the belt tightener (if equipped). Remove drive belt (2) .

4. Disconnect hoses (3) and put plugs or caps on the hoses. Put plugsor caps on the fittingsof the compressor. Put identification marks on the hoses. The marks will ensure that the hoses will be connected correctly at a later time.

5. Remove all the mounting boltsand remove the compressor (4) . The weight of the compressor is approximately 18 kg (40 lb).

Installation

1. Check the amount and condition of the oil in the compressor (4) . Refer to the Testing and Adjusting, "Refrigerant Compressor Oil-Test" section.

2. Inspect the drive belt (2) . If the drive belt (2) is damaged or worn replace the belt.

3. Install the compressor (4) . Do not tighten the mounting bolts until drive belt (2) isinstalled and adjusted.

4. Connect the discharge and the suction hoses(3) to the discharge and suction portson the compressor.

5. Connect the electrical wires to the magnetic clutch.

6. Evacuate the system. Refer to the Testing and Adjusting, "Refrigerant System - Evacuate"section.

7. Charge the system. Refer to the Testing and Adjusting, "Refrigerant System - Charge" section.

8. For the correct system operation, refer to the Troubleshooting Section in thismanual.

Note: Refer to the Specifications, "Refrigerant Compressor"in the Section for the correct belt tension.

9. For the oil level in the system, refer to Service Manual, "Refrigerant Compressor Oil - Check".

Copyright 1993 - 2020 Caterpillar Inc. All Rights Reserved. Private Network For SIS Licensees. Wed Aug 26 20:29:51 UTC+0530 2020

Product: MINI HYD EXCAVATOR

Model: 304E2 MINI HYD EXCAVATOR ME4

Configuration: 304E2 Mini Hydraulic Excavator ME400001-UP (MACHINE) POWERED BY C2.4 Engine

Disassembly and Assembly

Air Conditioning and Heating R134a

for All Cat Machines

Refrigerant Expansion Valve - Remove and Install

SMCS - 7320-010-EV

i05907624

To replace the expansion valve, use the procedure that follows. Refer to Service Manual, "Troubleshooting Heating and Air Conditioning Control System" before service work isperformed on the air conditioning system.

1. Recover the refrigerant.

Note: Cap all disconnected lines and hoses.

2. Remove the insulation and the clip. The insulation and the clip hold the sensing bulb to the evaporator outlet pipe.

3. Disconnect the sensing line for pressure from the evaporator outlet pipe.

4. Loosen and remove the two connections at the expansion valve. Remove the expansion valve.

Note: Check the O-ring seals. The seals must be in good condition and the seals must be properly lubricated with the correct refrigerant oil before assembly.

5. Install the expansion valve for replacement and tighten the two connections.

6. Tighten the pressure sensing connection on the evaporator outlet pipe.

7. Use a 8P-6355 Clip to hold the sensing bulb onto the evaporator outlet pipe. The sensing bulb should be as close to the coil aspossible. The bulb should be upstream of the pressure sensing connection on the evaporator outlet pipe. The 5P-7070 Insulation should be wrapped tightly around the clip, the sensing bulb, and the outlet pipe. There should be no insulation between the bulb and the outlet pipe.

8. Tighten all the connections correctly.

9. Evacuate the system. Refer to the Testing and Adjusting, "Refrigerant System - Evacuate"section.

10. Charge the system with the correct amount of refrigerant by weight. Refer to the Testing and Adjusting, "Refrigerant System - Charge" section.

Copyright 1993 - 2020 Caterpillar Inc. All Rights Reserved. Private Network For SIS Licensees.

Wed Aug 26 20:30:21 UTC+0530 2020

Product: MINI HYD EXCAVATOR

Model: 304E2 MINI HYD EXCAVATOR ME4

Configuration: 304E2 Mini Hydraulic Excavator ME400001-UP (MACHINE) POWERED BY C2.4 Engine

Disassembly and Assembly

Air Conditioning and Heating R134a for All Cat Machines Media

Refrigerant Orifice Tube Assembly - Remove and Install

SMCS - 7320-010-QT

The orifice tube may be located in the refrigerant line near the evaporator inlet, or in the in-line dryer.

i05907628

If the orifice tube is located in the refrigerant line near the evaporator inlet, use the procedure that follows. If the orifice tube is located in the in-line dryer, refer to Dryer Replacement.

Removing the Orifice Tube

Refer to Safety Requirements before service work is performed on the air conditioning system.

The refrigerant must be recovered before removing the accumulator. Refer to the Testing and Adjusting, "Refrigerant Recovery" section.

NOTICE

Do not attempt to remove the orifice tube with pliers. Do not twist or rotate the orifice tube in the tube assembly.

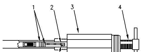
Illustration 1 g00379603

Orifice tube

(1) O-Ring seals

(2) Lugs

(3) Body

(4) Drive screw

(5) Finger lock

1. Disconnect the high side line at the enlarged section of the evaporator inlet port. Thiswill expose the orifice tube for removal.

2. Align the short fingers of the 1U-9890 Orifice Removal Tool with the ribs of the orifice tube. Insert the tool onto the tube until the tool bottoms out.

3. Turn drive screw(4) clockwise. Turn far enough to engage the lugs(2) on the orifice tube in the finger lock (5) . The finger lock (5) is part of the removal tool.

4. Hold the drive screw (4) stationary. Thread the body (3) forward until the body makes contact with the inlet port.

5. Continue holding the drive screwstationary, and thread the body forward until the orifice tube becomesfree.

Illustration 2 g00381412

Removing the broken orificetube

(3) Body

(4) Drive screw

(6) Extractor tip

6. For the removal of the orifice tube assembly, use the extractor tip (6) on 1U-9890 Orifice Removal Tool . Insert the tool into the evaporator inlet tube and thread the tool into the brass center of the orifice tube.

7. Repeat steps 3 and 4.

8. If only the brass center of the orifice tube is removed, thread the tool into the plastic body and repeat step 3 and 4.

Orifice Tube Installation

1. Lubricate the O-Ring on the orifice tube with the proper clean refrigerant oil.

2. Place the orifice tube into the 1U-9890 Orifice Removal Tool . Insert the orifice tube straight into the evaporator inlet tube without twisting until the tube isseated.

3. Disengage the removal tool from the orifice tube.

4. Use a newO-Ring that is lubricated with clean refrigerant oil. Reconnect the high side line at the enlarged section of the evaporator inlet port.

This is the sample of the manual Click on the download link for complete Manual

Turn static files into dynamic content formats.

Create a flipbook