Skip to main content

236B3 Caterpillar Skid Steer Loader Service Repair Manual

Page 1


Product: SKID STEER LOADER

Model: 236B3 SKID STEER LOADER A9H

Configuration: 236B3 Skid Steer Loader A9H00001-UP (MACHINE) POWERED BY C3.4 IND Engine

Disassembly and Assembly

C3.4 Engines for Caterpillar Built Machines

Media Number -KENR6941-04

Alternator - Remove and Install

SMCS - 1405-010

Removal Procedure

Start By:

i02639317

A. Remove the V-Belt. Refer to Disassembly and Assembly, "V-Belts - Remove and Install".

NOTICE

Keep all partsclean from contaminants.

Contaminants may cause rapid wear and shortenedcomponent life.

1. Turn the battery disconnect switch to the OFFposition.

2. Make temporary identification markson the connections of the harness assembly.

Illustration 1 g01343570

TypicalExample

3. Disconnect the harness assembly from alternator (3) .

4. Loosen bolt (4). Remove bolt (1) and washer (2) from alternator (3) .

5. Remove bolt (5) from alternator (3). Remove the alternator from alternator bracket (6) .

Installation Procedure

Illustration 2 g01343570

Typicalexample

1. Position alternator (3) on bracket (6) and install bolt (5) finger tight.

2. Install bolt (1) and washer (2) finger tight.

3. Install the V-belt. Refer to Disassembly and assembly, "V-belts- Remove and Install"for the correct procedure.

4. Tighten bolts (1) and (4) to a torque of 11 N·m (97 lb in). Tighten bolt (5) to a torque of 35 N·m (26 lb ft).

5. Connect the harness assembly to alternator (3) .

6. Turn the battery disconnect switch to the ON position.

Product: SKID STEER LOADER

Model: 236B3 SKID STEER LOADER A9H

Configuration: 236B3 Skid Steer Loader A9H00001-UP (MACHINE) POWERED BY C3.4 IND Engine

Disassembly and Assembly

C3.4 Engines for Caterpillar Built Machines

Balancer - Assemble

SMCS - 1220-016

Assembly Procedure

Table 1 Required Tools

NOTICE

Keep all partsclean from contaminants.

Contaminants may cause rapid wear and shortenedcomponent life.

1. Ensure that all components of the balancer are clean and free from damage.

1 g01344574

2. If newbushing (11) isinstalled to the balancer, follow Steps 2.a and 2.b.

a. Align oil holes (Z) in bushing (11) to drilling (Y) in balancer (1) .

b. Use Tooling (C) to install bushing (11) to balancer (1). Ensure that the oil holes (Z) are correctly aligned to drilling (Y) .

Illustration

This is the sample of the manual

Click on the download link for complete Manual

Illustration 2 g01344515

3. Use Tooling (C) in order to press bearings(9) into balancer (1) .

Note: Do not press on the inner race of the bearing as thiscould result in damage to the bearing.

4. Use Tooling (B) to install retaining rings(8) .

Note: Ensure that the retaining rings are fully located into the groovesin the balancer.

5. Lubricate balancer shafts (10) and bushing (11) with clean engine oil. Carefully install the balancer shafts to balancer (1) .

6. Install keys (7) .

Illustration 3 g01344665

Timing marks

7. Align gears (6) with keys(7) and install the gears to balancer shafts (10). Ensure that the gears are installed in the correct position.

Note: The gearshave different Markings(X). The right hand gear is marked 1,1 and 2,2. The left hand gear is marked 2. Refer to Illustration 3.

8. Apply Tooling (D) to the threads of bolts (4). Install bolts(4) and washers(5). Tighten the bolts to a torque of 33 N·m (24 lb ft).

Copyright 1993 - 2020 Caterpillar Inc. All Rights Reserved. Private Network For SIS Licensees. Mon Feb 17 23:55:34 UTC+0530 2020

Product: SKID STEER LOADER

Model: 236B3 SKID STEER LOADER A9H

Configuration: 236B3 Skid Steer Loader A9H00001-UP (MACHINE) POWERED BY C3.4 IND Engine

Disassembly and Assembly

C3.4 Engines for Caterpillar Built Machines

Balancer - Disassemble

SMCS - 1220-015

Disassembly Procedure Table 1 RequiredTools

Keep all partsclean from contaminants.

Contaminants may cause rapid wear and shortenedcomponent life.

Illustration 1 g01344515

Illustration 2 g01344528

Illustration 3 g01344665

Timing marks

1. Remove bolts (4) and washers (5). Use Tooling (A) in order to remove gears(6). Ensure that balancer shaft (10) is protected from damage.

Note: Gears(6) have different Markings (X). Refer to Illustration 3. Identify the position of the gears for installation.

2. Remove keys(7). Use Tooling (B) in order to remove retaining rings (8) .

Illustration 4 g01344533

3. Carefully tap the assembly of bearing (9) and balancer shaft (10) forward until the shaft is clear of bushing (11). Refer to Illustration 4.

4. Use Tooling (A) in order to remove bearing (9) from balancer shaft (10) .

Note: Ensure that the balancer shaft isprotected from damage.

5. Slide balancer shaft (10) back through bushing (11) until the shaft is clear of the balancer.

6. If necessary, use Tooling (C) in order to remove bushing (11) from balancer (1) . Copyright 1993 - 2020 Caterpillar Inc. All Rights Reserved. Private Network For SIS Licensees. Mon Feb 17 23:55:21 UTC+0530 2020

Product: SKID STEER LOADER

Model: 236B3 SKID STEER LOADER A9H

Configuration: 236B3 Skid Steer Loader A9H00001-UP (MACHINE) POWERED BY C3.4 IND Engine

Disassembly and Assembly

C3.4 Engines for Caterpillar Built Machines Media Number -KENR6941-04

Balancer - Install

SMCS - 1220-012

Installation Procedure Table 1

Required Tools

9U-7324 Indicator Bracket 1

7H-1942 Dial Indicator 1

3S-3268 Indicator Contact Point 1

7H-1940 Universal Attachment 1

NOTICE

Keep all partsclean from contaminants.

Contaminants may cause rapid wear and shortenedcomponent life.

i02639299

Illustration 1 g01344665

Timing marks

2

1. Ensure that dowels (2) are seated in balancer (1). Ensure that marks 2,2 and 2 on gears (6) are aligned. Refer to Illustration 1.

Illustration
g01344983

Illustration 3 g01344971

Alignmentof the timingmarks

2. Align dowels (2) with the holes in the cylinder block. Align mark 1,1 on gear (6) to mark 1 on crankshaft gear (12). Refer to Illustration 3. Position balancer (1) on the engine. The balancer weighs approximately 23 kg (51 lb).

3. Install bolts (3). Tighten the bolts to a torque of 30 N·m (22 lb ft).

4. Use Tooling (F) in order to check the backlash between gears (6). Refer to Specifications, "Gear Group (Front)".

5. Use Tooling (F) in order to check the backlash between gears (6) and (12). Refer to Specifications, "Gear Group - Front" for further information.

End By: Install the engine oil pan. Refer to Disassembly and Assembly, " Engine Oil PanRemove and Install". Copyright 1993 - 2020 Caterpillar Inc.

Rights Reserved.

Product: SKID STEER LOADER

Model: 236B3 SKID STEER LOADER A9H

Configuration: 236B3 Skid Steer Loader A9H00001-UP (MACHINE) POWERED BY C3.4 IND Engine

Disassembly and Assembly

C3.4 Engines for Caterpillar Built Machines

Media Number -KENR6941-04

Balancer - Remove

SMCS - 1220-011

Removal Procedure

Start By:

i02639298

A. Remove the engine oil pan and remove the oil strainer. Refer to Disassembly and Assembly, "Engine Oil Pan - Remove and Install".

NOTICE

Keep all partsclean from contaminants.

Contaminants may cause rapid wear and shortenedcomponent life.

NOTICE

Care must be taken to ensure that fluids are containedduring performance of inspection, maintenance, testing, adjusting and repair of the product. Be prepared to collect the fluid with suitable containers before opening any compartment or disassembling any component containing fluids.

Dispose of all fluids according to local regulations and mandates.

1. Ensure that number one piston is at the top center position on the compression stroke. Refer to Systems Operation, Testing and Adjusting, "Finding Top Center Position for No. 1 Piston".

Illustration 1 g01344508

Note: If the balancer will be disassembled, loosen bolts (4) before the balancer isremoved from the engine.

2. Support the weight of the balancer. The balancer weighsapproximately 23 kg (51 lb). Remove bolts (3) and remove balancer (1) from the engine.

3. Do not remove dowels (2) unlessthe dowels are damaged.

Product: SKID STEER LOADER

Model: 236B3 SKID STEER LOADER A9H

Configuration: 236B3 Skid Steer Loader A9H00001-UP (MACHINE) POWERED BY C3.4 IND Engine

Disassembly and Assembly

C3.4 Engines for Caterpillar Built Machines

Bearing Clearance - Check

SMCS - 1203-535; 1219-535

Measurement Procedure Table 1

Required Tools Tool

Plastic Gauge (Green)

Gauge (Red)

Plastic Gauge (Blue)

to 0.229 mm (0.004 to 0.009 inch)

Plastic Gauge (Yellow) 0.230 to 0.510 mm (0.009 to 0.020 inch)

Note: Plastic gauge may not be necessary when the engine is in the chassis.

NOTICE

Keep all partsclean from contaminants.

Contaminants may cause rapid wear and shortenedcomponent life.

i05977048

Note: Cat does not recommend the checking of the actual bearing clearancesparticularly on small engines. Thisisbecause of the possibility of obtaining inaccurate results and the possibility of damaging the bearing or the journal surfaces. Each Cat engine bearing is quality checked for specific wall thickness.

Note: The measurements should be within specifications and the correct bearings should be used. If the crankshaft journals and the bores for the block and the rods were measured during disassembly, no further checksare necessary. However, if the technician still wants to measure the bearing clearances, Tooling (A) is an acceptable method. Tooling (A) is less accurate on journals with small diametersif clearances are lessthan 0.10 mm (0.004 inch).

NOTICE

Lead wire, shim stock or a dial bore gauge can damage the bearing surfaces.

The technician must be very careful to use Tooling (A) correctly. The following points must be remembered:

• Ensure that the backs of the bearings and the bores are clean and dry.

• Ensure that the bearing locking tabs are properly seated in the tab grooves.

• The crankshaft must be free of oil at the contact pointsof Tooling (A).

1. Put a piece of Tooling (A) on the crown of the bearing that is in the cap.

Note: Do not allow Tooling (A) to extend over the edge of the bearing.

2. Use the correct torque-turn specifications in order to install the bearing cap. Do not use an impact wrench. Be careful not to dislodge the bearing when the cap isinstalled.

Note: Do not turn the crankshaft when Tooling (A) is installed.

3. Carefully remove the cap, but do not remove Tooling (A). Measure the width of Tooling (A) while Tooling (A) isin the bearing cap or on the crankshaft journal. Refer to Illustration 1.

Illustration 1 g01152855

TypicalExample

4. Remove all of Tooling (A) before you install the bearing cap.

Note: When Tooling (A) is used, the readings can sometimes be unclear. For example, all parts of Tooling (A) are not the same width. Measure the major width in order to ensure that the partsare within the specification range. Refer to SpecificationsManual, "Connecting Rod Bearing Journal" and Specifications Manual, "Main Bearing Journal" for the correct clearances. Copyright 1993 - 2020 Caterpillar Inc. All Rights Reserved.

Product: SKID STEER LOADER

Model: 236B3 SKID STEER LOADER A9H

Configuration: 236B3 Skid Steer Loader A9H00001-UP (MACHINE) POWERED BY C3.4 IND Engine

Disassembly and Assembly

C3.4 Engines for Caterpillar Built Machines

Media Number -KENR6941-04

Camshaft - Remove and Install

SMCS - 1210-010

Removal Procedure

Start By:

i02639294

A. Remove the front housing. Refer to Disassembly and Assembly, "Housing (Front) - Remove and Install".

NOTICE

Keep all partsclean from contaminants.

Contaminants may cause rapid wear and shortenedcomponent life.

1. The engine should be mounted on a suitable stand and placed in the inverted position.

2. Rotate the crankshaft so that number one piston isat the top center position on the compression stroke. Refer to SystemsOperation, Testing and Adjusting, "Finding Top Center Position for No.1 Piston".

3. Remove the rocker shaft and pushrods. Refer to Disassembly and Assembly, "Rocker Shaft and Pushrod - Remove".

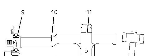
Illustration 1 g01349741

Typicalexample

4. Ensure that gears (2) and (3) are marked in order to showalignment. Refer to Illustration 1.

Note: Identification will ensure that the camshaft can be installed in the original position.

5. Remove bolts (1) .

Illustration 2 g01350309

Typicalexample

This is the sample of the manual

Click on the download link for complete Manual

NOTICE

Do not damage the lobes or the bearings whenthe camshaft is removed or installed.

6. Carefully remove camshaft assembly (4) from the cylinder block.

7. If necessary, remove the camshaft gear. Refer to Disassembly and Assembly, "Camshaft Gear.- Remove and Install".

Installation Procedure

Table 1

Required Tools

Tool Part Number Part Description Qty

9U-7324 Indicator Bracket 1

7H-1942 Dial Indicator 1

3S-3268 Indicator Contact Point 1

7H-1940 Universal Attachment 1

NOTICE

Keep all partsclean from contaminants.

Contaminants may cause rapid wear and shortenedcomponent life.

1. Ensure that the camshaft assembly isclean and free from wear or damage. If necessary, install the camshaft gear. Refer to Disassembly and Assembly, "Camshaft Gear.- Remove and Install".

2. Lubricate the camshaft assembly with clean engine oil prior to installation.

Turn static files into dynamic content formats.

Create a flipbook