

Product: MOTOR GRADER
Model: 14M MOTOR GRADER B9J
Configuration: 14M Motor Grader B9J00001-UP (MACHINE) POWERED BY C11 Engine
Disassembly and Assembly
Comfort Series Seat For Caterpillar Machines
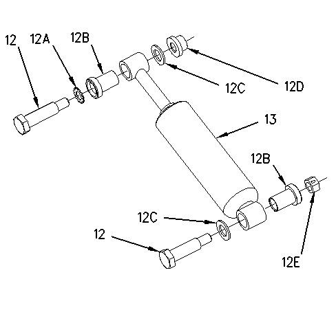
Media Number -RENR2165-12
Air Suspension With Air Valve Knob Height AdjustmentAssemble
Assembly Procedure




Improper assembly of parts that are spring loaded can cause bodily injury.
To prevent possible injury, follow the established assembly procedure and wear protective equipment.













This is the sample of the manual
Click on the download link for complete Manual

Product: MOTOR GRADER
Model: 14M MOTOR GRADER B9J
Configuration: 14M Motor Grader B9J00001-UP (MACHINE) POWERED BY C11 Engine
Disassembly and Assembly
Comfort Series Seat For Caterpillar Machines
Media
Air Suspension with Air Valve Knob Height AdjustmentDisassemble
Disassembly Procedure
The air spring of the air suspension is filled with air pressure.
Prior to disassembly, release the air pressure in the air spring. Failure to do so could result in personal injury.














Personal injury can result from being struck by parts propelled by a released spring force.
Make sure to wear all necessary protective equipment.
Follow the recommended procedure and use all recommended tooling to release the spring force.




Product: MOTOR GRADER
Model: 14M MOTOR GRADER B9J
Configuration: 14M Motor Grader B9J00001-UP (MACHINE) POWERED BY C11 Engine
Disassembly and Assembly
Comfort Series Seat For Caterpillar Machines
Media
Air Suspension With System Air - Assemble
Assembly Procedure













9S-3263

Copyright 1993 - 2023 Caterpillar Inc. All Rights Reserved.
Private Network For SIS Licensees. Mon May 29 22:20:45 UTC+0530 2023

Product: MOTOR GRADER
Model: 14M MOTOR GRADER B9J
Configuration: 14M Motor Grader B9J00001-UP (MACHINE) POWERED BY C11 Engine
Disassembly and Assembly
Comfort Series Seat For Caterpillar Machines
Media
Air Suspension With System Air - Disassemble
Disassembly Procedure






This is the sample of the manual
Click on the download link for complete Manual


