HRE551-30/35/40/45/50/55
Fecha de elaboración
Fecha de revisión

Riel extensión total cierre lento ECO
Material
Acabado
Acero
Superficial Galvanizado - Zinc
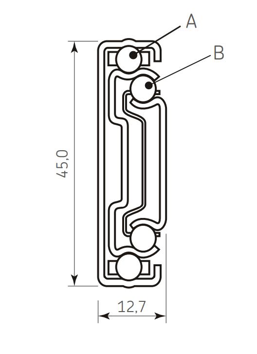
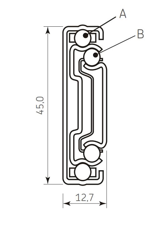
Altura 45 mm
Calibre
1,1 x 1,1 x 1,4 c. interno, c. medio y c. externo
Tope No aplica
Cantidad por caja 15 Juegos
Suave deslizamiento
Resiste más de 15.000 ciclos con una carga de 20kg
Descuento del vano: 27mm total
Tornillo para aglomerado
Material:Acero
Cabeza avellanada
Rosca:4mm O
Cabeza:6mm
Longitud:12mm O
Suministro: 1 Par de Rieles 12 Tornillos
Tornillos M1
Cabeza plana avellanado Autoperforante
Medidas: mm 08 07 18
L: Longitud A: Ancho H: Altura
E: Cantidad de balines en el miembro del mueble F: Cantidad de balines en el miembro del cajón

13,5 Espacio para deslizar
Instalar el riel a centro del costado del cajón



































08 07 18 02 12 25
Resistencia a la corrosión del acabado
Clase 0: Resistencia a la corrosión menor a 12 horas
Clase 1: Resistencia a la corrosión menor a 24 horas
Clase 2: Resistencia a la corrosión menor a 48 horas
Clase 3: Resistencia a la corrosión menor a 96 horas
Clase 4: Resistencia a la corrosión menor a 240 horas Fecha
(Medidas de referencia para su instalación. Se puede generar cambios a la información publicada en este documento sin previo aviso)