HCI005-00

Page 1


Cerraduras

Fecha de elaboración

Fecha de revisión

DIAGRAMA DE INSTALACIÓN Y COMPONENTES

15 01 24

25 12

Cerradura inteligente de palanca con 4 tipos de apertura

Material Dimensiones Aluminio, plástico

Cuerpo interior 147 x 63 x 28 mm

Cuerpo exterior 147 x 63 x 28 mm

Método de desbloqueo

APP,Huella dactilar, Clave y Llave

App móvil Tuya

15% ~ 95%

Temperatura de trabajo -20°C~70°F

Humedad Sist Operat. Android 4.3/IOS 7.0 o superior Grado

Huella dactilar

Protección IP54

Capacidad para huellas 50 Und Tiempo de verificación < 2 S

Bateria 4*AAA (No incluídas)

Puerta

*Alimentación temporar Type-C USB 35-50 mm

(Medidas de referencia para su instalación. Se puede generar cambios a la información publicada en este documento sin previo aviso)

Cerraduras

Fecha de elaboración

Fecha de revisión

15 01 24

SUMINISTRO

Manija exterior

Manija interior

Manija interior

Pestillo

Recibidor

(Medidas de referencia para su instalación. Se puede generar cambios a la información publicada en este documento sin previo aviso)

Fecha de elaboración

Fecha de revisión

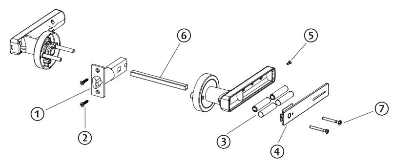
PARTES DE LA CERRADURA

(Medidas de referencia para su instalación. Se puede generar cambios a la información publicada en este documento sin previo aviso)

Cerraduras

Fecha de elaboración

Fecha de revisión

INSTALACIÓN

(Medidas de referencia para su instalación. Se puede generar cambios a la información publicada en este documento sin previo aviso)

Fecha de elaboración

Fecha de revisión

CAMBIO DE BATERÍAS

INSTRUCIONES DE USO

(Medidas de referencia para su instalación. Se puede generar cambios a la información publicada en este documento sin previo aviso)

Fecha de elaboración

Fecha de revisión

(Medidas de referencia para su instalación. Se puede generar cambios a la información publicada en este documento sin previo aviso)

Cerraduras

Fecha de elaboración

Fecha de revisión

(Medidas de referencia para su instalación. Se puede generar cambios a la información publicada en este documento sin previo aviso)

Cerraduras

Fecha de elaboración

Fecha de revisión

(Medidas de referencia para su instalación. Se puede generar cambios a la información publicada en este documento sin previo aviso)

Cerraduras

Fecha de elaboración

Fecha de revisión

Desbloqueo via Bluetooth:

(Medidas de referencia para su instalación. Se puede generar cambios a la información publicada en este documento sin previo aviso)

Gestión ajustes originales:

Cerraduras

Fecha de elaboración

Fecha de revisión

(Medidas de referencia para su instalación. Se puede generar cambios a la información publicada en este documento sin previo aviso)

i N o t a : a d m i n i s t r a d o r a u t o r i z a d o ,

B l u e t o o t h n o s e p u e d e c o m p a r t i r !

C o n fi g u r a c i ó n d e h u e l l a s d a c t i l a r e s :

C r e a r u n a c u e n t a d e g r a ffi t i p o r a d e l a n t a d o 11 12 13 14 15 ( S u á r e a )

Fecha de elaboración

Fecha de revisión

15 01 24

(Medidas de referencia para su instalación. Se puede generar cambios a la información publicada en este documento sin previo aviso)

Cerraduras

Fecha de elaboración

Fecha de revisión

(Medidas de referencia para su instalación. Se puede generar cambios a la información publicada en este documento sin previo aviso)

N o t a . L a c a p a c i d a d d e h u e l l a d a c t i l a r +

c o n t r a s eña es d e 4 0 g r u p o s e n t o t a l .

19 20 21

C o n fi g u r a c i 6 n d e l a c o n t r a s e ñ a :

Fecha de elaboración

Fecha de revisión

15 01 24

N o t a . L a c a p a c i d a d d e h u e l l a d a c t i l a r + c o n t r a s eña es d e 4 0 g r u p o s e n t o t a l

(Medidas de referencia para su instalación. Se puede generar cambios a la información publicada en este documento sin previo aviso)

Fecha de elaboración

Fecha de revisión

15 01 24

N o t a . L a c o n t r a s e ñ a s ó l o p u e d e e s t a b l e c e r s e c o n s i e t e d í

o s . C o n fi g u r a c i ó n t e m p o r a l d e l a c o n t r a s e ñ a :

N o t a L a c o n t r a s e ñ a n o p u e d e s e r u n

m i

(Medidas de referencia para su instalación. Se puede generar cambios a la información publicada en este documento sin previo aviso)

Fecha de elaboración

Fecha de revisión

15 01 24

E s t a b l e c e r e l t i e m p o d e u s o d e l a

c o n t r a s e i a p e r i ó d i c a

E s t a b l e c e r e l t i e m p o d e u s o d e

l a c o n t r a s e i a d e u n s o l o u s o

S e l e c c i o n e e l p e r i o d o d e t i e m po o

r e q u e r i d o p a r a c a d a s e m a n a

(Medidas de referencia para su instalación. Se puede generar cambios a la información publicada en este documento sin previo aviso)

Turn static files into dynamic content formats.

Create a flipbook
Issuu converts static files into: digital portfolios, online yearbooks, online catalogs, digital photo albums and more. Sign up and create your flipbook.
HCI005-00 by Madecentro Colombia - Issuu