Будівництво із СІП-панелей (Ципріанович, Старченко)

Page 1

ІЗСІП-ПАНЕЛЕЙ

2021

Ігор Ципріанович

Олександр Старченко

Дмитро Гулін

Сергій Клименко

Навчальний посібник для здобувачів професійної (професійно-технічної) освіти

Схвалено для використання в освітньому процесі

Чернівці «Букрек»

2021
БУДІВНИЦТВО МАЛОПОВЕРХОВИХ
ЕНЕРГОЗБЕРІГАЮЧИХ ЖИТЛОВИХ БУДИНКІВ ІЗ СІП-ПАНЕЛЕЙ Право для безоплатного розміщення підручника в мережі Інтернет має Міністерство освіти і науки України http://mon.gov.ua/ та Інститут модернізації змісту освіти https://imzo.gov.ua
ШВИДКОСПОРУДЖУВАНИХ,

УДК 821.161.2’06–31

Ц 67

Схвалено для використання в освітньому процесі

(рішення експертної комісії з професій будівництва, житловокомунального господарства, деревообробки, виробництва меблів та целюлозно-паперової промисловості від 14 травня 2021 року (протокол №2))

Зареєстровано у Каталозі надання грифів

навчальній літературі та навчальним програмам за № 5.0005-2021

Видано за рахунок державних коштів. Продаж заборонено

Ципріанович І. В., Старченко О. Ю., Гулін Д. В., Клименко С. В. Будівництво малоповерхових швидкоспоруджуваних, енергозберігаючих житлових будинків із СІП-панелей: навчальний посібник для здобувачів професійної (професійно-технічної) освіти. Чернівці: Букрек, 2021. 264 с.: іл.

ISBN 978-966-997-054-1

У посібнику розглянуто найсучасніші технології зведення малоповерхових швидкоспоруджуваних енергозберігаючих житлових будинків із СІП-панелей.

Зміст навчального посібника відповідає вимогам Державного стандарту професійної (професійно-технічної) освіти підготовки кваліфікованих робітників з професій: монтажник систем утеплення будівель; монтажник гіпсокартонних конструкцій; монтажник санітарнотехнічних, опалювальних, вентиляційних систем і устаткування; опоряджувальник будівельний, а також підготовки фахівців з монтажу сучасних дахів і покрівель.

Посібник «Будівництво малоповерхових швидкоспоруджуваних, енергозберігаючих житлових будинків із СІП-панелей» призначено також для викладачів, кваліфікованих робітників-будівельників, інженерно-технічних працівників, проєктувальників, які спеціалізуються у галузі легкого будівництва.

УДК 821.161.2’06–31

© Ципріанович І. В., Старченко О.

ISBN 978-966-997-054-1

Гулін Д. В., Клименко С. В., 2021 © МПП «Букрек», 2021

Ц 67
Право для безоплатного розміщення підручника в мережі Інтернет має Міністерство освіти і науки України http://mon.gov.ua/ та Інститут модернізації змісту освіти https://imzo.gov.ua
Ю.,

Шановні майбутні колеги-будівельники!

Ви щойно розгорнули не просто цікавий, а надзвичайно потрібний посібник. Він допоможе вам стати справжніми фахівцями зі зведення швидкоспоруджуваних малоповерхових житлових будинків із використанням СІП-панелей.

При його написанні ми скористалися українським та іноземним досвідом будівництва такого житла.

Навчальний посібник складається з 14 розділів. Вони містять детальну інформацію, яка стане для вас покроковою інструкцією.

Вступна частина пропонує загальні відомості про інноваційний метод зведення малоповерхових житлових швидкоспоруджуваних будинків із використанням СІП-панелей.

У першому розділі книги подано стислу загальну інформацію щодо процесу зведення будинку — етапи і стадії будівництва.

У другому розділі посібника йдеться про фундаменти під малоповерхові житлові будинки. Тут висвітлено основні поняття і визначення, види й типи фундаментів та їхніх основ. Також йдеться про матеріали, які застосовують для улаштування

фундаментів малоповерхових будинків.

Детальну інформацію щодо СІП-панелей як композитного виробу подано у третьому розділі посібника.

Наступний розділ ознайомить вас із матеріалами для виробництва СІП-панелей, а також з технологіями виробництва, транспортування та зберігання панелей; їхніми фізико-технічними характеристиками та споживчими властивостями.

П’ятий розділ містить вказівки щодо зведення огороджувальних конструкцій будинків із СІП-панелей.

У шостому розділі наведено схеми складання будинку та певні вузли з'єднань основних конструктивних елементів будівлі.

У наступних п’яти розділах йдеться про монтаж основних конструктивних елементів будівлі із СІП-панелей: міжповерхових перекриттів, стін, перегородок, як безкаркасних, так і каркасно-обшивних, та дахів.

Який же будинок без опорядження і оздоблення? Саме про ці роботи дванадцятий розділ посібника.

Тринадцятий розділ книги містить цікаву інформацію про сучасні опалювальні, вентиляційні, сантехнічні й електротехнічні мережі в СІП-будинках, що забезпечують у приміщенні потрібні параметри мікроклімату й комфортні умови перебування мешканців.

Як виконувати будівельні роботи без шкоди для здоров’я — наведено в чотирнадцятому розділі.

Сподіваємося, навчальний посібник не лише ознайомить вас із сучасними технологіями зведення малоповерхових житлових будинків із СІП-панелей, що сприятиме розширенню ваших професійних компетентностей, а й спонукатиме якомога швидше застосувати їх на практиці.

Бажаємо успіхів!

Автори

3 Шановні
майбутні колеги-будівельники!
Право для безоплатного розміщення підручника в мережі Інтернет має Міністерство освіти і науки України http://mon.gov.ua/ та Інститут модернізації змісту освіти https://imzo.gov.ua

Вступ

Як відомо, одним із можливих шляхів розв’язання житлової проблеми є активне розширення будівництва малоповерхових швидкоспоруджуваних енергоощадних будинків із високоефективних сучасних будівельних матеріалів. Для швидкого зведення такого житла доцільно використовувати технології легкого будівництва, яке не потребує важкої техніки й затратних механізмів та апаратів. Швидкому спорудженню буде також суттєво сприяти метод сухого будівництва (без мокрих технологічних процесів) з максимальним використанням комплексних систем сухого будівництва.

Суттєва економія коштів на опалення завжди була вельми важливим показником при купівлі будинків. Швидкоспоруджувані малоповерхові житлові будинки (1-3 поверхи) можна поділити на каркасні (з металевим або дерев’яним каркасом), каркасно-панельні, панельні та модульні . Варто зазначити, що зведення таких будинків, окрім швидкості й економії коштів, має у пріоритеті екологічність будівель і здоров’я їхніх мешканців. Каркасні будинки складаються з каркаса, стінових панелей обшивки й утеплювача. У каркасних будинках утеплювач закріплюють до каркаса, який з обох боків обшивають плитами. У  каркасно-панельних будинках утеплювач вже у заводських умовах закріплений до обшивок панелей. Стіни панельних будинків збирають із готових панелей (так званих сендвіч-панелей), які зазвичай виготовляють заводським способом. Модульна технологія відрізняється тим, що будинки збирають із об’ємних блоків (модулів), які заздалегідь зібрано на заводі з каркаса й сендвіч-панелей з уже вбудованими в них інженерними комунікаціями.

Сендвіч-панелі — це будівельний виріб, який має тришарову структуру: дві плити, між якими розташовано утеплювач.

Таким чином зовнішні шари (обшиття) і внутрішній шар, до якого під тиском приклеєні плити обшивки, утворюють разом суцільну панель. Обшиттям цієї панелі можуть бути плити ОСП (орієнтовно-стружкова плита); СТЛ (скломагнезіальний лист, або інакше магнезитова плита); оцинкований сталевий лист; гіпсокартонні й гіпсоволокнисті плити та плити з інших матеріалів. Сердечник сендвіч-панелі найчастіше виготовляють із мінеральної вати, скловолокна, пінополістиролу, пінополіуретану та інших теплоізоляційних матеріалів.

 За функціональним призначенням сендвіч-панелі поділяють на:

● с тінові, дахові, утеплювальні (використовують під час реконструкції і ремонту будинків);

● холодильні (для теплоізоляції холодильних і морозильних камер).

Основним конструктивним елементом безкаркасних будинків є секція, яка складається з двох стінових і однієї дахової сендвіч-панелей. Стінові панелі при цьому бувають віконні, дверні або брамові технологічні отвори. Отвори можуть мати й дахові сендвіч-панелі. Дахові панелі обпираються на стінові панелі або на крокви.

4
Право для безоплатного розміщення підручника в мережі Інтернет має Міністерство освіти і науки України http://mon.gov.ua/ та Інститут модернізації змісту освіти https://imzo.gov.ua

Використання безкаркасних технологій дає змогу відмовитись від зведення металевого або дерев’яного каркаса, що скорочує і здешевлює будівельні процеси. Спроможність сендвіч-панелей витримувати значні навантаження: на стиск більше 10 тонн і більше двох тонн на згин , дозволяє використовувати їх замість каркаса.

Завдяки високій міцності будинки із сендвіч-панелей витримують урагани й землетруси, а їхня відносна легкість значно сприяє економії трудових затрат і матеріалів на будівництво фундаментів.

Стіни із сендвіч-панелей мають лише рівні поверхні, цей чинник значно полегшує умови і швидкість фінішного опорядження стін як зовні, так і всередині будинку. При цьому можна використовувати будь-які оздоблювальні матеріали.

Важливою характеристикою стін із сендвічпанелей є великий рівень звукопоглинання. Також за своїми теплофізичними характеристиками сендвіч-панелі значно перевищують характеристики традиційних стінових матеріалів, таких як легкі бетони, порожниста цегла, арболіт, деревина та інше.

Будівельні конструкції із сендвіч-панелей є ремонтопридатними, що дає змогу замінювати пошкоджені панелі без шкоди усій конструкції будинку. Також, як і пересування каркасних перегородок під час експлуатації будинку, сендвіч-панелі дозволяють змінювати планування приміщень, сприяючи потрібним змінам технологічних режимів або призначення будинку. Необхідно також зважити на те, що завдяки розмірам сендвіч-панелей можна швидко будувати будинки будьякої конфігурації, надавати їм потрібної виразності та функціональності, що значно розширює можливості архітекторів.

Товщина сендвіч-панелей також нерідко залежить від ширини пиломатеріалів, які використовують при виготовленні з’єднувальних вкладок (шпонок)

для стикування сусідніх панелей під час влаштування безкаркасних огород жувальних конструкцій.

Структура сендвіч-панелей достатня для ізоляції приміщень будинку від зовнішніх перепадів

Будинки із сендвіч-панелей пожежобезпечні завдяки виготовленню з негорючих матеріалів або матеріалів, схильних до самозгасання (шлаковата, скловата, полістирол, магнезит, сталевий лист, гіпсокартон, гіпсоволокно та ін.). Служать огороджувальні конструкції із сендвіч-панелей в умовах не завжди сприятливого клімату України не менше 50 років.

Отож при цілеспрямованому проєктуванні малоповерхові швидкоспоруджувані будинки з енергоощадними огороджувальними конструкціями із сендвіч-панелей відповідають умовам стійкості, міцності, ремонтопридатності, довговічності та концепції здорового житла, принципами якого є ефективне використання ресурсів, відповідальний підхід до довкілля, економія енергії, економічна доступність і доцільність.

5 Вступ
Право для безоплатного розміщення підручника в мережі Інтернет має Міністерство освіти і науки України http://mon.gov.ua/ та Інститут модернізації змісту освіти https://imzo.gov.ua
температури від -50 до +50°С.

1

Процес будівництва малоповерхового енергозберігаючого швидкоспоруджуваного безкаркасного панельного будинку

РОЗДІЛ 1. ПРОЦЕС БУДІВНИЦТВА

МАЛОПОВЕРХОВОГО ЕНЕРГОЗБЕРІГАЮЧОГО

ШВИДКОСПОРУДЖУВАНОГО

Чи правильно ми розуміємо слово «процес»? З латинської процес — це проходження, просування вперед. Отже, процесом є послідовна закономірна зміна станів у розвитку явищ і предметів у результаті систематичних дій, спрямованих на досягнення кінцевого результату.

Процес будівельний  — це процес зведення будинків і споруд на місці їхнього майбутнього функціонування.

1.1. Етапи будівництва

Особливості будівельного процесу полягають у методах і технологіях проведення робіт, тісно пов’язаних з видами будівельних матеріалів і виробів.

Будівництво такого типу малоповерхових житлових будинків з урахуванням вже набутого досвіду його виконання можна умовно поділити на два самостійних етапи.

І етап — підготовчий . Він складається з вибору типового або розробки індивідуального проєкту будинку; отримання всіх необхідних дозволів на будівництво; укладання договору з підрядником; роботи з реалізації під’їзду до будівельного майданчика, забезпечення тимчасового енергопостачання, огородження ділянки будівництва, її розчищення, планування, розбивки і винесення будинку в натуру, а також розбивки котловану під фундаменти та визначення його глибини згідно з проєктом фундаментів.

ІІ етап — здійснення будівництва згідно з прийнятою проєктною документацією.

Оскільки витрати часу на здійснення усіх стадій робіт підготовчого етапу визначити у повному обсязі заздалегідь практично неможливо, то до календарного плану (графіку) зазвичай включають тільки ті, які можна визначити в часі.

Другий етап будівництва можна поділити на ряд послідовних стадій, які потребують чіткої організації їхнього здійснення у погоджені з замовником терміни.

 Окрім деяких стадій робіт першого етапу будівництва, до другого етапу також входить:

● виїмка ґрунту з котловану та улаштування фундаментів;

● зведення фундаментних стін (якщо вони запроєктовані) з виконанням гідроізоляції, улаштуванням дренажу (якщо в ньому є потреба), а також зі здійсненням

6
БЕЗКАРКАСНОГО ПАНЕЛЬНОГО БУДИНКУ
Право для безоплатного розміщення підручника в мережі Інтернет має Міністерство освіти і науки України http://mon.gov.ua/ та Інститут модернізації змісту освіти https://imzo.gov.ua

зворотної засипки ґрунту в пазухи котловану (траншеї) або окремі котловани під фундаменти колон, стійок, стовпчасті фундаменти;

● монтаж стінових сендвіч-панелей зовнішніх, внутрішніх стін і перегородок, а також перекриття підвалу, улаштування міжповерхових перекриттів, горищного перекриття і покриття будинку;

● прорізання віконних, дверних і брамових отворів та їхнє подальше заповнення;

● монтаж інженерних мереж (водопостачання і каналізації, встановлення сантехнічних приладів і арматури, опалення, повітроводи та інша арматура);

● зовнішнє опорядження стін (обшивка плитами, оштукатурювання, облицювання керамічною або кам’яною плиткою, сайдингом, фасадними касетами, цеглою та ін.); покрівельні роботи;

● виконання гідроізоляційних паро- і повітроізоляційних робіт у процесі монтажу сендвіч-панелей огороджувальних конструкцій та інженерних мереж;

● внутрішнє опорядження приміщень (обшивання стін, перегородок, стель оздоблювальними матеріалами, облицювання керамічною плиткою, оштукатурювання та фарбування поверхонь огороджувальних конструкцій), улаштування підлог;

● опорядження території (огорожа, озеленення, доріжки).

На будівельному майданчику на весь термін будівельних робіт повинно бути забезпечено належне складування та збереження будівельних виробів і матеріалів.

Контрольні запитання

1. Що означають терміни «процес» і «процес будівництва»?

2. Назвіть етапи будівництва малоповерхових житлових будинків.

3. Назвіть стадії робіт зі зведення малоповерхового житлового будинку з огороджувальними конструкціями із сендвіч-панелей.

1.2. Опис стадій і графік будівництва об’єкта

Після розв’язання питань з проєктною документацією, дозволів на будівництво, складання договорів з підрядником і субпідрядниками можна переходити до завершальних стадій робіт першого етапу будівництва.

Для визначення відступів меж володіння від червоних ліній доцільно скористатися послугами землеміра.

Необхідно також точно визначити границі та глибину котловану або траншей під фундаментами будинку згідно з відповідними кресленнями проєкту. При плануванні ділянки забудови варто враховувати її орієнтацію.

Заходи з гідроізоляції передбачають місцеве дренування ґрунтів за допомогою супутнього (пристінного) дренажу. Залежно від гідрогеологічних умов може бути залучено береговий, головний, кільцевий дренажі з метою відвернення зволоження ґрунтів основи будинку або затоплення його підвалу.

7 1.2. Опис стадій і графік будівництва об’єкта
Право для безоплатного
підручника в мережі Інтернет має Міністерство освіти і науки України
та Інститут модернізації змісту освіти https://imzo.gov.ua
розміщення
http://mon.gov.ua/

1

Процес будівництва малоповерхового енергозберігаючого швидкоспоруджуваного безкаркасного панельного будинку

Теплоізоляцію фундаментів використовують з метою зменшення глибини промерзання ґрунтів, що піддаються морозному здиманню.

На улаштування гідроізоляції, дренажу, теплоізоляції фундаментів (якщо в цьому є потреба) може знадобитись 1,5–2 тижні.

Зворотну засипку пазух котловану або траншей здійснюють виритим ґрунтом з пошаровим ущільненням.

Сендвіч-панелі, виготовлені на заводі, доставляють на будівельний майданчик у заводському пакуванні.

Прорізання отворів для дверей, вікон і брам у сендвіч-панелі здійснюють згідно з розміткою спеціальним різальним інструментом. Після цього панелі монтують у проєктне положення. Встановлення дверей і вікон відбувається по закінченню монтажу сендвіч-панелей. На ці технологічні операції потрібен час від 1 до 2 тижнів.

Зовнішнє опорядження навкруги рам виконує встановлювальник вікон і дверей. Внутрішнє ущільнення пустот виконує субпідрядник з повітро- і пароізоляції. Зовнішнє опорядження будинку полягає в обшитті стін фасадними касетами чи керамічною плиткою, оштукатурюванні, фарбуванні.

Одночасно виконують обробку країв, закріплення карнизних жолобів та водостічних труб, ущільнення навколо дверних і віконних блоків. На все це потрібно 1–2 тижні.

Якщо залучити до будівництва субпідрядників, процес можна прискорити. Графік будівництва звичайного житлового малоповерхового будинку з двома спальнями при його індивідуальній забудові представлено на рис. 1.1. Улаштування водопроводу, каналізації, опалення, електричної проводки та інших мереж зазвичай починають, коли закінчено монтаж сендвіч-панелей огороджувальних конструкцій. Змонтовані внутрішні мережі водопроводу й каналізації підключають до зовнішніх мереж. Одночасно встановлюють ванни, душові кабіни або вузли та сантехнічні прилади. Монтують також мережі газопостачання, системи опалення, вентиляції та кондиціонування повітря. В усіх приміщеннях будівлі виконують електричну, телефонну, радіо, телевізійну та комп’ютерну проводки з відповідним обладнанням. На виконання цієї стадії зазвичай потрібно два тижні.

У цю стадію будівництва не входить встановлення дров’яних груб і камінів. Внутрішнє опорядження приміщень будинку починають після обшиття поверхонь стін, перегородок і стель плитами, наприклад, гіпсокартоном, та переходять до їхнього шпаклювання, ґрунтування, обклеювання шпалерами, фарбування або оштукатурювання, облицювання плиткою.

Після закінчення улаштування підлог їх оздоблюють покриттями, такими як лінолеум, ламінат, паркет, ковролін, пробка та інше.

Контрольні запитання

1. Опишіть стадії та графік будівництва об’єкта.

2. З якою метою розробляють графік будівництва об’єкта?

8
Право для безоплатного розміщення підручника в мережі Інтернет має Міністерство освіти і науки України http://mon.gov.ua/ та Інститут модернізації змісту освіти https://imzo.gov.ua

Етап Стадії будівництва

I Підготовчі роботи, вине­

сення будинку в натуру, розбивка котловану

Тривалість будівництва

II

Риття котловану, побудова

фундаментів

Фундаментні стіни, гідро­

ізоляція, дренаж і зворотна

засипка ґрунту

Монтаж сендвіч­панелей

стінових, дахових перекрит­

тів, перегородок

Прорізання віконних, двер­

них і брамових отворів та

їхнє подальше заповнення

Монтаж інженерних мереж

(водопровід, каналізація, опалення, вентиляція)

Зовнішнє опорядження стін

будинку, покрівельні роботи

Виконання гідроізоляцій­

них, паро­ і повітроізоляцій­

них робіт у процесі монтажу

пане лей та інженерних

мереж

Внутрішнє опорядження приміщень. Улаштування

підлог

Опорядження території

Рис. 1.1. Графік будівництва житлового малоповерхового будинку (з двома спальнями)

з огороджувальними конструкціями із сендвіч-панелей

 Тестові завдання

1. На скільки етапів можна поділити будівництво малоповерхових будинків?

а) Два; б) три; в) більше ніж три.

2. Скільки типів дренажів залежно від гідрогеологічних умов будівельного майданчика можна залучити, щоб запобігти зволоженню ґрунтів основи будинку?

а) Три; б) чотири; в) більше ніж чотири.

3. Скільки видів інженерних систем можна залучити у малоповерховому житловому будинку?

а) Три; б) п’ять; в) шість.

9 1.2. Опис стадій і графік будівництва об’єкта
123456789 101112131415161718
Право для безоплатного розміщення підручника в мережі Інтернет має Міністерство освіти і науки України http://mon.gov.ua/ та Інститут модернізації змісту освіти https://imzo.gov.ua

РОЗДІЛ 2.

ФУНДАМЕНТИ МАЛОПОВЕРХОВИХ

ЖИТЛОВИХ БУДИНКІВ

2.1. Основні поняття і визначення. Види фундаментів

Фундаментом

називають підземну частину будівлі, яка сприймає навантаження від споруди й передає їх на основу, утворену ґрунтами.

Верхня площина фундаменту, на яку спираються надземні конструкції, називається обрізом фундаменту, а нижня площина, що контактує з ґрунтом, — підошвою.

Висота фундаменту (Нф) є відстанню від його підошви до обрізу.

Відстань від поверхні ґрунту до підошви фундаменту називається глибиною закладання фундаменту

Під шириною підошви фундаменту, або під шириною фундаменту розуміють менший розмір його підошви.

Ширина фундаментів по обрізу є, як правило, більшою за товщину стіни, а ширину підошви визначають в результаті розрахунку.

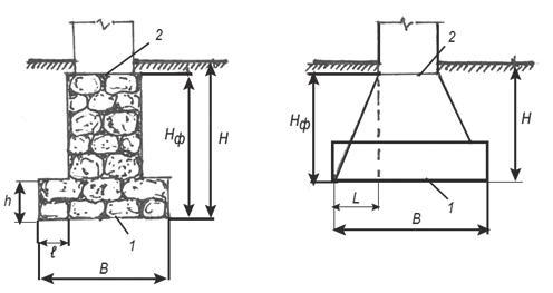
Розширення фундаментів до підошви за необхідності здійснюють уступами або улаштуванням похилих граней (рис. 2.1).

Фундаменти проєктують індивідуально для кожної окремої споруди з урахуванням фізичних і механічних характеристик ґрунтів.

У процесі проєктування обирають найбільш доцільні тип, конструкцію, матеріал, глибину закладання, розміри, технологію спорудження та економічність фундаменту. Вибір типу основи або конструктивного рішення фундаменту виконують за результатом порівняння техніко-економічних показників, отриманих за допомогою варіантного проєктування.

 За своїми ознаками фундаменти поділяють на такі види:

● за матеріалом фундаменти можуть бути кам’яні (бутові), бутобетонні, бетонні, залізобетонні, цементно-ґрунтові, цегляні, дерев’яні;

Рис. 2.1. Уступчастий і пірамідальний фундаменти:

Нф — висота фундаменту;

Н — глибина закладання;

в — ширина підошви; h —

висота уступу; l — винос уступу; L — винос фундаменту; 1 — підошва фундаменту; 2 — обріз фундаменту

10 2 Фундаменти малоповерхових житлових будинків
Право для безоплатного розміщення підручника в мережі Інтернет має Міністерство освіти і науки України http://mon.gov.ua/ та Інститут модернізації змісту освіти https://imzo.gov.ua

2.1. Основні поняття і визначення. Види фундаментів

● за формою підошви в плані — квадратні, прямокутні, круглі, складної форми;

● за харак тером роботи під навантаженням — стиснені та стиснені зі згином;

● за здатністю піддаватися згину — негнучкі (масивні), жорсткі та гнучкі, нежорсткі;

● за умовами виготовлення фундаменти поділяють на монолітні, збірні, кладкові (кам’яні та цегляні);

● за місцем і глибиною закладання в ґрунті — фундаменти, що споруджують у котлованах, або фундаменти мілкого закладання (неглибокі) і фундаменти, які улаштовують в ґрунті, або фундаменти глибокого закладання (пальові, опускні колодязі, оболонки, кесони);

● за типом основи — фундаменти на природній основі, фундаменти на ущільненій або штучно закріпленій основі;

● за конструкцією фундаменти поділяють на: стрічкові, стовпчасті, окремі, суцільні плити (рис. 2.2).

Попередню оцінку сфери використання різних типів фундаментів залежно від ґрунтових умов можна виконати за допомогою табл. 2.1. У ній зазначено випадки безумовного застосування фундаментів відповідного типу або випадки, коли необхідне варіантне проєктування.

Основою фундаментів можуть бути будь-які ґрунти . Не рекомендовано обирати мул, торф, пухкі піски та текучо-пластичні глинисті ґрунти, тобто слабкі ґрунти.

Якщо планують спорудження пальового фундаменту, ґрунти основи мають давати змогу максимально використовувати міцність матеріалів паль при мінімальному їхньому перерізі, довжині та заглибленні підошви ростверка.

Таблиця 2.1 Сфера застосування фундаментів різних типів Ґрунтова товщаҐрунти товщі Тип фундаменту

Які прорізають

Основ а На природній основі На ущільненій або закріпленій основі

Пальові

Одношарова

Слабкі Середні Міцні

Двошарова СлабкіСередні Міцні

СередніСлабкі

Міцні

МіцніС лабкі Середні

в в +в в ­ в в ­

Примітка . Умовні позначення: + рекомендовано для застосування; в — потрібне варіантне проєктування;

не рекомендовано для застосування.

Прийняті типи фундаментів мають бути технологічними та характеризуватися мінімальними витратами, матеріало-, енерго- і трудомісткістю.

11
в в в в в
в
в в ­ в в
в в в в ­ ­
Право для безоплатного розміщення підручника в мережі Інтернет має Міністерство освіти і науки України http://mon.gov.ua/ та Інститут модернізації змісту освіти https://imzo.gov.ua

житлових

будинків

Контрольні запитання

1. Що називають фундаментом споруди?

2. Що таке уступ фундаменту?

3. Що називають глибиною закладання фундаменту?

4. На які види поділяють фундаменти за матеріалом?

5. На які типи поділяють фундаменти за конструкцією?

6. Які бувають фундаменти за типом основи?

2.2. Фундаменти для малоповерхових легких будинків і споруд

Для малоповерхових легких житлових будинків каркасного і безкаркасного

типів зазвичай застосовують фундаменти мілкого закладання, які споруджують

у попередньо відритих котлованах або ізольованих виїмках.

Â

Найбільш поширеними типами фундаментів мілкого закладання є:

● с трічкові фундаменти під стіни будинку;

● с товпчасті фундаменти з фундаментними балками (рандбалками);

● окремі фундаменти під колони;

● суцільні плитні фундаменти;

● пальові фундаменти (застосовують у деяких випадках, обумовлених інженерногеологічними умовами)

Стрічкові фундаменти (рис. 2.2 а) призначено для сприйняття і передачі на основу безперервного навантаження від стін споруди.

Доцільність застосування стрічкових фундаментів у задовільних інженерно-геологічних умовах визначають відношенням потрібної площі підошви фундаменту до площі контуру будівлі. Якщо це відношення не перевищує 0,5...0,6, то є сенс застосовувати стрічкові фундаменти. Можна застосовувати як збірні , так і  монолітні стрічкові фундаменти.

Збірні фундаменти на 15–20% дешевші від монолітних. Трудомісткість збірних фундаментів утричі менша ніж монолітних. Підвальні приміщення можна збільшити шляхом меншого об’єму тіла фундаменту. Крім того, суттєво полегшується робота при низьких температурах. Застосування збірних фундаментів сприяє відчутній економії часу будівництва.

Рис. 2.2. Типи фундаментів для малоповерхових будинків: а — стрічковий; б — стовпчастий; в — окремий під колону; г — суцільний плитний; д — пальовий (з буронабивними палями)

12 2 Фундаменти
малоповерхових
Право
Міністерство
науки
та Інститут модернізації змісту
для безоплатного розміщення підручника в мережі Інтернет має
освіти і
України http://mon.gov.ua/
освіти https://imzo.gov.ua

2.2. Фундаменти для малоповерхових легких будинків і споруд

Стовпчасті фундаменти під стіни (рис. 2.2 б) рекомендують улаштовувати при незначному навантаженні від стін будівлі або коли основу фундаментів становлять ґрунти з високою міцністю і малою деформативністю.

Монолітні фундаменти доцільно улаштовувати за відсутності умов для застосування збірних фундаментів (транспорт, вантажопідйомні механізми, відсутність типових блоків, виготовлених місцевою промисловістю тощо). Стовпчасті фундаменти застосовують у випадках, коли для стрічкового фундаменту не використовується повною мірою несуча здатність основи. Найбільш економічними є фундаменти, які складаються з одного елемента (блока). При розрахунку фундаменту обчислюють основні й додаткові поєднання навантажень.

Окремі фундаменти під колони є монолітними або збірними з типових блоків фундаментів стаканного типу.

Â

Для кожного з них визначають такі комбінації зусиль:

● найбільша нормальна сила (Nромакс) і відповідні їй момент і поперечне зусилля;

● найбільший додатний момент (Mpо макс) і відповідні йому нормальна сила і поперечне зусилля;

● найбільший від’ємний момент (Mpо мін) і відповідні йому нормальна сила і поперечне зусилля.

Міцність фундаменту повинна задовольняти будь-яке зі вказаних сполучень.

Їх використовують на слабких ґрунтах з метою вирівнювання можливого нерівномірного осідання колон і стін, оскільки такі ґрунти характеризують неоднорідні нашарування. Плитні фундаменти під частиною будівлі улаштовують з метою отримання водонепроникних підземних приміщень, наприклад, підвалів, днищ резервуарів, басейнів тощо при високому стоянні підземних вод.

Суцільні

плитні фундаменти (рис. 2.2 г) улаштовують під всією спорудою або під її частиною залізобетонними плитами певної товщини.

Пальові фундаменти (рис. 2.2  д) складають із паль і ростверка, на якому зводять всю споруду або її зовнішні і внутрішні стіни, тобто ростверк може бути плитним або стрічковим.

Контрольні запитання

З економічної точки зору плитні фундаменти доцільні, якщо сумарна розрахункова площа окремо розташованих або стрічкових фундаментів перевищує 50–75% загальної площі забудови.

Пальові фундаменти застосовують у тих випадках, коли безпосередньо під будівлею залягають ґрунти, неспроможні витримати навантаження від споруди, або коли її споруджують на акваторії. У деяких умовах будівництва використання паль дає змогу отримати найбільш економічно вигідні рішення.

1. Які ґрунти не рекомендують використовувати як основу фундаментів?

2. Які типи фундаментів зазвичай застосовують для малоповерхових легких будинків каркасного типу?

13
Право для безоплатного розміщення підручника в мережі Інтернет має Міністерство освіти і науки України http://mon.gov.ua/ та Інститут модернізації змісту освіти https://imzo.gov.ua

2.3. Матеріали для фундаментів малоповерхових будинків

Для улаштування фундаментів малоповерхових житлових будинків застосовують переважно бетон, бутобетон, кам’яну (бутову) кладку, збірні бетонні фундаментні блоки (подушки та стінові блоки), ґрунтоцемент, а також, там, де це найбільш доцільно, — деревину.

Залізобетон для фундаментних балок (ранд-балок) застосовують при спорудженні окремих (стовпчастих) фундаментів під стіни, при улаштуванні суцільних плитних фундаментів і пальових ростверків.

Бетонні та бутобетонні фундаменти роблять монолітними або збірними. Ці фундаменти допускають відносно невелике розширення підошви. В окремих випадках можливе використання полегшених і легких бетонів, цементоґрунту. Мінімальні класи міцності та марки цих матеріалів обирають залежно від ступеня довговічності споруд і водонасичення ґрунтів. Кам’яну кладку (бутову або зі штучного каміння) використовують для фундаментів, які не зазнають значних розтягувальних напружень. Бутову кладку застосовують за наявності дешевого місцевого бутового каміння і малого об’єму фундаментів.

У деяких випадках, переважно на щільних і міцних ґрунтах за відсутності агресивних підземних вод фундаменти під легкі малоповерхові будинки (до трьох поверхів), які працюють на стиск, будують з керамічної повнотілої цегли.

А в разі відсутності на місці піску, бутового каміння, гравію, жорстви, щебеню — з  цементно-ґрунтової суміші. Найбільш придатні для цього лесові ґрунти, лесоподібні суглинки і супіски.

За гранулометричним складом придатними вважають ґрунти, які містять не більше ніж 30% частинок дрібніше 0,005 мм, від 15 до 90% частинок розміром 0,05-0,005 мм і не більше ніж 75% частинок розміром 0,05-2 мм.

Матеріали, із яких зроблено фундаменти будинків і споруд, зазнають деформації під дією різних зовнішніх чинників: впливу ґрунтових та поверхневих вод, а також дії поперемінного замерзання і відтавання вологи в порах матеріалів. Для забезпечення надійності та довговічності фундаментів у таких умовах обирають матеріали, які чинять опір вказаним зовнішнім впливам. Види матеріалів для фундаментів обирають з огляду на їхню міцність. Мінімальні марки матеріалів за міцністю на осьовий стиск для фундаментів мають бути не нижчі від наведених у табл. 2.2.

Таблиця 2.2 Класи й марки матеріалів фундаментів

Мінімальні класи й марки для споруд класу

Матеріал

Бетон на пористих заповнювачах

Ґрунт

абвабвабв

14 2 Фундаменти малоповерхових житлових будинків
I
III
II
Важкий бетон C 8/10C 8/10C 16/20C 8/10C 8/10C 8/10C 8/10C 8/10C 8/10
CL 8/9CL 8/9 ­ CL 8/9CL 8/9 ­ CL 8/9CL 8/9 ­
Право для безоплатного розміщення підручника в мережі Інтернет має Міністерство освіти і науки України http://mon.gov.ua/ та Інститут модернізації змісту освіти https://imzo.gov.ua

Матеріал

Матеріали для фундаментів малоповерхових будинків

Мінімальні класи й марки для споруд класу I

II III

Ґрунт

абвабвабв Силікатна маса ­ ­ ­ 100150 ­ 75100 ­

Природне каміння 15015020010015020075100150

Цегла 150150 ­ 100150 ­ 75100150

Цементоґрунт ­ ­ ­ 100150 ­ 75100100

Примітка. Умовні позначення ґрунтів: а — крупноуламкові й піщані маловологі, супіски тверді, суглинки і глини тверді; б — крупноуламкові та піщані вологі; супіски пластичні, суглинки і глини тугопластичні та м’якопластичні; в — крупноуламкові й піщані, насичені водою, супіски текучі, суглинки і глини текучопластичні та текучі.

Мінімальні марки розчинів за межею міцності на стиск для кладки фундаментів треба обирати нижчі від наведених у табл. 2.3.

Таблиця 2.3

Марки розчинів

При улаштуванні залізобетонних монолітних і збірних фундаментів треба використовувати бетон класу не нижче ніж C 16/20.

Для виготовлення порожнистих фундаментних стінових блоків, а також бутобетонних блоків застосовують матеріали, класи яких і марки за міцністю на стиск мають бути не меншими від зазначених у табл. 2.4.

Таблиця 2.4 Класи бетону й марки бутобетону за міцністю на стиск

Мінімальний клас бетону для споруд класу

I II III

Блоки

Ґрунт абвабвабв

15 2.3.
Розчин Ґрунт Мінімальна марка для споруд класу
II III Цементний а 25 10 10 б 50 25 10 в 75 50 25 Цементновапняний а 25 10 10 б 50 25 25 в 100 75 50 Ц ементноглинистий а 25 10 10 б 50 25 25 в 100 75 50
I
Порожнисті З важкого бетону C 16/20 ­ ­ C 8/10 ­ ­ C 8/10C 8/10Продовження таблиці Право для безоплатного розміщення підручника в мережі Інтернет має Міністерство освіти і науки України http://mon.gov.ua/ та Інститут модернізації змісту освіти https://imzo.gov.ua

житлових

будинків

Продовження таблиці

Мінімальний клас бетону для споруд класу

Блоки

на пористих

з силікатної маси

з бутовим камінням

200 і вище

Бутобетонні на щебені

з добре обпаленої цегли марки 100 і вище

Примітка . Умовні позначення ґрунтів ті ж самі, що і в табл. 2.2.

Проєктні класи бетону й каміння за морозостійкістю приймають за кількістю

циклів заморожування і відтавання їхніх зразків за табл. 2.5.

Таблиця 2.5 Марки бетону за морозостійкістю

Розрахункова

зимова температура зовнішньо-

го повітря, t, ˚

Мінімальна марк а для споруд класу I II III

Ґрунт абвабвабв

F15F35*/ F25

t>-5 F25*/ F15F35*/ F25F50/ F35 –/10 F25/ 15F35/ F25 –/10–/10 F25*/ 15

Примітка . Зірочкою позначено марки, які для важкого бетону не нормують. Знак « ­ » означає, що марки не нормують. Перше значення — потрібні марки для бетону, цементоґрунту та штучного каміння; друге — для природного каміння. Умовні позначення ґрунтів ті ж самі, що і в табл. 2.2.

У табл. 2.2–2.5 згідно з ДБН В. 2.1–10-2009 наведено класи споруд за відповідальністю при проєктуванні конструкцій: I — великі промислові та суспільні споруди, житлові будинки від 9-ти поверхів з підвищеними експлуатаційними вимогами; II — більшість невеликих суспільних і промислових споруд, житлові будинки до 9-ти поверхів; III — будівлі з середніми експлуатаційними вимогами, житлові будинки до 5-ти поверхів.

Клас відповідальності споруди призначає організація, що розробила проєкт цієї споруди, або організація, яка видала завдання на проєктування.

Контрольні запитання

1. Які матеріали є

будинків?

16 2
Фундаменти малоповерхових
Ґрунт абвабвабв З
заповнювачах CL 16/18 ­ ­ CL 16/18 ­ ­ CL 12/13CL 12/13І
­ ­ 150 ­ ­ 100100Бутобетонні
Марки
7575100505075505075 Марки
100100150757510015015075 Марки
1501502001001001507575100
I II III
бетону
150–200
75–150
1501502001001001507575100
t<-40 F75/ F50F100/ F75 F150/ F100 F50/ F35F75/ F50F100/ F75F35*/ F25F50/ F35F70/ F50 -40<t<-20 F75/ F35F75/ F50F100/ F75F35/ F25F50/ F35F75/ F50F25*/ F15F35/ F25F50/ F35 -20≤t<-5 F35*/ F25F50/ F35F75/ F50F25/ F15F35/ F25F50/ F35–/ F10F25*/
для улаштування фундаментів малоповерхових
найпоширенішими
Право для безоплатного розміщення підручника в мережі Інтернет має Міністерство освіти і науки України http://mon.gov.ua/ та Інститут модернізації змісту освіти https://imzo.gov.ua

2.3. Матеріали для фундаментів малоповерхових будинків

2. Який к лас бетону треба використати при улаштуванні залізобетонних

і збірних фундаментів?

3. На які к ласи (рівні) поділяють споруди за відповідальністю?

4. Хто має право призначати клас споруди?

монолітних

5. Від чого залежать проєктні класи бетону й каміння за морозостійкістю?

6. У яких випадках доцільно використовувати монолітні фундаменти?

 Тестові завдання

1. На скільки видів поділяють фундаменти за матеріалом?

а) Три; б) чотири;в) шість; г) більше ніж шість.

2. На скільки видів поділяють фундаменти за формою підошви?

а) Два; б) три;в) чотири; г) більше ніж 4.

3. На скільки видів поділяють фундаменти за глибиною залягання?

а) Два; б) три;в) більше ніж 3.

4. На скільки типів поділяють фундаменти за конструкцією?

а) Три; б) чотири; в) більше ніж чотири.

5. На скільки типів поділяють основи для фундаментів?

а) Три; б) чотири; в) більше ніж чотири.

6. Скільки видів фундаментів використовують для малоповерхових каркасних і безкаркасних будинків?

а) Три; б) чотири; в) п’ять; г) більше ніж п’ять.

7. При якому співвідношенні поперечної площі фундаментів до контуру споруди доцільно використовувати стрічкові фундаменти?

а) 0,1–0,2; б) 0,3–0,35; в) 0,35–0,4; г) 0,65–0,7.

8. При яких умовах доцільно використовувати стовпчасті фундаменти для малоповерхових будинків?

а) На с лабких ґрунтах;

б) на міцних ґрунтах;

в) при незначному навантаженні від огороджувальних конструкцій;

г) коли для стрічкового фундаменту не використовують несучу здатність ґрунту.

9. При яких ґрунтових умовах використовують плитні фундаменти для малоповерхових будинків?

а) На с лабких, неоднорідних ґрунтах;

б) при значних об’ємах земляних робіт;

в) коли сумарна площа стрічкових або окремо розташованих фундаментів становить 35–40% від контуру будівлі.

10. Який клас бетону треба використовувати при улаштуванні монолітних або збірних фундаментів?

а)

17
С
б) С
в) С
Право для безоплатного розміщення підручника в мережі Інтернет має Міністерство освіти і науки України http://mon.gov.ua/ та Інститут модернізації змісту освіти https://imzo.gov.ua
8/10;
12/13;
16/18; г) С 18/20.

3

СІП-панелі у будівництві малоповерхових житлових швидкоспоруджуваних енергозберігаючих будинків

РОЗДІЛ 3.

СІП-ПАНЕЛІ У БУДІВНИЦТВІ МАЛОПОВЕРХО -

ВИХ ЖИТЛОВИХ ШВИДКОСПОРУДЖУВАНИХ

ЕНЕРГОЗБЕРІГАЮЧИХ

БУДИНКІВ

3.1. Сендвіч-панель як новий конструктивний матеріал

огороджувальних конструкцій

Огороджувальні конструкції будинку — це конструктиви, які складають його зовнішню оболонку або розділяють будинок на окремі приміщення і поверхи. Ці конструкції виконують також охоронну й декоративну функції. Можуть слугувати несучими конструкціями, які поділяють на вертикальні (стіни та перегородки), горизонтальні (перекриття) та похилі (покриття).

будинку

Огороджувальні конструкції також є тепло- і звукоізоляційним бар’єром. Вони можуть мати різну висоту й конфігурацію, бути суцільними або ґратчастими, монолітними або збірними. Матеріалами для огороджувальних конструкцій можуть бути каміння, цегла, бетон і залізобетон, метал, деревина і пластик. Використання таких матеріалів досить часто спричиняє значні трудові, матеріальні й енергетичні затрати. Для роботи з ними треба використовувати важку будівельну техніку, а виконання деяких процесів є тривалим і складним у різні пори року. Також більшість з цих матеріалів через їхню значну теплопровідність погано зберігають тепло, через що потрібні значні

затрати палива.

Отже, будівельники наполегливо шукали шляхи підвищення ефективності будівництва, зниження затрат енергії, води, будівельних матеріалів, суттєвого скорочення термінів зведення об’єктів. Зрозуміло, що для цього були потрібні новітні, легкі будівельні матеріали з достатньою міцністю, низькою теплопровідністю, стійкістю проти вивітрювання, волого- і вогнестійкістю, які би сповна відповідали вимогам легкого й сухого будівництва у будь-який сезон. Пошук видався вдалим. Як будівельні вироби з ефективних, міцних, легких, технологічних, теплозберігальних матеріалів було розроблено панелі тришарової структури.

Уперше вироби у вигляді тришарової панелі з’явилися у США 1930 року як винахід архітектора Франка Райта. Новий будівельний виріб виявився легким, естетичним, але мав низку недоліків. Проте першочерговим його завданням було поєднання естетичності виробу з легкістю роботи з ним і, як виявилося пізніше, непоганої експлуатаційної якості. Варто зазначити, що цей винахід було зроблено з метою більш ефективного використання деревини.

Згодом Франк Райт винайшов новий матеріал для обшивки стін і настилу покрівлі — композитну панель зі стільниковим наповнювачем . Незважаючи на недоліки, панелі Райта все ж таки відповідали його основній меті — були легкими, міцними, дешевими й естетичними. Згодом такі тришарові вироби

через схожість з бутербродом отримали назву сендвіч-панель.

18
Право для безоплатного розміщення підручника в мережі Інтернет має Міністерство освіти і науки України http://mon.gov.ua/ та Інститут модернізації змісту освіти https://imzo.gov.ua

3.1. Сендвіч-панель як новий конструктивний матеріал

1950 рок у американський архітектор Олден Б. Доу, учень Райта, створює ергономічні тришарові сендвіч-панелі з поліестеровим сердечником і обшивкою з фанери.

У травні 1959 рок у американська компанія Koppers Inc. уперше розпочала масове виробництво сендвіч-панелей для будівництва житлових будинків.

1960 рок у американська компанія Aside Home Program спромоглась скоротити час виготовлення сендвіч-панелей з декількох годин до 20 хвилин.

За даними асоціації ERIC, технологія сендвіч-панелей з сердечником із пінополізоціонурату (PIR) і поліуретану (PUR) з’явилась у 1970-х роках. До середини 80-х років такі панелі виробляли безпосередньо на місці будівництва, проте на початку 90-х років з’явились перші сендвіч-панелі з сердечником із поліуретану як кінцевий продукт заводського виготовлення. Технології виготовлення і застосування у будівництві сендвіч-панелей пройшли довгий шлях і стали невід’ємною частиною будівельної індустрії в США. З 1980 рок у у Великій Британії побудовано тисячі будинків із сендвіч-панелей. Інтенсивно будують будинки із сендвіч-панелей у Північній Європі. Із сендвіч-панелей споруджують житлові й допоміжні будівлі на полярних станціях в Антарктиді.

Сендвіч-панелі так само складаються з шару теплоізоляційного

матеріалу, який замкнутий поміж двох листів жорсткої обшивки —

це може бути оцинкована сталь або алюмооцинкована сталь товщиною 0,6–0,7 мм, пластини (поліестер, пластизол та ін.), плити ОСП (SIP-панелі), гіпсокартон, фіброцементні плити тощо.

Листи жорсткої обшивки забезпечують

жорсткість і міцність панелі, захист сердечника (утеплювача) від руйнівних процесів вивітрювання, а також декоративний вигляд. У житловому будівництві сендвіч-панелі

застосовують для зведення швидкоспоруджуваних енергоощадних будинків панельно-каркасного і безкаркасного типів з використанням структурно-ізольованих панелей СІП (від англійського SIP, Structural Insulated Panel), які складаються із двох орієнтовно-стружкових плит (ОСП), між якими під тиском приклеюють шар твердого утеплювача (пінополістиролу).

У промисловому, цивільному і транспортному будівництві сендвіч-панелі застосовують для зведення швидкоспоруджуваних будівель з несучим каркасом, до якого їх закріплюють. Такі сендвіч-панелі є самонавантаженими й розраховані на сприйняття поперечних вітрових і снігових тимчасових навантажень на стіни і покрівлю будівлі (промислові об’єкти, торговельні і спортивні центри, сільськогосподарські будівлі, ангари, транспортні павільйони, складські споруди, холодильники та ін.). Сендвіч-панелі також використовують для ремонту й реконструкції наявних будівель з метою їхнього утеплення, звукоізоляції, опорядження фасадів та ін.

Використання сендвіч-панелей стало популярним завдяки їхнім унікальним властивостям: швидкості будівництва, екологічності, надійності, можливості застосування у будь-яку пору року, довговічності.

Контрольні

будинку?

19
запитання
конструкціями
1. Що називають огороджувальними
Право для безоплатного розміщення підручника в мережі Інтернет має Міністерство освіти і науки України http://mon.gov.ua/ та Інститут модернізації змісту освіти https://imzo.gov.ua

3

СІП-панелі у будівництві малоповерхових житлових швидкоспоруджуваних енергозберігаючих будинків

2. Із яких матеріалів будують огороджувальні конструкції будинків і споруд?

3. Що зумовило потребу в новітніх матеріалах огороджувальних конструкцій?

4. Що таке сендвіч-панель?

5. Назвіть сфери застосування сендвіч-панелей.

6. Завдяки яким властивостям сендвіч-панелі часто застосовують у будівництві?

3.2. Класифікація сендвіч-панелей

Нині будівельна індустрія виготовляє багато видів сендвіч-панелей, які мають свою сферу застосування залежно від типу об’єкта й умов експлуатації.

Â

На основі досвіду використання сендвіч-панелей у будівництві й подальшої їхньої експлуатації у різних кліматичних умовах було запропоновано таку класифікацію сендвіч-панелей:

● за типом використання теплоізоляційного матеріалу (пінополіуретан, пінополістирол, мінеральна вата, скловата);

● за типом складання (заводське, полистове);

● за функціональним призначенням (стінові, покрівельні, облицювальні, теплоізоляційні, холодильні);

● за геометричними параметрами (горизонтальні й вертикальні; з відкритим або прихованим кріпленням; з різними видами зовнішніх декоративних мікропрофілів);

● за типом використання обшивки (сталь тонколистова оцинкована, сталевий лист з полімерним покриттям (поліестер, пластизол, пурал), гіпсокартон, пластик, фанера, фіброцементні плити, магнезитові плити, ОСП). Важливою складовою частиною сендвіч-панелі є її сердечник, виготовлений із тепло- і звукоізоляційних матеріалів. Він визначає рівень теплопровідності, водопоглинання, паропровідності, міцності та горючості панелі. Так, мінеральна вата забезпечує пожежостійкість, низьку теплопровідність і щільність.

Сендвіч-панелі зі скловолокном щільністю 64 кг/м3 не поступаються за технічними властивостями сендвіч-панелям з мінераловатним сердечником щільністю 120 кг/м3. При цьому такі панелі на 20% легші, ніж панелі з мінераловатним сердечником. Сендвіч-панелі з мінераловатним і скловатним сердечником належать до негорючих виробів.

Сердечники з експандованого й екструдованого пінополістиролу, а також із поліуретану мають значно меншу теплопровідність, вони більш міцні й менш деформативні, але належать до пожежонебезпечних матеріалів. Для виробництва СІП-панелей найчастіше використовують пінополістирол суспензійний безпресовий, самозагасальний ПСБ-С25 із щільністю 25 кг/м3. За кордоном безпресовий пінополістирол має назву EPS (Expanded Polysterene). В Україні також виробляють екструдований пінополістирол XPS (Exstruded Polysterene). Екструдований пінополістирол за показниками міцності й теплопровідності перевершує експандований пінополістирол та має нижчий коефіцієнт водопоглинання. Водночас експандований й екструдований пінополістирол мають схожі властивості

20
Право для безоплатного розміщення підручника в мережі Інтернет має Міністерство освіти і науки України http://mon.gov.ua/ та Інститут модернізації змісту освіти https://imzo.gov.ua

Класифікація сендвіч-панелей

та невелику вагу; їх легко обробляти; вони займисті при контакті з вогнем, але не підтримують горіння; мають низькі відсотки абсорбції води.

Стінові й покрівельні панелі, а також СІП-панелі виробляють одним із трьох способів — складання із елементів на напівавтоматичному обладнанні, спінення і конвеєрне виробництво.

Стінові сендвіч-панелі закріплюють до металевого або дерев’яного каркаса, збудованого по периметру будівлі. Стінові сендвіч-панелі мають стандартні розміри. Їхня вага залежить від розмірів і матеріалів, з яких їх виготовлено.

Для зовнішніх шарів стінових сендвіч-панелей застосовують оцинковану сталь, алюміній, магнезит, фіброцементні листи, гладкі пластикові плити та інші вироби. За фактурою зовнішнього шару обшивки сендвіч-панелі бувають гладкими, профільованими і декоративними (під плитку або декоративну штукатурку). Сендвіч-панелі з металевою обшивкою обов’язково оснащують спеціальним типом замка для стикування їх між собою.

Покрівельні сендвіч-панелі використовують для улаштування похилих дахів швидкоспоруджуваних будинків. Вони мають обшивку із оцинкованої тонколистової рулонної сталі з полімерним покриттям товщиною 0,5–0,7 мм. Для більшої жорсткості металеву обшивку покрівельних сендвіч-панелей профілюють на виробничій лінії типом профілювання, який називають покрівельним стандартом. Таке профілювання також сприяє спрямованому і швидкому стоку дощових і талих вод з покрівлі. Сердечник покрівельних сендвіч-панелей виготовляють із пінополістиролу, пінополіуретану, мінеральної або скловолокнистої вати. Покрівельним панелям можуть надавати нахил від 5° (8,8%) і вище.

Окремою групою є теплоізоляційні і облицювальні сендвіч-панелі. Теплоізоляційні сендвіч-панелі призначено для утеплення стін готових будівель. Вони складаються із зовнішнього металевого листа із захисним покриттям, шару теплоізоляції товщиною 25 мм (при застосуванні пінополіуретану) до 225 мм (при використанні мінеральної вати), внутрішнього пароізоляційного шару товщиною 0,05 мм або фанери чи крафт-паперу. Зовнішні листи обшивки можуть мати структуровану поверхню. Панель із поліуретану товщиною 50 мм замінює 200 мм деревини або 1000 мм кладки із повномірної цегли.

Облицювальні сендвіч-панелі закріплюють до несучого каркаса будинку як горизонтально, так і вертикально. Наприклад, СІП-панелі зазвичай мають вертикальну орієнтацію, а теплоізоляційні панелі — горизонтальну з максимальним наданням щільності у стиках.

Кріплення стінових, теплоізоляційних і облицювальних сендвіч-панелей до несучої основи, наприклад, фахверхової конструкції будівлі, буває двох типів: приховане (коли кріплення під закріплюваним листом панелі) і  видиме (коли кріплення видно ззовні, але воно є частиною самої панелі).

Для кріплення застосовують спеціальні кріпильні елементи за розміром панелей — добірні елементи. Невеликі проміжки між конструкціями заповнюють утеплювальним матеріалом і обробляють монтажною піною. Під час монтажу сендвіч-панелей використовують спеціальний інструмент та пристосування для їхнього підйому — струбцини та присмоктувачі. Шви і стики можуть додатково заповнювати герметизуючою мастикою, прокладками із поліуретану, неопрено-поліуретановою стрічкою або поліуретановою піною. Торцеві шви

21 3.2.
Право
безоплатного розміщення підручника в мережі Інтернет має Міністерство освіти і науки України http://mon.gov.ua/ та Інститут модернізації змісту освіти https://imzo.gov.ua
для

3

СІП-панелі у будівництві малоповерхових житлових швидкоспоруджуваних енергозберігаючих будинків

сендвіч-панелей заповнюють монтажною піною або мінеральною ватою і закривають нащільником. При монтажі панелей використовують також фасонні елементи. Ці дуже міцні металеві вироби застосовують для закриття швів, які утворюються при монтажі панелей.

Контрольні запитання

1. Як к ласифікують сендвіч-панелі?

2. Із яких матеріалів виготовляють сердечники сендвіч-панелей?

3. Яку обшивку і фактуру мають покрівельні сендвіч-панелі?

4. Розкажіть про теплоізоляційні сендвіч-панелі.

5. Що таке облицювальні сендвіч-панелі?

6. Як використовують кріплення сендвіч-панелей до несучої основи?

7. Чим заповнюють стики між сендвіч-панелями?

3.3. Структурно-ізольовані панелі (СІП-панелі)

У проєктуванні малоповерхового житлового швидкоспоруджуваного енергоефективного будинку особливо важливими є два моменти: огороджувальні конструкції повинні бути з одного боку міцними, а з іншого — теплозахисними. У таких будинках взимку зберігається тепло, а влітку — прохолода, що дає змогу економити значні кошти на опалення в холодну зимову погоду і на кондиціювання повітря у літні спекотні дні. Досягти такої ефективності функціонування будинку з використанням традиційних будівельних матеріалів практично неможливо.

Поліпшення збереження тепла у житловому будинку можна забезпечити збільшенням матеріаломісткості огороджувальних конструкцій, коли один матеріал, наприклад цегла, забезпечує міцність стіни, а другий, наприклад утеплювач (пінополістирол, мінеральна або скловата), — тепловий захист.

Але найбільш вдалий приклад демонструють каркасні будинки, в яких навантаження ваги будівлі та зовнішніх впливів несе міцний каркас, а вільний простір між елементами каркаса заповнюють обшивними стінами з ефективним утеплювачем. У більшості будівельних огороджувальних конструкцій утеплювач не впливає на міцність конструкції. Отже, виникає завдання створення нових будівельних матеріалів, міцність яких можна підвищити і завдяки утеплювачеві за принципом композитних виробів із різних матеріалів. Високі міцнісні властивості композитних матеріалів фахівцям уже давно відомі. У СІП-панелі композитність виробу досягають приклеюванням обшивки до утеплювача. Ця міцна монолітна тришарова конструкція складається із двох плит ОСП-3 і шару щільного пінополістиролу ПСБ-С25, скріплених двокомпонентним спеціальним клеєм. Процес кристалізації клею відбувається під тиском від 5,5 до 6,5 т/м2. Тонка деревостружкова плита ОСП-3 може витримати досить велике розтягувальне навантаження, а при повздовжньому стисканні плита легко вигинається і втрачає стійкість. Пінополістирол ПСБ-С25 теж не може сприйняти вертикальне навантаження від конструкцій, які лежать вище. Але якщо ці матеріали поєднати у СІП-панель, то композитний виріб витримує повздовжній тиск вище 10 тонн на погонний метр і поперечний тиск більше 2 тонн на квадратний метр.

22
Право для безоплатного розміщення підручника в мережі Інтернет має Міністерство освіти і науки України http://mon.gov.ua/ та Інститут модернізації змісту освіти https://imzo.gov.ua

3.4. Складові СІП-панелей

У процесі склеювання СІП під пресом плити ОСП-3 стають плоскими (втрачають початковий прогин), а щільний пінополістирол змушує їх працювати під навантаженням сумісно. При повздовжньому стиску (і при зсуві) пінополістирол не дозволяє вигинатись обшивці, яка сприймає все навантаження на себе. Що жорсткіший середній шар, то менше вигинання стиснутих зовнішніх шарів. Отже, несуча здатність тришарової панелі збільшується з підвищенням жорсткості середнього шару. Для міцності СІП-панелей важливе значення має міцність клеєвого з’єднання шарів. Для того щоб мати впевненість у міцності з’єднання шарів панелі, треба, щоб ця міцність перевищувала міцність матеріалу.

Контрольні запитання

1. За якою технологією виготовляють СІП-панелі?

2. У чому полягає метод фабричного (конвеєрного) виробництва сендвіч-панелей?

3. Розкажіть про композитні матеріали.

4. Яку міцність на стиск має СІП-панель як композитний виріб?

5. Завдяки чому СІП-панель може витримувати значні повздовжні й поперечні тиски?

6. З якого матеріалу роблять зовнішню і внутрішню обшивки СІП-панелі?

3.4. Складові СІП-панелей

3.4.1. Матеріали обшивки СІП-панелей

При виготовленні конструкційних структурно-ізольованих панелей (СІП-панелей) як зовнішню і внутрішню обшивки ізоляційного сердечника переважно використовують орієнтовно-стружкову плиту (ОСП), яку створюють шляхом склеювання дерев’яної стружки під високим тиском. Сьогодні виготовляють чотири види плит ОСП:

● ОСП-1  — призначено для використання в умовах зниженої вологості (меблі, пакування);

● ОСП-2  — використовують при виготовленні несучих конструкцій у сухих приміщеннях;

● ОСП-3  — виріб, який витримує складніші режими експлуатації при виготовленні несучих конструкцій в умовах підвищеної вологості. Отже, саме плити ОСП-3 використовують при виготовленні СІП-панелей для каркасного, каркасно-панельного і безкаркасного малоповерхового будівництва;

● ОСП-4 — використовують при виготовленні конструкцій, які витримують значне механічне навантаження в умовах підвищеної вологості.

Орієнтовно-стружкова плита (ОСП) від англійського OSB (Oriented Strand Board) — це виріб, який складається з кількох шарів стружки деревних порід, склеєних спеціальними смолами з додаванням синтетичного воску і борної кислоти.

Стружка в шарах має різну спрямованість — повздовжню і  поперечну . Довжина стружки у плиті складає

75–180 мм, ширина 15–25 мм, а  товщина — 0,4 мм. Черг ування спрямованості волокон забезпечує високі

23
Право для безоплатного розміщення підручника в мережі Інтернет має Міністерство освіти і науки України http://mon.gov.ua/ та Інститут модернізації змісту освіти https://imzo.gov.ua

3

СІП-панелі у будівництві малоповерхових житлових швидкоспоруджуваних енергозберігаючих будинків

міцнісні характеристики (у 2,5 раза бі льше, ніж у ДСП). ОСП виробляють пресуванням плоскої деревної стружки, змішаної з полізоціанітним клеєм, який не містить фенолформальдегіду. Цей клей реагує з гідрогенами деревини, утворюючи поліуретан, який надає плиті додаткової надійності й твердості.

Однакові крупні розміри стружки і сучасний метод пресування забезпечують однорідність матеріалу по всій плиті, відсутність порожнин і тріщин в її товщі і сколів по краях. Дрібні відходи стружки видаляють, через що зменшується кількість клею у складі ОСП — не більше ніж 3%. Отже, ОСП — це практично повністю деревний виріб.

Відомо, що деревина при тривалій дії на неї води вбирає її, в результаті

чого збільшує об’єм, тобто набухає, втрачаючи при цьому міцність. Але завдяки водостійкості клею, який використовують для склеювання стружки під тиском при виготовленні ОСП, ступінь їхнього набухання коливається від 25 д о 12% (ОСП-1 — 25%, ОСП-2 — 20%, ОСП-3 — 15%, ОСП-4 — 12%) при зануренні плит у воду на одну годину. Отже, щоб плити ОСП не втрачали міцності, їх ізолюють, наносячи водовідштовхувальні речовини.

Плити ОСП-3 і ОСП-4 можна зарахувати до вологостійких, які при набуханні повністю зберігають свою форму й міцність.

Завдяки різній спрямованості стружки в шарах ОСП має високу механічну міцність. Міцнісні характеристики ОСП регламентує стандарт EN 300 за д опомогою таких показників: модуль пружності, міцність на вигин і міцність на розрив (табл. 3.1).

Таблиця 3.1 Значення модуля пружності ОСП

Тип ОСПОдиниця виміру Модуль пружності при згинанні. Повздовжня вісь Модуль пружності при згинанні. Поперечна вісь

Плити ОСП-2 і ОСП-3 за міцнісними характеристиками рівні, але за вологос тійкістю помітну перевагу має плита ОСП-3, тому саме її найбільш часто використовують для виробництва СІП-панелей. Що стосується плити ОСП-4, то вона є найкращою і за вологостійкістю, і за міцністю. Проте її ціна суттєво вища, ніж ціна ОСП-3, тому плиту ОСП-4 використовують при великих навантаженнях в умовах підвищеної вологості.

Коефіцієнт паропроникності ОСП складає 0,0031 м2/мгПа. Стандартними розмірами ОСП є довжина 2500 мм і ширина 1250 мм, а товщина коливається від 6 до 40 мм з кроком 2 мм.

Завдяки складу і структурі ОСП піддають різним видам обробки. Їх можна стругати, свердлити, шліфувати, пиляти, фрезерувати. ОСП можуть обробляти як стаціонарними, так і переносними електричними і ручними інструментами, які варто оснащувати лезами із твердих сплавів.

24
ОСП­1 Н/мм2 2500 1200 ОСП­2 3500 1400 ОСП­3 3500 1400 ОСП­4 4800 1800
Право для безоплатного розміщення підручника в мережі Інтернет має Міністерство освіти і науки України http://mon.gov.ua/ та Інститут модернізації змісту освіти https://imzo.gov.ua

Плити ОСП мають привабливий зовнішній вигляд. Тому за потреби їх можна використовувати без декоративної обробки. Плити ОСП легко обробляти, можна склеювати і наносити спеціальні фарби, призначені для деревини.

Плити ОСП — це екологічно і гігієнічно чистий нешкідливий матеріал, який зберіг найкращі якості натурального дерева.

У той же час ОСП позбавлені недоліку чистої деревини — біологічного вивітрювання.

Плити ОСП зі знаком ЕКО містять нетоксичні для людини клеї, тому вони не виділяють у повітря формальдегіду. Дрібні відходи стружки при виробництві плити видаляють і використовують для виготовлення інших виробів.

Сировиною для ОСП є неділова хвойна деревина, яку вирощують на спеціальних лісових угіддях.

Щодо пожежної безпеки, то плита ОСП є важкозаймистим виробом. Термін служби плит ОСП практично необмежений при дотриманні нормальних умов їхньої експлуатації.

Â

Текстура плит ОСП, а також покриття воском їхньої поверхні гарантують:

● високу механічну стабільність;

● с табільність розмірів у вологих умовах;

● поверхню Conti Fine (світла щільна поверхня з тонкою стружкою, приваблива текстура при покритті оліями і воском);

● шліфовану або нешліфовану поверхню;

● зас тосування у дизайні;

● зас тосування як чорнової підлоги або покриття підлоги з лаковою обробкою.

У порівнянні з іншими будівельними матеріалами обшивок СІП-панелей плита ОСП має досить високі показники тепло- і звукоізоляції. У всьому світі СІП-панелі із утеплювача ПСБ-С25 і плит ОСП-3 отримали найбільше поширення в індивідуальному житловому будівництві як оптимальний варіант.

Магнезитова плита RMS — це комбінована система із оксиду магнію, карноліту та інших з’єднань.

Для виробництва СІП-панелей, замість ОСП, можуть використовувати магнезитові плити RMS.

Магнезитова плита — це негорючий, вологостійкий, звукопоглинний матеріал. Цей виріб не містить азбесту, формальдегіду, фенолів та інших шкідливих речовин. Завдяки своїм антисептичним властивостям магнезитова плита не піддається біологічному вивітрюванню. Вона також не викликає алергічних реакцій. Отже, магнезитову плиту можна вважати екологічною системою будівельних виробів.

Термін служби магнезитової плити сягає 50 років. Магнезитові плити також, як і ОСП, легко різати, забивати в них цвяхи та скоби, склеювати та фарбувати, ламінувати плівкою, обклеювати шпоном, шпалерами, плиткою. Характеристики магнезитових плит, які випускають в Україні, наведено у табл. 3.2. Показники міцності магнезитових плит показано у табл. 3.3.

25 3.4. Складові СІП-панелей
Право для безоплатного розміщення підручника в мережі Інтернет має Міністерство освіти і науки України http://mon.gov.ua/ та Інститут модернізації змісту освіти https://imzo.gov.ua

Міцнісна характеристика

Модуль пружності при вигині

Модуль пружності при розтягу

магнезитових плит товщиною 10 мм класу D

Одиниця виміру Показник

Міцність при вигині (перпендикулярно площині плити)

Міцність при вигині (до площини плити)

Міцність при стиску (перпендикулярно площині плити)

Міцність при стиску (до площини плити)

Міцність на розтягнення (перпендикулярно площині плити)

Міцність на розтягнення (до площини плити)

кДж/м2 ≥3

MПa 3,7 Протиударність

Магнезитові плити також мають високу морозостійкість. Багаторазове намокання, заморожування, нагрівання і відтавання не спричиняють розтріскування плити, її осипання, руйнування чи розпад на частини.

Магнезитова плита має високу паропроникність і здатність регулювати поглинання і віддавання вологи, що створює комфортні умови для проживання у приміщеннях, обшитих магнезитовими плитами.

Жорсткий ПВХ-лист найчастіше використовують у пластикових сендвіч-панелях, а саме у відкосах. Щільність такого листового матеріалу білого кольору — 1,4 г/см3.

Спінені ПВХ-листи мають пористу внутрішню структуру. Тому ПВХ-листи мають малу щільність (0,6 г/см 3) і добру теплоізоляцію.

Як зовнішній шар ПВХ сендвіч-панелей можуть застосовувати різні матеріали: жорсткий ПВХ лист; спінений ПВХ лист; шаруватий пластик (HPL), фіброцементні плити, гіпсокартонні плити, гіпсоволокнисті плити, цементно-стружкові плити.

При екструдованому виробництві листів у їхній товщі утворюється дрібночарункова структура, яка містить велику кількість замкнутих бульбашок повітря. Че -

26 3
у будівництві малоповерхових житлових швидкоспоруджуваних
Таблиця 3.2 Характеристики магнезитових плит, вироблених в Україні Характеристика Класи магнезитових плит E D Товщина, мм 8,10,128,10,12 Лінійні розміри, м 2,4 х 1,22,4 х 1,8 Площа листа, м2 2,88 2,88 Щільність матеріалу плити 900 1200 Водопоглинання, % 35 28 Пористість, % 23–2620–25 Коефіцієнт теплопровідності, Вт/м, К 0,3–0,40,24 Звукоізоляція, дБ 29 32 Лінійне розширення у насиченому водою стані, не більше, % 0,18 0,12 Таблиця 3.3 Показники міцності
СІП-панелі
енергозберігаючих будинків
MПa 6240
MПa 1850
MПa 11,6
MПa 6,9
MПa 16,5
MПa 14,0
MПa 2,4
Право для безоплатного розміщення підручника в мережі Інтернет має Міністерство освіти і науки України http://mon.gov.ua/ та Інститут модернізації змісту освіти https://imzo.gov.ua

3.4. Складові СІП-панелей

рез цю структуру спінені ПВХ-листи й отримали таку назву. Спінені та жорсткі ПВХ-листи мають потрібну вологостійкість. При від’ємних температурах ударна міцність спінених пластиків зменшується.

З усіх пластиків, про які йшлося вище, для облицювання утеплювача в сендвіч-панелі шаруватий пластик HPL є найбільш міцним і надійним матеріалом, який використовують в умовах найбільших експлуатаційних навантажень

на матеріал. Абревіатура HPL означає спосіб виробництва матеріалу: збирають пачку паперу (крафт-папір для внутрішніх шарів, декоративний — для поверхні, оверлей — для захисту поверхні), просочують фенолформальдегідними й аміноформальдегідними смолами і спресовують під тиском від 90 до 110 кг/ см 2. Під час пресування застосовують технологічну оснастку, яка визначає текстуру поверхні. Це можуть бути спеціальні прокладкові металеві листи й матриці, поверхня яких містить рельєфні зображення, що імітують пори дерева, поверхню каменю та ін. Ці рельєфи переносять на поверхню листа пластику. Це дає змогу отримати різні типи поверхні: глянець «сатин», пори дерева, асфальт та ін. HPL виробляють тільки в листах. Товщина листового шаруватого пластику для виробництва сендвіч-панелей найчастіше складає 2 мм.

Будь-який із вищезгаданих облицювальних пластиків може бути покритий реналітною плівкою, яка зробить його придатним для декорування. Найчастіше з метою декорування використовують сендвіч-панелі із HPL. Для відкосів вікон найчастіше використовують жорсткий листовий або глянцевий ПВХ-лист білого кольору. Нечасто використовують панелі зі спіненим ПВХ.

Фіброцементні плити виготовляють із фіброцементу — сучасного композитного матеріалу, який складається із цементу (80-90%), піску й волокон целюлози та має однорідну структуру.

Волокниста целюлоза, яку додають до цементу, надає матеріалу високої міцності. Панелі, вироблені з цього матеріалу, не підтримують горіння, протистоять ультрафіолетовому й магнітному випромінюванню, стійкі до хімічного й біологічного вивітрювання.

На цементно-волокнисті (фіброцементні) плити наносять водовідштовхувальні й декоративні шари. Водовідштовхувальний шар забезпечує довговічність виробу та зберігає його ізоляційні властивості.

У процесі експлуатації фіброцементні плити не втрачають своєї форми, протистоять фізичному вивітрюванню (опади, перепад температур, вітер, замерзання і відтавання, сонячна радіація), мають низький коефіцієнт теплового розширення і є екологічно чистим будівельним виробом, оскільки не містять радіоактивних, канцерогенних та інших шкідливих речовин.

Фіброцементні плити — це легкі, негорючі, міцні вироби, які служать понад 50 років.

Гіпсокартонна плита (ГКП) — це плитковий оздоблювальний матеріал, виготовлений із будівельного гіпсу β-модифікації, армований мінеральним волокном і обклеєний з обох боків високоякісним пресованим картоном, товщиною не більше ніж 0,6 мм за допомогою клеєвої речовини (докстрин, казеїновий клей, рідке скло).

Гіпсокартон — хімічно інертний матеріал, його кислотність дорівнює кислотності шкіри людини, він не містить і не виділяє у зовнішнє середовище шкідливих хімічних сполук. Різновидом або більш сучасною модифікацією звичайної плити гіпсокартону є

27
Право для безоплатного розміщення підручника в мережі Інтернет має Міністерство освіти і науки України http://mon.gov.ua/ та Інститут модернізації змісту освіти https://imzo.gov.ua

СІП-панелі у будівництві малоповерхових житлових швидкоспоруджуваних енергозберігаючих будинків

пофарбований або ламінований гіпсокартон, гіпсовініл або гіпсолам — гіпсокартон кольоровий з вініловим покриттям. Це принципово новий виріб, який має ексклюзивний зовнішній вигляд з широким вибором декору. Застосовують для внутрішнього облицювання стін, зашивання віконних відкосів, створення

перегородок, вітрин і виставкових стелажів без додаткового опорядження.

На основі гіпсокартону виготовляють сендвіч-панелі з теплоізоляційним шаром пінополіуретану товщиною до 50 мм. Їх використовують для внутрішньої обшивки зовнішніх стін без подальшого утеплення і пароізоляції, що значно скорочує терміни будівництва.

Переваги гіпсокартону: екологічна й санітарна безпека; легко обробляти; різати, свердлити, не горить. Недоліками гіпсокартону є низька міцність, крихкість; низька вологостійкість, втрата міцності при зволоженні.

Гіпсоволокниста плита

(ГВП)  — це сучасний екологічно чистий матеріал, який має відмінні технічні характеристики.

Її виробляють методом напівсухого пресування суміші гіпсу й целюлозної макулатури. Це міцний, твердий, вогнетривкий виріб, однорідний за складом. Завдяки універсальності його широко застосовують у будівельній сфері для улаштування перегородок, чорнових підлог, підвісних стель, облицювання дерев’яних поверхонь з метою підвищення їхньої вогнестійкості. Використовують для обшивки сендвіч-панелей.

Цементно-стружкова плита —

це виріб, який ідеально підходить

для зовнішньої обшивки каркаса

і перегородок у вологих приміщеннях, а також для вирівнювання основ під покриття підлог.

Контрольні запитання

Цементно-стружкова плита має тверду і гладку поверхню, її можна штукатурити і облицьовувати плиткою, негорюча, стійка до вологи і коливань температури. Постачають у листах 3600 х 1200 х 10 (12, 16, 20 і 26) мм. Можна застосовувати як обшивку СІПпане лей.

1. Які матеріали використовують для зовнішніх шарів стінових сендвіч-панелей?

2. Що таке орієнтовно-стружкова плита?

3. Яким методом виробляють ОСП?

4. Який вид ОСП використовують для виробництва СІП-панелей?

5. Яку сировину використовують для виробництва ОСП?

6. Які плити для обшивки СІП-панелей можуть використовувати замість ОСП?

7. Назвіть переваги магнезитових плит.

28
3
Право для безоплатного розміщення підручника в мережі Інтернет має Міністерство освіти і науки України http://mon.gov.ua/ та Інститут модернізації змісту освіти https://imzo.gov.ua

3.4.2. Тепло-, звукоізоляційні матеріали для

СІП-панелей

сердечника

Для сердечника сендвіч-панелей широко використовують газонаповнені полімери.

Газонаповнені полімери  — матеріали, що складаються із твердої полімерної матриці, в якій розподілено замкнуті або сполучені чарунки, наповнені газом. Газонаповнені полімери з такими чарунками називаються також паропластами.

Залежно від пружних властивостей розрізняють жорсткі, напівжорсткі й еластичні (газонаповнені полімери). Ці полімери мають низьку щільність і високі (особливо пінопласти) тепло-, звуко- і електроізоляційні характеристики. Широке розповсюдження отримали газонаповнені полімери на основі поліуретанів і полістиролів.

Пінополіуретан (ППУ) серед теплоізоляційних матеріалів має найбільш низький коефіцієнт теплопровідності й високу гідроізоляційну властивість (до 99% закритих пор), які дають змогу використовувати його навіть як покрівельний матеріал. ППУ — хімічно нейтральний до кислотних і лужних середовищ. Матеріал з класом горючості Г1. Відрізняється високою стійкістю до хімічних сполук. Порівняння характеристик ППУ з іншими теплоізоляторами наведено у таблиці 3.4.

Таблиця 3.4

Порівняння характеристик ППУ з іншими теплоізоляторами

Теплоізолятор Середня щільність

кг/м 3

ПП У жорсткий 30–150

Коефіцієнт теплопровідності Вт/мК Пористість

Робоча температура °С

0,019–0,028закрита ­160..+150

Пробкова плита 220–400

0,5–0,6

0,04–0,06закрита ­100..+80

закрита ­30..+90 Пінополістирол40–150

Мінеральна вата 55–150 0,052–0,058відкрита ­40..+120 Пінобетон 250–400 0,145–0,160відкрита ­30..+120

Теплоізоляційна здатність ППУ дуже висока при малій товщині ізоляційного шару. Щоб розрахувати порівняльну теплозахисну ефективність різних будівельних матеріалів, достатньо поділити їхні коефіцієнти теплопровідності. Наприклад, для пінополістиролу і ППУ це 0,04 / 0,028 = 1,43, тобто 10 см ППУ дорівнюють за теплопровідністю 14,3 см полістиролу. Для пінобетону і ППУ це 0,16 / 0,028 = 5,71, тобто 10 см ППУ еквівалентні 57,14 см пінобетону; для цегли і ППУ це 0,8 / 0,028 = 28,57, тобто 10 см ППУ еквівалентні 285,7 см цегли.

Для волокнистих теплоізоляційних матеріалів такий розрахунок не є коректним, оскільки при зволоженні їхня теплопровідність збільшиться у декілька разів.

Технічні характеристики ППУ наведено у табл. 3.5.

Таблиця 3.5

29 3.4.
Складові СІП-панелей
№ п/пНайменування показників Показник 1 Щільність, кг/м3 18...300
Технічні характеристики пінополіуретану
Право для безоплатного розміщення підручника в мережі Інтернет має Міністерство освіти і науки України http://mon.gov.ua/ та Інститут модернізації змісту освіти https://imzo.gov.ua

СІП-панелі у будівництві малоповерхових житлових швидкоспоруджуваних енергозберігаючих

будинків

Продовження таблиці

2 Теплопровідність, Вт/м3К

3 Руйнівна напруга, МПа, не менше

не більше 0,019...0,03

при стиску 0,15...1; при згині 0,35...1,9

4 Вологопоглинання, % об’єму 1,2...2,1

5 Кількість закритих пор, %

6 Горючість

не менше 85...95

важкогорючі

Нанесене покриття з ППУ не потребує оновлення і ремонту протягом

терміну служби. Воно також не потребує кріплення. Проте ППУ треба захищати від прямих сонячних променів.

Довговічність ППУ оцінюють у 25–30 років, хоча закордонні спеціалісти, розбираючи конструкції стін, дахів, фундаментів, зрізають з труб зразки ППУ, який був використаний у 70-х роках минулого століття. Під час досліджень жорсткий ППУ показав високу стійкість до старіння у вологому змінному кліматі без значного погіршення теплоізоляційних властивостей. Вогнестійкість ППУ належить до класів горючості Г1. Оскільки у компоненти ППУ включено антипирени, то він горить лише там, куди потрапляє полум’я зовнішнього джерела вогню, і горить, доки є полум’я. Якщо полум’я прибрати, ППУ гасне і тліє, запобігаючи поширенню вогню.

ППУ стійкий до біологічного вивітрювання (гризуни, грибки, мікроорганізми, проникнення коріння рослин, комахи).

Пінополізоціанурат (ПІР) — це теплоізолятор нового покоління поліуретану.

ПІР має чарункову структуру, містить мікрокапсули вуглецю, які роблять його майже негорючим. Має низьку теплопровідність (0,02–0,022 вт/мК). За показниками теплопровідності ПІР у півтора раза ефективніший, ніж полістирол, і у два рази — ніж мінеральна вата. Має високу вологостійкість, стійкість до біологічного вивітрювання, не боїться перепаду температур та інших агентів атмосфери. Має підвищений параметр вогнестійкості (Е 145), що більше, ніж показник ППУ (Е 115).

Пінополістирол — це газонаповнений матеріал, який отримують із полістиролу і його похідних, а також із сополімерів стиролу.

Пінополістирол є розповсюдженим різновидом пінопласту, як його зазвичай і називають у побуті. Звичайна технологія отримання пінополістиролу пов’язана з первісним заповненням гранул стиролу газом, який розчиняють у полімерній масі. У подальшому відбувається нагрів маси парою, її спінення і багатократне збільшення гранул у розмірах — доки вони не знімуть усю блокформу і не відбудеться спікання між гранулами. У традиційному пінополістиролі використовують добре розчинений у стиролі природний газ для заповнення

гранул, у пожежостійких варіантах — гранули заповнено вуглекислим газом.

Також існує технологія отримання вакуумного пінополістиролу, у якому газу немає. Усередині гранул пінополістиролу є мікропори, а поміж гранулами — порожнини.

Механічні властивості пінополістиролу залежать від його удаваної щільності: чим вище удавана щільність матеріалу, тим більша його міцність і нижче водопоглинання, гігроскопічність, паро- і повітропроникність.

30 3
усього
Право для безоплатного розміщення підручника в мережі Інтернет має Міністерство освіти і науки України http://mon.gov.ua/ та Інститут модернізації змісту освіти https://imzo.gov.ua

До основних видів пінополістиролу, які виробляють в Україні, належать: безпресовий екструдований пінополістирол EPS (Expanded Polysterene), а саме ПСБ (пінополістирол суспензійний безпресовий); ПСБ-С (пінополістирол суспензійний безпресовий самозгасальний), а також винайдений BASF 1951 року екструдований пінополістирол: XPS (Extruded Polysterene). У табл. 3.6 наведено характеристики безпресового пінополістиролу.

Таблиця 3.6 Характеристики безпресового пінополістиролу

Марка пінополістирольних плит

Технічні показники

матеріалу, кг/м3

на стиск при 10% лінійної

більше >

Експандований пінополістирол (EPS) виготовляють і широко використовують у виробництві різних матеріалів для утеплення фасадів будівель, які зводять або ремонтують чи реконструюють.

Експандований пінополістирол також можна застосовувати при виготовленні СІП-панелей для будівництва зовнішніх огороджувальних конструкцій малоповерхових швидкоспоруджуваних будинків.

Â Пінополістирольні плити мають такі характеристики пожежної безпеки:

● група горючості Г1 (з додаванням антипиренів) за ДСТУ БВ.2.7–19-95;

● група займистості B1 за ДСТУ БВ.1.1–2-97;

● група димоутворювальної здатності Д3 (висока) за ДСТУ 8829:2019;

● група токсичності Т1 за ДСТУ 8829:2019.

Експандований (білий) пінополістирол, який також називають пінопластом, — це звичайний і найбільш розповсюджений матеріал для теплоізоляції огороджувальних конструкцій будинків і споруд. На відміну від мінеральної вати, він міцніший, його легко обробляти, перевозити й закріплювати на конструкціях.

Матеріал не піддається фізичному й біологічному вивітрюванню.

Результатом новітніх досліджень застосування експандованого пінополістиролу як тепло- і звукоізоляційного матеріалу і складової частини структурно-ізоляційних панелей з метою поліпшення його властивостей стало винайдення

1995 року нового теплоізоляційного матеріалу на основі експандованого пінополістиролу.

Процес його виготовлення майже нічим не відрізняється від процесу виготовлення експандованого пінополістиролу (полістирену) EPS, за винятком однієї добавки у склад нового матеріалу — високочистого графіту.

31 3.4. Складові СІП-панелей
ПСБ-С15ПСБ-С25ПСБ-С35ПСБ-С50 Щільність
до 15 15–2525–3535–50 Міцність
деформації, МПа 0,07...0,150,15...0,180,18...0,260,26...0,38 Міцніс ть на згин МПа, не менше 0,15...0,230,320,30...0,380,38...0,42 Теплопровідність при температурі 25 ± 5°К і нормальній відносній вологості Вт/мК, не більше 0,032...0,036 0,029...0,033 Вологість плит у %, не
2 2 2 2
Право для безоплатного розміщення підручника в мережі Інтернет має Міністерство освіти і науки України http://mon.gov.ua/ та Інститут модернізації змісту освіти https://imzo.gov.ua

СІП-панелі у будівництві малоповерхових житлових швидкоспоруджуваних енергозберігаючих

будинків

Полістиролові кульки разом з уведеними в них графітовими частинками поміщають у форму з водяною парою, яка спонукає їх розширюватися, поки вони не заповнять усю форму. Після витягання з форми утвореної в ній плити її пакують або розрізають на частини потрібних розмірів. Через сірий колір виробів

і його схожість з кольором платини цей матеріал називають платиновим графітовим полістиролом (GPS).

Отриманий жорсткий утеплювач працює майже так само, як і традиційний експандований пінополістирол (EPS). Відмінність у тому, що графітові частинки надають новому ізоляційному матеріалу відбивальних властивостей, завдяки чому зростає його енергоефективність. Теплові промені, які надходять всередину GPS, спрямовують свій рух у напрямку холодного екрану (зовнішнього повітря). Але проходять свій шлях не по прямій, як у звичайному пінополістиролі (EPS), а ламаним шляхом через відбиття теплових променів від поверхні графітових частинок. У результаті проходження через огороджувальну конструкцію тепло суттєво уповільнюється, що і пояснює підвищення енергоефективності нового матеріалу. Експандований платиновий графітовий пінополістирол має кращі

тепло ізо ляційні властивості, ніж інші теплоізоляційні матеріали. Водночас при його виготовленні забезпечується економія сировини до 50% у порівнянні зі звичайним експандованим пінополістиролом EPS. Це сприяє захисту довкілля й економії коштів ще на стадії його виробництва.

На теплопровідність сердечника СІП-панелі впливає щільність його матеріалу. Графітові платинові утеплювачі виготовляють відповідно до вимог європейських норм, за якими матеріал вважають важкозаймистим.

У будівництві платинові утеплювачі мають універсальне застосування, особливо у будівельних конструкціях, де передбачено обмеженість за товщиною утеплювача. До того ж вони не вигорають під дією сонячного випромінювання, їх легко обробляти (різати, шліфувати без утворення пилу). Особливі властивості цього матеріалу й досвід його застосування свідчать про довговічність і надійність виготовлених з нього будівельних виробів.

Екструдований пінополістирол (XPS) має рівномірну, закриту пористу структуру з діаметром чарунок 0,1-0,2 мм.

Екструдований пінополістирол отримують шляхом змішування гранул полістиролу при підвищених температурі й тискові з додаванням спінювального агента з подальшим вичавлюванням з екструдера.

 Основними властивостями екструдованого пінополістиролу є:

● низька теплопровідність;

● висока морозостійкість;

● низька паропроникність;

● низьке водопоглинання;

● висока механічна міцність (не розсипається на гранули при ударах, розтягненні

або стискові);

● с тійкість до цементу, аміаку, рослинних масел, неорганічних і органічних кислот, їдких лугів, спиртових барвників, біологічного вивітрювання;

32
3
Право для безоплатного розміщення підручника в мережі Інтернет має Міністерство освіти і науки України http://mon.gov.ua/ та Інститут модернізації змісту освіти https://imzo.gov.ua

Â

● довговічність (тривале зберігання первісних характеристик — теплоізоляційні

властивості не змінюються; після численних циклів заморожування і відтавання

усі фізичні характеристики залишаються незмінними);

● безпека для людини;

● можливість зберігання екструдованого пінополістиролу на відкритій місцевості;

● екологічна чистота матеріалу.

До недоліків екструдованого пінополістиролу відносять:

● руйнування при контакті зі складними вуглеводами, наприклад, полівінілхлоридом (сайдинг);

● горючість (компенсацією є здатність до самозгасання);

● підтвердженість дії ультрафіолетового випромінювання (зокрема і застосування у відкритому вигляді);

● обмеження при утепленні похилих покрівель, лазень, саун (температура вище 75° С не повинна досягати утеплювача).

 Екструдований пінополістирол використовують у таких галузях будівництва:

● промис лове, цивільне, індивідуальне (утеплення покрівельних і підлогових покриттів, фундаментів, стін, підземних споруд, комунальних систем, а також реконструкція будівель промислового призначення і житлового фонду);

● дорожнє й аеродромне (теплоізоляція, утеплення та ремонт дорожніх і аеродромних покриттів);

● сільське (тваринницькі ферми, овочесховища, парники, теплиці);

● виготовлення сендвіч-панелей;

● холодильна промисловість (рефрижераторні секції, ізометричні контейнери, холодильники промислового призначення).

Отже, екструдований пінополістирол (XPS) має суттєві відмінності

від експандованого пінополістиролу (EPS).

У пінопласту й екструдованого пінополістиролу різні коефіцієнти теплопровідності. Залежно від марки у пінопласту він складає 0,042–0,036 Вт/мС, а у екструдованого пінополістиролу 0,035–0,026 Вт/мС. Це свідчить про те, що можна утеплити ту ж саму площу огороджувальної конструкції більш тонкими листами й отримати той самий ефект теплозберігання як і при використанні більш товстих шарів пінопласту. До того ж екструдований пінополістирол значно твердіший, ніж експандований пінополістирол. Технічні характеристики плит із екструдованого пінополістиролу представлено у табл. 3.7.

Таблиця 3.7

Технічні характеристики плит із екструдованого пінополістиролу (XPS)

ХарактеристикаРозмірністьПоказник Метод випробування

33 3.4. Складові СІП-панелей
Щільність кг/м3 від 33,0 до 38,0ДСТУ БВ.2.7­8 Міцність на стиск при 10% лінійній деформації, не менше МПа 0,25 ДСТУ БВ.2.7­8 Право для безоплатного розміщення підручника в мережі Інтернет має Міністерство освіти і науки України http://mon.gov.ua/ та Інститут модернізації змісту освіти https://imzo.gov.ua

СІП-панелі у будівництві малоповерхових житлових швидкоспоруджуваних енергозберігаючих будинків

Продовження таблиці

ХарактеристикаРозмірністьПоказник Метод випробування Межа міцності при статичному

Водопоглинання за 24 години, не

Плити із екструдованого пінополістиролу можна зберігати на відкритих майданчиках в оригінальній упаковці. При виборі клеєвих складів варто керуватись вказівками виробника. Плити є хімічно стійкими до сумішей речовин на водній основі для захисту деревини, вапна, цементу. Деякі органічні речовини (ацетон, етилацетат, нафтовий толуол), а також кам’яновугільна смола, речовини для захисту деревини, розріджувачі фарб можуть призвести до розм’якшення або усадки екструдованих пінополістиролів.

 Порівнюючи платиновий графітовий експандований полістирол (GPS) зі звичайним екструдованим пінополістиролом (XPS), можна констатувати, що:

● платинові плити GPS не зменшуються у розмірах з плином часу, що свідчить про сталі умови теплозбереження при використанні утеплювача GPS. При цьому витрати на опалення на 10–25% менші, ніж при використанні (XPS);

● забезпечують довгострокове зберігання вологостійкості;

● забезпечують виняткову паропроникність, що дає змогу утеплювати огороджувальні конструкції, збудовані із паропроникних матеріалів (керамічної цегли, блоків поризованої кераміки, чарункового бетону) без ризику їхнього зволоження конденсованою вологою;

● матеріал (GPS) ідеально підходить для утеплення просторово-обмежених зон, завдяки більш високому значенню R (теплового спротиву) для тієї ж товщини утеплювача;

● ізолювальні значення R збільшуються зі зниженням температури.

У таблиці 3.8 наведено порівняльні характеристики теплоізоляційних матеріалів із XPS, EPS, пінополіуретану і мінеральної вати.

34 3
вигині МПа 0,4­0,7 ДСТУ БВ.2.7.38
більше % за об’ємом 0,1 ДСТУ БВ.2.7.38 Водопоглинання за 30 діб, не більше % за об’ємом 0,4 ДСТУ БВ.2.7.38 Категорія вогнестійкості група Г1; В2; Д3; РП1 –Коефіцієнт теплопровідності при (25±5)° С Вт/м·С 0,03 ДСТУ БВ.2.7­105 Коефіцієнт паропроникності мг/м·год·Па 0,018 ДСТУ БВ.2.7­253 Стандартні розміри: ширина довжина товщина мм 600 1250 20, 30, 40, 50, 60, 80, 100 –Температурний діапазон
° С ­50...+70 –
експлуатації
Право для безоплатного розміщення підручника в мережі Інтернет має Міністерство освіти і науки України http://mon.gov.ua/ та Інститут модернізації змісту освіти https://imzo.gov.ua

Таблиця 3.8

Порівняльна характеристика теплоізоляційних матеріалів із XPS, EPS, пінополіуретану і мінеральної вати

EPS Пінополіуретан Мінеральна ватаПлити XPS Екстраплекс

Відкрита чарункова структура

Існує як відкрита, так і закрита чарункова структура

В олокна розташовано хаотично в горизонтальному і вертикальному напрямках

Погано пропускає вологуМайже не пропускає вологуНе поглинає вологу через гідрофобізацію

Закрита (герметична) чарункова структура

Не пропускає вологу

Легкий матеріалЛегкий матеріалЛегкий матеріалСередньо легкий матеріал

Середня міцністьНизька міцністьСередня міцністьВисока міцність

Середній показник стійко­

сті на стиск

Ни зький показник стійкості на стиск

Не токсичний Не токсичний, при температурі 500° С виділяє чадний і вуглекислий газ

Показники стійкості на стиск

від низьких до середніх

Високий показник стій­

кості на стиск

Не токсичний Не токсичний

Придатний для використання під високим навантаженням

Придатний для використання під високим навантаженням

Не прид атна для використання під високим навантаженням

Придатний для використання під високим навантаженням Достатньо довговічнийДостатньо довговічний Довговічний

Довговічний

Прак тично не підпадає під вплив ультрафіолету Стійка до ультрафіолетуПрактично не підпадає під вплив ультрафіолету Щільність 25 кг/м3 Щільність 54–55 кг/ м3 Щільність 100–120 кг/ м3 Щільність 33,0–38,0 кг/ м3

Підпадає під вплив ультрафіолету

Термічний спротив залеж­

но від товщини шару від

1,35 при товщині 50 мм до

6,76 при 250 мм Вт/м2К

Коефіцієнт теплопередачі

Вт/мК 0,037

Термічний спротив залежно

від товщини шару від

1,85 при товщині 50 мм до

9,26 при 250 мм Вт/ м2К

Термічний спротив залежно від товщини шару від

1,19 при товщині 50 мм до

5,95 при 250 мм Вт/ м2К

Термічний спротив залежно від товщини

шару від 1,66 при тов­

щині 50 мм до 8,33 при 250 мм Вт/ м2К

Коефіцієнт теплопередачі

Вт/мК 0,029 Коефіцієнт теплопередачі

Вт/мК 0,042

Коефіцієнт теплопереда­

чі Вт/мК 0,03

З метою покращення фізико-механічних характеристик екструдованого пінополістиролу у склад XPS було додано частинки високочистого графіту. У результаті досліджень, проведених з екструдованим графітовим полістиролом, визначили показники його фізико-технічних характеристик.

Варто зазначити, що домішки графіту до екструдованого пінополістиролу сприяють зменшенню коефіцієнта теплопровідності до значення 0,029 Вт/мК і підвищенню міцності матеріалу.

Контрольні запитання

1. Які особливості газонаповнених матеріалів?

2. Схарак теризуйте теплоізоляційну

35 3.4. Складові СІП-панелей
здатність
Право для безоплатного розміщення підручника в мережі Інтернет має Міністерство освіти і науки України http://mon.gov.ua/ та Інститут модернізації змісту освіти https://imzo.gov.ua
пінополіуретану.

СІП-панелі у будівництві малоповерхових житлових швидкоспоруджуваних енергозберігаючих

будинків

3. Схарак теризуйте теплопровідність пінополіізоціанурату.

4. Що таке пінополістирол?

5. На які властивості пінополістиролу впливає його щільність?

6. Що таке експандований полістирен?

7. Який пінополістирол використовують при виготовленні СІП-панелей?

8. Що таке платиновий графітовий полістирен (GPS), чим він відрізняється від звичайного експандованого пінополістиролу?

9. Як отримують екструдований пінополістирол (XPS)?

10. Чим відрізняється екструдований пінополістирол (XPS) від експандованого пінополістиролу (EPS)?

 Тестові завдання

1. Яку товщину має полімерне покриття металевої обшивки покрівельних сендвіч-панелей?

а) 0,2–0,4 мм;б) 0,3–0,4 мм;в) 0,5–0,7 мм;г) більше ніж 0,7 мм.

2. Який нахил можна надавати покрівельним сендвіч-панелям?

а) 2°; б) 3°; в) 4°; г) від 5° і вище.

3. Яка товщина цегельної кладки заміняє сендвіч-панель з пінополіуретаном товщиною 50 мм?

а) 30 см;б) 50 см; в) 80 см;г) 100 см.

4. Який повздовжній тиск може витримати СІП-панель?

а) 5 т; б) 7,5 т; в) 10 т; г) більше ніж 10 т.

5. Який поперечний тиск на 1м2 може витримати СІП-панель?

а) 400 кг;б) 700 кг;в) 1000 кг;г) 2000 кг.

6. Скільки видів ОСП виробляють?

а) Два; б) три; в) чотириг) більше чотирьох.

7. Яка довжина стружки при виготовленні ОСП?

а) 40 мм;б) 60 мм;в) 75 мм;г) більше ніж 75 мм.

8. Яка ширина стружки при виготовленні ОСП?

а) 10 мм;б) 15–25 мм;в) 40–60 мм;г) більше ніж 60 мм.

9. Яке набухання мають плити ОСП-3?

а) 10%; б) 12%; в) 15%; г) більше ніж 15%.

10. Який модуль пружності при

а) 2800 н/мм2;б) 3000 н/мм2;в) 3500 н/мм2; г) більше ніж 3500 н/мм2.

36 3
по повздовжній осі
вигині
має плита ОСП-3?
Право для безоплатного розміщення підручника в мережі Інтернет має Міністерство освіти і науки України http://mon.gov.ua/ та Інститут модернізації змісту освіти https://imzo.gov.ua

11. Який модуль пружності при вигині по поперечній осі має плита ОСП-3?

а) 800 н/мм2;б) 1000 н/мм2;в) 1200 н/мм2;г) 1400 н/мм2

12. Яку товщину мають магнезитові плити?

а) 6–8 мм;б) 8–12 мм;в) 10–14 мм;г) більше ніж 14 мм.

13. Як оцінюють довговічність пінополіуретану?

а) 15–20 років;б) 25–30 років;в) 30–50 років;г) більше ніж 50 років.

14. Яку теплопровідність має пінополіізоціанурат?

а) 0,01–0,015 Вт/мК;

б) 0,015–0,018 Вт/мК;

в) 0,02–0,022 Вт/мК;

г) більше ніж 0,02–0,022 Вт/мК.

15. Який коефіцієнт теплопровідності має екструдований пінополістирол?

а) 0,045–0,036 Вт/мК; б) 0,035–0,026 Вт/мК; в) 0,03–0,025 Вт/мК;

г) менше ніж 0,025 Вт/мК.

16. Який коефіцієнт паропроникності має екструдований пінополістирол?

а) 0,014;б) 0,015; в) 0,018;г) більше ніж 0,018.

17. Яку щільність має екструдований пінополістирол?

а) Від 45 до 48 кг/м3; б) від 40 до 45 кг/ м3;

в) від 33 до 38 кг/ м3; г) від 25 до 30 кг/ м3.

37
3.4. Складові СІП-панелей
Право для безоплатного розміщення підручника в мережі Інтернет має Міністерство освіти і науки України http://mon.gov.ua/ та Інститут модернізації змісту освіти https://imzo.gov.ua

і сендвіч-панелей

РОЗДІЛ 4. ВИРОБНИЦТВО СІП-ПАНЕЛЕЙ

СЕНДВІЧ-ПАНЕЛЕЙ

4.1. Технологічні операції з виробництва СІП-панелей

Виробництво СІП-панелей (рис. 4.1) — це складний процес, під час якого

необхідно склеїти між собою дві плити ОСП-3 і плиту з пінополістиролу ПСП-С25. Цей процес вимагає точного дотримання технологічних етапів (операцій).

Основний етап процесу виробництва СІП-панелей — це нанесення клею на елементи СІП-панелі. Його можна вважати визначальним етапом створення панелі, зважаючи на те, що забрусована СІП-панель виконує функцію несучого будівельного елементу огороджувальної стінової конструкції.

Отже, дуже важливою є міцність з’єднання складових елементів сендвіча, а саме ОСП-3 і пінополістиролу ПСП-С25. Надійність цього з’єднання визначається адгезією підготовлених матеріалів, клеєм і його точним нанесенням у визначеній кількості на кожний квадратний метр матеріалу. Доза клею, яку треба нанести на матеріал, згідно з технічними умовами повинна дорівнювати 110–140 г на 1 м2. Такої точності можна досягти тільки завдяки

Рис. 4.1. Виробництво, штабелювання та

майданчик

38 4
Виробництво СІП-панелей
І
підготовка СІП-панелей до транспортування на
Право для безоплатного розміщення підручника в мережі Інтернет має Міністерство освіти і науки України http://mon.gov.ua/ та Інститут модернізації змісту освіти https://imzo.gov.ua
будівельний

Рис. 4.3. Сформований стос із СІП-панелей під пресом

автоматичному нанесенню. Тому головним устаткуванням для виробництва СІП-панелей є

автоматичний пристрій для нанесення клею. Конструкцією пристрою для нанесення

клею враховано цілу низку необхідних умов, за яких зроблена СІП-панель відповідає необхідній міцності й довговічності. Дотримано основні параметри підготовки й нанесення клею, а саме: необхідний температурний режим і точно визначену кількість клею і води. Ці параметри зазначають на пульті управління установки (рис. 4.2).

Для склеювання СІП-панелей використовують однокомпонентний поліуретановий клей. Часу відкритої витримки клею, при якому не починається хімічна реакція, достатньо, щоб сформувати в одному пресі стос із семи панелей товщиною 160 мм кожна (рис. 4.3). Для завантаження другого преса операції повторюють. Після витримування під пресом протягом 10 хви лин готову панель транспортером подають на приймальний стіл, з якого вручну або вантажопідйомними механізмами із пневмоприсмоктувачами складають у цеху. За одну зміну можна виготовити до 120 пан елей. Цієї кількості СІП-панелей достатньо, щоб сформувати комплект для спорудження будинку площею забудови у 100–120 м 2. Кожна панель додатково проходить через підгонний верстат, який вичищає потрібні відступи пресованого пінополістиролу. В результаті забезпечують однаковий відступ пінополістиролу від краю плити ОСП-3 на усій партії панелей (рис. 4.4). Окрім панелей, у будинковий комплект входить закладний брус (рис. 4.5).

Рис. 4.4. Підгонний верстат, який формує відступ пінополістиролу від краю обшивки СІП-панелей

Рис. 4.5. Брус, заготовлений для з’єднання між собою СІП-панелей і стійок каркаса каркасно-панельного будинку

Право для безоплатного розміщення підручника в мережі Інтернет має Міністерство освіти і науки України http://mon.gov.ua/ та Інститут модернізації змісту освіти https://imzo.gov.ua

39
4.1. Технологічні операції з виробництва СІП-панелей Рис. 4.2 Пульт управління установки для нанесення клею

Виробництво СІП-панелей і сендвіч-панелей

Його закладають між сусідніми панелями під час їхнього монтажу й утворюють

просторовий каркас, гарантуючи ще більшу міцність огороджувальних конструкцій. Використовують тільки висушені, калібровані, оброблені антисептиком й антипіреном бруси із сосни, оскільки при будівництві каркасно-панельного будинку практичніше застосовувати хвойні породи дерев.

Як правило, виробничі процеси оптимізують так, що виробництво СІП-панелей і заготівля окремих частин будинку відбуваються паралельно з закладкою фундаменту. За цей час можна встигнути підготувати будкомплект, перевірити його якість і відправити на будмайданчик.

Контрольні запитання

1. Яка послідовність технологічних операцій з виробництва СІП-панелей?

2. Які параметри задають з пульта управління при виготовленні СІП-панелі?

3. Скільки часу витримують СІП-панель під пресом?

4. Для чого використовують підгонний верстат?

5. Із якої деревини виготовляють закладний брус і для чого його використовують?

4.2. Технології виробництва сендвіч-панелей

При будівництві каркасних малоповерхових енергоощадних житлових будинків, окрім СІП-панелей, можна також використовувати сендвіч-панелі стінові й покрівельні, структуру яких показано на рис. 4.6 і 4.7. Окрім житлових каркасних будинків, сендвіч-панелі широко використовують для спорудження огороджувальних конструкцій промислових, сільськогосподарських, комерційних, складських, спортивних, виставкових та інших будинків каркасного типу. Стінові й покрівельні панелі зазвичай мають металеву обшивку й сердечник з ефективних утеплювачів, мінеральної вати, скловати, пінополістиролу. Металева

Рис. 4.6. Структура стінової сендвіч-панелі: 1 — оцинкована тонколистова рулонна сталь з полімерним покриттям товщиною 0,5–0,7 мм; 2 — захисна прозора поліетиленова плівка; 3 — ламелі вати з базальтового волокна; 4 — лабіринтове замкове з’єднання «Z-LOCK»; 5 — двокомпонент-

Рис. 4.7. Структура покрівельної сендвіч-панелі: 1 — оцинкована тонколистова рулонна сталь з полімерним покриттям товщиною 0,5–0,7 мм; 2 — захисна прозора поліетиленова плівка; 3, 3а — трапецієвидна вставка з пінополістиролу або з поліуретану; 4 — лабіринтове замкове з’єднання «Z-LOCK»; 5 — двокомпонентний клей HUNTSMAN

40 4
ний
Право для безоплатного розміщення підручника в мережі Інтернет має Міністерство освіти і науки України http://mon.gov.ua/ та Інститут модернізації змісту освіти https://imzo.gov.ua
клей HUNTSMAN

Технології виробництва сендвіч-панелей

обшивка сендвіч-панелей може бути профільованою або гладкою. Для надання сендвіч-панелі стійкості до негативних впливів природних чинників й естетичного вигляду стінові (фасадні, теплоізоляційні) поверхні покривають захисними оболонками, такими як пурал, полідітмонаріад, пластизол, алюцинк тощо.

Сендвіч-панелі відрізняються малою питомою вагою, міцністю, довговічністю, високими тепло- і звукоізоляційними властивостями, стійкістю до хімічних сполук і атмосферних опадів.

Сендвіч-панелі з металевою обшивкою виготовляють у заводських умовах методом спінювання або на неперервних конвеєрних лініях.

Процес виробництва сендвіч-панелей методом спінювання починається з його підготовки. Матеріали обов’язково проходять лабораторний контроль. Також суворо відстежують дотримання усіх вхідних параметрів і технологічних режимів.

Листовий метал постачають на завод у рулонах, отже, перед тим як починати безпосередню роботу, їх потрібно розмотати. Для цього використовують розмотники у складі системи безперервної подачі металевого листа, яка забезпечує безперервність і високу швидкість роботи (рис. 4.8).

Наступна ділянка безперервної автоматизованої лінії — вузол профілювання. Він може складатися з 12 або 24 к літин (відповідно для стінових і покрівельних сендвіч-панелей). На профільовані металеві листи наносять праймер — тонкий шар клею, склад якого близький до поліуретану і при цьому має підвищену адгезію до металу.

У поліуретан додають спінювач (пентан). Компоненти змішують і формують піну. Її наносять рівномірно по площі панелі на праймерний шар. Далі панель потрапляє під гусеничний прес. Поки вона рухається у пресі довжиною 26 м, відбуваються реакції хімічних компонентів та обмеження розширення піни. У цей час формують геометрію панелі. Готові сендвіч-панелі треба правильно укласти й  запакувати. Готову продукцію транспортують на склад. Там вона не тільки чекає замовника, але й продовжує формуватись, оскільки процес триває ще де-

Рис. 4.8. Вузол розмотки сталевих рулонів з двома розмотувальними барабанами

41
4.2.
Право для безоплатного розміщення підручника в мережі Інтернет має Міністерство освіти і науки України http://mon.gov.ua/ та Інститут модернізації змісту освіти https://imzo.gov.ua

Виробництво СІП-панелей і сендвіч-панелей

кілька діб. Отже, готовим сендвіч-панелям необхідно відстоятись на складі при контрольованому температурному режимі. У кінці знову перевірка. ВТК здійснює суворий контроль якості готової продукції.

Сендвіч-панелі (а також і СІП-панелі) можна транспортувати будь-яким видом

транспорту в горизонтальному положенні згідно з правилами перевезень вантажів.

 Транспортування панелей здійснюють у пакетованому вигляді. При навантаженні й розвантаженні сендвіч-панелей необхідно виконувати такі умови:

● переміщувати тільки по одному пакету панелей;

● використовувати тільки стропи з розпірками;

● при навантаженні у транспортні засоби, наприклад, в автомобілі, треба захищати пакування панелей від прилягання до бортів автомобілів;

● усі переміщення окремих сендвіч-панелей варто проводити тільки за допомогою спеціальних монтажних пристосувань (вакуумні присмоктувачі, затискачі важільного або струбцинового типу з використанням страхувальної стрічки);

● заборонено штовхати або тягти пакети, класти на них важкі предмети, ходити по пакетах.

Сендвіч-панелі й комплектуючі деталі треба зберігати

у фабричному пакуванні на складах закритого або напівзакритого типу з дотриманням встановлених вимог пожежної безпеки.

Можливе тимчасове зберігання не більше одного місяця на відкритих майданчиках; під навісом — не більше шести місяців. Нахил горизонтальної площини складів і майданчиків має бути не менше ніж 1%. Поверхня майданчика повинна бути рівною, з твердими покриттям, без доступу води. Максимальна висота при складанні не має перевищувати висоту двох пакетів. Склад сендвіч-панелей повинен бути належно обладнаний для підіймання й опускання панелей на землю або стелажі. Рекомендовано, щоб не менше двох робітників здійснювали підйом і опускання панелей при їхньому завантажуванні й розвантажуванні.

Конвеєрне виробництво сендвіч-панелей дозволяє випускати вироби з найбільш високими експлуатаційними характеристиками. Схему потокової автоматичної лінії, призначеної для виробництва стінових і покрівельних панелей із сердечником, показано на рис. 4.9.

42
4
Рис. 4.9. Схема автоматичної лінії з виготовлення сендвіч-панелей Право для безоплатного розміщення підручника в мережі Інтернет має Міністерство освіти і науки України http://mon.gov.ua/ та Інститут модернізації змісту освіти https://imzo.gov.ua

Контрольні запитання

1. У яких випадках доцільно використовувати сендвіч-панелі з металевою обшивкою і ламелями з мінеральної вати?

2. Які захисні оболонки використовують для надання сендвіч-панелям стійкості до негативних впливів природних чинників?

3. Перелічіть властивості сендвіч-панелей.

4. Як виготовляють сендвіч-панелі з металевою обшивкою?

5. Як здійснюють транспортування і зберігання сендвіч-панелей?

6. Із яких основних вузлів складається конвеєрна лінія для виробництва сендвіч-панелей з металевою обшивкою?

4.3. Властивості та характеристики СІП-панелей

Малоповерхові швидкоспоруджувані енергоефективні будинки, зведені за СІП-технологією, набули великої популярності в Канаді, США та Європі завдяки їхнім численним перевагам і відносно невисокій ціні. Основними елементами конструкції таких будинків є СІП-панелі. Завдяки своїм властивостям СІП-панелі мають багато переваг над іншими конструкціями будинків. За міжнародними нормами СІП-технології присвоєно вищий клас енергоефективності Energy Star.

4.3.1. Теплоізоляційні властивості

СІП-панель складається з двох плит обшивки ОСП-3 і вклеєного між ними шару пінополістиролу, який використовують як утеплювач.

Що менше теплопровідність стіни, то менше енергії будуть витрачати на обігрів будинку й менше коштів на енергоносії. У середньому витрати на опалення будинку із СІП-панелей у 6–8 разів менші, ніж на опалення звичайних будинків (дерев’яних або цегляних з утепленням).

У СІП-технології великий потенціал у сфері будівництва. СІП-стіни, СІП-дах, СІП-перекриття зберігають тепло за принципом термоса. Узимку вони добре

Рис. 4.10. Порівняння товщини стін з різних матеріалів при однаковій теплопровідності

43 4.3. Властивості та характеристики
СІП-панелей
Право для безоплатного розміщення підручника в мережі Інтернет має Міністерство освіти і науки України http://mon.gov.ua/ та Інститут модернізації змісту освіти https://imzo.gov.ua

СІП-панелей і сендвіч-панелей

утримують тепло, а влітку — прохолоду. У порівнянні з енергоефективними будинками з дерев’яним або металевим каркасом і каркасно-обшивними стінами, утепленими мінеральною ватою, стіни, побудовані з СІП-панелей, мають менше містків холоду. Американська дослідницька лабораторія OAK Ridge National Laboratory встановила, що за однакової товщини стіни із СІП-панелей тепліші каркасно-обшивних стін, утеплених мінеральною ватою, більш як у 1,5 раза, а утеплених скловолокном — у 2 рази.

 Це пояснюють двома причинами:

● щільні утеплювачі у СІП-панелях значно ефективніші, ніж звичайні мінераловатні та скловатні утеплювачі каркасно-обшивних стін. Потрібно 250 мм мінеральної вати, щоб досягти еквівалентності зі 100 мм пінополістирольного сердечника СІП-панелі;

● з плином часу відбувається зниження теплоізоляційних характеристик каркаснообшивної с тіни через зволоження й осідання мінеральної вати.

Ще одна перевага СІП-технології полягає у товщині стін, які набагато тонші, ніж, наприклад, цегляні. При однаковій площі забудови у будинку із СІП-панелей корисна площа приміщень більша завдяки меншій товщині стін. Так, корисна площа будинку із СІП-панелей більша на 25–30%, ніж у будинку з цегляними стінами.

Теплова інерція житлового будинку залежить від двох чинників: кількості накопиченого тепла всередині будинку і швидкості його теплообміну з зовнішнім середовищем. У теплозберігальних СІП-будинках теплова інерція накопичується завдяки високому тепловому обміну стін. Навіть у сильний мороз і при вимкненому опаленні за добу температура в будинку із СІП-панелей знизиться всього на кілька градусів. Цей показник значно поліпшується, коли встановлюють енергоощадні вікна і двері, які підвищують теплову інерцію. Системи вентиляції будинку з рекуперацією також зменшують витрати тепла від вентиляції.

4.3.2. Фізико-механічні властивості СІП-панелей

СІП-панелі є композитним виробом, склеєним поліуретановим однокомпонентним клеєм із двох плит обшивки ОСП-3 та ізоляційним сердечником із пінополістиролу ПСБ-С25.

 Унаслідок випробування СІП-панелей розміром 2500х1250х170 мм отримано такі значення їхньої несучої здатності:

● тиск горизонтального навантаження — 2,5 тонни;

● тиск вертикального навантаження — 18 тонн.

Структурно СІП-панель можна порівняти з двотавровою балкою, у якій пінополістирольний сердечник працює як стінка двотавра, а зовнішні тверді шари обшивки — як його полиці (рис. 4.11). Що товстіший сердечник, то краще панель чинить спротив поперечному згину. При поперечному згині пінополістирол надійно приклеєний до плит і не дозволяє їм вигинатись. При поперечному зги-

44 4 Виробництво
Право для безоплатного розміщення підручника в мережі Інтернет має Міністерство освіти і науки України http://mon.gov.ua/ та Інститут модернізації змісту освіти https://imzo.gov.ua

Рис. 4.11. Порівняння роботи двотавра і сендвіч-панелі

ні завдяки пінополістиролу одна із зовнішніх плит обшивки стискається, а друга розтягується, забезпечуючи усій конструкції високу міцність на згин.

Один погонний метр стіни із СІП-панелей має несучу здатність, яка дорівнює 14,4 т. Якщо прийняти, що будинок має розміри 10х10 м, то його стіни спроможні витримати навантаження 576 т. На рис. 4.12 продемонстровано міцнісні показники СІП-панелей.

Особливо треба відзначити, що у СІП-панелях сполучається міцність і водночас гнучкість. Це дає змогу будинкам витримувати навіть сильні вітрові (типу торнадо) навантаження і землетруси без пошкодження конструкції.

Важливою є і мала вага СІП-панелей. 1 м2 СІП-панелі товщиною 174 мм важить всього від 19 кг, у той час як вага 1 м2 с тіни із цегли (товщиною 25 см) буде важити від 300 до 475 кг. Отже, будинок, побудований із СІП-панелей, приблизно у 20 разів легший, ніж цегляний. Це зумовлює можливість використання полегшених типів фундаментів під СІП-будинки.

Вага стандартної СІП-панелі становить 60 кг, а це свідчить про те, що будівництво можна вести без застосування важкої вантажопідйомної техніки. Мала вага СІП-панелей і водночас їхній великий розмір дає змогу швидко зводити будинки, що також зменшує вартість будівництва.

315 тонн

Рис. 4.12. Демонстрація високих показників міцності СІП-панелей

45 4.3. Властивості та характеристики СІП-панелей
Право для безоплатного розміщення підручника в мережі Інтернет має Міністерство освіти і науки України http://mon.gov.ua/ та Інститут модернізації змісту освіти https://imzo.gov.ua

і сендвіч-панелей

4.3.3.

Пожежостійкість СІП-будинків

Малоповерхові енергозберігаючі житлові СІП-будинки мають третій ступінь вогнестійкості, який забезпечує стримування

вогню протягом однієї години.

СІП-панелі мають властивість самозгасання завдяки антипірену.

Герметичність будинку і щільні стикові з’єднання панелей перешкоджають задимленню приміщень і розповсюдженню вогню. Під час горіння СІП-панелі продукують у 7 разів менше теплової енергії, ніж деревина, і на порядок менше отруйних речовин, що суттєво знижує небезпеку задухи у випадку перебування людей усередині будинку під час пожежі.

Варто мати на увазі, що навіть негорючі цегляні стіни не захищають будинок ні від пожежі, ні від підпалу. Пожежі можуть відбуватися у будь-яких будинках незалежно від матеріалу стін. Цегляні стіни не горять. За статистикою саме домашні речі й матеріали внутрішнього опорядження огороджувальних конструкцій стають об’єктами загоряння і саме вони є джерелом поширення вогню.

Головною вимогою до будівельних об’єктів є забезпечення під час їхнього проєктування, спорудження, реконструкції і подальшої експлуатації таких умов, реалізація яких перешкоджала би виникненню і розповсюдженню пожежі та створила максимальні можливості для рятування людей, тварин і матеріальних цінностей. Окрім забезпечення вимог з вогнестійкості будівельних конструкцій будинків і споруд, для запобігання збитків від пожежі необхідно проводити профілактичні протипожежні заходи, зокрема роз’яснювальну і просвітницьку роботу, встановлення попереджувального, сповіщувального, запобіжного обладнання і такого, що ліквідуватиме пожежу, а також улаштування протипожежних перешкод на основних шляхах евакуації та протипожежного захисту.

4.3.4. Звукоізоляційні властивості СІП-панелей

Звук виникає й поширюється у вигляді механічних коливань (хвиль) у твердому, рідкому й газоподібному середовищах. Частота одного коливання за секунду дорівнює одному герцу (1 Гц).

Будівельна фізика займається вивченням звуку в діапазоні частот, доступних людському слуху, — від 16 до 20 000 Гц.

Надмірний або небажаний

звук називають шумом. Шум створює дискомфорт і може бути серйозною загрозою здоров’ю людей.

Шуми як звукові хвилі можуть поширюватись у повітрі, й у цьому випадку вони називаються повітряними шумами; у твердих тілах йдеться про корпусний шум. Корпусний шум, що виник у матеріалах перекриттів і сходових маршів, називають ударним шумом. Ударний шум може також передаватися через матеріали стін і перегородок.

Опір огороджувальної конструкції (стіни, підлоги, стелі, дах), що перешкоджає передачі й поширенню шуму, називають звукоізоляцією. Залежно від середовища поширення звуку звукоізоляція може бути ізоляцією від повітряного шуму або ж ізоляцією від корпусного (ударного) шуму. Захист людей від шуму в житлі й на робочих місцях є одним з головних завдань будівельної фізики, про-

46 4 Виробництво СІП-панелей
Право для безоплатного розміщення підручника в мережі Інтернет має Міністерство освіти і науки України http://mon.gov.ua/ та Інститут модернізації змісту освіти https://imzo.gov.ua

4.3. Властивості та характеристики СІП-панелей

єктування і зведення будинків та споруд. Здатність матеріалів пропускати звук залежить від його частоти.

У будівельній акустиці розглядають діапазон частот від 100 до 3 500 Гц. Саме в цьому діапазоні перебуває більшість звуків у приміщеннях будинків.

Для ефективної боротьби з шумом використовують спеціальні звукоізоляційні матеріали

Як і всі аналогічні шаруваті вироби, СІП-панелі ізолюють від повітряних шумів в області високих частот (до 70 дБ). Для підвищення ефективності шумоізоляції використовують багатошарові

конструкції. Так, наприклад, оздоблення СІП-стін гіпсокартоном значно покращує звукоізоляцію. Через СІП-панель товщиною 160 мм, оброблену гіпсокартоном в один шар, шум від телевізора або гучної розмови з сусідньої кімнати практично не проникає. Шум з вулиці проникає в будинок переважно через прорізи вікон і дверей і поширюється у приміщення через нещільно зачинені двері між сусідніми кімнатами. Отже, загальним правилом для усіх будинків незалежно від стінових матеріалів є ретельна звукоізоляція прорізів вікон і дверей.

Ударний шум у будинках передається через міцні конструкційні матеріали, через перекриття, у тому числі крізь СІП-перекриття. Тому СІП-перекриття улаштовують тільки на першому поверсі. Ударний шум проникає через перекриття у вигляді повітряного шуму, а крізь стіни, що прилягають до перекриття, — як власне ударний.

Проєктуючи звукоізоляцію приміщень від повітряного шуму, необхідно мати

на увазі, що звук розповсюджується не тільки безпосередньо через огороджувальну конструкцію, але й непрямими шляхами звукопередачі, наприклад, через несучі примикаючі тверді стіни й перекриття, через вентиляційні шахти й канали, трубопроводи й нещільності в місцях з’єднання огороджувальних конструкцій.

4.3.5. Екологічність СІП-будинків

СІП-панелі — це відносно новий будівельний виріб для України. Проте він

довів свою ефективність уже в багатьох країнах. СІП-панелі складаються із матеріалів, які задовольняють високі вимоги екологічної безпеки.

Плити ОСП-3 на 90% ск ладаються із доброякісної дрізки дерев, а не із відходів, решта 10% — це натуральні смоли, наповнювачі, синтетичний віск і сіль борної кислоти, яка підсилює захисні властивості ОСП.

На дрізку використовують не будівельний ліс, а спеціальні дерева, які швидко ростуть. Отже, сучасні плити ОСП не містять фенолу, формальдегіду, бутанолу. Звісно, формальдегід є у СІП-панелях, як і у будь-яких натуральних матеріалах, зокрема і в деревині, але його вміст усього 0,1 ррm. Такий показник відповідає будівельному матеріалу класу Е1. Цей клас є свідченням високого показника безпеки.

Пінополістирол виробляють зі стиролу — екологічно безпечної речовини, яка міститься у певних продуктах харчування, наприклад, у суниці, деяких горіхах і фруктах. Цей матеріал — гіпоалергенний. У світовому виробництві його використовують навіть для виготовлення харчового пакування і посуду.

Дослідили, що будинки із СІП-панелей потребують на 50% менше енергії для теплообміну, ніж будинки з каркасно-обшивними стінами або з бруса.

47
Право для безоплатного розміщення підручника в мережі Інтернет має Міністерство освіти і науки України http://mon.gov.ua/ та Інститут модернізації змісту освіти https://imzo.gov.ua

СІП-панелей і сендвіч-панелей

Кам’яні (цегляні) або шлако-газоблочні будинки ще більш енергозатратні й тому порівняння їх з будинками із СІП-панелей взагалі не має сенсу. Це значить, що при експлуатації СІП-будинків витрачають менше палива і, відповідно, значно менший викид в атмосферу парникових газів. Оскільки СІП-будинки — справді термоси, то це дозволяє знизити потужність систем обігріву й охолодження приміщень, роблячи СІП-будинок ще більш екологічним. Дуже суттєвим є і той

факт, що після спорудження СІП-будинку залишається значно менше будівельного сміття, що сприяє збереженню довкілля.

Що стосується пиломатеріалів, які використовують при стикуванні СІП-панелей, виготовленні перекриттів, крокв, покрівлі, підлог, перегородок, сходів, то це

чистий хвойний ліс, оброблений згідно з науковими рекомендаціями і вимогами чинних будівельних норм.

За даними сайту Eco Holdings engineering services, Texas, USA-2007, будинки із СІП-панелей за використанням будівельних матеріалів і подальшим обслуговуванням належать до «зелених» будинків (Green Houses).

4.3.6. Довговічність СІП-будинків

 Насамперед надійність і довговічність будь-якої будівлі залежить від:

● к лімату місцевості, де побудовано будинок;

● якості проєктної документації, у тому числі інженерно-геологічних умов основ будівлі;

● якості матеріалів, які використовують при будівництві;

● кваліфікації, досвіду і майстерності будівельників;

● дотримання чинних будівельних правил і норм у процесі будівництва;

● точного виконання технологічних операцій при зведенні будинку за СІПтехнологією;

● правильної експлуатації житлового будинку.

Як свідчить практика зведення та експлуатації будинків із СІП-панелей за кордоном, вони не тільки витримують тривалі атмосферні опади і навіть повені, але також протистоять сильним вітрам. Вони також значно краще переносять руйнівні землетруси, ніж будинки інших конструкцій.

Проєктну документацію на будинок повинні розробляти з додержанням будівельних норм, рекомендацій виробника СІП-панелей, з урахуванням кліматичних та інженерно-геологічних умов будівництва, урахуванням умов замовника.

Якісні будівельні матеріали, із яких виробляють СІП-панелі, а також необхідні для їхнього монтажу кріпильні вироби та заводські умови виготовлення СІП-панелей позитивно впливають на термін служби будинку. Особливо це стосується матеріалу обшивки СІП-панелей. Оптимальним матеріалом обшивки СІП-панелей є плити ОСП-3, які у складі СІП-панелі витримують основні конструктивні навантаження.

Другою складовою СІП-панелей є пінополістирол високої щільності. Замовник СІП-панелей може обрати як сердечник звичайний білий експандований пінополістирол ПСП-С25. Він стійкий до дії вологи, що дає змогу використовувати його у вологому кліматі. Для покращення цієї властивості СІП-панелі покривають спеціальним водовідштовхувальним розчином. Сертифікований пінополістирол, за свідченням виробника, має термін служби не менше 100 років.

48 4
Виробництво
Право для безоплатного розміщення підручника в мережі Інтернет має Міністерство освіти і науки України http://mon.gov.ua/ та Інститут модернізації змісту освіти https://imzo.gov.ua

Третій за рахунком матеріал, який впливає на міцність і довговічність СІПбудинку, — це калібрований брус. Наприклад, сухий клеєний брус, вологість якого не перевищує 12%. Брус одночасно виконує два призначення. Він є стиковим елементом для з’єднання сусідніх СІП-панелей і стійкою каркаса стінової огороджувальної конструкції. Брус по всій його висоті захищений від агентів атмосфери якісною ОСП, фасадним матеріалом і внутрішнім опорядженням стіни. Зазначмо, що перед створенням СІП-панелі усі її складові частини проходять суворий лабораторний контроль. Вони повинні мати сертифікати, які засвідчують їхню якість.

Не менш важливим чинником, який суттєво впливає на довговічність будівлі, є кваліфікація, досвід і  майстерність будівельників, їхня обізнаність з правилами поводження з СІП-панелями, закріпленими у проєктному положенні. Водночас виконання технологічних процесів, їхня послідовність і точність потребує ретельного контролю з боку досвідченого майстра або виконроба.

Можна зробити висновок, що СІП-будинки споруджують із високоякісних і надійних матеріалів та виробів, тому вони можуть служити не менше як цегляний будинок (75 років), будинок із газоблоків (50 років), дерев’яний будинок (100 років). Вважають, що сучасні СІП-будинки матимуть термін служби не менше 80–100 років.

Довговічності СІП-будинків сприяє також і той факт, що їх не пошкоджують гризуни. Це підтверджено багатьма десятиліттями експлуатації цих будинків не тільки як житла, але і як складів, магазинів тощо. Будинки із СІП-панелей герметичні, вони не мають щілин, що обмежує вільний доступ гризунів у приміщення. Крім того, під підлогою із СІП-панелей не утворюється теплий простір, бо панелі майже не проводять тепла. Прогризти ОСП також не можна, оскільки друзка у складі ОСП тверда і крихка, як скло. Отже, ОСП є непереборним бар’єром для гризунів. Щодо утеплювача (пінополістиролу), то він надійно захований за ОСП плитами, його не засвоюють тварини й мікроорганізми, тому не використовують як корм. Крім того, пінополістирол не створює середовища для грибків і бактерій, а обшивка панелей запобігає розповсюдженню мікроорганізмів і комах.

4.3.7. Швидкість спорудження

Темпи будівництва малоповерхових споруд із СІП-панелей набагато перевищують зведення будівель із традиційних матеріалів за традиційними технологіями.

СІП-будинків

Швидкого спорудження (від 15 днів до 3–4 місяців) досягають завдяки високому ступеню заводської готовності конструкцій будинку, які виготовляють у заводських цехах згідно з проєктною документацією.

Поки на заводі готують домокомплект, будівельники закладають під СІП-будинок легкий фундамент зі стовпів з рандбалками.

На готовому фундаменті бригада

Для зведення будівлі не потрібні ні підйомні крани, ні велика кількість робітників, ні мокрі технологічні процеси. Установлення СІП-панелей охоплює одразу декілька процедур: установлення дерев’яного каркаса, внутрішньої та зовнішньої обшивки,

49 4.3. Властивості
та характеристики СІП-панелей
із 6–8 робітників збирає коробку будівлі з покрівлею за 10–15 днів. Право для безоплатного розміщення підручника в мережі Інтернет має Міністерство освіти і науки України http://mon.gov.ua/ та Інститут модернізації змісту освіти https://imzo.gov.ua

Виробництво СІП-панелей і сендвіч-панелей

утеплювача, вітрозахисту, що у порівнянні з каркасно-обшивними стінами значно скорочує час будівництва.

Â Гіпсокартон монтують на внутрішню обшивку СІП-панелі без використання металевих профілів. Це, крім економії коштів, забезпечує надійний ефект:

● підвищується пожежна стійкість будинку;

● покращується шумоізоляція.

Оскільки СІП-будинки практично не дають осадки, то відразу після завершення спорудження коробки будинку можна починати оздоблювальні роботи.

Контрольні запитання

1. Схарак теризуйте теплоізоляційні властивості СІП-панелей.

2. Якими заходами забезпечують пожежну безпеку СІП-будинку?

3. Чим харак теризують вогнестійкість будівельних конструкцій?

4. Що називають шумом? Які бувають шуми у будинках?

5. За допомогою чого можна значно покращити звукоізоляцію у будинку?

6. Чим доведено високі екологічні якості СІП-будинків?

7. Від чого залежить швидкість спорудження СІП-будинку?

4.4. Основні характеристики стінових і покрівельних

сендвіч-панелей

4.4.1. Матеріали для обшивки стінових і покрівельних

сендвіч-панелей

Оптимальним вибором матеріалу обшивки сендвіч-панелей є оцинкована сталь з полімерним покриттям, яке забезпечує довгий термін експлуатації зі збереженням експлуатаційних характеристик.

 Залежно від призначення й умов експлуатації сендвіч-панелей використовують декілька видів полімерного покриття. Найбільш поширеними є такі:

● поліестер (РЕ) — стандартне покриття для опорядження більшості будівель без специфічних вимог. Виробляють із поліефірів, має волокнисту структуру. Добре витримує вплив високих температур. Таке покриття не вигорає, має стійкість до механічних впливів;

● полівінілхлорид (PVC) — плівкове покриття, яке застосовують на об’єктах з підвищеною вологістю у харчовій і фармацевтичній промисловості в агресивних умовах впливу миття і прання. Пластизол — це модифікований за допомогою пластифікаторів полівінілхлорид. Застосовують як для зовнішнього, так і внутрішнього опорядження поверхонь;

● поліуретан PURAL — речовина, яку отримують із модифікованого поліамідом поліуретану. Захищає поверхню від корозії, вигорання,

50 4
має підвищену стійкість Право для безоплатного розміщення підручника в мережі Інтернет має Міністерство освіти і науки України http://mon.gov.ua/ та Інститут модернізації змісту освіти https://imzo.gov.ua

4.4. Основні характеристики стінових і покрівельних сендвіч-панелей

до механічних пошкоджень і дії хімічно активних речовин. Застосовують як зовні, так і всередині будівель;

● полівінілдіфторид PFDF (HIARC) — стійке до вицвітання покриття, яке довго зберігає кольорове насичення, тому його рекомендують для фасадів будівель, розташованих у зоні підвищеної сонячної активності;

● алюцинк — це сплав алюмінію і цинку (56% алюмінію, 43,4% цинку, 1,6 % кремнію). Покриття відбиває ультрафіолетове випромінювання.

На рис. 4.13 зображено структуру листового сталевого покриття.

Як сердечник (утеплювач) у стінових і покрівельних панелях можуть використовувати мінеральну вату.

Мінеральна вата  — це один із найбільш затребуваних утеплювачів для сендвіч-панелей. Це волокнистий матеріал, який отримують із розплаву шлаків і гірських порід або їхньої суміші.

Рис. 4.13. Структура листової сталі: 1 — сталевий лист; 2 — цинк; 3 — шари пасивації; 4 — ґрунт; 5 — полімерне покриття; 6 — захисний лак

Через негорючість мінеральну вату використовують у стінових і покрівельних панелях з металевою обшивкою як тепло-, звукоізоляцію сердечника панелі — зокрема мінеральну вату у вигляді плит. Для підвищення несучої здатності стінових і покрівельних сендвіч-панелей плити мінеральної вати розрізають на смуги (ламелі) і розвертають на 90°.

 Плити мінеральної вати мають такі властивості:

● низька теплопровідність;

● високий коефіцієнт звукопоглинання;

● негорючі;

● с тійкі до дій мікроорганізмів і гризунів;

● хімічно нейтральні — не підвищують корозійну активність зовнішнього середовища при контакті з металами;

● зберігають об’єм і форму при зміні температури;

● не насичуються водою — гідрофобізовані у всьому перерізі;

● потребують зберігання із захистом від атмосферних опадів;

● середні показники міцності на стиск, зсув, розшарування.

Плити мають такі стандартні розміри: товщина — 102, 118, 122 мм; ширина — 627 мм; довжина — 1200, 1500 мм. Нестандартний розмір — за погодженням із виробником.

4.4.2. Профілювання металевої обшивки стінових і покрівельних сендвіч-панелей

та їхні стикові з’єднання

51
Виробничі лінії заводів сендвіч-панелей дозволяють виготовляти різні типи профілювання верхньої та нижньої обшивки стінових і покрівельних панелей. Для стінових сендвіч-панелей пропонують такі типи профілів: гладкий, Право для безоплатного розміщення підручника в мережі Інтернет має Міністерство освіти і науки України http://mon.gov.ua/ та Інститут модернізації змісту освіти https://imzo.gov.ua

А. Гладкий профіль

і сендвіч-панелей

Б. Мікрохвиля

В. Стандарт

Д. Покрівельний стандарт

Г. Трапеція

Е. V-профіль

Рис. 4.14. Типи профілювання стінових і покрівельних сендвіч-панелей

мікрохвиля, стандарт, V-профіль, трапеція. Для покрівельних сендвіч-панелей використовують покрівельний стандарт (рис. 4.14).

Високі експлуатаційні характеристики будинків і споруд із сендвіч-панелей залежать від стиків панелей , які забезпечують міцність з’єднання конструкції, відсутність містків холоду, не допускають проникнення водяної пари в утеплювач і сприймають термічні зміни розмірів сендвіч-панелей. Для рішення цих задач виробники сендвіч-панелей розробили різні конструктивні замкові з’єднання

4.4.3. Основні характеристики, несуча здатність

і теплоізоляційні показники стінових

і покрівельних сендвіч-панелей

 До основних переваг стінових і покрівельних сендвіч-панелей належать:

● тривалий термін служби;

● невелика питома вага;

● ес тетичний зовнішній вигляд;

● оптимальні тепло- і звукоізоляційні властивості;

● вогнестійкість;

● швидкіс ть і легкість монтажу;

● висока практичність і простота експлуатації.

52 4 Виробництво
СІП-панелей
Право для безоплатного розміщення підручника в мережі Інтернет має Міністерство освіти і науки України http://mon.gov.ua/ та Інститут модернізації змісту освіти https://imzo.gov.ua

4.4. Основні характеристики стінових і покрівельних сендвіч-панелей

Несуча здатність стінових сендвіч-панелей, які навішують на каркас будівель, залежить від товщини теплоізоляційного сердечника, товщини металевої обшивки і типу профілювання сендвіч-панелей, ширини майданчика обпирання, перепаду температур (у нерозрізних схемах). Розрахункову несучу здатність стінових сендвіч-панелей з сердечником з мінеральної вати при рівномірно розподіленому навантаженні й однопрогоновій схемі обпирання наведено у табл. 4.1.

Таблиця 4.1

Розрахункова несуча здатність стінових сендвіч-панелей

з сердечником із мінеральної вати при рівномірно розподіленому навантаженні, кг/м2

Розрахункова товщина сендвічпанелі,

При проєктуванні будинків необхідно дотримуватися сучасних вимог щодо теплової ізоляції будівель (ДБН В.2.6–31:2016). У табл. 4.2 і 4.3 наведено теплоізоляційні характеристики стінових і покрівельних сендвіч-панелей.

Таблиця 4.2 Теплоізоляційні характеристики стінових сендвіч-панелей

з сердечником із мінеральної вати Найменування показника Значення показників теплоізоляційного сердечника Товщина сердечника, мм 6080100120150200250 Розрахунковий опір теплопередачі, м2•°С/Вт

Виміряний опір теплопередачі, м2•°С/Вт ­ 1,912,322,963,164,38Таблиця 4.3 Теплоізоляційні характеристики покрівельних сендвіч-панелей

з сердечником із мінеральної вати Найменування показника Значення показників теплоізоляційного сердечника Товщина сердечника, мм 6080100120150200250 Розрахунковий опір теплопередачі, м2•°С/Вт 1,241,511,92,393,073,995,17 Виміряний опір теплопередачі, м2•°С/Вт ­ ­ 2,42,823,45 ­ ­

Тришарові стінові й покрівельні сендвіч-панелі відповідають усім сучасним вимогам теплозахисту будівель і забезпечують вищу якість теплоізоляції, ніж традиційні будівельні матеріали (цегла, пористий бетон, керамзито-бетон тощо).

53
мм Довжина прогону 1,52,02,53,03,54,04,55,05,56,06,57,08,09,0 6018013510585705030 ­ ­ ­ ­ ­ ­802071701501241059071 ­ ­ ­ ­ ­ ­100336246198165142128110907560483827120340238196170152130110907868564028 150 3252552121851681451089884705035 200 340286250212190152122105906852 250 3703152702291861501281108265
1,241,511,92,393,073,995,17
Право для безоплатного розміщення підручника в мережі Інтернет має Міністерство освіти і науки України http://mon.gov.ua/ та Інститут модернізації змісту освіти https://imzo.gov.ua

4 Виробництво СІП-панелей і сендвіч-панелей

Мінімально допустиме значення коефіцієнта теплопередачі для будівель різного призначення і різних кліматичних регіонів регламентовано ДБН В.2.6–31:2011 «Теплова ізоляція будівель». Ступінь теплозахисту будівель і споруд залежить від числа градусо-діб опалювального періоду конкретного регіону за ДБН В.1.2–7–2008.

4.4.4. Вогнестійкість стінових і покрівельних

сендвіч-панелей

Будівельні конструкції характеризуються вогнестійкістю і пожежною безпекою відповідно до ДБН В.1.2–7-2008 «Основні вимоги до будівель і споруд. Пожежна безпека».

Показником вогнестійкості є межа вогнестійкості, пожежну безпеку характеризує клас її пожежної небезпеки.

 Межа вогнестійкості будівельних конструкцій встановлюють за часом (у хвилинах) настання однієї або послідовно декількох ознак граничних станів:

● втрати несучої здатності (R);

● втрати цілісності (E);

● втрати теплоізоляційної здатності (I). Цифрове значення відповідає часу досягнення граничного стану у хвилинах. У результаті натурних випробувань сендвіч-панелей отримано протипожежні характеристики сендвіч-панелей, які наведено у табл. 4.4 і 4.5.

Таблиця 4.4 Вогнестійкість стінових сендвіч-панелей Найменування показників

Значення показників для типів панелей Товщина панелей, мм 50 60 (80) 100120150200250 Вогнестійкість панелей, хв. EI 30EI 45EI 90 EI 150

Таблиця 4.5 Вогнестійкість покрівельних сендвіч-панелей

Найменування показників Значення показників для типів панелей

Товщина панелей, мм 100120150180200 Вогнестійкість панелей, хв. RE 90

Контрольні запитання

1. Назвіть властивості плит мінеральної вати.

2. Що повинні забезпечити замкові з’єднання сендвіч-панелей при експлуатації

динків і споруд?

3. Від чого залежить несуча здатність стінових сендвіч-панелей?

4. Які основні переваги сендвіч-панелей?

54
бу-
Право для безоплатного розміщення підручника в мережі Інтернет має Міністерство освіти і науки України http://mon.gov.ua/ та Інститут модернізації змісту освіти https://imzo.gov.ua

4.5. Монтаж сендвіч-панелей

4.5. Монтаж сендвіч-панелей

Суттєву увагу будівельники повинні приділяти підготовці монтажу. Сендвіч-панелі можуть відрізнятися між собою через різні технології виробництва, тому важливо заздалегідь отримати інструкції з їхньої установки та вивчити умови зберігання й експлуатації кожного різновиду. Безпосередньо перед початком робіт панелі треба очистити від усіх можливих забруднень і перевірити їх на наявність зовнішніх і внутрішніх дефектів. Протирати поверхню треба сухою ганчіркою, не допускаючи використання хімічно активних реагентів і їдких рідин.

Наступний етап — це вимірювання каркаса майбутньої будівлі . Це необхідно для розрахунку будівельного матеріалу й виробів та перевірки правильності всієї конструкції. Після визначення потрібного об’єму робіт, схеми розташування панелей можна починати їхнє розрізання і сортування за розмірами і формою.

Отже, необхідно отримати і вивчити усі необхідні інструкції , у тому числі й з техніки безпеки монтажних робіт, схеми розташування (розкладки) панелей, а також креслення кріплення панелей до несучих елементів каркаса.

Будівельні роботи можуть призвести до виникнення різноманітних травм робітників, а також негативно вплинути на міцність і надійність будівлі. Щоб цього не відбулося, рекомендують дотримуватись усіх необхідних заходів безпеки , а також залучати до робіт тільки кваліфікованих робітників і фахівців.

Монтаж сендвіч-панелей не можна виконувати у туман і сніг, а також за вітряної погоди. При швидкості вітру більше ніж 9 м/с усі роботи треба припинити.

Для швидкого і якісного монтажу сендвіч-панелей необхідні такі інструменти:

шаб лева пилка (застосовують для поверхневої обробки матеріалу); електролобзик; шурупокрут; плунжерний пістолет (використовують при герметизації швів і стиків у місцях

з’єднання панелей); струбцини та вакуумні присмоктувачі (для підняття сендвіч-панелей до проєктного положення).

Каркас будівлі може бути бетонним, дерев’яним або металевим. Перед монтажем стінових панелей попередньо готують основу, на яку будуть опирати і закріплювати сендвіч-панелі. Це й ділянки металевих конструкцій будівлі, і спеціально змонтовані для кріплення панелей металеві конструкції, які повинні утримувати сендвіч-панелі у проєктному положенні. Таку основу називають фахверком

55
Технологія монтажу сендвіч-панелей передбачає їхнє кріплення до несучих елементів за допомогою спеціальних шурупів-саморізів під кутом 90 градусів. Кількість кріпильних шурупів розраховують, зважаючи на тип об’єкта, кількість матеріалу й прогнозоване вітрове навантаження. Кріплення може бути зовні (видиме) і всередині панелі (під кріпильним листом). Тоді воно зветься прихованим . У першому випадку панелі кріплять до рейок зверху і знизу; у другому — в панелі із внутрішньої сторони висвердлюють отвори, в яких закріплюють тримачі. На них і монтують панель. Право для безоплатного розміщення підручника в мережі Інтернет має Міністерство освіти і науки України http://mon.gov.ua/ та Інститут модернізації змісту освіти https://imzo.gov.ua

СІП-панелей і сендвіч-панелей

Основною проблемою кріплення сендвіч-панелей є отримання

прийнятного стику між ними.

Прийнятний стик залежить від вдалого рішення замкового з’єднання сендвіч-панелей.

Від стиків залежать багато чинників: міцність з’єднання елементів стінового огородження, відсутність навіть маленьких зазорів, крізь які буде проходити повітря, і  найвища щільність конструкції та огородження для запобігання проникненню вологи й водяної пари в утеплювач.

Процес монтажу сендвіч-панелей зазвичай починається від кута споруди.

Невеликі проміжки між панелями, шви і стики можуть додатково заповнювати мастикою, прокладками із поліуретану, неопрено-поліуретановою стрічкою або поліуретановою піною.

У деяких системах також додатково встановлюють алюмінієву фольгу, яка на стиках запобігає дифузії газів і проникненню пари в утеплювач. Торцеві шви сендвіч-панелей заповнюють монтажною піною або мінеральною ватою і закривають нащільниками.

Сендвіч-панелі мають невелику вагу — 50–80 кг, що обумовлює їхню порівняно високу ціну, зате вони дуже надійні та зручні у користуванні. На будівельному майданчику цокольні стінові панелі можна монтувати без використання важких механізмів. Для підняття сендвіч-панелей рекомендують застосовувати спеціальні пристроїї — вакуумні присмоктувачі. Зовнішні стінові панелі можуть встановлювати не тільки горизонтально, але й вертикально. Цей спосіб використовують при монтажі перегородок, оскільки панелі легко кріпити до підлоги і стелі без додаткових балок. Покрівельні сендвіч-панелі монтують також вертикально. При цьому треба стежити, щоб вони розташовувались внапуск і точно пазом униз.

Сендвіч-панелі можуть деформуватись унаслідок умов зовнішнього середовища, тому важливо ретельно припасовувати усі стики й кути, щоб уникнути дефектів у складанні всієї огороджувальної конструкції.

Контрольні запитання

1. За яких погодних умов можна здійснювати монтаж сендвіч-панелей?

2. Які підготовчі роботи виконують перед монтажем сендвіч-панелей?

3. Які інс трументи потрібні для монтажу сендвіч-панелей?

4. Перелічіть методи кріплення сендвіч-панелей до каркаса будівель.

5. На що впливає якість стиків між сендвіч-панелями?

6. Які чинники сприяють герметичному закриттю швів і стиків між сендвіч-панелями?

7. Звідки треба починати монтаж сендвіч-панелей?

8. Чим заповнюють стики між сендвіч-панелями?

 Тестові завдання

1. Яку дозу клею потрібно нанести на 1 м2 матеріалу?

а) 50–70 г; б) 80–100 г;в) 110–140 г;г) більше 140 г.

56 4 Виробництво
Право для безоплатного розміщення підручника в мережі Інтернет має Міністерство освіти і науки України http://mon.gov.ua/ та Інститут модернізації змісту освіти https://imzo.gov.ua

4.5. Монтаж сендвіч-панелей

2. Скільки часу витримують під пресом СІП-панель?

а) 5 хв; б) 8 хв; в) 10 хв;г) більше 10 хв.

3. Скільки СІП-панелей можна виробити за одну зміну?

а) 80; б) 100; в) 120; г) 150.

4. Яку несучу здатність мають СІП-панелі на горизонтальний тиск? (Розмір панелей 2,5х1,25х0,17 м).

а) 1,5 т; б) 2 т; в) 2,5 т; г) більше 2,5 т.

5. Яку несучу здатність мають СІП-панелі на вертикальний тиск? (Розмір панелей 2,5х1,25х0,17 м).

а) 10 т; б) 12 т; в) 15 т; г) більше 15 т.

6. Скільки важить 1 м2 СІП-панелі товщиною 174 мм, яка складається з ОСП-3, пінополістиролу ПСБ-25С?

а) 25 кг; б) 22 кг; в) 19 кг;г) менше 19 кг.

7. У  скільки разів менше важить будинок, побудований із СІП-панелей, ніж будинок, побудований із цегли? Товщина стін із СІП-панелей — 174 мм, товщина стін із цегли — 250 мм.

а) У 10 разів;б) у 15 разів;в) у 20 разів; г) більш ніж у 20 разів.

8. Скільки важить стандартна СІП-панель?

а) 40 кг; б) 50 кг; в) 60 кг;г) більше 60 кг.

9. Який термін служби вважають реальним для СІП-будинків?

а) 40 років; б) 50 років;в) 60 років;г) більше 60 років.

10. Якої товщини сталеві листи використовують при виготовленні сендвіч-панелей?

а) 0,1–0,3 мм; б) 0,4–0,7 мм; в) 0,8–1,0 мм; г) більше 1 мм.

11. За якої швидкості вітру не можна здійснювати монтаж сендвіч-панелей?

а) 6 м/с; б) 8 м/с; в) 9 м/с; г) 10 м/с.

57
Право для безоплатного розміщення підручника в мережі Інтернет має Міністерство освіти і науки України http://mon.gov.ua/ та Інститут модернізації змісту освіти https://imzo.gov.ua

5

Загальні вказівки з конструювання і будівництва огороджувальних конструкцій будинків із СІП-панелей

РОЗДІЛ 5. ЗАГАЛЬНІ ВКАЗІВКИ

5.1. Технічні характеристики СІП-панелей

і способи їхнього з’єднання

СІП-панелі у вигляді прямолінійних і криволінійних (зігнутих) виробів є окремим будівельним матеріалом і альтернативою відомих стінових і покрівельних конструкцій. Вони характеризуються високим рівнем теплової ізоляції з обмеженою кількістю теплових містків і значною перекривальною здатністю. СІП-панелі переважно складаються із пінополістирольного сердечника й орієнтовно-стружкових плит (ОСП), які з обох сторін покривають теплоізоляційний сердечник. Прикладом можуть бути структурно-ізоляційні панелі SPA (Австралія), Enersip (Канада), Ozone panel (Нова Зеландія), а також СІП-панелі, які виробляють у європейських країнах, зокрема і в Україні.

Структурно-ізоляційна панельна система MagRoc Sip, яку виготовляють у Новій Зеландії, складається із теплоізоляційного полістиренового сердечника і покриття з обох сторін із MagRoc дощок, виготовлених із окису магнію. Порівняльні показники, які характеризують ефективність структурних ізоляційних панелей у порівнянні зі стійковими будівельними конструкціями малоповерхових будинків зі SPA з дерев’яним каркасом, наведено у табл. 5.1.

Таблиця 5.1 Порівняльні показники SPA малоповерхових будинків із дерев’яним каркасом

СІП панелі SPA Стійкові будівельні конструкції каркасних малоповерхових житлових будинків

Більш дорогі вироби Дешевші пиломатеріали

Швидкий монтаж. Скорочення термінів будівництва Тривалий час будівництва. Значні трудовитрати

Щільна будівельна оболонка будинку

Високий показник теплоізоляції будинку

Оболонка будинку зі значними витоками тепла

Ізоляцію оболонки будинку виконують після зведення будівельних конструкцій

Мінімум теплових містків Велика кількість теплових містків, через які втрачають теплову енергію

Необхідність в упаковці виготовлених СІП­панелей –Економія пиломатеріалів –

СІП-панелі — відносно легкі будівельні вироби, які у багатьох випадках можна монтувати вручну без залучення вантажопідйомної техніки. У табл. 5.2 наведено значення ваги 1 м2 SPA залежно від товщини панелі та її покриття з ОСП.

58
З КОНСТРУЮВАННЯ
І БУДІВНИЦТВА ОГОРОДЖУВАЛЬНИХ КОНСТРУКЦІЙ БУДИНКІВ ІЗ СІП-ПАНЕЛЕЙ
Право
для безоплатного розміщення підручника в мережі Інтернет має Міністерство освіти і науки України http://mon.gov.ua/ та Інститут модернізації змісту освіти https://imzo.gov.ua

5.1. Технічні характеристики СІП-панелей і способи їхнього з’єднання Таблиця 5.2 Вага 1м2 панелей SPA залежно від товщини панелі і її покриття

Товщина SPA, мм

ОСП,

Для з’єднання СІП-панелей між собою при улаштуванні огороджувальних конструкцій використовують шпонки із ОСП, MagRoc дошки, фанери, дерев’яні шпонки з пиломатеріалів, а також СІП-шпонки (рис. 5.1). У таблицях 5.3 і

5.4 наведено значення осьового навантаження на стіни із SPA-панелей, з’єднані SPA-шпонками і дерев’яними шпонками.

Таблиця 5.3 Допустиме осьове навантаження (кг/м) на стіну зі SPA при з’єднанні стінових панелей SPA-шпонкою

Сердечник панелі товщиною, мм

Стінова панель SPA висотою, мм 244030603660488061007320

93520837993649

1436324601450194997

19373166436665662415202 –24362506250625062505043 –

29357885788578857885788 –

Таблиця 5.4 Допустиме осьове навантаження (кг/м) на стіну зі SPA при з’єднанні стінових панелей дерев’яною шпонкою

Сердечник панелі товщиною, мм

Стінова панель SPA висотою, мм

244030603660488061007320

937028580846043497

1438703876363666415

193101939093820777097194 –

Рис. 5.1. А — з’єднання

SPA-панелей: а — за допомогою SPA-шпонки; б — за допомогою дерев’яної шпонки.

Б — з’єднання панелі MagRoc: в — дерев’яною

шпонкою з капелюшком із дошки MagRoc; г — шпонкою MagRoc; д —дерев’яною шпо-

нкою без капелюшка

В — з’єднання Enersip-пане-

лей: е — дощатою шпонкою;

ж — дерев’яною

59
115145165215265315
11 16,1416,7517,1218,1019,0719,56 16 22,5023,1123,4824,4525,4326,41 19 26,9027,5127,8828,8629,8330,32
Товщина
мм Вага панелей, кг/м 2
Право для безоплатного розміщення підручника в мережі Інтернет має Міністерство освіти і науки України http://mon.gov.ua/ та Інститут модернізації змісту освіти https://imzo.gov.ua
шпонкою

5

Загальні вказівки з конструювання і будівництва огороджувальних конструкцій будинків із СІП-панелей

Сердечник панелі товщиною, мм

Стінова панель SPA висотою, мм 244030603660488061007320 243813981398139813981396324 293669664486200558055804960

Окрім кріплення за допомогою шпонок, СІП-панелі кріплять між собою нижньою і верхньою обв’язками.

Панелі з горизонтальними і вертикальними елементами каркаса (шпонками і обв’язками) скріплюють такими кріпильними елементами як цвяхи і  скоби, які можна замінити так само міцними гвинтами. Гвинтові з’єднання потребують мінімум один дюйм (2,54 см) проникнення в опору. Нижні обв’язки кріплять до фундаменту болтами діаметром 12 мм з  кроком 500 мм по центру обв’язувального бруса. Довжина болта має забезпечити закладання його у бетон фундаменту на глибину не менше 100 мм. Головки болтів треба занурювати в обв’язку врівень з верхньою гранню нижнього обв’язувального бруса або у матеріал сердечника стінової панелі залежно від прийнятої конструкції з’єднання СІПпане лі з фундаментом. Разом з цими кріпленнями повинні застосовувати клеї. Крім цього, під час встановлення обв’язок і шпонок використовують пінний ущільнювач.

Контрольні запитання

1. Які елементи використовують для з’єднання СІП-панелей між собою?

2. Намалюйте можливі схеми з’єднань стінових СІП-панелей між собою.

3. Який показник характеризує тепловий опір СІП-панелей?

4. Як кріплять нижні обв’язки до фундаменту СІП-панелей?

5.2. Фундаментні стіни й обрізи фундаментів

Фундаментні стіни мають відповідати проєктним кресленням, бути рівними, вертикальними і прямокутними. Важливо, щоб настил підлоги було укладено акуратно, якісно, згідно з проєктними вимогами щодо його рівності і горизонтальності.

Нерівна поверхня настилу стане причиною нерівної основи стіни або перегородки, які обпирають на нижню обв’язку, прикріплену до обрізу фундаменту або фундаментної стіни

чи настилу підлоги першого

поверху. Ігнорування цього

призведе до зміни загальної

довжини стін і невертикальності стиків панелей.

Отже, горизонтальність і рівність поверхні обрізів фундаментів і настилу підлоги може сприяти збереженню часу на виправлення помилок і своєчасному початкові монтажу огороджувальних конструкцій. Дуже важливе значення має також розмітка місць встановлення анкерних болтів для кріплення опорних лежнів до обрізів фундаментів, розмітка укладання панелей або балок перекриття підлоги, розташування обв’язувальних брусів і відступів між ними. Точність розмітки сприяє якості монтажу перекриття першого поверху і подальшому монтажу

60
Продовження таблиці Право для безоплатного розміщення підручника в мережі Інтернет має Міністерство освіти і науки України http://mon.gov.ua/ та Інститут модернізації змісту освіти https://imzo.gov.ua

Â

5.3. Способи підйому й опускання СІП-панелей. Вигинальні навантаження

огороджувальних конструкцій. Зрозуміло, що розмітка має точно відповідати проєкту. Периметр зовнішніх стін розмічають крейдовою лінією. Плити перекриття розмічають чорним маркером. Також проводять маркування вікон, дверей, місць прикладання навантажень. Не варто недооцінювати важливість цього процесу, щоб не повертатися для усунення допущених під час розмітки помилок.

Стіни із СІП-панелей зазвичай точно розрізають і підганяють у заводських умовах згідно з планом настилу підлоги. Вірогідність помилок в очікуваних розмірах при розмітці настилу підлоги може викликати необхідність регулювання довжини стіни або перегородки.

Потрібне регулювання можна здійснити у місцях з’єднання панелей так:

● якщо стіна виявиться надто довгою, то варто відрізати частину панелі, щоб забезпечити потрібний розмір;

● якщо стіна виявиться надто короткою, то витягування у довжину на 10 см можна зробити шляхом регулювання ширини шпонки (до 18 см) та ущільнювальної піни. Ширину шпонки можна відрегулювати до потрібної довжини за рахунок сердечника панелі (по 4 см) з кожного боку дерев’яної шпонки.

Контрольні запитання

1. Яким вимогам повинні відповідати фундаментні стіни?

2. Перелічіть вимоги до укладання настилу підлоги.

3. Чим розмічають периметр зовнішніх стін і плит перекриття?

4. Як регулюють довжину стіни із СІП-панелей?

5.3. Способи підйому й опускання СІП-панелей.

Вигинальні навантаження

Склад СІП-панелей мусить мати належне обладнання для підйому й опускання панелей на землю або на стелажі.

Для підйому та монтажу СІП-панелі

в проєктне положення використовують сучасний пристрій для вакуумного захоплення — присмоктувач (рис. 5.2).

Цим підіймачем можна монтувати як стінові, так і покрівельні сендвіч-панелі. Із його застосуванням на будівельному майданчику зростає швидкість монтажу сендвіч-панелей.

 Необхідно заздалегідь передбачити окремі умови доставки СІП-панелей:

● ширина транспорту;

● площа повороту;

● дренаж, труби під настилом і міцність мостів;

● дерева й нависання рослинності;

● нависання дротів;

Стропування СІП-панелі

● площа паркування і стабілізаційний простір;

61
Рис. 5.2.
Право для безоплатного розміщення підручника в мережі Інтернет має Міністерство освіти і науки України http://mon.gov.ua/ та Інститут модернізації змісту освіти https://imzo.gov.ua

5

Загальні вказівки з конструювання і будівництва огороджувальних конструкцій будинків із СІП-панелей

● розташування майданчиків для складування і зберігання панелей. На розвантаженні панелей повинні працювати не менше 2 робітників.

Рис. 5.3. а — можливе згинання дна СІП-панелі вилами підйомника при навантаженні; б — можливе пошкодження

торців панелей при розвантаженні / навантаженні

Панелі можна розвантажувати вилковими підйомниками або підйомним краном на майданчик складування. При навантаженні / розвантаженні панелі можуть вигинатись нижньою площиною (рис. 5.3 а) і  деформуватись на торцевих ділянках (рис. 5.3 б). Не допускають розшарування СІП-панелей!

Коли підйомний кран використовують для підіймання і розвантаження панелей на піддоні або палеті, варто звертати увагу, щоб при цьому не пошкодити краї.

Рис. 5.4. Регулювальна розсувна балка для підйому палет із СІП-панелями

При навантаженні, розвантаженні, підйомі або опусканні панелей підйомним краном в жодному разі не можна стояти під панеллю. Панелі доставляють на будівельний майданчик вантажними автомобілями і трейлерами, що іноді може створювати труднощі при їхньому розташуванні у монтажній зоні. Використання розсувної балки (рис. 5.4) унеможливить пошкодження панелей на піддонах і палетах при навантажувально-розвантажувальних операціях. Довжина балки мусить бути достатньою для підйому палет довжиною до 2,8 м. Зберігання палет на будівельному майданчику повинно відбуватись у місцях, які не заважають процесам будівництва і доставці на склад.

На складі панелі необхідно оберігати від вологи. Їх треба підняти над поверхнею ґрунту. У складі варто зробити належне вертикальне планування для відведення поверхневих вод. Панелі також необхідно укривати водотривким матеріалом перед їхнім використанням. На складі панелі зберігають за типами (панелі перекриття, стінові, покриття).

Вигинальне навантаження і межа прольотів для SPA-панелей та інших будівельних виробів мусять відповідати їхній товщині. Технічні й навантажувальні таблиці, які с тосуються SPA, можуть бути орієнтовними даними для СІП-подібної конструкції інших виробників. У таблицях 5.5 і 5.6 наведено допустимі навантаження на SPA у кПа та прольоти і прогини, які їм відповідають при з’єднанні SPA за допомогою SPA і дерев’яних шпонок.

Таблиця 5.5 Граничні вигинальні навантаження залежно від прольотів і прогинів панелей SPA, з’єднаних SPA-шпонками

Сердечник панелі, товщина, мм Прогин Вигинальне навантаження (кПа) SPA-шпонка Проліт панелі, мм

62
1220184024403060366042804880550061006700 93 L/3604,741,821,341,010,770,68 L/2407,232,592,061,531,150,97 L/1807,372,922,732,151,631,21
Право для безоплатного розміщення підручника в мережі Інтернет має Міністерство освіти і науки України http://mon.gov.ua/ та Інститут модернізації змісту освіти https://imzo.gov.ua

5.3. Способи підйому й опускання СІП-панелей. Вигинальні навантаження

Сердечник панелі, товщина, мм

Прогин

Вигинальне навантаження (кПа) SPA-шпонка

Проліт панелі, мм

таблиці

Прогин

Вигинальне нав антаження (кПа) дерев’яна шпонка

Граничні вигинальні навантаження залежно від прольотів і прогинів панелей SPA, з’єднаних дерев’яними шпонками Сердечник панелі, товщина, мм

Проліт панелі, мм 1220184024403060366042804880550061006700

Контрольні запитання

1. Які способи застосовують при підйомі й опусканні СІП-панелей?

2. Як організувати доставку, розвантаження і монтаж СІП-панелей на будівельному майданчику?

3. Які умови зберігання панелей на будівельному майданчику й на складі?

63
1220184024403060366042804880550061006700 143 L/3604,882,351,821,441,151,060,670,53 L/2407,613,732,732,151,531,501,050,77 L/1807,953,832,872,201,921,831,391,01 193 L/3605,702,832,870,961,631,440,960,72 L/2407,664,023,592,872,392,071,481,10 L/1807,664,073,593,302,872,591,961,48 243 L/3606,614,733,062,541,961,781,291,050,960,81 L/2407,664,123,112,732,442,401,961,631,391,20 L/1807,664,123,112,732,442,402,011,871,771,63 293 L/3605,314,503,592,442,352,451,821,341,151,01 L/2407,664,503,642,822,632,642,151,871,721,48 L/1807,664,503,642,822,632,642,151,871,721,58 Таблиця 5.6
93L/3604,692,151,531,150,770,53 L/24010,773,212,251,631,150,77 L/18014,274,312,922,111,631,05 143L/36011,546,132,791,961,531,200,960,72 L/24013,798,714,122,872,351,771,391,05 L/18018,798,715,363,783,112,351,871,39 193L/36011,548,043,833,112,592,011,581,15 L/24013,799,006,034,743,882,922,351,63 L/18013,799,006,375,605,033,892,972,11 243L/36013,129,005,554,793,832,782,251,721,531,34 L/24015,649,007,046,425,754,313,352,492,201,96 L/18015,619,007,046,425,795,174,453,262,922,54 293L/36015,669,008,006,705,554,313,592,732,251,72 L/24015,669,008,007,336,325,274,643,973,302,54 L/18015,669,008,007,336,325,274,643,973,943,35
Право для безоплатного розміщення підручника в мережі Інтернет має Міністерство освіти і науки України http://mon.gov.ua/ та Інститут модернізації змісту освіти https://imzo.gov.ua
Продовження

5

Загальні вказівки з конструювання і будівництва огороджувальних конструкцій будинків із СІП-панелей

5.4. Клеї та ущільнювачі

Клеї, які використовують при монтажі СІП-панелей з обшивкою

із ОСП, мають ефективно склеювати деревину з деревиною і бути нейтральними щодо теплоізоляційного сердечника і полістиренової піни.

Виробники зазвичай рекомендують використовувати відповідний до клею ущільнювач, який замовник постачає разом з панелями. Ціна клею є частиною їхньої вартості. Будівництво СІП-будинків потребує використання монтажної піни для герметизації при виконанні будівельних робіт. Наприклад, Isofoam Pro65 застосовують для заповнення невеликих порожнин, швів, коли встановлюють дверні блоки, віконні рами, для ізоляції стінових панелей. Можна також застосовувати літню професійну монтажну піну і пінополіуретановий клей-піну «Піноклей», який застосовують для фіксування

плит теплоізоляції на поверхні цоколю або стін підвальних приміщень, для заповнення щілин по периметру теплоізоляційних плит, щоб запобігти утворенню містків холоду в місцях стиків. Â Піноклей відповідає українським стандартам:

● ДСТУ БВ.2.6–36:2008. «Конструкції зовнішніх стін із фасадною теплоізоляцією та опорядженням штукатурками. Загальні технічні умови»;

● ДСТУ БВ.2.7–150:2008. «Поліуретани монтажні (монтажні піни). Загальні технічні умови».

Піноклей пройшов державну санітарно-епідеміологічну експертизу й отримав висновок про безпечність для людини. Його виробляють відповідно до європейських будівельних регламентів.

Ніколи не варто використовувати клеї на основі сольвенту, оскільки вони можуть реагувати з полістиреном сердечника панелі. Без таких клеїв СІП-панелі зберігаються максимально довго в екологічному стані.

Місця стиків панелей потребують надійної ізоляції. Вона запобігає утворенню конденсату й проникненню холодного повітря у приміщення. Для вирішення цієї проблеми використовують ущільнювальну стрічку і герметик. Гідроізоляція та ущільнення вузла сполучення нижньої обв’язки (напрямної каркаса стінових панелей) з залізобетонною плитою фундаменту можна здійснювати ущільнювальною прокладкою із поліетилену товщиною 10 мм або іншими матеріалами з аналогічними властивостями.

При сполученні віконного блоку (з ПВХ, алюмінію або дерева) зі стіновою панеллю для захисту теплоізоляційного шару з пінного утеплювача застосовують гідровітрозахисну стрічку або інші матеріали, які мають низькі водо- та повітропроникність і прийнятну паропроникність. При сполученні віконних блоків з елементами каркаса (стійками) стіни для захисту теплоізоляційного шару від дій, спрямованих всередину приміщення, застосовують, наприклад, багатоцільову водостійку ущільнювальну стрічку Tescon Exstora.

Контрольні запитання

1. Які вимоги до клеїв при монтажі СІП-панелей

2. Якими матеріалами ущільнюють огороджувальні конструкції із СІП-панелей?

64
з обшивкою із
ОСП?
Право для безоплатного розміщення підручника в мережі Інтернет має Міністерство освіти і науки України http://mon.gov.ua/ та Інститут модернізації змісту освіти https://imzo.gov.ua

5.5. З’єднання СІП-панелей нижньою і верхньою обв’язками. Кріпильні вироби

5.5. З’єднання СІП-панелей нижньою і верхньою обв’язками.

Кріпильні вироби

Вузли з’єднання СІП-панелей

між собою нижньою і верхньою обв’язками є важливими елементами огороджувальних конструкцій, від якості яких залежить міцність, стійкість до ударних і вітрових навантажень, довговічність СІП-будинку.

Як кріпильний матеріал можна застосовувати цвяхи і  гвинти-саморізи. Прийнято вважати, що цвяхи є більш дешевим кріпленням, а саморізи — більш надійним. Хоча завжди можна вибрати типорозмір, щоб кріплення було надійним незалежно від його виду, наприклад, при з’єднанні панелей зі шпонками (стійками) або обв’язками (напрямними дошками). СІП-панелі при улаштуванні кутів будинку в усіх випадках доцільно

кріпити конструкційними саморізами, оскільки цвяхи не забезпечать потрібної

надійності цього вузлового з’єднання.

В Україні з’єднання СІП-панелей з дошками і шпонками здійснюють оцинкованими йорженими цвяхами довжиною 50 мм з поперечною накаткою, яка робить міцність кріплення у 4–5 разів більшою від міцності з’єднання гладкими оцинкованими цвяхами. Зусилля прямого висмикування становить 65 фунтів (30 кг).

Панелі нижнього перекриття (підлоги) кріплять до фундаменту анкерами діаметром 25 мм з кроком 250 см.

Саморізи — це самонарізальні

гвинти з круговою різьбою по циліндричній поверхні стрижня. Вони відрізняються від гвинта і шурупа.

У шурупа під головкою є гладка частина стрижня перед різьбою, у саморіза — немає. У гвинта трикутна різьба повністю закриває циліндричну поверхню стрижня, тоді як у саморіза — ні. Отже, саморіз — це різновид шурупа, який відрізняється більш тонким стрижнем і збільшеною висотою різьби. Є два головні різновиди саморізів: по дереву і по металу (рис. 5.5).

Нарізка на стрижні у саморіза по дереву має більший крок, ніж у саморіза по металу.

Рис. 5.5. Гвинти саморізи: а — по дереву; б — по металу

Саморізи виготовляють із нержавіючої вуглецевої сталі або латуні. Поверхню саморіза піддають термічній обробці, а кінцеву частину стрижня виконують у вигляді свердла, через що вони можуть нарізати різьбу навіть у бетоні й металі. З метою запобігання корозії поверхню саморізів покривають жовтим або білим цинком. Якщо поверхню саморізів фосфатувати, то вона стане чорною. Такий колір мають оксидовані саморізи, які використовують в умовах підвищеної вологості.

Конструкції саморізів розрізняють за формою головок, різьбою, наконечником і шліцом.

Головка — це верхня частина саморіза, яка має виїмки для викрутки.

 Головки саморізів мають різні форми: ● потайна головка абсолютно плоска за формою, через що вона врізається у стіну і зливається з її поверхнею, роблячи саморіз непомітним;

65
а б
Право для безоплатного розміщення підручника в мережі Інтернет має Міністерство освіти і науки України http://mon.gov.ua/ та Інститут модернізації змісту освіти https://imzo.gov.ua

5

Загальні вказівки з конструювання і будівництва огороджувальних конструкцій будинків із СІП-панелей

● напівпотайна головка має гладкий і зручний перехід до різьби, що дає змогу приховати її в стіні;

● шес тигранну головку призначено для можливості використання електроінструмента (шурупокрута).

 Бувають такі різьби:

Різьба на саморізах — це спіральна огранка стрижня, завдяки якій саморіз укручують у матеріал і зчіплюють з ним.

● рідка різьба діаметром не більше ніж 5 мм, довжина коливається від 1,6 до 15 см. Призначено для укручування в гіпс, м’яку деревину, азбест, пластик;

● середня різьба найбільш поширена, саморізи з такою різьбою є універсальними. Має діаметр до 6 мм, довжина від 1,2 до 16 см;

● час ту різьбу (діаметр від 3 до 8 мм, довжина від 12 до 20 см) використовують для кріплення один з одним металевих листів товщиною не більше 9 мм.

Наконечник — це кінчик саморіза, який може бути гострим і свердловим.

Шліц — це призначена для користування викруткою виїмка на зовнішньому краї головки саморіза.

Гострий кінчик застосовують для роботи з м’якими матеріалами (гіпсокартон, дерево, азбест, пластик); свердловий — для роботи з твердими матеріалами.

Шліц може бути прямим, хрестоподібним, шестигранним тощо.

Універсальний саморіз має стандартний хрестоподібний шліц. Наконечники такого саморіза зазвичай гострі, оскільки вони призначені для універсального використання. Оцинковане покриття дає змогу використовувати саморіз у вологому середовищі.

Саморізи для деревини (фанери, дерева, ДСП, ДВП, ОСП тощо) мають потайну або напівкруглу головку, хрестоподібний шліц, рідку різьбу, гострий наконечник. Для надійного скріплення елементів з деревини потрібно, щоб саморіз увійшов у сусідній елемент на глибину не менше ніж 1/4 його товщини. При кріпленні гіпсокартону використовують саморізи з  двозахідною різьбою, яка чергує високі й низькі завитки. Це дозволяє з’єднувати матеріали з різною щільністю. Саморізи для гіпсокартону використовують для кріплення його на каркаси. Для дерев’яного каркаса потрібен саморіз з рідкою різьбою і гострим кінцем. Для металевого каркаса потрібен саморіз з  частою різьбою і свердлом по металу. Цей саморіз повинен занурюватись у гіпсокартон поверхнею своєї головки не більше ніж на 1 мм. Саморіз по металу має свердловий наконечник.

Головка саморіза повинна щільно прилягати до поверхні, через що використовують саморізи з головкою у вигляді прес-шайби. Для металу товщиною до 10 мм використовують саморізи зі свердловим наконечником і шестигранною головкою.

Саморіз по бетону повинен мати оцинковану поверхню. Наконечник саморіза добирають залежно від структури матеріалу: для роботи з вологим покриттям підходять гострокінцеві гвинти, а для твердої застиглої бетонної суміші необхідно поперечне просвердлювання. Шліц саморіза має бути хрестоподібним або шестигранним для можливості докручування гвинтів викруткою.

66
Право для безоплатного розміщення підручника в мережі Інтернет має Міністерство освіти і науки України http://mon.gov.ua/ та Інститут модернізації змісту освіти https://imzo.gov.ua

67 5.6. Термальні бар’єри. Пожежна безпека

У таблиці 5.7 наведено середні значення міцності саморізів на зсув, пряме висмикування і бічні зусилля у фунтах/кг залежно від діаметру саморіза і товщини плити ОСП.

Таблиця 5.7

Середні значення міцності саморізів у фунтах/кг

Розмір саморіза Товщина плити ОСП у дюймах/см

Номер Діаметр різьби,мм7/16"/1,1

Для приєднання цокольного перекриття до нижнього бруса, як і для стягування кутових стінових панелей, використовують конструкційні саморізи. Там, де потрібно утопити саморіз нарівні з поверхнею, використовують потайну головку, а там, де потрібне потужне силове затягання, наприклад, кутових панелей, використовують саморізи з тарілчатою головкою. Для кріплення лежнів і нижніх обв’язок (напрямних дощок або брусів) стін будинку із СІП-панелей використовують фундаментні болти прямі й зігнуті з діаметром різьби 12 мм і  більше, які призначено для кріплення будівельних конструкцій і обладнання. Крок розташування болтів призначають проєктом залежно від діаметру болтів і навантаження на стіни: від 40 до 240 см. У  районах з сильними вітрами відстані між анкерними болтами не повинні перевищувати

1,8 м, а їх заглиблення у бетон фундаменту мусять бути не менше 20 см.

Контрольні запитання

1. Які кріпильні вироби використовують при монтажі СІП-панелей?

2. Які кріпильні елементи використовують при улаштуванні кутів будинку?

3. Як кріплять панелі нижнього перекриття (підлоги) до фундаменту?

4. Що таке саморізи і чим вони відрізняться від гвинтів?

5. Із якого матеріалу виготовляють саморізи?

6. Чим відрізняються між собою саморізи?

7. Якими можуть бути наконечники саморізів і у яких випадках їх використовують?

8. Що таке шліц і для чого його використовують?

9. Які саморізи підходять для гіпсокартону; для деревини; для бетону?

5.6. Термальні бар’єри. Пожежна безпека

 Пожежна безпека будинку із СІП-панелей залежить від таких чинників: ● обробка дерев’яних елементів стін, перекриття, даху й усіх інших конструкцій вогнезахисними сумішами — прямий вогнезахист;

№ 6 3,572 198/90 273/124 295/134 № 8 3,972 118/53,5197/89,35224/101,6 № 10 4,762 143/64,8200/118 301/136,53 № 12 5,556 436/198 581/263,5561/254,5 № 14 6,350 466//211630/286 797/361,5
см5/8"/1,6 см3/4"/1,9 см
Право для безоплатного розміщення підручника в мережі Інтернет має Міністерство освіти і науки України http://mon.gov.ua/ та Інститут модернізації змісту освіти https://imzo.gov.ua

5

Загальні вказівки з конструювання і будівництва огороджувальних конструкцій будинків із СІП-панелей

● неухильне виконання усіх норм з організації електричної проводки;

● при улаштуванні камінів і печей треба дотримуватись усіх протипожежних умов;

● обов’язкове виконання пожежних норм у процесі будівництва (протипожежні відступи, розриви між будівлями, використання брандмауерів);

● дотримання загальних правил і норм пожежної безпеки при здійсненні будівництва або складання будинку із домокомплекту.

СІП-панелі, як і будь-який виріб з елементами деревини, мають третій ступінь вогнестійкості К3. Для підвищення ступеня вогнестійкості СІП-будинку внутрішню поверхню стін із СІП-панелей облицьовують негорючими матеріалами: гіпсокартонними плитами (ГКП), гіпсоволокнистими плитами (ГВП), скломагнезитовими листами (СМЛ). Найбільш дешеві й доступні — ГКП. Після обшивки гіпсокартонними плитами внутрішніх поверхонь будинок автоматично набуває другого класу пожежної безпеки.

Випробування СІП-панелей, облицьованих ГКП, показали, що вони здатні витримувати відкрите полум’я протягом 90 хвилин, а це є показником першого класу пожежної безпеки — К1.

Більш сучасною модифікацією звичайної ГКП є пофарбований або ламінований гіпсокартон, гіпсовініл або гіпсолам — гіпсокартон кольоровий з вініловим покриттям. Ці матеріали використовують для внутрішнього облицювання стін, віконних укосів, спорудження перегородок без додаткового оздоблення. На основі гіпсокартону виготовляють сендвіч-пане лі з теплоізоляційним сердечником із пінополіуретану товщиною 50 мм. Їх використовують для внутрішньої обшивки зовнішніх стін без подальшого утеплення і пароізоляції, що значно скорочує терміни будівництва.

Обшивку гіпсокартоном поверхні стін із СІП-панелей здійснюють безкаркасним методом (з відсутністю повітряного проміжку під гіпсокартоном), що суттєво ускладнить як займання ОСП, так і подальше поширення вогню. Використання ГКП як термального бар’єра сприятиме внутрішньому опорядженню зовнішніх стін будинку шпалерами, фарбуванням, плиткою, декоративним каменем тощо.

Контрольні запитання

1. Від чого залежить пожежна безпека будинку із СІП-панелей?

2. Як підвищити ступінь вогнестійкості СІП-панелі?

 Тестові завдання

1. Якого мінімального проникнення в опору потребують гвинтові з’єднання?

а) 10 мм; б) 12 мм;в) 20 мм; г) більше ніж 25 мм.

2. Болтами якого діаметру кріплять нижні обв’язки до фундаменту?

а) 8 мм; б) 10 мм;в) 12 мм; г) більше ніж 12 мм.

68
Право для безоплатного розміщення підручника в мережі Інтернет має Міністерство освіти і науки України http://mon.gov.ua/ та Інститут модернізації змісту освіти https://imzo.gov.ua

5.6. Термальні бар’єри. Пожежна безпека

3. З  яким кроком розташовують болти кріплення нижньої обв’язки до фундаменту

по центру обв’язувального бруса?

а) 30 см; б) 40 см;в) 50 см; г) 60 см.

4. На як у глибину у бетон фундаменту закладають болти кріплення нижньої обв’язки?

а) 50 мм; б) 80 мм;в) 100 мм;г) 150 мм.

5. Яким має бути діаметр стрижнів стропових болтів при стропуванні СІП-панелей?

а) 100 мм; б) 120 мм;в) 140 мм;г) 150 мм.

6. Яке занурення різьби конструкційного саморіза в основу повинно бути при виборі потрібної довжини саморіза?

а) Не менше двох діаметрів різьби;

б) не менше трьох діаметрів різьби;

в) не менше чотирьох діаметрів різьби;

7. Скільки головних різновидів мають саморізи?

г) не менше п’яти діаметрів різьби.

а) Чотири;б) три; в) два; г) п’ять.

8. Скільки форм мають головки саморізів?

а) Дві; б) три; в) чотири;г) більше чотирьох.

9. Скільки існує видів наконечників для саморізів?

а) Два; б) три; в) чотири;г) більше чотирьох.

10. Яким має бути мінімальне занурення різьбової частини саморіза у матеріал основи?

а) Не менше 20 мм; б) не менше 30 мм; в) не менше 40 мм;г) не менше 50 мм.

69
Право для безоплатного розміщення підручника в мережі Інтернет має Міністерство освіти і науки України http://mon.gov.ua/ та Інститут модернізації змісту освіти https://imzo.gov.ua

складання будинку із

Зведення будинку із СІП-панелей відбувається у декілька етапів, на кожному з яких у технологічній послідовності здійснюють улаштування основних конструктивних вузлів або частин будинку, показаних на рис. 6.1.

Така схема допомагає правильно орієнтуватися у послідовності будівельних операцій під час монтажу будинку із СІП-панелей.

Процес монтажу будівельних конструкцій СІП-будинків вирізняється високою екологічністю завдяки використанню будівельних виробів заводського виготовлення, сучасних інструментів і технологій, методів сухого будівництва. Практично усі відходи утилізують на місці. Максимально зберігають дерева, кущі й зелену рослинність. Може здаватися, що складання СІП-будинків — це просто і не потребує спеціальної підготовки монтажників, хоча насправді не так. Від кваліфікації монтажників залежать якість, точність, терміни складання оболонки будинку, яка впливає на енергоефективність. Будувати СІП-будинки можна в будьяку пору року.

Контрольні запитання

1. Назвіть основні конструктивні вузли або частини будинку із СІП-панелей.

2. Як визначають екологічність процесу будівництва малоповерхових швидкоспоруджуваних енергоефективних будинків із СІП-панелей?

Рис. 6.1. Схема складання СІПбудинку із зазначенням основних

конструктивних вузлів.

Вузол 1: фундамент — пере-

криття нижнього поверху — зов-

нішня стіна із СІП-панелей або

фундамент — стіна із СІП-пане-

лей; вузол 2 — пряме з’єднання

сусідніх СІП-панелей зовнішніх

стін; вузол 3 — обрамування вікон

і дверей; вузол 4 — улаштування

міжповерхового перекриття; вузол

5 — з’єднання зовнішньої стіни

з дахом СІП-будинку; вузол 6 —

облаштування з’єднання гребеня

даху з СІП-панелями даху; вузол

7 — перетинання димаря з дахом;

вузол 8 — облаштування карниза

даху; вузол 9 — з’єднання зовнішньої стіни з перегородкою

70 6 Конструкція будинку із СІП-панелей
РОЗДІЛ 6. КОНСТРУКЦІЯ БУДИНКУ
ІЗ СІП-ПАНЕЛЕЙ
6.1. Схема
СІП-панелей
1 3 5 2 6 7 4 9 8 Право для безоплатного розміщення підручника в мережі Інтернет має Міністерство освіти і науки України http://mon.gov.ua/ та Інститут модернізації змісту освіти https://imzo.gov.ua

6.2. Вузол 1. Фундамент — перекриття нижнього поверху —

зовнішня стіна із СІП-панелей або фундамент — стіна із СІП-панелей

6.2. Вузол 1. Фундамент — перекриття нижнього поверху —

зовнішня стіна із СІП-панелей або фундамент — стіна із

СІП-панелей

Рішення цього вузла залежить від типу фундаменту, типу перекриття з підлогою (або без перекриття) і подальшого їхнього з’єднання із зовнішньою стіною будинку із СІП-панелей. Найчастіше використовують стрічковий фундамент, мілкозаглиблений фундамент, суцільну плиту на ґрунті, стовпчастий і пальовий фундаменти, коли елементами контактування, замість обрізу фундаменту або плити, служать рандбалки або ростверк.

На рис. 6.2 пок азано рішення вузла 1 — з’єднання стрічкового фундаменту (фундаментної стіни) (19) з перекриттям нижнього поверху і чорновою підлогою (14, 13) та зовнішньою стіною СІП-будинку (10) з використанням структурних панелей (Австралія).

Рис. 6.2. Вузол 1. З’єднання фундаменту, СІП-панелей зовнішніх стін, підлоги (перекриття) нижнього поверху будинку: 1 — вимостка; 2 — фартух; 3 — конструктивний саморіз; 4 — конструктивний саморіз (необов’язковий); 5 — торцева дошка; 6 — цвяхи 66 мм; 7 — ущільнювач; 8 — зовнішня обшивка; 9 — електрокабелі; 10 — стінова СІП-панель; 11 — гіпсокартон; 12 — нижня обв’язка; 13 — чорнова підлога; 14 — СІП-панель перекриття; 15 — гідроізоляція; 16 — просочений антисептиком лежень; 17 — гідроізоляція; 18 — анкерний болт; 19 — бетонна або цегляна фундаментна стіна

Опорний лежень (16) із просоченої антисептиком деревини розташовують на шарі гідроізоляції (17) і закріплюють на фундаменті анкерними болтами (18), діаметр яких, глибину закладання у бетон і відстань між ними визначають розрахунком або чинними будівельними нормами. На шарі гідроізоляції (15), який покриває лежень (16), розташовують СІП-панелі перекриття (14). На СІП-панелі укладають чорнову підлогу (13). Конструкційні саморізи (3) закріплюють перекриття (14) і чорнову підлогу (13) до опорного лежня (16). На поверхні СІП-перекриття або чорнової підлоги розмічають і укладають обв’язувальні дошки (12) на клеєву основу. Нижню обв’язку (12) закріплюють до чорнової підлоги (13) і СІП-панелей перекриття (14) двома рядами цвяхів 90 мм з  кроком 40 см, а  також (необов’язково) конструкційними саморізами (4) до лежня (16). Після запінювання монтажною піною поверхонь стінової панелі (10) і нижньої обв’язки зовнішньої стіни (12) встановлюють стінові панелі (10) у проєктне положення, після чого їх закріплюють до нижньої обв’язки цвяхами 60 мм з кроком 15 см.

На рис. 6.3 показано вузол 1 з’єднання стіни із СІП-панелей з фундаментною плитою.

На бетонній фундаментній плиті улаштовують гідроізоляцію, теплоізоляцію типу EPS

71
Право для безоплатного розміщення підручника в мережі Інтернет має Міністерство освіти і науки України http://mon.gov.ua/ та Інститут модернізації змісту освіти https://imzo.gov.ua

Конструкція будинку із СІП-панелей

Рис. 6.3. З’єднання фундаментної

плити на ґрунті з СІП-панелями

зовнішньої стіни: 1 — товсті цвяхи 90х4 мм; 2 — ущільнювач; 3 — канал електропроводки; 4 — стінова

СІП-панель; 5 — гіпсокартон; 6 — цвяхи 90х4 мм; 7 — з’єднувальний брус

нижньої обв’язки зовнішньої стіни із

СІП-панелей; 8 — капілярний переривач (просочений лежень) тієї ж ширини, що і СІП-панелі; 9 — фундаментна плита на ґрунті; 10 — анкерний болт

(розширеного полістирену) або пінополістиролу ПСБ-С25, чорнову і чисту підлоги. На поверхню плити (9) укладають капілярний переривач — просочений антисептиком гідрофобізований лежень (8), який дорівнює ширині стінової СІП-панелі (4). На нього укладають нижній з’єднувальний брус (7) (нижня обв’язка стіни). Обидва елементи обв’язки (7) і лежень (8) скріплюють між собою цвяхами 90х4 мм (6) з  обох сторін (крок 40 см) і  анкерними болтами, діаметр, глибину закладання яких в бетон плити і відстань між якими визначають чинними нормами і розрахунками. Після запінювання монтажною піною (2) нижньої обв’язки стіни (7), а також нижнього паза стінових панелей (4) відбувається їхнє встановлення у проєктне положення і закріплення до нижньої обв’язки (7) 60 мм цв яхами з кроком 15 см.

Розташування анкерних болтів (10) у тілі фундаментної плити має позиціонуватися так, щоб вони були встановлені по осьовій лінії лежнів.

На рис. 6.4 вузол 1 зображено з’єднанням стрічкового фундаменту, СІП-панелей зовнішніх стін, підлоги і перекриття нижнього поверху будинку. Перекриття виконано не із СІП-панелей (як на рис. 6.2), а з типових дерев’яних

Рис. 6.4. Вузол 1. З’єднання фундаменту, СІП-панелей зовнішніх стін (підлоги, перекриття) нижнього поверху будинку: 1 — вимостка; 2 — фартух; 3 — цвяхи 60 мм з кожного боку стіни; 4 — з’єднувальний брус нижньої обв’язки зовнішньої стіни із СІП-панелей; 5 — ущільнювач; 6 — зовнішня обшивка; 7 — канал електропроводки; 8 — стінова СІП-панель; 9 — гіпсокартон; 10 — чорнова підлога; 11 — типова дерев’яна балка, укладена перпендикулярно

зовнішній стіні; 12 — просочений антисептиком лежень; 13 — гідроізоляція; 14 — анкерний

болт; 15 — бетонна або цегляна фундаментна

72 6
стіна 1 2 3 4 5 6 7 8 9 10 11 12 13 14 15 Право для безоплатного розміщення підручника в мережі Інтернет має Міністерство освіти і науки України http://mon.gov.ua/ та Інститут модернізації змісту освіти https://imzo.gov.ua

6.2. Вузол 1. Фундамент — перекриття нижнього поверху —

зовнішня стіна із СІП-панелей або фундамент — стіна із СІП-панелей

балок (11). Балки укладають на опорний лежень (12), розташований на шарі гідроізоляції (13). Лежень (12) прикріплюють до стрічкового фундаменту (15) анкерними болтами, розташованими по осі опорного лежня (12), а балки (11) та опорний лежень скріплюють цвяхами 90х4 мм. На змонтовані балки (11) настилають чорнову підлогу (10), а на підлогу — нижню обв’язку (з’єднувальний брус) (4) зовнішньої стіни із СІП-панелей (8). Нижню обв’язку (4) закріплюють цвяхами 90х4 мм до дерев’яних балок перекриття.

Після запінювання монтажною піною (5) нижнього паза СІП-панелей (8) і нижньої обв’язки зовнішньої стіни (4) виконують встановлення у проєктне положення СІП-панелей (8), зовнішніх стін, які закріплюють до нижньої обв’язки (4) цвяхами 60 мм з кроком 15 см.

Анкерні болти (14), їхній діаметр, глибину закладання у бетон фундаменту (15) і відстані між ними визначають за нормами і розрахунками.

На рис. 6.5 вузол 1 зображено з’єднанням стрічкового фундаменту з балковою фермою перекриття, підлогою і зовнішньою стіною із СІП-панелей.

На обрізі стрічкового фундаменту (17) по його осі укладають опорний лежень (15), просочений антисептиком на шарі гідроізоляції (16). Лежень (15) прикріплюють до фундаменту (17) анкерними болтами, які встановлюють у бетонні плити по осьовій лінії опорного лежня (15). Ферми з’єднують з опорним лежнем цвяхами 16d. На поверхні ферми перекриття (14) укладають чорнову підлогу (13), а по ній — нижню обв’язку (6) зовнішньої стіни із СІП-панелей (10). Вісь нижньої обв’язки (6) збігається з віссю опорного лежня (15). Після запінювання нижнього паза (7) і нижньої обв’язки (6) СІП-панелі встановлюють у проєктне положення, утворюючи зовнішню стіну, і закріплюють цвяхами 8d (12) з кроком 15 см з обох боків до нижньої обв’язки стіни (6).

Рис. 6.5. Вузол 1. З’єднання фундаменту, балкової ферми перекриття (підлоги) і зовнішньої СІП-стіни: 1 — теплоізоляція фундаменту;

2 — цементна обмазка по насічці; 3 — герметик;

4 — фартух; 5 — цвяхи кріплення торця балкової ферми; 6 — з’єднувальний брус нижньої обв’язки СІП-стіни; 7 — ущільнювач (клей) на кожному боці та днищі бруса; 8 — зовнішнє фінішне оздоблення; 9 — гіпсокартон; 10 — стінова СІП-панель; 11 — цвяхи 16d; 12 — цвяхи 8d; 13 — чорнова підлога; 14 — в’язь балкової ферми; 15 — просочений антисептиком лежень; 16 — гідроізоляція; 17 — бетонна або цегляна фундаментна стіна; 18 — анкерний болт, встановлений по

73
лінії лежня 15 16 17 18 14 13 12 11 10 9 8 7 6 5 4 3 2 1 Право для безоплатного розміщення підручника в мережі Інтернет має Міністерство освіти і науки України http://mon.gov.ua/ та Інститут модернізації змісту освіти https://imzo.gov.ua
осьовій

Конструкція будинку із СІП-панелей

Таблиця 6.1 Цвяхи загального призначення (common nails)

за американськими стандартами

позначення,

6.6 вузол 1 зображено з’єднанням стінової СІП-панелі з фундаментом «плита на ґрунті».

На поверхню фундаментної плити (15) укладають шар гідроізоляції (14), на якому розташовують просочений антисептиком лежень (13). На лежень (13) укладають нижню обв’язку зовнішньої стіни будинку (5). Лежень (13) і нижню обв’язку зовнішньої стіни (5) з’єднують між собою монтажним клеєм (6) і двома рядами цвяхів 16d з кроком 40 см. Лежень (13) і нижню обв’язку (5) з’єднують з фундаментною плитою анкерними болтами (16), розташованими з розрахунковим кроком по осі зовнішньої стіни (нижньої обв’язки (5) лежня (13)). Після запінювання нижнього паза СІП-панелей і поверхні нижньої обв’язки (6, 11) стінові СІП-панелі установлюють у проєктне положення і закріплюють цвяхами 8d з кроком 15 см до нижньої обв’язки з обох боків.

Контрольні запитання

1. Від чого залежить рішення конструктивного вузла 1 СІП-будинку?

2. Які фундаменти використовують найчастіше?

Рис. 6.6. Вузол 1. З’єднання стінової

СІП-панелі з фундаментом «плита на ґрунті»: 1 — теплоізоляція фундаменту; 2 — цементна обмазка по насічці; 3 — герметик; 4 — фартух; 5 — з’єднувальний брус нижньої обв’язки зовнішньої стіни; 6 — ущільнювач (клей) по всій довжині стіни; 7 — зовнішнє фінішне оздоблення; 8 — гіпсокартон; 9 — стінові СІП-панелі; 10 — цвяхи 16d; 11 — ущільнювач (клей)

з кожного боку; 12 — цвяхи 8d (крок

15 см); 13 — просочений антисептиком

лежень; 14 — гідроізоляція; 15 — бетонна плита; 16 — анкерний болт

74 6
2d3d4d5d6d7d8d9d10d12d16d20d30d40d d 1,832,032,572,572,872,873,343,343,773,774,064,885,265,72 D 4,375,166,356,356,756,757,147,147,947,948,7310,3211,1111,91 L 25,431,838,144,450,857,164,569,876,282,588,9101,6114,3127,0 На
мм
рис.
Право для безоплатного розміщення підручника в мережі Інтернет має Міністерство освіти і науки України http://mon.gov.ua/ та Інститут модернізації змісту освіти https://imzo.gov.ua

6.3. Вузол 2.

і дверей

з’єднання сусідніх СІП-панелей зовнішніх стін малоповерхового житлового будинку. Вузол 3. Обрамування вікон

3. Чим відрізняється конструкція вузла 1 з використанням для перекриття СІП-панелей від перекриття із типових дерев’яних балок?

4. Намалюйте варіанти рішень конструкції вузла з’єднання фундаментної стіни, балкової ферми і зовнішньої стіни СІП-будинку.

5. Намалюйте варіанти рішень конструкції вузла з’єднання стінової СІП-панелі з суцільним плитним фундаментом будинку із СІП-панелей.

6.3. Вузол 2. Пряме з’єднання сусідніх СІП-панелей зовнішніх

Вузол 3. Обрамування вікон і дверей

Питання з’єднання сусідніх СІП-панелей в огороджувальній конструкції СІП-будинків у навчальному посібнику описано дуже детально. Частково про це йшлося у розділі 5 (пункт 5.1). Більш детально з’єднання з використанням різних конекторів розглянемо в розділах 8 і 10.

На рис. 6.7 зображено вузол 3, на якому показано схему віконного і дверного прорізів у розрізі площини зовнішньої стіни СІП-будинку.

У СІП-панелях за допомогою термоножа роблять вибірку утеплювача на глибину 45 мм. В  утворений таким чином паз по периметру прорізу укладають

брус 45х145 мм, який закріплюють саморізами з кроком 15 см. Усі шви запінюють. Після висихання піни зовні усі шви покривають герметиком.

Усе частіше на будівництвах застосовують монтажні піни, які використовують для заповнення стиків при монтажі віконних і дверних коробок. Вони бувають звичайними та швидкотвердіючими. Одночасно монтажні піни виконують роль шумозахисного і теплоізоляційного матеріалу. При укладанні бруса нарівні

Рис. 6.7 Схема обрамування дверних і віконних прорізів у розрізі площини стіни

75
стін малоповерхового житлового
будинку.
Право для безоплатного розміщення підручника в мережі Інтернет має Міністерство освіти і науки України http://mon.gov.ua/ та Інститут модернізації змісту освіти https://imzo.gov.ua
Пряме

Конструкція будинку із СІП-панелей

з краєм панелі важливо забезпечити його вирівнювання, що значно полегшить наступний монтаж вікон. При монтажі стін СІП-будинку нижній кріпильний (обв’язувальний) брус залишається на підлозі до закінчення монтажу усіх ділянок стіни. Це необхідно для забезпечення рівної площини стіни. По закінченню обрамлення дверного прорізу кріпильний брус у ньому випилюють і видаляють. При монтажі дверей потрібно забезпечити єдину площину стін обабіч прорізу. Для цього треба вчасно закріпити верхній з’єднувальний (обв’язувальний) брус, який укладають на верхні пази стінових панелей. Зазначмо, що допускається робити обрамлення дверного прорізу, використовуючи дошки перерізом 145х25 мм з вибіркою пазів на глибину всього 25 мм.

Контрольні запитання

1. Як виконують обрамування дверних і віконних прорізів у стіні із СІП-панелей?

2. Які типи фундаментів застосовують при спорудженні СІП-будинків?

6.4. Вузол 4. Улаштування міжповерхового перекриття у будинку із СІП-панелей

Найчастіше для перекриттів використовують СІП-панелі шириною 625 мм, що дає змогу збільшити кількість з’єднувальних брусів (лаг) і міцність міжповерхових перекриттів. З’єднувальний брус стелі першого поверху, підлоги другого поверху і лаг підлоги може мати переріз як 45х145 мм, так і 90х145 залежно від потрібної міцності будівлі.

На рис. 6.8 пок азано вузол 4  — улаштування міжповерхового перекриття у будинку із СІП-панелей. Панелі перекриття (16) укладають на верхню обв’язку стіни першого поверху (2) або на необов’язкову прокладку (17), яка потрібРис. 6.8. Вузол 4. Улаштування міжповерхового перекриття з використанням СІП-панелей: 1 — безперервний ущільнювач; 2 — верхня обв’язка стіни першого поверху; 3 — торцевий блок із деревини; 4 — безперервний ущільнювач; 5 — клей; 6 — нижня обв’язка стіни другого поверху; 7— клей з кожного боку; 8 — зовнішнє фінішне опорядження; 9 — безперервний ущільнювач; 10 — гіпсокартон; 11 — стіна другого поверху; 12 — цвяхи 16d з кроком 40 см; 13 — цвяхи 8d з кроком 15 см з обох боків; 14 — чиста підлога; 15 — конструкційний саморіз; 16 — панель міжповерхового перекриття; 17 — прокладка (необов’язкова) при використанні

гіпсокартонної обшивки; 18 — гіпсокартон; 19 — стіна першого поверху із СІП-панелей

76 6
Право для безоплатного розміщення підручника в мережі Інтернет має Міністерство освіти і науки України http://mon.gov.ua/ та Інститут модернізації змісту освіти https://imzo.gov.ua

Вузол 4. Улаштування міжповерхового перекриття у будинку із СІП-панелей

на у випадку використання стандартних восьмифутових гіпсокартонних плит. Торці панелей перекриття (16) зашивають торцевим блоком (3), виготовленим

із дощок потрібного перерізу, з попереднім ущільненням паза панелей перекриття (16) і торцевого блоку (3) по всій його довжині (4) і торцях. Міжповерхові

перекриття із панелей шириною 625 мм закріплюють до верхньої обв’язки стін першого поверху (2) двома конструкційними саморізами (15) потрібної довжини на кожну панель.

На змонтовані панелі міжповерхового перекриття (16) згідно з розбивкою укладають з’єднувальні бруси (нижня обв’язка) зовнішніх стін другого поверху на клей (5), після чого нижню обв’язку стін другого поверху (6) закріплюють двома рядами цвяхів 16d з кроком 40 см (12) до міжповерхових панелей перекриття (16). Нижні пази стінових панелей другого поверху (11) і поверхню нижньої обв’язки стінових панелей запінюють монтажною піною (клеєм) (7), (9). Після цього установлюють у проєктне положення стінові панелі (11), які закріплюють з двох сторін цвяхами 8d (крок 15 см) д о нижньої обв’язки стін другого поверху (6).

На рис. 6.9 показано вузол 4  — улаштування міжповерхового перекриття з використанням дерев’яних несучих балок з обпиранням на стінові СІП-панелі.

Таке рішення вузла 4 нерідко застосовують при бажанні зменшити ударний шум у порівнянні з тим, коли міжповерхове перекриття виконують із СІП-панелей.

Дерев’яні балки (16) укладають на оброблені лежні (17), закріплені клеєм і цвяхами до верхньої обв’язки стін першого поверху (2). Укладені балки перекриття (16) зашивають торцевим блоком (із дерев’яних дощок) (5). Між балками перекриття (16) установлюють заглушку із полістирену (15).

На чорнову підлогу (14) укладають нижню обв’язку зовнішньої стіни другого поверху (11). Її встановлюють на клей (7) і прикріплюють до несучих балок (16) цвяхами 16d (12). Після запінювання нижньої обов’язки стіни другого

Рис. 6.9. Вузол 4. Улаштування міжповерхового перекриття з використанням дерев’яних несучих балок з обпиранням на стінові СІП-панелі: 1 — безперервний ущільнювач; 2 — верхня обв’язка стіни першого поверху; 3 — ущільнювач; 4 — клей на обох торцях торцевого блоку; 5 — торцевий блок; 6 — цвяхи згідно з нормами; 7 — ущільнювач (клей) з кожного боку і на днищі; 8 — зовнішнє фінішне опорядження; 9 — безперервний ущільнювач; 10 — гіпсокартон; 11 — стінова панель другого поверху; 12 — цвяхи 16d з кроком 40 см; 13 — цвяхи 8d кроком 15 см з обох боків; 14 — чорнова підлога; 15 — балкова заглушка з полістирену; 16 — балка перекриття; 17 — оброблений лежень; 18 — цвяхи 8d з кроком 15 см з обох боків; 19 — гіпсокартон; 20 — стіна першого

77 6.4.
із
Право для безоплатного розміщення підручника в мережі Інтернет має Міністерство освіти і науки України http://mon.gov.ua/ та Інститут модернізації змісту освіти https://imzo.gov.ua
поверху
СІП-панелей

Конструкція будинку із СІП-панелей

Рис. 6.10. Вузол 4. Улаштування міжповерхового перекриття з використанням СІП-панелей: 1 — ущільнювання з кожного боку;

2 — конструкційні саморізи (крок 40 см);

3 — необов’язковий конструкційний саморіз (крок 40 см); 4 — торцевий блок СІП-панелей;

5 — ущільнення з кожного боку; 6 — зовнішнє

фінішне опорядження; 7 — канал для електропроводки; 8 — стінова СІП-панель; 9 —

гіпсокартон; 10 — цвяхи 90 мм (крок 40 см);

11 — цвяхи 60 мм (крок 15 см); 12 — чорнова

підлога; 13 — СІП-панель перекриття; 14 —

верхня обв’язка стін нижнього поверху; 15 —

цвяхи 60 мм (крок 15 см); 16 — гіпсокартон

або гіпсова штукатурка; 17 — стінова панель

нижнього поверху

поверху і нижніх пазів СІП-панелей встановлюють СІП-панелі (11) на нижню обв’язку і закріплюють до неї цвяхами 8d з кроком 15 см. Змон товані стіни першого і другого поверхів із СІП-панелей опоряджують зовнішнім фінішним декоративним покриттям (8).

На рис. 6.10 зображено вузол 4  — улаштування міжповерхового перекриття із СІП-панелей.

Панелі шириною 625 мм (13) ук ладають на верхню обв’язку (14) стінових СІП-панелей (SPA) нижнього поверху (17), закріплену в пазах. Після запінювання пазів дошки обв’язки (13) прибивають цвяхами 60 мм (15)

з кроком 15 см. Установлені на верхню обв’язку панелі перекриття (13) з торців зашивають дощатим торцевим блоком (4), який вставляють у пази міжповерхових панелей (13) після запінювання монтажною піною-клеєм. Установлені панелі міжповерхового перекриття (13) закріплюють до верхньої обв’язки стін нижнього поверху (14) конструкційними саморізами потрібної довжини (2). До поверхні панелей міжповерхового перекриття (13) згідно з розміткою закріплюють дошки нижньої обв’язки стін верхнього поверху (12) монтажною піною-клеєм і двома рядами цвяхів 90 мм (10). Окрім того, додаткове закріплення нижньої обв’язки стін (12) можна здійснювати конструкційними саморізами (3) до верхньої обв’язки стін нижнього поверху з кроком 40 см. На нижню обв’язк у стін (12) верхнього поверху після її запінювання монтажною піною-клеєм, а також нижніх пазів стінових СІП-панелей другого поверху, встановлюють СІП-панелі стіни верхнього поверху (8), які закріплюють до нижньої обв’язки (12) цвяхами 60 мм (11) з кроком 15 см. Піс ля завершення зведення зовнішніх стін виконують їхнє опорядження фінішним покриттям (8).

На рис. 6.11 пок азано фрагмент вузла 4 зі з’єднанням між стіновими СІП-панелями і конструктивними елементами міжповерхового перекриття.

78 6
Право для безоплатного розміщення підручника в мережі Інтернет має Міністерство освіти і науки України http://mon.gov.ua/ та Інститут модернізації змісту освіти https://imzo.gov.ua

Рис. 6.11. Вузол 4. З’єднання між стіновими панелями Ozone і конструкцією міжповерхового перекриття: 1 — СІП-панелі нижньої стіни; 2 — гвинтові цвяхи (крок 15 см); 3,6 — стрічка для шумозахисту; 4 — настил із ОСП; 5 — гвинтові цвяхи згідно з розрахунком; 7 — торцевий блок; 8 — балкова заглушка з полістирену; 9 — подвійна верхня обв’язка стін нижнього поверху; 10 — Ozone панелі стіни нижнього поверху; 11 — дерев’яна несуча балка міжповерхового перекриття

Вузол 5. З’єднання зовнішньої стіни з дахом СІП-будинку Контрольні

запитання

1. Чим скріплюють сусідні СІП-панелі зовнішніх стін будинку?

2. Чим закріплюють стінові СІП-панелі до верхньої і нижньої обв’язок стін?

3. Які герметики використовують для ущільнення швів і стиків СІП-панелей?

4. Розкажіть про особливості з’єднання стінових панелей і конструкції міжповерхового перекриття.

6.5. Вузол 5. З’єднання зовнішньої стіни з дахом СІП-будинку

Дахи СІП-будинків будують переважно з використанням СІП-панелей, які укладають перпендикулярно до гребеня. При використанні кроквяної системи СІП-панелі можуть укладати і паралельно гребеню. При використанні наскрізних і кроквяних ферм можуть використовувати покриття з настилом як із СІП і сендвіч-панелей, так і суцільним дощатим настилом або з латами.

Приклади конструювання вузлів з’єднань стін і даху СІП-будинків, а також окремих інших з’єднань покриттів з використанням зарубіжних матеріалів наведено на рис. 6.12–6.17.

На рис. 6.12 пок азано вузол 5  — з’єднання покрівельної СІП-панелі з магнезитовою обшивкою зі стіновою СІП-панеллю.

Дах має похилий софіт під кутом 65°. Верхня обв’язка (верхня плита) стінової СІП-панелі (14) має нахил, який дорівнює кутові схилу даху. Її закріплюють до обшивки стінової СІП-панелі саморізами 8G — 32 мм з  гальванічним покриттям обабіч з кроком 15 см. Зазначмо, що чорні саморізи для з’єднання панелей MagRoc не варто використовувати. Дерев’яні двотаврові балки (8) закріплюють до верхньої обв’язки (14) крізь магнезитову плиту (13) саморізами

79 6.5.
Право для безоплатного розміщення підручника в мережі Інтернет має Міністерство освіти і науки України http://mon.gov.ua/ та Інститут модернізації змісту освіти https://imzo.gov.ua

Конструкція будинку із СІП-панелей

Рис. 6.12. Вузол 5. З’єднання СІП-панелі даху із похилим софітом під кутом 65° зі стіновою панеллю MagRoc: 1 — штукатурка; 2 — фартух софіту з відступом 6 мм; 3 — покрівельна стрічка на торцевій дошці; 4 — накладка софіту по 30х70 мм рейками; 5 — дошка фасції; 6 — зовнішня торцева дошка; 7 — магнезитова рейка; 8 — двотаврова дерев’яна балка (крок 1200 мм), яка проходить крізь СІП-панелі даху назовні до фасції; 9 — внутрішня торцева дошка; 10 — покрівельне залізо; 11 — лати; 12 — СІП-панель даху; 13 — магнезитова дошка; 14 — верхня обв’язка (верхня плита) зовнішньої стіни; 15 — сердечник стінової СІП-панелі MagRoc; 16 — магнезитова обшивка стінової СІП-панелі

по два з кожного боку (див. також рис. 6.16). До балок (8) закріплюють саморізами СІП-панелі даху (12) по верхньому і нижньому поясах двотаврової дерев’яної балки (8). Через магнезитові рейки (7) і лати (11) до дерев’яних балок і СІП-панелей даху (12) кріплять залізну (або іншу) покрівлю. З торця дерев’яні балки (8) зашивають зовнішньою торцевою дошкою (6), до якої, своєю чергою, закріплюють саморізами дошки фасції (5). Внутрішня торцева дошка (9) закриває торці СІП-панелей даху (12) покрівельною стрічкою, з’єднаною з дошкою (9) згідно з інженерним рішенням.

Знизу софіт обмежують накладкою (4), закріпленою саморізами до рейок.

На рис. 6.13 зображено фрагмент вузла 5 з’єднання СІП-стіни з елементами даху із СІП-панелей.

Внутрішня торцева дошка MagRoc (1) закриває торці СІП-панелей (2). Дерев’яні двотаврові балки (3) з’єднують сусідні СІП-панелі даху й утворюють його звис. Відстань між осями двотаврових балок даху — 1200 мм. Закріплення елементів даху здійснюють гальванізованими саморізами.

Рис. 6.13. Вузол 5. Фрагмент з’єднання

СІП-стіни і елементів даху СІП-будинку: 1 — внутрішня торцева дошка; 2 —

СІП-панель; 3 — дерев’яна двотаврова балка; 4 — дерев’яна дошка верхньої обв’язки стіни нижнього поверху

На рис. 6.14 показано вузол 5 — з’єднання кроквяної дерев’яної ферми холодного даху з прямокутним софітом зі стіновою СІП-панеллю.

СІП-панель зовнішньої стіни будинку (11) має подвійну верхню обв’язку (5), закріплену саморізами 8G — 32 мм до магнезитової

обшивки СІП-панелей з обох боків з кроком 15 см. За допомогою покрівельної

накладки (6) здійснюють закріплення кроквяної ферми до подвійної верхньої обв’язки (5). Облицювання софіту (2) з’єднують з дошкою фасції (3) і закріпленою до стіни консольною дошкою (12). Покрівельне залізо (8) закріплюють до лат гальванізованими саморізами, а облицювання стелі (9) — до кутика, який кріплять до подвійної верхньої обв’язки зовнішньої стіни (11) верхнього поверху СІП-будинку.

80 6
Право для безоплатного розміщення підручника в мережі Інтернет має Міністерство освіти і науки України http://mon.gov.ua/ та Інститут модернізації змісту освіти https://imzo.gov.ua

Рис. 6.14. Вузол 5. З’єднання кроквяної ферми даху з прямокутним софітом зі стіновою СІП-панеллю: 1 — штукатурка; 2 — облицювання софіту; 3 — дошка фасції; 4 — кроквяна ферма даху; 5 — подвійна верхня обв’язка (плита); 6 — покрівельна накладка з’єднання верхньої обв’язки стіни з кроквяною фермою; 7 — лата; 8 — покрівельне залізо; 9 — кутник для кріплення облицювання; 10 — монтажна піна-клей; 11 — стінова СІП-панель; 12 — консольна дошка

На рис. 6.15 показано вузол 5 з’є днання кроквяної дерев’яної ферми теплого даху з прямокутним софітом зі стіновою

СІП-панеллю.

Кроквяну ферму (4) зв’язують з торцевою дошкою (7) покрівельною накладкою (5). Торцеву дошку (7) закріплюють

до СІП-панелі (9) теплого даху монтажною

піною-клеєм і гальванізованими саморізами 8G — 32 мм з  кроком 15 см. Панелі перекриття (теплий дах), окрім покрівельної

Рис. 6.15. Вузол 5. З’єднання кроквяної ферми теплого даху з прямокутним софітом зі стіновою СІП-панеллю: 1 — штукатурка; 2 — облицювання софіту; 3 — дошка фасції; 4 — кроквяна ферма даху; 5 — покрівельна накладка з’єднання верхньої обв’язки стіни з кроквяною фермою; 6 — лата; 7 — безперервна торцева дошка теплого даху; 8 — покрівельне залізо; 9 — СІП-панель MagRoc теплого даху; 10 — верхня обв’язка зовнішньої стіни; 11 — стінова СІП-панель; 12 — консольна дошка

накладки (5), треба закріпити до верхньої

обв’язки стіни верхнього поверху конструкційними саморізами. Решту з’єднань елементів даху між собою і зовнішньою стіною здійснюють так само, як і в попередньому прикладі, зображеному на рис. 6.16.

На рис. 6.16 зображено вузол 5 — з’єднання стінової СІП-панелі (1) з СІП-панеллю даху (5).

На верхній обв’язці (плиті) зовнішньої

стіни (2), закріпленої до стіни з двох боків 8d цвяхами з кроком 15 см (8), змонтовано опорну п’яту (мауерлат) (9) для СІП-панелі даху. П’ята (мауерлат) має скіс з кутом схилу даху. Її закріплюють цвяхами 90 мм (7) з кроком 30 см зверху — до СІП-панелі даху, знизу — до верхньої плити зовнішньої стіни. Проміжок між п’ятою (9), панеллю даху (5) і верхньою плитою зовнішньої стіни заповнюють (якщо потрібно) монтажною піною-клеєм. Частина проміжку може бути використана для прокладання в ньому електропроводки. СІП-панель даху (5) закріплюють до верхньої плити (2) конструкційними саморізами (3) з кроком 30 см. Під час монтажу елементів будинку використовують монтажну стрічку (6): наприклад, на стику стіни (1) і панелі даху (5) з боку приміщень СІП-будинку.

81
6.5.
Вузол 5. З’єднання зовнішньої стіни з дахом СІП-будинку
Право для безоплатного розміщення підручника в мережі Інтернет має Міністерство освіти і науки України http://mon.gov.ua/ та Інститут модернізації змісту освіти https://imzo.gov.ua

Рис. 6.16. Вузол 5. З’єднання стінової СІП-панелі з СІП-панеллю даху: 1 — стінова СІП-панель; 2 — верхня обв’язка стіни верхнього поверху; 3 —

ущільнювач (SPA); 4 — конструкційний саморіз (проникнення у обв’язку

не менше 30 мм); 5 — СІП-панель

даху; 6 — СІП-стрічка (монтажна);

7 — цвяхи 90 мм (крок 30 см); 8 —

цвяхи 8d з кроком 15 см; 9 — заповнення монтажною піною і п’ята; 10 —

монтажна піна-клей (ущільнювач)

Контрольні запитання

1. Намалюйте конструкцію вузла з’єднання СІП-панелей даху з похилим софітом зі стіновою СІП-панеллю.

2. Намалюйте конструкцію вузла з’єднання кроквяної ферми теплого даху з прямокутним софітом зі стіновою СІП-панеллю.

3. Намалюйте конструкцію вузла з’єднання стінової СІП-панелі із СІП-панеллю даху.

4. Намалюйте з’єднання зовнішньої стіни із СІП-панелей з СІП-панеллю даху.

6.6. Вузол 6. Улаштування з’єднання гребеня даху

із СІП-панелями даху. Вузол 7. Перетинання димаря з дахом

Гребінь даху — це основний несучий елемент даху, який розташований на вершині (зламі) даху в місці перетину його схилів.

На рис. 6.17 показано конструкцію гребеневого вузла двосхилого даху із СІП-панелей, які мають конструктивну опору (1) для з’єднувальних брусів, які одночасно є кроквяною системою.

Рис. 6.17. Вузол 6. Улаштування

з’єднання гребеня даху із СІП-панеллю даху: 1 — конструктивна опора 90х40 мм; 2 — ущільнення (монтажна піна); 3 — СІП-панель даху; 4 — гребінь із монтажною піною-клеєм; 5 — цвяхи 60 мм з кроком 15 см; 6,7 — конструкційні саморізи з кроком 30 см; 8 — кришка даху; 9 — ущільнювач; 10 — СІП-панель даху; 11 — будівельна ущільнювальна плівка; 12 — ущільнення розширювальною піною; 13 — дерев’яна скошена планка

82 6 Конструкція будинку із СІП-панелей 82
Право для безоплатного розміщення підручника в мережі Інтернет має Міністерство освіти і науки України http://mon.gov.ua/ та Інститут модернізації змісту освіти https://imzo.gov.ua

6.6. Вузол 6. Улаштування з’єднання гребеня даху із СІП-панелями даху. Вузол 7. Перетинання димаря з дахом

Рис. 6.18. Вузол 6. З’єднання гребеня даху із СІП-панелями даху і кроквами: 1 — гребенева балка; 2 — кроква; 3 — гіпсокартон; 4 — СІП-панелі даху; 5 — монтажна піна-клей; 6 — гребеневий з’єднувач; 7 — ущільнювач краю панелей; 8 — гвинтові цвяхи; 9 — конструкційні саморізи; 10 — товщина панелі даху

З’єднувальні бруси опираються на дерев’яну скошену планку (13). Кінці панелей даху (шириною 625 мм) фіксують конструктивними саморізами (6) до опори (1) через дерев’яну скошену планку (13). Саморізи мають заглибитись у конструктивну опору (1) не менше ніж на 40 мм. Проміжок між торцевими дошками панелей даху заповнюють розширювальною піною (4) і накривають кришкою (8). Після твердіння монтажної піни гребеня (4) кришку (8) пригвинчують конструктивними саморізами (7) до торцевих дощок СІП-панелей даху (3) і (10). На рис. 6.18 пок азано вузол 6 — з’єднання гребеня даху із СІП-панелями даху і кроквами.

Таке рішення можливе при розташуванні панелей даху паралельно до гребеня. Панелі даху (4) закріплюють до гребеневого з’єднувача (6) монтажною піною-клеєм (5), а також кріплять ущільнювач краю панелей (7) гвинтовими цвяхами (8) з кожного боку згори і знизу з’єднувача (6). До крокв (2) панелі даху кріплять конструкційними саморізами (9) з кроком 30 см (у здовж крокв). Між панелями даху і кроквами укладають шар гіпсокартону.

Особливої уваги потребують ділянки даху, де відбувається перетинання димарів або вентиляційних труб з покриттям даху. Герметизація обох поверхонь потребує ретельності й акуратності. На рис. 6.19 пок азано вузол 7  —

Рис. 6.19. Вузол перетинання димаря

з дахом: 1 — гіпсокартон; 2 — вогнезахист (гіпс); 3 — димар; 3 — гідроізоляція; 4 — СІП-панелі даху

83
Право для безоплатного розміщення підручника в мережі Інтернет має Міністерство освіти і науки України http://mon.gov.ua/ та Інститут модернізації змісту освіти https://imzo.gov.ua

Конструкція будинку із СІП-панелей

Рис. 6.20. Вузол перетинання вентиляційної труби з дахом: 1 — повільнорозширювальна піна; 2 — панель даху; 3 — фартух—ізоляція; 4 — вентиляційна труба; 5 — отвір у даху ˃300 мм без заклинювання

перетинання димаря з дахом. Вузол перетинання вентиляційних труб з дахом наведено на рис. 6.20.

Отвір для пропуску димаря крізь дах має бути ширше за діаметром (у світлі) не менше ніж на 10 см. Прос тір між краями димаря і краями отвору заповнюють вогнезахисним матеріалом, наприклад, гіпсом.

По верху покрівлі навкруги димаря (3) із цього матеріалу (2) улаштовують відкоси, які покривають гідроізоляційним матеріалом (4). Простір між поверхнею вентиляційної труби і краями отвору у дахові заповнюють повільнорозширювальною піною (1), яка є ізоляційними матеріалом, здатним захистити сердечник СІП-панелі від температури 70°С і вище. Якщо діаметр отвору в даху із СІП-панелей для пропуску вентиляційної труби не перевищує 300 мм, то цей простір не потребує заклинювання в ньому тіла вентиляційної труби. Після затвердіння повільнорозширювальної піни на поверхні покрівлі даху в місці проникнення вентиляційної труби (4) улаштовують металевий фартух (3) навкруги вентиляційного стояка.

Контрольні запитання

1. Намалюйте вузол перетинання димаря з дахом із СІП-панелей.

2. Чим відрізняються вузли перетинання вентиляційної труби та даху?

3. Як здійснюють герметизацію щілин між поверхнями димаря і даху?

4. Які герметики можна використовувати для зовнішніх швів у зоні даху?

6.7. Вузол 8. Улаштування карниза даху

Карниз — це горизонтальний виступ на стіні будинку, який підтримує звис покрівлі та захищає поверхню зовнішньої стіни від стічної води.

Карниз має також декоративне значення. У малоповерхових будинках карниз нерідко називають звисом, який підтримують так звані кобилки, що продовжують крокви.

84 6
Право для безоплатного розміщення підручника в мережі Інтернет має Міністерство освіти і науки України http://mon.gov.ua/ та Інститут модернізації змісту освіти https://imzo.gov.ua

Рис. 6.21. Вузол 8. Улаштування карниза даху: 1 — софіт; 2 — фасція; 3 — слізник; 4 — призначено для захисту фасції від снігу або води; 5 — з’єднувальна смуга; 6 — конструкційний саморіз (крок 30 см); 7 — ущільнювач-клей; 8 — СІП-панелі даху; 9 — торцева дошка; 10 — безперервне ущільнення (клей); 11 — стінова СІП-панель; 12 — 8d цвяхи (крок 15 см); 13 — подвійне обрамлення; 14 — кобилка; 15 — торцева з’єднувальна рейка

На рис. 6.21 зображено вузол 8 улаштування карниза (звису) даху із СІП-панелей, де карниз формують кобилкою (14), подвійним обрамленням (13), софітом (1) і фасцією (2). Кобилка (14) і СІП-панель даху (8) з’єднують смугою (5). СІП-панель даху (8) закріплюють до верхньої плити (обв’язки) (9) конструкційними саморізами (6), які треба загвинчувати у верхню плиту (9) не менше ніж на 40 мм. Крок конструкційних саморізів (6) дорівнює 30 см. Торцеву дошку СІП-панелі даху (9) з’єднують з обшивками і сердечником монтажною піною-клеєм (7) і 8d цвяхами з обох боків. Кобилку (14) та подвійне обрамлення (13) з’єднують з СІП-панелями даху (8) і зовнішньої стіни (11) через дошки цвяхами 12d з кроком 30 см. До подвійного обрамлення (13) софіти (1) закріплюють цвяхами 8d з кроком 30 см. До торцевої з’єднувальної дошки (15) цвяхами 8d з кроком 30 см приєднують фасцію (2).

На рис 6.22 зображено вузол 8 — улаштування карниза холодного даху будинку із СІП-панелей, в якому дах будують з використанням крокв’яних ферм, а не СІП-панелей.

Кроквяні дерев’яні ферми (4) обпирають нижнім поясом на дерев’яні прокладки (10) (необов’язкові) або безпосередньо на подвійну дерев’яну обв’язку (верхню

Рис. 6.22. Вузол 8. Улаштування карниза холодного даху: 1 — софіт; 2 — фасція; 3 — настил покрівлі; 4 — кроквяна дерев’яна ферма; 5 — накладна в’язь; 6 — паробар’єр; 7 — гіпсокартон;

8 — безперервне ущільнення (клей);

9 — стінова СІП-панель; 10 — дощата прокладка (необов’язкова); 11 — 8d цвяхи (крок 15 см); 12 — подвійна верхня плита; 13 — з’єднувальна дошка; 14 —

подвійне обрамлення; 15 — з’єднувальна торцева дошка карниза

85 6.7.
Вузол 8. Улаштування карниза даху
Право для безоплатного розміщення підручника в мережі Інтернет має Міністерство освіти і науки України http://mon.gov.ua/ та Інститут модернізації змісту освіти https://imzo.gov.ua

Конструкція будинку із СІП-панелей

Рис. 6.23. Вузол 8. Улаштування карниза плоского даху: 1 — софіт; 2 — фасція; 3 — слізник; 4 — при потребі улаштовується

сніговий або гідрозахист; 5 — СІП-панелі даху; 6 — конструкційний саморіз (крок 30 см); 7 — ущільнювач-клей з кожного боку; 8 — подвійна верхня плита; 9 — стінова СІП-панель; 10 — безперервне ущільнення (клей); 11 — 8d цвяхи (крок 15 см); 12 — дощата прокладка (необов’язкова); 13 — виліт карниза 1200 мм макс; 14 — торцева дошка

плиту) зовнішньої стінової панелі (9), яку закріплюють до обшивки стінової СІП-панелі монтажною піною-клеєм (8) зверху і знизу та обох боків, а також цвяхами 8d

з кроком 15 см. До верхнього поясу кроквяної ферми (4) торцевої з’єднувальної дошки (15) і з’єднувальної дошки (13), закріпленої цвяхами 12d до зовнішньої стіни із СІП-панелей, монтують подвійне обрамлення карниза (14) цвяхами 12d з кроком 30 см. Софіт з отворами в ньому (1) і фасцію (2) закріплюють цвяхами 8d з кроком 30 см. За необхідності здійснюють облаштування для захисту фасції від дощової талої води, снігу і льоду.

На рис. 6.23 показано вузол 8  улаштування карниза плоского даху будинку. Карниз є консольним виступом СІП-панелей даху (5), закріплених до стінових СІП-панелей зовнішніх стін (9) конструкційними саморізами (6) з кроком 30 см, які мають загвинчувати у подвійну верхню плиту (обв’язку) зовнішньої стіни не менше ніж на 40 мм. СІП-панель даху (5) спирають на дощату прокладку (12), укладену на подвійну верхню плиту (обв’язку) (8), які зв’язані між собою монтажною піною-клеєм (10). Подвійну верхню плиту (8) закріплюють до стінової СІП-панелі монтажною піною-клеєм (7) та цвяхами 8d (11) з обох боків. Торцеву дошку СІП-панелей даху з’єднано з ними (5) монтажним клеєм-піною і цвяхами 8d з кроком 15 см. До виступу СІП-панелі даху закріплений софіт (1) цвяхами 8d з кроком 30 см. Фасцію (2) кріплять до торцевої дошки (14) цвяхами 8d з кроком 30 см. Виліт карниза плоского даху СІП-будинку не має перевищувати 120 см.

Контрольні запитання

1. Намалюйте конструкцію улаштування карниза даху із СІП-панелей.

2. Дайте визначення карниза даху.

3. Що таке софіт і фасція?

4. Намалюйте улаштування карниза плоского даху.

6.8. Вузол 9. З’єднання зовнішньої стіни з перегородкою

Вузол 9 є конструкцією з’єднання зовнішньої СІП-стіни малоповерхового будинку з каркасною обшивкою або СІП-перегородкою під прямим кутом.

86 6
Право для безоплатного розміщення підручника в мережі Інтернет має Міністерство освіти і науки України http://mon.gov.ua/ та Інститут модернізації змісту освіти https://imzo.gov.ua

зовнішньої стіни

з перегородкою

Рис. 6.24. Вузол 9. З’єднання зовнішньої стіни із СІП-панелей зі стандартною каркасною-обшивною

стіновою перегородкою (гіпсокартонну обшивку

не показано): 1 — нижня базова плита (обв’язка)

зовнішньої стіни; 1 — електроканали; 2 — верхня плита (обв’язка) зовнішньої стіни; 3 — гіпсокартон

на внутрішній поверхні зовнішньої стіни; 4 — каркас перегородки; 5 — цвяхи 8d з кроком 20 см або саморізи по дереву № 10 потрібної довжини з кроком 30 см

Каркасно-обшивні перегородки у СІП-будинках є одним із варіантів улаштування внутрішніх огороджувальних конструкцій. Бокові стійки внутрішніх стін або перегородок прикріплюють до зовнішніх СІП-стін (рис. 6.24) цвяхами 8d з кроком 20 см або саморізами по дереву № 10 (6) потрібної довжини з кроком 30 см.

Проміжні стійки таких перегородок (5) встановлюють на відстані 50–90 см одна від одної. Для забезпечення потрібної звукоізоляції простір між стійками заповнюють мінеральною ватою. Внутрішні поверхні зовнішніх стін обшивають тепло- і звукобар’єром у вигляді гіпсокартонних плит, які також можуть служити обшивкою внутрішніх стін або перегородок.

Замість дерева, каркас внутрішніх стін або перегородок можна виконати із легких сталевих тонкостінних конструкцій (ЛСТК). Особливостями металевих профілів є те, що вони по всій довжині прямолінійні, однаково міцні, пожежобезпечні, не підлягають жолобінню, корозії, їх не пошкоджують шкідники, не піддаються тріщиноутворенню, мають доведену довговічність. Металевий каркас є зручним у роботі, він не потребує конструювання кутів, встановлення додаткових елементів, оскільки гіпсокартон сам сприяє стягуванню суміжних стін. Для підсилення жорсткості перегородки гіпсокартонні плити кріплять на каркасі врозбіг. По закінченні монтажу стики між ГКП ретельно шпаклюють, обробляють, після чого перегородка готова під фарбування або обк леювання шпалерами. Зазначмо, що з гіпсокартону можна зробити перегородку не тільки прямою, але й криволінійною.

Рис. 6.25. Вузол 9 (план). З’єднання зовнішньої стіни із СІП-панелей (Ozone) з перегородкою із СІП-панелей: 1 — зовнішня стіна; 2 — гвинтові цвяхи з кроком 15 см; 3 — СІП-панель перегородки; 4,6 — гіпсокартон; 5 — конектор; 7 — СІП-панель зовнішньої стіни; 8 — конструкційні саморізи потрібної довжини з кроком 30

На рис. 6.25 зображено вузол 9 — з’єднання зовнішньої стіни (7) із СІП-панелей з перегородкою із СІП-панелей (Ozone) (3) під прямим кутом у плані.

З’єднання між ними здійснюють за допомогою конектора (з’єднувача) (5) і конструктивних саморізів (8) потрібної довжини з кроком 30 см. Конектор (5) з’єднують із панелями перегородки (3) гвинтовими цвяхами (2) з кроком 15 см з  обох боків та монтажною піною-клеєм. Внутрішню поверхню зовнішньої

87 6.8.
Вузол 9. З’єднання
3 2 1 6 5 4 Право для безоплатного розміщення підручника в мережі Інтернет має Міністерство освіти і науки України http://mon.gov.ua/ та Інститут модернізації змісту освіти https://imzo.gov.ua
см

Конструкція будинку із СІП-панелей

стіни будинку (7) і поверхню перегородки (3) (з обох боків) облицьовують гіпсокартонними плитами (4,6) з метою підвищення пожежної безпеки і звукоізоляції приміщень СІП-будинку.

Контрольні запитання і завдання

1. Намалюйте вузол з’єднання зовнішньої стіни із СІП-панелей зі стандартною внутрішньою каркасно-обшивною стіною.

2. Намалюйте конструкцію вузла з’єднання зовнішньої стіни із СІП-панелей з перегородкою із СІП-панелей.

 Тестові завдання

1. Якими цвяхами закріплюють стінову СІП-панель до нижньої обв’язки?

а) 40 мм; б) 60 мм; в) 80 мм.

2. З яким кроком забивають цвяхи, якими закріплюють стінові СІП-панелі до нижньої обв’язки?

а) 15 см; б) 20 см; в) 25 см; г) 30 см.

3. Якими цвяхами закріплюють нижню обв’язку СІП-стіни до дерев’яних балок нижнього перекриття будинку?

а) 80 мм; б) 90 мм; в) 100 мм і більше.

4. Якими саморізами закріплюють обрамування дверного прорізу до ОСП обшивки СІП-панелей?

а) 40 мм; б) 60 мм; в) 70 мм; г) більше 70 мм.

5. Які дошки використовують для обрамлення віконних і дверних прорізів?

а) 145х25 мм;б) 145х30 мм;в) 145х40 мм.

6. З яким кроком встановлюють конструкційні саморізи для кріплення СІП-панелей до верхньої обв’язки СІП-стіни?

а) 20 см; б) 25 см; в) 30 см; г) 30 см і більше.

7. На яку глибину в деревину треба загвинчувати конструкційні саморізи?

а) 20 мм; б) 30 мм; в) 40 мм; г) 50 мм і більше.

8. Якої ширини СІП-панелі використовують для улаштування даху будинку?

а) 50 см; б) 60 см; в) 62,5 см;г) 120 см.

88 6
Право для безоплатного розміщення підручника в мережі Інтернет має Міністерство освіти і науки України http://mon.gov.ua/ та Інститут модернізації змісту освіти https://imzo.gov.ua

7.1. Вибір фундаменту для СІП-будинку

РОЗДІЛ 7. ВИБІР ФУНДАМЕНТУ ДЛЯ СІП-БУДИНКУ

І МОНТАЖ ЦОКОЛЬНОГО ПЕРЕКРИТТЯ

ТА СТІН ПЕРШОГО ПОВЕРХУ 7.1. Вибір фундаменту для СІП-будинку

Зважаючи на відносно невелику вагу СІП-будинку, рекомендованими типами фундаментів для нього є: монолітний бетонний або збірний стрічковий фундамент, суцільна плита на ґрунті, стовпчастий фундамент з рандбалками на збірних або монолітних бетонних стовпах, на буронабивних палях.

Остаточний вибір фундаменту залежить від багатьох умов: рівня ґрунтових вод, наявності верховодки, слабких ґрунтів, можливості придбання і використання тих чи інших будівельних матеріалів та їхньої доставки на будівельний майданчик. Окрім того, важливою є наявність у проєкті будинку підвальних приміщень. Неабияке значення має максимальне зменшення земляних робіт, від чого залежить вибір типу фундаменту й технології його зведення.

Після завершення робіт з улаштування фундаменту велику увагу приділяють питанням гідроізоляції. Особливо це стосується опирання на фундамент обв’язувального опорного бруса під перекриття першого поверху або цоколю і безпосередньо зовнішніх стін із СІП-панелей, перегородок із СІП-панелей або каркасно-обшивних перегородок всередині будинку. При спорудженні фундаменту необхідно приділяти увагу рівності його обрізів, рівності поверхні ростверку, рандбалок, верхньої грані обв’язувального бруса, від точності укладання якого залежить простота і якість або подальша складність монтажу зовнішніх і внутрішніх несучих стін, перегородок та інших конструкцій СІП-будинку.

Для гідроізоляції фундаментів і опорних обв’язувальних брусів можна використовувати обклеювальні й обмащувальні гідроізоляційні матеріали, такі як руберойд , пергамін на бітумній основі , бітум та інші.

Контрольні запитання

1. На щ о треба звернути увагу після завершення робіт з улаштування фундаменту СІП-будинку?

2. Які матеріали можна використати для гідроізоляції?

89
Право для безоплатного розміщення підручника в мережі Інтернет має Міністерство освіти і науки України http://mon.gov.ua/ та Інститут модернізації змісту освіти https://imzo.gov.ua

Вибір фундаменту для СІП-будинку і монтаж цокольного перекриття та стін першого поверху

7.2. Монтаж обв’язувального опорного бруса

для цокольного перекриття, напрямних обв’язувальних

брусів для зовнішніх стін і перегородок.

Монтаж цокольного перекриття

Монтаж конструкцій СІП-будинку починають з  розмітки на поверхні фундаментів ліній і осей обв’язувального контуру згідно з проєктом. Потім за шаблоном просвердлюють у фундаменті отвори, в які встановлюють анкерні болти, центрують їх по осі і закріплюють цементуванням. При цьому можуть використовувати анкерні болти з гайками. Якщо у проєкті передбачено загнуті болти, то їх встановлюють у проєктне положення та надійно закріплюють вертикально під час бетонування фундаментів. Зазвичай діаметр болтів — 12 мм. Відстань між болтами з гайками — 50 см. Зігнуті болти встановлюють з кроком, визначеним проєктом. Довжина болтів має бути такою, щоб забезпечити їхнє занурення у бетон не менше ніж на 100 мм. Між анкерними болтами прокладають стрічку з еластичного гідроізо ляцій ного матеріалу (наприклад, із руберойду у два шари на бітумі), на який укладають бруси довжиною 4–6 м, шириною 100 мм, товщиною не менше 40 мм, в яких попередньо висвердлюють отвори за шаблоном для проходження анкерних болтів. Бруси кріплять до фундаменту і вирівнюють по горизонталі шляхом затягування анкерних болтів. Головки болтів утоплюють в обв’язувальний брус нарівні з його верхньою гранню. Якщо нижній обв’язувальний брус має переріз 40х150 мм, то головки анкерних болтів утоплюють не у деревину бруса, а в сердечник СІП-панелі. На кутах і перетинах елементи опорного бруса об’єднують між собою врізками-скобами і кріплять конструктивними саморізами, якщо брус має переріз 100х100 мм або 200х200 мм. Зазначмо, що обв’язувальний опорний брус виготовляють із сухої деревини, просоченої вогнебіозахисним складом.

При використанні металевих гвинтових паль як фундаменту СІП-будинку обв’язувальний опорний брус (рандбалку) встановлюють на горизонтальні металеві оголовки, приварені до металевої труби палі. Рандбалку кріплять до оголовків болтами відповідно до проєктних креслень. Важливо, що граничне відхилення гвинтових паль від вертикалі не має перевищувати 2°.

Гвинтові палі виготовляють з електрозварних прямошовних труб перерізом 108х5 мм. Лопаті палі виготовляють за ДСТУ 2651:2005, ДСТУ 8540:2015.

На нижньому обв’язувальному опорному брусі монтують цокольне перекриття, яке складається з дерев’яних лаг, подвійних вставок, укладених у вибрані пази СІП-панелей, і самих СІП-панелей. Це нижнє цокольне перекриття називають нульовим. При розробці проєкту будівлі від рівня поверхні цокольного перекриття здійснюють відлік решти висоти і розмірів. Цокольне перекриття забезпечує утеплення першого поверху, захищає його від холодного повітря підвалу.

Опорним елементом цокольного перекриття є обв’язувальний опорний брус, змонтований на фундаменті, як показано на рис. 7.1.

90 7
Право для безоплатного розміщення підручника в мережі Інтернет має Міністерство освіти і науки України http://mon.gov.ua/ та Інститут модернізації змісту освіти https://imzo.gov.ua

Рис. 7.1. Обв’язувальний опорний брус на цокольній частині фундаменту СІП-будинку: а — змонтована частина обв’язувального опорного бруса; б — частина обв’язувального опорного бруса, який монтують; 1 — цокольна частина стрічкового фундаменту; 2 — змонтований обв’язувальний опорний брус; 3 — обв’язувальний опорний брус, який монтують

і перегородок. Лаги є несучими елементами

Монтаж починається зі встановлення СІП-панелей перекриття в будь-якому куті цокольної частини фундаменту будинку (рис. 7.2).

У спеціально вирізаний в сердечнику СІП-панелі паз укладають подвійну вставку з двох дощок перерізом 40х200 мм, до якої з протилежного боку вставляють наступну СІП-панель. Перед вкладанням подвійної вставки обидва торцеві пази СІП-панелей запінюють піною-клеєм для запобігання утворенню містка холоду. Вставку кріплять крізь обшивку із ОСП шурупами по дереву діаметром 3,5 мм і довжиною 40 мм з кроком 15 см.

Після з’єднання і закріплення першого ряду СІП-панелей цокольного перекриття у боковий паз зрощених СІП-панелей вкладають лагу із двох дощок перерізом 40х200 мм. Перед цим повздовжні пази СІП-панелей знов заповнюють монтажною піною. Для того щоб піна добре затверділа, перед її нанесенням поверхні треба збризнути водою із розпилювача. Це сприяє полімеризації піни. Тому для отримання потрібної міцності підлоги використовують СІП-панелі шириною 625 мм, щоб збільшити кількість лаг. Для з’єднання панелей з дерев’яними лагами перекриття використовують саморізи по дереву 3,5х40 мм з кроком 150 мм.

Рис. 7.2. Схема монтажу СІП-панелей перекриття цокольної частини фундаменту СІП-будинку:

1 — стрічковий фундамент будинку; 2 — подвійна вставка із дощок; 3 — лага із двох дощок; 4 — брус для зашивання торців цокольного перекриття

91
цокольного
2 1 3 Право для безоплатного розміщення підручника в мережі Інтернет має Міністерство освіти і науки України http://mon.gov.ua/ та Інститут модернізації змісту освіти https://imzo.gov.ua
7.2. Монтаж обв’язувального опорного бруса для цокольного перекриття, напрямних обв’язувальних брусів для зовнішніх стін
перекриття.

Вибір фундаменту для СІП-будинку і монтаж цокольного перекриття та стін першого поверху

Вставки для поперечних стиків СІП-панелей кріплять до лаг саморізами по дереву 4,2х75 мм  — по одному саморізу на кожний торець кожної вставки. Цокольне перекриття кріплять до кожного обв’язувального опорного бруса саморізами 8х280 мм через кожну здвоєну лагу. Усі торці перекриття зашивають антисептованим брусом 40х200 мм. Д ля забезпечення гідроізоляції нижню поверхню панелей цокольного перекриття покривають шаром бітумної мастики. За кордоном простір між ґрунтом і нижньою поверхнею цокольних панелей вентилюють крізь продухи у стінах фундаментів. Проєкт фундаменту має враховувати наявність точок опори і обв’язувального бруса під усіма внутрішніми стінами й перегородками. Після завершення монтажу СІП-панелей цокольного перекриття утворюється рівний міцний суцільний щит, на якому згідно з попередньо розробленою схемою роблять точну розмітку нижньої з’єднувальної обв’язки першого поверху.

Контрольні запитання

1. З чого починається монтаж конструкцій СІП-будинку?

2. Як вирівнюють обв’язувальні опорні бруси на фундаменті?

3. Як кріплять елементи обв’язувального опорного бруса на кутових ділянках фундаменту?

4. Із яких елементів складається цокольне перекриття?

5. Від якої поверхні здійснюють відлік усіх висотних відміток будівлі?

6. З якого місця починається монтаж цокольного перекриття?

7. Для чого використовують лагу при монтажі СІП-панелей перекриття?

8. Чим подвійні вставки і лаги скріплюють із СІП-панеллю?

7.3. Монтаж

Монтаж стінових панелей

Монтаж нижньої обв’язки стін першого поверху наведено на рис. 7.3. Нижню з’єднувальну обв’язку стін першого поверху виконують із сухого бруса перерізом 45х145 мм або 90х145 мм залежно від проєктного рішення. При Рис. 7.3. Монтаж нижньої обв’язки стін: 1 — конструктивний саморіз TORX MSX 280 мм; 2 — СІП-панель цокольного перекриття; 3 — цокольне перекриття; 4 — нижня обв’язка

92 7
нижньої обв’язки стін першого поверху.
стін першого поверху СІП-будинку Право для безоплатного розміщення підручника в мережі Інтернет має Міністерство освіти і науки України http://mon.gov.ua/ та Інститут модернізації змісту освіти https://imzo.gov.ua

7.3. Монтаж нижньої обв’язки стін першого поверху. Монтаж стінових панелей

Рис. 7.4. Вузол з’єднання цокольного перекриття, опорного бруса на фундаменті й нижньої обв’язки стіни першого поверху: 1 — стрічковий бетонний фундамент; 2 — гідроізоляція; 3 — опорний обв’язувальний брус; 4 — саморіз

4х60мм; 5 — торцева дошка 40х200 мм; 6 — спінений поліетилен; 7 — саморіз 4,2х75 мм; 8 — обшивка СІП-панелі із ОСП; 9 — сердечник СІП-панелі; 10 — конструктивний саморіз TORX 280, крок 400 мм; 11 — саморіз TORX

4,8х60 мм, крок 150 мм; 12 — анкер кріплення опорного обв’язувального бруса довжиною 200 мм, діаметром

12 мм, крок 400 мм для кріплення обв’язувального бруса стіни першого поверху

цьому варто звернути увагу на те, що між брусами (дошками) нижньої обв’язки необхідно залишати проміжки, рівні товщині обшивки СІП-панелі, наприклад із ОСП, що обов’язково треба позначити на схемі монтажу.

Установлення нижньої з’єднувальної обв’язки треба виконувати ретельно, точно за розбивкою, оскільки при відхиленні виникатимуть проблеми в подальшому монтажі стін будинку.

Напрямний брус запінюють знизу і кладуть на СІП-панелі цокольного перекриття. Хоча відома технологія, коли між цим з’єднувальним напрямним брусом (балкою) і СІП-панеллю цокольного перекриття укладають рулонний утеплювач зі спіненого поліетилену товщиною 2–3 мм по ширині обв’язки. З’єднувальний напрямний брус обв’язки закріплюють високоміцним саморізом TORX M8x280 мм (рис. 7.4). Довжина саморіза має бути такою, щоб він проходив крізь цокольну СІП-панель до середини обв’язувального бруса цокольного перекриття. Крок кріплення нижнього обв’язувального з’єднувального і напрямного бруса для кріплення стіни має бути не більше ніж 400 мм. Необхідно також пам’ятати, що нижній обв’язувальний брус має бути зміщено на 12 мм (товщина ОСП стінової панелі) від краю цокольного перекриття в напрямку середини будинку.

Іншим рішенням кріплення обв’язувальної напрямної дошки перерізом 40х150 мм до цокольного перекриття є кріплення саморізами діаметром 4,2 мм і  довжиною 75 мм з кроком не більше ніж 40 см. Також треба звернути увагу на те, що обв’язувальні дошки укладають без проміжків у місцях розташування дверних прорізів з метою підвищення точності і швидкості їхнього встановлення у проєктне положення. У подальшому після монтажу стінових СІП-панелей у цих місцях роблять вирізи. При розташуванні саморізів необхідно це враховувати.

Контрольні запитання

1. Для чого використовують нижню обв’язку стін першого поверху?

2. Із чого роблять нижню обв’язку стін першого поверху?

3. На що треба звернути увагу в процесі монтажу нижньої обв’язки стін?

4. Як закріплюють напрямний брус нижньої обв’язки стіни першого поверху?

93
Право для безоплатного розміщення підручника в мережі Інтернет має Міністерство освіти і науки України http://mon.gov.ua/ та Інститут модернізації змісту освіти https://imzo.gov.ua

Вибір фундаменту для СІП-будинку і монтаж цокольного перекриття та стін першого поверху

7.4. Монтаж стін першого поверху СІП-будинку

Після закінчення монтажу нижньої обв’язки стін починають монтаж стін, які складають зі шпонок-стійок і  стінових СІП-панелей. Перед цим треба уважно вивчити схему їхнього розташування і маркування. Основний етап складання стін треба починати з будь-якого кута СІП-будинку. Спочатку встановлюють вертикальну крайню шпонку-стійку — із сухої деревини перерізом 100х150 мм, яку прикріплюють до нижньої обв’язувальної дошки двома саморізами діаметром 4,2 мм і  довжиною 75 мм. Потім до цієї крайньої шпонки-стійки, яка буде закривати торець стіни, закріплюють першу стінову панель. Перед її встановленням у вертикальне положення запінюють поверхню нижньої обв’язки. Піною також покривають боковий паз першої стінової СІП-панелі. Шпонка-стійка повинна щільно увійти у боковий паз СІП-панелі.

Після перевірки вертикальності положення панелі виском або рівнем її прикріплюють до обв’язувальної дошки по нижньому краю і шпонки-стійки з кожного боку знизу оцинкованими шурупами по дереву діаметром 3,5 мм і  довжиною 40 мм, а  також по бічному краєві з кроком 15 см. Таким чином встановлюють ще одну шпонку-стійку перерізом 40х150 мм (рис.  7.5 а) і  другу стінову панель, яка примикає до першої стінової панелі з іншого боку до кута будинку. Як і в першому випадку, поверхню нижньої обв’язки і бокового паза другої стінової СІП-панелі покривають піною. Після перевірки вертикальності обидві кутові стінові СІП-панелі додатково закріплюють одну до одної конструкційними саморізами діаметром 8 мм і довжиною 200 мм з кроком 50 см.

Можуть бути інші рішення встановлення двох кутових СІП-панелей (рис. 7.5 б, в). Спочатку двома саморізами 4,2х75 мм кріплять крайню шпонку-стійку перерізом 40х150 мм, як а буде закривати торець стіни. Потім до неї кріплять стінову СІП-панель. Перед встановленням СІП-панелей поверхню нижньої обв’язки і бокового паза покривають піною. Шпонка-стійка входить у боковий паз СІП-панелі. Після перевірки вертикальності панель кріплять до стійки і нижньої обв’язки оцинкованими саморізами 3,5х40 мм з кроком 15 см. По-

Рис. 7.5. Варіанти з’єднання під прямим кутом стінових СІП-панелей: 1 — стінова СІП-панель; 2 — обшивка СІП-панелей; 3 — саморіз 3,5х40 мм; 4 — брус 100х150 мм; 5 — конструкційний саморіз 8х200 мм; 6 — клей-піна; 7 — дошка 40х150 мм

94
7
Право для безоплатного розміщення підручника в мережі Інтернет має Міністерство освіти і науки України http://mon.gov.ua/ та Інститут модернізації змісту освіти https://imzo.gov.ua

Монтаж стін першого поверху СІП-будинку

тім встановлюють і аналогічно кріплять шпонку-стійку та панель з іншого боку кута будинку. Після перевірки вертикальності обидві кутові панелі стягують між собою конструкційними саморізами 8х200 мм з кроком 50 см.

Далі, починаючи від першої і другої кутових СІП-панелей, у кожний бік послідовно монтують шпонки-стійки і рядові СІП-панелі зовнішніх і внутрішніх стін (рис. 7.6).

Рис. 7.7. Фрагмент монтажу СІП-панелей на останньому куті будинку: 1 — стінові СІП-панелі; 2 — шпонка-стійка; 3 — крайня стійка; 4 — цоколь будинку

Рис. 7.8. Фрагмент монтажу верхньої обв’язки стін СІП-будинку: 1 — стінові СІП-панелі; 2 — дошки верхньої обв’язки стін; 3 — цоколь будинку; 4 — конструкційні саморізи 8х500 мм для стягування стін на куті будинку

Перед монтажем кожної панелі бокові пази і нижню обв’язувальну напрямну дошку перерізом 40х150 мм запінюють. СІП-панелі прикріплюють по бокових краях до шпонок-стійок, а знизу — до обв’язки оцинкованими саморізами по дереву 3,5х40 мм з кроком 15 см. Кути і Т-подібні стики несучих стін стягують конструктивними саморізами 8х200 мм по висоті. Якщо використовують шпонки-стійки зі здвоєних дощок, то їх кріплять між собою саморізами 4,2х75 мм з  кроком 40 см і до нижніх обв’язок — двома саморізами 4,2х75 мм. Вертикальність шпонок-стійок контролюють виском або рівнем Монтаж стін першого поверху СІП-будинку закінчують на останньому, як правило, попередньо обраному куті будинку (рис. 7.7).

Після закінчення монтажу усіх стін (у тому числі і всередині будинку) верхні пази СІП-панелей запінюють монтажною піною, після чого в них вкладають верхню обв’язку стін першого

Рис. 7.6. Послідовний монтаж шпонок-стійок і рядових стінових СІП-панелей

95 7.4.
Право для безоплатного розміщення підручника в мережі Інтернет має Міністерство освіти і науки України http://mon.gov.ua/ та Інститут модернізації змісту освіти https://imzo.gov.ua

Вибір фундаменту для СІП-будинку і монтаж цокольного перекриття та стін першого поверху

поверху перерізом 40х140 мм. Верхню обв’язку кріплять до усіх шпонок-стійок першого поверху саморізами 4,2х75 мм. Усі панелі першого поверху пришивають до верхньої обв’язки оцинкованими саморізами 3,5х40 мм з  кроком 150 мм з обох боків (рис. 7.8).

Контрольні запитання і

завдання

1. Які технологічні операції і в якій послідовності виконують при монтажі стін зі СІП-панелей?

2. Піс ля якої технологічної операції останній кут зовнішніх стін будинку стягують конструктивними саморізами?

3. Як закріплюють усі панелі зовнішніх стін до верхньої обв’язки стін СІП-будинку?

4. За допомогою чого і як контролюють вертикальність шпонок-стінок?

5. Яка технологічна операція передує монтажу кожної панелі?

6. Як кріплять між собою Т-подібні стики несучих стін?

 Тестові завдання

1. Який діаметр зазвичай приймають для анкерних болтів при закріпленні обв’язувального бруса?

а) 8 мм; б) 10 мм; в) 12 мм; г) 15 мм.

2. З яким кроком розташовують болти з гайками?

а) 30 см; б) 40 см; в) 50 см; г) 60 см.

3. На яку глибину має бути занурено у бетон фундаменту анкерні болти?

а) 80 мм; б) 100 мм;в) 120 мм;г) 120 мм і більше.

4. Який переріз у гвинтових паль для фундаменту СІП-будинків?

а) 102х5 мм;б) 108х5 мм;в) 114х5 мм;г) 127х5 мм.

5. Який переріз у дощок подвійної вставки для з’єднання СІП-панелей перекриття?

а) 25х200 мм;б) 40х200 мм; в) 50х200 мм;г) 60х200 мм.

6. Із дощок якого перерізу виготовляють лаги для з’єднання між собою СІП-панелей перекриття?

а) Дві дошки 25х200 мм; б) дві дошки 30х200 мм; в) дві дошки 40х200 мм; г) чотири дошки 40х200 мм.

7. Якої ширини СІП-панелі використовують для улаштування перекриттів у СІП-будинках?

а) 1250 мм;б) 625 мм;в) 600 мм;г) 500 мм.

8. Які саморізи використовують для з’єднання СІП-панелей перекриття з дерев’яними вставками і лагами?

а) 3,5х40 мм;б) 3,5х45 мм;в) 3,5х55 мм;г) 4,0х45 мм.

96 7
Право для безоплатного розміщення підручника в мережі Інтернет має Міністерство освіти і науки України http://mon.gov.ua/ та Інститут модернізації змісту освіти https://imzo.gov.ua

9. З  яким кроком виконують кріплення саморізами СІП-панелей перекриття з дерев’яними вставками і лагами?

а) 150 мм; б) 200 мм;в) 250 мм;г) 300 мм.

10. Якими саморізами кріплять цокольні перекриття до обв’язувального бруса?

а) 8х280 мм;б) 8х320 мм;в) 8х300 мм;г) 8х350 мм.

11. Яким брусом (дошкою) зашивають усі торці цокольного перекриття?

а) 25х200 мм;б) 25х250 мм;в) 25х350 мм;г) 40х200 мм.

12. Брусом якого перерізу виконують нижню з’єднувальну обв’язку стін першого поверху СІП-будинку?

а) 30х145 мм;б) 40х145 мм;в) 45х145 мм;г) 100х145 мм.

13. Якого перерізу має бути вертикальна крайня стінка-шпонка, яку встановлюють в одному із кутів будинку на початку монтажу стін?

а) 100х100 мм;б) 100х150 мм;в) 80х150 мм;г) 2х50х150 мм.

14. Якими саморізами закріплюють вертикальну крайню стінку-шпонку до нижньої обв’язувальної дошки?

а) 4,2х60 мм;б) 4,2х75 мм;в) 4,2х80 мм;г) 4,2х90 мм.

15. Якими саморізами закріплюють першу стінову панель до крайньої стійкишпонки і нижньої обв’язувальної дошки?

а) 3,5х40 мм;б) 3,5х45 мм;в) 3,5х55 мм;г) 4,0х40 мм.

16. З яким кроком встановлюють саморізи, які кріплять першу стінову СІП-панель

до стійки-шпонки і обв’язувальної напрямної дошки?

а) 100 мм; б) 150 мм;в) 200 мм;г) 250 мм.

17. Якими конструкційними саморізами з’єднують між собою кутові СІП-панелі?

а) 8х200 мм;б) 8х220 мм;в) 8х250 мм;г) 8х300 мм.

18. З яким кроком розташовують конструкційні саморізи при з’єднанні кутових стінових СІП-панелей?

а) 300 мм; б) 400 мм;в) 500 мм;г) 600 мм.

97 7.4. Монтаж стін першого поверху СІП-будинку
Право для безоплатного розміщення підручника в мережі Інтернет має Міністерство освіти і науки України http://mon.gov.ua/ та Інститут модернізації змісту освіти https://imzo.gov.ua

Монтаж міжповерхових перекриттів СІП-будинку. Монтаж стін другого і решти поверхів

РОЗДІЛ 8.

МОНТАЖ МІЖПОВЕРХОВИХ

ПЕРЕКРИТТІВ

СІП-БУДИНКУ. МОНТАЖ СТІН ДРУГОГО

І РЕШТИ ПОВЕРХІВ

8.1. Монтаж міжповерхового перекриття

Якщо будинок із СІП-панелей дво- або триповерховий, то після закінчення монтажу конструкцій першого поверху монтують міжповерхове перекриття — горизонтальну конструкцію, яка відділяє один поверх від іншого.

Нижню поверхню міжповерхового перекриття обшивають стелею, а верхню накривають підлогою. Від якості виконання міжповерхових перекриттів залежить міцність і енергоефективність будинку. Останнім монтують горищне перекриття , яке відділяє останній поверх від горища. Для улаштування міжповерхових перекриттів у СІП-будинках використовують дерев’яні

балкові перекриття або СІП-панелі . Хоча СІП-панелі є стіновою конструкцією, розрахованою на сприйняття повздовжніх навантажень, але їхньої міцності вистачить для перекриття відносно невеликих прогонів для малих будівель, де СІП-панелі будуть оптимальним рішенням для нульового і горищного перекриттів. Що стосується міжповерхових перекриттів приміщень з великими прогонами у житлових будинках, то з точки зору міцності, стійкості і деформативності, а також забезпечення протиударної звукоізоляції краще використовувати перекриття на дерев’яних балках. Щоб запобігти небажаним деформаціям дерев’яних балок через їхню анізотропну структуру під дією вологи або сухого повітря, використовують бруси з клеєного шпона або дерев’яні двотаврові балки . Для улаштування перекриття терас використовують винятково дерев’яні балки, які обшивають обробленими дошками, стійкими до негативного впливу зовнішніх чинників — дощу, снігу, пилу.

Контрольні запитання

1. Що таке міжповерхові перекриття?

2. Які конструкції використовують для улаштування міжповерхових і горищних перекриттів?

3. Коли доцільно використовувати перекриття із СІП-панелей, а коли — перекриття на дерев’яних балках?

4. Які деревоматеріали варто використовувати для улаштування перекриття терас?

98 8
Право для безоплатного розміщення підручника в мережі Інтернет має Міністерство освіти і науки України http://mon.gov.ua/ та Інститут модернізації змісту освіти https://imzo.gov.ua

8.2. Балкові настили перекриттів

8.2. Балкові настили перекриттів

Балки зі струганого бруса  — найбільш вживаний і розповсюджений матеріал, з якого улаштовують перекриття.

Балки виготовляють з дерев’яного бруса на спеціальному обладнанні. У процесі виготовлення балок важливо правильно висушити деревину — тоді вона не буде гнити, розсихатися і тріскатись. Якщо цього не зробити, термін експлуатації будинку суттєво знизиться.

Типове розташування балок перекриття для житлового будинку з несучими повздовжніми зовнішніми стінами і проміжною опорою для двопрольотного балкового настилу показано на рис. 8.1.

Рис. 8.1. Типова схема двопрольотного настилу перекриття житлового будинку: 1 — несуча повздовжня стіна; 2 — поперечна (торцева) стіна будинку; 3 — несуча опора (прогін); 4 — лежні (опорні дошки); 5 — балки перекриття (підлоги); 6 — ділянка отвору сходової клітки; 7 — ділянка частини настилу

Зазначмо, що складені з дощок балки і прогони суцільного перерізу можна замінити більш економічно вигідними й ефективними фермами або двотавровими балками (рис. 8.2). Вони забезпечують більш жорсткі й міцні та менш скрипучі конструкції і, крім того, полегшують виконання монтажних робіт з розводки інженерних мереж. Суттєвою перевагою таких готових будівельних виробів є і те, що їхнє застосування дає змогу перекривати відносно великі площі всередині будинку. Завдяки цьому виникає потреба у використанні колон і внутрішніх несучих стін.

Саме це робить внутрішнє планування будинку більш гнучким та різноманітним і при цьому в багатьох випадках знижує матеріаломісткість і трудомісткість будівництва.

Рис. 8.2. Вироби заводського виготовлення: а — дерев’яна ферма; б — дерев’яна двотаврова балка

Балки перекриття повинні мати потрібні міцність і  жорсткість, які визначають залежно від навантаження, яке балки сприйматимуть у процесі експлуатації будинку. Жорсткість балок перекриття має забезпечити тріщиностійкість стелі та зменшити небажані деформації підлоги при виникненні прогинів під дією тимчасових і випадкових навантажень, а також шкідливої вібрації підлоги від динамічних навантажень. Балки перекриття виготовляють, як правило, з дощок товщиною 38 мм і  шириною (висота балки) 140, 184, 235, 286 мм. На потрібну висоту балки, окрім навантаження і прогону, впливають порода, сорт деревини і величина допустимої деформації. За наявності цементних стяжок по перекриттях перехресні вертикальні в’язі у прольотах балок перекриття не передбачають.

99
Право для безоплатного розміщення підручника в мережі Інтернет має Міністерство освіти і науки України http://mon.gov.ua/ та Інститут модернізації змісту освіти https://imzo.gov.ua

міжповерхових перекриттів СІП-будинку. Монтаж стін другого і решти поверхів

Монтаж

Рис. 8.3. Деревостружкові двотаври різних розмірів

Розміри поперечних перерізів дерев’яних прогонів складеного перерізу залежно від прийнятої ширини вантажної площі та від кількості поверхів, навантаження від яких передається на прогін, треба приймати не меншими, а розміри прогонів — не більшими від тих, що вказані у таблицях 8.1, 8.2 і 8.3. Максимальні розміри перерізу та максимальні довжини прогонів із двотаврової сталі визначають за результатами розрахунків. Так само на основі розрахунків необхідно визначати мінімальні розміри перерізу та максимальні прогони балок, конструкція яких відрізняється від передбаченої у таблицях 8.1–8.3, — наприклад, балок двотаврового профілю з полицями з пиломатеріалів і стінкою із деревоволокнистої плити. Замість звичайних дощок можна використовувати дошки із ламінованої фанери, ферми із паралельними поясами або двотаврові балки різної несучої здатності, виготовлені з деревини (полиці), та деревостружкової плити (стінки) (рис. 8.3).

Рис. 8.4. Схема розташування консольної ділянки перекриття: 1 — опорна дошка; 2 — контур виступу (консольної ділянки); 3 — балки перекриття

Встановлення балок у місцях виступів (консольних ділянок) нижнього або міжповерхового перекриття відбувається у процесі улаштування балкового настилу відповідно до проєкту. Схему розташування консольної ділянки міжповерхового перекриття показано на рис. 8.4.

Відстані між двотавровими дерев’яними балками перекриття (рис. 8.2 і 8.3) зазвичай становлять від 400 до 600 мм. На рис. 8.5 наведено фрагмент балкового настилу перекриття над підвалом з використанням двотаврових дерев’яних балок підлоги.

Рис. 8.5. Перекриття над підвалом з використанням двотаврових балок, виготовлених з деревини: 1 — двотаврова балка перекриття (підлоги);

2 — поперечна вертикальна в’язь двотаврового

перерізу з розташуванням перпендикулярно до балки підлоги; 3 — розташування врозбіг стиків плит чорнової підлоги; 4 — плити чорнової підлоги; 5 — килимове покриття з підкладкою (чиста підлога); 6 — кінцева балка перекриття; 7 — просочений антисептиком лежень (опорна дошка); 8 — фундаментна стіна; 9 — пазогребеневе

з’єднання або шов товщиною 3 мм на опорній

дошці, закріпленій до полиць двотаврової балки; 10 — клеєве з’єднання балок і плит чорнової

підлоги за потреби

100 8
Право для безоплатного розміщення підручника в мережі Інтернет має Міністерство освіти і науки України http://mon.gov.ua/ та Інститут модернізації змісту освіти https://imzo.gov.ua

8.2. Балкові настили перекриттів

Таблиця 8.1

Максимальні довжини прогонів перекриттів складеного перерізу, які служать опорою для не більше як одного поверху

Вид деревини Со рт

Ширина вантажної площі, м

Максимальний прогін, м Розмір перерізу прогонів, мм 3 х4 х5 х3 х4 х5 х3 х4 х5 х 38 х

Максимальні довжини прогонів перекриттів складеного перерізу, які служать опорою для не більше ніж двох поверхів

Ширина

Вид деревини

Со рт

вантажної

площі, м

Максимальний прогін, м Розмір перерізу прогонів, мм

Деревина

8.3 Максимальні довжини прогонів перекриттів складеного перерізу, які служать опорою для не більше ніж трьох поверхів

Ширина

Вид деревини

Со рт

вантажної

площі, м

Максимальний прогін, м Розмір перерізу прогонів,

Деревина хвойних

101
184 38 х 235 38 х 286
хвойних порід 2 2,43,253,754,193,974,595,134,615,325,95 3,02,903,353,753,554,104,594,124,765,32 3,62,653,063,423,243,744,193,764,344,86 4,22,452,833,173,003,473,883,484,024,50 4,82,302,652,962,813,243,633,263,764,21 5,42,172,502,802,653,063,423,073,553,97 6,02,052,372,652,512,903,242,913,373,76 Таблиця 8.2
Деревина
3 х4 х5 х3 х4 х5 х3 х4 х5 х 38 х 184 38 х 235 38 х 286
хвойних порід 2 2,42,462,853,183,013,483,893,504,044,51 3,02,202,552,852,703,113,483,133,614,04 3,62,012,322,602,462,843,182,853,303,69 4,21,862,152,402,282,632,942,643,053,41 4,81,742,012,252,112,462,752,382,853,19 5,41,611,902,121,932,322,592,182,693,01 6,01,491,802,011,782,202,462,022,502,85 Таблиця
мм 3 х4 х5 х3 х4 х5 х3 х4 х5 х 38 х 184 38 х 235 38 х 286
порід 2 2,42,062,382,672,522,923,262,933,383,78 3,013,852,132,382,262,612,922,613,033,38 3,64,681,952,182,002,382,662,272,763,09 4,24,291,802,021,782,202,462,032,512,86 4,84,351,681,881,622,002,301,842,272,67 5,4 ? 1,531,781,491,832,171,702,082,46 6,06,751,421,681,391,702,001,591,932,27 Право для безоплатного розміщення підручника в мережі Інтернет має Міністерство освіти і науки України http://mon.gov.ua/ та Інститут модернізації змісту освіти https://imzo.gov.ua

Монтаж міжповерхових перекриттів СІП-будинку. Монтаж стін другого і решти поверхів

 Виступ перекриття, перпендикулярний щодо балок перекриття, реалізують

шляхом виконання таких технологічних операцій:

● встановлення опорних дощок (поперечних в’язей);

Рис. 8.6. Встановлення поперечних дощок консольного виступу: 1 — опорна

дошка; 2 — спарені крайні поперечні

балки; 3 — поперечні балки; 4 — встановлення крайніх спарених поперечних

балок у проєктне положення

● вс тановлення поперечних балок консольного виступу (рис. 8.6) ;

● кріплення обв’язувальної балки до торців балок виступу (рис. 8.7);

● вс тановлення поперечних в’язей (упорів) за необхідності;

● вс тановлення балок перекриття за допомогою металевих з’єднувальних елементів.

На рис. 8.8 пок азано можливий варіант міжповерхового перекриття дерев’яного житлового будинку з консольними ділянками виступів балкового настилу.

Рис. 8.7. Кріплення обв’язувальної

балки: 1 — балка перекриття; 2 — спарені крайні балки консольного виступу; 3 — обв’язувальна балка; 4 — поперечні балки; 5 — спарені крайні балки консольного виступу; 6 — встановлення решти балок перекриття

Зазначмо, що консольна довжина балок перекриття не повинна перевищувати 400 мм з дощок 38х184 мм і  600 мм з  дощок більшого перерізу. У будь-якому випадку консольні ділянки балкового настилу не мають сприймати навантаження від вищого поверху.

Рис. 8.8. Балковий настил міжповерхового перекриття дерев’яного житлового будинку з консольними виступами: 1 — спарені консольні балки всередині будинку; в межах консольного виступу; 2 — спарені балки перекриття по боках консольного виступу; 3 — кутове з’єднання балок перекриття; 4 — металеві балкові з’єднувачі; 5 — лежень (каркаса перекриття першого поверху, закріплений анкерами до фундаменту) або спарена дошка верхнього перекриття для підтримання консольних балок; 6 — крайові в’язи (розпірки), які можна встановити на відстані 2,5 см від краю лежня; 7 — спарені бічні дошки, одну з яких заводять у балковий настил, розташований усередині будинку, на дві довжини консольного виступу

102 8
Право для безоплатного розміщення підручника в мережі Інтернет має Міністерство освіти і науки України http://mon.gov.ua/ та Інститут модернізації змісту освіти https://imzo.gov.ua

Â

Балкові настили перекриттів

У процесі улаштування балкового настилу перекриття виникає необхідність (зумовлена проєктом) виконання каркаса отвору для сходового майданчика або каміна.

Процес улаштування каркаса отвору в перекритті складається з трьох

частин:

● вс тановлення бічних балок отвору;

● вс тановлення пересувних (торцевих) балок отвору;

● вс тановлення балок перекриття.

На місці отвору спочатку встановлюють бічні балки. Зазвичай бічні балки каркаса отвору, якщо на них встановлюють пересувні (торцеві) балки довжиною понад 800 мм, ск ладаються з подвійних або навіть з потрійних дощок.

Отвори обрамлюють за допомогою балкових черевиків (башмаків). Їх треба прибивати до бічних і пересувних балок заздалегідь, що полегшує монтаж балок, які кріплять пізніше. На рис. 8.9 показано монтаж пересувних балок.

Рис. 8.9. Монтаж пересувних балок каркаса отвору: 1 — бічні балки отвору; 2 — пересувні (торцеві) балки; 3 — балки перекриття

Рис. 8.10. Опорні деревоволокнисті плити для підтримання ізоляційного матеріалу

Якщо потрібно встановити ізоляцію перекриття підвального приміщення або підпілля, то як опору для опорних щитів використовують опорні дошки, які прикріплюють цвяхами до балок перекриття (підлоги). Надалі необхідно виконати: виготовлення несучих щитів; встановлення несучих щитів на опорні дошки; шпарування щілин (за необхідності). Нижні опори для ізоляції підлоги можна зробити, наприклад, з пористих деревоволокнистих плит товщиною 25 мм, які розрізають на частини потрібних розмірів для можливості їхнього встановлення у проміжки між балками (рис. 8.10). При встановленні опорних плит варто прагнути до мінімізації відходів. Плити прибивають до опорних дощок цвяхами. Щілини між плитами за необхідності зашпаровують.

Дерев’яні лати закріплюють цвяхами через

30–40 см. Металеві прутки встановлюють із кроком 30 см. Лати, прутки, сітку або тканину закріплюють до нижньої поверхні балок підлоги.

Для того щоб не допустити холодне повітря до поверхні чорнової підлоги, треба встановити теплоізоляцію або зверху проміжку між балками підлоги на контакті з нижньою поверхнею чорнової підлоги, або розташувати її у нижній частині проміжку між балками підлоги із заведенням теплоізоляції угору біля обв’язувальної крайньої балки (рис. 8.11).

На консольних ділянках балкового настилу обшиття підлоги продовжують

на тому ж рівні, який має підлога решти приміщення (рис. 8.12).

103
8.2.
Право для безоплатного розміщення підручника в мережі Інтернет має Міністерство освіти і науки України http://mon.gov.ua/ та Інститут модернізації змісту освіти https://imzo.gov.ua

Монтаж міжповерхових перекриттів СІП-будинку.

Монтаж стін другого і решти поверхів

Рис. 8.11. Варіанти розташування тепло-

ізоляції підлоги над підвалом: 1 — теплоізоляцію розташовано у верхній частині

проміжку між балками підлоги; 2 — чорнова

підлога; 3 — теплоізоляцію розташовано

у нижній частині проміжку між балками підлоги; 4 — заведення теплоізоляції угору біля крайньої обв’язувальної балки; 5 — підпілля будинку або підвальний поверх

Теплоізоляцію треба ретельно укласти поверх стельової плити (панелі) під підлогою між прикінцевою і внутрішніми балками. Вологоізоляційний матеріал розташовують на теплому боці утеплювача, ретельно вирівнюють і закріплюють. Якщо висота балок перекриття досить велика, то поміж верхом утеплювача і низом обшиття підлоги залишають простір, в якому циркулює тепле повітря. Так досягають рівномірної температури по усій площі підлоги. Для запобігання інфільтрації зовнішнього повітря у простір під підлогою стеля консольної ділянки та усі щілини решти деталей консолі ретельно ущільнюють мастикою або обгортають повітронепроникною плівкою.

Контрольні запитання

1. Які особливості балок зі струганого бруса?

2. Які балки можна використовувати, замість балок зі струганого бруса, при улаштуванні міжповерхових перекриттів?

3. Якою має бути гранична консольна довжина балок перекриття із дощок 38х184 мм і дощок більшого розміру?

4. Як улаштовують отвір у перекритті?

Рис. 8.12. Утеплення балкового настилу консольної ділянки перекриття: 1 — прикінцева балка; 2 — настил перекриття (чорнова підлога); 3 — ущільнення мастикою; 4 — балка перекриття; 5 — жорстка теплоізоляція на мастиці; 6 — вологозахисний бар’єр; 7 — гіпсокартон; 8 — довжина вильоту консольного виступу перекриття; 9 — обшивка стелі; 10 — прикінцева обв’язувальна балка; 11 — теплоізоляція на всю висоту простору

104 8
між
і стелею Право для безоплатного розміщення підручника в мережі Інтернет має Міністерство освіти і науки України http://mon.gov.ua/ та Інститут модернізації змісту освіти https://imzo.gov.ua
чорновою підлогою

8.3. Перекриття, які монтують із СІП-панелей

8.3. Перекриття, які монтують із СІП-панелей

СІП-панелі — оптимальний варіант для улаштування горищних

і нульових (цокольних) перекриттів у СІП-будинках, а також

будинках, зведених за іншими технологіями. Для перекриттів застосовують стандартні СІП-панелі товщиною 174 або 224 мм.

 Для створення перекриття із СІП-панелі потрібні такі елементи:

● СІП-панелі;

● с тиковий брус або лага;

● вс тавки для поперечних стиків СІП-панелей;

● торцева дошка.

Надійність перекриття із СІП-панелей суттєво залежить від якості бруса — він має бути добре висушений і  оброблений спеціальними складом, який запобігає розсиханню деревини. Стандартний номінальний розмір бруса становить 100х200 мм. Такий брус щільно поміщається у боковий паз СІП-панелей і надійно тримає конструкцію.

 Перекриття із СІП-панелей мають такі переваги:

● швидкіс ть монтажу — досвідченим професіоналам для встановлення одного перекриття потрібно не більше двох днів;

● прос тота і чистота монтажу: на будівельному майданчику утворюється мінімальна кількість сміття у порівнянні з улаштуванням балкового перекриття;

● низька вартість СІП-панелі;

● екологічна безпека: СІП-панелі не виділяють шкідливих для здоров’я і життя речовин, не погіршують якість повітря у приміщенні і не викликають алергії;

● мала вага — панелі не створюють додаткового серйозного навантаження на фундамент і витримують високе експлуатаційне навантаження;

● високі теплоізоляційні властивості: пінополістирол (полістирен), який є сердечником СІП-панелі, захищає приміщення від холоду.

Попри ці переваги, СІП-панелі рідко використовують як міжповерхове перекриття, оскільки вони не забезпечують ударної звукоізоляції і належного комфорту в будинку. З цим завданням краще впораються перекриття на дерев’яних балках. У СІП-будинках є сенс застосовувати СІП-панелі для перекриттів над підвалами і цокольних перекриттів, а також для перекриття останнього поверху над горищем, якщо його не будуть експлуатувати.

Потрібної жорсткості у конструкцію перекриття додають проміжні балки (лаги), які значно підсилюють СІП-панелі або підвищують товщину СІП-панелей до 224 мм і  роблять їх вузькими — зазвичай удвічі вужчими, ніж ширина СІП-панелей, тобто 625 мм. СІП-панелі з’єднують короткими або довгими сторонами за допомогою вставок і балок (лаг), які вставляють у запінювані пази в сердечнику панелей і закріплюють у них саморізами 3,5х40 мм або йоржованими цвяхам з кроком 15 см до обшивки.

Для СІП-панелей товщиною 174 мм використовують балки (дошки з сушеного дерева) перерізом 150х50 мм, для панелей товщиною 224 мм — перерізом 200х50 мм.

105
Право для безоплатного розміщення підручника в мережі Інтернет має Міністерство освіти і науки України http://mon.gov.ua/ та Інститут модернізації змісту освіти https://imzo.gov.ua

Монтаж міжповерхових перекриттів СІП-будинку.

Монтаж стін другого і решти поверхів

Рис. 8.13. Вузол міжповерхового горищного перекриття на з’єднанні стіни і даху: 1 — стінова СІП-панель; 2 — клей-піна; 3 — обшивка стінової СІП-панелі; 4 — торцева дошка 50х150 мм; 5 — саморіз TORX 4х60 мм; 6 — СІП-панель; 7 — торцева дошка 50х150 мм; 8 — конструкційний саморіз 240 мм; 9 — мауерлат; 10 — конструкційний саморіз 280 мм; 11 — міжповерхова СІП-панель;12 — саморіз TORX 4х60 мм; 13 — верхня обв’язка стіни із СІП-панелей

Монтаж СІП-панелей у перекриттях починають на опорному обв’язувальному брусі (дошці) з установлення кутової панелі. До цієї панелі з другого боку закріплюють наступну панель. Так викладають і зрощують по довжині через вставки між торцями панелей весь крайній ряд. Далі у боковий паз після його запінювання вставляють з’єднувальну балку (брус, дошку), до якої послідовно прикручують СІП-панелі і починають складання наступного ряду. При цьому необхідно точно дотримуватися плану монтажу перекриття із СІП-панелей. На рис. 8.13 показано вузол міжповерхового горищного перекриття на з’єднанні стіни і даху.

Горищне перекриття із СІП-панелей виконують так само як цокольне або підвальне, лише опорою для нього служить не фундамент, а стіни першого або другого поверху. Горищне перекриття із СІП-панелей, як і міжповерхові перекриття на дерев’яних балках і прогонах, крім основної функції, зв’язує зовнішні і внутрішні несучі стіни, надаючи конструкції будинку потрібної жорсткості.

На міжповерховому перекритті виконують ретельну розмітку та розкладку нижнього обв’язувального напрямного бруса другого або мансардного поверхів. Брус закріплюють конструкційними саморізами крізь перекриття до верхнього балкового бруса стін із СІП-панелей першого поверху.

Контрольні запитання

1. Від чого залежить надійність перекриттів із СІП-панелей?

2. Які переваги мають перекриття із СІП-панелей?

3. Якого перерізу має бути з’єднувальний брус (лага) для перекриття із СІП-панелей?

4. У чому полягає головний недолік СІП-панелей у складі міжповерхових перекриттів?

5. Чим закріплюють СІП-панелі перекриттів до лаг і вставок?

6. У якій послідовності здійснюють монтаж міжповерхового перекриття і з якого місця його починають?

8.4. Монтаж стін другого та наступних поверхів будинку із

СІП-панелей

Монтаж стін із СІП-панелей решти поверхів виконують аналогічно до монтажу стін першого поверху. На рис. 8.14 показано основні кріплення несучих стін

будинку із СІП-панелей.

106 8
Право для безоплатного розміщення підручника в мережі Інтернет має Міністерство освіти і науки України http://mon.gov.ua/ та Інститут модернізації змісту освіти https://imzo.gov.ua

поверхів будинку із СІП-панелей

Рис. 8.14. Кріплення несучих стін будинку

із СІП-панелей: 1 — обшивка СІП-панелі;

2 — шпонка-стійка 2х40х140 мм; 3 — саморіз

4,2х75 мм з кроком 40 см; 4 — СІП-панель; 5 —

конструкційний саморіз 8х200 мм; 6 — саморіз

3,5х40 мм, крок 15 см; 7 — торцева дошка, 8 —

саморіз 3,5х40 мм, крок 15 см; 9 — монтажна піна; 10 — СІП-панель; 11 — торцева дошка; 12 — нижня обв’язка; 13 — саморіз 4,2х75 мм;

З’єднання стінових СІП-панелей можна здійснювати під різними кутами залежно від архітектурного рішення плану СІП-будинку. Найбільш поширеним є з’єднання СІП-панелей під кутом 180°.

СІП-панелі сполучають між собою з’єднувальним брусом. Його розміри залежать від товщини сердечника СІП-панелі: для панелі з товщиною сердечника 150 мм з  відносно великим вертикальним навантаженням використовують сухий струганий антисептований брус перерізом 145х90 мм (рис. 8.15 а). Вибірки пазів у  сердечнику роблять глибиною 40–45 мм.

Легконавантажені конструкції можуть з’єднувати дошкою перерізом

145х45 мм (рис. 8.15 б). Такий же полегшений варіант використовують для СІП-панелей даху. Глибина вибірки паза при такому рішенні становить 20–25 мм. Перед вставленням бруса/дошки у паз СІП-панелі потрібно зволожити поверхні паза водою із розбризкувача і після цього нанести монтажну піну-клей. Якщо правильно обрано розмір перерізу бруса і глибину вибірки сердечника у СІП-панелі, то тепловий шов між панелями становить 3–5 мм.

Усі шви між стінами СІП-панелей мають бути належним чином герметизовані. Для цього можна використати шнур Ізолон і герметик. У цьому випадку буде

Варіант № 1 для з’єднання СІП-панелей з великим навантаженням

Варіант № 2 для з’єднання СІП-панелей з легким навантаженням

Варіант № 3 при неможливості використання бруса потрібного розміру

Варіант № 4 при неможливості використання бруса потрібного розміру

14 — верхня обв’язка; 15 — саморіз 4,2х75 мм Рис. 8.15. Варіанти з’єднання СІП-панелей під кутом 180°: 1 — обшивка СІП-панелі; 2 — сердечник СІП-панелі з пінополістиролу ПСБ-С-15Т (полістирену); 3 — термошов; 4 — саморізи TORX 4x60 мм, крок 15 см; 5 — брус перерізом 90х145 мм; 6 — клей-піна; 7 — брус 45х145 мм, 8 — скріплені дошки 2 шт. 45х145 мм; 9 — саморізи TORX 4x75 мм, крок 40 см; 10 — скріплені дошки (3 шт.) перерізом 45х95 або 50х100 мм з підгонкою під розмір панелі

Право для безоплатного розміщення підручника в мережі Інтернет має Міністерство освіти і науки України http://mon.gov.ua/ та Інститут модернізації змісту освіти https://imzo.gov.ua

107 8.4. Монтаж стін другого
та наступних

Монтаж

міжповерхових

Рис. 8.17. З’єднання стінових

СІП-панелей під кутом 140°: 1 —

обшивка СІП-панелі із ОСП-3;

2 — саморізи TORX 4х60 мм, крок 15 см; 3 — термошов;

4 — брус 90х200 мм із запилю-

ванням під кут; 5 — сердечник

СІП-панелі; 6 — саморізи TORX

4х60 мм, крок 15 см

Рис. 8.16. З’єднання стінових СІП-панелей під кутом 90°: 1 — брус 45х145 мм; 2 — термошов; 3 — саморізи TORX 4х60 мм, крок 15 см; 4 — обшивка СІП-панелі із ОСП-3; 5 — саморіз TORX 4х60 мм, крок 15 см; 6 — брус 45х145 мм; 7 — сердечник СІП-панелі; 8 — конструкційний саморіз TORX 8х200 мм, крок 40 см

одержано так званий термошов. Він буде еластичним, повітронепроникним, що забезпечить потрібний термін експлуатації СІП-будинку. Більш дешевий спосіб герметизації швів полягає у запінюванні їх монтажною піною, яку після висихання обрізають. Вада цього способу полягає у тому, що піна під дією кисню поступово руйнується і кришиться. У шов буде потрапляти волога, через що він стане не тільки містком холоду, але й перетвориться у місце пошкодження бруса і торця панелі грибками. Отже, треба використовувати панелі з обробленими краями або самостійно їх обробляти при розпилюванні суцільної панелі.

З’єднання будівельних конструкцій під прямим, гострим і тупим кутом з мінімальною кількістю термошвів показано на рис. 8.16, 8.17, 8.18.

На рис. 8.16 зображено з’єднання стінових СІП-панелей під прямим кутом з сердечником-утеплювачем шириною 150 мм з  одним термошвом. Для з’єднання двох панелей під кутом 90° з одним термошвом необхідно зробити виріз внутрішньої частини однієї з панелей під розмір другої панелі. Використання тільки саморізів 4х60 мм для з’єднання двох панелей недостатньо. Тому основним кріпильним елементом цього вузла є конструкційний саморіз TORX 8х200 мм, який кріплять через другу панель у кріпильний брус першої панелі з кроком 40 см.

З’єднання СІП-панелей під тупим кутом 140°, наприклад при будівництві еркера, з одним термошвом на фасадній частині можна здійснювати за аналогією з’єднання СІП-панелей під кутом 180° (рис. 8.15). Його показано на рис. 8.17.

З’єднання СІП-панелей під гострим кутом 50° з одним термошвом зображено на рис. 8.18.

перекриттів СІП-будинку. Монтаж стін другого і решти поверхів Рис. 8.18. З’єднання стінових СІП-панелей під кутом 50°: 1 — обшивка СІП-панелі з ОСП-3; 2 — саморізи TORX 4х60 мм, крок 15 см; 3 — конструкційні саморізи TORX 8х200 мм, крок 40 см; 4 — термошов; 5 — саморізи TORX 4х60 мм, крок 15 см; 6 — брус 50х200 мм; 7 — брус 50х200 мм; 8 — сердечник СІП-панелі; 9 — саморізи TORX 4х60 мм, крок 15 см. Бруси позицій 6 і 7 встановлюють із запилюванням під кут

108 8
Право для безоплатного розміщення підручника в мережі Інтернет має Міністерство освіти і науки України http://mon.gov.ua/ та Інститут модернізації змісту освіти https://imzo.gov.ua

Контрольні запитання і завдання

1. Як здійснюють з’єднання стінових СІП-панелей з великими навантаженнями?

2. Розкажіть про герметизацію швів між стиками СІП-панелей?

3. Як виконують термошов між стиками панелей?

4. Намалюйте з’єднання стінових СІП-панелей під кутом 90°.

5. Чим відрізняється з’єднання СІП-панелей під тупим і гострим кутами?

 Тестові завдання

1. Зі скількох елементів складається перекриття із СІП-панелей?

а) Двох; б) трьох; в) чотирьох;г) більше чотирьох.

3. Із дощок якого перерізу зазвичай виготовляють балки перекриття?

а) 35х120 мм;б) 38х140 мм;в) 338х235 мм;г) 40х286 мм.

4. Яку граничну консольну довжину може мати балка перекриття перерізом 38х184 мм?

а) 300 мм; б) 400 мм;в) 500 мм;г) 600 мм.

5. Яку граничну консольну довжину може мати балка перекриття перерізом 40х235 мм?

а) 400 мм; б) 500 мм;в) 600 мм;г) більше 600 мм.

6. Зі скількох дощок товщиною 38 мм складаються бічні балки отвору в перекритті, якщо на них встановлюють пересувні (торцеві) балки довжиною більше ніж 800 мм?

а) Одної; б) двох; в) трьох;г) більше трьох.

8. Скільки складових елементів потрібно для створення перекриття із СІП-панелей?

а) Два; б) три; в) чотири;г) п’ять.

9. Якими саморізами прикріплюють СІП-панелі перекриттів до лаг і поперечних

вставок?

а) 3,5х40 мм;б) 3,5х60 мм;в) 3,5х75 мм;г) 2,5х40 мм.

10. Якої ширини СІП-панелі зазвичай використовують для улаштування цокольного і горищного перекриттів?

а) 150 мм; б) 174 мм;в) 190 мм;г) 200 мм.

11. Якого перерізу дошки використовують для СІП-панелей товщиною 174 мм?

а) 150х25 мм;б) 150х38 мм;в) 150х45 мм;г) 150х50 мм.

12. Якого перерізу дошки використовують для СІП-панелей товщиною 224 мм?

а) 200х25 мм;б) 200х38 мм;в) 200х45 мм;г) 200х50 мм.

13. Які конструкційні саморізи використовують для кріплення СІП-панелі даху до СІП-панелі перекриття?

а) 8х240 мм;б) 8х180 мм;в) 8х200 мм;г) 8х220 мм.

14. Які конструкційні саморізи використовують для кріплення мауерлату до верхньої обв’язувальної дошки стінової СІП-панелі?

а) 8х250 мм;б) 8х260 мм;в) 8х280 мм;г) 8х300 мм.

109 8.4. Монтаж стін другого та наступних поверхів будинку із СІП-панелей
Право для безоплатного розміщення підручника в мережі Інтернет має Міністерство освіти і науки України http://mon.gov.ua/ та Інститут модернізації змісту освіти https://imzo.gov.ua

та СІП-перегородки у СІП-будинках

РОЗДІЛ 9.

КАРКАСНО-ОБШИВНІ ТА СІП-ПЕРЕГОРОДКИ

У СІП-БУДИНКАХ

9.1. Каркасно-обшивні перегородки у СІП-будинках

Будинок із СІП-панелей усередині поділяється на окремі приміщення. Функціональні зони будинку мають чіткі просторові межі у вигляді перегородок.

Перегородки — внутрішні вертикальні огороджувальні конструкції, які служать для розділення суміжних приміщень, їхньої звукової та візуальної ізоляції.

Перегородки у СІП-будинках зазвичай є самонесучими. Перегородки бувають глухі й з прорізами, повні і неповні (які не доходять до стелі). За функціональними вимогами перегородки можуть бути стаціонарними, положення яких залишається незмінним, і  пересувними, або такими, що трансформуються, їхнє розташування може змінюватися без переробки інших конструкцій. Перегородки або виготовляють із панелей, або можуть бути поелементного складання. Каркасно-обшивні перегородки складаються з  металевого або дерев’яного каркаса й обшивки із ГКП або ГВП, яку кріплять до каркаса саморізами. Для підвищення тепло- і звукоізоляційних характеристик перегородки порожнину між її обшивками заповнюють теплоізоляційним матеріалом, як правило, мінеральною або скляною ватою. Індекс ізоляції повітряного шуму таких перегородок, залежно від призначення, має бути в межах від 40 до 55 дБ.

У табл. 9.1 наведено конструктивні схеми типів каркасно-обшивних перегородок, які найбільш часто застосовують у малоповерхових житлових будинках.

Таблиця 9.1 Конструктивні схеми типів каркасно-обшивних перегородок Типи каркасно-обшивних перегородок

Горизонтальний розріз перегородки

Конс трукція перегородок

Одинарний металевий каркас, обшитий одним шаром ГКП (ГВП) з обох боків. Висота перегородки до 7,8 м. Маса 1 кв. метра перегородки — 28 кг. Система W111.

Одинарний металевий каркас, обшитий двома шарами ГКП (ГВП) з обох боків. Висота перегородки до 9,0 м. Маса 1 кв. метра перегородки — 53 кг. Система W112.

Одинарний дерев’яний каркас, обшитий одним шаром ГКП (ГВП) з обох боків. Висота перегородки до 3,0 м. Маса 1 кв. метра перегородки — 32 кг. Система W121.

Одинарний дерев’яний каркас, обшитий двома шарами ГКП (ГВП) з обох боків. Висота перегородки до 4,2 м. Маса 1 кв. метра перегородки — 57 кг. Система W122.

110 9 Каркасно-обшивні
Право для безоплатного розміщення підручника в мережі Інтернет має Міністерство освіти і науки України http://mon.gov.ua/ та Інститут модернізації змісту освіти https://imzo.gov.ua

За звукоізоляційними характеристиками розрізняють акустично однорідні і  неоднорідні перегородки . Однорідні складаються з одного шару матеріалу. Неоднорідні виготовляють у вигляді шаруватої та порожнистої конструкції. Найбільшу будівельну готовність мають перегородки із СІП-панелей

і гіпсоплит. Отже, міжкімнатні перегородки можуть бути побудовані із різних матеріалів, мати різні конструкції. Їм властиві переваги і недоліки, через що замовник будинку має змогу на власний розсуд зробити обґрунтований вибір і прийняти рішення про те, як саме треба улаштувати міжкімнатні перегородки — за каркасною або СІП-технологією.

Випробування виробів з гіпсокартону і гіпсоволокна щодо реакції на вогонь (визначення теплоти згорання) має відповідати вимогам ДСТУ EN ISO 1716:2019. Зрозуміло, що гіпсокартонні та гіпсоволокнисті обшивки перегородок мають мати високу якість поверхні, відповідати гігієнічним вимогам, мати належні властивості для роботи в умовах підвищеної вологості повітря та інших впливів навколишнього середовища (температура, біологічне й хімічне вивітрювання). Цим же вимогам мають відповідати й елементи каркаса та кріплення.

Контрольні запитання

1. Що таке перегородки? Для чого їх використовують?

2. Як поділяють перегородки за функціональними вимогами?

3. Які є перегородки за звукоізоляційними характеристиками?

4. Перелічіть вимоги, яким відповідають перегородки комплектних систем.

5. Яким має бути індекс ізоляції повітряного шуму для житлових будинків з каркаснообшивними перегородками?

9.2. Гіпсокартонні плити

Гіпсокартонні плити (ГКП) складаються із негорючого гіпсового сердечника, усі площини якого, крім торцевих країв, облицьовано картоном, що міцно приклеєний до сердечника. Сердечником є гіпс. Він має невисоку щільність, низьку теплопровідність, добру звукоізоляційну здатність, високу паро- і газопроникність, що забезпечує комфортність житлових приміщень.

Гіпс — це негорючий вогнестійкий матеріал. Він не містить токсичних компонентів і має кислотність, яка дорівнює кислотності людської шкіри. Його використання не є шкідливим для довкілля.

У гіпсовий сердечник додають спеціальні компоненти, які покращують його експлуатаційні властивості.

Другим важливим компонентом ГКП є картон облицювальний, зчеплення якого із сердечником забезпечує застосування клеєвих додатків. Картон виконує роль армувального каркаса і чудової основи для нанесення будь-якого опоряджувального матеріалу. За своїми фізичними і гігієнічними властивостями картон ідеально підходить до застосування у житлових приміщеннях.

111
9.2. Гіпсокартонні плити
Право для безоплатного розміщення підручника в мережі Інтернет має Міністерство освіти і науки України http://mon.gov.ua/ та Інститут модернізації змісту освіти https://imzo.gov.ua

та СІП-перегородки у СІП-будинках

 Залежно від властивостей і сфери застосування гіпсокартонні плити поділяють на такі типи:

● плити гіпсокартонні звичайні — застосовують переважно для внутрішнього опорядження приміщення з сухим і нормальним режимами вологості;

● плити гіпсокартонні вологостійкі (ГКПВ) — мають знижене водопоглинання (менше 10%) і підвищений спротив просоченню вологи; застосовують у помірно вологих приміщеннях згідно з чинними нормами будівельної теплотехніки; ● плити гіпсокартонні з підвищеним спротивом дії відкритого полум’я (ГКПО)  — плити, які мають більший, ніж звичайні, спротив вогневій дії; застосовують у приміщеннях з підвищеною пожежною небезпекою; ● плити гіпсокартонні вологостійкі з підвищеним спротивом дії відкритого полум’я (ГКПВО) — мають одночасно властивості плит ГКПВ і ГКПО.

Вологісний режим приміщень будинків і споруд у зимовий час залежно від відносної вологості й температури повітря всередині будинку варто встановлювати за табл. 9.2.

Таблиця 9.2

Режими приміщень будинків

Режим Вологість внутрішнього повітря, %, при температурі

до 12° С більше 12° С до 24° С більше 24° С

Сухий до 60 до 50 до 40 Нормальний більше 60 до 75більше 50 до 60більше 40 до 50 Вологий більше 75

більше 60 до 75більше 50 до 60

Мокрий більше 75 більше 60

Гіпсокартонні плити виготовляють з різними за формою повздовжніми краями (рис. 9.1), що обклеєні картоном і визначають спосіб і якість обробки стиків між сусідніми ГКП. Поперечні краї ГКП, що утворюються в результаті заводського розрізання гіпсокартонної стрічки, обробляють або на заводі, або на місці їхнього використання за допомогою рубанків косого обрізання і рашпилів шліфування.

Властивості та експлуатаційні характеристики ГКП наведено у Національному стандарті України ДСТУ EN-520:2018 «Плити гіпсокартонні. Визначення, вимоги та методи випробування».

УК — скошений (обтиснутий) повздовжній потоншений край, призначений для обклеювання армувальною стрічкою й шпаклювання швів ПК — прямокутний повздовжній край для монтажу насухо без закладення швів ЗК — закруглений повздовжній край, призначений для шпаклювання стиків без обклеювання армувальною стрічкою ПЛУК — напівкруглий повздовжній потоншений з лицьової сторони край, призначений для закладання швів із застосуванням і без застосування армувальної стрічки ПЛК — напівкруглий повздовжній край, призначений для закладання швів без застосування армувальної стрічки

Рис. 9.1. Повздовжні краї гіпсокартонних плит

розміщення підручника в мережі Інтернет має Міністерство освіти і науки України http://mon.gov.ua/ та Інститут модернізації змісту освіти https://imzo.gov.ua

112 9
Каркасно-обшивні
Право для безоплатного

Контрольні запитання і завдання

1. Із яких елементів складаються гіпсокартонні плити?

2. Які властивості має гіпсовий сердечник гіпсокартонної плити?

3. Яку роль виконує облицювальний картон гіпсокартонної плити?

4. На які типи поділяють гіпсокартонні плити?

5. Назвіть можливі температурно-вологісні режими приміщень будинку.

6. Яку форму можуть мати повздовжні краї гіпсокартонних плит?

9.3. Гіпсоволокнисті плити

Для обшиття металевих і дерев’яних каркасів міжкімнатних перегородок СІП-будинків, крім гіпсокартонних, використовують також гіпсоволокнисті плити (ГВП). Цей конструктивний матеріал застосовують у сухому будівництві для облицювання стін, підвісних стель, мансард, збірних стяжок підлог.

Гіпсоволокнисті плити одержують у заводських умовах методом напівсухого пресування із суміші гіпсового в’яжучого і розпушеної макулатури. ГВП виготовляють двох видів: звичайні (ГВП) і вологостійкі (ГВПВ), які призначено для використання відповідно у приміщеннях із сухим і нормальним вологісним режимами і у приміщеннях з вологим режимом. У приміщеннях з мокрим режимом застосовувати гіпсоволокнисті плити заборонено.

Гіпсоволокнисті плити виготовляють із повздовжнім краєм двох типів (табл. 9.3).

Таблиця 9.3

Типи країв ГВП

Ескіз краю Тип краю Позначення

Фальцевий край ФК

Прямий край ПК

ГВП є вогнестійкими будівельними виробами з такими пожежно-технічними характеристиками: група горючості — Г1; група займистості — В1; група димоутворювальної здатності — Д1; група токсичності продуктів горіння — Т1; група поширення полум’я — РП-1. Ці показники свідчать, що ГВП, порівняно з іншими широко застосовуваними в новому будівництві виробами і матеріалами, мають досить високі пожежно-технічні властивості. Це робить їх найкращими для застосування у спорудженні нових будівель, а також при реконструкції або санації будинків і споруд, зокрема при обшиванні каркасів внутрішніх несучих стін і перегородок.

Питання визначень, вимог і методів випробування плит гіпсових з волокнистою арматурою викладено у ДСТУ EN 15283–2:2019.

113 9.3.
Гіпсоволокнисті плити
Право для безоплатного розміщення підручника в мережі Інтернет має Міністерство освіти і науки України http://mon.gov.ua/ та Інститут модернізації змісту освіти https://imzo.gov.ua

та СІП-перегородки у СІП-будинках

Контрольні запитання

1. Із яких матеріалів і яким методом виготовляють гіпсоволокнисті плити?

2. Де використовують гіпсоволокнисті плити?

3. З якими типами країв випускають ГВП?

4. Які пожежно-технічні характеристики мають ГВП?

9.4. Каркаси перегородок, елементи металевого каркаса

Через невеликий модуль пружності ГКП і ГВП, необхідність підвищення жорсткості, міцності та стійкості огороджувальних конструкцій і зниження прогинів підвісних стель із урахуванням необхідних умов звукоізоляції й вогнестійкості для установлення обраних конструкцій необхідно застосовувати каркаси. Елементи металевих каркасів (напрямні, стоякові профілі, балкові) з’єднують між собою сталевими шурупами, заклепками, виштамповкою. Елементи дерев’яних каркасів з’єднують за допомогою шипогніздових, шпонкових, шпунтових сполучень, а також за допомогою цвяхів, шурупів, скоб, з використанням клею. Кріплення ГКП і ГВП до металевих каркасів здійснюють за допомогою самонарізних шурупів, а до дерев’яних — за допомогою цвяхів, шурупів, шурупів-саморізів, кріпильних скоб. Стикові з’єднання металевих або дерев’яних елементів каркасів розташовують урозбіг. Стики ГКП і ГВП не повинні збігатися зі стиками каркаса як із міркувань забезпечення максимальної міцності й технологічності всієї системи загалом, так і пожежної безпеки. В останньому випадку вогнезахисний ефект гіпсокартонного облицювання помітно послаблюється. Якісно змонтований каркас не тільки забезпечує надійність всієї системи загалом, але й дає гарантію одержання рівної основи, а отже, рівної лицьової поверхні обшивки і нормального стикування плит. При цьому варто зазначити, що помилки, допущені при монтажі каркаса, у більшості випадків неможливо виправити ні при обшиванні ГКП і ГВП, ні в результаті шпаклювання швів між ними.

Монтаж к аркасів треба здійснювати з неодмінним дотриманням таких

умов:

каркас має бути достатньо жорстким, що визначає відстані з одного боку — між точками його кріплення до несучих конструкцій будинку, а з іншого — між основними та несучими елементами;

елементи каркаса повинні бути недеформованими й рівними (погнуті металеві елементи непридатні для використання в каркасі), дерев’яні бруски (рейки) не можна виготовляти з косошарової деревини або застосовувати з послабленням їхніх перерізів. Дерев’яні елементи каркаса мусять мати достатні розміри для забезпечення мінімальної ширини обпирання на них ГКП або ГВП; за необхідності підвішування до каркасів устаткування, меблів, світильників

посилюють допоміжними елементами, спареними профілями стійок з належною орієнтацією один щодо одного.

114 9 Каркасно-обшивні
їх
Право для безоплатного розміщення підручника в мережі Інтернет має Міністерство освіти і науки України http://mon.gov.ua/ та Інститут модернізації змісту освіти https://imzo.gov.ua

9.4. Каркаси перегородок, елементи металевого каркаса

Металеві каркаси для огороджувальних конструкцій і підвісних стель з використанням ГКП і ГВП виготовляють із металевих профілів і деталей, які випускають за єдиними стандартами. Профілі виготовляють із оцинкованої гальванічним способом м’якої нелегованої сталі методом холодної прокатки. Товщина профілів — 0,56...1 мм. Елементи каркаса, що застосовують, наприклад, для обрамлення дверних прорізів, можуть виконувати з металевих профілів з товщиною стінки 2...2,5 мм.

Профілі випускають з U-подібним і  С-подібним поперечним перерізом, причому в більшості випадків твердість стінових і стельових профілів збільшують

шляхом гофрування їхніх полиць і стінки в повздовжньому напрямку в процесі холодної прокатки.

Рекомендовані до використання при улаштуванні каркасів металеві профілі залежно від призначення поділяють на марки, що мають відповідні позначення (табл. 9.4).

Таблиця 9.4 Форма перерізу й марки металевих профілів для гіпсокартонних і гіпсоволокнистих конструкцій

Найменування профілю

Напрямний

Гнутий (опуклий, увігнутий)

CD 60/27 з радіусом гнуття > 500 мм

Напрямні профілі каркаса перегородок і облицювання стін

Стійки каркаса перегородок та облицювання стін

Каркас підвісної стелі й облицювання стін

Каркас підвісної стелі й облицю­

вання стін

Захист зовнішніх кутів перегоро­

док та облицювання стін

К аркас підвісних стель і облицювання стін

Примітка . У марках профілів перше число позначає ширину, друге — висоту полички профілю.

Профілі марки UW (рис. 9.2 а) призначено для улаштування стельових (верхніх) і підлогових (нижніх) напрямних при обладнанні перегородок. У них немає загнутих країв, для того щоб стояковий профіль щільно (без зазорів) входив у верхні й нижні напрямні. Напрямні профілі мають U-подібну форму. Їх також використовують для улаштування перемичок між стояковими профілями в каркасах перегородок та облицювань. Напрямні профілі виробляють з готовими отворами діаметром 8 мм у стінці профілю. Ці отвори призначено для встановлення дюбелів,

115
Переріз Марка Маса 1 пог. м кг Сфера застосування
UW 50/40 0,61
UW 65/40 0,68 UW 75/40 0,73 UW 100/40 0,85
CW 50/50 0,73
Стійковий
CW 65/50 0,81 CW 75/50 0,85 CW 100/50 0,97 Стельовий CD 60/27 0,6
Напрямний стельовий UD 28/27 0,4
Кутовий ПУ 31/31 0,2
0,6
Право для безоплатного розміщення підручника в мережі Інтернет має Міністерство освіти і науки України http://mon.gov.ua/ та Інститут модернізації змісту освіти https://imzo.gov.ua

А. Напрямний профіль UW Б. Стійковий профіль CW

та СІП-перегородки у СІП-будинках

В. Стельовий профіль CD

Г. Профіль напрямний стельовий (UD)

Д. Профіль кутовий (ПК)

Е. Арковий гнутий профіль

Рис. 9.2. Типи профілів залежно від призначення

що полегшує кріплення профілю до основи. За необхідності можна просвердлити додаткові отвори для дюбелів. Профілі стійкові CW (рис. 9.2 б) мають загнуті всередину краї. У їхніх стінках можуть бути Н-подібні просічки, які дають змогу шляхом відгину ділянок у межах просічок одержати отвори для кабелів, проводів, труб. Ці просічки, однак, не повинні надмірно послабляти перетин стійки, тому відстань між сусідніми отворами становить 50 см. CD-профілі (рис. 9.2 в) с лугують як вертикальні стійки каркаса перегородок і облицювань, що обшивають ГКП і ГВП. Монтують стояковий профіль у парі з відповідним за розміром напрямним профілем типу UD. Розташування гофрів на полиці профілю — один у центрі й два по краях на відстані 10 мм від центрального — забезпечують необхідну жорсткість і зручність в установленні шурупів при кріпленні ГКП або ГВП. Центральний гофр є орієнтиром — як при установленні каркаса, так і при його обшиванні. Стінка профілю також має три гофри — один у центрі і два ширших по краях. Профіль напрямний стельовий (UD) (рис. 9.2 г) використовують для монтажу каркаса підвісних стель й облицювання стін. При монтажі каркасів підвісної стелі UD-профіль кріплять по периметру приміщення. При установленні каркаса облицювання його кріплять до підлоги і стелі. У стінці профілю є отвори діаметром 8 мм. Їх розташовано із кроком приблизно 250 мм і  призначено для кріплення профілю до стін дюбелями. Профіль кутовий (ПК) (рис. 9.2 д) призначено для захисту зовнішніх кутів гіпсокартонних або гіпсоволокнистих обшивань від механічних ушкоджень. Переріз ПУ-профілю виконано у формі гострого кута (85°), що забезпечує його щільне прилягання до поверхні кута перегородки. Встановлення ПУ-профілю на кути гіпсокартонних або гіпсоволокнистих обшивок можна здійснити також за допомогою спеціального пристосування для кріплення кутових профілів.

Також використовують арковий гнутий профіль (рис. 9.2 е) д ля створення криволінійних гіпсокартонних поверхонь.

Визначення, вимоги та методи випробувань металевих профілів для гіпсокартонних систем наведено у Національному стандарті України ДСТУ Б EN 14195:2005 (EN 14195:2005/АС 2006, IDT) «Профілі металеві для гіпсокартонних систем».

Контрольні запитання

1. Для чого застосовують каркаси в огороджувальних конструкціях?

2. Чим елементи металевих і дерев’яних каркасів кріплять між собою?

3. Як треба розташовувати стики каркасів і стики ГКП і ГВП?

4. Які є вимоги до каркасів та їхніх елементів?

5. З якими формами поперечного перерізу випускають елементи металевих каркасів?

116 9 Каркасно-обшивні
Право для безоплатного розміщення підручника в мережі Інтернет має Міністерство освіти і науки України http://mon.gov.ua/ та Інститут модернізації змісту освіти https://imzo.gov.ua

117 9.5. Елементи дерев’яного каркаса

9.5. Елементи дерев’яного каркаса

Каркаси з дерева для сухого будівництва варто передбачати в приміщеннях без особливих вимог до пожежної безпеки. Елементи дерев’яних каркасів виконують із рейок, брусків, дощок.

Для виготовлення дерев’яних каркасів найчастіше використовують перерізи дерев’яних брусків, зазначені в табл. 9.5.

Таблиця 9.5 Переріз брусків для монтажу дерев’яних каркасів

з використанням ГКП і ГВП

Конструкція

Каркас (риштування каркаса) для підвісних стель, ригелів, балок перегородок із ГКП та ГВП

Стійки для перегородок із ГКП

та ГВП

Ширина, мм 4850606080484860

Висота, мм 2430405060608060

Для дерев’яних каркасів треба використовувати високоякісну деревину, без дефектів і деформацій. Вадами деревини, що знижують її технічну цінність, є косошарість, тріщини, відмерлі сучки´, гниль. За необхідності допускається додаткова обробка елементів каркасів (обстругування, вибірка пазів) для закріплення опор, підвісів, фіксаторів та інших кріпильних пристосувань. При виготовленні дерев’яних каркасів гіпсокартонних систем потрібно звертати увагу на вологість деревини. Свіжозрубане дерево містить приблизно 60% води (хвойні породи). При більш-менш тривалому сушінні дерева на повітрі в штабелях частина природної вологості втрачається, і до моменту його розпилювання дерево перебуває в напівсухому стані (містить від 20 до 30% вологи). Після розпилювання дерева і зберігання пиломатеріалів у сухих і провітрюваних приміщеннях одержують повітряно сухі пиломатеріали, що містять не більше ніж 10–15% вологи. Вологість деревини при застосуванні пиломатеріалів у конструкціях повинна бути в межах 12±3%.

Для улаштування дерев’яних каркасів потрібно використовувати пиломатеріали з антисептованої деревини не нижче 2-го сорту за ДСТУ EN 336:2003 «Пиломатеріали конструкційні із хвойних порід та тополі. Розміри. Допустимі відхилення».

Проєктування дерев’яних конструкцій треба здійснювати згідно з ДСТУ НБ EN 1995–1-1:2010 Єврокод 5. «Проєктування дерев’яних конструкцій. Частина 1–1. Загальні правила і правила для споруд» (EN 1995–1-1:2004, IDT).

При використанні дерев’яних каркасів для гіпсокартонних і гіпсоволокнистих обшивок у вологих приміщеннях необхідно брати до уваги властивість деревини розбухати при зволоженні. У зв’язку з цим до початку обшивання каркаса ГКП або ГВП має пройти час, необхідний для адаптації деревини до мікроклімату приміщення. При зміні вологості деревини на 1% відбувається зміна в повздовжніх розмірах елементів до 0,01%, а в поперечних — до 0,24%.

Усі деталі дерев’яного каркаса мають бути захищені від ураження грибками й точильниками завдяки просоченню антисептиками. Вогнестійкість деревини можна підвищити шляхом її пофарбування антипиренами. Якість усіх засобів, які використовують для захисту деревини, повинна бути підтверджена відповідними сертифікатами.

Право для безоплатного розміщення підручника в мережі Інтернет має Міністерство освіти і науки України http://mon.gov.ua/ та Інститут модернізації змісту освіти https://imzo.gov.ua

118 9 Каркасно-обшивні та СІП-перегородки у СІП-будинках

Дерев’яний будівельний матеріал, який використовують для каркасів гіпсокартонних і гіпсоволокнистих систем, складують у штабелі на підкладках, що забезпечують його провітрювання, в сухих закритих приміщеннях, убезпечених від пожеж.

9.6. Комплектувальні матеріали та вироби

Для улаштування огороджувальних конструкцій у комплекті з елементами каркаса необхідні кріпильні вироби, самонарізні шурупи, клеєві та шпаклювальні суміші, ущільнювачі, герметизуючі засоби, звуко- і теплоізоляційні матеріали.

До кріпильних виробів належать: підвіси для каркасів підвісних стель, дюбелі й анкерні елементи для кріплення каркаса до несучих конструкцій, з’єднувальні елементи для елементів каркаса, а також дюбелі та гачки для кріплення різних предметів до перегородок, облицювання і підвісних стель. Номенклатуру гвинтів (шурупів) самонарізних наведено в табл. 9.6. Довжина шурупів для кріплення ГКП і ГВП до каркасів залежить від виду каркаса й товщини обшивки (табл. 9.7). Номенклатуру дюбелів для кріплення елементів каркаса й підвісів до несучих конструкцій і навісного обладнання безпосередньо до обшивок із ГКП і ГВП наведено в табл. 9.8. Кріплять елементи дерев’яного каркаса між собою цвяхами з преференційним застосуванням накладок з вуглецевої холоднокатаної оцинкованої сталі товщиною не менше ніж 0,6 мм.

Таблиця 9.6 Номенклатура самонарізних гвинтів для конструкцій з використанням ГКП і ГВП

Загальний вигляд

Найменування

Гвинт самонарізний (тип TN) з потайною головкою, хрестоподібним шліцом і загостреним кінцем

Гвинт самонарізний (тип MN) з потайною головкою, хрестоподібним шліцом і загостреним кінцем

Гвинт самонарізний (тип TB) з потайною головкою, хрестоподібним шліцом і виcвердлювальним кінцем

Сфера застосування

Для кріплення ГКП до металевого і дерев’яного каркаса з товщиною стінки профілю менше ніж 0,7 мм. Довжина гвинтів залежить від виду каркаса і товщини обшивки

Для кріплення ГВП до металевого і дерев’яного каркаса з товщиною стінки профілю менше ніж 0,7 мм. Довжина гвинтів залежить від виду каркаса і товщини обшивки

Для кріплення ГКП і ГВП до металевого каркаса з товщиною стінки профілю 0,7÷2,2 мм. Довжина гвинтів залежить від виду каркаса і товщини обшивки.

Гвинт самонарізний (тип LN) з хрестоподібним шліцом і загостреним кінцем

Д ля з’єднання між собою металевих деталей з товщиною сталі 0,7÷2,2 мм

Д ля з’єднання між собою металевих деталей з товщиною сталі ≤0,7 мм Гвинт самонарізний (тип LB) з хрестоподібним шліцом і виcвердлювальним кінцем

Право для безоплатного розміщення підручника в мережі Інтернет має Міністерство освіти і науки України http://mon.gov.ua/ та Інститут модернізації змісту освіти https://imzo.gov.ua

Матеріал обшивки

Кількість шарів

Комплектувальні матеріали та вироби

Необхідна довжина самонарізних гвинтів для улаштування обшивки з ГКП і ГВП

Товщина обшивки

Таблиця 9.7

Тип гвинтів для кріплення ГКП і ГВП до каркаса Тип гвинтів для кріплення металевих елементів

Три 12,5+12,5+ 12,5

55 Для ущільнення зазорів між напрямними профілями металевого каркаса перегородок, підлогою та стелею і забезпечення необхідної звукоізоляції рекомендують застосовувати ущільнювальні стрічки з пінополіуретану й латексної піногуми щільністю до 150 кг/м3 (ТУ 38.106599).

Для звукоізоляції перегородок рекомендують застосовувати мінераловатні плити на синтетичному зв’язному за ДСТУ Б В.27.-56:2010.

Таблиця 9.8 Номенклатура дюбелів

Розміри гвинтів Загальний вигляд Діаметр, мм Довжина, мм Дюбель для порожнистих конструкцій

Найменування дюбеляПризначення дюбеля

К ріплення профілів і навісного устаткування до порожнистих конструкцій 11, 13

49...77, 51....79

Дюбель універсальний (з межею вогнестійкості 45 хв)

К ріплення профілів і навісного устаткування до порожнистих конструкцій

6, 8

35, 40, 50, 70,80 Дюбель анкерний пластмасовий (з межею вогнестійкості 45 хв) Кріплення профілів і навісного устаткування до порожнистих конструкцій

35, 40, 50, 70,80 Дюбель анкерний металевий (з межею вогнестійкості 45 хв) 6 49

6, 8

119 9.6.
Дерево Метал Товщина до 0,7 мм Товщина 0,7÷2,2 мм ГКП Один До 12,5TN 35TN 25 TB 25 LN 9 LN 11 15 TN 35TN 25 TB 35 18÷20 TN 45TN 35 TB 35 25 TN 45TN 35 TB 45 Два 12,5+12,5 TN 35+TN 45TN 25+TN 35TB 25+TB 45 15+12,5 TN 35+TN 45TN 25+TN 45TB 25+TB 45 18+15 TN 45+TN 55TN 35+TN 45TB 35+TB 45 25+18 TN 45+TN 70TN 35+TN 55TB 45+TB 55 Три 12,5+12,5 +12,5 – TN 25+TN 35+ TN 55 –ГВП Один 10 MN 30MN 30 TB 25 LN 9 LN 11 12,5 MN 35 Два 10+10 MN 30+MN 45MN 30+MN 45TB 25+TB 35 12,5+12,5 MN 45+MN 45MN 30+MN 45TB 25+TB 45
– MN 30+MN 45+ MN 55TB
TB
25+TB 45+
Право для безоплатного розміщення підручника в мережі Інтернет має Міністерство освіти і науки України http://mon.gov.ua/ та Інститут модернізації змісту освіти https://imzo.gov.ua

та СІП-перегородки у СІП-будинках

Найменування дюбеляПризначення дюбеля

Дюбель для навішування

предметів на ГВП

Продовження таблиці

Розміри гвинтів Загальний вигляд

Діаметр, мм Довжина, мм

Кріплення навісного устаткування до гіпсоволокнистих плит 1239

Для закладання стиків, утворених фальцевими краями ГВП, застосовують

сітчасту або перфоровану склотканинну армувальну стрічку (серп’янку).

У санітарно-технічних приміщеннях (ванні, душові тощо) поверхні ГВП і ГКП, що перебувають під безпосереднім впливом вологи, рекомендують покривати гідроізолюючим матеріалом, а в місцях сполучення стін між собою і стіни з підлогою використовувати самоклейку гідроізоляційну стрічку.

Як тепло-, звукоізоляційний матеріал у конструкціях перегородок, облицювань стін і мансардних приміщень, а також у конструкціях підвісних стель варто застосовувати мінераловатні плити на синтетичному зв’язному за ДСТУ БВ.2.7–56:2010 і Т У 5762–005-45757203–00 або ск ловатні плити на синтетичному зв’язному за ДСТУ БВ.7.7–56:2010.

Найважливішою складовою частиною комплектних систем сухого будівництва є інструменти, необхідні для якісного виготовлення конструкцій перегородок, облицювань, підвісних стель, мансард, сухої штукатурки. Більшість із високоякісних інструментів для сухого будівництва придатні для робіт як із ГКП, так і з ГВП (табл. 9.9).

Таблиця 9.9

Інструменти та пристосування для роботи й улаштування конструкцій комплектних систем сухого будівництва

Загальний вигляд Найменування Призначення

Пристосування для перенесення ГКП і ГВП

Д ля перенесення плит й утримування їх у вертикальному положенні

Візок для перевезення ГКП і ГВП Для перевезення плит Пристосування шнуровідбійне Д ля розмітки проєктного положення конструкцій

Ніж зі змінними лезамиДля різання ГКП

Ніж складаний Для різання ГВП та ГКП

Різак великий для різання

120 9
Каркасно-обшивні
ГКП Для
до 630 мм
відрізання смуг шириною
Право для безоплатного розміщення підручника в мережі Інтернет має Міністерство освіти і науки України http://mon.gov.ua/ та Інститут модернізації змісту освіти https://imzo.gov.ua

матеріали та вироби

Продовження таблиці

Загальний вигляд Найменування Призначення

Пристосування проколю­

вальне

Д ля утворення отворів невеликого діаметра в ГКП

Різак малий для різання ГКПДля відрізання смуг ГКП шириною до 120 мм

Пилка вузька для прорізання

отворів в ГКП

Для утворення отворів невеликого діаметра в ГКП

Ручні ножиці по металуДля різання частин металевого профілю

Електроножиці для різання профілю Для різання профілів каркасів Рубанок обдирний

Для вирівнювання та шліфування обрізних країв гіпсокартонних і гіпсоволокнистих плит. Рубанок має змінні полотна

Для зняття фаски на обрізаних краях при улаштуванні стиків Пристосування монтажне

Рубанок для обробки країв 22,5° і 45°

Для улаштування ГКП або ГВП у монтажному положенні, для улаштування зазору при кріпленні їх до

к аркаса перегородок і облицювання стін Підіймач рамковий

Для підйому ГКП і ГВП у проєктне положення при улаштуванні підвісних стель

Пристосування

«Метростат 300»

Д ля монтажу ГКП і ГВП, вимірювання довжини і рівня

Набір нівелювальних рейок

Для вирівнювання сухої засипки при улаштуванні збірних основ підлоги

Для проколювання поверхні ГКП при виготовленні

Валик голчастий

121 9.6. Комплектувальні
гнутих елементів
Право для безоплатного розміщення підручника в мережі Інтернет має Міністерство освіти і науки України http://mon.gov.ua/ та Інститут модернізації змісту освіти https://imzo.gov.ua

та СІП-перегородки у СІП-будинках

Загальний вигляд Найменування Призначення

Просікач

Шурупокрут

Для скріплення металевих профілів методом просікання з відгинанням

Для угвинчування шурупів при закріпленні ГКП або ГВП до каркасів, а також металевих або дерев’яних елементів каркаса між собою

Для утворення круглих отворів у ГКП і ГВП Шпаклювальний короб

Набір фрез

Для приготування шпаклювальної суміші. Місткість короба дає змогу раціонально використовувати

заготовлений заміс шпаклівки Шпатель­кельма

Д ля приготування шпаклювальної суміші в коробі. Для зручності роботи шпатель­кельма має розмір, трохи менший від дна короба

Шпатель із викруткою шириною 15 см

Д ля шпаклювання стиків ГКП і ГВП, заглиблень від шурупів і їхнього додаткового затягування

Шпатель широкий, шириною 200, 250 і 300 мм

Для нанесення накривних шарів шпаклівки при фінішній обробці всієї поверхні

Шпатель для внутрішніх кутів Для шпаклювання внутрішніх кутів конструкцій

Шпатель для зовнішніх кутівДля шпаклювання зовнішніх кутів конструкцій

Оздоблювальний шпатель Для отримання гладких поверхонь гіпсових штукатурок

Контрольні запитання

1. Які кріпильні вироби застосовують для улаштування каркасів огороджувальних конструкцій?

2. Які матеріали використовують для звукоізоляції перегородок?

 Тестові завдання

1. Яку максимальну висоту може мати перегородка з металевим каркасом

122 9
Каркасно-обшивні
і обшивкою з обох боків одним шаром ГКП? а) 5 м; б) 6 м; в) 57 м; г) 8 м. Продовження таблиці Право для безоплатного розміщення підручника в мережі Інтернет має Міністерство освіти і науки України http://mon.gov.ua/ та Інститут модернізації змісту освіти https://imzo.gov.ua

2. Яку максимальну висоту може мати перегородка з металевим каркасом і обшивкою з обох боків двома шарами ГКП?

а) 7 м; б) 8 м; в) 8,5 м; г) до 9 м.

3. Яку максимальну висоту може мати перегородка з дерев’яним каркасом і обшивкою з обох боків одним шаром ГКП?

а) 2,5 м; б) 8 м; в) 3 м; г) більше ніж 3,5 м.

4. Яку максимальну висоту може мати перегородка з дерев’яним каркасом і обшивкою з обох боків двома шарами ГКП?

а) 3 м; б) 3,2 м; в) 3,0 м; г) 4,2 м.

5. Який індекс ізоляції повітряного шуму повинен бути для житлового малоповерхового будинку?

а) 45 Дб; б) 50 Дб; в) 55 Дб; г) 60 Дб.

6. Яку мінімальну товщину стінки може мати металевий профіль?

а) 0,5 мм; б) 0,55 мм;в) 0,56 мм;г) 0,6 мм.

7. Як у максимальну відстань між H-подібними просіканнями допускають у профілі CW?

а) 30 см; б) 35 см; в) 45 см; г) 50 см.

8. Який крок мають отвори у стінці металевого профілю UD?

а) 200 мм; б) 250 мм;в) 300 мм;г) 400 мм.

9. Від чого залежить крок стійок у перегородках?

а) Від породи дерева; б) типу і товщини обшивки;

в) матеріалу утеплювача; г) навантаження на перегородку.

10. Яку вологість деревини допускають при застосуванні пиломатеріалів у конструкціях?

а) 9±3%; б) 12±3%;в) 5±3%; г) 18±3%.

11. Яку масу має стельовий профіль CD 60/27 довжиною 1 м?

а) 0,6 кг;

0,7 кг;

0,75 кг;г) 0,8 кг.

123 9.6. Комплектувальні матеріали та вироби
в)
Право для безоплатного розміщення підручника в мережі Інтернет має Міністерство освіти і науки України http://mon.gov.ua/ та Інститут модернізації змісту освіти https://imzo.gov.ua
б)

РОЗДІЛ 10. ПЕРЕГОРОДКИ ІЗ СІП-ПАНЕЛЕЙ 10.1. Види перегородок із СІП-панелей та їхні переваги

СІП-панелі для перегородок виготовляють заводським способом разом з іншими елементами СІП-будинку. Для їхнього виготовлення застосовують високоякісні матеріали — сухий калібрований брус або сухі обрізні дошки, пінополістирол ПСБ-С-25 з емісією формальдегіду Е1 (бе зпечно), вологостійкі ОСП-3 із к ласом емісії Е1. Перегородки із СІП-панелей органічно уписуються в загальний конструктив СІП-будинку і додають надійності усій його конструкції.

За своєю конструкцією перегородки із СІП-панелей нічим не відрізняються від конструкції стінових СІП-панелей або СІП-панелей перекриттів і дахів. По периметру СІП-панелей перегородок передбачено пази для з’єднувальних і напрямних (обв’язувальних вінцьових) брусків або дощок, завдяки чому будинок із СІП-панелей монтують легко і швидко. Сьогодні, окрім СІП-панелей з обшивкою ОСП-3, використовують відносно нові СІП-панелі з обшивкою із магнезитових плит. Ці панелі мають хорошу вогнестійкість, звукоізоляцію і покращену готовність до чистової обробки. Їх застосовують

для будівництва пожежонебезпечних приміщень (котелень, камінних стін). Вони також надають привабливого вигляду огороджувальним конструкціям гаражів, саун, лазень, а також приміщень, які не потребують вартісної обробки. Стіни з магнезиту доволі просто фарбувати, а стики магнезитових плит — закривати дерев’яними накладками. Разом з тим СІП-панельні перегородки не можна вважати закінченими без їхнього обшиття гіпсокартонними плитами. Це стосується як СІП-панелей з обшивкою плитами ОСП-3, так і СІП-панелей з обшивкою магнезитовими плитами. З одного боку гіпсокартонна обшивка необхідна для штроблення під електропроводку, а з іншого, — для підвищення вогнестійкості СІП-панелей з обшивкою ОСП-3. Якщо відмовитися від штроблення для електропроводки, то для її прокладання буде потрібна побудова додаткового металевого або дерев’яного каркаса під облицювання СІП-перегородок гіпсокартоном або іншим плитним вогнестійким матеріалом.

Рис. 10.1. Міжкімнатні перегородки із СІП-панелей

124 10 Перегородки із СІП-панелей
Право для безоплатного розміщення підручника в мережі Інтернет має Міністерство освіти і науки України http://mon.gov.ua/ та Інститут модернізації змісту освіти https://imzo.gov.ua

10.2. З’єднання перегородних СІП-панелей між собою

До переваги СІП-панельних перегородок можна віднести їхню здатність втримувати доволі велику вагу навішуваних на них предметів. Один саморіз довжиною 30 мм може витримувати вагу до 100 кг. Поверхня стін і перегородок

із СІП-панелей завдяки їхній рівності і гладкості має високу готовність для будьякої подальшої внутрішньої і фасадної обробки.

Найбільш часто для перегородок у СІП-будинках використовують спеціальні СІП-панелі товщиною 70 і 124 мм з товщинами пінополістирольного (полістиренового) ізоляційного сердечника 50 і 100 мм, хоча для підвищеної звукоізоляції як перегородки використовують панелі товщиною 174 мм з  сердечником товщиною 150 мм (рис. 10.1).

За допомогою гіпсокартону будівельники виводять перегородки із СІП-панелей

на той рівень звукоізоляції, який відповідає вимогам будівельних норм і не поступається європейським і американським нормам шумоізоляції квартир багатоповерхових житлових будинків.

Відомо, що стіни будь-яких приміщень з вологим режимом експлуатації потребують покриття вологостійкими матеріалами. СІП-панелі — не виняток, тому для захисту від вологи доцільно їх покривати вологостійкими ГКПВ.

Контрольні запитання

1. Із яких матеріалів виготовляють СІП-панельні перегородки?

2. Чому СІП-перегородки треба обшивати гіпсокартонними плитами?

3. Якої товщини СІП-перегородки найчастіше використовують у СІП-будинках?

10.2. З’єднання перегородних СІП-панелей між собою

З’єднання СІП-панелей у перегородці між собою здійснюють шляхом вклеювання за допомогою поліуретанової монтажної піни бруса, який рівномірно заглиблюють у пази сусідніх СІП-панелей.

Кріплення СІП-панелей перегородок до платформи підлоги або перекриття також здійснюють за системою шип–паз, при цьому роль шипа виконують бруси (дошки) нижньої і верхньої обв’язки (напрямні) відповідних розмірів. Їх попередньо заповнюють піною (рис. 10.2).

Рис. 10.2. Установлення

ОСП-3

СІП-панелей за системою шип–паз на напрямну дошку, закріплену на платформі підлоги

125
елементи Кріплення Монтажна піна Пінополістирол Право для безоплатного розміщення підручника в мережі Інтернет має Міністерство освіти і науки України http://mon.gov.ua/ та Інститут модернізації змісту освіти https://imzo.gov.ua
Закладні

Перегородки із СІП-панелей

На рис. 10.3 показано нанесення монтажної клей-піни на з’єднувальні поверхні паза СІП-панелі перегородки і нижньої обв’язки (напрямної, вінця) на платформі підлоги перекриття першого поверху або міжповерхового перекриття СІП-будинку.

Рис. 10.3. Нанесення монтажної

піни на з’єднувальні поверхні паза

СІП-панельної перегородки і нижньої обв’язки (напрямної, вінця)

на платформі підлоги: а — на паз

СІП-панелі перегородки; б — на-

прямної дошки (вінця); 1 — нижнє

нанесення (з двох боків); 2 — верхнє нанесення (з двох боків); 3 — середнє S-нанесення

СІП-панельні перегородки з’єднують між собою за допомогою з’єднувачів L-типу і  S-типу (Ozon panel, Австралія), з’єднувальними шпонками (Enersip, Канада); SPA-шпонками і шпонками з пиломатеріалів (Structural Panels, Австралія); шпонковою втулкою і  дерев’яною шпонкою (MagRoc, Нова Зеландія). В Україні переважно використовують дерев’яні шпонки і рідше термошпонки (смуги-вставки) із СІП-панелей або так званих ізоляційних шпонок (рис. 10.4–10.8).

Перегородки із СІП-панелей, облицьовані гіпсокартоном без повітряного проміжку, за міцністю схожі до обштукатурених кам’яних стін. На таку перегородку звичайними саморізами по дереву можна підвісити важкі предмети, наприклад, із сантехнічного обладнання. Це сприяє широкому застосуванні перегородок із СІП-панелей при спорудженні СІП-будинків.

Для підсилення жорсткості перегородок із СІП-панелей гіпсокартон до їхньої поверхні кріплять врозбіг. Після закінчення монтажу стики гіпсокартонних плит шпаклюють, шліфують наждачним папером, після чого поверхню перегородки можна фарбувати або обклеювати шпалерами.

126 10
Рис. 10.4. З’єднувачі (Ozon panel): а — L-тип; б — S-тип Право для безоплатного розміщення підручника в мережі Інтернет має Міністерство освіти і науки України http://mon.gov.ua/ та Інститут модернізації змісту освіти https://imzo.gov.ua

Рис. 10.5. З’єднувальні

127 10.2. З’єднання перегородних СІП-панелей між собою
плоскі шпонки Рис. 10.6
дерев’яні шпонки Право для безоплатного розміщення підручника в мережі Інтернет має Міністерство освіти і науки України http://mon.gov.ua/ та Інститут модернізації змісту освіти https://imzo.gov.ua
. З’єднувальні

Рис. 10.7. З’єднувальні шпонки SPA СІП-панелей: а — з’єднання панелей SPA шпонкою; б — з’єднання дерев’яною шпонкою із двох дощок або одного цільного бруса

Рис. 10.8. З’єднання стінових і СІП-панелей перегородки MagRoc: з обшивкою із магнезитових плит за допомогою: а — коробчастої (ізоляційної) шпонки; б — дерев’яної шпонки із дощок у горизонтальному положенні

128 10 Перегородки
із СІП-панелей
Право для безоплатного розміщення підручника в мережі Інтернет має Міністерство освіти і науки України http://mon.gov.ua/ та Інститут модернізації змісту освіти https://imzo.gov.ua

Контрольні запитання і завдання

1. З якою метою монтажний клей-піну наносять на з’єднувальні поверхні перегородки?

2. Як з’є днують між собою СІП-панелі перегородок?

3. Намалюйте схему з’єднання СІП-панелей у перегородці з’єднувачами L-типу і S-типу.

4. Як кріплять гіпсокартон до поверхні СІП-перегородок?

5. Як обробляють стики ГКП після обшивання ними поверхні СІП-перегородки?

 Тестові завдання

1. Якої товщини СІП-перегородки найчастіше використовують у СІП-будинках?

а) 74 мм; б) 100 мм; в) 124 мм;г) 184 мм.

2. Який вид ОСП використовують для виробництва СІП-панелей?

а) ОСП-1; б) ОСП-2; в) ОСП-3;г) ОСП-4.

3. Яку товщину має сердечник із пінополістиролу у СІП-панелях перегородок?

а) 60 мм; б) 80 мм; в) 100 мм;г) більше 100 мм.

4. Як у вагу може витримувати саморіз 30 мм, загвинчений у обшивку СІП-панелі з ОСП?

а) До 20 кг;б) до 40 кг; в) до 50 кг;г) до 100 кг.

5. Якої глибини має бути паз у СІП-панелі перегородки для з’єднання сусідніх СІП-панелей перегородки з’єднувачем L-типу або S-типу?

а) 2–3 см;б) 4–5 см; в) 5–6 см;г) 6–8 см.

6. На яку глибину в сердечнику СІП-панелі перегородки потрібно заглиблювати шпонку із ОСП при з’єднанні сусідніх СІП-панелей?

а) 3 см; б) 4 см; в) 5 см;г) більше 5 см.

7. Якої довжини має бути шпонка із ОСП при з’єднанні сусідніх СІП-панелей?

а) 6 см; б) 8 см; в) 10 см; г) більше ніж 10 см.

8. Як закріплюють шпонки із ОСП, які з’єднують сусідні СІП-панелі?

а) Цвяхами або саморізами з кроком 10 см і клеєм;

б) цвяхами або саморізами з кроком 15 см і клеєм;

в) цвяхами або саморізами з кроком 20 см і клеєм.

9. Якої глибини має бути паз у сердечнику СІП-панелі перегородки для з’єднання сусідніх панелей дерев’яною шпонкою?

а) 2,5 см; б) 3,8 см; в) 4,5 см;г) 5 см.

10. Як кріплять дерев’яні шпонки і СІП-панелі перегородок між собою?

а) Цвяхами або саморізами з кроком 10 см; б) цвяхами або саморізами з кроком 15 см; в) цвяхами або саморізами з кроком 20 см.

11. Як з’єднують між собою сусідні стінові або СІП-панелі перегородок?

а) SPA-шпонкою; б) дерев’яною шпонкою; в) шпонками із ОСП.

129 10.2.
З’єднання перегородних СІП-панелей між собою
Право для безоплатного розміщення підручника в мережі Інтернет має Міністерство освіти і науки України http://mon.gov.ua/ та Інститут модернізації змісту освіти https://imzo.gov.ua

РОЗДІЛ 11. МОНТАЖ ДАХІВ

11.1. Види дахів та їхні конструктивні елементи

Дах — це покриття будинку, верхня огороджувальна конструкція будівлі, надбудова над покриттям останнього поверху у вигляді однієї або кількох похилих площин, що утворюють разом із перекриттям замкнений простір — горище або мансарду.

Дах складається з несучих елементів (крокви, ферми, балки, прогони, мауерлат) і зовнішньої оболонки-покрівлі. Похилі площини називають схилами, місця їхнього перетину — ребрами (якщо кут між схилами менший від 180°) і  розжолобками (якщо кут між схилами перевищує 180°). Верхнє горизонтальне ребро називають гребенем, нижній край схилу, який виступає за площину зовнішньої стіни, — звисом. Трикутний схил з торця будинку, який іде від гребеня до карниза, називають вальмою, а той, що не доходить до карниза, — напіввальмою.

Форма даху залежить від конструкції зовнішніх стін будинку, кількості та кута схилів, типу несучих конструкцій.

Дахи можуть бути похилими або плоскими із зовнішнім або внутрішнім водостоком. Плоска конструкція даху найчастіше є практично рівною поверхнею, нахил якої не більше 5 °. Такі дахи характеризують малою витратою будівельних матеріалів і застосовують для зведення господарських споруд, сараїв, альтанок або дачних будинків. Вони не містять горищ, а утеплити їх можна тільки зсередини. Перевагою таких дахів можна назвати те, що вони можуть бути використані в подальшому як

підставка для інших допоміжних споруд або майданчиками для людей.

До похилих належать дахи з нахилом 1:6 і більше, до плоских — дахи з нахилом менше ніж 1:6. Плоскі дахи повинні мати нахил не менше ніж 1:50 для забезпечення стоку дощової і талої води.

Рис. 11.1. Конструкція і елементи похилого даху (зліва — з холодною покрівлею по приставних кроквах (балках), справа — з теплою покрівлею по висячих кроквах)

130 11 Монтаж дахів
Право для безоплатного розміщення підручника в мережі Інтернет має Міністерство освіти і науки України http://mon.gov.ua/ та Інститут модернізації змісту освіти https://imzo.gov.ua

та їхні конструктивні елементи

Конструкцію похилого даху з покрівлею та його конструктивними елементами показано на рис. 11.1. Основними і найбільш розповсюдженими формами похилих дахів є: односхилий, двосхилий, вальмовий, шатровий, мансардний, багатосхилий тощо.

Односхилий. Це найбільш економний і простий тип даху. Це одна площина, сперта на 2 несучі стіни будівлі, які мають різну висоту. Такі дахи найчастіше застосовують для оформлення промислових будівель, гаражів, складів і подібних приміщень. Вони чудово розв’язують класичні завдання: захищати будівлю від опадів і вітру. Такі дахи рідко бувають експлуатованими.

Конструкція двосхилого даху має дві площини, сперті на стіни з однаковою висотою. Одну з одною ці площини об’єднано по одній зі сторін, таким способом виходить вільний простір з різним об’ємом. Бічні сторони даху закривають фронтонами, які оберігають будівлю з двох інших сторін. У дахів можуть бути різні показники нахилу і параметр схилу.

Конструкцію мансардного даху має 2 схили, проте кожен з них розташований на двох площинах, з’єднаних одна з одною під тупим кутом. Переважно подібні покрівлі створюють для отримання просторого горища. Ламані дахи також можуть

бути оснащені мансардними вікнами, які розташовують на верхній частині схилу.

Конструкцію вальмового даху оснащено двома маленькими і двома великими схилами. Великі об’єднують за типом двосхилих дахів, однак, замість фронтонів від торця коника спускається ще бічний схил, який називають вальма. У випадках, коли вальми не досягають стін, таку покрівлю прийнято називати напіввальмовою. Вальмові дахи чудово витримують легкі навантаження. Таку конструкцію також може бути оснащено мансардним вікном. Відрізняється покрівля складністю під час проєктування та улаштування.

Шатрова конструкція даху містить різноманітні незвичайні формати, що можуть мати одночасно 4 однакових схили, які об’єднуються один з одним в одній точці вгорі. Кожен зі схилів має трикутну форму, завдяки чому така конструкція повністю симетрична щодо всіх напрямків. Більше того, кожний похилий дах може мати різну висоту. Великий розмір дає змогу створювати не просто житловий простір під дахом, але також сприяє простому і швидкому відведенню опадів.

Основні форми дахів показано на рис. 11.2.

Рис. 11.2. Приклади найбільш розповсюджених форм дахів: а — односхилий, б — двосхилий; в — плаский; г — вальмовий; д — напіввальмовий; е — мансардний; ж — шатровий; з — багатосхилий

131 11.1. Види дахів
а б в г д е ж з Право для безоплатного розміщення підручника в мережі Інтернет має Міністерство освіти і науки України http://mon.gov.ua/ та Інститут модернізації змісту освіти https://imzo.gov.ua

 Усі ці дахи можна також поділити на кілька видів за конструкцією:

● з вентиляцією. Є вільна зона між гідроізоляцією і утеплювачем, завдяки чому можна отримати вільний доступ повітря до шарів теплоізоляції. Це допомагає

дуже швидко видаляти зайву вологу;

● без вентиляції. Вона представлена у вигляді герметичного покрівельного пирога, в якому немає доступу повітря ззовні;

● інверсійна. Це тип конструкції даху, коли застосовують зворотний порядок розташування шарів покрівлі. Такий варіант вважають вдалим рішенням для створення експлуатованих дахів або зелених покриттів на покрівлі.

Спільним знаменником для всіх видів дахів можна назвати покрівельний «пиріг» і перекриття верхніх поверхів.

Дах будинку складається з  дерев’яного несучого каркаса, до якого кріплять: зверху — суцільний покрівельний настил або лати, на яких улаштовують покрівлю, що забезпечує необхідний захист від проникнення атмосферних опадів і талої води; знизу — підшивка стелі, над якою розташовують пароізоляцію та утеплювач. У будинках висотою у три поверхи підшивку стелі має бути виконано із гіпсокартонних плит типу ГКП або гіпсоволокнистих плит типу ГВП товщиною не менше ніж 12,5 мм (за вимогами пожежної безпеки). У складі конструкцій схилових і плоских дахів треба передбачити карнизи для забезпечення часткового відводу води, яка стікає з покрівлі, від зовнішніх стін.

Рис. 11.3. Несучі каркаси

похилих дахів та їхні елементи:

1 — гребенева дошка; 2 —

кроква; 3 — опорна стійка або

стіна мансарди; 4 — суцільний

брус між балками покриття; 5 —

балка горищного перекриття;

6 — в’язь із дошки перерізом

не менше ніж 19 х 89 мм; 7 —

кроквяна бантина перерізом не

менше 19 х 89 мм; 8 — перегородка; 9 — стійка перерізом

не менше ніж 38 х 89 мм через 1,2 м; 10 — стиснений розкіс

перерізом не менше ніж 38 х 89 мм під кожною кроквою; 11 —

несуча стіна

У конструкціях дахів житлових будинків необхідно передбачати вентиляційні отвори для відводу назовні вологого повітря, яке проникає на горище із опалюваних приміщень.

Несучий каркас похилого даху складається із балок горищного перекриття, крокв, а також гребеневих дощок або балок і, за необхідності, проміжних опор крокв. Нижні кінці крокв спирають на каркас зовнішніх стін, а верхні можуть з’єднувати між собою через гребеневу дошку без вертикальних опор або з обпиранням на гребеневу балку, яку, своєю чергою, спирають на стійки, які передають навантаження на внутрішню несучу стіну або прогін. Як проміжні опори крокв можна використовувати кроквяні бантини; стіни мансарди, які передають навантаження на каркас горищного перекриття; стиснуті розкоси (рис. 11.3).

Передбачають також можливість використання дерев’яних кроквяних ферм заводського виготовлення

або ферм, які складають на місці з готових елементів. До кроквяної системи є низка вимог, зокрема жорсткість, невелика вага, висока якість матеріалів.

132 11 Монтаж дахів
Право для безоплатного розміщення підручника в мережі Інтернет має Міністерство освіти і науки України http://mon.gov.ua/ та Інститут модернізації змісту освіти https://imzo.gov.ua

Â

Кроквяні дахи вважаються «холодними», однак вони найбільш розповсюджені. Будувати їх швидко і без значних матеріальних та грошових витрат. Їх встановлюють на будинки, в яких утеплення горища не потрібне, а поверхи захищені від негоди й шуму перекриттями і стінами.

Для запобігання зволоженню і біологічному вивітрюванню деревини крокв у дахах роблять необхідну вентиляцію. Для цього у дахові мансарди передбачають щілини, а у дахові горища — продухи. Якщо кроква має довжину більш як 4,5 м, то вона має обпиратися на стійку або розкіс перерізом не менше ніж 38х89 мм під кожною кроквою.

До основних етапів монтажу кроквяних систем належать:

● попереднє розкроювання на заводському обладнанні елементів даху за потрібними розмірами, які передбачено проєктом; камерне сушіння деревини і її обробка антисептиком; доставка готових елементів на будівельний майданчик;

● ск ладання елементів та обробка стиків ущільнювачами;

● ук ладання вітробар’єру, теплоізоляції та пароізоляції.

Â

Усі дахи малоповерхових житлових будинків можна поділити на два основних

типи:

● кроквяні;

● СІП-панельні.

Контрольні запитання і завдання

1. Дайте визначення поняття даху.

2. Назвіть несучі елементи даху.

3. Що таке вальма і напіввальма?

4. Які бувають дахи будинків за формою?

5. Які вимоги до дахів передбачено будівельними нормами?

6. На що обпираються верхні кінці крокв?

7. Які дахи найбільш часто застосовують при будівництві малоповерхових будинків?

8. Назвіть основні етапи монтажу кроквяних систем.

11.2. Монтаж даху із СІП-панелей

У СІП-будівництві монтаж даху — це один із завершальних етапів зведення огороджувальних конструкцій будинку. Дах має характеризуватися міцністю, стійкістю, високими ізоляційними властивостями і належним спротивом дії агентів атмосфери.

Дах можна монтувати традиційним способом шляхом зведення кроквяної системи. Це доволі складний і трудомісткий процес. Проте витрати праці й часу на будівництво даху таким способом можна значно скоротити, якщо, замість дерев’яних конструкцій, застосувати сучасні композитні вироби у вигляді

133 11.2. Монтаж даху із СІП-панелей
Право для безоплатного розміщення підручника в мережі Інтернет має Міністерство освіти і науки України http://mon.gov.ua/ та Інститут модернізації змісту освіти https://imzo.gov.ua

Рис. 11.4. Системи даху малоповерхового будинку:

а — кроквяна система;

б — СІП-система

СІП-панелей. Такий дах завдяки легкості і у той же час міцності не потребує встановлення кроквяних систем. Панелі монтують зі стикувальним брусом, який грає роль несучої балки і працює як кроква. Отже, система даху із СІП-панелей є еволюційною формою кроквяної системи (рис. 11.4).

Крім того, властивості СІП-панелей гарантують створення теплого даху, який не потребує додаткового утеплення, паро-, вітро- і шумоізоляції.

 Як показує набутий досвід будівництва й експлуатації СІП-будинків, до основних переваг і вигод даху із СІП-панелей належать:

● відсутність необхідності у додатковому утепленні й повітро- і пароізоляції даху;

● висока енергоефективність;

● висока герметизація огороджувальних конструкцій;

● невелика власна вага СІП-панелей даху;

● ідеальна придатність для мансардних поверхів і будинків з плоским дахом;

● можливість будівництва в будь-який сезон року;

● придатність для будинків з огороджувальними конструкціями із будь-яких будівельних матеріалів;

● можливість використання будь-якого покрівельного покриття;

● швидкіс ть монтажу;

● можливість монтажу без застосування важкої вантажопідйомної техніки;

● мінімальний вплив людського фактору на якість будівельної продукції;

● можливість збільшення корисної площі мансардних поверхів;

● біос тійкість СІП-панелей даху (панелі не гниють, не пліснявіють, їх не пошкоджують комахи).

Перш ніж почати улаштування даху, необхідно врахувати обмеження щодо його нахилу. Зазвичай похилі дахи приватних будинків мають нахил не менше 10°, завдяки чому вони здатні до самоочищення від снігу.

Плоскі дахи мають нахил 2–3°. Вони мають значну міцність, що витримує снігове навантаження у регіонах з великою кількістю опадів. При виборі нахилу даху варто враховувати особливості клімату у регіоні будівництва. Якщо опади випадають у значній кількості, оптимальним буде значення кута нахилу в 40° або більше — в цьому випадку ризик потрапляння вологи у стики між панелями буде найменшим. У регіонах з теплим і сухим кліматом дахи із СІП-панелей встановлюють з нахилом до 25°, що сприятиме здешевленню будівництва даху. Починати монтаж даху можна тоді, коли повністю закінчено монтаж зовнішніх стін і перекриттів. Нижньою опорою СІП-панелей даху служитиме верхня обв’язка стін або мауерлат. Це елемент конструкції даху, який укладають по верху стін будинку. Він є опорою кроквам або СІП-панелям, з’єднаним методом шип-паз за допомогою стикувальних брусів, які працюють як елементи кроквяної системи. При спорудженні будинків із СІП-панелей мауерлат виглядає нетрадиційно, оскільки він одночасно є з’єднувальним брусом стінових панелей. Верхню його частину роблять зі зрізом, який відповідає нахилові даху.

134 11 Монтаж дахів
а б
Право для безоплатного розміщення підручника в мережі Інтернет має Міністерство освіти і науки України http://mon.gov.ua/ та Інститут модернізації змісту освіти https://imzo.gov.ua

Гребенева балка (гребінь) служитиме верхньою опорою кроквам або СІП-панелям зі стикувальними брусами. Верхня частина гребеня має нахили, які дорівнюють нахилам даху.

На мауерлат і гребеневу балку укладають СІП-панелі даху, торці зашивають дошками і герметизують монтажною піною. Анодованими саморізами закріплюють укладені панелі. Усі шви і стики нахилу даху старанно герметизують і гідроізолюють. Таким чином будують двосхилий дах без прогонів (рис. 11.5). Після монтажу мауерлата переходять до монтажу гребеневої балки, які кріплять до фронтонів, виконаних із розкрійних СІП-панелей.

Якщо відстань між гребеневою балкою і мауерлатом не перевищує 4 м, прогони, які укладають між фронтонами паралельно мауерлату і гребеневій балці, не ставлять. При більшій довжині цієї відстані роблять проміжні прогони (рис. 11.6).

Якщо нахил даху перевищує 15°, то під панеллю, біля звису, монтують упор, який запобігає зсуванню панелі (під час її закріплення до елементів даху), обпираючись на мауерлат (рис. 11.7).

Рис. 11.5. СІП-будинок з двосхилим дахом без прогонів: 1 — мауерлат; 2 — фронтон; 3 — гребенева балка; 4 — СІП-панелі даху

Рис. 11.6. Дах з проміжними прогонами: 1 — мауерлат; 2 — фронтон; 3 — гребенева балка; 4 — СІП-панелі даху; 5 — прогони

Рис. 11.7. Упор для запобігання зсуванню СІП-панелі: 1 — софіт; 2 — карнизна дошка; 3 — стикувальний брус; 4 — торцева дошка; 5 — панель даху; 6 — упор; 7 — мауерлат; 8 — стінова СІП-панель

135 11.2. Монтаж даху із СІП-панелей
1 2 3 4 2 1 2 3 4 5
Право для безоплатного розміщення підручника в мережі Інтернет має Міністерство освіти і науки України http://mon.gov.ua/ та Інститут модернізації змісту освіти https://imzo.gov.ua

Рис. 11.8. Схема монтажу двосхилого даху з прогонами: 1 — мауерлат 100х150 мм; 2 — саморізи 8х280мм; 3 — гребенева балка 100х150 мм; 4 — стикувальний брус 40х200 мм; 5 — проміжні прогони 100х150мм; 6 — СІП-панель даху; 7 — подвійна ставка 40х200 мм

На рис. 11.8 пок азано схему монтажу двосхилого даху з прогонами. Для будівництва СІП-дахів використовують СІП-панелі з розмірами 2500х625х200 мм, 2800х625х200 вагою 33–35 кг. Отже, для даху нормою вважають СІП-панелі товщиною 224 мм. СІП-пане лі даху з’єднують між собою стикувальним брусом, зібраним із дощок 40х200 мм або 50х200 мм із с ухого каліброваного лісоматеріалу камерного сушіння, обробленого вогнебіозахистом. Крок стикувального бруса — 625 мм.

Для кріплення СІП-панелей даху можна використовувати «жовті» саморізи по дереву, оцинковані цвяхи, оцинковані йоржовані цвяхи. Не варто застосовувати чорні загартовані саморізи — вони обламуються і швидко піддаються корозії.

У практиці будівництва СІП-будинків вважають браком застосування СІП-панелей

тон ших 174 мм, пане лей з товщиною ОСП менше 12 мм, монтаж непідсилених панелей з кроком 1250 мм.

Якщо передбачено декілька схилів даху, наступною дією є встановлення розжолобків і  ребер. У більшості випадків укладання дахів із СІП-панелей роблять перпендикулярно гребеню. Це нормально, якщо дах будують без прогонів і з прогонами. При використанні кроквяної системи існує варіант укладання СІП-панелей паралельно з мауерлатом (рис. 11.9).

На завершення монтажу даху виконують оформлення гребеневого вузла (рис 11.10).

Рис. 11.9. Монтаж підсилених панелей даху паралельно з мауерлатом

Просвіт між торцями панелей заповнюють пінополіуретановою монтажною піною. Якщо сендвіч-панелі даху заповнено мінеральною ватою, то гребеневий вузол треба заповнити тим же утеплювачем. Заповнений просвіт накривають зверху пластиковою накладкою, яку кріплять саморізами, а потім — гребеневою планкою із оцинкованої сталі.

Для покращення герметичності усі шви (дилатаційні проміжки) на поверхні даху додатково промащують водостійким герметиком. Спочатку зрізають застиглу піну нарівні

з поверхнею даху, потім наносять герметик. З метою запобігання проникненню

136 11 Монтаж дахів
3 4 5 6 7 1 Право для безоплатного розміщення підручника в мережі Інтернет має Міністерство освіти і науки України http://mon.gov.ua/ та Інститут модернізації змісту освіти https://imzo.gov.ua

Рис. 11.10. Оформлення гребеневого вузла

11.2. Монтаж даху із СІП-панелей

Рис. 11.11. Пароізоляція покриття із СІП-панелей всередині приміщення

водяної пари всередину СІП-панелей із приміщення будинку необхідно зробити якісну обробку швів і стиків на внутрішній обшивці панелей з використанням герметиків і пароізоляційної стрічки (рис. 11.11).

Після того як дах із СІП-панелей збудовано, його покривають суцільною гідроізоляцією, наприклад, руберойдом. При якісній паро- і гідроізоляції даху вентиляційний проміжок між покрівлею і підпокрівельною гідроізоляцією не роблять. На гідроізоляцію можна укладати покрівельне покриття.

Рис. 11.12. Покрівля із СІП-панелей з сонячними панелями

Ідеально рівна поверхня СІП-панелей дозволяє використання будь-яких покрівельних матеріалів. Найчастіше використовують бітумну черепицю, цементно-піщану, полімерпіщану, композитну, металочерепицю, а також ондулін (бітумний шифер) і керамічну черепицю. Новітнім варіантом енергоощадного будинку є будинок із сонячними панелями (рис. 11.12).

Контрольні запитання і завдання

1. Чому СІП-система даху не потребує встановлення кроквяної системи?

2. Що можна вважати основними перевагами і вигодами даху із СІП-панелей?

3. Які нахили мають плоскі дахи малоповерхових будинків?

4. Як к лімат у районі будівництва впливає на нахил даху?

5. Коли треба починати монтаж даху СІП-будинку?

6. На що укладають СІП-панелі даху?

7. Які СІП-панелі використовують для будівництва СІП-дахів?

8. Які кріпильні елементи застосовують для кріплення СІП-панелей даху?

137
Право для безоплатного розміщення підручника в мережі Інтернет має Міністерство освіти і науки України http://mon.gov.ua/ та Інститут модернізації змісту освіти https://imzo.gov.ua

11.5. Покрівля будинку із СІП-панелей

Покрівля — важлива і відповідальна для конструкції і зовнішнього вигляду всієї будівлі частина даху.

Покрівлю складають з  водоізоляційного шару (рулонні покрівельні матеріали, азбоцементні хвилясті листи та плоскі плити, ондулін, глиняна і цементно-піщана черепиця, металочерепиця, бітумна черепиця, металеві (сталеві, алюмінієві, мідні хвилясті і плоскі листи, профнас тил)) і  основи (лати, суцільний настил із дощок, фанери, ДСП тощо), яку укладають на несучі конструкції або утеплювачі (у суцільних покриттях).

Рис. 11.13. Схема кріплення елементів черепиці: 1 — кроква, 2 — клямер (дротяна скрутка); 3 — цвях; 4 — черепиця; 5 — лата

Від якості будівельних матеріалів і майстерності їхнього використання залежить довговічність і надійність даху. Серед великої різноманітності покрівель найчастіше застосовують вироби із черепиці: керамічну, цементно-піщану, полімер-цементну, бітумну, композитну і металочерепицю. Окрім черепиці, використовують профнастил і бітумний шифер (ондулін), а також хвилясту азбофанеру. Покрівлю укладають відразу після встановлення настилу даху і суцільної його гідроізоляції до початку будьяких внутрішніх і зовнішніх опоряджувальних робіт. Це дає змогу захистити внутрішні приміщення будинку від атмосферних опадів і створює сприятливі умови для субпідрядників виконувати свої роботи.

Рис. 11.14. Черепична покрівля малоповерхового будинку

Одним із найбільш уживаних видів черепиці є керамічна. Її популярність пов’язана з екологічністю, пожежобезпечністю, доброю шумоізоляцією. Цю черепицю виготовляють із глини шляхом випалювання. Термін служби цієї черепиці — більше ста років. Керамічна черепиця має високу ремонтопридатність. Вона стійка до сонячних променів, перепадів низьких і високих температур. Їй властива добра водонепроникність. Недоліками керамічної черепиці є висока собівартість і велика маса виробу, а також крихкість, яка впливає на підвищення вартості робіт та їхню тривалість. Черепиця буває декількох видів: пазова штампована, пазова стрічкова, плоска стрічкова, хвиляста стрічкова, гребенева тощо. Розмір черепиці у середньому 330 мм (довжина) на 200 мм (ширина). Маса одного квадратного метра становить приблизно 50 кг.

Роботи треба вести одночасно на двох схилах даху для забезпечення рівномірного навантаження стін будинку. Уздовж карнизів і фронтонів черепицю кріплять шипами і клямерами. У решті випадків її кріплять при нахилові, що дорівнює

138 11 Монтаж дахів
Право для безоплатного розміщення підручника в мережі Інтернет має Міністерство освіти і науки України http://mon.gov.ua/ та Інститут модернізації змісту освіти https://imzo.gov.ua

1, — у всіх рядах, а від 0,5 до 1 — через ряд. Розжолобки черепичних покрівель виконують з оцинкованої сталі або із плоскої черепиці. Ряди черепиці розташовують паралельно з повздовжньою віссю розжолобка. Ширина розжолобка має бути не меншою від подвійної ширини черепиці. На рис. 11.13 показано схему кріплення елементів черепиці.

Коміри навколо димарів заповнюють жорсткою цементно-піщаною розчиновою сумішшю марки 200 на висоту 150 мм. Трудомісткість улаштування черепичних покрівель становить 0,5 людино-години на 1 м² покрівлі. На рис. 11.14 зображено черепичну покрівлю. Улаштування покрівель з азбестоцементних хвилястих листів складається з підготовчих робіт і процесу укладання листів. До підготовчих робіт належать: підготовка до укладання азбестоцементних листів; подача листів на дах; облаштування риштування; умовна розбивка площі схилів даху на ряди. Листи перевіряють на відповідність вимогам якості, розмічають і обрізають по шаблону їхні кути. Кути та хвилі азбестоцементних листів обрізають комбінованими молотком-ножівкою-сокиркою або дисковими пилками.

Рис. 11.15. Схема укладання азбестоцементних листів (шиферу): 1 —

кроква, 2 — брус лати; 3 — азбестоцементний лист; 4 — обрізаний кут листа; 5 — цвях; 6 — шнур; І–ІV — послідовність укладання листів

Лати під азбестоцементні листи розташовують залежно від розмірів листа. При використанні стандартних листів розмірами 1750 х 1125 мм їх обпирання мають здійснювати мінімум у трьох точках з урахуванням накидання. Укладають азбестоцементні листи на схилах даху зі зміщенням їхніх повздовжніх кромок у горизонтальних рядах на одну хвилю з обрізанням кутів. Кути обрізають для того, щоб утворити тришарове накидання в місцях стикування кутів (рис. 11.15). Залежно від спрямування панівних вітрів укладання листів виконують справа або зліва (щоб вітер не задував у шов).

Укладання рядів листів виконують по заздалегідь натягнутому шнуру. Листи укладають горизонтальними рядами або кутовим способом .

Рис. 11.16. Схема улаштування покриття гребеня: 1 — кроква; 2 — дошка гребеневої лати; 3 — азбестоцементний лист; 4 — цвях; 5 — гребенева деталь; 6 — цементна розчинова суміш; 7 — клоччя

Покриття гребенів виконують з азбестоцементних гребеневих деталей або металевих елементів. Гребеневий стик додатково конопатять клоччям, просоченим цементною розчиновою сумішшю (рис. 11.16). Азбестоцементні гребеневі деталі укладають на розчинову цементну суміш, а металеві кріплять цвяхами або шурупами до гребеневої дошки лати.

139 11.5. Покрівля
будинку із СІП-панелей
Право для безоплатного розміщення підручника в мережі Інтернет має Міністерство освіти і науки України http://mon.gov.ua/ та Інститут модернізації змісту освіти https://imzo.gov.ua

Рис. 11.17. Даховий настінний жолоб (схема встановлення):

1 — існуюча стіна; 2 — карнизна картина із оцинкованої сталі; 3 — лати; 4 — настінний жолоб; 5 — азбестоцементний лист; 6 — бретналь (якір) для підтримки звису

Карнизні звиси зазвичай улаштовують з організованим водостоком. Для збору дощових і талих вод у більшості випадків улаштовують дахові навісні водоприймальні лотки або жолоби, що значно спрощує спорудження карнизних звисів порівняно, наприклад, з улаштуванням звису при використанні настінного жолоба на даху (рис. 11.17 і рис. 11.18). На рис. 11.19 показано елементи водостічної системи. Поряд із виготовленням труб, жолобів і деталей водостічних систем на підприємствах багатьох фірм виробляють комплекти різних елементів для дахів, таких як драбини, гребеневі елементи, витяжні труби, пожежні люки, елементи огородження тощо. Масового поширення сьогодні набули покрівлі з профільованих настилів, які умовно можна поділити на дві групи: 1) профнастил — металеве профільоване листове покриття товщиною 0,45–1,25 мм з кількома захисними шарами товщиною від 1 до 9 мм і  2) металочерепиця — сталеві або алюмінієві листи зі спеціальним захисним покриттям, колір якого схожий на колір черепичного покриття.

Рис. 11.18. Навісний водоприймальний жолоб з воронкою і водостічною трубою

Профнастил і металочерепиця складаються з металевого листа, покритого пасиваторами, ґрунтовками і поліестером, пуралом або пластизолом. Сталеві листи зазвичай оцинковані. Як покриття можна використовувати різні суміші, наприклад, суміш кварцевого піску і поліестеру, яку наносять на лист при температурі 250 °С, що надає металочерепиці практично повної аналогії з керамічною черепицею. Структуру покрівельного профільованого настилу представлено на рис. 11.20.

Рис. 11.19. Водостічна

система даху: А — жолоб; В — хомут; С — зовнішній кутовий елемент; Д — бічна кришка; Е — рогач-гачок; F — водостічна

воронка; H — відвід водостічної труби;

— випуск

140 11 Монтаж дахів
труба;
G
Право для безоплатного розміщення підручника в мережі Інтернет має Міністерство освіти і науки України http://mon.gov.ua/ та Інститут модернізації змісту освіти https://imzo.gov.ua
І

Рис. 11.20. Структура покрівельного профільованого настилу

Покрівля будинку із

Покрівельні матеріали мають різні форми профілів, розміри і крок хвиль, досить широку кольорову гаму.

Укладання покрівельних профілів здійснюють

доволі просто завдяки вже добре відпрацьованій технології. Усі ці листові матеріали доцільно експлуатувати при нахилах дахів, які перевищують 10°. Профнастил укладають на заздалегідь улаштованих латах або прогонах з металевих профілів чи дерев’яних брусків.

Відстань між прогонами або дерев’яними брусками лат залежить від типу та несучої здатності профілю і становить 860–1000 мм. Зазда легідь підігнані (обрізані за розміром) листи покрівельних профілів кріплять до лат (прогону) болтами діаметром 4–6 мм з  підкладками під шайби полімерних або гумових ущільнювачів.

Рис. 11.21. Схема улаштування покриття гребеня: 1 — кроква;

2 — дошка гребеневої лати;

3 — азбестоцементний лист;

4 — цвях; 5 — гребенева деталь;

6 — цементна розчинова суміш;

7 — клоччя

Різання покрівельних профілів виконують звичайними ручними або електричними ножицями для покрівельних робіт. Для того щоб легко сумістити отвори, покрівельник зверху встромляє болт, на який одразу загвинчують гайку. При цьому кріплять одночасно два суміжних ряди профілів. Болт встановлюють у гребені покрівельного профілю (рис. 11.21).

Накидання у поперечному напрямку виконують способом «на хвилю», у повздовжньому накидання роблять на 100–150 мм. Укладання листів виконують по шнуру. Особливо це важливо при укладанні листів металочерепиці, коли необхідно дотримуватись відповідності профілю покриття.

На рис. 11.22 показано кілька варіантів профнастилу та металочерепиці.

Металочерепиця

Профнастил

141 11.5.
СІП-панелей
Рис. 11.22. Різні варіанти покрівельних профілів Право для безоплатного розміщення підручника в мережі Інтернет має Міністерство освіти і науки України http://mon.gov.ua/ та Інститут модернізації змісту освіти https://imzo.gov.ua

Окрім покрівельних профілів (профнастил, металочерепиця), доволі часто для улаштування та ремонту покрівель використовують бітумний шифер (єврошифер) і бітумну черепицю.

Бітумний шифер  — це багатошаровий покрівельний матеріал

на основі бітуму, який має форму хвилястих листів. Цей матеріал також широко відомий як ондулін — від назви французької фірми, яка розпочала його виробництво понад 50 років тому.

Діапазон нахилів дахів, при яких можна використовувати ондулін, становить від 4 до 90°. Плити кріплять до основи цвяхами із підкладками. Стандартні розміри листа ондуліну — 2 х 0,95 м, товщина листа — 3 мм, вага — 5,75 кг. Матеріал абсолютно водонепроникний. Він витримує температуру повітря від 70 до 100 °С, протистоїть поривам вітру швидкістю до 190 км/год, має малу теплопровідність, не підлягає ультрафіолетовому старінню, поглинає шум, чинить спротив ударам, не гниє і не кришиться. Ондулін використовують на покрівлях із радіусом кривизни від 5 м. Цей матеріал легко різати ножівкою, швидко монтувати. Термін служби — до 50 років.

Рис. 11.23. Основні шари бітумної

черепиці: 1 — мінеральна посипка

(базальт, сланець); 2 — модифікований

бітум; 3 — скловолокно; 4 — модифікований бітум; 5 — захисний шар

Улаштування покрівель з використанням бітумного шиферу аналогічне укладанню звичайних азбестоцементних листів.

До ефективних покрівельних матеріалів належить і  бітумна черепиця, яка, як і бітумний шифер, з’явилась на будівельному ринку 50 років тому. Бітумну черепицю називають гнучким покриттям через гнучкість, що дозволяє використовувати її для будинків зі складною формою даху. Вона складається з невеликих плоских листів, які мають фігурні вирізи з одного краю. Виробники виготовляють це покриття найрізноманітніших форм: у вигляді шестигранних стільників, прямокутників, трикутників, овалів, лусочок і таке інше.

Гнучка черепиця прекрасно виглядає на дахах будівель різного призначення — від приватних до промислових. Її основою є насичене бітумом скловолокно (іноді — органічна целюлоза), що виконує роль своєрідної арматури для з’єднання шарів окисленого бітуму з різними полімерними добавками та модифікаторами. Саме вони забезпечують черепиці пластичність, міцність і стійкість до деформації. Верхній шар бітумної черепиці покрито кольоровим базальтовим гранулятором, мінеральною крихтою або сланцевою посипкою, які надають матеріалові різного кольору і захищають від кліматичних впливів та ультрафіолетового випромінювання. На зворотний бік нанесено своєрідний захист. Ним може бути або клейкий шар, захищений поліетиленовою плівкою (самоклейна черепиця), або кремнієвий пісок (традиційна черепиця), щоб під час транспортування

або зберігання плитки не склеювалися між собою (рис. 11.23).

Найкращою основою для укладання бітумної черепиці є листи фанери або дошки. Можливе також укладання на бетонну основу, цементно-мінеральну плиту типу аквапанель або на старе бітумне покриття (у разі ремонту покрівель).

142 11 Монтаж дахів
Право для безоплатного розміщення підручника в мережі Інтернет має Міністерство освіти і науки України http://mon.gov.ua/ та Інститут модернізації змісту освіти https://imzo.gov.ua

Покрівля будинку із СІП-панелей

У порівнянні з іншими покрівельними матеріалами бітумна черепиця має певні переваги: економічність, доступна ціна; мала вага, зручність транспортування, простий монтаж; водонепроникність; стійкість до корозії, біоагентів (грибки, мохи, лишайники), хімічних кислот, перепадів температур, сильних вітрів. Щоб

уникнути проявів недоліків м’якого гнучкого покриття, необхідно пам’ятати: що вища якість матеріалів основи даху, то надійніше і довше буде термін експлуатації бітумної покрівлі.

Важливою будівельною властивістю бітумної черепиці є її відносно невелика

вага (10–18 кг/м2), що дає змогу отримувати легкі та економічні конструкції даху, з використанням ЛСТК або пиломатеріалів.

Матеріал легко укладати на дахи складної конфігурації з різними нахилами (від 12 і до 90°) і кривизною. Завдяки невеликим розмірам складових елементів покрівлі бітумна черепиця стійка до температурних деформацій. Вона також

водо- і вогнетривка, добре працює на розтягування, вирізняється стійкістю кольору. Гарантована міцність бітумної черепиці — до 40 років.

На рис. 11.24 зображено будинок із дахом складної конфігурації та з покрівлею з бітумної черепиці.

Контрольні

1. Які матеріали можна використовувати для покрівлі СІП-даху?

2. Що таке покрівля будинку?

3. Що впливає на довговічність і надійність даху?

4. Для чого роблять покрівельний настил та які матеріали використовують для його улаштування?

5. Назвіть переваги й недоліки керамічної черепиці.

6. Які роботи і в якій послідовності треба виконувати при застосуванні азбестоцементних хвилястих листів?

7. Назвіть особливості покрівлі металочерепицею і профнастилом.

8. Чим від інших покрівель відрізняються бітумний шифер і бітумна черепиця? На які основи їх укладають?

Рис. 11.24. Будинок з дахом складної конфігурації та покрівлею із бітумної черепиці

143 11.5.
і завдання
запитання
Право для безоплатного розміщення підручника в мережі Інтернет має Міністерство освіти і науки України http://mon.gov.ua/ та Інститут модернізації змісту освіти https://imzo.gov.ua

 Тестові завдання

1. Дахи з яким нахилом належать до похилих?

а) 1:6; б) 1:7; в) 1:5; г) 1:8.

2. З яким м інімальним перерізом дошки треба улаштовувати в’язі несучого каркаса даху?

а) 16 х 90 мм;б) 19 х 89 мм;в) 22 х 89 мм;г) 25 х 80 мм.

3. З яким мінімальним перерізом дошки варто улаштовувати кроквяну бантину?

а) 25 х 89 мм;б) 22 х 89 мм;в) 19 х 89 мм;г) 16 х 89 мм.

4. Який мінімальний переріз стійки каркаса даху?

а) 38 х 89 мм;б) 38 х 100 мм;в) 40 х 100 мм;г) 32 х 75 мм.

5. Яку мінімальну ширину можуть мати звиси даху?

а) 0,4 м; б) 0,6 м; в) 0,8 м; г) 1,2 м.

6. Який нахил повинен мати дах із СІП-панелей у місцевості, де випадає багато опадів?

а) 30°; б) 35°; в) 40°; г) більше ніж 40°.

7. Який нахил повинен мати дах із СІП-панелей в районі з теплим і сухим кліматом?

а) До 30°;б) до 35°;в) до 25°;г) менше ніж 25°.

8. При якій швидкості вітру можна монтувати СІП-панелі даху?

а) 12 м/с;б) 10 м/с;в) 9 м/с; г) 8 м/с.

9. При якому нахилі даху використовують упори під СІП-панеллю даху?

а) 10°; б) 12°; в) 15°; г) 20°.

10. Із яких матеріалів можуть виконувати зовнішні шари СІП-панелей даху?

а) Із металу;б) із ОСП-3;в) із магнезиту;г) із плит ГКПВ.

11. Яку товщину повинні мати СІП-панелі даху?

а) 174 мм;б) 200 мм;в) 224 мм;г) більше ніж 224 мм.

12. Брус якого перерізу з’єднує між собою СІП-панелі даху?

а) 30х200 мм;б) 38х200 мм;в) 400х20 мм;г) 50х200 мм.

13. З яким кроком встановлюють бруси для з’єднання СІП-панелей даху?

а) 625 мм;б) 700 мм;в) 1200 мм;г) 1250 мм.

14. Яку масу має квадратний метр керамічної черепиці?

а) 30 кг; б) 40 кг; в) 50 кг; г) більше ніж 50 кг.

15. Яку масу має квадратний метр бітумної черепиці?

а) 5 кг; б) 10 кг; в) 18 кг; г) більше ніж 18 кг.

16. Який термін служби має ондулін?

а) 50 років;б) 60 років;в) 100 років;г) 75 років.

17. Скільки часу служить бітумна черепиця?

а) 20 років;б) 40 років;в) більше ніж 40 років.

144 11 Монтаж дахів
Право для безоплатного розміщення підручника в мережі Інтернет має Міністерство освіти і науки України http://mon.gov.ua/ та Інститут модернізації змісту освіти https://imzo.gov.ua

12.1. Особливості опоряджувальних робіт у СІП-будинках

РОЗДІЛ 12. ОПОРЯДЖУВАЛЬНІ РОБОТИ 12.1. Особливості опоряджувальних робіт у СІП-будинках

Опоряджувальні роботи у будівництві малоповерхових будинків  — це комплекс робіт, які виконують з метою підвищення довговічності, покращення експлуатаційних, санітарно-гігієнічних і декоративних якостей будівель.

До опоряджувальних робіт належать штукатурні, малярні, шпалерні, скляні та ліпні роботи, а також роботи з улаштування покриттів підлог, облицювання поверхонь плитковими, листовими й рулонними матеріалами.

Для виконання оздоблювальних робіт використовують оздоблювальні матеріали, які підвищують експлуатаційні та декоративні якості будинків та їхній захист від вивітрювання (дії атмосфери, хімічних і біологічних чинників). У сучасному будівництві застосовують оздоблювальні матеріали із природного каменю, скла, кераміки, пластмас, деревини, бетону, металу, будівельних розчинових сумішей, паперу, картону, гуми тощо.

Малоповерхові житлові СІП-будинки не тільки швидко зводити. У них зручно виконувати оздоблювальні роботи як зовні, так і всередині.

Завдяки притаманній їм технології панельного складання огороджувальних конструкцій СІП-будинки мають винятково рівні поверхні стін і перегородок, на яких майже не помітні стики між сусідніми СІП-панелями. Завдяки тому, що нема потреби у вирівнюванні поверхні стін, їхньому зачищенні, встановленні маяків, можна зекономити час, а всі зовнішні та внутрішні поверхні будинку цілком готові до оздоблення будь-яким матеріалом.

Підлоги із СІП-панелей завжди будуть не тільки рівними, але й теплими. Вони не потребують утеплення завдяки пінополістирольному сердечнику. Тому на них можна одразу укладати ковролін, ламінат, паркет, лінолеум та інші покриття. У приміщеннях з вологим режимом на шар гідроізоляції, цементної або полімерної стяжки можна укладати керамічну плитку або плити із природного каменю.

Найчастіше зовнішні СІП-стіни житлових будинків оздоблюють такими широко відомими матеріалами як: штукатурка, сайдинг, вагонка, різноманітна плитка, панелі (фіброцементні, фасадні, металеві, декоративні, цокольні, пластмасові, поліфасад), а також використовують блок-хаус, планкен, гнучке каміння, декоративне і натуральне каміння, натуральну цеглу. Останнім часом для оздоблення зовнішніх стін будинків і споруд використовують цементно-мінеральні плити, які можна фарбувати, штукатурити, облицьовувати керамічною плиткою.

Зовнішнє опорядження СІП-будинків здійснюють поетапно.

Перший етап є комплексним. Він поєднує формування ціни — розрахунок вартості зовнішнього опорядження на основі вибору матеріалу і технології монтажу.

145
Право для безоплатного розміщення підручника в мережі Інтернет має Міністерство освіти і науки України http://mon.gov.ua/ та Інститут модернізації змісту освіти https://imzo.gov.ua

Другий етап  — це придбання матеріалу з урахуванням усіх індивідуальних особливостей проєкту.

Наступний етап  — підготовка зовнішньої поверхні обшивки стін із ОСП. Залежно від обраної технології, це може бути ґрунтування і шпаклювання

СІП-панелі, а далі — штукатурення цементною або цементно-вапняною штукатуркою; покриття крафт-папером або просоченим бітумом картоном; покриття теплоізоляційним матеріалом; улаштування лат; якщо потрібно — виконують додаткове утеплення зовні.

Фінішний етап опорядження  — покриття поверхонь обраним матеріа лом.

Контрольні запитання

1. З  якою метою здійснюють оздоблювальні роботи при спорудженні малоповерхових будинків?

2. Які роботи належать до опоряджувальних?

3. З якою метою використовують опоряджувальні будівельні матеріали?

4. Що впливає на якість будівельних поверхонь?

12.2. Опорядження поверхонь штукатурними сумішами

Штукатурка — нанесений і вирівняний на вертикальній основі шар затверділої розчинової суміші, який зміцнює основу, захищає від шкідливих атмосферних і техногенних впливів, створюючи необхідні санітарно-гігієнічні та естетичні умови функціювання будівлі.

Штукатурні роботи — це процес нанесення покриття на огороджувальні конструкції будівель зовні та всередині них у пластичному або рідкому стані з вирівнюванням, затиранням або загладжуванням його поверхні.

Призначення штукатурки — вирівнювання поверхонь будівельних конструкцій і підготовка їх до подальшого оздоблення (фарбування, нак леювання шпалер); захист конструкцій від агентів атмосфери, вогню, підвищення їхніх тепло- і звукоізоляційних якостей, надання поверхням декораційних властивостей (фактури, форми, кольору).

Штукатурні роботи, пов’язані з нанесенням вручну на будівельні поверхні штукатурної розчинової суміші та подальшою її обробкою (мокра штукатурка), характеризуються великою трудомісткістю і необхідністю в технологічних перервах.

 Залежно від використання штукатурки з мокрим технологічним процесом поділяють:

● за призначенням — звичайна, декоративна, спеціальна (термо-, звуко- і гідроізоляційна), захисна (від різних шкідливих дій і впливів), армована;

● за видами в’яжучих — цементна, цементно-вапняна, вапняна, вапняно-глиниста і гіпсова;

● за ск ладністю і якістю виконання — проста, покращена та високоякісна;

146 12 Опоряджувальні роботи
Право для безоплатного розміщення підручника в мережі Інтернет має Міністерство освіти і науки України http://mon.gov.ua/ та Інститут модернізації змісту освіти https://imzo.gov.ua

147 12.2. Опорядження поверхонь штукатурними сумішами

● за технологією нанесення розчинової суміші — накидання вручну кельмою і механізована.

Звичайні штукатурки наносять на поверхні окремими шарами з основною метою — вирівнювання поверхонь будівельних конструкцій для їхнього подальшого фарбування або опоряджування шпалерами.

Оскільки робити накидання штукатурної розчинової суміші на всю товщину шару неможливо через її стікання з поверхні, то її наносять пошарово.

Перший шар — набризк — заповнення порожнин і тріщин, швів та стиків розчиновою сумішшю рідкої консистенції.

Другий шар — ґрунт — потрібний для вирівнювання поверхні пластичною розчиновою сумішшю й отримання потрібної товщини шару штукатурки.

Третій (верхній) шар — накривка — наносять рідкою розчиновою сумішшю на дрібному піску для утворення загладженого й ущільненого оздоблювального шару товщиною 2 мм.

Середня товщина усіх разом шарів простої штукатурки — до 12 мм, покращеної — до 15 мм, високоякісної — до 20 мм. Прос ту штукатурку наносять не більш як двома шарами, поліпшену та високоякісну — трьома. Шари штукатурки наносять

із дотриманням технологічних перерв. Вапняно-цементні та цементні розчинові суміші наносять після тужавлення попереднього шару; вапняні — після побілення попереднього шару. Свіжу штукатурку оберігають від намокання, замерзання, пересушування, ударів, струсів. У сухих умовах для штукатурення дерев’яних і гіпсових поверхонь, а також бетонних і кам’яних стін усередині приміщення можна застосовувати вапняно-гіпсові розчинові суміші. Товщина розчинової суміші, яку наносять за один раз, не повинна перевищувати 15 мм, цементної — 10 мм.

Найкращою для виконання штукатурних робіт вважають температуру +20 °С і максимальну відносну вологість повітря 65%.

Сучасні штукатурні роботи важко уявити без застосування сухих будівельних сумішей (СБС), які виготовляють заводським способом на сучасному обладнанні з застосуванням сучасних технологій і за рецептурами, розробленими таким чином, щоб фасадний матеріал міг протистояти діям негативних зовнішніх чинників: дощу, вітру, морозу, перепадів температур, УФ-випромінювання тощо. За видом в’яжучого СБС поділяють на мінеральні й органічні.

До мінеральних в’яжучих належать: цемент (здебільшого — білий), гіпс, вапно. У декоративних штукатурках вапно у чистому вигляді використовують дуже рідко, значно частіше воно входить до складу комплексних вапняно-гіпсових і вапняно-органічних матеріалів.

Під органічними в’яжучими розуміють синтетичні полімери та співполімери на основі акрилу, бутадієн-стиролу, стирол-акрилу, епоксидних смол, полівінілацетату і поліуретану. Ці полімери містяться у складі штукатурок або у вигляді порошку, здатного до диспергування у воді (коли треба отримати СБС), або водних емульсій (латексів) для отримання пасти, готової для використання. Існують також силіконові штукатурки на основі силіконових смол і силікатні — на основі рідкого скла.

Право для безоплатного розміщення підручника в мережі Інтернет має Міністерство освіти і науки України http://mon.gov.ua/ та Інститут модернізації змісту освіти https://imzo.gov.ua

Â

За крупністю наповнювача штукатурні суміші поділяють на велико-, середньо- та дрібнозернисті. Як наповнювач використовують пісок. Від крупності зерен наповнювача залежить товщина нанесення шару штукатурки. Розрізняють штукатурки товстошарові, середньої товщини і тонкошарові, які ще називають

шпаклівками. Від товщини шару штукатурки, яку наносять на оздоблювальну поверхню, залежить її фактура та виразність рельєфу.

Окрім крупності, наповнювачі характеризують такою цінною ознакою як колір. Існують так звані мозаїчні штукатурки з кольоровою мінеральною або полімерною крихтою.

Важливою властивістю штукатурки є стійкість до дії води.

Штукатурки можуть бути:

● неводостійкі (наприклад, гіпсові);

● водостійкі (цементні);

● водовідштовхувальні (гідрофобні) на базі сіланів і сілоксанів.

Ці властивості визначають сфери використання штукатурки. Неводостійкі штукатурки придатні для оздоблення приміщень усередині будинку, а водостійкі та гідрофобні можна використовувати зовні будинку.

 Штукатурки можна також класифікувати за зовнішнім виглядом поверхні:

● г ладкі, отримані завдяки складові з дрібним наповнювачем;

● ф актурні  — уже при нанесенні деякі з них утворюють рельєфну поверхню завдяки наповнювачу. За виглядом і глибиною рисунку такі штукатурки поділяють на «шагрень», «короїд», «руно». До цієї групи належать так звані рельєфні інтер’єрні штукатурки. У них декоративний ефект досягають не наповнювачем, який формує фактуру, а використанням інструмента — пензля, валика, шпателя, губки.

 Штукатурки також поділяють за наявністю пігменту в масі:

● фарбовані;

● нефарбовані.

 За призначенням штукатурні покриття бувають:

● звичайними (вирівнювальними);

● декоративними.

Особливістю декоративних штукатурок є те, що їх наносять тонким шаром. Вони зазвичай є фінішним етапом покриття поверхні. Саме цей тонкий шар штукатурки формує фактуру поверхні та створює її архітектурне обличчя. Наносити тонкошарову штукатурку можна тільки на рівну основу. Якщо ж основа потребує попереднього вирівнювання, то застосовують комплектну штукатурну систему, яка може складатися з двох або більше шарів. Шари, які входять до комплектної системи, мають бути сумісними між собою, тому для вирівнювання поверхні, а та-

Право для безоплатного розміщення підручника в мережі Інтернет має Міністерство освіти і науки України http://mon.gov.ua/ та Інститут модернізації змісту освіти https://imzo.gov.ua

148 12 Опоряджувальні роботи

12.2. Опорядження поверхонь штукатурними сумішами

кож її ґрунтування необхідно використовувати штукатурки та ґрунтовки одного виробника.

О штукатурювання поверхні

плит ОСП має свої особливості. Унаслідок того, що їх основа змінює об’єм і поглинає воду, штукатурне покриття з часом може розтріскуватися і відшаровуватися від неї.

Для запобігання цьому вдаються до попередньої підготовки будівельної основи під штукатурення, а саме до підготовки поверхні ОСП. Ця підготовка полягає у відокремленні шару штукатурки від поверхні.

 Існують такі способи цього відокремлення:

● закріплення на поверхні плит ОСП шару утеплювача;

● покриття поверхні плит ОСП і закріплення до неї крафт-паперу або картону, просоченого бітумом;

● оштукатурювання поверхні ОСП підстеленою штукатуркою, наприклад, цементною, латексною або акриловою. Поверхню підстеленої штукатурки ґрунтують для покращення її зчеплення з наступним шаром (накривним) штукатурки (цементної або полімерної). По рівній основі цементної штукатурки у подальшому можна укладати різні штукатурно-декоративні суміші на акриловій, полімерній, мінеральній силіконовій, силікатній основах; ● зас тосування еластичної штукатурки для фасадів. Така штукатурка розтягується, як гума, і тому не розтріскується, навіть якщо її наносять на непідготовлені поверхні ОСП. Акрилати у її складі забезпечують еластичність. Еластичну штукатурку наносять на поверхню ОСП, оброблену акриловою ґрунтовкою. Еластична штукатурка має велику палітру кольорових відтінків і численну різноманітність фактур поверхні. Для нанесення акрилової ґрунтовки на поверхню використовують валик, щітку або фарбопульт. Еластичну штукатурку наносять шпателем, кельмою або структурним валиком.

 Усередині приміщень пінополістирольні листи приклеюють безпосередньо до поверхні внутрішньої обшивки із ОСП зовнішніх стін за такою технологією:

1. Поверхню ОСП знежирюють і очищають від бруду.

2. Калібрувальним шпателем наносять на поверхню ОСП клеєву розчинову суміш.

3. Утеплювач притискають до основи і чекають висихання клею.

4. Основу армують пластиковою або скловолокнистою сіткою із самоклейною основою.

До початку оббивки поверхні ОСП крафт-папером або просоченим картоном усі стики СІП-плит промащують герметиком, після чого відбувається настилання крафт-паперу або просоченого картону. Кріплення здійснюють степлером

на скоби. Потім на поверхню оббивки приклеюють пластикову або скловолокнисту армувальну штукатурну сітку.

Процес виконання робіт більше схожий на шпаклювання поверхонь. Він однаковий як для робіт зовні будинку, так і всередині. Шар штукатурки товщиною від 1,5 до 5 мм наносять шпателем.

Зазвичай використовують штукатурні суміші з високою адгезією. У більшості випадків ці суміші мають полімерну основу, яка зумовлює їхню довговічність.

149
Право для безоплатного розміщення підручника в мережі Інтернет має Міністерство освіти і науки України http://mon.gov.ua/ та Інститут модернізації змісту освіти https://imzo.gov.ua

Отже, штукатурки зовнішніх стін із СІП-панелей можуть бути акриловими, силікатними, силіконовими, мінеральними, комбінованими. Вони мають різну ціну і різні технології нанесення на будівельні поверхні.

Контрольні запитання

1. Що називають штукатуркою і яке її призначення?

2. Назвіть роботи, що входять до штукатурного процесу.

3. Що таке одношарові штукатурки?

4. Як звичайні штукатурки наносять на будівельні поверхні?

5. Яку товщину мають звичайні штукатурки залежно від їхньої якості?

6. Від яких впливів оберігають свіжу штукатурку?

7. Від чого залежить вибір розчинової суміші для оштукатурювання?

8. Які температуру і вологість повітря вважають найкращими для виконання штукатурних робіт?

9. Що таке СБС? Які їхні переваги порівняно з розчиновими штукатурними сумішами, що виготовляють безпосередньо на будівельному майданчику?

10. Як поділяють штукатурки за видом в’яжучого?

11. Як впливає крупність заповнювача розчинової штукатурної суміші на товщину нанесення шару штукатурки? Як розрізняють штукатурки за товщиною нанесення шару?

12. Як розрізняють штукатурки за стійкістю до дії води?

13. Які штукатурки називають фактурними? Як їх поділяють за виглядом і глибиною малюнка?

14. Які основні властивості варто брати до уваги при виборі декоративної штукатурки?

12.3. Оздоблення СІП-будинку сайдингом, вагонкою

Найбільш поширеними видами зовнішнього оздоблення фасадів малоповерхових будинків є вініловий або цокольний сайдинг — найпрактичніші варіанти опорядження зовнішніх стін СІП-будинків. Сайдингові системи належать до комплектних. Вони охоплюють усі необхідні елементи опорядження кутів, віконних і дверних прорізів, звисів даху.

Сайдинг — доступний і порівняно дешевий варіант зовнішнього оздоблення житлових малоповерхових будинків.

 Будівельна індустрія випускає декілька видів сайдингу з широкою кольоровою гамою:

● пластиковий на основі акрилового або вінілового полімеру, стійкий до деформації і утворення тріщин, вогнестійкий, стійкий до УФ-випромінювання;

● пластиковий або вініловий — це панелі із замками або пазами для складання, що передбачає монтаж внапуск. Вініловий сайдинг вирізняється різноманітністю кольорів і відтінків. Мінусом цього виду оздоблення є погана сполучуваність з іншими фасадними матеріалами.

● дерев’яний, який має високі теплоізоляційні, звукопоглинальні та декоративні властивості. Він не є довговічним і потребує регулярної обробки спеціальними

150 12 Опоряджувальні роботи
Право для безоплатного розміщення підручника в мережі Інтернет має Міністерство освіти і науки України http://mon.gov.ua/ та Інститут модернізації змісту освіти https://imzo.gov.ua

12.4. Зовнішнє опорядження фасадів СІП-будинків фасадними панелями

сумішами від займання, деревних жуків і гнильних бактерій. Окрім того, дерев’яний сайдинг не є зручним в роботі і досить дорого коштує;

● металевий — із оцинкованого алюмінію або заліза — відзначається міцністю, вогнестійкістю, довговічністю. Проте він більш складний при монтажі, має погану

шумоізоляцію і схильність до корозії; ● фіброцементний — має високу міцність, стійкість до органічного вивітрювання, опір до замокання, тривалий термін експлуатації. Проте він має більш високу ціну, ніж інші види сайдингу.

До популярних способів опорядження будинку із СІП-панелей належать схожі на сайдинг натуральні матеріали — дерев’яна вагонка, блок-хаус і планкен.

Вони коштують значно дорожче, ніж вініловий сайдинг, і потребують додаткового захисту від зволоження і займання. Дерев’яні матеріали мають велику масу і більш складні в роботі. У кожному елементі дерев’яної вагонки, блок-хаусу і планкену є спеціалізовані замки, якими їх фіксують між собою.

Монтаж цих натуральних матеріалів можна здійснювати безпосередньо на поверхню ОСП або на систему вертикальних лат.

Блок-хаус  — декоративний елемент з деревини з округленим перерізом.

Оздоблення стін блок-хаусом ззовні нагадує рублений будинок з колод. По суті, блок-хаус є різновидом сайдингу, тобто дошкою з опуклою поверхнею, яка з одного боку імітує форму колоди. Кріплення до СІП-панелей здійснюють на кронштейни або оцинковані цвяхи.

Окрім блок-хаусу, для оздоблення зовнішніх стін під дерево можна застосовувати планкен — імітацію бруса. Це простий і недорогий спосіб опорядження фасаду. Планкен кріплять до СІП-панелі так само, як і блок-хаус.

Найбільш поширеним у Північній Америці та Канаді варіантом оздоблення СІП-будинків є застосування цокольного сайдингу. Це полімерні панелі — пластикові, вінілові та інші, які імітують структуру цегляної або кам’яної кладки. Будинки, оздоблені цокольним сайдингом, якими би вони не здавались, — дерев’яними, цегляними чи кам’яними — насправді є будинками, облицьованими пластиком. Цей варіант зовнішнього оздоблення не із дешевих. Він майже удвічі дорожчий, ніж оздоблення декоративною штукатуркою.

Зазначмо, що технологія та особливості монтажу сайдингової системи оздоблення фасадів дають змогу здійснити додаткове утеплення зовнішньої частини стіни будинку мінеральною ватою або екструдованим пінополістиролом. Крім того, між латами зручно ховати електричну проводку для зовнішнього освітлення будинку.

12.4. Зовнішнє опорядження фасадів СІП-будинків

фасадними панелями

Фасадні панелі виготовляють із багатьох будівельних матеріалів, таких як метал, пінополістирол, пінополіуретан, деревина, пластик, натуральне і штучне каміння, армований цемент.

151
Право для безоплатного розміщення підручника в мережі Інтернет має Міністерство освіти і науки України http://mon.gov.ua/ та Інститут модернізації змісту освіти https://imzo.gov.ua

Â

Панелі, які виробляють із цих матеріалів, поділяють на такі види:

● композитні;

● термопанелі;

● полімерні з імітацією каміння, цегли;

● вінілові;

● деревні;

● металеві з полімерним покриттям;

● панелі з покриттям із каміння і керамогранітним напиленням;

● панелі з домішками скла;

● панелі зі спіненого поліуретану;

● фіброцементні фасадні системи;

● цементно-мінеральні плити (аквапанель).

Як правило, більшість названих виробів використовують у навісних (вентильованих) фасадах, хоча технічні можливості СІП-панелей дають змогу монтувати фасадні панелі безпосередньо на поверхню ОСП. Щодо облаштування фасадів без вентиляційного повітряного простору між оздоблювальним шаром і поверхнею плит ОСП завжди виникає багато суперечок. З відсутністю такого повітряного прошарку можна погодитись за умови проведення робіт на такому рівні, щоб унеможливити зволоження поверхні ОСП. Саме вентиляційний простір і робить це неможливим; завдяки створеним умовам волога, що з’явилася, швидко випаровується, запобігаючи появі гниття і плісняви на деревних ОСП. Через це при виконанні оздоблення СІП-будинків рекомендують використовувати системи фасадів з вентильованим проміжком, оскільки їх вважають більш надійними і не примхливими в експлуатації. Надійність циркулювання повітря у цьому проміжку забезпечують вертикальні лати. Повітря у проміжок надходить знизу, а виходить із нього вгорі.

Варто мати на увазі, що оздоблення фасаду СІП-будинку треба виконати у перші пів року після завершення загальнобудівельних робіт.

Рис. 12.1. Фрагмент вентильованого

фасаду: 1 — зовнішній шар обшивки

СІП; 2 — внутрішній шар обшивки

СІП; 3 — сердечник СІП (пінополістирол); 4 — лата (металевий профіль); 5 — напрямок потоку повітря; 6 — фасадна панель або плита; 7 — фасадні

Система вентильованого фасаду є «сухим» способом зовнішнього оздоблення, суть якого полягає у встановленні на поверхню стіни вентиляційного каркаса із дерев’яних або металевих елементів (лат), на які можна кріпити будь-який оздоблювальний матеріал. Це може бути сайдинг, будь-які панелі, вагонка, блок-хаус або плити з азбестоцементу із лакофарбовим покриттям тощо. Такий фасадний комплекс з вертикально розташованими латами (рис. 12.1) успішно вентилюється природним

152 12 Опоряджувальні
роботи
1 2 4 5 6 7 3
саморізи Право для безоплатного розміщення підручника в мережі Інтернет має Міністерство освіти і науки України http://mon.gov.ua/ та Інститут модернізації змісту освіти https://imzo.gov.ua

Обшивка фасадів СІП-будинків цементно-мінеральними плитами

шляхом, має добрі енергоощадні властивості і привабливий зовнішній вигляд.

Рис. 12.2. Зовнішнє оздоблення фасадними термопанелями

Водночас особливості СІП-технології з успіхом дозволяють монтувати фасадні панелі безпосередньо на поверхню ОСП. Наприклад, термопанелі з клінкерною плиткою, які, крім декоративності, забезпечують додаткове утеплення фасадів, монтують на стіни із СІП-панелей звичайними саморізами, гарячою сумішшю (якщо у структурі термопанелі є шар утеплювача) або клеєм (рис. 12.2).

12.5. Обшивка фасадів СІП-будинків цементно-мінеральними плитами

Для спорудження каркасно-обшивних стін малоповерхових житлових будинків з дерев’яним або металевим каркасом, а також для облицювання зовнішніх стін СІП-будинків з точки зору легкості їхнього монтажу, екологічності, пожежостійкості, зручності оздоблення використовують цементно-мінеральні плити. Завдяки високим водоізолювальним властивостям цей виріб дістав назву аквапанель. Внутрішні стіни і перегородки, а також стелі та підлоги таких будинків обшивають гіпсокартонними, гіпсоволокнистими або цементно-мінеральними плитами.

 Використання цементно-мінеральних плит для захисту від вивітрювання і оздоблення зовнішніх стін СІП-будинків дає змогу:

● підвищити просторову жорсткість огороджувальних конструкцій;

● здійснити їх монтаж вручну, не потребуючи навіть легких вантажопідйомних механізмів;

● суттєво знизити займистість і підвищити вогнестійкість огороджувальних конструкцій СІП-будинків;

● збільшити міцність, вологостійкість і стійкість елементів оздоблення СІП-будинків до дії агентів атмосфери;

● спрос тити фінішну декоративну обробку зовнішніх стін.

Усередині СІП-будинків цементно-мінеральні плити доцільно використовувати для обшивки каркасно-обшивних стін і СІП-стін у приміщеннях з вологим і мокрим технологічними режимами. Їх легко обробляти, свердлити, пиляти, різати, згинати і кріпити до металевих і дерев’яних лат або безпосередньо до ОСП гвинтами, саморізами і цвяхами.

Залежно від способу кріплення плит до зовнішніх стін СІП-будинків розрізнять стіни двох типів (табл. 12.1).

153
12.5.
Право для безоплатного розміщення підручника в мережі Інтернет має Міністерство освіти і науки України http://mon.gov.ua/ та Інститут модернізації змісту освіти https://imzo.gov.ua

1

Опоряджувальні роботи

Таблиця 12.1 Типи зовнішніх стін СІП-будинків

Ескіз Опис конструкції

СІП­стіна з повітряним проміжком. Кріплення

плит до вертикально закріплених шпонок­стійок СІП­стіни.

2 СІП­стіна без повітряного проміжку. Кріплення плит бе зпосередньо до шпонок­стійок СІП­стіни.

Кріплення плит до шпонок-стійок СІП-стін або до лат цвяхами чи фасадними саморізами треба виконувати з урахуванням даних табл. 12.2.

Таблиця 12.2

Вимоги до кріплення плити обшивки до елементів дерев’яного

каркаса, лат, шпонок-стійок СІП-стін цвяхами або гвинтами

Матеріал плит

Гіпсокартонні або гіпсоволокнис ті

Цементно­стружкові плити

Тверді деревноволокнисті плити, фанера

Цементно­мінеральні плити (аква­

Мінімальна глибина закладання цвяха або гвинта у деревину, мм

(20)

Розташування цвяхів або гвинтів Відстань від краю плити Крок, мм

На крайній опорі На середній опорі

* Допускається при кріпленні гвинтами / ** Відстань до стелі Конструкцію зовнішньої вентильованої СІП-стіни типу 1 (горизонтальний розріз) з повітряним проміжком і захисним оздобленням цементно-мінеральними плитами відтворено на рис. 12.3.

Рис. 12.3. Конструкція зовнішньої вентильованої СІП-стіни типу 1 (горизонтальний розріз) з повітряним прошарком і захисним оздобленням цементно-мінеральними плитами: 1 — шпонка-стійка; 2, 5 — обшивка СІП-панелі ОСП-3; 3 — гіпсокартонна плита; 4 — теплоізоляційний сердечник СІП-панелі з пінополістиролу ПСБ-С25; 6 — цементно-мінеральна плита; 7 — штукатурна система; 8 — лата; 9 — повітряний проміжок

154 12
Тип
плити
200
10*
40 200 (300)* 10/200**
40 200 (300)* 10/200**
(300)*
200 12
панель) (20)
Право для безоплатного розміщення підручника в мережі Інтернет має Міністерство освіти і науки України http://mon.gov.ua/ та Інститут модернізації змісту освіти https://imzo.gov.ua

12.6. Опорядження зовнішніх поверхонь

обшивки каркасно-обшивних стін із цементно-мінеральних плит

Рис. 12.4. Конструкція зовнішньої невентильованої СІП-стіни типу 2 (горизонтальний розріз) без вентиляції з безпосередньою обшивкою цементно-мінеральними плитами: 1 — теплоізоляційний сердечник СІП-панелі з пінополістиролу; 2, 5 — обшивка СІП-панелі ОСП-3; 3 — гіпсокартонна плита; 4 — шпонка-стійка; 6 — гідровітрозахисний матеріал; 7 — цементно-мінеральна плита; 8 — штукатурна система

Конструкцію зовнішньої невентильованої СІП-стіни типу 2 (горизонтальний розріз) без вентиляції з безпосередньою обшивкою цементно-мінеральними плитами показано на рис. 12.4.

12.6. Опорядження зовнішніх поверхонь обшивки

каркасно-обшивних стін із цементно-мінеральних

плит

Обшивка цементно-мінеральними плитами каркасно-обшивних стін є основою для нанесення тонкошарової штукатурки як базового штукатурного шару під фінішне декоративно-оздоблювальне покриття. Залежно від типу декоративно-оздоблювального покриття розрізняють декоративне штукатурення зовнішніх поверхонь, фарбування і облицювання плитними виробами (рис. 12.5). Оздоблювальні роботи виконують при температурі повітря не нижче ніж +5°С. Перед нанесенням базового штукатурного шару треба додатково укріпити

Рис. 12.5. Типи фінішного декоративно-оздоблювального покриття зовнішньої поверхні каркасно-обшивних стін малоповерхового будинку. А) Декоративне штукатурення зовнішньої обшивки: 1 — цементно-мінеральна плита ; 2 — гвинт самонарізний; 3 — стрічка для швів; 4 — шпаклівка для швів; 5 — базовий штукатурний шар; 6 — склосітка, втоплена у базовий штукатурний шар; 7 — ґрунтовка; 8 — декоративна штукатурка. Б) Фарбування зовнішньої обшивки: 1 — цементно-мінеральна плита; 2 — гвинт самонарізний; 3 — стрічка для швів; 4 — шпаклівка для швів; 5 — базовий штукатурний шар із склосіткою; 6 — фарба. В) Облицювання плитковим матеріалом зовнішньої

обшивки:

1 — цементно-мінеральна плита; 2 — гвинт самонарізний; 3 — стрічка для швів; 4 — шпаклівка для швів; 5 — базовий штукатурний шар зі склосіткою; 6 — плитковий клей; 7 — плитковий матеріал

155
А Б В Право для безоплатного розміщення підручника в мережі Інтернет має
освіти і науки України http://mon.gov.ua/ та Інститут модернізації змісту освіти https://imzo.gov.ua
Міністерство

зовнішні кути та кути прорізів (віконних і дверних) кутовим профілем. Установлення кутових профілів з армувальною сіткою здійснюють за допомогою втиснення у шар попередньо нанесеної штукатурної клеєвої суміші. Місця обшивки у кутах дверних і віконних прорізів додатково армують шматками склосітки розміром 500 х 300 мм, ук ладеними у попередньо нанесену клеєву суміш.

Нанесення базового штукатурного шару товщиною 5–7 мм на всю поверхню здійснюють вручну або механізованим способом. Армувальну склосітку втискують у нанесений штукатурний шар приблизно на третину його глибини. Після цього виконують вирівнювання і загладжування поверхні базового шару (рис. 12.6).

б

Рис. 12.6. Нанесення на поверхню зовнішньої обшивки каркасно-обшивної стіни базового штукатурного шару й армувальної сітки: а) армування зовнішнього кута кутовим профілем; б) армування обшивки зовнішньої поверхні стіни в кутах дверних і віконних прорізів

Після висихання базового штукатурного шару (час висихання залежить від температури і вологості повітря, у середньому 1 мм/день товщини шару) можна починати фінішне оброблення: декоративне штукатурення, фарбування, плиткове покриття, вага якого не повинна перевищувати 40 кг/м2 Для декоративного штукатурення використовують різні суміші, призначені для зовнішнього застосування. Перед нанесенням декоративної штукатурки поверхню базового шару штукатурки обробляють ґрунтовкою, яку попередньо ретельно перемішують. Ґрунтовку наносять валиком або пензлем. При цьому необхідно керуватися рекомендаціями виробників та постачальників щодо ґрунтування поверхні, нанесення фарби або укладання плитки.

Приготовлену декоративну штукатурну суміш наносять на оздоблювальну попередньо заґрунтовану поверхню вручну або штукатурною машиною. Варто зауважити, що штукатурення фасадів будинку краще доручати професіоналу. Дилетант навряд чи впорається з усіма тонкощами штукатурення і досягне високого рівня естетики покриття зовнішніх стін.

 Отже, наводимо лише основні правила нанесення декоративної штукатурки:

● штукатурну суміш накладають на напівтерок або шпатель з нержавіючої сталі за допомогою кельми або шпателя, після чого наносять на стіну;

● під час нанесення штукатурної розчинової суміші на основу напівтерок необхідно тримати під невеликим кутом;

● штукатурку наносять на рівні заґрунтовані поверхні з товщиною шару, яка дорівнює величині фактурного зерна;

156 12 Опоряджувальні
роботи
а
Право для безоплатного розміщення підручника в мережі
Міністерство
Інтернет має
освіти і науки України http://mon.gov.ua/ та Інститут модернізації змісту освіти https://imzo.gov.ua

12.6. Опорядження зовнішніх поверхонь

обшивки каркасно-обшивних стін із цементно-мінеральних плит

● штукатурну суміш наносять на таку частину поверхні стіни, де їй можна буде надати фактури і з’єднати з наступною частиною, поки вона ще мокра;

● піс ля нанесення штукатурки у момент початку тужавіння (5–10 хвилин), коли розчинова суміш вже не буде прилипати до інструмента, необхідно за допомогою пластикової терки, губки, щітки, жорсткого пензля, рельєфного валика починати формування фактури її поверхні;

● у місцях планової технологічної перерви або з’єднання з іншою штукатуркою необхідно приклеїти до основи паперову самоклейку стрічку. Нанесення штукатурки і фактури виконують з легким заходом на стрічку; ● піс ля затирання штукатурки й отримання бажаної фактури потрібно зразу ж зняти приклеєну раніше стрічку. Потім на край штукатурки, яка вже схопилася, знову наклеюють захисну паперову стрічку. Після технологічної перерви на наступну нештукатурену ділянку наносять штукатурну розчинову суміш;

● піс ля формування фактури штукатурки на цій ділянці стіни захисну стрічку одразу ж видаляють. Таким чином, ділянки нанесеної штукатурки щільно з’єднують, утворюючи однорідну рівну поверхню;

● формування фактури «короїд» при використанні декоративної штукатурки виконують пластиковою теркою. Напрямки руху терки можуть бути доволі різноманітними: вертикальними, горизонтальними, круговими. Зусилля натиску і напрямок рухів інструмента нададуть неповторності малюнку на поверхні стіни після її штукатурення;

● формування камінцевої фактури при використанні декоративної штукатурки виконують круговими рухами пластикової терки;

● формування фактури поверхні має виконувати один майстер, інакше буде втрачено однорідність фактури.

Після закінчення штукатурення фасадів будинку можна приймати роботу. Порядок контро лю робіт регламентує відповідна нормативна документація. Зокрема контроль виконання робіт щодо штукатурок здійснюють відповідно до вимог ДСТУ-НБВ.2.6–2012:216 «Настанова з виконання робіт із застосуванням сухих будівельних сумішей».

Контролюють не тільки завершені штукатурні покриття, а й так звані приховані операції. Так, на початкових етапах контролюють підготовку поверхні до штукатурення, ґрунтування і нанесення окремих шарів штукатурки.

 Готові штукатурні покриття спочатку оглядають візуально, при цьому:

● колір, відтінок і фактура декоративної штукатурки мають відповідати проєктному зразку;

● не допускають смуг, що відрізняються за кольором або тоном від основного кольору штукатурки;

● місця стиків або меж захватів декоративної штукатурки необхідно розташовувати там, де вони найменш помітні (за водостічними трубами, колонами, пілястрами). На межах захватів не допускають рваних країв. Далі за допомогою контрольно-вимірювальних пристроїв здійснюють вибірковий контроль штукатурного покриття. Наявність відшарування від поверхні перевіряють легким простукуванням дерев’яним молотком, у окремих випадках дозволено контрольне

157
Право для безоплатного розміщення підручника в мережі Інтернет має Міністерство освіти і науки України http://mon.gov.ua/ та Інститут модернізації змісту освіти https://imzo.gov.ua

Опоряджувальні роботи

Рис. 12.7. Поверхні декоративних штукатурок: а, б — фактурні штукатурки; в, г — рельєфні штукатурки

розкриття штукатурки. Такі дефекти готового штукатурного покриття як тріщини, дутики і пропуски не допускають узагалі.

Необхідно звертати увагу саме на фінішний шар штукатурки, який формує

фактуру поверхні стіни, ще й тому, що від його надійності залежатимуть герметичність і довговічність теплоізоляції будинку, виконаної за методом скріпленого фасаду. Отже, якість нанесення штукатурки на систему скріпленого фасаду потребує особливо ретельного виконання. На рис. 12.7 показано зразки фактурної та рельєфної поверхні штукатурного покриття.

 Окрім цементної декоративної штукатурки, мінеральних і дисперсійних штукатурок, для зовнішнього оздоблення фасадів малоповерхових будинків використовують:

● цементну фасадну штукатурку;

● цокольну штукатурку;

● штукатурно-клеєву суміш на основі цементу.

Цементна фасадна штукатурка призначена для вирівнювання фасадів будинків. Наявність у ній фракційованого піску дає змогу уникнути усадки і тріщиноутворення при максимальній товщині штукатурного шару. Ця штукатурка оберігає поверхні стінових конструкцій від негативної дії вологи й агресивних хімічних сполук, які містяться в атмосфері.

Цокольна штукатурка також належить до цементовмісних штукатурних сумішей. Це суха суміш, зроблена на основі цементу, фракційованого піску та хімічних додатків. Вона призначена для вирівнювання високоміцних поверхонь цоколів будинків і основ, що зазнають дії високих динамічних навантажень, перед нанесенням декоративних покриттів. Допускають як ручне, так і машинне нанесення штукатурної розчинової суміші (до 15–20 мм за один намет). Цокольна штукатурка вирізняється підвищеною морозостійкістю та не має схильності до тріщиноутворення.

Штукатурно-клеєву суміш на цементній основі застосовують для зовнішніх і внутрішніх робіт. Вона містить фракційований пісок, спеціальні волокна і полімерні додатки, які забезпечують готовому шару розчину високу адгезію, тріщиностійкість і водовідштовхувальні властивості. Водовідштовхувальна властивість

158 12
Право для безоплатного розміщення підручника в мережі Інтернет має Міністерство освіти і науки України http://mon.gov.ua/ та Інститут модернізації змісту освіти https://imzo.gov.ua

поверхні зовнішньої обшивки стін

захищає утеплювач і кладку та інші стінові матеріали від промокання і завдяки низькому опору дифузії водяної пари не погіршує житловий мікроклімат. Застосовують при улаштуванні систем зовнішньої теплоізоляції будинків для приклеювання на звичайні будівельні основи теплоізоляційних плит із пінополістиролу або мінеральної вати і нанесення на них захисного шару, армованого склосіткою, з подальшим покриттям декоративними штукатурками. Штукатурно-клеєву суміш можна наносити на структуровані ретельно очищені від пилу мінеральні штукатурки, штукатурки на основі штучних смол вручну і машинним способом.

Контрольні запитання

1. Назвіть типи фінішного декоративно-оздоблювального покриття зовнішньої поверхні каркасно-обшивних стін з обшивкою цементно-мінеральними плитами.

2. Які роботи необхідно виконати перед нанесенням на поверхню цементно-мінеральних плит базового штукатурного шару?

3. Як здійснюють нанесення на поверхню зовнішньої обшивки каркасно-обшивної стіни базового штукатурного шару й армувальної сітки?

4. Коли можна наносити на базовий штукатурний шар декоративну штукатурку, фарбування, плиткове покриття?

5. Які суміші використовують для декоративного штукатурення поверхні зовнішньої обшивки із цементно-мінеральних плит?

6. Назвіть основні правила нанесення декоративної штукатурки.

7. Як здійснюють контроль виконання штукатурних робіт? Які дефекти штукатурних робіт є неприпустимими?

12.7. Фарбування поверхні зовнішньої

обшивки

стін

Оздоблення зовнішніх поверхонь оштукатурених стін можна також виконувати лакофарбовими сумішами, до яких належать малярні та лакофарбові матеріали. Їх у рідкому стані наносять на опоряджувальні поверхні тонкими шарами, які утворюють після висихання і твердіння плівку, міцно зчеплену з основою. Утворену щільну міцну плівку з нанесених макрофарбних матеріалів називають малярним або лакофарбовим покриттям. Його товщина залежно від мети нанесення лакофарбового покриття може становити 60–500 мкм.

 До лакофарбових матеріалів належать:

● фарби-суспензії, які утворюють покриття потрібного кольору. Вони містять у своєму складі зв’язні (плівкоутворювальні) речовини, пігменти-розчинники, розріджувачі, наповнювачі, різні хімічні додатки;

● лаки-розчини зв’язних речовин в органічних розчинниках або у воді, які утворюють плівку. За типом плівкоутворювача лаки поділяють на олійні, алкідні, ефіроцелюлозні тощо. Лаки використовують для отримання прозорих захисних і декоративних покриттів емалевих фарб, ґрунтовок, шпаклівок. До складу лаків можуть входити пластифікатори, каталізатори та ініціатори плівкоутворення;

159 12.7.
Фарбування
Право для безоплатного розміщення підручника в мережі Інтернет має Міністерство освіти і науки України http://mon.gov.ua/ та Інститут модернізації змісту освіти https://imzo.gov.ua

Опоряджувальні роботи

● емалі (емалеві фарби) — суспензії пігментів у лаках. При висиханні утворюють тверду блискучу плівку. Залежно від типу плівкоутворювальної речовини розрізняють олійні, ефіроцелюлозні, алкідні емальові фарби з різним блиском і фактурою поверхні;

● допоміжні речовини — шпаклівки, ґрунтовки, підмазки, отверджувачі, пластифікатори тощо.

До основних компонентів лакофарбових матеріалів належать оліфи, пігменти, розчинники, розріджувачі, наповнювачі.

Оліфа — це зв’язувальна речовина

для олійних сумішей, масляна рідина, яка після нанесення фарби на поверхню висихає, утворюючи міцну еластичну водонепроникну плівку.

Пігменти — високодисперсні порошки різних кольорів, нерозчинні у воді та фарбувальних середовищах.

Оліфу використовують для отримання ґрунтовок, шпаклівок, фарбових сумішей. Оліфи отримують з рослинної олії, яка висихає (лляної, конопляної, горіхової), напіввисихає (соняшникової) або не висихає (касторової), а також жирів і органічних продуктів.

Усі пігменти поділяють на неорганічні (мінеральні) й органічні. Їхні найважливіші

характеристики — яскравість, насиченість кольору, покривність (здатність перекривати колір поверхні, яку фарбують), світлостійкість, стійкість до дії хімічних речовин, розмір частинок (дисперсність). Пігменти можуть бути неорганічними (діоксид титану, цинкові та свинцеві білила, вохра, сурик тощо). Органічні пігменти (фталционінові, азопігменти тощо) використовують при фарбуванні пластмас, гуми.

Розчинники — індивідуальні хімічні сполуки або їхні суміші, здатні перетворювати різні речовини у розчин. Їх поділяють на неорганічні (найважливіший з них — вода) і органічні (ароматичні вуглеводні, спирти, ефіри та ін.).

Наповнювачі — високодисперсні, порошкуваті неорганічні природні або синтетичні речовини, нерозчинні у воді та розчинниках, а також у дисперсних середовищах.

Розріджувачі, на відміну від розчинників, не розчиняють плівкоутворювальну основу і служать для зменшення в’язкості густотертих фарб або розведення сухих мінеральних фарб-пігментів. Розріджувачами фарб є оліфи та різні емульсії.

Найбільш поширені — бензин, скипидар, сольвент, уайт-спірит. Для олійних фарб розчинниками є бензин, уайт-спірит, скипидар, ксилол; для перхлорвінілових — ацетон; для клеєвих і водоемульсійних — вода.

Природні неорганічні наповнювачі отримують шляхом подрібнення, збагачення та термічної обробки гірських порід і мінералів (крейда, тальк, каолін, діоксид кремнію та ін.). Синтетичні неорганічні наповнювачі отримують у результаті хімічних реакцій і складної технології. Наповнювачі підвищують адгезію пігментів з основами, надають лакофарбовим покриттям щільності, міцності, атмосферостійкості, водо-, вогне-, кислото-, лугостійкості, блиску або матовості, а також пришвидшують висихання фарб.

160 12
Право для безоплатного розміщення підручника в мережі Інтернет має Міністерство освіти і науки України http://mon.gov.ua/ та Інститут модернізації змісту освіти https://imzo.gov.ua

Â

поверхні зовнішньої обшивки стін

До основних властивостей лакофарбових матеріалів належать:

● вміст олії — характеризується кількістю олії, яку треба додати у 100 г пігменту, щоб отримати однорідну масу;

● антикорозійна стійкість — здатність запобіганню корозії металів;

● паропроникніс ть — здатність пропускати водяну пару; що менша паропроникність, то вищі антикорозійні властивості лакофарбових покриттів;

● розлив — властивість лакофарбового матеріалу після нанесення на поверхню розтікатись і вирівнювати свій поверхневий шар;

● адгезія — властивість лакофарбового покриття прилипати до поверхні, яку вимірюють величиною зусилля для відокремлення гнучкої пластини від лакофарбового покриття.

Лакофарбові покриття складаються зазвичай з кількох шарів, які наносять на оздоблювальну поверхню у певній технологічній послідовності: шпаклівка або підмазка, ґрунтовка, фарба (в один або два шари), фінішне покриття (наприклад, лак або зовнішня вирівнювальна фарба на кремнійорганічній основі).

Вирівнювальну фарбу на кремнійорганічній основі розроблено спеціально для мінеральної декоративної штукатурки. Ця фарба глибоко проникає у штукатурний шар, має високу водовідштовхувальну здатність. Вона доступна у 212 кольорових відтінках.

Ґрунтовки — це лакофарбові

матеріали, які наносять на вирівняні поверхні (наприклад, базових штукатурок) першим шаром.

Вони призначені для забезпечення належного зчеплення основного лакофарбового покриття з поверхнею, яка підлягає пофарбуванню. При цьому вони сприяють отриманню якісного, рівного й чистого пофарбування. Від фарб ґрунтовки відрізняються меншим вмістом пігментів. Більшість ґрунтовок мають конкретне призначення: під олійне, клеєве або вапняне фарбування, хоча випускають і універсальні ґрунтовки, придатні як для клеєвого, так і вапняного фарбування. Сучасна будівельна індустрія випускає такі ґрунтовки: глибокопроникні для укріплення старих основ; для вирівнювання та зменшення гігроскопічності основи; для покращення адгезії; ізоляційні, антикорозійні.

Фарби — це суспензії на основі пігментів з наповнювачами в оліфі, олії, емульсії, латексі, які утворюють кольорову непрозору однорідну плівку.

Лаки застосовують для надання виробам і поверхням декоративного вигляду і захисних властивостей.

Для фарбування заґрунтованої поверхні базового штукатурного шару використовують фарбові суміші, призначені для зовнішніх робіт (полімерні, дисперсійні, силікатні, поліуретанові, епоксидні, на основі рідкого скла, матовий лак та ін.). Заборонено використання алкідних фарб. При виконанні фарбування необхідно дотримуватись рекомендацій виробників фарбувальних сумішей.

До фасадних фарб висувають особливі, дуже високі вимоги. Покриття повинні мати естетичний зовнішній вигляд і витримувати жорсткі агресивні дії навколишнього середовища. Лакофарбова плівка фасадних покриттів має перешкоджати проникненню

12.7.
161
Фарбування
Право для безоплатного розміщення підручника в мережі Інтернет має Міністерство освіти і науки України http://mon.gov.ua/ та Інститут модернізації змісту освіти https://imzo.gov.ua

вологи всередину конструкцій і водночас легко випускати назовні водяну пару, яка виходить зсередини будинку. Крім того, необхідно, щоб фасадне покриття мало велику лугостійкість, високу адгезією до поверхні, стійкість до ультрафіолетового випромінювання, технологічність при нанесенні, довговічність.

Контрольні запитання

1. Які речовини належать до лакофарбових матеріалів?

2. Як здійснюють оздоблення зовнішніх поверхонь оштукатурених стін лакофарбовими сумішами?

3. Назвіть основні властивості лакофарбових матеріалів.

4. З яких шарів ск ладаються лакофарбові покриття?

5. Назвіть властивості лакофарбових покриттів?

12.8. Опорядження плитковим матеріалом зовнішньої

обшивки каркасних стін малоповерхових будинків

Обшивка каркасних стін малоповерхових будинків дає змогу здійснення їхнього зовнішнього опорядження плитковими матеріалами. Це зумовлено легкістю та зручністю роботи з ними, а також їхніми експлуатаційними властивостями.

Стіни, облицьовані плитковими матеріалами, добре захищені від впливу атмосфери, дії агресивних хімічних речовин, відповідають найвибагливішим естетичним вимогам. Вони зручні при очищенні та митті, а також мають чудові екологічні властивості.

Найбільш поширеними сучасними облицювальними матеріалами, які широко застосовують для зовнішнього оздоблення стін, є керамічна, кам’яна, полімерна, клінкерна, керамогранітна, фіброцементна плитка, а також склогранульовані плитки, які вже пройшли практичну апробацію у різних кліматичних зонах і довели свою цілковиту придатність і технологічну доцільність використання на міцних, рівних, недеформованих основах, таких як цементно-мінеральні плити, цементно-вапняна штукатурка або цементовмісна штукатурка. Розміри облицювальної плитки не повинні перевищувати 30 х 30 см.

Для кріплення плитки зовні будинків використовують тонкошарові розчинові суміші. Це може бути клей плитковий тонкошаровий для приклеювання облицювальної плитки (штукатурні основи мають бути одношаровими товщиною не менше ніж 10 мм); к лей плитковий швидкотвердіючий, який застосовують для укладання на тонкий шар клеєвої розчинової суміші плитки з кераміки, природного і штучного каменю в місцях, які потребують швидкої готовності; клей для плитки — застосовують для укладання на тонкий шар клеєвої розчинової суміші облицювальних плит з мармуру, природного каменю і напівпрозорої плитки, наприклад, скляної плитки або скломозаїки на звичайні основи стін і підлог; клей будівельний для плитки — застосовують для укладання природного каменю, керамічної плитки на стіни і підлогу. Клеєву добавку використовують при замішуванні СБС для плитки клеїв з метою підвищення їхньої міцності та при підвищених вимогах до волого- і морозостійкості клейного шару. У таких випадках добавку використовують замість води.

162 12 Опоряджувальні роботи
Право для безоплатного розміщення підручника в мережі Інтернет має Міністерство освіти і науки України http://mon.gov.ua/ та Інститут модернізації змісту освіти https://imzo.gov.ua

12.8. Опорядження плитковим матеріалом зовнішньої обшивки каркасних стін малоповерхових будинків

При цьому вона скорочує час коригування положення плитки приблизно на 5 хвилин та збільшує час тужавіння розчинової суміші приблизно на один день.

Технологія улаштування плиткового покриття

Плитку треба приклеювати на чисту суху поверхню цементно-мінеральних плит. Клей необхідно викласти тонким шаром за допомогою лопатки, потім розчинову клеєву суміш потрібно вирівняти на поверхні зубчастим шпателем (для плитки 15 х 15 см використовують шпатель із зубцями висотою 6 мм, для плитки 30 х 30 см  — 8 мм). Мінімальна ширина шва має дорівнювати 2 мм. Коригувати положення плитки можна протягом 10 хвилин. Зволожувати плитку водою перед укладанням не потрібно. При виконанні зовнішніх робіт на великих площах

з огляду на коливання температури повітря облицювання треба передбачати з улаштуванням компенсаційних швів. Вказівки щодо приготування розчинової

суміші зазвичай наводять на упаковці СБС.

Плитку потрібно укласти впродовж 20 хвилин, інакше розчинова суміш підсохне і втратить клейні властивості. На ці 20 хвилин треба розраховувати потрібну кількість розчинової суміші клею для плитки.

Після укладання плитки на усій поверхні або при великих обсягах робіт на визначеній захватці роблять технологічну перерву на 24 години для набуття розчиновою сумішшю міцності та її перетворення на розчин. Далі готують розчинову суміш для затирання швів між плитками. Розчинову суміш для заповнення і затирання швів готують із сухих затирочних сумішей, які обирають з урахуванням кольору плитки та ширини швів. Затирочні сухі суміші — цементовмісні матеріали, які замішують на чистій воді до пастоподібної однорідної маси, а у разі необхідності — на еластичній добавці (зовнішнє облицювання, опалювані підлоги). Нерівномірний розподіл вологи у розчиновій суміші та залишкова волога можуть стати причиною утворення плям на швах. При нанесенні розчинової суміші шви мають бути чистими, знепиленими, рівномірної глибини. Тому їх треба прочистити дерев’яним клином. Дуже гігроскопічні поверхні керамічних плиток до заповнення швів потребують зволоження водою. Шовну масу наносять на поверхню плитки затиркою для швів і розтирають по діагоналі. Щойно шовна суміш на покритті стає тьмяною і починає тверднути, необхідно виконати чистку швів. Вологою губкою або затиркою з губкою потрібно вирівняти розчинову суміш строго по краях і стерти її з поверхні плиткового покриття.

Після повного висихання шовного розчину облицьовані глазуровані поверхні додатково очищають м’якою ганчіркою і полірують. Залишки розчину на поверхні плиток усувають не раніше ніж через два тижні.

При затиранні швів треба уникати потрапляння сонячних променів і протягів на свіжооброблені шви. Інтенсивне використання води (душ) можливе тільки через два тижні після закінчення робіт із затирання швів.

Контрольні запитання

1. Які захисні властивості мають плиткові покриття каркасно-обшивних стін? Чи відповідають вони сучасним вимогам щодо естетики, експлуатації й екології?

2. Назвіть найбільш поширені сучасні облицювальні матеріали.

Право для безоплатного розміщення підручника в мережі Інтернет має Міністерство освіти і науки України http://mon.gov.ua/ та Інститут модернізації змісту освіти https://imzo.gov.ua

163

3. Яку мінімальну ширину швів допускають поміж плитками?

4. Як к ладуть облицювальну плитку на оздоблювальні поверхні?

5. Який к лей використовують для наклеювання облицювальної плитки?

6. Які інс трументи використовують для приготування плиткового клею і нанесення його на оздоблювану поверхню?

7. Що таке затирочні суміші? Як їх готують? Від чого залежить їхній вибір?

8. Як здійснюють нанесення шовної суміші на поверхню плитки? Як і коли виконують чистку швів?

9. За яких умов треба виконувати затирання швів?

12.9. Облицювання обшивки перегородок і стін керамічною

плиткою

Технологічну послідовність облицювання стін керамічною плиткою представлено на рис. 12.8–12.9. На рис. 12.10 показано поверхню стіни, оздобленої керамічною плиткою.

Для приклеювання плитки до заґрунтованої поверхні цементно-мінеральних плит застосовують клеї на цементній основі. Клей наносять зубчастим шпателем на поверхню, яка підлягає облицюванню. Товщина шару клею залежить від товщини приклеюваної плитки, її вказують на упаковці. Зазвичай клей наносять як мінімум у два шари. Його готують змішуванням трьох об’ємних частин сухої клеєвої суміші з однією частиною води, тобто потрібно 1,4 л води на 5 кг пороРис. 12.8. Облицювання стін керамічною плиткою усередині приміщення: а — нанесення ґрунтовки на поверхню плит обшивки; б — нанесення клею на висохлу ґрунтовку; в — прочісування клею зубчастим шпателем; г — укладання плитки; д — встановлення хрестовин; е — вирівнювання плиток по шнуру; ж — нанесення шовної суміші затиркою на поверхню плитки; з — вирівнювання розчинової суміші у швах на краях; и — очищення м’якою ганчіркою поверхні плитки після повного висихання шовного розчину і полірування поверхні плитки

164 12 Опоряджувальні роботи
а) б) в) г) д)
и) Право для безоплатного розміщення підручника в мережі Інтернет має Міністерство освіти і науки України http://mon.gov.ua/ та Інститут модернізації змісту освіти https://imzo.gov.ua
е) ж) з)

поверхні обшивок перегородок і стін усередині приміщень

шку клею. Після витримування суміші протягом 10 хвилин її знову перемішують міксером. Час роботи з клеєм — 5 годин.

Рис. 12.9. Заповнення швів герметиком у санвузлах

Облицювальна плитка придатна і для облицювання обшивки із цементно-мінеральних плит у сантехвузлах та басейнах із хлоруванням води. Плити аквапанель мають високі антикорозійні властивості, зокрема підходять для басейнів з солоною водою. Плити кріплять до каркаса із дерев’яних стійок і обв’язок.

Для підвищення міцності та водостійкості плиткової кладки у клей, замість води, вводять клеєву добавку. Витрата добавки: відро 8 кг на 25 кг (мішок) плиткового клею. Треба мати на увазі, що добавка скорочує час роботи (коригування положення плитки приблизно на 5 хвилин) і збільшує час тужавіння розчинової суміші приблизно на 1 день.

Рис. 12.10. Стіна з плитковим покриттям: 1 — цементно-мінеральна плита; 2 — шуруп; 3 — клейова суміш для стиків; 4 — ґрунтовка для цементно-мінеральних плит; 5 — клейний склад для кахля; 6 — керамічні плитки

Затирання швів між плитками виконують розчиновою сумішшю, так само як і для плитки, яку наклеюють на зовнішні поверхні обшивки стін будинку. Місця сполучень облицювань із керамічною плиткою між собою, а також примикання до підлоги, стелі, ванни зашпаровують нетвердіючими герметиками-ущільнювачами.

Щоб уникнути забруднення поверхні стін, перед шпринцюванням місць сполучення (швів) їх краї необхідно заклеїти клейкою стрічкою.

Контрольні запитання

1. Як виконують оздоблення керамічною плиткою вологих приміщень, зокрема якщо зволоження може бути тривалим?

2. Які матеріали для забезпечення потрібної адгезії та гідроізоляції плитки використовують у вологих приміщеннях?

3. Як облицьовують керамічною плиткою поверхню цементно-мінеральних плит? Які матеріали при цьому застосовують?

4. Назвіть технологічну послідовність облицювання стін керамічною плиткою.

12.10. Фарбування поверхні обшивок перегородок і стін

усередині приміщень

Підготовка до фарбування поверхні обшивки стін приміщень цементно-мінеральними плитами перш за все передбачає її ґрунтування адгезійною ґрунтовкою, а обшивки плитами ГКП, ГВП — ґрунтовкою Тіфенгрунд. Оброблювані поверхні покривають ґрунтовками за допомогою валика або пензля. На проґрун-

165 12.10. Фарбування
Право для безоплатного розміщення підручника в мережі Інтернет має Міністерство освіти і науки України http://mon.gov.ua/ та Інститут модернізації змісту освіти https://imzo.gov.ua

товану поверхню обшивки стіни наносять шар шпаклівки (товщина шару — мінімум 4 мм). При цьому в шар шпаклівки за допомогою мулярської лопатки укладають армувальну сітку. Для отримання гладкої фінішної поверхні на нанесений раніше шар шпаклівки після його висихання треба нанести тонкий шар білої шпаклівки. Після нанесення цього тонкого шару поверхня цілком готова до фарбування. Перший шар шпаклівки дозволяє отримати поверхню з рівнем якості Q1-Q3 (табл. 12.5, с. 172). Її можна фарбувати або наносити на неї декоративну штукатурку. Для отримання гладкої поверхні, що відповідає високим візуальним вимогам рівня якості Q4, треба використовувати білу фінішну шпаклівку.

 При цьому передбачено такі технологічні операції:

● армування стиків плит стрічкою зі скловолокна;

● шпак лювання отворів від шурупів;

● шліфування поверхні стиків і кріплень;

● шпак лювання усієї поверхні, яку готують під фарбування.

За допомогою мулярської лопатки з нержавіючої сталі шириною 15 см білу фінішну шпаклівку наносять на видимі стики, заповнені клеєм для швів. У нанесену шпаклівку укладають стрічку зі скловолокна так, щоб вона перекривала стики. Поверх стрічки наносять тонкий шар фінішної шпаклівки і видаляють надлишок матеріалу. Далі виконують шпаклювання отворів (лунок) від шурупів.

Після заповнення лунок шпаклівкою в разі необхідності виконують шліфування нерівностей поблизу шурупів. Після завершення цієї операції необхідно зашліфувати усі нерівності на поверхні, покритій шпаклівкою при обробленні та армуванні стиків. Потім наносять тонкий шар фінішної шпаклівки шириною мінімум 20 см (з вис тупами за межі першого шару по 5 см) і  виконують шліфування усіх нерівностей після висихання шпаклівки. Надалі наносять цю шпаклівку на всю поверхню стіни або її частину, не облицьовану плиткою, використовуючи мулярську лопатку шириною 20 см. Після висихання цього шару наносять наступний шар фінішної шпаклівки. Через 24 години після висихання й цього шару виконують шліфування наждачним папером (зерно 120 або нижче) чи шліфувальною машиною. Зазначмо, що частина стіни, облицьованої плиткою, має становити більше ніж половину загальної висоти стіни. При експлуатації приміщення, наприклад, ванної кімнати не можна допускати потрапляння водяних бризок на необлицьовану поверхню.

Для фарбування можна використовувати різні фарбувальні суміші: водоемульсійну фарбу, матову емаль, полімерні дисперсійні кольорові суміші, поліуретанові, епоксидні фарби, фарби на основі рідкого скла, матовий лак тощо. Не допускають застосування алкідних емалей, несумісних із підготовленою для фарбування основою.

Перед початком фарбування поверхня має бути сухою. Її треба очистити від пилу і плям різного походження, які знижують адгезію фарбувальної суміші до основи. Не можна виконувати фарбування під дією прямих сонячних променів. Для нанесення фарби на підготовлену поверхню використовують пензлі або валики, можна також застосовувати механічні методи з використанням розпилювачів, фарбопультів,

166 12 Опоряджувальні роботи
компресорів. Право для безоплатного розміщення підручника в мережі Інтернет має Міністерство освіти і науки України http://mon.gov.ua/ та Інститут модернізації змісту освіти https://imzo.gov.ua

Для досягнення рівномірного кольору при роботі на однорідних і великих поверхнях рекомендують використовувати фарбувальні матеріали однієї партії, яку позначають на упаковці фарби.

Контрольні запитання

1. Які підготовчі роботи виконують перед фарбуванням поверхні обшивки із цементно-мінеральних плит ?

2. Які фарбувальні суміші можна використовувати для фарбування обшивки із цементно-мінеральних плит? Які інструменти використовують для нанесення фарбувальної суміші?

3. Які матеріали і знаряддя потрібні для підготовки до штукатурення цементно-мінеральних плит ?

4. Як відбувається приготування розчинової штукатурної суміші та штукатурення поверхонь із цементно-мінеральних плит?

5. Які інс трументи потрібні для штукатурення?

6. Як армують шпаклювальний матеріал у стиках ГКП і ГВП?

7. Як гідроізолюють і герметизують гіпсокартонне обшиття?

Шпалери — це рулонний оздоблювальний матеріал на основі паперу для обклеювання стін і стель житлових приміщень і громадських будівель.

Розрізняють шпалери друковані, які виготовляють нанесенням малюнка безпосередньо на папір або кольоровий ґрунт, яким попередньо покривають папір (ґрунтовані шпалери); шпалери, що можна мити, з декоративним шаром із синтетичних матеріалів, які надають шпалерам вологостійкості; ворсисті (велюрові), лицьовий шар яких утворено з ворсу волокнистих матеріалів (бавовна, віскоза). Для наклеювання шпалер зазвичай застосовують водорозчинні синтетичні клеї або клейстери з відходів борошномельного виробництва. Призначення шпалер — відповідати вимогам декорування поверхонь та естетичним потребам, а також гігієнічним нормам.

 Шпалери класифікують за різними характеристиками:

● за матеріалом: паперові, вінілові, текстильні, з металевої фольги;

● за зовнішнім виглядом (фактурою): гладкі, спінювані, ворсисті, рельєфні, гофровані та ін.;

● за призначенням: дотримання естетичних і гігієнічних вимог, захист поверхонь стін і стель; звукоізоляція, гідроізоляція, пароізоляція;

● за умовами експлуатації, догляду й очищення (сухі, вологі, придатні для миття);

● за масою 1 м2: легкі, середні та важкі.

167 12.11. Шпалерні роботи
12.11. Шпалерні роботи
Право для безоплатного розміщення підручника в мережі Інтернет має Міністерство освіти і науки України http://mon.gov.ua/ та Інститут модернізації змісту освіти https://imzo.gov.ua

Опоряджувальні роботи

Обклеювання поверхонь приміщень шпалерами, завдяки таким їхнім рисам як різноманітність кольорів, малюнків, фактури, матеріалу застосовують

дедалі частіше у практиці будівництва малоповерхових житлових будинків. Цьому також сприяють нескладне виконання робіт з використанням простих

засобів та інструментів, проста експлуатація шпалерних покриттів і тривалий термін їхньої служби.

 Наклеюванню шпалер завжди передує підготовчий етап робіт, який охоплює:

● підготовку інструментів і пристосувань для обклеювання;

● звільнення приміщення від зайвих предметів, сміття, пилу;

● вимірювання розмірів приміщення, визначення потрібної кількості рулонів шпалер і шпалерного клею;

● підготовку поверхні, щоб цілковито її очистити; шпаклювання тріщин, подряпин, дутиків, вибоїн;

● тимчасове вимкнення електрики у приміщенні;

● розкрій шпалер.

Практичний досвід обклеювання стін і стель шпалерами, які випускають у стандартних рулонах довжиною 10,05 м і шириною 0,52 м, дає змогу визначити необхідну кількість рулонів (табл. 12.3 і 12.4).

Таблиця 12.3 Потрібна кількість рулонів шпалер для стелі Периметр, м

Кількість рулонів

Таблиця 12.4 Потрібна кількість

рулонів шпалер для стін

Висота, м Периметр приміщення

Примітка. Вказано кількість стандартних рулонів. Периметр включає дверні та віконні прорізи.

Шпалерами обклеюють тільки внутрішні сухі поверхні. Шпалерні роботи виконують після закінчення усіх загальнобудівельних робіт. До початку шпалерних робіт треба закінчити усі малярні роботи, за винятком останнього фарбування підлог, встановлення й остаточного фарбування наличників і плінтусів. Оштукатурені або зашпакльовані поверхні повинні мати вологість не більше ніж 8 %. Щілини біля плінтусів і наличників треба добре підмазати.

168 12
1011121314151617181920212223
22234444555677
9
2,15–2,30 45566778899 10101112121313 2,30–2,45 5566778899 1010111112131314 2,45–2,60 55677899 10101112121314141515 2,60–2,75 55677899 10101112121314141515 2,75–2,90 6677899 1010111212131414151516 2,90–3,05 667889 101011121213141415161617 3,05–3,20 67889 10101112131314151616171819
10121314151617192021222325262728ЗО
Право для безоплатного розміщення підручника в мережі Інтернет має Міністерство освіти і науки України http://mon.gov.ua/ та Інститут модернізації змісту освіти https://imzo.gov.ua

Технологія обклеювання шпалерами приміщень

Наклеювання паперових шпалер починають від дверей у кімнату біля наличника. Тоді збій візерунка, який неминуче станеться біля дверей після прок леювання усієї кімнати, буде найменш помітним саме на короткій ділянці над дверима.

Перед початком наклеювання на стіні приміщення необхідно зазначити олівцем місця майбутніх стиків, використовуючи рулон шпалер як мірку.

Стики не повинні припадати на зовнішні кути, а також на краї віконних прорізів. Якщо це сталося, то початкову точку необхідно зрушити приблизно на 50 мм і  знову виконати розмітку місця стиків по усьому периметру кімнати. Після розмітки місць стиків потрібно провести з початкової точки вертикальну лінію за виском. Неточне розташування шпалери відносно цієї лінії може призвести до збою малюнка, який буде збільшуватись з наклеюванням.

У верхній частині стіни відмічають горизонтальну лінію. Шпалери укладають на підлозі або столі купкою, лицьовим боком донизу. Щоб при намазуванні клеєм лицьовий бік не забруднювався, шпалери кладуть зі зміщенням одного полотнища відносно другого на 2–3 см. К лей намазують на шпалери маховим пензлем. При цьому необхідно ретельно промазувати краї. Приклеювати шпалери можна тільки після того, як полотнище просочиться клеєм. Перед приклеюванням краї промазують удруге.

При наклеюванні шпалер внапуск край полотнища має бути спрямований до світла, тому наклеювання можна починати й від кута, утвореного стіною, в якій розташовані вікна.

Наклеювання шпалер виконують двоє робітників. Один із них намазує шпалери і подає полотнище другому. Прийнявши полотнище, цей робітник розпускає його і, притуливши до поверхні, приклеює так, щоб край збігся з вертикальною лінією, яка була відбита на стіні, або з кутом. У цей час перший робітник, стоячи на підлозі, спочатку підтримує нижній кінець полотнища, а потім приклеює його до стіни. Щоб на шпалерах не залишались пухирці та зморшки, їх розрівнюють жорсткою щіткою рухом від центру до країв і згори вниз. Замість щітки, можна застосовувати чисті ганчірки.

Друге полотнище при наклеюванні внапуск має перекривати перше на ширину необрізаного краю. При наклеюванні впритул щілина між полотнищами не повинна бути помітною з відстані 3 м. Крім того, друге і наступні полотнища необхідно клеїти так, щоб не було зміщення малюнка.

Для запобігання здійманню шпалер кути не можна заклеювати широким полотнищем. Тому кут заклеюють розрізаним уздовж полотнищем так, щоб після приклеювання воно заходило на другу стінку не більш ніж на 2–3 мм. Обк леювання другої стіни починають з кута, а не з того місця, де закінчилося попереднє полотнище. Після обклеювання стіни приклеюють бордюр або фриз.

Бордюрний рулон спочатку розрізають уздовж на окремі смуги довжиною

1,5–1,7 м. Підготовлений кусок бордюру намазують клеєм і приклеюють до стіни так, щоб край збігався з горизонтально відбитою лінією. Розрівнюють кусок бордюру спочатку повздовжніми рухами щітки, а потім поперечними. Навислі кінці шпалер на плінтусах і наличниках обрізають гострим ножем, переміщуючи його уздовж прикладеної до плінтуса

169 12.11. Шпалерні
роботи
металевої лінійки. Право для безоплатного розміщення підручника в мережі Інтернет має Міністерство освіти і науки України http://mon.gov.ua/ та Інститут модернізації змісту освіти https://imzo.gov.ua

Опоряджувальні роботи

Поверхні, які обклеюють синтетичними шпалерами, готують, так само як під високоякісне фарбування: розрізають і підмащують тріщини, шліфують підмащені місця, шпаклюють і шліфують поверхню. Підготовлену поверхню проклеюють клеєм або ґрунтують.

Готуючи синтетичні шпалери на паперовій основі, спочатку розрізають рулони на полотнища. Потім обрізають краї одночасно у кожній парі полотнищ. З цією метою внапуск на ширину краю накладають одне полотнище на інше і під лінійку одночасно відрізують два краї: правий від лівого полотнища і лівий — від правого. Потім на друге полотнище накладають третє і виконують ту саму роботу. Полотнища з обрізаними краями нумерують.

Підготовлені полотнища послідовно намазують клеєм, витримують кожне 15 хвилин і приклеюють до поверхні впритул одне до одного.

Готуючи синтетичні шпалери на тканинній основі, рулони розрізають тільки по довжині, а краї обрізають на стіні після приклеювання. Клей наносять на полотнище шпалер так, щоб на краях залишалася суха смуга шириною 1–2 см. Намазане полотнище витримують 20–30 хвилин, після чого приклеюють до поверхні. Сусіднє полотнище приклеюють так само, але внапуск на 1,5–2 см. Через 3–4 години переходять до обрізання країв. З цією метою на край накладають сталеву лінійку і спеціальним ножем, який забезпечує проріз на потрібну глибину, обрізають краї одночасно на двох полотнищах. Відрізані краї видаляють, а краї полотнищ відгортають, намазують клеєм і притискають до поверхні. Надлишок клею, що виступає на поверхню шпалер, видаляють вологою ганчіркою.

Контрольні запитання

1. Що таке шпалери? Які існують види шпалер?

2. Які підготовчі операції передують наклеюванню шпалер?

3. Які к леї застосовують для наклеювання шпалер?

4. Як нак леюють шпалери?

12.12. Приклади остаточного оздоблення екстер’єрів

та інтер’єрів стін і перегородок малоповерхових будинків

Фасадні матеріали постійно зазнають руйнівної дії агентів фізичного вивітрювання (дощ, вітер, мороз, спека, УФ-випромінювання, перепади температур). Отже, ці матеріали мають протистояти руйнації і надійно захищати від неї будівельні конструкції на досить тривалий період.

Зовнішні стіни з обшивкою цементно-мінеральними панелями сполучаються практично з усіма типами остаточного оздоблення фасадів будинків. Доступні варіанти зовнішніх комплектних систем фасадних покриттів представлено на рис. 12.11–12.13.

На рис. 12.14–12.18 представлено варіанти остаточного оздоблення інтер’єрів з різними рівнями

170 12
Право для безоплатного розміщення підручника в мережі Інтернет має Міністерство освіти і науки України http://mon.gov.ua/ та Інститут модернізації змісту освіти https://imzo.gov.ua
якості.

Рис. 12.11. Зовнішня система оздоблення фасаду будинку штукатуркою: 1 — зовнішня штукатурка; 2 — ґрунтовка базового покриття; 3 — базове покриття біле з армувальною сіткою; 4 — шпаклівка сіра зі стрічкою (10 см); 5 — цементно-мінеральна плита

Рис. 12.12. Зовнішня система оздоблення фасаду будинку з пофарбуванням: 1 — пофарбування; 2 — базове покриття біле з армувальною сіткою; 3 — шпаклівка сіра зі стрічкою (10 см); 4 — цементно-мінеральна плита

Рис. 12.13. Зовнішня система оздоблення фасаду будинку тонким цегляним шаром на еластичному клеї: 1 — облицювання шаром цегли; 2 — еластичний клей для приклеювання керамічної плитки; 3 — базове покриття біле з армувальною сіткою; 4 — шпаклівка сіра зі стрічкою (10 см); 5 — цементно-мінеральна плита

Рис. 12.14. Внутрішня система оздоблення стіни будинку керамічною плиткою. Рівень якості оздоблення — Q1: 1 — цементно-мінеральна плита; 2 — шуруп; 3 — клей для швів; 4 — ґрунтовка для плит; 5 — клей для плитки; 6 — кахельна плитка

Рис. 12.15. Внутрішня система оздоблення стіни декоративною штукатуркою. Рівень якості оздоблення — Q2: 1 — плита; 2 — шурупи для ГКП; 3 — шпаклівка; 4 — ґрунтовка Тіфенгрунд; 5 — декоративна штукатурка

Рис. 12.16. Внутрішня система оздоблення стіни шпалерами. Рівень якості оздоблення — Q2: 1 — гіпсокартонна плита; 2 — шурупи для ГКП; 3 — шпаклівка; 4 — ґрунтовка Тіфенгрунд; 5 — шпалери

171 12.12. Приклади
оздоблення
та
і перегородок малоповерхових будинків
остаточного
екстер’єрів
інтер’єрів стін
Право для безоплатного розміщення підручника в мережі Інтернет має Міністерство освіти і науки України http://mon.gov.ua/ та Інститут модернізації змісту освіти https://imzo.gov.ua

Рис. 12.17. Внутрішня система оздоблення стіни пофарбуванням. Рівень якості оздоблення — Q3: 1 — гіпсокартонна плита; 2 —

шурупи для ГКП; 3 — шпаклівка; 4 — ґрунтовка Тіфенгрунд; 5 — фарба

Рис. 12.18. Внутрішня система оздоблення стіни пофарбуванням. Рівень якості оздоблення — Q4: 1 — цементно-мінеральна плита; 2 — шурупи; 3 — клей; 4 — ґрунтовка; 5 — армувальна стрічка зі скловолокна; 6 — фінішна шпаклівка під фарбування

Під інтер’єром розуміють архітектурно і художньо оформлений внутрішній простір будинку, поєднання задумів і рішень щодо забезпечення комфортного життя людини у цілісній та естетично досконалій формі.

 Інтер’єр складається з трьох основних компонентів:

● будівельної оболонки (підлога, стіни, стеля);

● предметного наповнення (обладнання, меблі);

● функціональних процесів, які формують простір і атмосферу, тобто декоративного наповнення простору.

Отже, до формування інтер’єру приміщень будинку необхідно підходити творчо і водночас прагматично, обміркувати можливості застосування тих чи інших будівельних матеріалів і обладнання.

Стиль інтер’єру та зовнішній вигляд будинку мають взаємодіяти і доповнювати один одного. Архітектурний стиль екстер’єру повинен відображатись і в інтер’єрі.

Внутрішні системи оздоблення мусять відповідати певним рівням якості оздоблення, що наведено у таблиці 12.5.

Таблиця 12.5

Рівень якості Q1 Q2 (стандарт) Q3 Q4

Оздоблення З’єднана поверхняГладка поверхня зі

звичайними оптични­

ми властивостями

Гладка поверхня для підвищених візуальних вимог

Гладка поверхня для високих візуальних вимог

172 12 Опоряджувальні роботи
Право для безоплатного розміщення підручника в мережі Інтернет має Міністерство освіти і науки України http://mon.gov.ua/ та Інститут модернізації змісту освіти https://imzo.gov.ua

12.13. Опорядження стель

Стеля — це нижня частина міжповерхового перекриття

або покриття будинку, поверхня конструкції перекриття, іноді додатково опоряджена шаром штукатурки, гіпсокартонними плитами, фарбуванням, шпалерами.

Стеля може бути спеціальною конструкцією, відокремленою від перекриття і закріпленою до нього додатковими деталями (підвісна стеля), або конструкцією, що спирається на стіни та колони (самонесуча стеля). Самонесучу стелю виконують подібно до підвісної або у вигляді тонкостінної залізобетонної панелі. У просторі між перекриттям і підвісною або самонесучою стелею можна прокладати повітропроводи, кабелі, трубопроводи тощо. Відповідно до загального рішення інтер’єрів приміщень і конструкцій перекриттів, поверхні стель можуть бути плоскими, криволінійними, східчастими, ребристими, касетними тощо, зверненими всередину приміщення.

Â

Отже, сучасним рішенням оздоблення поверхні стелі може бути:

● побілка, фарбування, шпалери;

● підвісна с теля (гіпсокартонна, дзеркальна, скляна, рейкова, панельна);

● натяжна стеля;

● самоклейна стеля.

Побілка і фарбування  — це найпростіші й найбільш доступні способи оздоблення стель, які полягають у нанесенні на поверхню стелі фінішного покриття побілки, водоемульсійної фарби або наклеюванні шпалер.

Існують різні варіанти оформлення поверхні гіпсокартонних стель. При улаштуванні обшивки

із плит, що мають гладеньку лицьову поверхню, можна використати квадратні плити; прямокутні плити з різним співвідношенням довжини і ширини; плити на всю довжину стелі з повздовжнім краєм, що має фаску; комбінації плит різної товщини.

Використовуючи перфоровані та шлицьовані плити, можна варіювати обшивку квадратними та прямокутними плитами, комбінаціями перфорованих і не перфорованих

плит, плитами з різноманітним характером перфорації та її реалізації. Іноді застосовують декоративні плити з різним покриттям лицьової поверхні.

Різні поєднання підвісних стель можуть водночас відповідати найвищим вимогам дизайну та декору, звукоізоляції та акустики, вогнестійкості та теплоізо ляції.

Підвісні стелі бувають з відкритими і прихованими профілями каркаса. Вони бувають різного дизайну та технічних рішень.

Серед матеріалів, із яких виготовляють плити для стель, — мінеральні волокна (мінеральна вата), гіпс, метал, дерево.

Є чимало систем підвісних стель. Розглянемо найпопулярніші. До них належать: протипожежні системи F30 mono, F30 dual, F90 dual і  F90 функціональна стеля, а також система А зі

173
12.13. Опорядження стель
Право для безоплатного розміщення підручника в мережі Інтернет має Міністерство освіти і науки України http://mon.gov.ua/ та Інститут модернізації змісту освіти https://imzo.gov.ua

Опоряджувальні роботи

схованими профілями каркаса; система В — протиударна конструкція зі схованими шинами; система С — видима система зі знімними плитами; система F — без підвіски профілю; система І — коридорна система і система К — система охолоджувальної стелі.

Підвісні стелі з відкритим каркасом (система С) —

це комплектна система, яка містить не тільки термо-, звукоізоляційну плиту, а ще й необхідні матеріали, конструктивні

елементи, а також технічні рішення та рекомендації щодо виконання робіт.

Ця система поєднує в собі швидкий і раціональний монтаж та невелику вартість. У ній можна використовувати стельові плити з усіх матеріалів (мінеральна вата, метал, гіпс, деревина). Стельові плити встановлюють у чарунки металевого каркаса, видима ширина профілів якого становить 24 мм. Більш стримане оптично привабливе оздоблення стелі системи С можна отримати за допомогою видимих рейок шириною 15 мм. Кожну стельову плиту можна демонтувати окремо, чим забезпечують доступ до міжстельового простору в будь-якій точці для робіт з монтажу і обслуговування інженерних мереж.

При системі С можна застосовувати будь-який дизайн поверхонь. Завдяки растровим форматам квадратної і панельної форми можливості оздоблення стель забезпечують багатьма варіантами. Стелю легко доповнити такими функціональними елементами як світильники, гучномовці, вентиляційні решітки тощо.

На рис. 12.19 показано приклади дизайну плит із різних матеріалів.

Рис. 12.19. Стельові плити: а — мінеральна вата; б —

в — метал; г — дерево

174 12
а) б) в) г) Право для безоплатного розміщення підручника в мережі Інтернет має Міністерство освіти і науки України http://mon.gov.ua/ та Інститут модернізації змісту освіти https://imzo.gov.ua
гіпс;

Підвісні стелі з гіпсокартону — це облицювання, які прикріплюють або підвішують до несучої конструкції перекриття за допомогою підвісних кріпильних пристосувань.

Опорядження стель

Важливо знати, що підвісні стелі не є конструктивними (несучими) елементами будівлі, проте, крім декоративного опорядження, мають різноманітне функціональне призначення.

За допомогою підвісних стель вирішують питання щодо акустики приміщення, підвищення звукоізоляції і вогнестійкості перекриття, приховування електропроводки та інших інженерних комунікацій, усунення нерівностей перекриття і його опорядження; можливість декоративного опорядження стелі, зокрема створення поверхонь складних форм. У стандартних житлових будинках з невеликою висотою приміщень, щоб не зменшувати ще висоту, використовують зазвичай гладкі прямолінійні підвісні стелі.

Гіпсові плити укладають тільки тоді, коли приміщення повністю просохло. Треба закінчити штукатурні роботи, покласти підлогу, встановити і засклити двері та вікна. Система опалення мусить забезпечувати температуру в межах 15–30 °С. Відносна во логість повітря не повинна перевищувати 90 % при температурі повітря 22–23°С.

Окрім гіпсових плит, популярними є плити на основі акустичного гіпсу. Вони забезпечують покращення акустики приміщень завдяки поглинанню звуку в різних межах частот, рівномірності реверберації звуку та поліпшенню

його якості. Також сприяють поліпшенню клімату всередині приміщень завдяки поглинанню і виділенню вологи, відсутності у складі гіпсу небезпечних речовин, які мають алергічний вплив на організм людей. Стельові та стінові плити й панелі на основі акустичного гіпсу також забезпечують рівномірне розсіювання світла завдяки перфорації та шорсткості їхньої поверхні й матово-кольоровій обробці. Такі стелі виготовляють як із прихованою, так і з видимою решіткою каркасних систем. Плити мають пофарбовану поверхню. Поверхня стель може мати структуру квадратів 600х600 мм, прямок утників 300–400х600–2400 мм; 600/625х1200/1250 мм. Мініма льна висота встановлення — 150 мм (місцями — 65 мм).

Стельові плити з деревини мають 100 % вологостійкість, займистість з показником В1, низьку теплопровідність. Їх виготовляють із деревного волокна, зв’язаного екологічно чистим цементом.

Спеціальною сферою застосування цих плит можуть бути кінотеатри. Їх також доцільно використовувати у протиударних конструкціях стель.

Досить популярним сучасним рішенням оздоблення стель є натяжні стелі, що складаються із каркаса і плівки на основі ПВХ (полівінілхлориду), яку натягують на нього за спеціальною технологією. Такі стелі особливо ефективні для кімнат із низьким перекриттям.

Самоклейні стелі  — це великі за розміром плити, що клеються на попередньо очищену поверхню спеціальним клеєм.

Із плит можна створити будь-який неповторний візерунок.

На рис. 12.20 показано оздоблення стель у приміщеннях будинків.

175 12.13.
Право для безоплатного розміщення підручника в мережі Інтернет має Міністерство освіти і науки України http://mon.gov.ua/ та Інститут модернізації змісту освіти https://imzo.gov.ua

Рис. 12.20. Приклади оздоблення стель: а — підвісна стеля з гіпсокартону; б — натяжна стеля; в — підшивна стеля; г — скляна підвісна стеля

Економне витрачання матеріалів, а також використання готових матеріалів для оздоблювальних робіт сприяють зниженню їхньої собівартості.

Контрольні запитання

1. Що таке стеля?

2. Назвіть сучасні рішення опорядження поверхні стелі.

3. Чим підвісні с телі відрізняються від самонесучої стелі?

4. Що таке підвісна стеля з відкритим каркасом?

5. Що таке підвісні стелі з гіпсокартону?

Тестові завдання

1. Скільки рівнів якості остаточного оздоблення поверхні стін і перегородок розрізняють при їхній обшивці плитами?

а) Два; б) три; в) чотири;г) більше ніж чотири.

2. Яка середня товщина усіх шарів простої штукатурки?

а) 8 мм; б) 10 мм; в) 12 мм; г) 15 мм.

3. Яку середню товщину мають усі шари покращеної штукатурки?

а) 12 мм; б) 15 мм; в) 18 мм; г) 20 мм.

176 12 Опоряджувальні роботи
а б в г Право для безоплатного розміщення підручника в мережі Інтернет має Міністерство освіти і науки України http://mon.gov.ua/ та Інститут модернізації змісту освіти https://imzo.gov.ua

Опорядження стель

4. Як у температуру повітря вважають найкращою для виконання штукатурних робіт?

а) 10°; б) 15°; в) 20°; г) 22°.

5. Яку відносну вологість повітря вважають найкращою для виконання штукатурних робіт?

а) 45 %; б) 50 %; в) 60 %; г) 65 %.

6. Скільки основних властивостей і параметрів штукатурки потрібно оцінити, щоб зробити комплексний вибір щодо її застосування?

а) Чотири;б) п’ять; в) шість; г) більше ніж шість.

7. Скільки основних властивостей лакофарбових матеріалів треба брати до уваги для оцінювання можливості їхнього застосування для оздоблення зовнішніх і внутрішніх поверхонь оштукатурених стін і перегородок?

а) Три; б) чотири;в) п’ять; г) більше ніж п’ять.

8. Скільки основних компонентів містять лакофарбові матеріали?

а) Три; б) чотири;в) п’ять; г) більше ніж п’ять.

9. Для розрівнювання шару клеєвої розчинової суміші під час укладання плитки розміром 30х30 см ззовні фасаду необхідно використовувати шпатель із зубцями висотою:

а) 6 мм; б) 8 мм; в) 10 мм; г) 12 мм.

10. Клеєву тонкошарову суміш зовні фасаду треба використати протягом:

а) 5 хв; б) 10 хв; в) 20 хв; г) 30 хв.

11. Під час облицювання стін з аквапанелі усередині приміщення зазвичай клеєву суміш наносять як мінімум у:

а) один шар;б) два шари;в) три шари;г) чотири шари.

12. При нак леюванні шпалер впритул щілина між полотнищами не повинна бути помітною з відстані:

а) 1 м; б) 3 м; в) 5 м; г) 6 м.

13. Якому рівню якості внутрішніх систем оздоблення мусить відповідати гладка поверхня для підвищених візуальних вимог?

а) Q1; б) Q2; в) Q3; г) Q4.

14. Чи може сучасним рішенням опорядження поверхні стелі бути:

побілка;б) підвісна стеля; в) фарбування;

г) плиткове облицювання?

177 12.13.
а)
Право для безоплатного розміщення підручника в мережі Інтернет має Міністерство освіти і науки України http://mon.gov.ua/ та Інститут модернізації змісту освіти https://imzo.gov.ua

Опалювальні, вентиляційні, сантехнічні й електротехнічні системи у СІП-будинках

РОЗДІЛ 13. ОПАЛЮВАЛЬНІ, ВЕНТИЛЯЦІЙНІ, САНТЕХНІЧНІ

Й ЕЛЕКТРОТЕХНІЧНІ СИСТЕМИ У СІП-БУДИНКАХ

13.1. Монтаж електропроводки в СІП-будинках

Проєктування і монтаж систем опалення, кондиціонування, вентиляції повітря, водопостачання, каналізації, газопостачання і електропостачання будинку треба здійснювати відповідно до чинних будівельних норм і правил. На відміну від малоповерхових будинків з каркасно-обшивними стінами, в яких можна використовувати простір між елементами каркаса у стінах, перегородках, перекриттях для зручної і економної проводки електротехнічних систем, санітарно-технічних трубопроводів, коробів опалювання і вентиляції, у СІП-будинках усі інженерні системи можна монтувати тільки зовні огороджувальних конструкцій, побудованих із СІП-панелей.

По закінченні зведення коробки будинку переходять до його внутрішнього оснащення. Електромонтажні роботи є важливою частиною внутрішнього оснащення будь-якої будівлі.

Електромонтаж — це сукупність усіх робіт, пов’язаних

з електрикою: від прокладання кабельних ліній до підключення усіх електричних приладів.

При відкритому способі електрокабель прокладають у кабель-каналах, металевих рукавах або гофроканалах із ПВХ, електротехнічних плінтусах, які прокладають поверх стін і перегородок.

Проводку у СІП-будинках виконують у чіткій відповідності до норм пожежної безпеки і з дотриманням техніки безпеки. Усі роботи виконують згідно з розробленим проєктом електромонтажних робіт. Існують два способи монтажу електропроводки — відкритий і закритий.

Кабель для електропроводки у СІП-будинках має бути у потрійній негорючій ізоляції, наприклад, марки NYM або ВВГнг. Абревіатура NYM означає: N — стандарт (німецький) Normenleitung; Y — ізоляція полівінілхлоридна (ПВХ); M — монтаж можливий у різних умовах. Варто зазначити, що маркування кабелю NYM може мати різновиди з літерою «J» або «О», які відповідно означають наявність у кабелі жовто-зеленого або синього кольору провода (заземлення або нуль).

До переваг відкритої проводки можна віднести непомітність усіх механічних пошкоджень, можливість у разі потреби встановити додаткову розетку або змінити схему без ризику пошкодити проводку або оздоблення поверхні стіни. Відкрита проводка найбільш пожежобезпечна через помітність місця її займання.

178 13
Право для безоплатного розміщення підручника в мережі Інтернет має Міністерство освіти і науки України http://mon.gov.ua/ та Інститут модернізації змісту освіти https://imzo.gov.ua

При прокладанні внутрішньої

закритої проводки треба використовувати тільки негорючий кабель ВВГнг.

Ця абревіатура означає: В — матеріал ізоляції жил (тут — ПВХ), друга літера В — матеріал зовнішньої оболонки (тут — ПВХ), літера Г свідчить про те, що додатковий захист провідника відсутній; «нг» — кабель не розповсюджує горіння. Якщо перед абревіатурою літера «А» відсутня, то це значить, що жили мідні. Закриту проводку у СІП-панелях можна здійснити, якщо її приховати за гіпсокартонною обшивкою облицювання стін. Недоліком цього способу є незначне зменшення площі приміщення. Зрозуміло, що цей спосіб є доволі вартісним, зате він не тільки приховує проводку, але й суттєво підвищує рівень пожежної безпеки і шумоізоляції від повітряного й ударного шуму у приміщеннях. Приховати електропроводку у СІП-будинку можна також за допомогою гіпсокартонних плит.

На поверхню стіни або перегородки із СІП-панелей закріплюють перший шар із гіпсокартонних плит. На цей шар накладають і закріплюють до нього другий шар, на який наносять розмітку електропроводки. По нанесеній розмітці у гіпсокартоні другого шару штробують борозни й отвори під кабель-канали або гофротрубу, крізь які проходить проводка або кабелі. Завершальним етапом є нанесення третього (захисного) шару гіпсокартону. Цей варіант закритої проводки не тільки підвищує рівень пожежної безпеки і шумоізоляції у приміщенні, а також є гладкою і рівною основою під будь-які оздоблення поверхні стіни або перегородки. Недоліком цього способу є витрати на середній і зовнішній шари гіпсокартону, а також незначна втрата площі приміщення. При прокладанні електропроводки у дерев’яних будинках за гіпсокартонними підвісними стелями або у просторі під підлогами згідно з вказівками ПУЕ (Правила улаштування електроустановок)

усі приховані кабелі та проводи необхідно розташовувати у металеві рукави або у гофротрубу.

Велике значення для якісної електропроводки мають місця розташування вимикачів і штепсельних розеток. Вимикачі зазвичай розташовують усередині кімнати біля вхідних дверей так, щоб після відкриття дверей вимикач можна було дістати рукою. Вимикач може обслуговувати не тільки звичайну стельову люстру або настінне бра, але й штепсельну розетку для настінної лампи або торшера. Вимикачі зазвичай ставлять на висоті 1,4 м над підлогою. Вимикачі з декількома входами — зручні, оскільки дозволяють вмикати й вимикати світло з різних місць будинку. У сучасному будинку з великою кількістю приладів електричні мережі треба розраховувати на 200 ампер.

При виконанні електропроводки у СІП-будинках необхідно дотримуватись низки правил:

треба використовувати тільки негорючі марки кабелю, такі як NYM, ВВГнг-15, ВВГгнд, ППГнг(А)-НГ, ППГнг(А)-FRHF;

при монтажі відкритої проводки у СІП-будинку варто використовувати кабельні канали із вогнезахисних або самозагасальних полімерів; електропроводка в СІП-будинку повинна мати якісний контур заземлення і захист від розряду блискавки;

179 13.1. Монтаж електропроводки
в СІП-будинках
Право для безоплатного розміщення підручника в мережі Інтернет має Міністерство освіти і науки України http://mon.gov.ua/ та Інститут модернізації змісту освіти https://imzo.gov.ua

Опалювальні, вентиляційні, сантехнічні

й електротехнічні системи у СІП-будинках

з метою підвищення пожежної безпеки необхідно встановити пожежну сигналізацію та систему пожежогасіння;

з метою запобігання витоку струму треба улаштувати захисні вимкнення, автоматичні пробки й автоматичні вимикачі (АВ).

з метою зниження навантаження на електромережу варто відмовитись від використання ламп розжарювання на користь світлодіодів;

при проведенні електромонтажних робіт необхідно дотримуватися ПУЕ (Правил улаштування електроустановок).

Контрольні запитання

1. Що таке електромонтаж?

2. Які існують способи електромонтажу?

3. Який кабель для електропроводки застосовують у СІП-будинках?

4. Як прок ладають електрокабель у процесі відкритої електропроводки?

5. Назвіть переваги відкритої електропроводки.

6. Як прок ладають закриту електропроводку в СІП-будинках?

7. Де варто розташовувати вимикачі?

8. Яких правил треба дотримуватися при виконанні електропроводки у СІП-будинках?

9. Які завдання повинні вирішувати інженерні системи у СІП-будинках?

13.2. Системи водопостачання у СІП-будинку

Сукупність інженерних споруд, які виконують завдання водопостачання, називають системою водопостачання, або водопроводом.

Для водопостачання використовують природні джерела води: поверхневі (річки, озера, водосховища) і підземні води (ґрунтові, артезіанські води), джерела.

Система водопостачання може бути централізованою і автономною.

Централізована система забезпечує водою з міського водопроводу усіх споживачів будинків у потрібній кількості з необхідним напором.

Автономна система найчастіше притаманна малоповерховим приватним будинкам, які не можуть з тих чи тих причин бути підключеними до централізованої системи водопостачання і каналізації.

Каналізація — це комплекс інженерних споруд для забезпечення забору і відведення у призначені місця забруднених стічних вод, а також їхнє очищення та знезараження перед утилізацією і скиданням у знижені місця рельєфу (дощові канали, дренажні колодязі, придорожні канави).

Систему каналізації у СІП-будинку розробляють за тією ж схемою, що і систему водопостачання. Система водопостачання у СІП-будинку складається із зовнішнього контуру і внутрішньої розводки труб. Зовнішній контур — це система водозабору, яка бере воду із джерела і транспортує її у будинок по трубопроводу.

180 13
Право для безоплатного розміщення підручника в мережі Інтернет має Міністерство освіти і науки України http://mon.gov.ua/ та Інститут модернізації змісту освіти https://imzo.gov.ua

 Комунікації у будинку монтують за попередньо розробленим проєктом, який містить:

● загальні дані;

● план розташування місць сантехнічних приладів і трас трубопроводів;

● план детального розташування сантехнічних приладів у приміщеннях;

● аксонометричну схему підключення водопостачання;

● специфікацію обладнання.

Â

До проєкту водопостачання додають:

● план прокладання трас трубопроводів на прибудинковій території;

● аксонометричну схему прокладання зовнішніх трубопроводів;

● специфікацію обладнання.

Також, за бажанням замовника, до проєкту можуть додати матеріали щодо обладнання систем водопостачання до резервуарів для збереження води, колекторів для розпилювачів води влітку і поливу газонів, кущів і дерев, а також проєкт басейну тощо. Якщо централізованої подачі гарячої і холодної води немає, то воду доведеться брати, наприклад, зі свердловин, забезпечуючи при цьому достатній її тиск. Для такої системи водопостачання будуть потрібні: труби; насосне обладнання; гідроакумулятор; фільтри.

Для реалізації гарячого водопостачання потрібний двоконтурний газовий або електричний котел, електричний водонагрівач (бойлер) або газові колонки.

Вибір того чи іншого агрегату цілком залежить від виду системи опалення у СІП-будинку. Якщо джерелом постачання є ґрунтові води, то свердловину варто розташовувати на відстані не менше ніж 20 м від вигрібної ями або септика при глинистих ґрунтах ділянки забудови і 50 м  — при піщаних ґрунтах. Артезіанські свердловини можна розташовувати неподалік будинку або в межах його периметра. Залежно від глибини занурення свердловини добирають оптимальне насосне обладнання. Головним елементом схеми водозабору є насос, який можна розмістити безпосередньо у свердловині ( заглибний тип ) або на поверхні ( поверхневий тип ). Заглибні насоси можуть забирати воду з великої глибини, а поверхневі — з глибини 6–8 м. Варто також враховувати, що транспортування води по горизонталі на відстань 10 м дорівнює 1 м підйому із свердловини. Піднята насосом підземна вода надходить у сталевий або пластиковий резервуар гідроакумулятора. У ньому є гумова місткість, в яку накачують повітря. Цей стиснутий об’єм створює тиск у системі та витискає воду до точок розбору. Як відомо, вода не стискається, а повітря таку властивість має, через що в системі виникає тиск. Автоматика стежить за його перепадами. При падінні тиску нижче потрібного вона вмикає насос, при досягненні потрібного тиску — вимикає. Саме таким чином створюють стабільний тиск у системі й нормальну подачу води до точок розбору. Потужність і об’єм гідроакумулятора і потужність насоса добирають

з невеликим запасом, виходячи із пікового варіанту витрат, які визначають

181 13.2. Системи водопостачання у СІП-будинку
Право для безоплатного розміщення підручника в мережі Інтернет має Міністерство освіти і науки України http://mon.gov.ua/ та Інститут модернізації змісту освіти https://imzo.gov.ua

Опалювальні, вентиляційні, сантехнічні й електротехнічні системи у СІП-будинках

Рис. 13.1. Схема водопостачання СІП-будинку зі свердловини: 1 — свердловина; 2 — насос; 3 — зворотний клапан; 4 — поверхня землі; 5 — трубопровід; 6 — фільтр; 7 — гідроакумулятор; 8 — манометр; 9 — реле тиску; 10 — реле сухого ходу; 11 — колба з картриджем очищення; 12 — редуктор тиску; 13 — 220 В; 14 — водонагрівач; 15 — змішувач; 16 — до споживача

складанням втрат води в усіх точках: туалети, раковини, ванни, душі, пральні машини поливи та ін. Схему водопостачання СІП-будинку наведено на рис. 13.1. Частину обладнання насоса заглибного типу доцільно встановити у кесоні — спеціальному колодязі біля свердловини. Це забезпечує тишу в будинку і мінімальну відстань транспортування води до гідроакумулятора. Кесон заглиблюють нижче межі промерзання ґрунту. Для системи водопостачання зі свердловини доцільно використовувати пластикові труби. Вони легкі, довговічні, не бояться корозії, на їхній внутрішній поверхні не утворюється бактеріальний наліт. Їх можна згинати і різати, а також укладати в ґрунт. Для запобігання замерзанню труби треба закладати нижче глибини промерзання ґрунту. Ввід труб у будинок необхідно утеплювати.

У СІП-будинку усі труби треба прокладати на поверхні обшивки СІП-панелей. При монтажі труб прорізують отвори у СІП-панелях. Зазвичай план комунікацій складають на етапі проєктування будинку, тому місця пропуску труб крізь СІП-панелі визначають заздалегідь. Для захисту труб використовують гофровані рукави. У будинку можна використовувати будь-які труби. Традиційними матеріалами є сталеві, чавунні, оцинковані, мідні, з нержавіючої сталі. Проте останнім часом доволі широко розповсюджено полімерні труби, наприклад, поліпропіленові.

Контрольні запитання і завдання

1. Що таке система водопостачання у СІП-будинку?

2. Які джерела води використовують з метою водопостачання?

3. Розкажіть про системи водопостачання для мешканців будинку.

4. Що означає термін «каналізація»?

5. Із яких частин складається система водопостачання у СІП-будинку?

6. Що містить план комунікацій СІП-будинку?

182 13
Право для безоплатного розміщення підручника в мережі Інтернет має Міністерство освіти і науки України http://mon.gov.ua/ та Інститут модернізації змісту освіти https://imzo.gov.ua

7. Яке обладнання потрібне для отримання води зі свердловини?

8. Що потрібно для реалізації гарячого водопостачання СІП-будинку?

9. Як добирають оптимальне насосне обладнання?

10. Від чого залежить потрібна потужність гідроакумулятора і насоса?

11. Намалюйте схему водопостачання СІП-будинку.

12. Де треба прокладати труби у СІП-будинку?

13.3. Системи каналізації у СІП-будинках

Як інші інженерні комунікації у СІП-будинку, каналізаційні труби проводять по поверхні СІП-панелей. При цьому основну увагу треба приділяти сполученням, яких має бути якомога менше, щоб забезпечити надійність системи. Â

Встановлюючи каналізаційні труби у СІП-будинку, доцільно дотримуватися

певних правил:

● установлення каналізаційних труб потрібно здійснювати згідно з розробленим проєктом, в якому визначено нахили труб, місця для встановлення сантехніки;

● під час ук ладання каналізаційних трубопроводів усі труби й інші елементи системи треба міцно і надійно закріпити до поверхні СІП-панелей або іншої монтажної поверхні;

● необхідно використовувати тільки якісні матеріали, при цьому труби та з’єднувальні деталі мають бути одного виробника.

Розташування водопровідних і каналізаційних труб по стінах і перегородках погіршує зовнішній вигляд приміщень будинку. Для того щоб приховати змонтовані по стінах труби, у більшості випадків використовують системи облицювання стін гіпсокартонними плитами по металевому або дерев’яному каркасу або прикривають їх гіпсокартонними коробами. Це незначно зменшує площу приміщення, зате поліпшує звукоізоляцію і пожежну безпеку. Якщо є можливість підключення систем каналізації СІП-будинку до центральної системи, проблем з водопостачанням не виникає. У цьому випадку необхідно провести труби випуску до центральної каналізації і підключити до неї будинок згідно з проєктом. Труби всередині будинку можна прокладати під підлогою або в конструкції підлоги, якщо це можливо.

Якщо до центральної каналізаційної системи підключення не можливе, треба побудувати автономну систему каналізації на земельній ділянці будинку.

 Існує кілька варіантів каналізаційної системи. Їх можна поділити на дві групи:

● накопичувальні споруди  — вигрібні ями і герметичні баки для стоків, вода в яких не проходить процедуру очищення;

● очисні споруди  — різноманітні септики, які певним чином очищають стоки до їхнього потрапляння у ґрунт.

Накопичувальні системи прості у встановленні, проте мають низку суттєвих недоліків. Залежно від конструкції вони потребують постійного, доволі

183 13.3. Системи каналізації у СІП-будинках
Право для безоплатного розміщення підручника в мережі Інтернет має Міністерство освіти і науки України http://mon.gov.ua/ та Інститут модернізації змісту освіти https://imzo.gov.ua

Опалювальні, вентиляційні, сантехнічні й електротехнічні системи у СІП-будинках

частого обслуговування асенізаційною машиною, купівлі фекальних або дренажних насосів. Найпростіші варіанти накопичувачів без герметичної кришки забруднюють верхній шар ґрунту і розповсюджують неприємні запахи у великому радіусі.

Очисні системи у вигляді септиків позбавлені цих недоліків, проте фінансові втрати на їхнє встановлення більш значні. До накопичувальних місткостей належать вигрібна яма і герметичний бак.

Вигрібна яма (рис. 13.2) — найпростіший і мінімально

ефективний варіант. Це відкритий котлован невеликої глибини, у якому накопичують побутові та фекальні маси.

Цей варіант каналізації має низку недоліків — жорстке обмеження витрат води мешканцями будинку, забруднення ґрунту земельної ділянки, розповсюдження неприємних запахів, неможливість використання колодязя на воду, необхідність регулярного очищення. Вигрібні ями переважно використовують на дачах під час тимчасового перебування в них дачників переважно у теплу пору року.

Герметичний бак (рис. 13.3) — більш сучасний варіант каналізаційної споруди.

Завдяки герметизації корпусу з поліетилену, поліпропілену або склопластику витоки рідини і газів зведено до нуля, що оберігає ґрунт від забруднення небезпечними для довкілля стоками. Його недоліки — необхідність економії води у будинку і потреба у регулярному очищенні. Перевагами можна вважати можливість підібрати бак потрібної місткості, а також розташування споруди під землею. Стоки з герметичного бака не можна зливати у ґрунт або зливні канави.

184 13
Право для безоплатного розміщення підручника в мережі Інтернет має Міністерство освіти і науки України http://mon.gov.ua/ та Інститут модернізації змісту освіти https://imzo.gov.ua
Рис. 13.2. Вигрібна яма
Рис. 13.3.
Герметичний бак

Однокамерний септик (рис. 13.4) — доволі проста і відносно дешева споруда у вигляді бака, до якого приєднують стічну трубу, яка виходить із будинку.

Системи каналізації у СІП-будинках

Закопаний у ґрунт септик не пропускає кисень

до себе. Під дією анаеробних бактерій у побутових

і фекальних масах, що накопичуються у септику, починається бродіння і осідання.

Суттєвим недоліком однокамерного септика

є генерація великого об’єму метану і сірководню

у процесі бродіння, через що навіть при наявності

вентиляційного каналу вони можуть потрапити у будинок по стічній трубі.

Двокамерний септик (рис. 13.5) більш сучасний і технологічний варіант однокамерного.

Після потрапляння у перший бак, де важкі

фракції осідають на дно, вони поступово загнивають і вимиваються під дією руху води у другий бак по з’єднувальній трубі, де осідає легка завись. Другий бак забезпечує очищення стоків до рівня 55–60%. Проте щоб очистити стоки краще, трохи нижче другого бака можна розмістити третій бак і потім скинути їх у ґрунт або через трубу на поле фільтрації.

Септик-аеротенк  — це більш складний пристрій, який має активні частини, що працюють від електричної енергії.

Цей варіант септика дає високоефективне очищення стічних вод. Усередині конструкція має 5–6 секцій, в кожній з яких відбувається очищення води. В одній з місткостей є біологічно активний мул з анаеробними бактеріями. Ці мікроорганізми набагато швидше перероблять стоки, але їм потрібне постійне підживлення киснем, для чого у систему вбудовано аератор, в який компресором нагнітають повітря. Він також виконує

185
13.3.
Рис. 13.5. Двокамерний септик з третім баком Право для безоплатного розміщення підручника в мережі Інтернет має Міністерство освіти і науки України http://mon.gov.ua/ та Інститут модернізації змісту освіти https://imzo.gov.ua
Рис. 13.4. Однокамерний септик

Опалювальні, вентиляційні, сантехнічні й електротехнічні системи у СІП-будинках

функцію аероліфта, який підіймає маси мулу з дна місткості і перемішує з новими стоками.

При переливі між баками вода все більше освітлюється. Крім того, конструкція аеротенка передбачає наявність відстійника-жироловки для збору густих субстанцій, крупного піску і жирів. Очищену у такий спосіб воду можна використовувати для технічних цілей або зливати у ґрунт.

Септик з біофільтром (рис. 13.7) призначено для біологічного очищення

стоків з допомогою анаеробних бактерій.

 Принцип роботи системи біологічного очищення:

● Усередині місткість розділено на 2 або 3 секції одна в одній або поруч одна з одною, як показано на рис. 13.7. Усі вони з’єднані переливами.

● Перша секція призначена для збору основної маси відходів твердого типу. Стоки з будинку течуть в неї.

● У другій місткості встановлено колбу з нерозчинним заповнювачем (засипкою). Це може бути керамзит, каміння, полімерні нитки, кокс, пінопласт тощо. Засипка є основним місцем бактерій, яких запускають усередину.

● При перетіканні вода контактує з бактеріями, які активно розмножуються і переробляють відходи людської життєдіяльності.

● Далі вода тече по системі вже очищеною.

Анаеробні бактерії не потребують кисню, вони дуже життєздатні, але їм потрібне постійне підживлення. Тому якщо залишити септик без роботи надовго, бактерії можуть загинути.

Рис. 13.7. Трикамерний енергонезалежний септик біологічного очищення

186 13
Рис. 13.6. Септик аеротенк
Право для безоплатного розміщення підручника в мережі Інтернет має Міністерство освіти і науки України http://mon.gov.ua/ та Інститут модернізації змісту освіти https://imzo.gov.ua

13.4. Опалювальні системи у СІП-будинках. Загальні положення

Рис. 13.8. Система очищення зі встановленим септиком із біофільтром

Септики біологічного очищення зручні тим, що нову порцію бактерій можна запустити через каналізацію. Вони самостійно знайдуть заповнювач, у якому і залишаться.

Септик з біофільтром є найкращим вибором для організації каналізації у СІП-будинку протягом тривалого часу (рис. 13.8). Він має: високий ступінь очищення стоків, нейтральний запах; просту і зрозумілу технологію монтажу конструкції та здатність тривалої роботи в автономному режимі.

Контрольні запитання і завдання

1. Як прок ладають каналізаційні труби у СІП-будинках?

2. Яких правил треба дотримуватися при прокладанні каналізаційних труб?

3. Як можна приховати водопровідні й каналізаційні труби у СІП-будинку?

4. Як відводять неприємні запахи від каналізації?

5. У якому випадку влаштовують автономну каналізацію СІП-будинку?

6. Які види септиків використовують для автономної каналізації?

7. Для чого призначені вигрібна яма і герметичний бак?

8. Що таке однокамерний і двокамерний септики?

9. Що таке септик-аеротенк?

10. Який септик використовують для біологічного очищення стоків за допомогою анаеробних бактерій?

11. Що таке септик з біофільтром? Які він має переваги?

13.4. Опалювальні системи у СІП-будинках. Загальні положення

У будинках із СІП-панелей можливе встановлення і використання будьякого джерела тепла при дотриманні усіх норм і правил пожежної безпеки. Це можуть бути дров’яні печі та каміни, електричні й газові котли, рідинно-паливні (на мазуті, солярці, скрапленому газі, рапсовій олії) і твердопаливні агрегати (на дровах, торф’яних брикетах, вугіллі, палетах), а також конвектори, інфрачервоні обігрівачі, «теплі підлоги», кондиціонери, які працюють від електромережі. Чим би не опалювали СІП-будинок, витрати на його опалення

187
Право для безоплатного розміщення підручника в мережі Інтернет має Міністерство освіти і науки України http://mon.gov.ua/ та Інститут модернізації змісту освіти https://imzo.gov.ua

Опалювальні, вентиляційні, сантехнічні й електротехнічні системи у СІП-будинках

будуть значно меншими, ніж у будинку з інших будівельних матеріалів (цегли, бетону, газобетону, дерева). Його високі теплоізоляційні властивості забезпечують швидкий прогрів і тривале збереження тепла після відключення джерела тепла. Варто також зазначити, що важливими чинниками при обранні опалювального агрегату є вартість комунікацій, регулярне постачання паливних ресурсів. Тому у кожному будинку варто мати декілька джерел тепла. Наприклад, газовий котел, дров’яну піч, електричний обігрівач. Сьогодні через високу вартість альтернативних джерел енергії СІП-будинок ще потребує традиційної системи опалення, яка складається із опалювального агрегату, системи трубопроводів, приладів опалення та, в певних випадках, складів палива і димаря. Додаткове опалення за допомогою, наприклад, електрики у такому будинку необхідне тільки в особливо холодні дні.

Для реалізації системи опалення СІП-будинку необхідно розробити її проєкт. Головне завдання проєктувальника полягає у створені працездатної, надійної, комфортної і екологічної системи опалення. Якість роботи системи опалення залежить не тільки від ретельного її розрахунку, але й також від якості її монтажу і пусконалагоджувальних робіт. Якщо монтаж опалення виконують без заздалегідь підготовленого проєкту і добирають обладнання навдогад, зазвичай дуже завищують потужність і відповідно вартість обладнання. При експлуатації паливної системи завищують потребу в енергоносії (газі, твердому паливі, електриці) та можливі її відмови. Утеплення житла — це основа комфортного мікроклімату в будинку. Але, щоб забезпечити його на тривалий час, потрібно, щоб процес встановлення дверей, склопакетів, оздоблення стін, покриття максимально відповідав проєкту, розробленому спеціалістами.

13.4.1. Газове опалювання СІП-будинків

Отримання тепла за допомогою спалення природного газу є найбільш затребуваним варіантом опалення приватних будинків, зокрема і СІП-будинків. Газові прилади складаються із газового пальника, підвідного газопроводу теплообмінника і, за необхідності, улаштування для видалення продуктів згорання газу. Все інженерне обладнання встановлюють в окремому приміщені. До цього обладнання належать: газовий котел, нагромаджувальний бак, водонагрівачі, розподільна група для водопостачання і опалювання, фільтри. Газові котли можна класифікувати за потужністю — малі до 65 кВт, середні до 1700 кВт, найбільші до 15000 кВт. Для використання у малоповерхових житлових будинках зазвичай застосовують малі та середні газові котли, найбільші котли застосовують на промислових підприємствах. За розташуванням газові котли бувають настінними і наземними. Настінні котли зазвичай розташовують у невеликих будинках, наземні — у приміських житлових будинках. Наземні

котли мають більший розмір і більшу потужність, ніж настінні.

Газові котли класифікують також за кількістю контурів. Це одноконтурні

двоконтурні котли.

188
13
Право для безоплатного розміщення підручника в мережі Інтернет має Міністерство освіти і науки України http://mon.gov.ua/ та Інститут модернізації змісту освіти https://imzo.gov.ua
і

13.4. Опалювальні системи у СІП-будинках. Загальні положення

Рис. 13.9. Схема двоконтурного газового котла: 1 — подача газу; 2 — гаряча вода для побутових потреб; 3 — подавальний трубопровід опалення; 4 — триходовий клапан; 5 — теплообмінник повторний; 6 — газовий пальник; 7 — димар; 8 — теплообмінник; 9 — мембранний бак; 10 — циркуляційний насос; 11 — зворотний трубопровід опалення; 12 — холодна вода

За принципом роботи газові котли поділяють на атмосферні, конденсаційні та турбовані.

Атмосферні газові котли оснащено атмосферними газовими пальниками, вони працюють на зрідженому або природному газі.

Суть конденсаційних котлів —

у максимальному використанні енергії продуктів згорання.

Одноконтурні котли застосовують тільки для систем опалення. Двоконтурні

котли — для системи опалення й постачання гарячої води (рис. 13.9).

Атмосферні газові котли мають низький рівень шуму при експлуатації і широкий діапазон роботи при коливанні тиску газу у трубопроводі.

Турбовані котли оснащено витягальним вентилятором, який створює тягу, необхідну для викиду продуктів згорання і нагнітання у камеру згорання повітря.

Якщо у звичайних газових котлах гази, що відходять разом з парою, нагрівають теплоносій у теплообміннику і виводять назовні, то у конденсаційних котлах пару відводять у додатковий контур, де відбувається додатковий відбір тепла, і у такий спосіб вивільняють приховану у процесі теплообміну теплоту (у таких котлах витрату газу знижено на 30%). Крім того, в них на 70% знижено викид оксидів азоту і чадного газу у порівнянні з іншою опалювальною технікою. Тяга створюється внаслідок природної різниці атмосферного тиску з висотою димаря. Турбонадув дозволяє використовувати горизонтальні димарі для викиду продуктів згорання, що спрощує монтаж котла і не потребує зведення капітального димаря.

Котли бувають з відчиненою і зачиненою камерою згорання. Якщо котел з відчиненою камерою, то він бере повітря із приміщення. При цьому у приміщенні треба забезпечити потрібну вентиляцію, щоб відпрацьовані гази успішно його покидали. У котли із зачиненою камерою повітря подають за допомогою спеціального вентилятора, а виводять через димар. Принцип роботи такого котла можна умовно назвати «труба у трубі». По одній із труб повітря

189
Право для безоплатного розміщення підручника в мережі Інтернет має Міністерство освіти і науки України http://mon.gov.ua/ та Інститут модернізації змісту освіти https://imzo.gov.ua

Опалювальні, вентиляційні, сантехнічні й електротехнічні системи у СІП-будинках

покидає приміщення, а по другій забирають (для таких котлів повітря беруть не тільки із приміщення, але й з вулиці).

Поширеним видом опалення СІП-будинків є радіаторний обігрів.

Це система із газового обігрівального котла, насоса труб і радіаторів. Радіатори, в які надходить теплоносій, займають багато місця і потребують додаткового декорування. Радіатори і труби для транспортування теплоносія закріплюють до стін із СІП-панелей, які завдяки своїй міцності спроможні витримати і важкі батареї, і труби. Цей вид опалення не є дешевим, якщо враховувати вартість енергоресурсу, батарей, труб, фітингів, котла і насоса, вартість установлення обладнання і підключення до газової мережі. Тому замість радіаторного обігріву нерідко використовують систему «тепла підлога».

13.4.2. Система «тепла підлога» при газовому опаленні

СІП-будинку

Система «тепла підлога» більш трудомістка у встановленні, однак не потребує протяжної розводки труб, радіаторів, простору для них. Вона однаково прогріває площу приміщення, зручна в експлуатації: завдяки сучасним терморегуляторам здатна підтримувати різну температуру в різний час доби, може переходити на економний режим вночі. Система «тепла підлога» дозволяє обігріти більшу площу з меншими витратами.

«Тепла підлога» — це система трубок, прокладених під підлогою і з’єднаних з компресором.

У них циркулює тепла вода.

Трубки «теплої підлоги» прокладають рівномірно на всій площі приміщення, через що зменшують перепади температури у різних частинах приміщення. Ця система може зменшувати витрати на опалення за рахунок того, що воду нагрівають у межах 30–50 °С. Швидкий нагрів приміщення здійснюється завдяки рівномірному підняттю теплого повітря від підлоги до стелі, що сприяє комфорту перебування людини у приміщенні. Для забезпечення у приміщенні нормального клімату достатньо підтримувати температуру підлоги у діапазоні 25–35 °С, тоді як радіатор повинен бути нагрітим до температури 65 °С. « Теплі підлоги» можна розташовувати зонами, наприклад, у кухні, ванній, у відкритій частині спальні, на балконі, у зоні відпочинку вітальні.

Існує дві основні технології улаштування «теплої підлоги» — мокра і суха.

Сухий спосіб улаштування «теплої підлоги» полягає в укладанні труб у спеціальні металеві ламелі. Цей спосіб застосовують, якщо є обмеження щодо товщини «теплої підлоги» або навантаження на перекриття.

У більшості випадків застосовують мокру технологію  — замонолічування нагрівальних труб у стяжку (рис. 13.10).

Пошарово типова «тепла підлога» складається з утеплювача (пінополістирольної плити), товщина якого залежить від того, що розташовано під ним.

190 13
Право для безоплатного розміщення підручника в мережі Інтернет має Міністерство освіти і науки України http://mon.gov.ua/ та Інститут модернізації змісту освіти https://imzo.gov.ua

13.4. Опалювальні системи у СІП-будинках. Загальні положення

Рис. 13.10. Конструкція теплої підлоги: 1 — перекриття; 2 — труба теплої підлоги; 3 — кріпильний профіль; 4 — фольга; 5 — цементна стяжка; 6 — чиста підлога; 7 — утеплювач; 8 — стрічка на краю; 9 — перегородка

Якщо це земля або неутеплене перекриття, то приймають максимальну товщину — 7–10 см, неутеплене приміщення — 5–7 см, житлове приміщення — 2–5 см. Поверх утеплювача (7) укладають фольгу (4) з розміткою або піноплен (мати) з уже приклеєною фанерою. На поверхні фольги укладають кріпильний профіль (3), а поверх нього — нагрівальні труби (2) «теплої підлоги» за розрахованою схемою і з визначеним кроком. Крок укладання труб коливається від 10 до 20 см. По периметру приміщення розташовують крайову стрічку із поліетилену (8), яка запобігає розтріскуванню стяжки, коли вона зміщується від нагріву.

Досвід експлуатації СІП-будинку дав змогу зробити висновок, що газові колонки, газові котли та інше потужне обладнання більше підходять для малоповерхових цегляних будинків. Газове опалення розраховано на великі тепловитрати і через високу вартість газифікації СІП-будинку може стати для нього обтяжливим. Отже, його встановлення у СІП-будинку у більшості випадків виявилося недоцільним і невигідним.

Контрольні

запитання і завдання

1. Які джерела тепла можуть застосовувати у СІП-будинках?

2. Які чинники необхідно враховувати при обранні опалювального агрегату?

3. Із чого складається традиційна система опалення СІП-будинку?

4. У чому основне завдання проєктувальника опалювальної системи у СІП-будинку?

5. Від чого залежить якість роботи системи опалення?

6. Як к ласифікують газові котли?

7. Намалюйте схему двоконтурного газового котла.

8. Як працюють конденсаційні газові котли?

9. Як працюють турбовані газові котли?

10. Що входить до системи радіаторного обігріву при газовому опаленні?

11. Що таке система опалення «тепла підлога»?

12. Намалюйте конструкцію «теплої підлоги».

13. Про що свідчить досвід використання

191
газового опалення у СІП-будинках?
Право для безоплатного розміщення підручника в мережі Інтернет має Міністерство освіти і науки України http://mon.gov.ua/ та Інститут модернізації змісту освіти https://imzo.gov.ua

Опалювальні, вентиляційні, сантехнічні й електротехнічні системи у СІП-будинках

13.5. Електричне опалення СІП-будинків

Електричне опалення житлового будинку — це не тільки можливість обігріти житло, а ще й найбільш екологічний тип перетворення одного виду енергії в інший без забруднення довкілля.

Електричне опалення найчастіше використовують там, де неможливо підключити житловий будинок до газової магістралі, оскільки потрібні великі кошти для підведення до нього газової труби, або існують точні вимоги щодо екологічності приладів для обігріву. Опалення будинків із СІП-панелей з використанням електроенергії можна здійснювати кількома способами: за допомогою електричних котлів і застосуванням електричних улаштувань, таких як система «тепла підлога», повітряне опалення, приладів опалення, а саме: радіаторів, конвекторів, тепловентиляторів, кондиціонерів. Сьогодні ринок пропонує сучасні, ще більш економічні й екологічні рішення для обігріву житлових

будинків за допомогою нестандартних обігрівальних систем — сонячних колекторів, теплових насосів, вакуумних радіаторів, інфрачервоних обігрівачів.

13.5.1. Електричні котли

Найбільш поширеною системою обігріву є система з електричними котлами і радіаторами.

Електричний котел — це прилад, в якому для нагріву води, що використовують

поза цим улаштуванням, застосовують теплоту, яка виділяється при перетворенні електроенергії в теплову енергію.

Конструктивно електричні котли поділяють на класичні, іонні та індукційні. Названі типи електричних котлів відрізняються один від одного способом нагріву теплоносія. Теплоносій — це рухоме рідке або газоподібне середовище, яке використовують для теплообміну. Теплоносієм в електричних котлах є вода або незамерзаючі рідини — антифризи, дозволені для використання в опалювальних системах будинків.

Принцип дії класичного котла засновано на перетворенні електроенергії у теплову за допомогою ТЕНів (трубчастих нагрівачів), вмонтованих у сталевий бак-теплообмінник (рис. 13.11).

Рис. 13.11. Схема електричного класичного котла: 1 — гідрогрупа; 2 — запобіжний клапан; 3 — розширювальний бак; 4 — ТЕН; 5 — бак-теплообмінник; 6 — теплова ізоляція; 7 — повітряний вентиль; 8 — насос; 9 — датчик тиску; 10 — випуск гарячого теплоносія; 11 — вхід холодного теплоносія

192
13
Право для безоплатного розміщення підручника в мережі Інтернет має Міністерство освіти і науки України http://mon.gov.ua/ та Інститут модернізації змісту освіти https://imzo.gov.ua

Електричне опалення СІП-будинків

ТЕН поступово нагріває теплоносій, який, циркулюючи в опалювальній системі, потрапляє в радіатори (батареї) опалення і обігріває приміщення. Процес опалення регулюють за допомогою кімнатного регулятора, який реагує на зниження температури сигналом про необхідність її підвищення. Внутрішній температурний датчик контролює потрібну температуру теплоносія.

Якщо у приміщеннях досягнуто потрібної температури, подальший нагрів вимикається, а через установлений час вимикається циркуляційний насос і разом з ним — рух теплоносія.

Функціонування кімнатних терморегуляторів дозволяє отримати економію електроенергії від 20 до 30%. Перевагою класичного котла є те, що в ньому практично відсутній струм витоку, тому можна застосувати аварійну автоматику, наприклад, УЗВ (улаштування захисного вимкнення). Класичні (одноконтурні) ТЕНові котли призначено тільки для опалення малоповерхових житлових будинків, побудованих із СІП-панелей, але вони не вирішують проблему відсутності гарячої води, коли немає централізованого водопостачання. Отже, власники СІП-будинків мусять зігрівати воду самостійно або користуватися електричними проточними чи накопичувальними водонагрівачами — бойлерами.

Класичні одноконтурні ТЕНові котли мають низку незаперечних переваг. Вони більш дешеві, ніж газові, компактні, безпечні та безшумні, крім того, простіші у монтажі й експлуатації. Через невелику вагу і компактність їх можна монтувати на стіни у підсобних приміщеннях, кухнях, підвалі і навіть у житлових кімнатах. Вони економічні, не створюють запахів і шкідливих викидів. У них відсутнє відкрите полум’я, через що не потрібен димар, а також місткість для палива.

Недоліками цих котлів вважають залежність від стабільного електропостачання, необхідність окремої електропроводки, високу вартість електроенергії. Крім того, треба зазначити, що ресурс ТЕНів обмежений. Можлива жорсткість води руйнує ТЕНи. Для подовження термінів служби треба встановити

фільтр води для запобігання утворення накипу на їхній поверхні.

Найбільш часто у СІП-будинках використовують радіаторну систему опалення, яка складається із класичного ТЕНового котла, насоса, труб і радіаторів.

Двоконтурні ТЕНові агрегати класичних котлів є оптимальним рішенням для одночасного забезпечення опалення і гарячого водопостачання. Зрозуміло, що цей варіант підійде для місцевості, де електрика — єдине джерелом енергії. На рис. 13.13 зображено схему системи опалення і водопостачання, у складі якої присутній двоконтурний ТЕНовий котел. Робота агрегату полягає в тому, що електрика перетворюється на тепло за допомогою ТЕНів, встановлених у теплообміннику для нагріву теплоносія, циркуляцію якого здійснює насос.

У двоконтурних ТЕНових агрегатів є дві камери з незалежними контурами. Один контур нагріває воду для потреб мешканців, а другий — для опалення будинку.

Обладнання двоконтурного котла містить: два терморегулятори, розширювальний бак, запобіжний клапан, повітропровід, по якому повітря видаляється із системи, циркуляційний насос і автоматика. Двоконтурний,

193 13.5.
Право для безоплатного розміщення підручника в мережі Інтернет має Міністерство освіти і науки України http://mon.gov.ua/ та Інститут модернізації змісту освіти https://imzo.gov.ua

Опалювальні, вентиляційні, сантехнічні й електротехнічні системи у СІП-будинках

Рис. 13.12. Схема системи опалення і гарячого водопостачання СІП-будинку: 1 — двоконтурний котел; 2 — умивальник; 3 — душ; 4 — ванна; 5 — трубопровід; 6 — радіатор

як і одноконтурний, котел працює в автоматичному режимі. Якщо датчик фіксує зниження температури у будинку, то за його сигналом вмикається котел і насос. Коли потрібної температури у приміщеннях будинку досягнуто, здійснюють вимкнення окремих блоків.

Різні за потужністю електричні котли використовують різну кількість енергії. Вони можуть бути однофазні або трифазні . Електрокотли потужністю до 12 кВт виготовляють однофазними (живлення 220 В), а котли потужністю більше 12 кВт — тільки трифазними (живлення 380 В). Потрібну потужність електрокотла можна приблизно розрахувати: 1 кВт потужності є достатнім для обігріву 10 м 2 добре утепленого приміщення при висоті його стелі до 3 м.

Використання електрики дає можливість улаштувати «теплу підлогу», в якій тепло виділяють спеціальні багатошарові нагрівальні кабелі, які прокладають під підлогою (рис. 13.13). Їх температуру регулюють термостатом. Кабельна система є нагрівальним матом, який складається із сітчастої основи і закріпленого до неї кабелю. Таку систему обігріву підлоги можна використовувати як додаткове джерело тепла і як основне.

Рис. 13.13. Нагрівальний кабель теплої підлоги: 1,5 — з’єднувальна муфта; 2,4 — монтажний провід; 3 — нагрівальний кабель; 6 — зовнішня оболонка із ПВХ пластифікату; 7 — нагрівальні жили; 8 — екран із мідних дротів; 9 — прикінцева муфта

194 13
13.5.2. Електрична «тепла підлога»
Право для безоплатного розміщення підручника в мережі Інтернет має Міністерство освіти і науки України http://mon.gov.ua/ та Інститут модернізації змісту освіти https://imzo.gov.ua

13.5.

Електричне опалення СІП-будинків

Рис. 13.14. Теплий мат: 1 — сітчаста основа; 2 — нагрівальний кабель

Теплий мат (рис. 13.14) розкручують на підготовлену рівну основу, покриту теплоізоляцією, яка потрібна для того, щоб мінімізувати втрати тепла і запобігти обігріву перекриття. Отже, теплоізоляція відбиває тепло і спрямовує його всередину зони обігріву.

Якщо треба зробити поворот, надрізають сітку. Потім закладають датчик температури підлоги у гофровану трубку або металорукав. Система «тепла підлога» рівномірно розподіляє тепло на поверхні й створює оптимальний тепловий режим у приміщенні: тепло для ніг людини, приємну температуру на рівні тіла і найбільш прийнятну на рівні голови.

Якщо кабельну підлогу на сітці закладають під ламінат, ковролін або лінолеум, то стяжка під покриття підлоги буде потрібна, проте товщина її не перевищуватиме 3 см. Зазначмо, що кабелі підлоги не укладають у зонах розташування меблів або сантехнічного обладнання.

Інший тип електричних «теплих підлог» — інфрачервоні підлоги. Такі підлоги виробляють у вигляді двошарової плівки з вуглецевими нагрівальними елементами і струмопровідною мідною фольгою, яка має товщину 0,5 мм, що дає змогу майже цілком зберегти висоту приміщень у незмінному вигляді — на відміну від інших «теплих підлог».

Інфрачервона підлога під час її експлуатації дозволяє економити до 60% електроенергії, яку витрачають на обігрів приміщення. Інфрачервону плівку для «теплої підлоги» з електричним обігрівом показано на рис. 13.15.

Рис. 13.15. Інфрачервона

нагрівальна плівка для теплої

підлоги

195
Право для безоплатного розміщення підручника в мережі Інтернет має Міністерство освіти і науки України http://mon.gov.ua/ та Інститут модернізації змісту освіти https://imzo.gov.ua

Опалювальні, вентиляційні, сантехнічні й електротехнічні системи у СІП-будинках

Використовуючи «теплу підлогу» з кабельною системою обігріву, треба ретельно обирати матеріал чистої підлоги. Основними матеріалами чистої підлоги для СІП-будинків є: паркет, ламінат, ковролін, керамічна і кам’яна плитка. Нагрівальний мат — це виріб, який максимально спрощує монтаж. Його

можна укладати як у нові підлоги, так і такі, що підлягають ремонту, на стяжку або старе кахельне покриття, у шар клею для плитки. Працює система в автоматичному режимі і підтримує комфортну температуру підлоги за допомогою терморегулятора. Терморегулятори для встановлення всередині приміщення можуть керувати системою «теплої підлоги» (використовують датчик температури підлоги) або системою повного опалення (використовують датчик температури повітря і підлоги), рідше — датчик тільки температури повітря. Сучасні системи «теплої підлоги» дають змогу дистанційно керувати усіма системами обігріву будинку за допомогою центральної сенсорної панелі.

Контрольні запитання

1. Назвіть способи електричного опалення СІП-будинків.

2. На які типи поділяють електричні котли?

3. Що таке теплоносій?

4. Як контролюють процес опалення приміщення будинку і потрібну температуру теплоносія?

5. Назвіть переваги і недоліки класичних електричних котлів.

6. Що входить у систему радіаторного електричного опалення СІП-будинку?

7. Як можна приблизно визначити потрібну потужність електрокотла?

8. Намалюйте конструкцію кабельної підлоги на сітці з теплим матом і покриттям із ламінату, ковроліну чи лінолеуму.

13.5.3. Конвекторне опалення СІП-будинків

Конвекція (від лат. convectio — принесення, доставка) — переміщення макроскопічних частинок середовища (газу, рідини), яке спричиняє масо- і теплообмін.

Конвектор — це вид опалювальних приладів системи опалення, в якому майже усе тепло від теплоносія передається в приміщення конвекцією.

Розрізняють природну (вільну) конвекцію, яку викликає неоднорідність середовища (градієнтами температури і щільності), і вимушену, зумовлену механічною дією на середовище.

Принцип дії конвекції — природна циркуляція повітря у приміщенні через те, що щільність теплого повітря менша ніж холодного. Тепле повітря підіймається угору. Корпус конвектора зроблено так, що холодне повітря, проходячи крізь отвори у кожній його частині, контактує з ребрами нагрівального елемента і, нагріваючись, виходить назовні крізь отвори у верхній частині корпусу. Отже, завдяки спрямованому рухові теплого повітря відбувається швидкий і рівномірний обігрів приміщення.

196
13
Право для безоплатного розміщення підручника в мережі Інтернет має Міністерство освіти і науки України http://mon.gov.ua/ та Інститут модернізації змісту освіти https://imzo.gov.ua

Електричне опалення СІП-будинків

Рис. 13.16. Спрямування руху повітряних потоків у приміщенні при обігріві його внутрішнім підлоговим конвектором: 1 — віконні прорізи; 2 — настил підлоги; 3 — ОСП-обшивка СІП-панелі; 4 — сердечник СІП-панелі; 5 — чиста підлога (покриття підлоги)

Існують декілька видів конвекторів: підлоговий (наземний), плінтусний, внутрішній підлоговий, настінний. Внутрішні підлогові конвектори поділяють на два види: з вентилятором, який інтенсифікує теплообмін, і без вентилятора, з природною циркуляцією повітря.

У найбільш спрощеному варіанті конвектор виглядає як прямокутний металевий корпус, усередині якого розташовано нагрівальний елемент — теплообмінник, вентилятор, спеціальні пластини, фільтри. До конвектора надають

декоративну решітку і пульт дистанційного керування.

Опалення приміщення будинку конвекторами засновано на принципі спрямування руху повітряних потоків (рис. 13.16), коли тепле повітря завжди підіймається вгору, а холодне опускається униз через різні їхні щільності.

Конструкція електричного настінного конвектора доволі проста. Нагрівальний елемент, який підключено до електромережі, розташовано усередині металевого або керамічного корпусу (конвекційній камері). Термостат (механічний або електронний) із зовнішнього боку передньої панелі дозволяє регулювати температуру нагріву.

Підлогові конвекторні

обігрівачі за конструкцією не відрізняються від настінних. Але на відміну від настінних, вони мають ролики для зручності пересування на потрібне місце у приміщенні.

Окрім електричних нагрівачів у вигляді ТЕНів, які широко використовують в електричних конвекторах настінного, підлогового або внутрішньо-підлогового типу, у конвекторах можуть використовувати водяні й парові теплоносії, які передають тепло повітрю через трубчасті нагрівачі з ребрами із алюмінію. До конвекторів з водяним теплоносієм належать системи опалення «теплий плінтус». Систему «теплий плінтус» також вважають різновидом водяного опалення, радіатори якого виконано із мідно-алюмінієвих сплавів. Ці радіатори мають висоту до 20 см. Їх прок ладають уздовж усіх стін приміщення і прикри -

Рис. 13.17. Фрагмент системи опалення «теплий плінтус»

197
13.5.
1 5 2 4 3 Право для безоплатного розміщення підручника в мережі Інтернет має Міністерство освіти і науки України http://mon.gov.ua/ та Інститут модернізації змісту освіти https://imzo.gov.ua

Â

Опалювальні, вентиляційні, сантехнічні й електротехнічні системи у СІП-будинках

вають декоративним захисним профілем. Тепло від такого плінтуса рівномірно розподіляється в усьому приміщенні, через що в ньому відсутні холодні зони.

Для комфортної та безпечної роботи конвектор повинен мати такі функції:

● датчик перекидання. Якщо конвектор перекинувся, то спеціальне пристосування всередині корпусу автоматично вимикає живлення;

● таймер. Дає можливість встановлення потрібного часу для обігріву;

● регулювання температури. Користувач може задавати потрібну температуру. Конвектори придатні для опалення приміщень будь-якого типу: кімнати квартири малоповерхового будинку і, зокрема, СІП-будинку; кімнати квартири багатоповерхового будинку, офісне приміщення, гараж, павільйон. Площа обігріву цих приміщень залежить від моделі конвектора і коливається від 5 до 27 м2. Потужність конвекторів для їхнього обігріву може коливатися від 500 до 2500 Вт.

13.5.4. Теплові вентилятори для обігріву приміщень

малоповерхових будинків

Використання теплових

вентиляторів — це доволі простий, зручний і швидкий спосіб покращення теплового балансу в приміщеннях малоповерхових будинків і, зокрема, СІП-будинків.

Теплові вентилятори — це повітряно-опалювальні агрегати, які поділяють на два типи: водяні теплові вентилятори та електричні теплові вентилятори.

Теплові вентилятори відрізняються за типом теплообмінника, функціональністю і використанням.

У корпусі цих пристроїв в один або декілька рядів розташовано теплообмінники різної конструкції, частіше трубчасті з пластинчастим ребруванням для ефективного теплозйому. Встановлені позаду осьові вентилятори захоплюють повітря із приміщення і проганяють повітряний потік крізь калорифери-теплообмінники. Повітряний потік від них за допомогою жалюзі спрямовують у потрібному напрямку.

У водяних теплових вентиляторах використовують тепло гарячої води, яку нагрівають за допомогою віддалених котлів (електричних, газових або твердопаливних) і подають у теплообмінник через систему трубопроводів. На рис. 13.18 зображено водяний тепловий вентилятор.

Рис. 13.18. Водяний тепловий вентилятор

В електричних тепловентиляторах у ролі теплообмінників різної потужності виступають ТЕНи або електронагрівачі у вигляді металевої спіралі чи керамічної пластини. Підбір тепловентиляторів здійснюють на основі технічних розрахунків і проєктних рішень з урахуванням усіх

198 13
Право для безоплатного розміщення підручника в мережі Інтернет має Міністерство освіти і науки України http://mon.gov.ua/ та Інститут модернізації змісту освіти https://imzo.gov.ua

Електричне опалення СІП-будинків

Рис. 13.19. Побутові теплові електричні вентилятори

характеристик будівлі, режиму її функціонування та умов експлуатації опалювального обладнання.

У побуті (житлові будинки, квартири) використання тепловентиляторів має широке і різноманітне розповсюдження. Існує низка побутових електричних тепловентиляторів невеликої потужності для використання в заміських будинках, на дачах, під час будівельних робіт, у гаражах. Вони зручні, мобільні, продуктивні, не потребують великої потужності електромережі (рис. 13.19).

Розрізняють стаціонарні й переносні тепловентилятори. До стаціонарних належать підлогові, настінні, стельові тепловентилятори. Стельові тепловентилятори використовують для обігріву приміщень з високими стелями і вирівнювання температури між підлогою і стелею. Настінні швидко нагрівають повітря у кімнатах.

Сучасні побутові тепловентилятори мають багато додаткових функцій і можливостей управління: фільтри повітря, термостати, іонізатори повітря, таймери. За стандартної висоти приміщення (до 2,7 м) на обігрів 10 м2 площі знадобиться

1 кВт потужності побутового тепловентилятора.

 До переваг побутових тепловентиляторів належать:

● швидке нагрівання і розподіл повітря у приміщенні;

● компактність і естетичність;

● відк лючення у випадку падіння;

● захис т від перегріву.

 Недоліками тепловентиляторів є:

● шум при роботі, особливо на підвищених обертах;

● пересушування повітря у приміщенні;

Рис. 13.20. Тепловий вентилятор «повітряна завіса»

● неприємний запах від пилу, який згорає на металевій спіралі; керамічні нагрівальні елементи мають нижчу температуру і не спалюють пил. До тепловентиляторів належать теплові завіси. Це агрегати, які створюють плоский і потужний потік повітря в локальній області. Вони створюють повітряний бар’єр у відкритому прорізі для запобігання втрат теплого повітря у приміщенні (рис. 13.20).

199
13.5.
Право для безоплатного розміщення підручника в мережі Інтернет має Міністерство освіти і науки України http://mon.gov.ua/ та Інститут модернізації змісту освіти https://imzo.gov.ua

Â

Опалювальні, вентиляційні, сантехнічні й електротехнічні системи у СІП-будинках

Швидкість потоку настільки велика, що він створює повітряну перепону для холодного зовнішнього повітря, через що тепле повітря залишається всередині приміщення. Теплові завіси використовують для розділення зон з різною температурою. Вони ефективні для споруд загального користування:

супермаркетів, офісних центрів, павільйонів. Використовують їх у приватних будинках також.

Контрольні запитання і завдання

1. Що таке конвектор?

2. За рахунок чого відбувається швидкий і рівномірний прогрів приміщення конвектором?

3. Із яких частин складається конвектор?

4. Як визначити потрібну потужність конвектора для обігріву певного приміщення?

5. Назвіть переваги конвекторного опалення.

6. У чому відмінність електричного конвектора від масляного обігрівача?

7. Що пришвидшує нагрів приміщення масляним нагрівачем?

8. Як працюють тепловентилятори?

9. Які теплоносії використовують у тепловентиляторах?

10. Яку потужність повинна мати теплова гармата?

11. Де використовують тепловентилятори?

12. Що таке теплові повітряні завіси?

13.5.5.

Інфрачервоні обігрівачі

Серед опалювальних приладів окрему нішу займають інфрачервоні обігрівачі (ІЧ-обігрівачі). Щоб зрозуміти, як вони працюють, варто звернути увагу на способи передачі теплової енергії.

Таких способів є два:

● Конвекція: будь-який предмет, температура якого вища, ніж температура довкілля, передає своє тепло повітрю, яке, нагріваючись, втрачає свою щільність, через що спрямовується вгору і витісняє більш щільне холодне повітря. Отже, у просторі приміщення виникає циркуляція повітряних мас різної щільності і температури.

● Променисте тепло: поверхня предметів, температура яких перевищує 60 °С, починає інтенсивно випромінювати електромагнітні хвилі у діапазоні 0,75–100 мкм, які несуть теплову енергію. На цьому ґрунтується робота інфрачервоних обігрівачів, нагрівальні елементи яких продукують такі хвилі. Теплові промені інфрачервоного спектра і визначеної спрямованості за своїми властивостями найбільше наближені до променів Сонця. Вони прогрівають не повітря, а предмети, людей і тварин, які розташовані у зоні їхньої дії. Прогрів триває 5–10 хвилин. Вже прогріті інфрачервоним промінням предмети віддають накопичене тепло повітрю, яким заповнене приміщення. Так поступово відбувається прогрів усього приміщення. Використовуючи ІЧ-обігрівачі, спочатку

200 13
Право
підручника в мережі Інтернет має
освіти і науки України http://mon.gov.ua/ та Інститут модернізації змісту освіти https://imzo.gov.ua
для безоплатного розміщення
Міністерство

Електричне опалення СІП-будинків

прогрівають предмети і стіни безпосередньо в зоні перебування людини (поблизу робочого місця, у зоні відпочинку, біля спального місця). Такий принцип роботи дає змогу прогрівати приміщення з меншими затратами електроенергії.

За типом енергоносія усі ІЧ-обігрівачі поділяють на електричні, газові, рідиннопаливні. Для обігріву побутових приміщень використовують електричні й газові ІЧ-обігрівачі.

Електричні ІЧ-обігрівачі використовують нагрівальні елементи різних видів: карбонові спіралі; трубчасті ТЕНи; галогенні лампи; плівкові мікатермічні панелі.

Електричні ІЧ-обігрівачі умовно поділяють на світлові й темнові.

Рис. 13.21. Світловий ІЧ-обігрівач

Світлові, або короткохвильові мають нагрівальні елементи у вигляді скляних трубок зі спіралями всередині. Вони можуть нагріватися до температури більше 600 °С і випромінювати яскраве світло (рис. 13.21). Ці прилади продукують великий інтенсивний обігрів у тому напрямку, куди спрямовано їхні нагрівальні елементи.

Рис. 13.22. Темновий ІЧ-обігрівач

Темнові, або двохвильові обігрівачі мають робочу температуру менше 600 °С. Їх випускають у вигляді плівок або тепловидільних панелей (рис. 13.22). На рис. 13.23 пок азано електричний стельовий двохвильовий обігрівач з живленням від електромережі.

Рис. 13.23. Електричний стельовий двохвильовий ІЧ-обігрівач

Газові ІЧ-обігрівачі є джерелом інфрачервоного випромінювання, яке виділяє нагрітий керамічний елемент. Найбільш комфортний для людини діапазон інфрачервоного випромінювання — від 5,6 до 100 мкм. Ці обігрівачі треба встановлювати на відстань 6–12 м від цілі. На рис. 13.24 показано будову газового ІЧ-обігрівача. Принцип його роботи аналогічний електричному, але отримання теплової енергії відбувається від газового пальника, який нагріває керамічну пластину до 900 °С.

Рис. 13.24. Будова газового ІЧ-обігрівача: 1 — подача газу; 2,8 — повітря; 3 — дифузор; 4 — змішувальна камера; 5 — корпус із нержавіючої сталі; 6 — керамічна пластина; 7 — система кратерних отворів

201 13.5.
Право для безоплатного розміщення підручника в мережі Інтернет має Міністерство освіти і науки України http://mon.gov.ua/ та Інститут модернізації змісту освіти https://imzo.gov.ua

Рис. 13.25. Газовий ІЧ-обігрівач побутового призначення

Опалювальні, вентиляційні, сантехнічні й електротехнічні системи у СІП-будинках Нагріта керамічна пластина випромінює інфрачервоні промені у приміщення. Газові ІЧ-обігрівачі більш мобільні, ніж електричні, оскільки вони працюють, беручи газ від балона, який встановлюють поруч або віддалено від обігрівача завдяки довгому шлангу. Конструкція деяких обігрівачів передбачає розташування балона всередині корпусу. На рис. 13.25 показано газовий ІЧ-обігрівач з балоном. Якщо встановити масляний обігрівач на відкритому повітрі, то майже все тепло, яке він продукує, буде звітрюватись угору, а при дії легкого вітерцю його не буде відчутно навіть на близькій відстані. Інфрачервоне випромінювання навіть при сильному вітрі проникає крізь повітря і продовжує обігрівати людей. Це свідчить про можливість обігріву на відкритому просторі: веранді, терасі, у вуличних кафе, патіо, відкритих місцях, де проводять роботи.

На рис. 13.26 наве дено приклад розташування стінового ІЧ-обігрівача, спрямованого на обігрів відкритої ділянки.

13.5.6. Кондиціонер як спосіб опалення

СІП-будинки можна також обігрівати звичайними кондиціонерами, які широко використовують для охолодження повітря в кімнатах малоповерхових житлових будинків або квартир та офісів багатоповерхових будівель.

Рис. 13.27. Кондиціонер з дистанційним пультом керування

Отже, у міжсезоння кондиціонери здатні не тільки охолоджувати повітря у кімнатах, але й швидко зігрівати його без серйозних витрат електроенергії. На відміну від працюючих теплових вентиляторів, кондиціонери майже не продукують шуму. Вони не займають багато місця. У малоповерхових будинках їх можна монтувати на зовнішніх стінах і стінах кімнат. Кондиціонери мають привабливий вигляд і тому у більшості випадків непогано вписуються в інтер’єр (рис. 13.27).

Рис. 13.26. Встановлення ІЧ-обігрівача для обігріву відкритої ділянки

202 13
Право для безоплатного розміщення підручника в мережі Інтернет має Міністерство освіти і науки України http://mon.gov.ua/ та Інститут модернізації змісту освіти https://imzo.gov.ua

Контрольні запитання і завдання

1. Назвіть способи передачі теплової енергії.

2. На чому ґрунтується принцип роботи ІЧ-обігрівачів?

3. Як відбувається прогрівання приміщень ІЧ-обігрівачем?

4. Які ІЧ-обігрівачі використовують для обігріву побутових приміщень?

5. У яких діапазонах (мкм) працюють ІЧ-обігрівачі з короткою, середньою і дальньою діями?

6. Намалюйте схему улаштування стельового двохвильового ІЧ-обігрівача.

7. Як працює газовий ІЧ-обігрівач?

8. Які переваги мають ІЧ-обігрівачі?

9. Які недоліки є у ІЧ-обігрівачів?

10. За яких умов використовують кондиціонер для опалення приміщень?

13.6. Каміни, печі й димарі

13.6.1. Загальні відомості про каміни й камінні топки

Камін (грец. вогнище) — відкрита

піч, яка зігріває кімнати безпосередньо полум’ям палива, що в ній згорає.

Каміни не тільки зігрівають будинки, а й дарують естетичну насолоду, оскільки деякі з них є справжніми витворами мистецтва. Каміни поділяють на дві великі групи —

з  відкритою топкою , спорудженою з вогнетривкої цегли, і  закритою топкою , яку виготовляють з чавуну або сталі з футеруванням вогнетривкою цеглою.

Отже, за способом опалення будинку каміни можуть бути з  відкритою

топ кою , з  повітряним опаленням і з  водяним опаленням (рис. 13.28).

Рис. 13.28. Варіанти опалення камінами: а — камін з відкритою топкою; б — камін з повітряним опаленням; в — камін з водяним опаленням; 1 — димар; 2 — зуб; 3 — портал; 4 — колосник; 5 — канал-розподільник теплого повітря; 6 — труба димаря; 7 — решітки для виводу нагрітого повітря; 8 — корпус каміна; 9 — водяний плащ; 10 — закрита камінна топка; 11 — холодне повітря; 12 — холодна вода; 13 — нагріта вода

203 13.6.
Каміни, печі й димарі
Право для безоплатного розміщення підручника в мережі Інтернет має Міністерство освіти і науки України http://mon.gov.ua/ та Інститут модернізації змісту освіти https://imzo.gov.ua

Опалювальні, вентиляційні, сантехнічні

й електротехнічні системи у СІП-будинках

Рис. 13.29. Схема повітряного опалення каміном з топкою, оснащеною вентилятором: 1 — розподільник повітря; 2 — фільтр; 3 — вентилятор; 4 — розподільна коробка; 5 — трійник; 6 — анемостат; 7 — коліно; 8 — дросель

Топку каміна може бути оснащено повітряним вентилятором, що підвищує

ККД каміна. У конструкції каміна передбачено додатковий кожух, який концентрує

нагріте повітря і розподіляє його по приміщеннях, які прогріваються досить швидко. Тепло у приміщеннях зберігається при роботі вентиляторів і під час опалення каміном. У разі відсутності електрики камін працює так, як із закритою топкою.

Схему роботи камінного повітряного опалення з топкою з повітряним вентилятором показано на рис. 13.29. Топка з водяним контуром (рис. 13.28 в) також має ККД вищий, ніж у відкритої топки. Така топка не може бути основним джерелом тепла в будинку. Але при правильному підключенні до наявної системи опалення вона може її суттєво розвантажити. Схему роботи камінного водяного опалення показано на рис. 13.30. Більшість камінів, які побудовано за останніх 5 років, — це каміни із закритою топкою. Безсумнівними перевагами закритих топок є пожежна безпека, ефективна акумуляція тепла й неможливість викиду сажі з топки у приміщення при виникненні зворотної тяги. Зазначмо також, що за умови правильного

Рис. 13.30. Схема роботи повітряного камінного водяного опалення будинку: 1 — циркуляційний насос; 2 — трубопровід; 3 — водяний плащ; 4 — нагріта вода; 5 — охолоджена вода; розширювальний бак; 7 — тверде паливо

204 13
Право для безоплатного розміщення підручника в мережі Інтернет має Міністерство освіти і науки України http://mon.gov.ua/ та Інститут модернізації змісту освіти https://imzo.gov.ua

розташування вентиляційних каналів закриті топки здатні обігріти кілька суміжних приміщень, а топки з водяним контуром можуть стати гарною альтернативою стандартному способу обігріву будинку.

За формою каміни бувають фронтальними, кутовими і фронтально-кутовими, а також підвісними. За способами оформлення й опорядження розрізняють мармурові каміни, каміни з природного каменю, каміни з черепашника, каміни із кахлю.

13.6.2. Камінні димарі

Для забезпечення нормального функціонування камінів необхідно мати димарі. Димарі та каміни можна споруджувати з цегли. Через досить велику вагу їх розташовують на окремому фундаменті. Сьогодні найчастіше використовують каміни та димарі заводського виготовлення, які не потребують окремого фундаменту й можуть бути розташовані на міжповерхових перекриттях. Димар повинен створювати необхідну тягу для забезпечення і підтримування горіння палива та викиду продуктів згорання.

Димарі та каміни розташовують усередині будинків, а не на зовнішніх стінах, що дає їм такі переваги: збереження тепла; відносно незначна руйнація ц егляної кладки через конденсат топкових газів. Димар із теплими стінками забезпечує кращу тягу й більш ефективний викид топкових газів і диму. Розміри димаря залежать від кількості димових каналів, їхньої величини і розташування у димарі. Товщина стінок димаря із повнотілої цегли має дорівнювати 75 мм. К амін повинен мати окремий димар. Цегляний з часом руйнується, що робить його подальшу експлуатацію небезпечною. Для можливості продовження експлуатації димаря у таких випадках застосовують гільзівку димарів.

Найбільш поширеним способом гільзівки каналу димаря на випадок відводу газів і диму від камінів і газових котлів є використання нержавіючих труб, які поміщають у наявний цегляний димар, забезпечуючи при цьому герметичність каналу, який улаштовують. Термін експлуатації такого каналу — кілька десятків років. Недоліком цього способу гільзівки є те, що необхідно частково розбирати стіни, а потім їх відновлювати, і це потребує додаткового часу. Більшість металевих труб заводського виготовлення для утворення каналів димарів випускають секціями, які з’єднують між собою під час встановлення. Ці труби мають порівняно невелику вагу, завдяки чому їх можна обпирати на балки перекриття і закріплювати за допомогою спеціальних анкерних болтів.

Димовий канал димаря має бути досить високо над дахом, щоб дим не зносило униз при зміні напрямку вітру. Труба повинна підійматись на висоту

не менше ніж 900 мм над найбі льш високою точкою її перетину з дахом і не менше ніж на 600 мм над гребенем або іншою точкою даху в межах 3 м від труби. Розмір димаря залежить від розміру прорізу каміна й повинен дорівнювати десятій частині площі цього прорізу. Проте зовнішні розміри димаря

не повинні бути меншими ніж 200 х 300 мм.

205 13.6.
Каміни, печі й димарі
Право
Інститут
для безоплатного розміщення підручника в мережі Інтернет має Міністерство освіти і науки України http://mon.gov.ua/ та
модернізації змісту освіти https://imzo.gov.ua

Опалювальні, вентиляційні, сантехнічні й електротехнічні системи у СІП-будинках

13.6.3. Конструкція цегляного каміна

При будівництві каміна з цегли з одним прорізом і відкритою топкою треба керуватися певними правилами.

На рис. 13.31 пок азано розріз цегляного каміна з одним прорізом в аксонометрії, який дає змогу побачити розташування різних частин каміна.

Відкрита передня частина каміна має бути ширшою від задньої стінки. Задню с тінку у верхній частині має бути нахилено уперед до димаря для сприяння кращому режиму горіння палива. Висота вертикальної частини задньої стінки каміна (до початку її нахилу) має дорівнювати половині висоти переднього прорізу, а ширина — двом третинам ширини прорізу. Для зменшення протитяги роблять димову полицю, яку утворюють максимальним зміщенням горловини уперед. Горловина має бути максимально широкою і неглибокою, проте її загальна площа повинна дорівнювати площі димаря. Сторони каміна вище горловини утворюють зрізану піраміду, яка переходить у димар, розташований зазвичай над серединою ширини каміна. Кут нахилу сторін пірамідальної частини не повинен перевищувати 45° до вертикалі. Футерування топки каміна виконують із матеріалу, який має високий тепловий опір. Цій вимозі відповідають призначені для цього сталеве футерування або вогнетривка цегла товщиною 50 мм. Якщо використовують цеглу, то її кладуть на вогнетривкому цементі. При використанні футерування з вогнетривкої цегли — товщиною 50 мм. Задн я стінка і боковини каміна повинні мати товщину 190 мм, у тому числі футерування. Окремі частини задньої стінки, якщо вони входять до складу зовнішньої стіни, можуть мати товщину 140 мм. При зас тосуванні сталевого футерування з повітряною камерою для циркуляції повітря навколо топки товщина задніх і бічних стінок із повнотілої цегли може становити 90 мм, а із пустотілої — 190 мм.

Рис. 13.31. Цегляний камін з одним прорізом:

1 — футерування димаря; 2 — димова камера;

3 — димова полиця; 4 — засув; 5 — горловина; 6 — вогнетривка цегла; 7 — отвір зольника;

8 — задня частина підлоги топки (черінь);

9 — зольник; 10 — дверцята для прочистки зольника; 11 — передня частина підлоги топки; 12 — облицювання каміна; 13 — камінна дошка; 14 — внутрішнє опорядження стіни будинку

206
13
Право для безоплатного розміщення підручника в мережі Інтернет має Міністерство освіти і науки України http://mon.gov.ua/ та Інститут модернізації змісту освіти https://imzo.gov.ua

Димова заслінка — це великий клапан у горловині каміна, яким можна керувати зовні для регулювання тяги. Існує багато типів димових заслонок. При виборі заслінки необхідно брати до уваги, що якість функціонування каміна залежить від розмірів заслінки та її відповідності до розмірів горловини. Заслінку необхідно повністю і дуже щільно зачиняти, щоб у зачиненому положенні не допускати втрат тепла через димар, коли каміном не користуються.

Підлогу топки (черінь) можна розташовувати на рівні підлоги кімнати або трохи вище. Вона складається з двох частин: передньої з опорядженням і задньої вогневої. Оскільки задня частина підлоги топки зазнає теплових навантажень, то її зазвичай роблять з вогнетривкої цегли. Передня частина підлоги топки служить для захисту від іскр, її роблять із залізобетону товщиною 100 мм, який покривають декоративними керамічними плитками. Передня частина має виходити за проріз каміна принаймні на 400 мм пере д ним і на 200 мм з боків.

Контрольні запитання

1. Назвіть основні правила, яких треба дотримуватись при будівництві каміна.

2. Що таке димова заслінка і для чого вона призначена?

3. Що треба брати до уваги, встановлюючи каміни заводського виготовлення?

4. Як треба сполучати вихідні діаметри топки каміна з діаметром димаря?

5. Яку масу має витримувати перекриття, щоб можна було встановити камін заводського виготовлення?

6. У яких місцях варто встановлювати каміни та інші опалювальні прилади?

7. Як розрізняють каміни за формою і способами оформлення та опорядження?

8. Який варіант опалення будинку каміном є найгіршим і чому?

9. Які переваги при опаленні будинку мають каміни зі сталевою або чавунною топкою? Що є недоліком таких камінів?

10. Якими можуть бути димарі камінів? Для чого їх використовують, і де доцільно розташовувати?

11. Як здійснюють гільзівку димарів? Яка гільзівка димарів найбільш поширена?

12. На якій висоті над дахом має бути димовий канал димаря?

13.6.4. Печі. Елементи конструкцій і класифікація

Попри величезну кількість сучасних опалювальних систем, багато хто обирає саме печі. Пічне опалення малоповерхових будинків нині стало настільки досконалим, що досить відчутно впливає на вибір опалюваної споруди та її планування.

Перш ніж встановлювати у споруді піч, необхідно визначитися з її архітектурними особливостями і призначенням. На можливість встановлення печей як опалювальних приладів впливає багато чинників: це і місце розташування споруди, і матеріал, з якого їх зроблено, і кількість поверхів у будинку. Часто використання печі за прямим призначенням доповнюється декоративною функцією.

207 13.6. Каміни, печі й димарі
Право для безоплатного розміщення підручника в мережі Інтернет має Міністерство освіти і науки України http://mon.gov.ua/ та Інститут модернізації змісту освіти https://imzo.gov.ua

Опалювальні, вентиляційні, сантехнічні

й електротехнічні системи у СІП-будинках

Піч  — це споруда, у якій в результаті горіння палива або перетворення електричної енергії виділяється теплота, яку використовують для опалення, теплової обробки продуктів харчування і різних матеріалів.

Пічна конструкція складається з кількох елементів і частин. Перший елемент створює оптимальні умови для згорання палива, а другий призначено для якнайкращого використання теплової енергії, отриманої в результаті згорання енергоносія.

Конструкція печі складається з двох основних частин — надтопкової і  підтопкової . До першої належать камера (повітряна і  варочна), конвективна система, бак, витяжка і димар. До другої — зольник, гідроізоляція, шанці, фундамент.

Рис. 13.32. Конструкція печі для будинку: 1 — дверцята піддувала; 2 — дверцята топки; 3 — ніша; 4 — заслінка (шибер); 5 — прочисні дверцята

Залежно від джерела теплоти печі можуть бути плазмовими чи електричними. До основних ознак пічних улаштувань належать експлуатаційні характеристики, функціональне призначення та технологічні особливості. За функціональним призначенням печі бувають як одно-, так і багатоцільовими.

Одноцільові пічні конструкції розраховані на виконання тільки однієї функції, наприклад: обігрів приміщення, сушіння чого-небудь або ж приготування їжі.

Двоцільові печі  — це такі споруди, які можуть виконувати більше ніж одну функцію, а саме: термічні операції, сушіння чого-небудь, опалення. Такі печі можна використовувати для випікання хліба, а також обробки сільгосппродукції й отримання кисломолочних продуктів.

Рис. 13.33. Конструкція печі для лазні: 1 — колосникова решітка; 2 — зольник (піддувало); 3 — топка з термостійкої нержавіючої сталі; 4 — закрита кам’янка для первинного випаровування; 5 — канал для подачі вторинного повітря; 6 — труба; 7 — дозатор для води; 8 — димар; 9 — каміння для отримання сухої легкої пари; 10 — зовнішній кожух-конвектор; 11 — виносний паливник; 12 — самоохолоджувальні топкові дверцята; 13 — висувний ящик для золи (попелу)

Печі поділяють також за теплоємністю. Вони можуть бути теплоємнісними (рис. 13.32) і  нетеплоємнісними (рис. 13.33). Завдяки своїй здатності акумулювати тепло теплоємнісні печі можуть підтримувати у будинку постійну температуру. Такі пристосування дають змогу розпалювати вогонь частіше, ніж один раз на добу. Печі використовують зазвичай для обігріву будинків, у яких постійно перебувають люди. Щодо нетеплоємнісних печей, то їх виготовляють з чавуну або сталі. Такі печі, як правило, характеризуються або повною відсутністю здатності акумулювати тепло, або ж вона

208 13
Право для безоплатного розміщення підручника в мережі Інтернет має Міністерство освіти і науки України http://mon.gov.ua/ та Інститут модернізації змісту освіти https://imzo.gov.ua

незначна. Ці пристосування складаються з паливника без димооберту, тому температура газу, який відходить від печі, значно вища, ніж у теплоємнісних печей. Їх використовують найчастіше для обігріву споруд із короткочасним перебуванням людей.

За формою у плані пічні улаштування можуть бути квадратними або прямокутними, багатогранними або круглими кутовими. Тип палива, яке використовують у печах, є ще однією ознакою, за якою їх можна розрізняти. Таким паливом може бути вугілля, дрова, газ, тирса, солома, торф, рідке паливо і лушпиння.

13.6.5. Пічне опалення приватного будинку

На сьогодні опалення у дерев’яному житловому приватному будинку здійснюють із використанням різних опалювальних систем. Це можуть бути прилади, які працюють на газі, рідкому паливі або електриці. Здебільшого ці системи обходяться власнику житла досить дорого. Тому багато людей обирають печі для повітряного опалення. Як і багато років тому, пічне опалення малоповерхових будинків є доволі популярним, оскільки це найбільш проста система опалення. Особливо для приватного дерев’яного будинку. Для того щоб прогріти приміщення, достатньо кинути дрова у топку і затопити піч. Найбільш популярними є сучасні печі для опалення будинку, які працюють на твердому паливі тривалого горіння. Ці печі вирізняються привабливим зовнішнім виглядом і простотою в експлуатації (рис. 13.34).

Рис. 13.34. Піч, яка працює на твердому паливі тривалого горіння

Їх виготовляють заводським способом із чавуну або сталі. Часто перед споживачем виникає питання: яку піч придбати — сталеву чи чавунну? Відповідь на це запитання неоднозначна, оскільки обидва варіанти мають свої «за» і «проти».

Чавун — це матеріал, що має чудові ливарні якості, тому з нього можна виготовляти усі елементи печі, не тільки внутрішні, а й зовнішні, з орнаментом та іншими елементами обробки.

Печі з чавуну вирізняються неперевершеною довговічністю, оскільки чавун менше, ніж сталь, піддається корозії і, крім того, більш жаростійкий.

Чавун має високу теплопровідність і у 1,5 раза швидше від реш ти печей переносить тепло. Конструкція з чавуну на 60 % ефективніше нагріває приміщення порівняно зі сталевою. Чавун не деформується при різких змінах температури, як сталь, чим вигідно відрізняється від сталевих виробів. Чавунна топка або піч із чавуну довговічна: у середньому вона служить 10–30 років бе з здійснення додаткової герметизації. Конструкції з чавуну доцільно встановлювати у приміщеннях, які потребують швидкого прогрівання.

209 13.6. Каміни, печі й димарі
Право для безоплатного розміщення підручника в мережі Інтернет має Міністерство освіти і науки України http://mon.gov.ua/ та Інститут модернізації змісту освіти https://imzo.gov.ua

210 13

Опалювальні, вентиляційні, сантехнічні й електротехнічні системи у СІП-будинках

 Водночас чавунні печі мають низку недоліків:

● При сильному нагріві та різкому охолодженні виріб з чавуну може луснути, оскільки чавун характеризується великою крихкістю і низьким коефіцієнтом лінійного розширення. Через це стінки усіх елементів чавунних печей роблять

товщиною від 10 до 14 мм, що забезпечує чавунній печі велику масу — від 180 до 220 кг і більше.

● Чавун дуже важко зварювати, тому конструкцію печі неможливо обладнати конвекційними каналами та іншими пристосуваннями для підвищення обігріву приміщення. Тож кам’янки чавунних печей роблять зі сталі досить великими, здатними вмістити 300–400 кг к аміння, щоб забезпечити ефективне прогрівання приміщення. Отже, в підсумку маса чавунної печі з кам’янкою, заповненою камінням, становить 500–600 кг на 1 м2, тому піч треба встановлювати на фундаментну плиту або посилювати підлогу. Усе це: витрати на каміння для кам’янки, значне дорожчання робіт з монтажу, відмова від застосування нових технологій через неможливість зварювати чавун — причина високої вартості чавунних печей.

Сталеві печі теж мають свої переваги, головною з яких є їхня невелика вага — 70–120 кг, оскільки для виготовлення усіх елементів печі використовують

сталеві листи товщиною від 4 д о 8 мм.

Перевагою сталі є те, що її легко зварювати, і це робить можливим конструювання печі з різноманітними улаштуваннями для ефективної конвекції, тому в кам’янки сталевих печей не треба укладати велику кількість каміння, що разом з невеликою масою самої печі робить її монтаж простим і доступним у будь-якій частині приміщення, без улаштування фундаменту або посилення підлоги. Застосування жаростійкої нержавіючої сталі для зовнішньої обробки створює широкі можливості для дизайнерів, а для прихильників ретро зовнішній кожух печі облицьовують шляхетним полірованим каменем. Сталеві печі більш доступні за ціною, ніж дорогі печі з чавуну.

Недоліками сталевих печей тривалий час вважають високу корозію сталі, імовірність деформації при нагріванні, більш низьку, порівняно з чавуном, жаростійкість. Проте це було актуально раніше. З використанням сучасних технологій недоліки звели до мінімуму.

Контрольні запитання і завдання

1. Що беруть до уваги при оцінці можливості встановлення печей у будинках?

2. З яких елементів і частин складається піч?

3. За якими ознаками здійснюють класифікацію печей?

4. Як поділяють печі залежно від джерела теплоти?

5. Які є печі за функціональним призначенням?

6. Які варіанти існують при розташуванні печей у приміщенні?

7. Назвіть вимоги, яких треба дотримуватись при розташуванні печей у приміщеннях.

8. Яку систему опалення варто використовувати у малоповерхових дерев’яних приватних будинках?

Право для безоплатного розміщення підручника в мережі Інтернет має Міністерство освіти і науки України http://mon.gov.ua/ та Інститут модернізації змісту освіти https://imzo.gov.ua

9. Із яких матеріалів виготовляють печі у заводських умовах для використання твердого палива із тривалим горінням?

10. У яких приміщеннях доцільно використовувати чавунні печі?

11. Назвіть переваги і недоліки сталевих печей.

12. Схарак теризуйте сучасні печі, які працюють на твердому паливі тривалого горіння.

13.7. Теплові насоси

13.7.1. Робота теплового насоса

Тепловий насос  — це система, яка здатна перенести тепло від менш нагрітого тіла до більш нагрітого, підвищуючи його температуру.

Для забезпечення роботи теплового насоса потрібна витрата енергії, яка не повинна перевищувати об’єм виробленої енергії. Робота теплового насоса ґрунтується на оборотному циклі Карно (французький фізик, 1796–1832), який є оборотним круговим процесом, що складається з двох ізотермічних процесів і двох адіабатичних процесів (рис. 13.35).

Рис. 13.35. Цикл Карно, який чинить ідеальний газ. У процесі 1–1’ ізотермічного розширення при термодинамічній температурі Т1 газу надають теплоту (Q1 >0), а в процесі 2–2’ ізотермічного стиснення при термодинамічній температурі Т2 <Т1 від газу відводять теплоту (Q2<0)

У зворотному циклі Карно довколишнє середовище є джерелом низькокондиційного тепла. Нагрітий у трубах теплоносій, наприклад, соляний розчин, за допомогою циркуляційного насоса спрямовують у випаровувач (теплообмінник) (рис. 13.36). У випаровувачі теплового насоса є холодоагент, який перебуває у стані рідини під низьким тиском. Процес випаровування потрібен для того, щоб холодоагент поглинув тепло із теплообмінника.

Рис. 13.36. Схема роботи теплового насоса: 1 — випаровувач; 2 — компресор; 3 — конденсатор; 4 — переохолоджувач; 5 — дросель (розширювальний клапан)

211 13.7. Теплові насоси
Право для безоплатного розміщення підручника в мережі Інтернет має Міністерство освіти і науки України http://mon.gov.ua/ та Інститут модернізації змісту освіти https://imzo.gov.ua

Опалювальні, вентиляційні, сантехнічні й електротехнічні системи у СІП-будинках

Згідно з другим законом термодинаміки, тепло передається від тіла з високою температурою до тіла з низькою температурою. Саме на цьому етапі роботи теплового насоса холодоагент з низькою температурою, проходячи по теплообміннику (випаровувачу), відбирає тепло від теплоносія (соляного розчину), який піднявся по трубах зі свердловини, де відібрав низькокондиційне тепло гірських порід (випадок з використанням ґрунтового теплового насоса). У зоні постійних температур у будь-який час року температура гірських порід становить 9–11 °С. У свердловину опускають труби, у яких циркулює соляний розчин (теплоносій) під дією циркуляційного насоса. У процесі циркуляції теплоносій нагрівається до максимально можливої температури. Після відбору тепла з гірських порід теплоносій надходить у випаровувач, в який по найтонших капілярах під високим тиском потрапляє спеціальний холодоагент, подібний до фреону. Оскільки у випаровувачі тиск значно менший, відбувається швидке випаровування холодоагенту і активний відбір тепла від теплоносія.

Зазначмо: поглинання тепла можливе під час випаровування речовини, а віддача тепла відбувається під час конденсації. Під час нагріву холодоагента від теплоносія він змінює стан, переходячи із рідкого у газоподібний через закипання і випарування. Отже, зі стану рідини холодоагент перейшов у газ, який відібрав тепло у теплоносія.

На наступному етапі холодоагент у газоподібному стані потрапляє у компресор, який стискує холодоагент (фреон), через що різко підвищується його температура (до 80–120 °С). Д алі холодоагент з високою температурою надходить у конденсатор, який теж є теплообмінником. У конденсаторі під час конденсації відбувається віддача тепла від холодоагента до теплоносія опалювального контуру (у систему «теплої підлоги» або в радіатори водяного опалення). У конденсаторі холодоагент із газової фази знову переходить у рідкий стан з виділенням тепла, яке використовується для системи опалення і гарячого водопостачання.

Холодоагент, який частково втратив тепло, надходить до переохолод жувача, де він втрачає тепло, нагріваючи воду в системі гарячого водопостачання. Далі відбувається зниження тиску холодоагента та його розширення, тобто холодоагент готується до повернення робочого циклу. Для цього його пропускають через дросель (вузький отвір терморегулювального вентиля — розширювального клапана). У результаті холодоагент розширюється, через що падає його температура і тиск, при якому він знову готовий закипати і поглинати тепло.

Цикл повторюється доти, поки система опалення і гарячого водопостачання не отримає від теплового насоса необхідний об’єм тепла.

13.7.2. Типи теплових насосів. Сфери використання

За видом передачі енергії теплові насоси бувають компресійні і  адсорбційні .

До основних елементів компресійного теплового насоса належать: компресор,

212 13
конденсатор, розширювач, випаровувач. У роботі теплового Право для безоплатного розміщення підручника в мережі Інтернет має Міністерство освіти і науки України http://mon.gov.ua/ та Інститут модернізації змісту освіти https://imzo.gov.ua

213 13.8. Вентиляція СІП-будинків

насоса використовується цикл стиснення — розширення теплоносія з виділенням тепла. Компресійні теплові насоси найбільш розповсюджені у побуті та промисловості.

До адсорбційних теплових насосів належать машини нового покоління.

Як робоче тіло вони використовують пару адсорбент–хладон. Використання

адсорбента підвищує ефективність роботи теплового насоса. За джерелами тепла виділяють насоси: геотермальні, для яких тепло беруть із ґрунту або води; повітряні (теплова енергія — з повітря); насоси, що використовують повторне тепло (повітря, води, каналізаційних стоків).

Поширення теплових насосів у побуті і промисловості пов’язано з такими їхніми перевагами: економічність (для передачі в опалювальну систему 1 кВт год теплової енергії насоса потрібно всього 0,2–0,35 кВт год електроенергії); простота експлуатації (спрощення вимог до систем вентиляції приміщень, підвищення рівня пожежної безпеки, можливість переключення із зимового режиму опалення на літній режим кондиціювання); компактність

і безшумність (потребує мало місця і не продукує шуму під час роботи).

Загальним недоліком теплових насосів є не дуже висока температура води в системі гарячого водопостачання — 50–60 °С.

Усе вище викладене свідчить про те, що використання теплового насоса — це ефективне, практичне у монтажі, екологічне й економічне рішення для організації опалення і гарячого водопостачання у малоповерховому енергое фективному житловому будинку.

Контрольні запитання

і завдання

1. Як залежно від глибини розподіляється температура у земній корі?

2. Що таке тепловий насос?

3. На чому ґрунтується робота теплового насоса?

4. Намалюйте схему теплового насоса.

5. На які типи поділяють теплові насоси?

6. Що належить до основних елементів компресійного теплового насоса?

7. Що підвищує ефективність роботи адсорбційних теплових насосів?

8. Що таке коефіцієнт перетворення?

9. За яких умов тепловий насос буде ефективним?

10. Які переваги сприяють поширенню теплових насосів у побуті та промисловості?

11. Назвіть загальний недолік теплових насосів.

13.8.

Вентиляція СІП-будинків

СІП-будинки дуже схожі на термоси, в яких відсутність щілин і продухів у конструкції хоч і дуже сприяє збереженню тепла всередині будинку, але практично зовсім унеможливлює потрібний повітрообмін. На жаль, не завжди питання вентиляції належним чином проробляють ще у процесі проєктування, через що побудований будинок практично не має потрібного повітрообміну. Це суттєво погіршує умови проживання в ньому і не сприяє санітарним

виПраво для безоплатного розміщення підручника в мережі Інтернет має Міністерство освіти і науки України http://mon.gov.ua/ та Інститут модернізації змісту освіти https://imzo.gov.ua

Опалювальні, вентиляційні, сантехнічні й електротехнічні системи у СІП-будинках

могам його експлуатації. Ось чому в європейських та інших країнах будинки з СІП-панелей заборонено запускати в експлуатацію без повноцінної системи вентиляції. Тому у вартість квадратного метра СІП-будинку необхідно додавати вартість системи його вентиляції, без якої будинок-термос буде неповноцінним і проблемним під час експлуатації.

Питання вентиляції у СІП-будинках треба вирішувати до початку опоряджувальних робіт у ньому, а саме тоді, коли вже закінчено зведення огороджувальних конструкцій.

Вентиляція — це система заходів із забезпечення повітрообміну у приміщеннях будинку для створення повітряного середовища, сприятливого для здоров’я людини і відповідного до вимог збереження обладнання і будівельних конструкцій, матеріалів, продуктів тощо.

Разом із прийнятною якістю повітря вентиляція повинна забезпечувати потрібний рівень його вологості. Нормальну якість повітря забезпечує видалення забруднень і запахів.

Підвищений рівень вологості у будинку також негативно впливає на здоров’я мешканців, якщо внаслідок нього виникають умови для утворення плісняви. Крім того, підвищена вологість спричиняє пошкодження огороджувальних конструкцій будинку, особливо його дерев’яного каркаса та інших елементів із деревини.

13.8.1. Типи вентиляції СІП-будинків

Розрізняють вентиляцію з  природним спонуканням, коли рух повітря відбувається завдяки різниці температур внутрішнього і зовнішнього повітря і дії вітру, і з  механічним спонуканням , яке забезпечує вентиляційна система, що витягає повітря з будинку назовні або втягує повітря у приміщення, чи робить і те й інше разом.

Механічну вентиляцію потрібної потужності доцільно встановлювати в усіх призначених для цілорічного проживання будинках, в яких готують їжу, купаються і миють підлогу. Для видалення значної кількості вологи може знадобитися постійна механічна вентиляція на повільній швидкості. У деяких випадках механічна вентиляція, що постійно працює на великій швидкості, необхідна для видалення забруднень, які виникають у результаті фарбування стін або присутності великої кількості людей. У будинках, мешканці яких ведуть малоактивний спосіб життя або відсутні протягом тривалого часу, для підтримки чистоти повітря механічну вентиляційну систему можна вмикати періодично

і на нетривалий час.

Для житлових малоповерхових будинків можна використовувати самостійні вентиляційні системи та вентиляційні системи, об’єднані з повітряним опаленням.

Самостійні вентиляційні системи (не пов’язані з повітряним опаленням) складаються з вентиляторів, коробів, решіток і регулювань, які витягують повітря із одних кімнат і подають його в інші кімнати будинку. Такі системи мають ту перевагу, що вони призначені тільки для вентиляції й не пов’язані з опаленням або кондиціюванням. Повітря, яке надходить ззовні, треба підігрівати або охо -

214 13
Право для безоплатного розміщення підручника в мережі Інтернет має Міністерство освіти і науки України http://mon.gov.ua/ та Інститут модернізації змісту освіти https://imzo.gov.ua

13.8. Вентиляція СІП-будинків

лоджувати, щоб у приміщенні зберігалась нормальна температура. Самостійні вентиляційні системи зазвичай встановлюють у будинках, які не опалюють повітряною системою опалювання.

Вентиляційні системи, поєднані з повітряним опаленням, відрізняються

від самостійних систем тим, що у них і у системи опалення спільні розподільні короби, через які свіже повітря подають в опалювані кімнати. При цьому рег улювання вентиляції й опалювання є сумісним, тобто вентилятор опалювальної установки змішує повітря (свіже і нагріте), яке надходить у розподільні короби.

13.8.2. Типи вентиляторів з рекуперацією тепла

Вентилятори з рекуперацією тепла (ВРТ) є частиною системи повітряного опалення будинку.

Рекуператор — це теплообмінник поверхневого типу

для використання теплоти

газів, що відходять, в якому

теплоту від гарячого теплоносія безперервно

холодному через стінку, яка їх розділяє.

Рекуператори бувають із прямотоком, протитоком і з перехресним током, із пласкими або циліндричними поверхнями (гладенькими чи ребристими). Рекуператори широко застосовують як повітронагрівачі. Вентилятори з рекуперацією тепла відбирають тепло з повітря, яке викидається з будинку, і передають його повітрю, що надходить у будинок ззовні. Численними дослідженнями встановлено, що при тривалому використанні ВРТ є рентабельною альтернативою звичайним системам, і економія енергії компенсує відносно значні початкові капітальні вкладення. Ці вентилятори настільки підвищують температуру повітря, яке подають у будинок, що додатковий підігрів уже не потрібний.

передають

Сьогодні випускають два типи ВРТ: пластинчасті й колісного типу.

Пластинчасті теплообмінники працюють за принципом паралельного або протитічного потоку тепла (рис. 13.37) через осердя з пластмасових

Рис. 13.37. Вентилятор з рекуперацією тепла пластинчастого типу: 1 — пластинчастий теплообмінник; 2 — подача зовнішнього повітря в будинок; 3 — викид повітря назовні; 4 — дренажна труба; 5 — вентилятор подачі повітря; 6 — забирання повітря ззовні; 7 — вентилятор викиду; 8 —

215
назовні Право для безоплатного розміщення підручника в мережі Інтернет має Міністерство освіти і науки України http://mon.gov.ua/ та Інститут модернізації змісту освіти https://imzo.gov.ua
викид

Опалювальні, вентиляційні, сантехнічні й електротехнічні системи у СІП-будинках

Рис. 13.38. Вентилятор

з рекуперацією тепла

колісного типу: 1 — теплове колесо; 2 — подача повітря у будинок; 3 — викид повітря назовні; 4 — вентилятор забирання повітря; 5 — забирання повітря; 6 — вентилятор викиду; 7 — викид назовні

або металевих пластин. Потоки зовнішнього і внутрішнього повітря обтікають

перемінні сусідні пластини. При обміні тепла між сусідніми пластинами волога конденсується і стікає у дренажний трубопровід. З огляду на це при використанні пластинчастих теплообмінників часто потрібне зволоження повітря для підтримання вологості на прийнятному рівні.

У теплообмінниках колісного типу використовують колесо, зроблене зі зневоднюваного матеріалу (рис. 13.38). При проходженні внутрішнього повітря через теплообмінне колесо цей матеріал вбирає утримувану у внутрішньому повітрі вологу, а коли колесо потрапляє у потік зовнішнього повітря, воно віддає йому вологу та тепло. При використанні вентиляторів цього типу зволоження повітря у приміщеннях зазвичай не потрібне, як і не потрібна дренажна труба.

Обидва типи ВРТ можна встановлювати як у вигляді окремої вентиляційної системи, так і у вигляді системи, з’єднаної з повітряним опаленням. Якщо система правильно змонтована, то вона забезпечує збалансовані потоки повітря, яке входить у будинок і виходить із нього, причому повітряний тиск усередині будинку залишається на нормальному рівні. Ця особливість робить їх ідеально придатними для встановлення у будинках з такими пристосуваннями на тязі як печі й каміни. Окрім того, деякі типи ВРТ можуть працювати у рециркуляційному режимі, розподіляючи тепло від твердопаливних установок по всьому будинку. Потоки повітря при роботі рекуператора не змішуються, і завдяки цьому повітря в кімнаті залишається чистим і свіжим, а головне — теплим.

Контрольні запитання і завдання

1. Чим небезпечна підвищена вологість повітря у будинку?

2. Які є способи вентиляції будинку?

3. Назвіть способи підвищення ефективності природної вентиляції будинку.

216 13
Право для безоплатного розміщення підручника в мережі Інтернет має Міністерство освіти і науки України http://mon.gov.ua/ та Інститут модернізації змісту освіти https://imzo.gov.ua

4. У яких випадк ах доцільно встановлювати механічну вентиляцію приміщень будинку?

5. Коли доцільно встановлювати самостійні вентиляційні системи?

6. Чим відрізняються вентиляційні системи, поєднані з повітряним опаленням, від самостійних вентиляційних систем?

7. Що таке рекуператори тепла?

8. Для чого застосовують рекуператори?

9. Як працюють вентилятори з рекуперацією тепла (ВРТ)?

10. Чим відрізняються вентилятори із пластинчастими теплообмінниками від вентиляторів з теплообмінниками колісного типу?

11. Від чого залежить ефективність роботи вентиляційних систем будинку?

 Тестові завдання

1. Скільки способів електропроводки буває у СІП-будинках?

а) Один; б) два; в) три; г) чотири.

2. На як у силу струму розраховують електромережі у СІП-будинках з великою кількістю електроприладів?

а) 100 ампер;б) 150 ампер;в) 200 ампер;г) 250 ампер.

3. На якій відстані треба розташувати свердловину від вигрібної ями або септика, якщо джерелом постачання є ґрунтова вода?

а) 10 м; б) 15 м; в) 20 м; г) 50 м.

4. Де можна розташовувати артезіанські свердловини?

а) Усередині будинку; б) неподалік від будинку (5–10 м);

в) на відстані не менше 50 м від будинку.

5. З якої глибини можуть підіймати підземну воду поверхневі насоси?

а) 5 м; б) 8 м; в) 10 м; г) 15 м.

6. На якій висоті вище покрівлі монтують вентиляційний стояк?

а) 50 см; б) 1 м; в) вище гребеня даху.

7. До якого рівня забезпечує очищення стоків двокамерний септик?

а) 40–50 %;б) 55–60 %;в) 65–70 %.г) 70–75 %

8. Які матеріали вважають пріоритетними для каналізаційних систем?

а) Кераміка;б) чавун; в) поліетилен;г) склопластик.

9. Зі скі лькох шарів складається конструкція «теплої підлоги» з водяним теплоносієм?

а) Із 3 шарів;б) із 4 шарів;в) із 5 шарів;г) із 6 шарів.

10. Як у економію електроенергії забезпечує функціонування кімнатних терморегуляторів при використанні електричного опалення СІП-будинку? а) 10%; б) 15%; в) 20%; г) 25%.

217 13.8.
Вентиляція СІП-будинків
Право для безоплатного розміщення підручника в мережі Інтернет має Міністерство освіти і науки України http://mon.gov.ua/ та Інститут модернізації змісту освіти https://imzo.gov.ua

13

Опалювальні, вентиляційні, сантехнічні й електротехнічні системи у СІП-будинках

11. Електричну «теплу підлогу» якої потужності встановлюють у ванній кімнаті?

а) 100 кВт; б) 120 кВт; в) 150 кВт; г) 200 кВт.

12. У яких меж ах коливається площа приміщень, які можна обігріти конвектором?

а) 5–20 м 2; б) 5–27 м 2; в) 5–30 м 2; г) 5–40 м 2 .

13. Скільки секцій можуть мати масляні радіатори?

а) 4; б) 8; в) 12; г) 15.

14. Як а потужність масляного радіатора потрібна, щоб обігріти приміщення площею 10 м 2 і висотою до 3 м?

а) 0,5 кВт;б) 0,8 кВт;в) 1,0 кВт;г) 1,5 кВт.

15. До якої температури нагріваються масляні радіатори?

а) 40 °С; б) 50 °С; в) 60 °С; г) 80 °С.

16. За якої температури поверхня предметів починає випромінювати електромагнітні хвилі у діапазоні 0,75–100 мкм?

а) 50 °С; б) 60 °С; в) 70 °С; г) 80 °С.

17. На якій відстані від цілі треба встановлювати обігрівачі з дальньою дією?

а) 4–5 м; б) 6–12 м;в) 10–15 м;г) 8–14 м.

18. Скільки існує форм камінів?

а) Шість; б) п’ять; в) чотири;г) три.

19. Якою має бути товщина стінок димаря каміна із повнотілої цегли?

а) 60 мм;б) 120 мм;в) 250 мм;г) 75 мм.

20. На яку висоту димар повинен підійматись над дахом?

а) 900 мм;б) 1000 мм;в) 800 мм;г) 700 мм.

21. Якими мають бути зовнішні розміри димаря?

а) 200 х 300 мм;б) 180 х 320 мм;в) 250 х 350 мм;г) 300 х 400 мм.

22. Якою має бути товщина передньої частини підлоги топки із залізобетону?

а) 50 мм;б) 80 мм; в) 100 мм;г) 150 мм.

23. Який КК Д мають сучасні печі, виготовлені з чавуну або сталі, що працюють на твердому паливі?

а) 50 %; б) 70 %; в) 80 %; г) 90 %.

24. Назвіть середній показник геотермального ступеня.

а) 20 м; б) 33 м; в) 40 м; г) 45 м.

218
Право для безоплатного розміщення підручника в мережі Інтернет має Міністерство освіти і науки України http://mon.gov.ua/ та Інститут модернізації змісту освіти https://imzo.gov.ua

Вентиляція СІП-будинків

25 . Під яким тиском знаходиться холодоагент перед його потраплянням

у компресор?

а) 1 кг/см 2; б) 2 кг/см 2; в) 3 кг/см 2; г) 5 кг/см 2 .

26. Яку температуру має холодоагент у конденсаторі?

а) 50 °С; б) 60 °С; в) 70 °С; г) 80 °С.

27. До якої температури нагрівається теплоносій у конденсаторі, який циркулює по трубах радіаторної системи опалення на вході в радіатор?

а) 40 °С; б) 50 °С; в) 60 °С; г) 70 °С.

28. Яку температуру має гаряча вода на виході з переохолоджувача?

а) 30 °С; б) 40 °С; в) 50 °С; г) 60 °С.

29. Скільки видів вентиляції може бути застосовано у СІП-будинку?

а) Один; б) два; в) три; г) більше трьох.

30. Скільки типів рекуператорів можна використовувати у СІП-будинку?

а) Один; б) два; в) три; г) більше трьох.

31. Зі скі лькох основних частин складається рекуператор пластинчатого

типу?

а) Із п’яти;б) із шести;в) із семи;г) із восьми.

32. За скі лькома принципами працюють

пластинчатого типу?

теплообмінники рекуператорів

а) За одним;б) за двома;в) більше ніж двома.

219
13.8.
Право для безоплатного розміщення підручника в мережі Інтернет має Міністерство освіти і науки України http://mon.gov.ua/ та Інститут модернізації змісту освіти https://imzo.gov.ua

РОЗДІЛ 14. ОСНОВНІ ПРАВИЛА ОХОРОНИ ПРАЦІ

ПРИ ВИКОНАННІ БУДІВЕЛЬНИХ РОБІТ

14.1. Загальні вимоги щодо охорони праці та техніки

безпеки у будівництві

 До монтажно-опоряджувальних робіт допускають осіб, які досягли вісімнадцяти років і пройшли:

● професійну підготовку та навчання безпечних методів і прийомів робіт;

● попередній медичний огляд відповідно до вимог Міністерства охорони здоров’я України;

● вхідний інструктаж з безпеки праці, виробничої санітарії, пожежної та електробезпеки.

Для гарантування безпеки під час виробничих процесів необхідно: дотримуватися технологічних процесів (видів робіт), а також прийомів і режимів виконуваних робіт; застосовувати надійні контрольно-вимірювальні прилади, устаткування проти аварійного захисту та регулярно їх перевіряти; раціонально організовувати робочі місця з розташуванням обладнання, що застосовують;

безпечно зберігати та транспортувати матеріали, які застосовують;

здійснювати професійний відбір, навчання працівників і постійно перевіряти їхні знання та навички безпечного проведення робіт; застосовувати індивідуальні засоби захисту робітників; проводити технічні та організаційні заходи з протипожежної безпеки; позначати небезпечні зони виконання робіт на будівельному майданчику; включати вимоги безпеки у проєктно-конструкторську та технічну документацію; проводити дослідження й контроль шкідливих і небезпечних виробничих факторів; дотримуватися установленого порядку на виробництві, організації робочого місця та високої виробничої, технологічної, трудової дисципліни.

220 14Основні правила охорони праці при виконанні будівельних робіт
Право для безоплатного розміщення підручника в мережі Інтернет має Міністерство освіти і науки України http://mon.gov.ua/ та Інститут модернізації змісту освіти https://imzo.gov.ua

Загальні вимоги щодо охорони праці та техніки безпеки у будівництві

Основні заходи, що забезпечуватимуть вимоги безпеки праці до початку робіт

На будівельному майданчику треба здійснювати основні заходи, які забезпечуватимуть вимоги безпеки праці до початку робіт, а саме:

створення умов для дотримання гігієни праці;

визначення місця складування та зберігання матеріалів, обладнання, інструментів на будівельному майданчику;

підготовка необхідних засобів індивідуального захисту та перевірка їхньої справності;

перевірка робочого місця та підходів до нього на відповідність до вимог безпеки; підбір технологічних пристроїв, інструмента, які необхідні при виконанні робіт, і перевірка їхньої відповідності до вимог безпеки;

забезпечення чергового освітлення будівельного майданчика;

забезпечення об’єкта технічною та питною водою; встановлення попереджувальних знаків у місцях, наявність яких створює

небезпеку; перевірка стану підйомних механізмів, кабелів, шлангів; перевірка роботи обладнання та ручного електричного й пневматичного інструмента на холостому ходу.

Основні заходи, що гарантуватимуть вимоги безпеки праці у процесі роботи У процесі роботи опоряджувальники повинні дотримуватися таких вимог безпеки праці:

ручний і механізований інструмент мусить бути справним;

усі машини та механізми, що працюють під тиском, перед початком роботи перевіряють на тиск, у півтора раза більший від робочого;

при застосуванні абразивного інструмента необхідно переконатися у відсутності тріщин на абразивному крузі, перевірити міцність його закріплення на корпусі; під час роботи з електроінструментом потрібно стежити за станом електрокабелів, відсутністю різких перегинів, утворенням петель; при перервах у роботі з застосуванням електро- або пневмоінструмента, а також за необхідності переміщення інструмента з одного місця на інше, його треба вимкнути;

221 14.1.
Право для безоплатного розміщення підручника в мережі Інтернет має Міністерство освіти і науки України http://mon.gov.ua/ та Інститут модернізації змісту освіти https://imzo.gov.ua

при виявленні пошкоджень шлангів чи відмови роботи пневмоінструмента робітники повинні припинити роботу та перекрити подачу повітря вентилем. Перекриття подачі повітря шляхом перегину шлангів не допускається; як засоби підмощування необхідно застосовувати, як правило, інвентарні засоби (риштування збірно-розбірне та пересувне), обладнані огородженням. Забороняється застосовувати для риштування випадкові засоби підмощування (ящики, бочки, відра та ін.); забороняється на робочому місці зберігати матеріали в кількості, яка перевищує потреби для роботи певної робочої зміни; забороняється брати руками розчинову суміш, у складі якої є вапно та цемент; потрібно остерігатися потрапляння вапняної розчинової суміші в очі. Якщо це сталося, необхідно негайно промити їх розчином борної кислоти (1 чайна ложка на 1 склянку кип’яченої води); розчинові суміші, що використовують для опорядження, та суміші, які застосовують для очистки поверхні від забруднень, необхідно готувати на відкритому повітрі або у приміщенні, обладнаному притоково-витяжною вентиляцією; забороняється складувати матеріали на підмостках і риштуванні в кількості, яка перевищує максимальне навантаження, вказане в паспорті заводу-виробника певного засобу підмощування;

усі роботи виконувати, застосовуючи засоби індивідуального захисту відповідно до вимог ГОСТ 27575–87, ГОСТ 27574–87, ГОСТ 12.4.010–75, ГОСТ 12.4.028–76, ГОСТ 12.4.013–85, ДСТУ 3835–98.

Після закінчення робіт потрібно:

від’єднати електроінструмент від електромережі, вимити і просушити насадки (міксера);

очистити та вимити ручний інструмент, прибрати його в ящик для інструментів; очистити інвентар та пристосування;

прибрати робоче місце від розчину; відходи матеріалів, які застосовували у штукатурних роботах, необхідно утилізувати згідно з вимогами ДСанПіН

2.2.7.029 — 99 «Державні санітарні правила і норми, гігієнічні вимоги щодо поводження з промисловими відходами та визначення їхнього класу небезпеки для здоров’я населення».

14.2. Охорона праці при виконанні бетонних

і залізобетонних робіт

Матеріали, які використовують для виготовлення бетонних сумішей (цемент та ін.), негативно

222 14Основні правила охорони праці при виконанні будівельних робіт
діють на організм людини, спричиняючи захворюванПраво для безоплатного розміщення підручника в мережі Інтернет має Міністерство освіти і науки України http://mon.gov.ua/ та Інститут модернізації змісту освіти https://imzo.gov.ua

14.2. Охорона праці при виконанні бетонних і залізобетонних робіт

ня шкіри обличчя і рук. Крім того, під час обробки, транспортування та інших операцій з цементом утворюється значна кількість пилу, що шкідливо впливає на дихальні шляхи людини. Окремі механізми для виготовлення бетонних сумішей продукують значний шум, що має негативний вплив на органи слуху та нервову систему працівників.

Збагачення інертних матеріалів і виготовлення бетонних сумішей переважно здійснюють механізованим шляхом на центральних бетонних заводах і в установах. Проте на деяких будівництвах бетонні суміші все ще виготовляють на приоб’єктних механізованих бетонозмішувальних установках. Зайнятий на бетонних роботах персонал забезпечують засобами індивідуального захисту: спецодягом, окулярами і респіраторами.

Арматуру для залізобетону зазвичай заготовляють у добре оснащених механізмами спеціалізованих цехах і доставляють на будівельний майданчик у готовому вигляді. При невеликих обсягах арматурних робіт арматуру заготовляють у майстернях на будівництві, які має бути оснащено механізмами і верстатами. Для безпеки робіт основні операції в арматурній майстерні відокремлюють від підсобних, а також розташовують верстати з таким розрахунком, щоб унеможливити контакти потоків арматури і розвертання стрижнів для обробки другого кінця. При ущільненні бетонної суміші вібратором необхідно перед початком робіт ретельно перевірити справність вібраторів і вжити запобіжних заходів щодо ураження електричним струмом. Не можна притискати руками поверхневі вібратори, а переміщення вібраторів вручну під час віброущільнення дозво ляється тільки за допомогою гнучких тяг. Під час перерв у роботі або під час переходів на нове місце електровібратори вимикають. При ущільненні бетонної суміші електровібраторами із гнучким валом необхідно забезпечити прямий або з невеликими плавними вигинами напрямок валу. При застосуванні вібромайданчика заборонено ставати на нього під час роботи, підтягувати гайки, перевіряти справність вібратора і поливати бетонну суміш водою. Під час роботи необхідно стежити за міцністю кріплення самого вібратора до майданчика. Для бетонних робіт застосовують інвентарне риштування, виготовлене за типовими проєктами.

Вантажно-розвантажувальні роботи, знімні вантажнозахоплювальні пристрої, стропи і тара, призначені для подавання бетонної суміші вантажопідіймальними кранами, повинні відповідати вимогам ДБН А.3.2–2-2009, НПАОП 0.00–1.01.

Контрольні запитання

1. Які матеріали негативно впливають на організм людини при виконанні бетонних робіт?

2. Якими засобами індивідуального захисту треба забезпечувати персонал, зайнятий на бетонних роботах?

3. Як заготовляють арматуру для залізобетону при спорудженні фундаментів та інших конструкцій будівель?

4. Яких правил необхідно дотримуватися при

223
Право для безоплатного розміщення підручника в мережі Інтернет має Міністерство освіти і науки України http://mon.gov.ua/ та Інститут модернізації змісту освіти https://imzo.gov.ua
ущільненні бетону електровібраторами?

14.3. Заходи безпеки під час робіт із деревиною

 За статистикою, нещасні випадки під час складання й монтажу дерев’яних

конструкцій та інших робіт трапляються з таких причин:

● несправніс ть деревообробних верстатів, механізованого і ручного інструменту або невміле поводження з ними;

● неправильне улаштування риштувань;

● виконання робіт без захисних засобів;

● захаращеність робочих місць.

Дерев’яні конструкції та частини будівель і споруд, а також столярні вироби зазвичай виготовляють на деревообробних заводах або у майстернях за межами будівельного майданчика, на який їх доставляють вже у готовому вигляді. На будівельному майданчику здійснюють складання, підготовку до монтажу і монтаж дерев’яних конструкцій або деталей. Тому заходи щодо техніки безпеки під час монтажу несучих дерев’яних конструкцій і частин будинків у певному сенсі аналогічні до тих, яких необхідно дотримуватися під час монтажу збірних залізобетонних конструкцій. При підійманні та встановленні дерев’яних конструкцій не допускається порушення з'єднань і виправлення елементів, а також перекіс конструкцій. Антисептичну і вогнетривку обробку деревини, виготовлення сумішей для цих робіт, а також навантаження, розвантаження і розпакування хімічних матеріалів здійснюють тільки робітники, які відповідно навчені та пройшли медичний огляд. До цих робіт не можна допускати людей із пошкодженням шкіряного покриву.

Робітникам, які працюють з антисептичними і вогнезахисними сумішами, надають окреме приміщення для зберігання спеціального й особистого одягу. Приміщення обладнують сантехнічними пристосуваннями. Місця розташування приміщень і майданчиків для збереження, розігрівання і виготовлення сумішей і місць улаштування приймачів для відпрацьованих розчинів має бути погоджено з органами пожежної і санітарної інспекції. Під час виготовлення сумішей на відкритих майданчиках робітники повинні перебувати з навітряного боку, у приміщеннях має бути улаштовано примусову вентиляцію. Робітникам видають протигази або респіратори, окуляри і гумові рукавички.

Для захисту шкіри від шкідливої дії олійних антисептиків застосовують спеціальні пасти і мазі. Ванни, заповнені антисептичним або вогнезахисним розчином, щільно закривають кришками. Ходити по краях ванни або по деталях, які містяться у ваннах для просочення, заборонено. Після закінчення робіт із просочення деревини антисептиками ванни звільняють від розчину і промивають водою.

Під час антисептування встановлених конструкцій під і над ними не можна виконувати роботи. Місця зберігання хімікатів і виконання робіт із антисептування, а також тару з-під хімікатів, обладнання та інструмент очищають від залишків матеріалів і знешкоджують. Обладнання й інструмент

224 14Основні правила охорони праці при виконанні будівельних робіт
в окремому приміщенні. Право для безоплатного розміщення підручника в мережі Інтернет має Міністерство освіти і науки України http://mon.gov.ua/ та Інститут модернізації змісту освіти https://imzo.gov.ua
зберігають

14.4. Охорона праці при роботі з сендвіч-панелями і СІП-панелями

Контрольні запитання і завдання

1. Що спричиняє нещасні випадки при складанні та монтажі дерев’яних конструкцій?

2. Чого не можна допускати при підійманні та встановленні у проєктне положення дерев’яних конструкцій?

3. Хто може виконувати антисептичну і вогнетривку обробку деревини та виготовляти суміші для неї, а також здійснювати навантаження і розвантаження хімічних матеріалів?

4. Яких вимог необхідно дотримуватися при виконанні антисептичної та вогнезахисної обробки деревини?

5. Якими індивідуальними засобами захисту має бути забезпечено робітників, зайнятих на виготовленні антисептичних і вогнезахисних сумішей, а також просоченні ними деревини?

14.4. Охорона

праці при роботі з

і СІП-панелями

сендвіч-панелями

Одним із найбільш вдалих винаходів у будівництві справедливо вважають сендвіч-панелі. Сьогодні з них будують торговельні центри, спортивні споруди, лікарні, промислові приміщення. Із СІП-панелей успішно зводять швидко споруджувані, енергоощадні житлові будинки. Проте дотримання правил охорони праці і техніки безпеки під час монтажу панелей та при виконанні інших технологічних процесів згідно з ДБН А.3.2–2-2009 є обов’язковою умовою.

За відповідальність і безпеку робіт на будівництві згідно з законодавством відповідають технічні керівники будов, виконроби і майстри.

Адміністрація будівельних підприємств зобов’язана створювати при спорудженні будинків, споруд і будівель здорові та безпечні умови праці, а інженерно-технічні працівники повинні інструктувати з техніки безпеки усіх нових робітників, які прибувають на будівництво, безпосередньо на робочому місці, без чого допуск до роботи не дозволяється. Щорічно перевіряють знання інженерно-технічного персоналу в галузі охорони праці. Крім того, на будівництві складають інструкції та пам’ятки для робітників різних професій щодо безпечного проведення робіт, вивішують плакати з техніки безпеки і спеціальні написи, що попереджають про небезпеку. Мінімальні вимоги з охорони праці на тимчасових або мобільних будівельних майданчиках потрібно виконувати згідно з НПАОП 45.2–7.03–17.

На будівельному майданчику усі зобов’язані бути одягненими у робочий одяг, носити захисні каски для запобігання випадкових травм від падіння згори предметів, що особливо важливо при виконанні робіт на висоті. Робітники, які виконують монтаж панелей на висоті, повинні мати на собі утримувальні пояси зі швидко роз’єднуваними карабінами . Карабіни з’єднують зі страховим тросом, натягнутим по периметру споруджуваної конструкції. Взуття повинно бути нековзким. Право

225
підручника в мережі Інтернет має Міністерство освіти і науки України http://mon.gov.ua/ та Інститут модернізації змісту освіти https://imzo.gov.ua
для безоплатного розміщення

14Основні правила охорони праці при виконанні будівельних робіт

При роботі із сендвіч- і СІП-панелями нерідко потрібна їхня підгонка під потрібний розмір і форму, що пов’язано із їхнім різанням, під час якого з’являється пил. Для захисту верхніх дихальних шляхів необхідно надягати респіратор , а для запобігання подразненню шкіри носити одяг з довгими

рукавами і рукавиці .

До зведення будівель із сендвіч і СІП-панелей допускають осіб не молодших 18 років, які пройш ли спеціальну підготовку з техніки безпеки, а також медичний огляд. Техніка безпеки під час монтажу панелей передбачає правильний підбір кадрів. Робітники-монтажники повинні мати фізичну силу, витривалість, відчуття рівноваги, точну рухову координацію, окомір, бути емоційно стійкими.

Різання панелей виконують спеціальними шаблевими пилками, робота з якими має бути гранично акуратною, оскільки бувають випадки, коли пальці потрапляють під пилку. Шар зайвого пінополістиролу після різання СІП-панелі виймають спеціальним терморізаком, під час роботи з яким необхідно бути обережним, бо його петля сильно нагрівається.

Додержання послідовності усіх будівельно-монтажних робіт і якість з’єднання та герметизації усіх стиків — важлива умова безпеки діяльності усіх робітників у зоні будівельних робіт.

Особливо важливе значення має належна підготовка й убезпечення робочого місця такими діями: позначення небезпечних зон; обгороджування прорізів; встановлення написів, які попереджають про небезпеку; монтаж, за необхідності, будівельних риштувань з висотою огороджування

нижче 1 м; заборона монтажу панелей при швидкості вітру більше 6 м/с; забезпечення стійкості монтажних механізмів; перевірка подвійними навантаженням усіх такелажних застосувань. Пожежна безпека на будівельному майданчику забезпечується відповідно до вимог Закону України «Про пожежну безпеку» НАПБ Д 01.001, ДБН В 1.1.-7, ДБН В 1.2.-7.

Контрольні запитання

1. За яких умов можна виконувати монтаж панелей на висоті?

2. Згідно з яким стандартом повинні виконувати вимоги з охорони праці на тимчасових або мобільних будівельних майданчиках?

3. Які ділянки на будівництві є найбільш небезпечними?

226
не
Право для безоплатного розміщення підручника в мережі Інтернет має Міністерство освіти і науки України http://mon.gov.ua/ та Інститут модернізації змісту освіти https://imzo.gov.ua

14.5. Охорона праці при монтажі будівель

Монтажні роботи треба виконувати згідно з ДБН А.3.2–2-2009 і, зокрема, розділом 7 цих норм, а також НПАОП 0.00–1.80–18 «Прави ла охорони праці під час експлуатації вантажопідіймальних кранів, підіймальних пристроїв і відповідного обладнання».

Закладні скоби для стропування елементів збірних залізобетонних конструкцій необхідно виготовляти з м’якої сталі з трикратним запасом міцності.

Вони не повинні мати тріщин, надломів, раковин та інших дефектів. Збірні залізобетонні елементи (плити з односторонньою арматурою, прямокутні балки та ін.) мусять мати маркування, яке вказувало б на правильне стропування і монтаж.

Монтаж збірних залізобетонних конструкцій кожного наступного поверху допускається лише після встановлення перекриттів попереднього ярусу. Отвори, які залишають у перекриттях, треба перекривати тимчасовим настилом або огороджувати.

Загальнобудівельні та спеціальні роботи всередині приміщень потрібно виконувати тільки в місцях, над якими розташовано не менше ніж два змонтованих перекриття. Роботи із закріплення сталевих і дерев’яних конструкцій на висоті необхідно виконувати з огороджених помостів або риштувань. Для переходу між фермами має бути улаштовано перехідні містки з огорожею.

Розстропування елементів при розвантаженні або завантаженні допускається тільки після перевірки їхньої стійкості, а при монтажі — тільки після закріп ленн я: колон — не менше ніж чотирма анкерними болтами; кроквяних ферм — в’язами або розчалками.

 Основними причинами травматизму під час монтажних робіт є:

● недотримання технологічної послідовності монтажу конструкції, передбаченої у проєкті виконання робіт;

● несправніс ть такелажних пристроїв і неправильне стропування конструкцій;

● відсутність огороджувальних улаштувань, пристосувань і обладнання для монтажних робіт;

● відсутність індивідуальних захисних засобів і пристосувань, а також нагляду за їхнім застосуванням.

Усі монтажні роботи на висоті понад 1 м виконують із помостів.

Монтаж конструкції при силі вітру 6 ба лів і більше, при ожеледі та грозі не допускається. При монтажі вертикальних глухих панелей і плит роботу припиняють за сили вітру 5 балів (швидкість вітру 7,5–9,8 м/с).

Для тимчасового утримання стінових панелей після встановлення їх у проєктне положення застосовують в’язі, підкоси.

Контрольні запитання

1. Що забезпечує правильне стропування і монтаж залізобетонних елементів?

2. Яка черговість монтажу залізобетонних елементів між поверхами?

227 14.5. Охорона праці при монтажі будівель
Право для безоплатного розміщення підручника в мережі Інтернет має Міністерство освіти і науки України http://mon.gov.ua/ та Інститут модернізації змісту освіти https://imzo.gov.ua

3. Опишіть роботи із закріплення сталевих конструкцій на висоті.

4. Назвіть причини травматизму при монтажних роботах.

5. За яких погодних умов забороняється монтаж конструкцій?

6. Коли можна здійснювати розстропування будівельних конструкцій?

7. Як здійснюють тимчасове закріплення змонтованих стінових каркасно-обшивних панелей?

14.6. Охорона праці при виконанні робіт із

каркасно-обшивних стін і перегородок

монтажу

Монтаж стін треба виконувати з дотримуванням вимог діючих державних будівельних норм з безпеки праці у будівництві (ДБН А.3.2–2-2009). До монтажу стін і перегородок з металевим або дерев’яним каркасом та обшивкою з використанням плит допускають осіб не молодших 18 років, які пройшли на робочому місці інструктаж з техніки безпеки, виробничої санітарії, навчання способів виконання робіт. Робітників мають забезпечити спецодягом і засобами індивідуального захисту.

Улаштування стін потрібно виконувати тільки за наявності у будівельної організації спеціального інструмента, який забезпечує механізацію процесу складання сталевого або дерев’яного каркаса, інструмента для кріплення обшивки до нього, а також для шпарування стиків, нанесення шпаклювальних і штукатурних шарів.

Обладнання, яке використовують під час виконання робіт, оснащення і пристосування для монтажу конструкцій повинно відповідати умовам безпеки виконання робіт.

При монтажі збірних стін варто застосовувати інвентарні збірно-розбірні пересувні риштування. При висоті робочого настилу 1,3 м і більше необхідно влаштовувати захисні огородження. Їхня висота має становити не менше ніж 1,2 м.

Зону, де відбувається монтаж стін і перегородок, має бути позначено добре видимими попереджувальними написами «Вхід заборонено, йде монтаж».

До роботи з електроінструментом допускають робітників, які мають першу кваліфікаційну групу з техніки безпеки під час експлуатації електроустановок.

Â Е лектроінструмент повинен відповідати таким вимогам:

● можна швидко вмикати і вимикати з електромережі (але не самовільно);

● б ути безпечним у роботі, усі струмопровідні частини повинні бути надійно

ізольовані.

Перед видачею робітнику електроінструмента необхідно перевірити справність заземлювачів і відсутність замикання на корпус.

228 14Основні правила охорони праці при виконанні будівельних робіт
Право для безоплатного розміщення підручника в мережі Інтернет має Міністерство освіти і науки України http://mon.gov.ua/ та Інститут модернізації змісту освіти https://imzo.gov.ua

Перед початком роботи з електроінструментом робітник повинен:

отримати інструктаж про безпечні способи виконання робіт з електроінструментом;

здійснити огляд і перевірити електроінструмент на ходу.

При монтажі перегородок із гіпсокартонних плит забороняється:

із приставних драбин працювати електроінструментом;

передавати електроінструмент іншим особам;

розбирати і виконувати самостійно ремонт електроінструмента;

тримати під час роботи струмопідвідний електропровід; залишати без нагляду приєднаний до електромережі електроінструмент.

Порушення правил охорони праці під час роботи з електроінструментом може спричинити ураження робітника електрострумом і травмування гострими частинами пилок, свердел та інших інструментів, що обертаються зі швидкістю понад 1000 об/хв.

Під час короткої перерви в роботі електроінструмент вимикають, а при тривалій перерві від’єднують від мережі.

З метою безпеки різальні частини інструментів (диски пилок), які обертаються з великою швидкістю, огороджують кожухом.

Контрольні запитання

1. Кого допускають до виконання робіт із монтажу стін, перегородок каркасно-обшивної конструкції?

2. Чим має бути забезпечено робітників, зайнятих на складанні металевих каркасів стін і перегородок та обшиття каркасів плитами?

3. Яке обладнання та які пристосування використовують під час монтажу збірних стін?

4. Як позначають зону монтажу каркасно-обшивних стін і перегородок?

5. Кого допускають до роботи з електроінструментом?

6. Яким вимогам має відповідати електроінструмент?

7. Що забороняється під час роботи з монтажу стін і перегородок з обшиттям із плит?

14.7. Заходи з техніки безпеки

при покрівельних

роботах

Покрівельні роботи виконують завжди на більш або менш значній висоті

й на схилах покрівлі. Тому необхідно дотримуватись заходів безпеки, які, з одного боку, спрямовані на запобігання падіння згори робітників-покрівельників,

229 14.7. Заходи з техніки безпеки
при покрівельних роботах
Право для безоплатного розміщення підручника в мережі Інтернет має Міністерство освіти і науки України http://mon.gov.ua/ та Інститут модернізації змісту освіти https://imzo.gov.ua

а з іншого — на запобігання нещасним випадкам з людьми, які перебувають унизу (ДСТУ БА.3.2–11:2009).

Дахи з нахилом до 16 градусів за відсутності парапетних решіток має бути огороджено міцним поруччям з бортовою дошкою. На дахах з нахилом понад 16 градусів, на краях дахів при будь-якому нахилі покрівельник повинен працювати у  нековзкому взутті та з міцним запобіжним поясом, прив’язаним до стійкої частини будівлі за допомогою канату, який витримує статичне навантаження у 200 кг (зазвичай діаметром 15 мм).

Під час роботи на даху з нахилом 25 градусів або на мокрих чи покритих памороззю поверхнях (незалежно від нахилу), окрім прив’язування робітників, обов’язковим є застосування переносних драбин шириною не менше ніж 25 см з  нашитими планками. Драбини надійно прикріпляють проти зсуву по похилій площині.

Для ходіння по азбоцементних покрівлях укладають містки з двох рядів дощок, які має бути зшито планками і закріплено проти ковзання.

Покрівельні матеріали, тару, інструменти треба закріплювати на даху від скочування або здування вітром. При ожеледі, густому тумані або сильному

снігопаді покрівельні роботи заборонено.

Головними заходами з техніки безпеки при покрівельних роботах є:

перевірка міцності та готовність крокв, лат (обрешітки), парапету і місць закріплення канатів покрівельників; застосування переносних драбин і майданчиків для приймання матеріалів на даху; застосування спеціальної тари для підіймання покрівельних матеріалів; використання пристосувань (риштувань, колисок, помостів) і раціональних інструментів для виконання покрівельних робіт; забезпечення покрівельників запобіжними поясами і спецодягом. Біля будівлі за відсутності зовнішніх риштувань улаштовують огородження.

Виконання покрівельних робіт за допомогою газових пальників необхідно здійснювати за нарядом допуском, у якому передбачено заходи безпеки згідно з ДСТУ БА.3.2–11.

Контрольні

запитання

1. Яких правил охорони праці треба дотримуватись під час проведення покрівельних робіт?

2. Коли заборонено виконувати покрівельні роботи?

3. Які головні заходи з техніки безпеки здійснюють при виконанні покрівельних робіт?

230 14Основні правила охорони праці при виконанні будівельних робіт
Право для безоплатного розміщення підручника в мережі Інтернет має Міністерство освіти і науки України http://mon.gov.ua/ та Інститут модернізації змісту освіти https://imzo.gov.ua

14.8. Заходи з техніки безпеки при опоряджувальних роботах

Під час виконання опоряджувальних робіт необхідно додержуватись вимог ДБН А.3.2–2-2009, зокрема розділів 7 і 8; під час фарбувальних робіт — вимог ДСТУ БА.3.2–11, НАПБ А.01.001, СП 991, ГОСТ 9980–5; під час улаштування

фасадних систем — вимог ДБН В.2.6–33, ДСТУ Б В.2.6–35, ДСТУ Б В.2.6–36.

Основними причинами травматизму при виконанні штукатурних робіт можуть бути: падіння робітників з висоти або завалювання риштувань, колисок і помостів; шкідливий вплив на робітників вапна та інших хімічних речовин, які використовують узимку; опіки при застосуванні розчинових сумішей з негашеним вапном; неправильне використання механізмів і порушення вимог охорони праці при їхній експлуатації і транспортуванні матеріалів; недостатня кваліфікація робітників і, як наслідок, застосування неправильних способів роботи.

Внутрішні штукатурні роботи, а також виправлення нерівностей оштукатурених поверхонь (стін, стель) виконують зазвичай з пересувних столиків і риштувань (помостів), а зовнішні штукатурні роботи на фасадах будівель — із металевих трубчастих риштувань. При оштукатурюванні фасадів будинків до трьох поверхів застосовують пересувні вишки, а у сходових прогонах — спеціальні помости (столики) з різною довжиною опорних стійок, які встановлюють на східці.

При виконанні штукатурних робіт не можна використовувати випадкові

предмети (прилади опалювання, діжки, раковини).

Особливих заходів безпеки вживають під час експлуатації штукатурних машин і насосів, які працюють під тиском.

Для просушування приміщень у зимовий період застосовують спеціальні нагрівальні прилади (калорифери, газові пальники, електронагрівачі або софіти). Забороняється використовувати для сушіння приміщень мангали, жаровні, діжки або інші ємності, заповнені палаючим коксом або вугіллям.

При експлуатації електричних нагрівачів треба дотримуватися правил безпеки при роботі електричних установок.

У приміщеннях, які просушують, рекомендується перебувати не більше ніж 3 години на день.

Під час виконання малярних робіт діють такі шкідливі чинники: утворення пилу при змішуванні сухих матеріалів з розчинниками і при шліфуванні поверхонь наждачним папером або пемзою; розпилювання фарби у довколишнє середовище при механізованому нанесенні її на поверхні; виділення шкідливих газів і речовин при висиханні й, нарешті, виділення пари при випалюванні старої фарби. Крім того, більшість робочих процесів виконують на висоті з риштувань, помостів і колисок.

Малярні роботи всередині приміщень, починаючи з висоти 1,1 м від перекриття або рівня землі, необхідно виконувати тільки з надійно встановлених інвентарних помостів. Зовнішні малярні роботи з оздоблення фасадів виконують з інвентарних риштувань або колисок. При невеликій висоті застосовують пересувні телескопічні вишки. Малярні роботи всередині приміщень з використанням шкідливих сумішей виконують при відчинених вікнах (без протягів)

або при вентилюванні, яке може забезпечити не менш як двократний обмін Право

231 14.8. Заходи з техніки безпеки при опоряджувальних роботах
в мережі Інтернет має Міністерство освіти і науки України
та Інститут модернізації змісту освіти
для безоплатного розміщення підручника
http://mon.gov.ua/
https://imzo.gov.ua

повітря протягом 1 години. У приміщеннях, свіжопофарбованих олійними фарбами або нітрофарбами, забороняється перебувати більше ніж 4 години, курити і працювати з використанням вогню. Під час висихання олії відбувається поглинання кисню і виділення вуглекислого газу, який може викликати отруєння робітників.

Робітники, що зазнають впливу шкідливих або отруйних речовин, що три місяці проходять медичний огляд.

Під час виконання малярних робіт механізованим способом робітників забезпечують захисними окулярами зі щільною оправою і респіраторами, а також захисними пастами для змащування рук.

При виконанні облицювання, як і під час інших оздоблювальних робіт, головними умовами безпеки є правильна організація праці та підтримання у справному стані риштувань, помостів, механізмів, інструментів. При облицюванні поверхонь керамічними плитками найбільшу небезпеку становлять підколювання, підрізання, свердління плиток, підготовка поверхонь і робота з розчиновими та клеєвими сумішами. Підколювання, підрізання і свердління плиток виконують тільки справними інструментами і пристосуваннями. Робітників, які обробляють плиткові вироби, забезпечують захисними окулярами і рукавицями.

Контрольні запитання

1. Перелічіть основні причини травматизму під час виконання штукатурних робіт.

2. Як треба висушувати приміщення у зимовий період?

3. Які негативні чинники діють під час виконання малярних робіт?

4. Починаючи з якої висоти варто використовувати інвентарні помости під час виконання малярних робіт?

5. Що потрібно робити при фарбуванні поверхонь усередині приміщень фарбами, які мають шкідливу дію?

6. Скільки часу можна перебувати у приміщеннях, свіжопофарбованих олійними або нітрофарбами?

7. Що повинні проходити робітники, які зазнають дії шкідливих або отруйних речовин, і як часто?

8. Якими захисними засобами потрібно забезпечити робітників, які працюють на фарбуванні поверхонь механізованим способом?

 Тестові завдання

1. За якої висоти робочого настилу треба застосовувати захисні опорядження?

а) 1,0 м і вище;б) 1,2 м і вище;в) 1,3 м і вище;г) 1,5 м і вище.

2. Якою має бути висота захисних огороджень?

а) 1,0 м; б) 1,2 м; в) 1,3 м; г) 1,5 м.

232 14Основні правила охорони праці при виконанні будівельних робіт
Право для безоплатного розміщення підручника в мережі Інтернет має Міністерство освіти і науки України http://mon.gov.ua/ та Інститут модернізації змісту освіти https://imzo.gov.ua

Заходи з техніки безпеки при опоряджувальних роботах

3. При якому нахилі даху передбачають огорожу з міцним поруччям і бортовою дошкою?

а) До 10 %;б) до 18 %;в) до 20 %;г) до 15 %.

4. При якому нахилі даху покрівельник повинен працювати у нековзкому

взутті та з міцним запобіжним поясом?

а) Більше ніж 10°;б) більше ніж 12;°в) більше ніж 15°;г) більше ніж 16°.

5. Починаючи з якої висоти, малярні роботи всередині приміщень треба виконувати з надійно встановлених інвентарних помостів?

а) 0,5 м; б) 0,75 м;в) 1,0 м; г) 1.1 м.

6. За якої сили вітру заборонено монтаж будівельних конструкцій?

а) 2 бали;б) 4 бали;в) 6 балів;г) 8 балів.

7. Який інструктаж з питань охорони праці проводять з усіма працівниками, щойно прийнятими на роботу, незалежно від їхньої освіти та стажу роботи?

а) Вступний;б) повторний;в) первинний;г) позаплановий.

8. Яке статичне навантаження має витримувати канат, що прив’язує запобіжний пояс покрівельника до стійкої частини будівлі?

а) 500 кг;б) 400 кг;в) 300 кг;г) 200 кг.

9. На якій відстані від проходів і робочих місць встановлюють верстати для холодного протягання і плющення арматурної сталі?

а) 3 м; б) 4 м; в) 5 м; г) 6 м.

10. При якій швидкості вітру забороняється монтаж сендвіч- і СІП-панелей?

а) 4 м/с; б) 5 м/с; в) 6 м/с; г) 8 м/с.

233
14.8.
Право для безоплатного розміщення підручника в мережі Інтернет має Міністерство освіти і науки України http://mon.gov.ua/ та Інститут модернізації змісту освіти https://imzo.gov.ua

ТЕРМІНОЛОГІЧНИЙ СЛОВНИК

Автономна каналізація малоповерхового будинку. Її застосовують при неможливості підключення до центральної каналізаційної системи. Може здійснюватися з використанням накопичувальних споруд — вигрібних ям, герметичних баків для стоків, в яких вони не проходять очищення, або з використанням очисних споруд — різноманітних септиків, які очищають стоки до їхнього потрапляння в ґрунт або водоймище. Агенти атмосфери. Атмосфера — це середовище, в якому формується як погода, так і клімат під дією агентів атмосфери, до яких належать температура повітря, атмосферний тиск, вітер, вологість, хмарність, опади, які постійно, повсякденно й щогодинно змінюються і сполучаються між собою. Адгезія. Зчеплення (прилипання, злипання) приведених у контакт різнорідних твердих або рідких матеріалів.

Аквапанель. Цементно-мінеральна плита, армована з обох боків склосіткою. Її використовують для облицювання стін у вологих приміщеннях, фасадів будинків і споруд, улаштування підлог.

Акустика. Галузь фізики, яка вивчає природу звукових, механічних хвиль у газах, рідинах і твердих середовищах. Анкерні елементи. Елементи, що з’єднують підвіс чи підвісну конструкцію безпосередньо з несучою основою або огороджувальну конструкцію з фундаментом будівлі.

Антисептична обробка деревини. Обробка поверхні деревини розчинами хімічних сполук (антисептиків) для захисту від біологічного вивітрювання, переважно від грибів.

Антистатичні властивості. Покриття підлоги вважають антистатичними, якщо вони не дають утворюватися шкідливим електростатичним зарядам (коли величина заряду не перевищує 2,0 кВ).

Арболіт. Легкий бетон, який складається із суміші органічних заповнювачів (подрібнених відходів деревообробки, очерету, коноплі), в’яжучого (зазвичай портландцементу) і води. Армувальна стрічка. Служить для армування шпаклювального шва при шпаруванні (забитті) стиків гіпсокартонних плит. Виготовляється з високоякісного паперу, лавсану, склотканини.

Армування. Посилення матеріалу або конструкції іншим матеріалом, наприклад, бетону металевими стрижнями.

Базова основа. Несуча огороджувальна або

конструкція (перекриття, стіна чи перегородка, фундамент), до якої кріплять іншу конструкцію

234 Термінологічний
словник
А
Б
Право для безоплатного розміщення підручника в мережі Інтернет має Міністерство освіти і науки України http://mon.gov.ua/ та Інститут модернізації змісту освіти https://imzo.gov.ua
допоміжна

Г

(підвісну або підшивну стелю, сантехнічні прилади, стіну, облицювальні матеріали і вироби).

Безперервні фундаменти. Фундаменти, які несуть три і більше незалежних навантаження, розташовані на одній лінії, тому такий фундамент називається лінійним або стрічковим. Якщо ж навантаження не лежать на одній лінії, то фундамент називають суцільною плитою або плотом.

Бойлер — котел, кип’ятильник. Трубчастий теплообмінник, який використовують для підігріву води парою або гарячою водою. При підігріві парою

по трубах бойлера проходить вода, яку нагрівають. У міжтрубному просторі конденсується нагрівальна пара.

Вальма. Схил чотирисхилого вальмового даху. Вентиляція. Система заходів для забезпечення повітрообміну у приміщеннях будинку для створення повітряного середовища, сприятливого для здоров’я людини, а також збереження обладнання і будівельних конструкцій, матеріалів, продуктів тощо. Разом з прийнятною якістю повітря вентиляція повинна забезпечувати потрібний рівень його вологості.

Вертикальне планування. Процес проєктування і графічного оформлення проєктної поверхні.

Вигрібна яма. Це найпростіший і мінімально ефективний варіант каналізаційної споруди. Відкритий, невеликої глибини котлован, в якому накопичуються побутові і фекальні маси. Недоліками вигрібних ям є: жорстке обмеження витрати води, забруднення ґрунту, розповсюдження неприємних запахів, необхідність регулярного очищення.

Винесення будівлі в натуру. Спосіб перенесення проєктних відміток у котлован або у верхню частину будівлі.

Вітронепроникність. Захист від проникності зовнішнього повітря у теплоізоляційний шар огороджувальної конструкції.

Вогнестійкість. Здатність будівельних конструкцій чинити опір дії високої температури, утворенню наскрізних тріщин та поширенню вогню в умовах пожежі й виконувати водночас свої звичайні експлуатаційні функції.

Вогнетривка обробка дерева. Захист деревини від займання з використанням вогнезахисних складів.

Газгольдер. Це стаціонарна сталева споруда для приймання, збереження і віддачі газу в установки з його застосування. До газгольдера можна підключити газовий котел або газові конвектори.

Газові котли. Бувають одноконтурними і двоконтурними. Одноконтурні котли застосовують тільки для опалення будинку, а двоконтурні — для опалення і постачання гарячої води.

235
В
Право для безоплатного розміщення підручника в мережі Інтернет має Міністерство освіти і науки України http://mon.gov.ua/ та Інститут модернізації змісту освіти https://imzo.gov.ua

Гідроакумулятор. Сталевий або пластиковий резервуар з гумовою місткістю, куди накачують повітря. Цей стиснутий об’єм створює тиск у системі водопостачання, який витискає воду до точки розбору. Автоматика стежить за перепадами тиску. При падінні тиску в системі нижче потрібного автоматика вмикає

насос, при досягненні потрібного тиску — вимикає.

Гідровітрозахисна стрічка. Для сполучення віконних блоків з елементами каркаса стіни для захисту теплоізоляційного шару від дій клімату застосовують гідровітрозахисну стрічку Абрис С-ЛТ диф.

Гідровітрозахисний матеріал. Для захисту теплоізоляційного шару від кліматичних дій застосовують матеріал з низькою водо-, повітропроникніс тю, але проникний для водяної пари, наприклад, Tyvek Housewrap.

Гіпсоволокнисті плити. Використовують у сухому будівництві як основу комплектних систем перегородок, облицювань стін, підвісних стель, мансард, збірних стяжок підлог. Плити виготовляють у заводських умовах методом напівсухого пресування із суміші гіпсового в’яжучого і розпушеної макулатури. Гіпсокартонні плити. Плитний оздоблюваний матеріал, виготовлений із будівельного гіпсу, армований мінеральним волокном і обклеєний з обох боків високоякісним багатошаровим пресованим картоном. Глибина закладання фундаменту. Відстань від поверхні землі до підошви фундаменту.

Глибина промерзання ґрунту. Промерзання ґрунту на певну глибину відбувається у сезон мінусових температур повітря. Його максимальну глибину встановлюють за фактичним промерзанням ґрунту на відкритій, безсніжній поверхні. За результатами 10-річних спостережень встановлюють нормативну глибину промерзання як середню зі щорічних максимальних глибин сезонного промерзання у конкретному районі.

Горизонтальна гідроізоляція. Її улаштовують у безпідвальних приміщеннях для захисту стін від вогкості в цоколі на 15–20 см вище рівня тротуару. Гофр. Пресована складка, отримана у процесі гофрування з метою надання листам поперечної жорсткості.

Гребінь. Верхнє горизонтальне ребро даху.

Ґрунти. Будь-які гірські породи та технологічні утворення, які мають певні генетичні ознаки, здебільшого є багатокомпонентними системами і перебувають під впливом інженерної діяльності людини. Ґрунтові води. Підземні води першого від поверхні безнапірного постійного водоносного горизонту, який залягає на найближчому водотривкому пласті. Ґрунтовка. Матеріал, який закріплює поверхню основи, зменшує її водопоглинання і збільшує адгезію до неї наступних шарів. Ґрунтовки також забезпечують високу адгезію штукатурок до основи, створюють рівномірний колірний тон і забезпечують зручне укладання штукатурки та формування захисного шару на її поверхні.

236 Термінологічний словник
Ґ
Право для безоплатного розміщення підручника в мережі Інтернет має Міністерство освіти і науки України http://mon.gov.ua/ та Інститут модернізації змісту освіти https://imzo.gov.ua

Ґрунтово-рослинна волога. Міститься в ґрунтово-рослинному шарі у вигляді зосередженої пароподібної та краплиннорідкої води, не зв’язаної з ґрунтовими водами. Перебуває у підвішеному стані. Її характерною

властивістю є

несталість режиму, наявність органічних речовин і мікроорганізмів.

Деревноволокнисті плити (ДВП). Щільноспресовані плити з подрібнених

волокон деревини та органічної в’яжучої речовини (синтетичні смоли), які використовують для виготовлення меблів та в будівництві.

Деревностружкові плити (ДСП). Щільноспресовані плити зі стружки деревини та органічного в’яжучого (синтетичні смоли), застосовують при виготовленні конструктивних елементів.

Деформаційний шов. Наскрізний вертикальний проріз у конструкціях, який допускає деформацію будівлі та зміщення окремих її частин під дією навантажень унаслідок температурних впливів осідання ґрунту основи без пошкодження суміжних частин всієї будівлі. Розрізняють осідальні та температурні деформаційні шви.

Довговічність. Властивість об’єкта чи матеріалу зберігати нормативні властивості до настання граничного стану при встановленій системі технічного обслуговування і ремонту.

Дренаж. Метод осушення, який забезпечує зниження рівня ґрунтових вод горизонтальними або вертикальними дренами.

Дренажна труба. Для улаштування горизонтальних дренажів використовують керамічні, азбоцементні з пропилами, пластмасові перфоровані або виті труби, вода до яких надходить відповідно крізь стики, пропили, отвори і щілини. Навколо труб улаштовують фільтруючі обсипки або дренажні фільтри для відвернення замулювання труб і потрапляння в них дрібних частинок ґрунту. Дренажний фільтр. Частина дренажу, яку використовують у вигляді фільтруючих обсипок або дренажних фільтрів для запобігання винесенню частинок ґрунту з водоносного горизонту до труб вертикальних і горизонтальних дренажів. Для фільтруючих обсипок використовують гравій, щебінь, піщано-гравійні суміші, піски крупні та середньої крупності. Дренажні фільтри роблять зі скловати, повсті зі штапельного базальтового волокна, скловолокнистих тканин і сіток.

Електричний котел. Це улаштування, в якому для нагріву води, яку використовують поза цим улаштуванням, застосовують теплоту, що виділяється при перетворенні електроенергії у теплову енергію.

Етапи будівництва. Будівництво малоповерхових житлових будинків можна поділити на два самостійних етапи — підготовчий і здійснення будівництва об’єкта.

Право для безоплатного розміщення підручника в мережі Інтернет має Міністерство освіти і науки України http://mon.gov.ua/ та Інститут модернізації змісту освіти https://imzo.gov.ua

237
Д
Е

Займистість. Характеризує здатність конструкції горіти або не горіти при дії на неї вогню.

Закидка. При улаштуванні стовпчастих фундаментів для утеплення підпілля і запобігання його захаращенню улаштовують закидку, яка є огороджувальною стінкою між стовпчастими опорами.

Затягання. Металевий, залізобетонний або дерев’яний конструктивний

елемент, призначений для сприймання розтягувальних напружень, наприклад, у покритті (фермах) будинків і споруд.

Збірні основи підлог. Збірні основи під покриття підлог виготовляють із гіпсокартонних, гіпсоволокнистих та цементно-мінеральних плит у житлових, громадських і адміністративних будинках для забезпечення рівної та гладкої поверхні. Їх розраховано на мале та середнє навантаження і можна застосовувати у приміщеннях з усіма технологічними режимами.

Звис даху. Нижній край схилу даху, який виступає за площину зовнішньої стіни.

Звук. Звукові хвилі. Механічні коливання, що поширюються у твердих, рідких і газоподібних середовищах; пружні хвилі малої інтенсивності. Звукоізоляція. Здатність перепони ослабити шум, що проходить крізь неї. З’єднувальні елементи. Поєднують окремі елементи (анкери, підвіс, підвісну конструкцію, обшивку) одне з одним, наприклад, дюбелі, болти, скоби тощо.

Інфрачервоний обігрівач. Це сучасний обігрівальний прилад, який випромінює електромагнітні хвилі у діапазоні 0,75–100 мкм, щ о несуть теплову енергію. Ці хвилі нагрівають не повітря, а предмети, людей і тварин, які перебувають у зоні їхньої дії. Уже прогріті предмети віддають накопичене тепло повітрю, яким заповнене приміщення. Таким чином поступово відбувається прогрів усього приміщення. За типом теплоносія усі інфрачервоні обігрівачі поділяють на електричні, газові, рідиннопаливні. Для обігріву малоповерхових будівель використовують електричні інфрачервоні обігрівачі. До переваг цих обігрівачів належать: простота конструкції і невисока ціна, швидкий обігрів, відсутність конвекційних потоків, економічність, безшумність роботи.

Каркас. Кістяк будинків і споруд, просторова система несучих конструкцій, яка сприймає вертикальні та горизонтальні навантаження (вага споруди, обладнання, люди, сніг, тиск вітру, сейсмічні поштовхи тощо) і передає їх через фундаменти на основу споруди.

Каркас підвісної стелі дворівневий. Складається із несучих і основних елементів, розташованих у двох рівнях. Підвішують до базової основи (пере-

238 Термінологічний словник З
І
К
Право для безоплатного розміщення підручника в мережі Інтернет
Міністерство освіти і науки України
та Інститут модернізації змісту освіти https://imzo.gov.ua
має
http://mon.gov.ua/

криття) за допомогою підвісів. Елементи каркаса з’єднують між собою дворівневими з’єднувачами.

Каркас підвісної стелі однорівневий. Складається із несучих і основних профілів, розташованих на одному рівні. Профілі утворюють раму, яку підвішують до базової основи (перекриття) за допомогою підвісів. Елементи каркаса з’єднують між собою однорівневими з’єднувачами.

Каркасно-обшивні стіни. Каркасно-обшивні огороджувальні конструкції будівель і споруд, що охоплюють: сталевий або дерев’яний каркас; зовнішню

обшивку каркаса, наприклад, з цементно-мінеральних плит; внутрішню обшивку каркаса з гіпсокартонних або гіпсоволокнистих плит, а за потреби — з цементно-мінеральних плит; тепло- та звукоізоляційний матеріал, що заповнює простір між стійками каркаса; гідровітрозахисний шар, який розташовують із зовнішнього боку теплозвукоізоляції; пароізоляційний шар із внутрішньої сторони теплозвукоізоляції.

Карниз. Горизонтальний виступ на стіні, який підтримує звис покрівлі та захищає стіну від стічної води, а також завершує горизонтальні елементи фасаду.

Класи наслідків (відповідальності) будівель і споруд визначають рівнем можливих матеріальних збитків і (або) соціальних втрат, пов’язаних

із припиненням експлуатації або втратою цілісності об’єкта. Клас СС3 відповідає значним наслідкам; клас СС2 — середнім; СС1 — незначним. Клас відповідальності споруди призначає проєктна організація, що розробила проєкт будівлі, або організація, яка видала завдання на проєктування.

Клас пожежної безпеки будівельних матеріалів. Можливість виникнення або швидкого розвитку пожежі обумовлено властивостями будівельних матеріалів. Розрізняють 6 к ласів пожежної небезпеки будівельних матеріалів: починаючи з КМ0 й закінчуючи КМ5. Кожному класу відповідає певний показник стійкості матеріалу, який розраховують окремо за горючістю, займистістю, димоутворенням, виділенням токсичних продуктів, поширенням полум’я.

Клеєна деревина. Виготовляють із дощок товщиною не більше ніж 50 мм з вологістю не більше ніж 15 % у  вигляді балок двотаврового, таврового, прямокутного перерізу. Із клеєної деревини виготовляють арки і ферми, які застосовують у перекриттях і покриттях будівель та споруд. Також застосовують у вигляді паль, шпунта, мостових брусів, шпал, елементів стін та інвентарної опалубки. Для склеювання конструкцій і виробів з деревини застосовують водостійкі клеї із полімерних і штучних смол, а також середньоводостійкі клеї (казеїново-цементні та ін.).

Клеї, адгезиви. Композиції на основі органічних або неорганічних речовин, здатні з’єднувати різні матеріали — деревину, папір, тканини, скло, кераміку, метали, пластмаси, гуму. Окрім міцного адгезійного зв’язку, на міцність клеєвого шва впливає також когезія клеєвого шару і поверхонь. Клямер. Кріпильний пристрій, який застосовують при улаштуванні черепичних покрівель дахів будинків і споруд, у вигляді дротової обкрутки.

239
Право для безоплатного розміщення підручника в мережі Інтернет має Міністерство освіти і науки України http://mon.gov.ua/ та Інститут модернізації змісту освіти https://imzo.gov.ua

Когезія. Зчеплення і зв’язок між частинками однорідних за хімічним складом поверхонь або рідини, що призводить до об’єднання цих частинок у єдине тіло через міжмолекулярні взаємодії або хімічні зв’язки. Комір. З’єднувальна деталь між димарем і черепичною покрівлею. Комір

навкруги димаря заповнюють жорсткою цементно-піщаною розчиновою сумішшю марки не нижче ніж 200. Висота коміра — 150 мм.

Комплектна система. Підбір комплекту будівельних матеріалів, виробів, інструментів, технічної, методичної, навчальної документації та послуг, що забезпечують виконання будівельно-монтажних та оздоблювальних робіт з використанням сучасних технологій і високими показниками якості.

Композитні матеріали. Утворюють об’ємним поєднанням хімічно різнорідних компонентів з чіткою межею розподілу між ними. Характеризуються властивостями, яких не має жоден із компонентів окремо.

Конвекційне опалення. Приміщення малоповерхового будинку можна опалювати конвекторами — приладами, в яких майже вся теплота від теплоносія передається у приміщення конвекцією — природною циркуляцією повітря. Перевагами конвекторного опалення є: простий монтаж і підключення до електромережі, мобільність, комфортність, компактність, безшумність, високий рівень ККД, великий термін служби, привабливий зовнішній вигляд, безпечність, простий догляд, доступність завдяки відносно низьким цінам.

Конвекція. Переміщення макроскопічних частин середовища (газу, рідини), яке призводить до масо- і теплообміну.

Контактний тиск. Реактивний тиск ґрунту на підошву фундаменту, який виникає у результаті його навантаження.

Кроква. Елемент даху у вигляді похилої балки, на яку обпирають настил покрівлі. Розташовують між гребенем і мауерлатом даху. Кромкова стрічка. Двошарова стрічка із класифікованого пінополістиролу. Має товщину 8 або 10 мм і ширину 100 або 120 мм. С лужить захистом від потрапляння вологи на стіну з наливної стяжки підлоги і компенсатором напруги між стіною та розчиновою сумішшю під час її твердіння.

Лаги. Балки, на які обпирають настил підлоги, яку улаштовують по ґрунту в підвалі або у приміщеннях першого поверху безпідвального будинку. Лаки. Розчини плівкоутворювальних речовин в органічних розчинниках, які застосовують для отримання прозорих захисних і декоративних покриттів. Лати. Брус під настил, який закріплюють по кроквах і застосовують при улаштуванні черепичної покрівлі. Лати також застосовують при улаштуванні покрівель із азбестоцементних листів, металочерепиці та в інших випадках. Легке будівництво. Поєднує в собі короткотерміновість, екологічність, економне енергоспоживання, мінімізацію так званих мокрих технологічних процесів, упровадження легких будівельних виробів і конструкцій, комплектних систем, мінімізацію використання важких будівельних машин і механізмів.

Право для безоплатного розміщення підручника в мережі Інтернет має Міністерство освіти і науки України http://mon.gov.ua/ та Інститут модернізації змісту освіти https://imzo.gov.ua

240 Термінологічний словник
Л

Легкоукладність. Рухомість розчинової суміші потрібного складу, яка дає змогу укладати її наявними засобами з найменшою витратою зусиль та енергії.

ЛСТК. Легкі сталеві тонкостінні конструкції.

Мансарда. Горищне приміщення під крутим зі зламом дахом житлового будинку, яке використовують для житла і господарських цілей.

Марші. Похилі ділянки сходів. Марші можуть бути у вигляді опертих на майданчики сходів балок (косоурів або тятив), на які покладено сходини; суцільної конструкції (панелі), в якій нерознімно з’єднано несучі (косоури) та функціональні (сходини) елементи; окремих сходин, які спирають на ґрунт, стіни, підвіски та інші опори. Марші та майданчики мають огородження з поруччям.

Масляні обігрівачі. Широко застосовують для підвищення температури повітря в кімнатах малоповерхових будинків. Конструктивно масляний обігрівач — це герметичний резервуар, заповнений мінеральним мастилом. Вбудований ТЕН забезпечує поступове підвищення температури мастила. Щоб запобігти кипінню теплоносія, обігрівач оснащують температурним датчиком. Він також має додатковий контроль горизонтального положення корпусу. Масляні обігрівачі прості і практичні в експлуатації, мобільні, оснащені таймерами для вмикання приладу у потрібний час, мають тривалий термін служби і високу надійність, працюють безшумно, займають мало місця, не спалюють кисень повітря. Мастика. Матеріал у вигляді пластичної суміші органічної в’яжучої рідини з добавками, зазвичай з тонкомеленими наповнювачами. За призначенням розрізняють мастики покрівельні (гарячі та холодні), гідроізоляційні, для підлог, герметизувальні. За видом в’яжучого мастики можуть бути бітумні, гумобітумні, дьогтьові, полімерні тощо.

Марші. Похилі ділянки сходів. Марші можуть бути у вигляді опертих на майданчики сходів балок (косоурів або тятив), на які покладено сходини; суцільної конструкції (панелі), в якій нерознімно з’єднано несучі (косоури) та функціональні (сходини) елементи; окремих сходин, що спирають на ґрунт, стіни, підвіски та інші опори. Марші та майданчики мають огородження з поруччям.

Металочерепиця. Покрівельний матеріал, виконаний зі сталевих або алюмінієвих листів зі спеціальним захисним покриттям. Зовнішня поверхня металочерепиці нагадує керамічну черепицю.

Місток холоду. Елемент огороджувальної конструкції будинку, крізь який холод ззовні може проходити всередину будинку.

Надбудова. Один із видів реконструкції, що полягає в улаштуванні одного чи кількох поверхів, які надбудовують на місці розібраного покриття реконструйованого будинку з метою збільшення його місткості, комфортності, зміни функціонального призначення та продовження терміну служби.

241
М
Н
Право для безоплатного розміщення підручника в мережі Інтернет має Міністерство освіти і науки України
та Інститут модернізації змісту освіти https://imzo.gov.ua
http://mon.gov.ua/

Накопичувач. Споруда автономної каналізації, призначена для накопичення стоків. До накопичувачів належать вигрібні ями й герметичні баки для стоків, воду в яких не очищують. Накопичувачі прості у встановленні, але потребують частого очищення асенізаційною машиною. Найпростіші варіанти

накопичувачів без герметичної кришки забруднюють верхній шар ґрунту і розповсюджують неприємні запахи.

Наличник. Декоративне обрамлення віконного або дверного прорізу, призначене для закривання щілини між дверною або віконною коробкою і стіною. Виготовляють із деревини, цементу, штукатурки тощо.

Ноніус-підвіс. Застосовують для закріплення каркаса підвісної стелі до несучої основи. Складається з трьох частин: верхньої і нижньої частин підвісу та двох фіксаторів. Дає змогу забезпечити потрібний міжстельовий простір.

Обклеювальна гідроізоляція. Гідроізоляційні обклеювальні матеріали, які застосовують для гідроізоляції підземних споруд, фундаментних стін, плоских покрівель, трубопроводів. Це килим, який наклеюють на гарячих або холодних мастиках або на чистих бітумах на заґрунтовану поверхню конструкції (що захищають).

Обшивні плити. Використовують для підшивних стель з метою їхньої декоративної обробки. Плити можна приклеювати безпосередньо до поверхні міжповерхового перекриття, до дерев’яних брусків, смуг з гіпсокартону. Матеріал плит — полістирол.

Огороджувальні конструкції. Елементи конструкцій, що утворюють зовнішню оболонку будівлі або поділяють її на окремі приміщення; можуть водночас служити і несучими конструкціями. Поділяють на вертикальні (стіни, перегородки) і горизонтальні (перекриття, покриття).

Окремі фундаменти. Фундаменти під колони, стійки і стовпи виконують монолітними або збірними стаканного типу. Найбільш економічними є фундаменти, які складаються з одного елементу (блока).

Оліфи. Рідкі матеріали на основі рослинних олій або олієвмісних алкідних смол. Застосовують для виготовлення олійних фарб, ґрунтовок, шпаклівок, а також просочення поверхні дерева та інших пористих матеріалів перед їхнім пофарбуванням.

Опір теплопередачі. Опір, який чинить будівельна конструкція, або термічний опір. Це величина, обернена коефіцієнту теплопередачі (м2К/Вт).

Основні елементи каркаса. Елементи, які з’єднують з базовою основою (перекриття, підлога). П

Паля. Конструктивний

242 Термінологічний словник
О
елемент фундаменту, стрижень (стовп, брус), повністю або частково заглиблений у ґрунт для передачі йому навантаження від споруди. Право для безоплатного розміщення підручника в мережі Інтернет має Міністерство освіти і науки України http://mon.gov.ua/ та Інститут модернізації змісту освіти https://imzo.gov.ua

Паля з розширеною п’ятою. Для підвищення несучої спроможності на кінці палі улаштовують розширення за допомогою механічного розширювача, вибуху (камуфлетна паля). До паль з розширенням на кінці можна зарахувати забивку палі з розкривним наконечником.

Пальовий фундамент. Складається із паль і пальового ростверка. Тип пальового фундаменту обирають залежно від геологічних і гідрогеологічних умов будівельного майданчика, конструктивних особливостей і розмірів споруди, величини навантажень, досвіду будівництва й виробничих можливостей

будівельної організації. Остаточне рішення щодо довжини й перерізу паль та їхнього типу приймають на основі техніко-економічних порівнянь можливих варіантів.

Паропроникність. Спроможність будівельних матеріалів пропускати крізь себе водяну пару.

Перев’язування швів. Для рівномірного сприйняття зосередженого навантаження на збірні бетонні фундаментні блоки площини розрізи кожного ряду блоків має бути зміщено відносно площин розрізу обох суміжних з ним рядів.

Перемичка. Конструкційний елемент, який перекриває дверні, віконні та інші прорізи стін і сприймає навантаження від частини стіни, перекриттів (покриттів) та інших конструкцій, які спирають на стіну. Пігменти. Високодисперсні порошки різних кольорів, нерозчинні у воді та забарвлюваних середовищах. Усі пігменти поділяють на неорганічні й органічні. Їхні найважливіші характеристики — яскравість та насиченість кольору, покривність (здатність перекривати колір поверхні, яку фарбують), світлостійкість, стійкість до дії хімічних речовин, розмір частинок.

Підвісна стеля. Облицювання, які прикріплюють або підвішують до несучої конструкції перекриттів за допомогою підвісних кріпильних пристосувань.

Підготовчий період. Охоплює вибір проєкту будинку, отримання всіх необхідних дозволів на будівництво, укладення договору з підрядником, роботи з організації під’їзду до будівельного майданчика, забезпечення енергопостачання, розчищення території, розбивку та винесення в натуру будинку, розбивку котловану під фундаменти та визначення його глибини.

Підлога. Верхня частина конструкції перекриття або конструкція, яку влаштовують по ґрунту (в першому поверсі або підвалі).

Підошва фундаменту. Нижня площина фундаменту будівлі, що контактує з ґрунтом основи.

Плаваюча підлога. Підлога, яку відділяють від каркасно-обшивної стіни або перегородки кромковою стрічкою, щоб відвернути передачу ударного шуму через міжповерхові перекриття.

Пластичний герметик. Нетвердіючий ущільнювач, призначений для герметизації стиків між матеріалами різних конструктивних деталей будівель.

Плити ОСП (орієнтовано стружкові плити) або OSB (Oriented Strand Board). Сучасний матеріал, який з’явився

243
на ринку США у 1978 р. як заміна плит ДСП і фанери. Цю плиту виготовляють із орієнтованої плоскої деревної дрізПраво для безоплатного розміщення підручника в мережі Інтернет має Міністерство освіти і науки України http://mon.gov.ua/ та Інститут модернізації змісту освіти https://imzo.gov.ua

ки. Унікальні фізико-механічні властивості пояснюють розмірами і характером укладання дрізки — довгу тонку дрізку (довжина до 140, товщина 0,6 мм) ук ладають у плиті трьома шарами. Зовнішні шари утворюють дрізкою, орієнтованою по довжині плити. У внутрішньому шарі дрізку укладають перпендикулярно

довгій стороні плити. У результаті глибокої переробки деревини шляхом пресування дрізки під високим тиском з використанням клеючої водостійкої смоли створюють матеріал з анізотропними властивостями — підвищеною міцністю на вигин і підвищеною пружністю по довжині плити. Зв’язний матеріал і спеціальна обробка поверхні забезпечують водо- і вогнестійкість плит, які значно перевищують подібні характеристики масивної деревини. Плити ОСП стійкі до зміни погодних умов (вологість, температура). Їх легко обробляти.

Плитковий клей. Використовують для приклеювання керамічної плитки, плит з природного каменю на бетон, цеглу, газобетон, легкий бетон та інші підоснови. Повітропровід. Трубопровід для переміщення повітря, який застосовують у системах вентиляції, повітряного опалення, кондиціювання повітря. Може мати круглий або прямокутний переріз. Виготовляють з листової сталі, пластмас та інших матеріалів. Повітропроникність. Здатність огороджувальних конструкцій будинку пропускати крізь себе повітря під дією вітрового навантаження.

Повітряне опалення. Система опалення, при якій приміщення опалюють підігрітим вище температури приміщення повітрям. Розрізняють ПО рециркуляційне, при якому все повітря, що подається до повітронагрівача, забирається з опалюваного ним приміщення, та сумісне з вентиляцією, коли все повітря подається до повітронагрівача частково із опалюваного ним приміщення, а частково зовні. Переміщення повітря в системі ПО може бути природним (завдяки різниці температур і щільності повітря) або примусовим (за допомогою вентиляторів). ПО здійснюють місцевими опалювальними і опалювально-вентиляційними агрегатами, що встановлюють в опалюваних приміщеннях, та центральними (один агрегат обслуговує кілька приміщень).

Подовжувач профілів. Призначений для з’єднання стельових профілів при їхньому нарощуванні.

Пожежний повідомлювач. Автономний прилад, який сприймає початкові ознаки (зазвичай дим) і подає звуковий сигнал пожежної тривоги.

Покриття. Один з основних елементів будинку, верхня зовнішня огород жувальна конструкція, призначена для виділення будинку і приміщень у просторі, ізоляції приміщень, відведення дощових вод і сприймання снігових навантажень. Служить перекриттям останнього поверху або розташовують над ним, утворюючи горищний простір.

Покрівля. Верхній гідростійкий захисний шар покриття будинку (даху).

Буває рулонною, листовою, з дрібнорозмірних виробів. Можуть застосовувати внутрішній або зовнішній водостік. Прибудова. Частина будівлі, яку розташовують за межами капітальних зовнішніх стін. Один з видів реконструкції будівель, пов’язаний з їхнім укрупненням або наданням будівлі нових функціональних особливостей.

244 Термінологічний словник
Право для безоплатного розміщення підручника в мережі Інтернет має Міністерство освіти і науки України http://mon.gov.ua/ та Інститут модернізації змісту освіти https://imzo.gov.ua

Профіль для деформаційних швів. Алюмінієвий профіль з еластичною вкладкою у перегородках з гіпсокартонною або гіпсоволокнистою одношаровою обшивкою.

Профіль кутовий з армувальною сіткою. Ставлять у зовнішніх і внутрішніх кутах для запобігання пошкодженню кутів стін і перегородок.

Профіль опорний. Ставлять при кріпленні нижньої цементно-мінеральної

плити обшивки металевого каркаса стіни будинку.

Профнастил. Металеве профільоване листове покриття товщиною 0,45–

1,25 мм з кількома захисними шарами товщиною від 1 до 9 мм.

Процес. Тісний зв’язок стадій роботи, які послідовно та закономірно виконують одну за одною у цілеспрямованому русі в напрямку кінцевого результату.

Прямий підвіс. Застосовують для кріплення стельового профілю і дерев’яних брусків каркаса при облицюванні стін, мансард і при улаштуванні підвісних стель.

Радіаторний обігрів. Поширений вид опалення малоповерхових будинків. Це система з газового або електричного обігрівального котла, насоса, труб і радіаторів.

Рамна система каркаса. Плоска або просторова геометрично незмінна система, елементи якої (стійки і ригелі) у всіх кутах жорстко поєднано між собою і розташовано в одній площині.

Реверберація. Процес поступового затухання звукової хвилі в закритому приміщенні після припинення дії джерела звуку, зумовлений повторним віддзеркаленням звукових хвиль.

Реконструкція. Перебудова будівлі для покращання її функціонування або для використання за новим призначенням. Відтворення окремої будівлі виконано в натурі або у кресленні.

Ремонт. Сукупність організаційних і технічних заходів, які здійснюють з метою відтворення справності або функціональності об’єкта.

Ремонтопридатність. Властивість деталі виробу, що полягає в його здатності до попередження, знаходження й усування причин і наслідків пошкоджень шляхом виконання технічного обслуговування і ремонту. Характеризується затратами праці, часу і коштів на підтримку і відтворення працездатності об’єкта.

Робочі креслення. Необхідні для здійснення запроєктованих конструкцій будівель і споруд. Розробляють проєктні організації.

Розділова стрічка. Для ковзного сполучення конструкцій із гіпсокартонних плит з іншими матеріалами в місцях можливих деформацій. Полімерна клейка стрічка шириною 50 мм. Найбільш часто її використовують при монтажі підвісних стель.

245
Р
Право для безоплатного розміщення підручника в мережі Інтернет має Міністерство освіти і науки України http://mon.gov.ua/ та Інститут модернізації змісту освіти https://imzo.gov.ua

Розріджувачі. На відміну від розчинників, не розчиняють плівкоутворювальну основу і служать для зменшення в’язкості густотертих фарб або розведення сухих мінеральних фарб-пігментів.

Розчинники. Індивідуальні хімічні сполуки або їхні суміші. Здатні перетворювати різні речовини у розчин. Поділяють на неорганічні (вода) й органічні (ароматичні вуглеводні, спирти, ефіри та ін.). Ростверк. Конструкція верхньої частини пальового фундаменту у вигляді бетонної або залізобетонної плити чи балки, яка об’єднує палі. Служить для рівномірної передачі навантаження на палі.

Руберойд. Рулонний, покрівельний і гідроізоляційний матеріал, який виготовляють, просочуючи покрівельний картон м’якими нафтовими бітумами з подальшим покриттям з обох боків тугоплавким нафтовим бітумом і захисною посипкою.

Рухомість штукатурки. Показник її пластичності. Сприяє належному вирівнюванню поверхні. Одна із основних властивостей штукатурки.

Сайдинг. Сучасний облицювальний матеріал, зокрема пластикові стінові панелі, наприклад, з вінілу. Головні його переваги — не придатний до гниття, не змінює кольору з плином часу. Термін служби матеріалу — 50 років. Септик. Споруда для очищення невеликої кількості (до 27 м3/доба) стічних вод. Це підземний резервуар (бетонний, залізобетонний), який має від однієї до трьох камер. Застосовують для попередньої механічної обробки стічних вод, які потім надходять на споруди біологічного очищення (поля підземної фільтрації, підґрунтового зрошення), або самостійна очисна споруда. Стічна вода відстоюється у септику, протікаючи крізь нього протягом 2,5–3 діб. Осад, який випадає, перегниває, і його періодично (1–2 рази у рік) видаляють.

Септик-агротенк. Споруда для біологічного очищення стічних вод за допомогою анаеробних бактерій. Це бетонний або залізобетонний проміжний резервуар, поділений перегородками на ряд секцій, у кожній із яких відбувається очищення води. В одній із секцій є біологічно активний мул з анаеробними бактеріями. Ці мікроорганізми набагато швидше переробляють стоки, але їм потрібне підживлення киснем. Для цього у систему вбудовано аератор, в який компресором нагнітають повітря. Тривалість обробки стічних вод в агротенку — 6–12 годин.

Септик з біофільтром. Це споруда для біологічного очищення за допомогою анаеробних бактерій. Ємність септика розділено на дві або три секції одна в одній або поряд одна з одною. Усі секції з’єднано переливами. Першу секцію призначено для збору основної маси відходів твердого типу. У другій секції встановлено колбу з нерозчинним доповнювачем (засипкою), яка є місцем для бактерій, яких запускають всередину. При перетіканні вода контактує з бактеріями, які активно розмножуються і перероблять відходи людської життєдіяльності. Далі вода йде вже в очищеному вигляді. Септик з біофільтром є найкращим вибором для автономної каналізації будинку. Він має високий сту-

246 Термінологічний словник
С
Право для безоплатного розміщення підручника в мережі Інтернет має Міністерство освіти і науки України http://mon.gov.ua/ та Інститут модернізації змісту освіти https://imzo.gov.ua

пінь очищення стоків, нейтралізує запахи, здатний до тривалої роботи в автономному режимі.

Склепінчасте покриття. Просторова жорстка конструкція покриття чи перекриття, геометричну форму якої утворено криволінійною поверхнею.

Працює переважно на стиск і характеризується наявністю розпору. Може бути гладким, ребристим, складчастим або хвилястим. Будують з каменю, цегли, бетону, залізобетону і деревини.

Склопакет. Будівельний виріб із двох (рідше трьох) листів скла, герметично з’єднаних за периметром рамкою (обоймою). Утворену між шибками порожнину заповнюють осушеним повітрям, що унеможливлює запотівання і замерзання скла. Замість осушеного повітря порожнину нерідко заповнюють інертним газом. Інертні гази є кращою теплоізоляцією, оскільки вони важчі за повітря. Їхня конвекція і теплопровідність менші, тому втрати тепла між шибками порівняно нижчі.

Софіт звису. Звернена донизу опоряджена поверхня звису виносного карниза даху будинку.

Стовпчастий фундамент. Рекомендують при незначному навантаженні

від стіни будівлі або коли основу фундаментів утворюють ґрунти з високою міцністю і малою деформативністю. Складаються зі стовпчастих опор і фундаментних (ранд) балок.

Стовпчасті опори. Опори, на які обпирають фундаментні балки. Улаштовують з цегли, бутового каміння, бетону, залізобетону в порожнинах, утворених у результаті буріння або відривання в ґрунті.

Сухі будівельні суміші (СБС). Багатокомпонентні системи, які виготовляють дозуванням і ретельним перемішуванням мінеральних в’яжучих, полімерних зв’язників, наповнювачів та інших домішок; упаковують у спеціальну тару на підприємстві-виробнику. З водою змішують безпосередньо перед застосуванням.

Тепловентилятори. Це повітряно-опалювальні агрегати, які поділяються на два типи: водяні теплові вентилятори і електричні теплові вентилятори. Усі теплові вентилятори відрізняються за типом теплообмінника, функціональністю і використанням. У корпусі цих улаштувань в один або декілька рядів розташовано теплообмінники, частіше трубчасті з пластинчастим ребруванням для ефективного теплозйому. Встановлені позаду осьові вентилятори захоплюють повітря із приміщення, проганяють повітряний потік крізь калорифери-теплообмінники. Повітряний потік від них спрямовують за допомогою жалюзі в потрібному напрямку. Перевагами побутових теплових вентиляторів є: швидке нагрівання і розподілення повітря у приміщеннях; компактність, захист від перегріву, відключення у випадку падіння. Недоліками є шум при роботі, пересушування повітря у приміщенні. До теплових вентиляторів належать теплові повітряні завіси, які створюють плоский і потужний потік повітря в локальній

247
Т
Право для безоплатного розміщення підручника в мережі Інтернет має Міністерство освіти і науки України http://mon.gov.ua/ та Інститут модернізації змісту освіти https://imzo.gov.ua

області. Ці агрегати створюють повітряний бар’єр у відкритому прорізі для запобігання втрат теплого повітря у приміщеннях.

Тепловий насос. Система, яка здатна перенести тепло від менш нагрітого тіла до більш нагрітого з підвищенням його температури. Для забезпечення роботи теплового насоса потрібна витрата енергії, яка не повинна перевищувати об’єм виробленої енергії. За джерелами тепла виділяють насоси: гідротермальні, які тепло беруть з ґрунту або води (теплову енергію отримують з повітря); насоси, що використовують повторне тепло (з повітря, води, каналізаційних стоків).

Теплоізоляція. Захист будинків та окремих конструкцій від теплових втрат або теплових впливів шляхом створення теплоізолювальних оболонок.

Теплоізоляція фундаментів. Заходи, спрямовані на зменшення глибини промерзання ґрунту основи фундаментів і запобігання його морозному здійманню.

Технічне підпілля. Розташовують під будівлею і використовують для інженерного обладнання та прокладання комунікацій.

Технологічний режим приміщення. Технологічні режими приміщень поділяють на сухий, нормальний, вологий і мокрий. Залежно від технологічного режиму обирають звичайні або вологостійкі ГКП чи ГВП для облицювання огороджувальних конструкцій.

Тріщиностійкість. Спроможність конструкцій сприймати навантаження, що на них діють, без утворення тріщин.

Утеплювач СІП-панелей. Як утеплювач (сердечник) СІП-панелі найчастіше використовують один із видів пінополістиролу ПСБ (пінополістирол суспензійний безпресовий). Назва англійською — Expanded Polysteren (EPS). Спеціальні добавки роблять ПСБ самозатухальним (літера С у кінці абревіатури ПСБ-С).

У СІП-панелях використовують пінополістирол марки ПСБ-С25, який на 98% складається із повітря, що міститься у чарунковій матриці. Цифра після абревіатури ПСБ-С характеризує щільність матеріалу у кг/м3. ПСБ — горючий матеріал. Його застосування як утеплювача СІП-панелей визначають вимогами технічного регламенту про протипожежну безпеку і ДБН. Ущільнювальна стрічка. Використовують при монтажі ЛСТК для ущільнення стиків і шумозахисту.

Ущільнювач. Ущільнювальна маса, яку застосовують для герметизації швів і тріщин всередині та зовні будівель, водостічних покрівельних жолобів, вікон, дверних коробок.

Фактурна штукатурка. Штукатурка з рельєфною поверхнею, якої досягають за рахунок заповнювача. Виготовляють із сухих будівельних сумішей (СБС).

248 Термінологічний словник
У
Ф
Право для безоплатного розміщення підручника в мережі Інтернет має Міністерство освіти і науки України http://mon.gov.ua/ та Інститут модернізації змісту освіти https://imzo.gov.ua

За виглядом і глибиною малюнка поділяють на «шагрень», «короїд» і «руно». При створенні фактури використовують шпатель, губку, валик. Фанера. Листовий деревний матеріал, який створюють склеюванням трьох і більше шарів лущеного шпону (з перехресним розташуванням листів шпону

відносно волокон деревини). Виготовляють з берези, вільхи, сосни, ясена, бука та ін. Випускають у вигляді листів товщиною 1,5–18 мм, лис ти товщиною 18 мм називають фанерними плитами.

Фарби. Суспензії, які утворюють покриття потрібного кольору. Містять

зв’язні (плівкоутворювальні) речовини, пігменти, розчинники, розріджувачі, наповнювачі, різні хімічні додатки.

Ферма. Стрижнева несуча конструкція покриття будівлі. Основні частини ферми — верхній і нижній пояси, ґрати.

Фітинг. З’єднувальна деталь трубопроводу, на поворотах, переходах, розгалуженнях, а також для з’єднань прямолінійних ланок труб. Фітингом називають муфти, трійники, хрести, відводи. До фітингів також належать допоміжні деталі (пробки і ковпаки-заглушки, згини тощо).

Фундамент. Підземна частина споруди, яка сприймає від неї навантаження і передає його на основу, утворену ґрунтами.

Фундаментна балка. Обпирається на стовпи фундаменту і передає на них навантаження від огороджувальних конструкцій будівлі.

Фундаментна стіна. Зазвичай це стіна підвалу, складена зі збірних бетонних блоків, монолітного бетону, бутобетону. На фундаментну стіну обпирають надземні огороджувальні конструкції.

Цоколь. Нижня частина зовнішньої стіни будинку або споруди, яку розташовують безпосередньо на фундаменті. Надземні поверхні цоколя зводять із

довговічних матеріалів: граніту, пісковику, клінкерної цегли, щільного бетону, залізобетону.

Час межі вогнестійкості. Вогнестійкість конструкцій характеризується межею, яка становить час у годинах від початку випробування конструкції за стандартним температурним режимом до виникнення одного із таких чинників: утворення в конструкції тріщин і отворів, крізь які проникають продукти горіння або полум’я; підвищення температури на неопалюваній поверхні конструкції в середньому більше ніж на 140° або в будь-якій точці цієї поверхні більше ніж на 180°; втрата конструкцією несучої здатності; перехід горіння на суміжні конструкції або приміщення; руйнація вузлів кріплення конструкції.

Частота звуку. Кількість коливань тиску повітря за одну секунду. Частота в 1 коливання за секунду дорівнює 1 герцу (1 Гц). Будівельна фізика займається вивченням звуку в діапазоні частот, доступних людському слуху (від 16 до 20000 Гц).

249
Ц
Ч
Право для безоплатного розміщення підручника в мережі Інтернет має Міністерство освіти і науки України http://mon.gov.ua/ та Інститут модернізації змісту освіти https://imzo.gov.ua

Чиста підлога. Покриття підлоги (верхній шар). За типом покриття підлоги називають всю конструкцію системи.

Чорнова підлога. Основа для чистої підлоги.

Шпалери. Рулонний матеріал, призначений для обклеювання стін і стель житлових кімнат і окремих приміщень громадських будівель. Випускають переважно на паперовій основі, рідше — у вигляді полімерних плівок.

Шпаклівка. Пастовидна суміш, яку застосовують для вирівнювання шорстких, пористих, хвилястих поверхонь перед їхнім фарбуванням. Можна використовувати для забиття пазів, стиків, вибоїн.

Шпонка. Деталь шпонкового сполучення, яку закладають одночасно, наприклад, у паз маточини шківу, зубчастого колеса та ін. і в тіло вала. Шпонки також застосовують для з’єднання цементно-мінеральних плит підлоги.

Шпунтове сполучення. Пазогребеневе сполучення дощок і брусків, паркету або гіпсових плит.

Штукатурка. Опоряджувальний шар, утворений розчиновою штукатурною сумішшю на поверхнях конструкцій частин будинків і споруд. Призначення штукатурки — вирівнювання поверхонь будівельних конструкцій і підготовка

їх до подальшого опорядження (наприклад, фарбування, обклеювання шпалерами), надання поверхні декоративних властивостей. Шум. Надмірний або небажаний звук. Шум створює дискомфорт і може серйозно загрожувати здоров’ю людей.

Шурупокрут. Електричний інструмент для загвинчування шурупів при кріпленні е лементів різних конструкцій.

Щебінь. Будівельний матеріал у вигляді кутастих уламків каміння. Заповнювач для бетонів, матеріал дренажних шарів.

Якість. Сукупність ознак виготовленої продукції, що задовольняє вимоги споживача.

250 Термінологічний словник
Ш
Щ
Я
Право для безоплатного розміщення підручника в мережі Інтернет має Міністерство освіти і науки України http://mon.gov.ua/ та Інститут модернізації змісту освіти https://imzo.gov.ua

ДОДАТОК 1

251 Етапи зведення енергоощадного житлового будинку із СІП-панелей
Етапи зведення енергоощадного житлового будинку із СІП-панелей 1 3 5 6 4 2 Право для безоплатного розміщення підручника в мережі Інтернет має Міністерство освіти і науки України http://mon.gov.ua/ та Інститут модернізації змісту освіти https://imzo.gov.ua
252 + Додаток 1 7 9 11 12 10 8 Право для безоплатного розміщення підручника в мережі Інтернет має Міністерство освіти і науки України http://mon.gov.ua/ та Інститут модернізації змісту освіти https://imzo.gov.ua

ДОДАТОК 2

Приклади проєктів будинків із

253 Приклади проєктів будинків із СІП-панелей
Право для безоплатного розміщення підручника в мережі Інтернет має Міністерство освіти і науки України http://mon.gov.ua/ та Інститут модернізації змісту освіти https://imzo.gov.ua
СІП-панелей
254 + Додаток 2 Право для безоплатного розміщення підручника в мережі Інтернет має Міністерство освіти і науки України http://mon.gov.ua/ та Інститут модернізації змісту освіти https://imzo.gov.ua
255 Приклади проєктів будинків із СІП-панелей Право для безоплатного розміщення підручника в мережі Інтернет має Міністерство освіти і науки України http://mon.gov.ua/ та Інститут модернізації змісту освіти https://imzo.gov.ua

ДОДАТОК 3

Дизайн інтер’єрів будинків із СІП-панелей

256 + Додаток 3
Право для безоплатного розміщення підручника в мережі Інтернет має Міністерство освіти і науки України http://mon.gov.ua/ та Інститут модернізації змісту освіти https://imzo.gov.ua
257 Дизайн інтер’єрів будинків із СІП-панелей Право для безоплатного розміщення підручника в мережі Інтернет має Міністерство освіти і науки України http://mon.gov.ua/ та Інститут модернізації змісту освіти https://imzo.gov.ua

ПІСЛЯМОВА

Друзі! Під час опанування матеріалів посібника ви мали змогу переконатися, що СІП-будинки, як і будинки з каркасно-обшивними стінами і дерев’яними або металевими каркасами із ЛСТК, є швидкоспоруджуваним і енергоефективним малоповерховим житлом. На них існує певний попит. Сьогодні будівництво СІП-будинків продовжує розвиватися та вдосконалюватися у багатьох країнах, зокрема і в Україні. Сподіваємося, інформація, подана у книзі, допомогла вам швидко та легко опанувати цілу низку нових технологій, що використовують наразі у сучасному будівництві фахівці різних спеціальностей.

У виданні ми проаналізували методи легкого будівництва малоповерхових енергоефективних житлових будинків з використанням комплектних систем, що сприяє отриманню високої якості кінцевої будівельної продукції. Такі будинки, крім цього, є екологічними, економічними, естетичними, енергозберігальними і комфортними. Саме тому СІП-будинки можна впевнено назвати здоровим житлом.

Матеріали й методи сухого будівництва дозволяють здійснити не тільки надійні й довговічні звукоізоляційні і теплоізоляційні огороджувальні конструкції потрібної міцності, але й виконати високоякісне оздоблення зовні та всередині будинку. Вони забезпечують високу комфортність, ремонтопридатність і економічність житла.

При написанні книги ми використовували фахову українську та іноземну літературу, довідкові джерела з багатьох суміжних питань, практичний досвід будівництва й опорядження СІП-будинків. Упевнені, що отримані знання стануть надійним провідником у подальшому опануванні обраної професії!

258 Післямова
Право для безоплатного розміщення підручника в мережі Інтернет має Міністерство освіти і науки України http://mon.gov.ua/ та Інститут модернізації змісту освіти https://imzo.gov.ua

СПИСОК ЛІТЕРАТУРИ

1. Архітектура: короткий словник-довідник / За заг. ред. А. П. Мардера. К. : Будівельник, 1995. 333 с.

2. Будівництво малоповерхових швидкоспоруджуваних, енергозберігаючих житлових будинків із дерев’яним каркасом: Посібник для навчальних закладів будівельного профілю / І. В. Ципріанович, О. Ю. Старченко, Д. В. Гулін, С. В. Клименко, Т. Є. Остапченко. К.: ТОВ «Видавнича майстерня 2009», 2019. 576 с.

3. ДБНУ. Конструкції будинків і споруд. Теплова ізоляція будівель. ДБН В.2.6.-31: 2006. К.: Мінбуд України, 2006. 52 с.

4. Кесик Теодор Джонатан. Строительство деревяных каркасных домов в Канаде. Каталожный номер CCGN-17/ 1996E. Канада : Издательство CMHC. 297 с.

5. Савойский В. В., Болотских О. Н. Ремонт и реконструкция гражданских зданий. Харьков : Ватерпас, 1999. 287 с.

6. Сухе будівництво малоповерхових швидкоспоруджуваних житлових будинків: Посібник для навчальних закладів будівельного профілю / І. В. Ципріанович, О. Ю. Старченко, Д. В. Гулін, С. В. Клименко, Т. Є. Остапченко. К.: ТОВ «Видавнича майстерня 2009», 2018. 600 с.

7. Технологии быстрой стройки. Информационно-аналитический спецпроект Украинского строительного каталога № 1. К. : АСС-Медіа. Видавничий дім, 2010. 29 с.

8. Циприанович И. В., Старченко А. Ю. Комплектные системы сухого строительства. Учебник для подготовки специалистов строительных специальностей. К. : Мастера, 1999. 182 с.

9. Ципріанович І. В. Інженерна геологія : підручник. К. : КМУЦА, 1999. 256 с.

10. Ципріанович І. В., Старченко А. Ю. Комплектні системи сухого будівництва : навчальний посібник. 2-е вид. К. : Майстри, 2009. 416 с.

11. Ципріанович І. В., Старченко О. Ю., Гулін Д. В. Криволінійні та ламані форми гіпсокартонних облицювань: підручник. К. : ВАТ «Майстри», 2009. 416 с.

12. Enersip. Construction Manual. Jwaldner@enersip.com. WWW. enersip.com. 52 p.

13. Frame construction. Graphic guide to Rob Thallon. 3 rd Edition revised and adopted. The Taunton Press. 2008. 242 p.

14. M agRoc. Building New Zealand better. Structure Insulated System Technical Installation Manual. Version 6. December 2012. WWW.marroc. co.nz. 66 p.

15. Structural Panels Australia. Technical Data and Engineering Manual. Structural Panels Pty Ltd. 28–30. Edelmaier Street Baywater.Victoria.3153. WWW.structural panels.com.au. 50 p.

16. The Basis of Wood Frame Construction. American Forest and paper Association. 2003. 396 p.

259 Список літератури
Право для безоплатного розміщення підручника в мережі Інтернет має Міністерство освіти і науки України http://mon.gov.ua/ та Інститут модернізації змісту освіти https://imzo.gov.ua

ЗМІСТ

260
Шановні майбутні колеги-будівельники! ..........................................................................3 Вступ ...................................................................................................................................................4 Процес будівництва малоповерхового енергозберігаючого швидкоспоруджуваного безкаркасного панельного будинку ................. 6 1.1. Етапи будівництва.................................................................................................................6 1.2. Опис с тадій і графік будівництва об’єкта ...................................................................7 Фундаменти малоповерхових житлових будинків................................... 10 2.1. Основні поняття і визначення. Види фундаментів ............................................. 10 2.2. Фундаменти для малоповерхових легких будинків і споруд ........................ 12 2.3. Матеріали для фундаментів малоповерхових будинків .................................. 14 СІП-панелі у будівництві малоповерхових житлових швидкоспоруджуваних енергозберігаючих будинків ............................. 18 3.1. Сендвіч-панель як новий конструктивний матеріал огороджувальних конструкцій будинку ................................................................. 18 3.2. К ласифікація сендвіч-панелей..................................................................................... 20 3.3. Структурно-ізольовані панелі (СІП-панелі) ............................................................ 22 3.4. Ск ладові СІП-панелей ...................................................................................................... 23 3.4.1. Матеріали обшивки СІП-панелей ........................................................................ 23 3.4.2. Тепло-, звукоізоляційні матеріали для сердечника СІП-панелей ......... 29 Виробництво СІП-панелей і сендвіч-панелей ............................................ 38 4.1. Технологічні операції з виробництва СІП-панелей ............................................ 38 4.2. Технології виробництва сендвіч-панелей .............................................................. 40 4.3. Властивості та характеристики СІП-панелей ........................................................ 43 4.3.1. Теплоізоляційні властивості .................................................................................. 43 4.3.2. Фізико-механічні властивості СІП-панелей .................................................... 44 4.3.3. Пожежостійкість СІП-будинків 46 4.3.4. Звукоізоляційні властивості СІП-панелей ....................................................... 46 4.3.5. Екологічність СІП-будинків .................................................................................... 47 4.3.6. Довговічність СІП-будинків .................................................................................... 48 4.3.7. Швидкіс ть спорудження СІП-будинків .............................................................. 49 4.4. Основні характеристики стінових і покрівельних сендвіч-панелей ................................................................................................................. 50 4.4.1. Матеріали для обшивки стінових і покрівельних сендвіч-панелей .......... 50 4.4.2. Профілювання металевої обшивки стінових і покрівельних сендвіч-панелей та їхні стикові з’єднання 51 4.4.3. Основні характеристики, несуча здатність і теплоізоляційні показники стінових і покрівельних сендвіч-панелей ................................. 52 1 розділ 2 розділ 3 розділ 4 розділ Право для безоплатного розміщення підручника в мережі Інтернет має Міністерство освіти і науки України http://mon.gov.ua/ та Інститут модернізації змісту освіти https://imzo.gov.ua

4.4.4. Вогнестійкість стінових

4.5. Монтаж сендвіч-панелей

Загальні вказівки з конструювання і будівництва

огороджувальних конструкцій будинків із СІП-панелей .........................

5.1. Технічні характеристики СІП-панелей і способи їхнього з’єднання

5.2. Фундаментні стіни й обрізи фундаментів

5.3. Способи підйому й опускання

6.3. Вузол 2. Пряме з’єднання сусідніх СІП-панелей

фундаменту для СІП-будинку і монтаж цокольного перекриття та стін першого поверху

7.1. Вибір фундаменту для СІП-будинку ...........................................................................

7.2. Монтаж обв’язувального опорного бруса для цокольного перекриття, напрямних обв’язувальних брусів для зовнішніх стін і перегородок. Монтаж цокольного перекриття ................................................

7.3. Монтаж нижньої обв’язки стін першого поверху.

Монтаж міжповерхових

261
54
і покрівельних сендвіч-панелей ........................
............................................................................................... 55
58
58
............................................................... 60
СІП-панелей. Вигинальні навантаження ......... 61 5.4. К леї та ущільнювачі........................................................................................................... 64 5.5. З’є днання СІП-панелей нижньою і верхньою обв’язками. Кріпильні вироби ............................................................................................................... 65 5.6. Термальні бар’єри. Пожежна безпека ...................................................................... 67 Конструкція будинку із СІП-панелей ........................................................... 70 6.1. Схема складання будинку із СІП-панелей............................................................... 70 6.2. Вузол 1. Фундамент — перекриття нижнього поверху — зовнішня стіна із
із СІП-панелей ......................... 71
СІП-панелей або фундамент — стіна
зовнішніх стін малоповерхового житлового будинку. Вузол 3. Обрамування вікон і дверей .......................................................................... 75 6.4. Вузол 4. Улаштування міжповерхового перекриття у будинку із СІП-панелей ................................................................................................. 76 6.5. Вузол 5. З’єднання зовнішньої стіни з дахом СІП-будинку .............................. 79 6.6. Вузол
з’єднання гребеня даху із СІП-панелями даху. Вузол 7. Перетинання димаря з дахом..................................................................... 82 6.7. Вузол 8. Улаштування карниза даху .......................................................................... 84 6.8. Вузол 9. З’єднання зовнішньої стіни з перегородкою ...................................... 86 Вибір
89
6. Улаштування
....................
89
90
Монтаж
92 7.4.
94
стінових панелей ..............................................................................................
Монтаж стін першого поверху СІП-будинку ..........................................................
перекриттів СІП-будинку. Монтаж стін другого і решти поверхів ........................................................ 98 8.1. Монтаж міжповерхового перекриття ...................................................................... 98 8.2. Балкові настили перекриттів ....................................................................................... 99 8.3. Перекриття, які монтують із СІП-панелей ............................................................ 105 8.4. Монтаж стін другого та наступних поверхів будинку із СІП-панелей.................................................................................................................... 106 5 розділ 6 розділ 7 розділ 8 розділ Право для безоплатного розміщення підручника в мережі Інтернет має Міністерство освіти і науки України http://mon.gov.ua/ та Інститут модернізації змісту освіти https://imzo.gov.ua
262 Каркасно-обшивні та СІП-перегородки у СІП-будинках ........................ 110 9.1. Каркасно-обшивні перегородки у СІП-будинках .............................................. 110 9.2. Гіпсокартонні плити........................................................................................................ 111 9.3. Гіпсоволокнисті плити .................................................................................................. 113 9.4. Каркаси перегородок, елементи металевого каркаса ................................... 114 9.5. Е лементи дерев’яного каркаса ................................................................................. 117 9.6. Комплектувальні матеріали та вироби .................................................................. 118 Перегородки із СІП-панелей ....................................................................... 124 10.1. Види перегородок із СІП-панелей і їхні переваги .......................................... 124 10.2. З’є днання перегородних СІП-панелей між собою 125 Монтаж дахів ................................................................................................. 130 11.1. Види дахів та їхні конструктивні елементи 130 11.2. Монтаж даху із СІП-панелей ..................................................................................... 133 11.5. Покрівля будинку із СІП-панелей........................................................................... 138 Опоряджувальні роботи ............................................................................. 145 12.1. Особливості опоряджувальних робіт у СІП-будинках ................................. 145 12.2. Опорядження поверхонь штукатурними сумішами ..................................... 146 12.3. Оздоблення СІП-будинку сайдингом, вагонкою ............................................. 150 12.4. Зовнішнє опорядження фасадів СІП-будинків фасадними панелями ..... 151 12.5. Обшивка фасадів СІП-будинків цементно-мінеральними плитами ......... 153 12.6. Опорядження зовнішніх поверхонь обшивки каркасно-обшивних стін із цементно-мінеральних плит .......................... 155 12.7.
зовнішньої обшивки стін 159 12.8. Опорядження плитковим матеріалом зовнішньої обшивки каркасних стін малоповерхових будинків ..................................... 162 12.9. Облицювання обшивки перегородок і стін керамічною плиткою ......... 164 12.10. Фарбування поверхні обшивок перегородок і стін усередині приміщень .................................................................................... 165 12.11. Шпалерні роботи ........................................................................................................ 167 12.12. Прик лади остаточного оздоблення екстер’єрів та інтер’єрів стін і перегородок малоповерхових будинків .................... 170 12.13. Опорядження стель ................................................................................................... 173 Опалювальні, вентиляційні, сантехнічні й електротехнічні системи у СІП-будинках............................................... 178 13.1. Монтаж електропроводки в СІП-будинках........................................................ 178 13.2. Сис теми водопостачання у СІП-будинку 180 13.3. Сис теми каналізації у СІП-будинках ...................................................................... 183 13.4. Опалювальні системи у СІП-будинках. Загальні положення ..................... 187 13.4.1. Газове опалювання СІП-будинків .................................................................... 188 13.4.2. Сис тема «тепла підлога» при газовому опаленні СІП-будинку ......... 190 9 розділ 10 розділ 11 розділ 12 розділ 13 розділ Право для безоплатного розміщення підручника в мережі Інтернет має Міністерство освіти і науки України http://mon.gov.ua/ та Інститут модернізації змісту освіти https://imzo.gov.ua
Фарбування поверхні

бетонних і залізобетонних робіт

14.3. Заходи безпеки під час робіт із деревиною

14.4. Охорона праці при роботі з сендвіч-панелями і СІП-панелями ................................................................................................................

Охорона праці при монтажі будівель

Охорона праці при виконанні робіт

монтажу каркасно-обшивних стін і перегородок

Заходи з техніки безпеки при

263 13.5. Електричне опалення СІП-будинків ...................................................................... 192 13.5.1. Е лектричні котли .................................................................................................... 192 13.5.2. Е лектрична «тепла підлога» 194 13.5.3. Конвекторне опалення СІП-будинків............................................................ 196 13.5.4. Теплові вентилятори для обігріву приміщень малоповерхових будинків ................................................................................. 198 13.5.5. Інфрачервоні обігрівачі ...................................................................................... 200 13.5.6. Кондиціонер як спосіб опалення.................................................................... 202 13.6. Каміни, печі й димарі ................................................................................................... 203 13.6.1. Загальні відомості про каміни й камінні топки ........................................ 203 13.6.2. Камінні димарі ......................................................................................................... 205 13.6.3. Конструкція цегляного каміна ......................................................................... 206 13.6.4. Печі. Елементи конструкцій і класифікація ................................................ 207 13.6.5. Пічне опалення приватного будинку 209 13.7. Теплові насоси ................................................................................................................ 211 13.7.1. Робота теплового насоса .................................................................................... 211 13.7.2. Типи теплових насосів. Сфери використання ........................................... 213 13.8. Вентиляція СІП-будинків ............................................................................................ 214 13.8.1. Типи вентиляції СІП-будинків ........................................................................... 214 13.8.2. Типи вентиляторів з рекуперацією тепла .................................................. 215 Основні правила охорони праці при виконанні будівельних робіт ....... 220 14.1. Загальні вимоги щодо охорони праці та техніки
............................................................................ 220 14.2. Охорона праці при
безпеки у будівництві
виконанні
222
...................................................... 224
225 14.5.
.................................................................. 227 14.6.
із
228 14.7.
покрівельних роботах .................................. 229 14.8. Заходи з техніки безпеки при опоряджувальних роботах......................... 231 Термінологічний словник ............................................................................ 234 Додаток 1 Етапи зведення енергоощадного житлового будинку із СІП-панелей ............ 251 Додаток 2 Приклади реалізованих проєктів будинків із СІП-панелей .................................. 253 Додаток 3 Дизайн інтер’єрів будинків із СІП-панелей .................................................................. 256 Піс лямова .................................................................................................................................... 258 Список літератури ................................................................................................................... 259 14 розділ Право для безоплатного розміщення підручника в мережі Інтернет має Міністерство освіти і науки України http://mon.gov.ua/ та Інститут модернізації змісту освіти https://imzo.gov.ua
......................................

Навчальне видання

ЦИПРІАНОВИЧ Ігор Володимирович, СТАРЧЕНКО Олександр Юрійович, ГУЛІН Дмитро Володимирович, КЛИМЕНКО Сергій Віталійович

БУДІВНИЦТВО МАЛОПОВЕРХОВИХ

ШВИДКОСПОРУДЖУВАНИХ, ЕНЕРГОЗБЕРІГАЮЧИХ ЖИТЛОВИХ БУДИНКІВ ІЗ СІП-ПАНЕЛЕЙ

Навчальний посібник

для здобувачів професійної (професійно-технічної) освіти

Схвалено для використання в освітньому процесі

Видано за рахунок державних коштів. Продаж заборонено

Посібник відповідає Державним санітарним нормам і правилам «Гігієнічні вимоги до друкованої продукції для дітей»

У посібнику використано матеріали з вільних інтернет-джерел Редактор Тетяна Остапченко Коректори Мирослава Токарюк, Олена Полевецька Верстка Анни Андреєвої

Формат 70х100/16.

Ум. друк. арк. 21,38. Обл.-вид. арк. 19,00. Наклад 11147 прим. Зам. № 1621.

МПП «Букрек», вул. Радищева, 10, м. Чернівці, 58000. Тел./факс: (0372) 55-29-43. E-mail: info@bukrek.net. Сайт: www.bukrek.net

Свідоцтво про внесення до Державного реєстру суб’єкта видавничої справи ЧЦ № 1 від 10.07.2000 р.

Замовлення № 21-320.

Вiддруковано на ПрАТ “Бiлоцеркiвська книжкова фабрика”

Свiдоцтво серiя ДК № 5454 вiд 14.08.2017 р. 09117, м. Бiла Церква, вул. Леся Курбаса, 4.

Тел./Факс (0456) 39-17-40

E-mail: bc-book@ukr.net; сайт: http://www.bc-book.com.ua

Право для безоплатного розміщення підручника в мережі Інтернет має Міністерство освіти і науки України http://mon.gov.ua/ та Інститут модернізації змісту освіти https://imzo.gov.ua

Turn static files into dynamic content formats.

Create a flipbook
Issuu converts static files into: digital portfolios, online yearbooks, online catalogs, digital photo albums and more. Sign up and create your flipbook.