

JESSICA BECK
B.S. ARCHITECTURE & B.C.E. CIVIL ENGINEERING
ARCHITECTURE AND ENGINEERING PORTFOLIO - 2026






INTRODUCTION
Hello, my name is Jessica Beck, and I am a third-year B.S. Architecture & B.C.E. Civil Engineering student at The Catholic University of America in Washington, DC.
I grew up in Ocean City, Maryland, surrounded by the ocean and the opprotunity to try my hand at any and all hobbies I desired.
I choose to attend The Catholic University of America because of my Catholic faith and the unique Dual Degree in Architecture and Civil Engineering program.
At CUA, I do not have to compromise either my desire to pursue the creativity and theory of an architecture education or my desire to apply rigorous mathematical problem solving and technical knowledge. By obtaining both degrees, I am learning to be an architect who answers questions and an engineer who solves problems.
Outside of my studies, I enjoy playing the clarinet in the CUA Wind Ensemble, managing the CUA Architecture Student Library collection, running, rock climbing, playing basketball, painting, reading, watching Jeopardy with family, and going on long walks in vast places whether that be down the streets of a towering city, beneath an autumnal forest canopy, or beside the endless ocean horizon.
My goals after graduation are to pursue a Masters Degree in Architecture and continue the pathway to Architecture Licensure through the IPAL Program to eventually work full time as a Licensed Architect.
Prior Internship Experience:
Fisher Architecture - Architectural Intern (Summer & Winter 2025) Salisbury, Maryland
GMB Architects and Engineers - Architecture and Structural Engineering Intern (Summer 2024) Salisbury, Maryland
Mountaire Farms of Deleware - Project Engineering Intern (Summer 2023) Millsboror, Deleware

A NEW AMERICAN WING OF THE NATIONAL GALLERY OF ART
LOCATION: National Mall, Washington, DC
COURSE: ARPL 301 - Architectural Design II
PROJECT BRIEF:
Students were tasked with imagining that before I.M. Pei designed the East Wing of the National Gallery of Art on the Washington, DC National Mall, we were approached instead to propose a museum design that compliments the existing John Russel Pope National Gallery of Art building and fits well within the civic monumentality of the National Mall. In addition, students were challenged to address the French Hotel Problem: to fill the entirety of an irregular site with regular interior spaces by carving rooms out of the poche and using “knuckle spaces” to turn visitors from one axis to another.
DESIGN APPROACH:
My museum design emphasises the intersection of an axis of visitors entering from a lower level entrance from the National Gallery of Art to the west and an axis of visitors entering from a monumental staircase to the upper level from the National Mall to the south by leading both paths to a centralized open courtyard. The museum has six sections of galleries, a ballroom, a lecture hall, classrooms and workshop spaces, archives, and loading docks in addition to the two entrance lobbies, grand staircase, and courtyard. The exterior of the museum is adorned with an arched pediment, doric column rhythms, and a red-clay tile roof. The most ornate exterior detailing faces the National Mall, the existing National Gallery of Art, and the US Capital Building while the rest of the walls have a simple rhythm of arched windows and pedimented windows.






A
WING OF THE NATIONAL GALLERY OF ART
PRECEDENT ANALYSIS:
“Sketch your Precedents” “Trace your Precedents”
Professors had been telling me to engage with my precedents beyond simply pinning them up next to my work since I began my architecture education. It was not untill I studied the French Hotel Problem in this studio project that I began to understand and practice the kind of rigorous precedent analysis my professors were encouraging.
I printed all of my precedents at the same scale, collaging together plans, elevations, sections, and perspectives. (Collages shown on left.)
I then spent time examining each precedent with trace paper and poche and diagramatic analysis. After studying each precedent, I created trace paper “menus” comparing the ways my different precedents addressed spaces like coutryards, entryways. art galleries, and grand staircases. (“Menus” shown on right.)
This research became invaluable tools for the design process and as reference material during jury critiques.




GEORGE WASHINGTON CEREMONIAL
HALL ON THE GROUNDS OF THE WASHINGTON MONUMENT
LOCATION: National Mall, Washington, DC
COURSE: ARPL 301 - Architectural Design II
PROJECT BRIEF:
Students were tasked with redesigning the Grounds surrounding the Washington Monument and adding a Ceremonial Hall dedicated to President George Washington within the redesigned site.
DESIGN APPROACH:
My redesign of the Grounds emphasises the East-West axis connecting the Washington Monument with other monumental pieces of architecture on the National Mall including the US Capital, Lincoln Memorial, and World War II Memorial. I elected to place the Ceremonial Hall along this East-West axis as well. Because it is important to not obstruct pedestrian travel and sightlines along this axis, my project elevated the Ceremonial Hall to the second level leaving the space beneath the building open to pedestrian through-traffic. The space beneath the ceremonial hall creates a gather place where water features, and monuments can be install; a statue of George Washington is located in the center of the gather place. The Ceremonial Hall is designed with cast iron columns and brackets inspired by vine and fig tree motifs to recall a quote the George Washington often used to refer the his hopes for a peaceful retirement as a free citizen of the United States in his letters and correspondances,
“I am once more seated under my own vine and fig tree, and hope to spend the remainder of my days... in peaceful retirement, making political pursuits yield to the more rational amusement of cultivating the Earth.”
The stone bookends flanking the hall are inspired by McKim, Mead, and White’s Boston Opera and contain entrances, vertical circulation, preparation spaces, and service spaces.















GEORGE WASHINGTON CEREMONIAL HALL
CODE COMPLIANCE CALCULATIONS
LOCATION: National Mall, Washington, DC
COURSES: ARPL 301 - Architectural Design II and ARPL 331H - Environmental Design II
PROJECT BRIEF:
In conjection with the ARPL 232H and ARPL 331H, Environmental Design I and II exploring Passive Optimization Design Methods and Active Mechanical Systems, students were tasked with applying code compliance calculation to their studio projects.
DESIGN APPROACH:
I performed code analysis while designing my proposal for a George Washington Ceremonial Hall.
The top document illustrates the implimentation of Fire and Life Safety Requirements. The egress path of travel, travel distances, and minimum distance between means of egrees per the 1/3 diagonal rule are labeled, walls that require fire seperation due to occupancy classification are marked and a UL wall section selected, and the fire stairs and elevators have been dimensioned to accomidate areas of refuge and elevator lobby space requirements.
The lower document illustrates the implimentation of Plumbing Codes.
Total occupancy and required number of fixtures were calculated, and ADA design guidelines were followed in the layouts of the restrooms.





A GEORGETOWN ROW HOUSE
Location: Georgetown, Washington, DC
Course: ARPL 202 - Architectural Design I
PROJECT BRIEF:
Students were tasked with imitating the character of the historic rowhouses of Georgetown in Washington, DC by infilling a rowhouse lot with a new two-story residence. Llectures about basic principles and dimensions of residential interiors were given to introduce residential design to students. The final deliverable was a hand-drafted inked plate to teach students the manual origins ofarchitectural lineweighting conventions.
DESIGN APPROACH:
To match the historic character of Georgetown, I designed with a brick facade. The rowhome has a large porch with doric columns facing the street to create a private outdoor space.
The interior is a three-part plan, three-story home including the basement level, with three-bedrooms and a stacked stair. The first level has the family room, dining room, and kitchen; the second floor has the bedrooms and laundry; and the basement has a living space, guest bedroom, and utilities closet.
(Yes, I did all of the tedious hatching by hand because our professor instituted a “poche ban” so that we were forced to be more intentional with the lineweights of the cut lines.)







BOOKSHELF BUILT-IN
COURSE: ARPL 202 - Architectural Design I
PROJECT BRIEF:
Students were tasked with designing a bookshelf furniture built-in for a single wall in an imagined interior space with an emphasis on introducing students to constructing and designing with the Classical Greeco-Roman columnal orders and hand drafting techniques.
DESIGN APPROACH:
I imagined the design to be for a client desiring a bookshelf built-in for an office/study space against an existing brick exterior wall with a bay window.
Using Ionic proportions, two pilasters with simple engraving patterns flank a segemented arch bookshelf with wood slat siding on either side of a bench windowseat in the bay window. One bookshelf comes out silightly to create a desk, while the other bookshelf and the windowseat feature shelving in the base. Wood frames trim the traditional brick window openings with jackarchs above.
The iterative process was hugely valuable for learning the process of following classical ordering systems. I drafted numerous variations of the bookshelves to compare the visual effects of using different columnal ordering systems or ornamentation details.
I also drafted a comparative drawing to determine if a flat entablature or a segmented arch entablature made more sense over the center window, ultimately determining that a flat entablature felt more comfortable in that space.

FINAL MODEL

COMPARISON OF FLAT AND ARCHED CENTER BAY






GEORGETOWN POETRY LIBRARY
INSPIRED BY FRANCIS SCOTT KEY, AMERICAN POET AND GEORGETOWN RESIDENT
LOCATION: Georgetown, Washington, DC
COURSE: ARPL 202 - Architectural Design I
PROJECT BRIEF:
Students were tasked with designing a Poetry Library to fit with the historic character of Georgetown, Washington, DC dedicated to American Poet and Georgetown Resident Fancis Scott Key, author of the Star Spangled Banner.
DESIGN APPROACH:
From observing the pedestrian experience in Georgetown, I identified a lack of third spaces and areas where people could meet and chat without feeling obligated to eat a meal or spend money. As a result, the main focus of my library was creating a public courtyard facing the main pedestrian street. The pavement pattern within the courtyard is a five-pointed star-fort design similar to the plan of Fort McHenry, the American fort about which Francis Scott Key wrote the Star Spangled Banner while wittnessing its bombardment in the War of 1812.
The back of the library building features a large, two story reading room. A smaller special collections library room is located to the front of the building on the second story.
The class assembled a 3D Printed Site Model of the surrounding urban context, and I laser cut a wooden model of my library design to fit within the site model.




















CAMPUS GATHERING PLACE
LOCATION: The Catholic University of America, Washington, DC
COURSE: ARPL 201 - Architectural Foundations III
PROJECT BRIEF:
Students were tasked with imagining an outdoor gathering space on The Catholic Unviersity of America campus to facilitate the connection of students, faculty, and the neighborhood to community, nature, and campus life.
DESIGN APPROACH:
Instructors emphasised the importance of diagrammatic analysis of site and precedents while encourageing the use of physical iterative models to develop a strong concept. My design connects a major science building with a major art building to create an outdoor lecture and preformance space illustrating the bridge between the studies of technical sciences and artistic creativity.
I experimented with angles, solid vs. transparent edges, rhythm, how wall slopes affects pedestrian experience, and modeling potential canopy forms that were ultimately cut from the final design.





DIAGRAMMATIC ANALYSIS





COMPARISON OF TRADITIONAL AND CONTEMPORARY CONSTRUCTION DETAILS FOR A MAIN LODGE CABIN
Location: Adirondack Mountains, New York Course: ARPL 434 - Construction II (Assemblies & Details)
PROJECT BRIEF:
Students were tasked with comparing traditional construction assemblies and details to contemporary methods for a distinct construction typology while adhering to insulation code requirements.
DESIGN APPROACH:
I choose the typology of a log cabin. The exterior of the traditional and contemporary bay details are aesthetically identical, but the traditional wall uses notched log construction while the contemporary wall uses mass timber wall panels faced with a semi-log exterior finish. The six details and the axonometric mock-up rendering illustrate how modern materials are layered in the contemporary wall section, floor sandwhich, and roof aseembly.
I choose mass timber panels for the contemporary wall section because it is a construction method I had not had much experience with and the industry expects mass timber to become more popular during the years I will be designing.





LIGHT WOOD FRAME CONSTRUCTION STUDY MODEL
COURSE: ARPL 333 - Construction I (Materials)
PROJECT BRIEF:
As a hands-on exercise in learning construction processes, students were tasked with designing and constructing a 1/16” = 1’-0” model of a light wood framed watchtower. The design needed to include multiple stories, a staircase, floor assemblies, roof assemblies, a cantilevered balcony, multiple opening for windows and doorways, and an indication of a concrete continous strip footing foundation.
DESIGN APPROACH:
Because I had pervious familiarity with light wood frame construction, I choose to design an octagonal floor plan. The construction documents were drafted in Revit. I cut all pieces to size, including beveling the three-stud assembly at each 135 degree corner, and raised the watchtower with a similar method to the way a light framed wood building would be raised on a construction site.







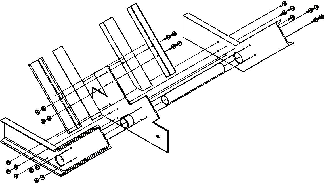
STEEL CONNECTION DETAIL
COURSE: ARPL 333 - Construction I (Materials)
PROJECT BRIEF:
Students were tasked with identifying and documenting an existing steel connection detail on campus by identifying the component steel parts used in the assembly.
DESIGN APPROACH:
I choose a steel detail from an exposed interior ceiling truss in an enclosed atrium with a skylight above. I approximated the sizes of each part using libraries of standardized steel part dimensions. Using AutoDesk Inventor, I modeled the component parts of the connection, created the bill of parts, assembled the parts together in a virtual workspace, and exploded the assembly to create the axonometric drawing.



TRUSS ANALYSIS CALCULATIONS
COURSE: CEE 312 - Theory of Structures
PROJECT BRIEF:
Students were tasked with solving for the internal forces and reaction forces of a truss to identify which members of the truss are in tension, compression, or zero-force. This course addressed how to solve for beam, truss, and frame forces with hand calculations and also how to use SAP2000 (a structural design and analysis software) to calculate the forces in a structure.



DESIGN APPROACH:
Specific softwares are less universally used across engineering firms compared to architecture firms. (All architects know and use the largest and most popular softwares, (Rhino, Revit, AutoCAD, etc.) while structural engineers use many different softwares that perform the same calculations (Risa, SkyCiv, SAP2000, etc.)
This project demonstrates an ability to utilize a new and complex software effectively with little time to scale the learning curve. It required using knowledge of hand calculation proedures and experience with similar engineering softwares to specify the truss and solve the scenario in the software.

FLUID MECHANICS CFD SIMULATION OF A STANDARD AIRFOIL PROFILE
COURSE: ENGR 331 - Fluid Mechanics
PROJECT BRIEF:
Students were tasked with utilizing a Computational Fluid Dyanmics (CFD) software, Star-CCM+ in order to model the movement of streamlines surrounding a 2D body submerged in a fluid. The angle of attack of the fluid was then altered to observe the effect of angle of attack on fluid velocity across the 2D body surface and resulting occurances of potentially problematic seperation bubbles.
DESIGN APPROACH:
A standard 2D Airfoil Profile was modeled in a CAD software and imported into the CFD software. The simulation was constructed using material properties and appropriate parameters. Multiple trils of the simualtion were run, and data was collected.
This project demonstrates an ability to utilize a new and complex software effectively with little time to scale the learning curve.
Use of CFD Simulation software allows engineers to visually represent fluid mechanics scenarios such as how water interacts with major pieces of civic infastructure like sewer pipes and hydroelectric dams or individual investiagtive scenarios like wind interactions across a building form that are too complex to analyze by hand with known fluids equations.
CONCRETE DESIGN CALCULATIONS
COURSE: CEE 403 - Reinforced Concrete Design
PROJECT BRIEF:
These are Problems from two Reinforced Concrete Design Exams. Provisions from the ACI-318 (American Concrete Insitute Building Code Requirements for Structural Concrete) are the basis of design requirements for both this course and professional structural engineering practice.
The fist problem asks for students to specify the required steel reinforcing bars, quanity and dimensions, given the dimensions of the concrete beam and the bending moment resulting from the live load and dead load applied to the beam.
The second problem asks for students to determine the development length (distance which rebar has to be embedded in concrete in order to maintain maximum strength characteristics) for a reinforced concrete beam-column connection.
DESIGN APPROACH:
I loved the Reinforced Concrete Design course because the subject matter is very procedural. ACI-318 is very clear and specific about what calculations and methods to use when designing the steel reinforcing bars for a concrete member given the conditions of the scenario. The course covered shear rebar, tension rebar, hooks, sprials and ties in beams and columns as well as brief introductions to servicablility deflections, cracking and shrinkage, short columns, concrete slabs, and foundation footings.




SKETCHES FROM A WEEK IN GREECE
COURSE: CLAS 110H - Greece Spring Break Trip
I spent Spring Break of the Spring 2025 Semester exploring Greece with the CUA University Honors Program and Classics Department. (Trust me, there is no one better to tour Greece with than a department of people obsessed with the Ancient Greeks.)
Throughout the trip, I kept a sketchbook of graphite sketches, ink drawnings, and watercolors of the various places we visited and experiences we shared. It is my souvenir of a wonderful week and documents the moments and sites that impacted me the most. Here I have shared some of my favorite pages.
On the trip, I also gave a presentation to my classmates about the Tholos Tombs of the Mycenean Civilization while standing in the doorway of the Treasury of Atreus at the remains of the Mycenean Fortress.


















OC-SHELLSCAPES
SELF-STARTED ART BUSINESS
I started painting seashells with acrylic paint in 2019 one afternoon at random, totally out of the blue.
Almost a year later, I took the advice of some friends and family, called upon my knowledge of website building from high school pre-engineering courses, and constructed an E-Commerce website to sell my painted seashells.
I named the business OC-Shellscapes. “OC” stands for Ocean City, Maryland, my hometown and the beaches were I collect my seashells. “Shellscapes” is a term I invented to describe that my favorite subjects to paint on seashells are landscapes.
In the last six years, I have painted hundreds of seashells, tabled at numerous annual artisan festivals, was showcased as the Art League of Ocean City’s Artist of the Month, got my seashells on shelves in three brick-and-mortar stores fulfilled online orders, created marketing materials, maintained my website, and enjoyed watching people share my love of hand-painted seashells of sentimental landscapes.












Are not two sparrows sold for one small coin? Yet not one of them falls to the ground without your Father’s knowledge So do not be afraid; you are worth more than many sparrows. (Matthew 10:29-30)
