Skip to main content

IoT Based Advertising System

Page 1

Volume: 09 Issue: 06 | June 2022 www.irjet.net p-ISSN: 2395-0072

IoT Based Advertising System

Anushree Chavan1 , Dr. Babasaheb Patil2

1Student, Electronics Engineering, Walchand College of Engineering, Sangli 2Guide, Electronics Engineering, Walchand College of Engineering, Sangli

Abstract Internet of Things is the network of corporal things or object that contain embedded technology to interface and understanding to move with their internal states or the external setting. Automation is the most often carried term within the field of electronics. The craving for automation brought several revolutions within the present technologies. Advertisement digital boards could be a primary factor in any conception or public places like bus stations, railway stations, colleges, malls etc. Sticking out numerous advertise day to day could be a tough method. A separate person is wanted to take care of this advertising display. This project is regarding advanced wireless Advertising board. In IOT based Web Controlled Advertising Board, Internet is employed to wirelessly send the message from Browser to the display. A local web server is created; this could be a global server over net. AT the Raspberry pi, display monitor or TV is used to monitor the specific advertisement. Whenever Raspberry Pi receives any wireless message from internet through Wi Fi, it displays on the monitor. The Internet of Things (IOT) cert system can be looked as a remarkably unique and fundamentally distributed networked system composed of a very large number of noticeable smart objects. These objects can take and to line among themselves, with end users or different elements in the system. Entering the period of Internet of Things, the use of small, disordered and flexible computer hardware that allow end user programming become present. One of them, considered in this, is the Single Board Computer, fully customizable and programmable small computer board.

1. INTRODUCTION

The Internet of Things (IoT) concerns the environment where network connectivity and computing capability explains to objects, everyday items are not usually considered as computers. IoT will not be considered a unique system, but it is a critical, integrated substructure onwhichmanyapplicationsandservicescanbemobilized. IoT, a promising technology when extended is striking to numerous improvising electronic instruments where Digital Advertising board is one among them. Digital Advertising Board is authorized as an important informationelementinanyinstitutionorpublicutilitylike

transportation areas such as bus, railway stations etc. An individual is employed to take care of this advertisement displaywherethescenarioisreplacedbytheconceptthat deals with advanced wireless advertisement boards. The project is built based on the Wi Fi module which is a functioningpartofthesystem.Atanyquickwecaninclude or keep or alter the text according to our requirement throughIoTusingtheWIFImodule.

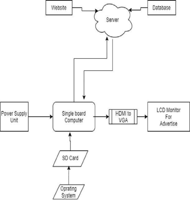
Inthisproject Singleboardcomputersareusedinsteadof microcontrollers to increase the processing speed of the system.TheDatausedtodisplaywouldbeinvideoorimage formatwhichneedhighspeedprocessingspeedwhichcan beachievedbySingleBoardComputer.Raspberry pi3bis used for processing all data and connects to the internet with an inbuilt Wi Fi module through which data is transmitted and received. The LCD Monitor or TV is used todisplaytheadvertisementsetbytheuserfromaremote location. A web page is developed to change and update thedataofadvertisingboardswhichcanbeaccessedusing laptoporPCorevenaccessedthroughanyMobilephones. Inthissystemcurrentsensorisusedtomonitorthepower usage of the system and to check if the system is in succession or not. The power of display monitor can be thorough and scheduled with the webpage. Direction of reference in the consecutively text should match with the listofreferencesattheendofthepaper.

2. PROPOSED SYSTEM

In this project Single board computer is used instead of microcontroller to increase the processing speed of system. The Data used to display would be in video or image format which need high speed processing speed which can be achieved by Single Board Computer. Raspberry pi 3b is used for processing all data and connects to internet with inbuilt Wi Fi module through whichdataistransmittedandreceived.

TheLCDMonitororTVisusedtodisplaytheadvertiseset bytheuserfromremotelocation.Awebpageisdeveloped tochangeandupdate thedata ofadvertisingboardwhich can be accessed using laptop or PC or even accessed throughanyMobile phones. Inthissystemcurrentsensor isusedtomonitorthepowerusageofsystemandtocheck the system is running or not. The power of display monitor can be controlled and scheduled with the webpage

International Research Journal of Engineering and Technology (IRJET) e ISSN: 2395 0056 © 2022, IRJET | Impact Factor value: 7.529 | ISO 9001:2008 Certified Journal | Page170
***
Key Words: Raspberry Pi, Internet of Things, Website, Display monitor or TV, Wi-Fi

International Research Journal of Engineering and Technology (IRJET) e ISSN: 2395 0056

Volume: 09 Issue: 06 | June 2022 www.irjet.net p-ISSN: 2395-0072

Fig1:BlockdiagramofIoTbasedadvertisingsystem.

3. OBJECTIVE

• Toselectandconfigurehardwareandsoftware onasingleboardprocessor/computerfor IoT basedadvertisingsystem.

• To select and study compatible wireless communication protocol and design user friendly web application for IOT based advertisingsystem.

• To implement and test IoT based advertising system.

4. SYSTEM IMPLEMENTATION

In this project Single board computer is used instead of microcontroller to increase the processing speed of system. The Data used to display would be in video or imageformatwhichneedhighspeedprocessingwhichcan beachievedbySingleBoardComputer. Raspberrypi3bis usedfor processing all data andconnectsto internet with inbuilt Wi Fi module through which data is transmitted andreceived.TheLCDMonitororTVisusedtodisplaythe advertisesetbytheuserfromremotelocation.Awebpage isdevelopedtochangeand updatethedata ofadvertising board which can be accessed using laptop or PC or even accessed through any Mobile phones. In this system current sensor is used to monitor the power usage of system and to check the system is running or not. The powerofdisplaymonitorcanbecontrolledandscheduled withthewebpage.

Fig2:SystemimplementationofIoTbasedadvertising system

5. ADVANTAGES

FollowingarethesomeoftheadvantagesofIoTBased AdvertisingSystem.

Apermittedusercansendtheadvertisefrom anywhere.

Thissystemwillreducetheworkforceaswellas thehumanwork.

Itisthemostsafe,consistentandpersonalasthe administratorisprovidedwithusernameand password.

Italsosavesthecapitalsliketime,printer, printinginkandpaper.

© 2022, IRJET | Impact Factor value: 7.529 | ISO 9001:2008 Certified Journal | Page171

International Research Journal of Engineering and Technology (IRJET) e ISSN: 2395 0056

Volume: 09 Issue: 06 | June 2022 www.irjet.net p-ISSN: 2395-0072

6. HARDWARE DETAILS

RaspberryPi

Fig3:ImageofRaspberryPi

It involves of 40 pin GPIO header gives access to 27GPIO 

It contains of an ARM1176JZF S 700MHz Processor, Video Core GPU, and with 256 MB RAM. 

Theinputvoltageassortmentsfrom6vto20V  DCCurrentforrespectivelyinput/outputpinis40 mA

LCDMonitor

Fig4:ImageofLCDMonitor

LCD is used in a project to visualize the output of application.  Weusemonitorasdisplay. 

LCD can also be used in project to check the output of different modules interfaced with the raspberrypimodule.

HDMIPort

Fig5:ImageofHDMICable

TheRaspberryPihasa HDMIPortwhichyoucan plug directly into a monitor or TV with an HDMI Cable. 

This is the easiest solution; some modern monitorsandTVshaveHDMIports

PowerSupply

TheRaspberryPi3requiresa+5.1Vsupply. 

The exact current rating of Raspberry Pi depends onthePeripheralsconnectedtoit.Itentailsa2.5A powersupplytoruntheRaspberryPi.

7. SOFTWARE DETAILS

PYTHON

Fig6:PythonImage

Pythonisamulti modelprogramminglanguage

Object oriented programmingandstructured programmingarefullyreinforced,andmanyofits features support functional programming andaspect oriented programming(including bymetaprogrammingandmetaobjects(magic methods).

© 2022, IRJET | Impact Factor value: 7.529 | ISO 9001:2008 Certified Journal | Page172

International Research Journal of Engineering and Technology (IRJET)

e ISSN: 2395 0056

Volume: 09 Issue: 06 | June 2022 www.irjet.net p-ISSN: 2395-0072

TheHypertext Markup Language, or HTML is the standardmarkup languagefor documents designed to be displayedinawebbrowser

CSS[CascadingStyleSheets]

CascadingStyleSheets(CSS)isastylesheetlanguageused fordescribingthepresentationofadocumentwrittenin amarkuplanguagesuchasHTML

Fig7:XAMPPInstallationImage

XAMPP is afree and open sourcecross platformweb serversolution stackpackage developed by Apache Friends,entailing chiefly of theApache HTTP Server,MariaDBdatabase, andexplainersfor scripts writteninthePHPandPerlprogramminglanguages  PHPMYADMIN

JAVASCRIPT

JavaScript often condensedJS, is aprogramming languagethat is one of the core skills of theWorld Wide Web,alongsideHTMLandCSS

8. FLOW CHART

Fig8:PHPMYADMINImage

PhpMyAdmin is a free software tool written inPHP, proposed to grip the administration ofMySQLover the Web. PhpMyAdmin requirements a wide range of processes on MySQL and MariaDB. Normally used operations (managing databases, tables, columns, relations, indexes, users, permissions, etc) can be performed via the user interface, while you still can directlydeviceanySQLstatement.  HTML[HypertextMarkupLanguage]

Fig9:HTMLImage

Fig9:FlowchartofIoTBasedAdvertisingSystem 9.

FLOWCHART WORKING:

Startthesystem.

ThenconnecttoWi Fi.

AfterconnectingtotheWi Fithenconnecttoserver.

Thenreadthedatafromserver.

Thenthatdataisreadyto displayto themonitor.

For that first we check monitor is ON or OFF. If monitorisON,thendisplaythedata.IfmonitorisOFF,

© 2022, IRJET | Impact Factor value: 7.529 | ISO 9001:2008 Certified Journal | Page173 
XAMPP

International Research Journal of Engineering and Technology (IRJET) e ISSN: 2395 0056

Volume: 09 Issue: 06 | June 2022 www.irjet.net p-ISSN: 2395-0072

then inform update power OFF state to server. If monitor is OFF, then check database and take the actiontoONthemonitor.  Ifnewdataisthere,thenagainfollowedstepnumber 4and5.  If new data not available, then follow step number 5 thatisdisplayavailabledatamonitor.

11. CONCLUSION

• Wireless operation offers fasttransmission over longrangecommunication.

12. REFERENCES

© 2022, IRJET | Impact Factor value: 7.529 | ISO 9001:2008 Certified Journal | Page174
1. ADVERTISINGIMAGE Fig11:AdvertisingImage 2. ADVERTISINGTEXT Fig12:AdvertisingText 3. ADVERTISINGVIDEO
Advertising
10. RESULTS Fig10:WebpageofIoTBasedAdvertisingSystem
Fig13:
Video
Intheworldfullofautomation,wemustemploy new technology in the place of conventional methods.
It saves time and resources. From remote location we can send data to display. User authenticationisprovided.
[1] IEEE Standard for Local and metropolitan area networks Part 15.4: Low Rate Wireless Personal Area Networks (LR WPANs) Amendment 3: Physical Layer (PHY) Specifications for Low Data Rate, Wireless, Smart Metering Utility Networks. IEEE Std 802.15.4g 2012 (AmendmenttoIEEEStd802.15.4 2011),2012.

International Research Journal of Engineering and Technology (IRJET) e ISSN: 2395 0056

Volume: 09 Issue: 06 | June 2022 www.irjet.net p-ISSN: 2395-0072

[2] Mahantesh.S. Katapur, Eranna hadapada, Mahant.G. Kattimani “IoT Based Digital Notice Board using Raspberry PI”, International Journal of Engineering Research and Management(IJERM), Volume 07, Issue 08, 19 22,August 2020.

[3] D. Sunitha, Vidya C Patil, Manjula H N, Sheba Jebakani “Digital notice board using Smart Phones Speech Recognition Voice command”, IEEE 2018 International Conference on Current Trends towards Converging Technologies(ICCTCT),1 4,1 3March2018.

[4] Neeraj Khera, Divya Shukla, Shambhavi Awasthi “Development of Simple and Low Cost Android Based Wireless Notice Board”, IEEE 2016 5th International Conference on Reliability, Infocom Technologies and Optimization (Trends and Future Directions) (ICRITO), 630 633,7 9Sept.2016.

[5] Aniket Pramanik, Rishikesh, Vikash Nagar, Satyam Dwivedi “GSM based Smart Home and Digital Notice Board”, IEEE 2016 International Conference on Computational Techniques in Information and Communication Technologies (ICCTICT), 41 46, 11 13 March2016.

© 2022, IRJET | Impact Factor value: 7.529 | ISO 9001:2008 Certified Journal | Page175

Turn static files into dynamic content formats.

Create a flipbook