
International Research Journal of Engineering and Technology (IRJET) e-ISSN: 2395-0056
Volume: 11 Issue: 05 | May 2024 www.irjet.net p-ISSN: 2395-0072
![]()

International Research Journal of Engineering and Technology (IRJET) e-ISSN: 2395-0056
Volume: 11 Issue: 05 | May 2024 www.irjet.net p-ISSN: 2395-0072
Santosh V. Janamtti1 , Banushankar2 , Shivakumar M3 G.Naveen4, B Mahesh5
1Ballari Institute of Technology and Management Ballari, Visvesvaraya Technological University, Belagavi, Karnataka, India
2-5 UG, Students Ballari Institutes of Technology and Management Ballari, Visvesvaraya Technological University, Belagavi, Karnataka, India ***
Abstract - 3D printing patterns has been proposed as an alternative for pattern production; however it has not been widely adopted as a popular alternative to conventional/traditional casting techniques. The purpose of using this rapid prototyping method is to prevent material waste in pattern creation while also lowering costs and improvingtimemanagement.CNCmachinedpatternsareused inthetraditionalwayofcreatingcastingswithmaterialssuch as metals. CNC prototype has its own limitations, including geometric mistakes induced by machine tool precision and thermal inaccuracies generated by frictional forces between the tool and the work piece. This work is to enlighten the foundry engineers to make use of rapid prototyping technology to eliminate the material wastage in pattern production, reduce the cost and time in the production of accuracycastingofanacceptablequality.Thepresentworkis to replace a wooden pattern with a 3 D printed pattern for which a simple split pattern is designed and taken into consideration for fabrication in rapid prototyping process which thereby used in aluminium sand casting. Further investigated mechanical properties of PLA, prepared the samplesaspertheASTMstandardconductedexperimentsand compared with wooden pattern. PLA pattern materials showed good mechanical properties then wood materials for pattern.
Key Words: ComplexPatterns,RapidPrototyping,3D Printedpattern,SandcastingFMDmacine.PLA.
3Dprintershavebecomeaffordabletothededicatedhome user. In fact, many high-quality 3D printers cost less than $3000,includingdualextrudersandaheatedbuildsurface [1].Manyoftheseconsumer-level3Dprintersareadvertised asprintersthatusethePolylacticAcid(PLA)materialrather than the more typical, but more difficult to print with, AcrylonitrileButadieneStyrene(ABS).PLAisstrongerthan ABS,butit's lessdurable.PLAhasa reducedcoefficient of thermalexpansion,whichmitigatestheimpactsofwarping, non-adherence to the printed surface, and big sections splittingduringprinting.PLAalsodoesnotprovidethesame health dangers as ABS when printed in poorly ventilated environments[2].ThemostobviousdownsideofPLAisits lowdeflectiontemperatureunderload(50to140°C),which
causes printed items to distort when exposed to heated environments.Onekilogramsspoolsofeithermaterialcost approximately $50 (in early 2014) [1]. With this entire in mind, it's simple to see why many 3D printer makers are creatingandsupporting3DprintersthatonlyusePLA
Many people are already printing in PLA at home using personal 3D printers, and many more will do so shortly. MakerBotalonehassoldover15,0003Dprintersoverthe lastfiveyears[3].ABSmaterialqualitiesandfeatureshave beenextensivelyinvestigated,withnumerousexperiments testingprintorientations[4-9].Mostoftheseinvestigations wereconductedon"professional"typemachines.Consumer machines'printqualityforABShasbeenmostlyuntested, andliteratureaddressingmaterialpropertyfeaturesof3DprintedPLAcouldnotbediscovered
Thepurposeofthisstudyistogainanunderstandingofthe behaviour of 3D-printed PLA using a consumer-level 3D printer.Specimenswereprintedtoevaluatetensilestrength, flexural strength, and fatigue, and the filament was also tensiletested.Bydefault,iftheMakerWaresoftware,used bytheMakerBotlineof3Dprinters,isinstructedtoproduce aspecimen/objectat100%infill,theslicingprogrammewill print in alternate raster orientations, layer by layer. A bespokeprintingprofilewascreatedforeachspecimento print totally in a single raster orientation in order to investigate the relationship between printing orientation andmaterialdistortion.
Severalformsofmechanicalpropertytestswereperformed onPLAfilamentandPLA3D-printedspecimens.TheCUBEXR33, a consumer 3D printer, was used to print all of the specimens.Theslicing/printingsoftwarewascontrolledby custom printing profiles, which allowed for printing in a singlesetrasterorientationfortheentirespecimen.Tomake allspecimensascomparableasfeasible,eachspecimenwas printed individually in the centre of the printing bed All specimenshadtwo"shells"aroundtheperiphery,andthe insidewasprintedwith100%infilldensityatspecificraster orientations.ThePLAmaterialwasextrudedat240°Cata speedof15mm/sec,withtheheatedbedsurfacesetto65°C, layer resolution of 70-300 microns, a nozzle diameter of

International Research Journal of Engineering and Technology (IRJET) e-ISSN: 2395-0056
Volume: 11 Issue: 05 | May 2024 www.irjet.net p-ISSN: 2395-0072
0.4mm, and filament diameter of 1.75mm. Each specimen was printed with the same generic brand of PLA filament from1-kgspoolspurchasedtogether.


(a) (b)
Figure:1showstheusedPLAFilamentwith1.75mm diameterandFDMMachine
Individualspecimensweremeasured(thicknessandwidth) at various points during the test section. The ASTMs employed the smallest cross sectional area (or the cross sectional area atthecentre ofthe beamforspecimensfor compressiontesting)tocalculateappropriatestresslevels. MTSuniversalloadingmachineswereusedtoperformthe compressiontesting.Compressiontestingofthe3D-printed object was conducted using MTS 100kN load cells. CompressionstestingofthePLAfilamentusedintheUTM Machine, built-in LVDTs were utilized to monitor displacement,andanMTSextensometerwithagaugelength of20mm wasusedto measurestrainforthecompression testingofthe3D-printedspecimen,aswellasanimpactand hardnesstest.Allexperimentswerecarriedoutatambient temperature(about28°C).
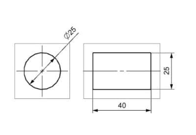
ThespecimenswereexaminedinaccordancewiththeASTM D695standard,whichspecifiescompressiontesttechniques forplastics.TheMTSwedgegripswereshiftedatarateof5 mm/min,whiledata(force,gripdisplacement,andstrain) were recorded at 100 Hz. An MTS extensometer (20 mm gaugelength)wasutilisedtomeasurestrain Figure2shows thetestingsetupforCompressiontestingofthe3d-printed specimen.Figure3showsthegeometryofthespecimenused for compression testing with dimensions of 40x25mm. Specimen is tested under the UTM (Universal Testing Machine).



Figure:2(a)UniversalTestingMachine(Compression test)(b)preparedspecimenforcompressiontest(c) Sampledimensions.
The following procedures has been carried out for conducting the compression test .Set the load dial of the machinetoasuitablerangeandadjustthetestingmachine andcompressometertoreadzero.Applyloadatslowspeed and make simultaneous observations of load and strain recordthedeformationwithrespecttoloadandnotedown yield point and maximum load observe the location , character of the fracture and measure the final diameter , lengthandfinallydeterminedthecompressivestrengthby usingformulamaxloadbyoriginalcrosssectionofsample.

SpecimenweretestedaccordingtoASTMD883standardtest method for properties of plastics .The Rockwell hardness numberrepresentsthemaximumpossibleremainingtravel ofashortstrokemachinefromthenetdepthofimpression, astheloadontheindentorisincreasedfromafixedminor loadtoamajorload.Indentorisroundsteelballofspecific diameter(2.5mm)andspecimendimensionshasbeentaken 8x20mm(thicknessxdiameter).



(a) (b) (c)
Figure:3(a)RockwellHardnesstestingmachine(b) preparedsample(c)sampledimensions
ThefollowingProcedurehasbeenadoptedforconducting theRockwellhardnesstesting.Specimenhasbeenplacedon theanvilsurfacewasnormaltothedirectionoftheapplied load.Thenballtypeindentorhasbeenselected(2.5mm).The

International
Volume: 11 Issue: 05 | May 2024 www.irjet.net p-ISSN: 2395-0072
small pointer in the dial starts to move and touches the indentor.Then(60kgf)wasapplieduponthespecimenuntil the dial reaches the zero point. The load was applied for 10secthereaftervalueswererecorded
Brinell hardness is usually defined as the resistance to permanentindention.Hardnesstestconsistinmeasuringthe resistancetoplasticdeformationoflayersofpolylacticacid near the surface of the specimen. In process of hardness determinationwhenthe metal isintended bya special tip (ball Indentor), the tip first over comes the resistance of specimentoelasticdeformationandthenasmallamountof plasticdeformation


Figure:4(a)preparedsampleforBrinelltest(b) dimensionspecimenand3Dmodel
ThefollowingProcedurehasbeenadoptedforconducting theBrinellhardnesstesting.SpecimenhasbeenPlacedon theanvilsurfacewasnormaltothedirectionoftheapplied load.Thenballtypeindentorhasbeenselected(2.5mm).The small pointer in the dial starts to move and touches the Indentor.Then(60.25kgf)wasapplieduponthespecimen untilthedialreachesthezeropoint.Theloadwasappliedfor 10sec there after values were recorded then substituting values in formula 2P/Î D (D-âD2-d2) BHN has been determined
Impacttestdeterminestheamountofenergyabsorbedbya materialduringfracture.Thisabsorbedenergyisameasure ofa givenmaterial'stoughnessandactsasa tooltostudy temperature-dependent brittle-ductile transition. It is to determine whether the material is brittle or ductile in nature



Figure:5CharpyTestmachine(b)Preparedsample(c) Sampledimensions
Thefollowingprocedurehasbeenadoptedforconducting impact testing. Charpy/Izod method was conducted on specimenaccordancetoASTMD6110(10x10mmwith2mm depth of notch) set the pendulum to angle 135°/90°and attachV-edge/Pointstickerwithnospecimenintheanvil, swing the pendulum to ensure freedom of movement and note down the friction loss, note the weight W of the pendulum and the radius r of its center of mass. Lift the pendulumtoitsupperposition,andfixthespecimensuch that notch face is opposite to the striker. Release the pendulumtorupturethespecimenandrecordtheenergyof therupturefromthescale.StopthependulumtoSwingby means of the hand break lever and calculate the impact strengthbyCharpy/Izodmethodusingtheformulaabsorbed energydividedbyoriginalcrosssection.SimilarlyIzodtest wasalsoconductedbyadoptedthefollowingprocedure.


6(a)PreparedsampleforIzodtest(b)Dimension ofspecimen
ThespecimenweretestedunderUTMaspertheabovesaid ASTM standard as we absorbed that applied compressive loadwasalongaxisofthegrains,thiswashelpstoholdthe compressive load. After some time length of the grains/sampleweredecreasinggraduallybyincreasingthe compressiveloadaswell.Asresultcross sectional area of the sample was expanding that leads to take small microcracks originates in the samples, this progressively developedthefinalfractureofthespecimen.Figure6(b)is

International Research Journal of Engineering and Technology (IRJET) e-ISSN: 2395-0056
Volume: 11 Issue: 05 | May 2024 www.irjet.net p-ISSN: 2395-0072
anevidenceofthebrittlefracturewasnoticed.Figure6(c)an indicated that graphical representation of deformation of Polylacticacid(PLA)whichhelpstoindentifymaxyieldand fracture load the sample. Figure 6 (a) shows that UTM machinewithpositionofsample



Figure:6(a)Preparedsampleforcompressiontest(b) Dimensionofspecimen(c)Graphicalrepresentationof compressiontest.
Table: 1 ComparisonbetweenwoodandPLAmaterials
Sl.No CompressivestrengthofmaterialskN/mm2
Figure7CompressiveStrengthofTeakwoodandPLA materials
Rockwellhardenesstesthasbeencarriedoutasperabove saidASTMstandard.Itisnoticedthataveragevalueup to 85RHN.Becousestarchblendswithnaturalsugarcane.PLAis strongerandstifferthermoplastic
Table: 2 Rockwell hardness values Sl No Material Scale Indentor Load in KGF Rockwell Hardness Number
Poly Lactic acid Black Ball (2.5mm)
B 85
Table 1 and figure 7 indicates the comparison between existed Teak wood and proposed PLA materials from the experiment we understood that PLA material has compressivestrengthmorethanexistedteakwood.Thisis an evidence to strongly recommend PLA materials to preparethepatternforcasting.AndcostfactorofthePLAis lesserthenteakwood,alsolightinweight.
Theabovetable2showsRockwellhardnessnumberofPLA by average of three trials and scale, type of load and indentor.SimilarlyBHNalsoconductedasperstandards.It isshownbelowtable3.
Table:3Brinellhardnessvalues
KGF
No
1. Polylactic acid 62.5 Ball (2.5mm) 42
Thehardnessvaluesareanevidencetounderstandnatural stuffofPLAisstrongerthanteakwood;PLAwouldresistthe plasticdeformationmorethanteakwoodwhileapplyingthe loadonsurfaceofPLA.
ImpacttesthasbeencarriedoutaspertheaforesaidASTM standardsampleswerefabricated.Valueswererecordedfor

International Research Journal of Engineering and Technology (IRJET) e-ISSN: 2395-0056
Volume: 11 Issue: 05 | May 2024 www.irjet.net p-ISSN: 2395-0072
Izod 0.05 J/mm2 and 0.025J/mm2 for Charpy. With this value to recommend for pattern application for sand casting.PLAmaterialswhichhasnaturalstuffofstarchand sugar cane has possesses hardness nature, which resists transfer of load in to it that clearly indicates on fracture surfacewhichappearsbrittlefracturewithnoappreciation in deformation. Figure-7 shows the fracture surface of sample

3.3 3D Printed PLA Pattern


Figure8showsthatpattern(a)Teakwoodpatternand(b) 3DprintedPLApattern
Abovefigureindicatedthatcastingpatternmadeupoftwo different materials figure (a) is made by teak wood and fabricatedfromtraditionalwayofmanufacturingwhichis alreadyexistedinfoundrywhereasinfigure(b)ismadeby PLA (Polylactic acid) fabricated from fused deposing modelling (FDM) 3D machine this is an evidence to understanddimensionalaccuracyandsurfacefinishofthe model.3Dprintedmodelhasbeenprovedthatitisbetter than the wood (surface) in above aspects, also light in weight, water resistant, less chemical attraction and biodegradable hence this work proposes replacement of woodpatterntoPLApatternforsandcasting
4. CONCLUSION
ThisworkmainlyfocusonreplacingwoodpatterntoPLA, for that designed pattern then fabricated by PLA, latter work have been extended to evaluate of the mechanical properties of PLA material through various testing methodologies like compressive strength, hardness and Impact properties. Our findings indicate that PLA exhibits
promising mechanical characteristics, making it a viable option for a range of pattern for sand casting application, particularly in industries where biodegradability and sustainabilityareparamount.
Through compression testing, observed that PLA demonstratessatisfactorycompressionstrengthcompareto teak wood which was already existed and ultimate load suggested itâs suitable for pattern for sand casting application. Furthermore, the Hardness testing revealed PLAâsabilitytowithstandforces,highlightingitspotential foruseinpatternforsandcastingapplication
TheimpactresistanceofPLAwasevaluatedthrough(Izod& Charpy)impacttesting,showcaseditsresiliencetosudden shocks and dynamic loading. This property makes PLA suitable for pattern for sand casting application requiring durabilityandresistancetoimpactforces.
Overall we conclude that PLA material has shown the mechanical and physical property stable than wooden material.
[1]Dwihadi Sulistyarini,Debrina Andriani,Zefry Darmawan,Putu hadi Setyarini,âImplementation of rapid protyping polylatic acid using 3D printing technology for early education applicationsâ,Eastern-Europan journal of enterprisetechnologiesISSN1729-3774,11december2020.
[2]C.Labeshkumar,VVSHPrasad,J.LukmashaVarma,B.Naga Haritha,âDesignandexperimentationof3Dprintedpattern andwoodenpatternforsandcastingprocessâ,International Research journal of engineering and technology (IRJET), ISSN:2395-0056,volume:06,Issue:04,April2019
[3]Houcine salem, Hamid Abouchadi, Khalid elbikri,âPLA Mechanical performance before and after 3D printingâ, International journal of advanced computer science and applications(IJACSA),Volume:13,No.3,2022.
[4]AnakhuP.I,BoluC.A,AbioyeA.A,AzetaJ,âFuseddeposition modelling printed pattern for sand casting in a nigerian foundaryâ, International journal of applied engineering research,ISSN:0973-4562,volume:13,No.7,2018,PP.51135119.
[5]Donald garlotta,âA literature review of Polylatic acidâ, Article in journal of environmental polymer degradation, April2001,DOI:10.1023/A:1020200822435,source:OAI.
[6]Xiangrui LI,Yu Lin, Mingli Liu, Lipeng Meng, Chunfeng Li,âA review of research and application of polylatic acid componentsâ, Journal of Applied polymer science,DOI:10.1002-App.53477,14november2022.
[7]Qingjia niu,lishuai jiang,chunang li,yang zhao,qingbiao wang,anyingyuan,âapplicationofprospectsof3Dprintingin

International Research Journal of Engineering and Technology (IRJET) e-ISSN: 2395-0056
physical experiments of roak mass mechanics and engineeringâ,Internationl journal of coal science and technology,(2023)10:5.
[8]S.Sekar,R.Velu, V.Ramesh,Design and development of FDMpatternforsandcastingprocess,Internationaljournal ofmechanical engineeringandtechnology(IJMET),Volume :8,Issue:8,August2017,PP.1166-1172.
[9]Gurmaat singh,âReplace wooden pattern to polymer patternby3Dprintingâ,elsvier,8August2020.
[10]Yiny.Yee,yernchee ching,shaifulazuar rozali,n.awanis hashim,Rameshsingh,â Prepartionandcharacterizationof polylatic acid based composite reinforced with oil palm empty fruit bunch fiber nanosilica â,Bioresources 11(1),2269-2286,2016.
[11]Mohd sarhan othman,mohd fakhrur razi bin misran,âStudy on mechanical properties of PLA printed Using3Dprinterâ,JournalofAdvancedresearchinapplied mechanics,ISSN:2289-7895,(2019)10-18.
[12]Kehui deng,hu chen,yijiao zhao,yongsheng zhou,yong yang,yuchun sun,âEvalution of adaptation of the polylatic acid pattern of maxillary complete dentures fabricated by fuseddepostionmodellingtechnologyâ,Plosone,PLosONE 13(8):e0201777,19August2018.
[13]Leonidilyichvayshbeyn,elenaevgenyebnamastalygina, anatoly aleksandrovich olkhov,maria victorovena podzorova,âPolylatic acid based blends:A comprehensive reviewâ,Appliedscience,2023,13,5148,20April2023.
[14]Juliana bahu,patric severino,cristina blanco-liamero, viktor oswaldo cardenas concha,âPolylaic acid:properties, synthesisandbiomedicalapplicationsâ,journalofmolecular structure1309(2024)138243,2024.
[15]Claytan peter fernandes,âuse of recycled polylatic acid(PLA) polymer in 3D printingâ,International research journal of engineering and technology (IRJET), Volume:6,ISSN:2395-0056,9september2019.
[16]Alok kumar trivedi,M.K.gupta,Harinder singh,âPLA based biocompsites for sustinable products,Advanced industrialandengineeringpolymerresearch6(2023)382395,2023.
Volume: 11 Issue: 05 | May 2024 www.irjet.net p-ISSN: 2395-0072 © 2024, IRJET | Impact Factor value: 8.226 |