
International Research Journal of Engineering and Technology (IRJET) e-ISSN: 2395-0056
Volume: 11 Issue: 05 | May 2024 www.irjet.net p-ISSN: 2395-0072
![]()

International Research Journal of Engineering and Technology (IRJET) e-ISSN: 2395-0056
Volume: 11 Issue: 05 | May 2024 www.irjet.net p-ISSN: 2395-0072
Dr.S.D.Bhopale1 , Omkar Patil2 , Vishwajeet Adasul3 , Aniket Jadhav4 , Omkar Kamble5 , Rajesh Patil6
1Associate Professor, Dept. of E&TC, D Y Patil College of Engineering and Technology(Autonomous),Kasaba Bavada, Kolhapur, Maharashtra.
23456B. Tech Students, Dept. of E&TC, D Y Patil College of Engineering and Technology(Autonomous),Kasaba Bavada, Kolhapur, Maharashtra
Abstract - A Power Monitoring and Controlling System (PMCS) is a high-tech digital device that measures, monitors, and records energy consumption in real time within a collage, institutions, households, or facilities. Unlike traditional meters that require manual readings, PMCS automates the process, providing real-time, accurate energy usage data. These meters use cutting-edge technologies, such as digital displays and communication modules, as well as sensors, to collect all necessary information about energy usage. The primary purpose of a PMCS is to measure the amount of energy used or utilized in a section, usually in kWh, and transmit this data to the utility provider and to the consumer using wifi /Bluetooth module . automation should be done for energy efficiency. The real-time data enables users to better control and understand energy consumption parameters, allowing them to make better energy management decisions by using mobile device.
Key Words: Power Monitoring, Controlling, energy consumption, consumption patterns, kilowatt-hours (kWh),Data management, etc.
1.INTRODUCTION
Inanagecharacterizedbyswifttechnologicalprogressand mountingenvironmentalconcerns,thefusionofInternetof Things(IoT)technologywithenergymanagementsystems hasemergedasanenlighteningsolution.Theintegrationof IoT with power monitoring and controlling represents a pivotal advancement in the manner in which we oversee, regulate,andoptimizeenergyusage.Thisinnovativesystem combinesstate-of-the-arthardwarecomponents,advanced communicationprotocols,cloudcomputingcapabilities,and user-friendly applications to establish a comprehensive approach towards enhancing energy efficiency. By facilitating real-time monitoring, remote control, and intelligent analysis of energy consumption patterns, this system empowersusers to makewell-informeddecisions, curtail expenses, and contribute to sustainable practices. This overview provides insights into the system's architecture, communication protocols, cloud integration, user interfaces, benefits, and groundbreaking technology thatisbalancedtorevolutionizeourinteractionwithenergy consumption. Power monitoring and control are vital for managing electrical systems in different settings, ranging
from homes to industries. They involve continuously measuring, analyzing, and regulating electrical power to ensureitsefficientanddependableuse.Powermonitoring and control systems are crucial for optimizing energy consumption and minimizing operational expenses. This articlewillprovideacomprehensiveoverviewofthegoals andapplicationsofpowermonitoringandcontrol.
1.HardwareandSoftwareSelection:componentsfortracking andmeasuringconsumption,cloudstoragefordata
2.DataCollection:Placethedevicesintheallottedspots,close tothemeter.Gatherinformationfrommeterusersandsafely storeit.
3.Database Setup:For storing data, create a cloud-based database.
4.UnitsTracking:Keeptrackofeverysingleunit'selectricity use.
5.User Interface: A user-friendly interface for record managementbyadmins.
6.Testing: To make sure the tracking is accurate and the systemisreliable,testthesystem.
7.Training:Train users and administrators how to use the monitoringsystemefficiently.
8.FeedbackandImprovement:Collectfeedbackfromusers andadjustthesystemaccordingly.
Energy Efficiency: One of the main goals of energy monitoring and control is to enhance energy efficiency. Through careful monitoring and analysis of power consumption,userscandetectinefficienciesinthesystem and take corrective action to reduce energy wastage. This can result in substantial cost savings and an improved environmentalfootprint.

International Research Journal of Engineering and Technology (IRJET) e-ISSN: 2395-0056
Volume: 11 Issue: 05 | May 2024 www.irjet.net p-ISSN: 2395-0072
Cost Management: By tracking power usage trends, businesses can gain a better understanding of their electricity costs and budget. By controlling power consumption during peak demand hours, businesses can reduce demand charges. Demand charges make up a significant percentage of commercial and industrial electricitybills.
There is a growing demand for enhanced and precise monitoringofenergyusageinresidential,commercial,and industrial environments. Conventional energy meters frequentlydonotofferreal-timedatagatheringcapabilities orremoteaccess.
The problem statement for a Power Monitoring and ControllingSystemistocreateanall-encompassingsolution for overseeing and regulating power consumption in differentenvironmentslikehomes,businesses,andfactories. This system is designed to tackle challenges related to energyefficiency,cost-effectiveness,andequipmentupkeep by offering live monitoring of power usage, pinpointing inefficientareasorpossiblemalfunctions,andallowingfor remote management or automation of power equipment. Important factors to take into account involve data collection, interpretation, display, automation, and compatibilitywithcurrentinfrastructureorIoT

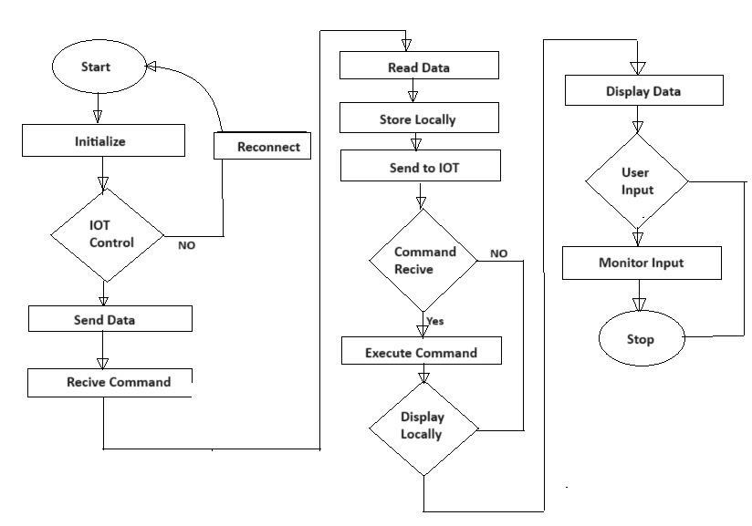
The proposed initiative is focused on developing and executinganIoT-basedsmartenergymetersystemtooffera holistic solution for efficient energy management and dynamicreal-timemonitoring.Thefundamentalarchitecture involves the seamless integration of essential hardware components such as precision energy meters, intelligent microcontrollers,IoTmodules,currentandvoltagesensors, and communication interfaces leveraging MQTT and HTTP/HTTPSprotocols.Theseprotocolsenablethesmooth transmissionofdatatoarobustcloudplatformoptimizedfor
agilestorageandcomprehensiveanalysis.Concurrently,a user-centricmobile/webapplicationservesasaconduitfor users to access real-time energy consumption data and control remote devices. Thorough validation and testing phasesensuretheaccuracyofenergymeasurementsandthe flawlessoperationofthesystem.Thedatacollectedprovides valuable insights into consumption patterns, facilitating discussionsonthesystem'saccuracy,efficiency,andoverall performance. The project also addresses challenges encountered and outlines future enhancements, including theintegrationofrenewableenergysourcesandinnovative machine learning models. This project sets the stage for redefining energy management practices and driving sustainablechangesinenergyconsumption.
An energy meter is a device that calculates the power consumed by electrical appliances. Electric distributors utilize energy meters installed at consumers' premises to trackpowerconsumptionforbillingpurposes.Theenergy meter features a calibration LED that indicates real-time powerconsumption.BycountingthenumberofLEDblinks, thepowerconsumptioncanbecalculated.
TheReal-Time Clock (RTC)isutilized formonitoring date and time in order to produce bills periodically. It is connectedtoArduinotoactivatetheGSMandWIFImodule fortransmittingdatatobothconsumersanddistributors.

TheArduinoboardwilltallythenumberofpulsesreceived fromtheoptocoupler,whichaccuratelyrepresentstherealtime power consumption of the consumer. It will then proceedtocalculatethecorrespondingcostforthepower consumed.Thesevalues,alongwiththepowerconsumption andcost,willbeshowcasedontheLCDscreen.Additionally, atpredeterminedintervalssetbytheReal-TimeClock(RTC), the Arduino will transmit the detailed information to the consumerviathedistributor,utilizingtheWIFImodule.

International Research Journal of Engineering and Technology (IRJET) e-ISSN: 2395-0056
Volume: 11 Issue: 05 | May 2024 www.irjet.net p-ISSN: 2395-0072
The16×2LCDscreenisutilizedtoshowcasetheamountof power being utilized by the consumer, along with the correspondingcostoftheelectricityconsumedattheuser's location.
PIRSensor–
Apassiveinfraredsensor(PIRsensor)isanelectronicdevice designed to detect and measure the infrared (IR) light emitted by objects within its range. These sensors are commonly utilized in motion detectors that rely on PIR technology.
The utilization of Wireless Fidelity (WIFI) technology enablesseamlessconnectivitybetweenthedistributor'sPC andtheconsumer'sdevice,therebyfacilitatingtheupdating of power consumption and associated costs on the distributor'send.



Weexpressourprofoundgratitudeforthechancetowork togetheronthisproject.Ithasbeenavoyageofcommitment, innovation,andcollaboration.Yourconfidenceinourskills andvisionhasplayedacrucialroleinmakingthisendeavor successful.Weofferoursincerethankstoeachmemberof ourteamwhosehardworkandknowledgehaveinfluenced thisproject.Furthermore,weacknowledgeourstakeholders and supporters for their steadfast faith in our abilities. Together, we have reached a significant milestone that showcasesourjointdedicationtoexcellence.Weanticipate futurepartnershipsandtrustthatthisprojectwillstandas proofofourmutualcommitmenttosuccess.

International Research Journal of Engineering and Technology (IRJET) e-ISSN: 2395-0056
Volume: 11 Issue: 05 | May 2024 www.irjet.net p-ISSN: 2395-0072
In2013,UsingArduinomicrocontrollerboard,anENC28J60 ethernet module, and a current transformer sensor in proposedsystem.Themethodofcurrentsensingemployed isnon-invasivetype.TheUserInterfaceofthedeviceistobe developedinandroidandthedatawillbeuploadedontoa serverusingtheethernetconnection.Thefinaloutputwillbe a smart plug that can monitor a remote device usin g Arduinoandroidplatform.[3]
In 2016, design and implementation of an energy meter usingArduinomicrocontrollerwhichcanbeusedtomeasure the power consumed by any individual electrical appliance.Internetof Things(IoT)isanemergingfieldand IoTbaseddeviceshavecreateda revolutioninelectronics andIT.Themainintentionoftheproposedenergymeteris to monitor the power consumption at the device level, uploadittotheserverandestablishremotecontrolofany appliance. The energy monitoring system precisely calculatesthepowerconsumedbyvariouselectricaldevices anddisplaysitthroughahomeenergymonitoringwebsite. [2]
In 2018, Using Wi-Fi module entire system will be controlled. Internet of Thing (IoT) is internally related to computing tricks transferring the dataunder the network with no any help of a human to human or human to computer interrelation. The load to the consumer is to consume regularly with regular monthly payment of the bill.When the electricity bill is paid then the supply will continuouslyfloworprovides.[1]

ThefinalResultmatcheswith estimatedobjectivesofsystem we considered previously . Furthermore, it could acknowledgethesignificanceofreal-timedataanalysisand remote control capabilities also automation for effective powermanagement.Ultimately,theconclusionhighlightsthe energy efficiency and sustainability objectives across differentindustries.
[1]LilavatiPujari(VisvesvarayaTechnologicalUniversity, Belagavi, Karnataka) “IoT based smart energy meter monitoring and controlling system”, 2018, International Journal Of Advance Research,Ideas And Innovations In TechnologyImpactfactor:4.295(Volume4,Issue3)ISSN: 2454-132X
[2]SanketThakare,AkshayShriyan,VikasThale,Prakash Yasarp, Keerthi Unni. “Implementation of an Energy Monitoring and Control Device based on IoT”, 2016 IEEE (F.C.R.I.T.)
[3]AHShajahan,AAnand,“Dataacquisitionandcontrol using Arduino.Android platform,” Energy Efficient TechnologiesforSustainability(ICEETS),pp.241-244,April 2013
[5]WinAdiyansyahIndra,FatimahBtMorad,Norfadzlia Binti Mohd Yusof, Siti Asma Che Aziz, “GSM Based smart EnergymeterwithArduino”,InternationalJournalofApplied EngineeringResearch,Malaysia,2015.
[6]Sneha Chaudhari,PurvangRathod,AshfaqueShaikh, Darshan Vora, Jignesha Ahir, “Smart energy meter using Arduino and GSM”, International conference on Trends in ElectronicsandInformatics(ICEI),2017
[7].K.Krishnareddy,n.v.kishorekumar,tanakantivani,p mohammadkhan,cbhaskarreddy,pmonika,t.sambhavi.Iot basedsmartenergymetermonitoringandcontrollingsystem ISSN:0974-5823Vol.7No.7July,2022
[8]. Md Redwanul Islam1, Supriya Sarker2, Md Shahraduan Mazumder3, Mehnaj Rahman Ranim4 An IoT basedReal-timeLowCostSmartEnergyMeterMonitoring System using Android Application International Journal of EngineeringandTechniques-Volume5Issue3,June2019
[9]. P.Janaki*¹ and K.Ramamoorthy² Iot Based Energy Management System - A Survey [Janaki, 3(11): November 2016]ISSN2348–8034
[10].MiguelHernanEscobedo-Barajas1,AntoniodelRio de Santiago1, Hector Alonso Guerrero Osuna1 and Jose ManuelOrtiz-Rodriguez1,_IoTBasedSmartElectricalMeter forSmartHomespublishedon23July2020
[11]. D A Kirienko, P V Lunkov, V V Putrolaynen et al. Design of IoT Based Smart Energy Meter for Home Appliances2021J.Phys.:Conf.Ser.1964052001
[12]. Naziya Sulthana1*, Rashmi N2, Prakyathi N Y3, Bhavana S4, K B Shiva Kumar Smart Energy Meter and MonitoringSystemusingIoTISSN:2278-0181Publishedby, www.ijert.orgNCETESFT-2020