
International Research Journal of Engineering and Technology (IRJET) e-ISSN:2395-0056
Volume: 11 Issue: 04 | Apr 2024 www.irjet.net p-ISSN:2395-0072
![]()

International Research Journal of Engineering and Technology (IRJET) e-ISSN:2395-0056
Volume: 11 Issue: 04 | Apr 2024 www.irjet.net p-ISSN:2395-0072
K.G.VENKATA
KRISHNA1, A.SUPRIYA2 , R.AKHIL3, CH.PAVAN KUMAR4 , D.KARIMULLA5
1Assistant Professor, Dept of ECE, Krishna University College of Engg & Tech, Machilipatnam, Krishna-521004, AP, India
2,3,4,5 UG Students,Dept of ECE, Krishna University College of Engg & Tech, Machilipatnam, Krishna-521004, AP, India
Abstract - The Vedic sutras of classical Vedic mathematics, the proposed research project describes the modified binary Vedic multiplier. It offers adjustments to the Vedic multiplier that has been prototyped. There has been an improvement in both device use and time delay with the updated binary Vedic multiplier, which is preferred. In Verilog HDL, the suggested method was created and put into practice. The Xilinx Vivado tool is used for HDL simulation and synthesis. Simulation results arealsodisplayed.Thesimulationwasperformedfora32bitmultiplicationoperation.Greatersizescanbeusedwith this adjusted multiplication method. Comparisons are made between the results of this multiplication method andcurrentVedicmultipliermethods.
Key Words: Vedic-multiplier, Ripple carry adder, Carry save adder, VerilogHDL
1.INTRODUCTION
Research scholar Bharati Krishna provided a more succinctexplanationofVedicmathematics,statingthatitis comprised of 64 sutras and 13 sub-sutras. This makes solving mathematical equations for computations easier.Prehistoric Vedic Mathematics was made more advanced by Swami Bharati Krishna Tirthaji Maharaj, a ShankaracharyafromGoverdhanPeath.Itmakessenseand isbothstraightforwardandconsistent.AsaresultofVedic mathematics becoming more and more common, both in India and the rest of the globe, it is a highly popular study topic.Digitalsignalprocessingmustcarryouttaskssuchas frequency transformations (DFT, FFT, and DCT) and frequencydomainfiltering(FIR,IIR).Multiplicationsarean essential hardware component for these tasks. For this reason, choosing how to display the entire structure depends in large part on how the multiplier is presented. Thisisduetothefactthatthemultiplieristheframework's slowest and most laborious element. Therefore, a notable testfortheframeworkarchitectsistheimprovementofthe multiplierspeedandarea.TheapplicationofancientVedic mathematical methods can successfully overwhelm this exam.
The data route is the central component of any microprocessor, digital signal processor (DSP), and
application-specific integrated circuit (ASIC) used in data processing. When die area, power dissipation, and especially operating speed are of concern, it is frequently themostimportantcircuitcomponent.Arithmeticunitslike multipliers, adders, and comparators form the foundation of both data-path and addressing units. Lastly, the binary addition is the fundamental operation included in the majorityofmathematicalcomponents.Inadditiontodoing basic operations like incrementing and magnitude comparison based on binary addition, adders may also performsimpleroperationslikeaddingtwointegers.Thus, themostsignificantarithmeticoperationisbinaryaddition.
2.1 S. Lad and V. S. Bendre, "Design and Comparison of Multiplier using Vedic Sutras," 2019 5th International Conference On Computing, Communication, Control And Automation (ICCUBEA), Pune, India, 2019, pp. 1-5
Fast processing units are necessary for many realtime applications in modern computerized era. The basic building elements of these units are ALU and MAC, which are necessary for quick and effective execution. Digital signal processors use multipliers as its primary component.To keep things accurate. To boost the rate of execution, registers, multipliers, and adders must be changed in order to improve the performance of the ALU andMAC.Thegrowinglimitsondelaycallforthedesignof quickermultiplierstobeimplementedinCPUs.Itiscrucial to create quicker multipliers in order to increase multiplicationspeed.
2.2 Balpande VishwasV, Abhishek B.Pande, Meeta J.Walke, Bhavna D.Choudhari and Kiran R. Bagade. “Design and Implementation of 64 Bit Processor on FPGA.” (2015).
This assignment involves utilizing Verilog HDL to model the components of a 64-bit RISC CPU and create it. The Harvard architecture serves as the basis for the CPU. The very basic instruction set used here provides insight into the sort of hardware that should be able to correctly executethesetofinstructions.Beyondthebasicsequential and combinational processor building blocks, such registers and adders, more intricate blocks, like ALUs and memory,havebeenbuiltandmodeled.Inthisresearch,the

International Research Journal of Engineering and Technology (IRJET) e-ISSN:2395-0056
Volume: 11 Issue: 04 | Apr 2024 www.irjet.net p-ISSN:2395-0072
ALU has been thoroughly structurally modeled, beginning withhalfadders.Finally,asemi-customlayoutforALUwas created. While basic blocks like adders have been represented using a structural approach, complex blocks like memory have been modeled using a behavioral approach.
2.3 Seung Pyo Jung, Jingzhe Xu, Donghoon Lee, Ju Sung Park, Kang-joo Kim and Koon-shik Cho, "Design & verification of 64 bit RISC processor," 2008 International SoC Design Conference, Busan, 2008, pp. III-13-III-14
This article presents the design and verification processfora64-bitRISCprocessor.TheHarvarddesignof the proposed processor includes internal debug logic, a 5stage pipeline for instruction execution, and a 24-bit address. The FPGA-based processor successfully executes the SOLA algorithm and the ADPCM vocoder. Personal digital assistants (PDAs) and portable multimedia players (PMPs) are not unique human inventions. Thus, SOC level ASICs(ApplicationSpecific IntegratedCircuits)areusedto create compact and low power processors. The 8051 and ARM7processorsarethemostwidelyusedSOClevelASIC processors. Millions of gates use the ARM7 on a SOC level ASIC dimensions. Furthermore, basic systems that require modest size employ the 8051 CPU. However, the basic system'sbitsizeisincreasingfrom8to64.
EXISTING METHOD
The three main processes in the multiplication process are as follows: There are several types of multipliers,fromsimpletosophisticated.
1. Generationofpartialproducts
2. Reductionofpartialproducts
3. Thelastaddition
The "add and shift" algorithm is a widely used multiplication technique. The following illustrates the multiplication method for an N-bit multiplier. the 32-bit product, which is produced by multiplying two 32-bit values. The add shift method is the foundation of the multiplier circuit. To discover the product of two binary values, a binary multiplier can be utilized in digital electronics as an electrical circuit, such as in computers. The binary multiplier multiplies the multiplicand by each bit of the multiplier starting with the least significant bit, using a carbon duplicate of the standard multiplication procedure.Byusingtwohalfadder(HA)modules,atwo-bit binary multiplier may be implemented. Digital multipliers can be applied to a variety of computer arithmetic computations.Manyofthesemethodsinvolvecalculatinga series of partial products and adding up the partial
products that are produced. A 2x2 binary multiplier is showninFig.1.

-1:Two-by-twoBinaryMultiplier
3.1 Ripple Carry Adder (RCA):
To provide the results of an addition operation on ann-bitbinarysequence,amultipliernumberoffulladders areplaced.Itcontinuesuntilitreachesthefinalstage,using the carryoutputof the previous adder asthe input forthe subsequent Full adder stage. The four bit (RCA) Ripple CarryAdderisshowninFig.2.

-2:4-BitRippleCarryAdder
Vedic mathematics is the mode that the Vedic multiplier uses. This method will result in a rise in performance while utilizing less hardware components. The Vedic multiplier uses the sutra Urdhva Tiryakbhyam, which signifies both horizontally and vertically. The resultantbearsTheoutputofthesetwoaddersissentinto a second RCA. Concatenate the bits if their sizes are not identical.ThefinalRCA'ssizeiscutinhalf,andtheoutputs oftheparalleladderaresentintoanORgateforthe32-bit ModifiedVedicmultiplier.

International Research Journal of Engineering and Technology (IRJET) e-ISSN:2395-0056
Volume: 11 Issue: 04 | Apr 2024 www.irjet.net p-ISSN:2395-0072

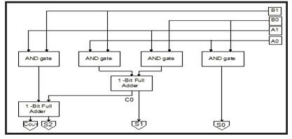
Mathematical Vedas A collection of sixteen Sutras (aphorisms)andthirteenSub-Sutras(corollaries)fromthe Atharva Veda is known as the Swami Bharati Krishna Tirtha.Hecreatedmethodsandtechniques forelaborating on the concepts found in the aphorisms and their corollaries, which he called Vedic Mathematics. Vedic Mathematics generates partial products in parallel, which accelerates processing. In this study, we provide a format that allows these intermediate products to accumulate quickly. In digital signal processing, multiplication is a necessary operation for many applications. This paper presents an extremely fast Vedic multiplier that utilizes Urdhva Tiryakbhyam, a multiplication sutra from Vedic Math, to achieve efficiency in speed. The processing capability of a multiplier increases when the input and outputdatabuswidthsareincreasedbecauseofitsregular construction.Aftermultiplyingthenumbersoneachendof theline,theoutcomeisaddedtothecarryfrom before.All oftheresultsareaddedtothepreviouscarrywhenseveral lines are processed in a single step. The remaining digits serve as the carry for the following stage, and the least significantdigitofthenumbersoproducedservesasoneof the outcome digits. The carry is first assumed to be zero. The 2x2, 4x4,and8x8bit Vedic multiplierunits' hardware designs are based on "Urdhva- Tiryakbhyam" (Vertically and Crosswise).A concurrent execution strategy is used in VedicMultiplierfortheproductionandaddingoffractional products.
The following explains the technique for two, twobitvalues,AandB,whereA=a1a0andB=b1b0,asseenin the following figure. The procedure first considers the multiplication of LSBs that result in the LSB of the final product(vertical). Thenexthigherdigitofthemultiplieris then multiplied by the LSB of the multiplicand, and this is followed by the addition of the result, the product of the LSB of the multiplier, and the next higher bit of the multiplicand (crosswise). The second bit of the final product is provided by the summation, and the carry is
added to the part product that is obtained by multiplying the most significant bits, leading to the sum and carry terms.


A carry-save adder's primary characteristic is that it divides the addition of the carry also known as the "propagate" term and the total. To do this, it generates two partial sums (called "sum" and "carry-out") first, ignoring the carry-in from the previous step. After that, a lastadditionismadeinordertocalculatethetruetotaland execute.

International Research Journal of Engineering and Technology (IRJET) e-ISSN:2395-0056
Volume: 11 Issue: 04 | Apr 2024 www.irjet.net p-ISSN:2395-0072





Anorganizedapproachtobinarymultipliercircuits, derivedfromVedicmathematics,hasbeenprovidedinthis study. The suggested approach is more efficient than the currentonesintermsoftimedelay.Byusingthesuggested approach, elongation for a larger bit size can be accomplished. In the proposed modified Vedic multiplier, adders with varying architectures can be employed in the CarrySaveAdder(CSA)design.Oneoftheseveralmethods for increasing and accelerating the multiplication is to employ changed architecture. There is a disadvantage to this technique: hemorrhage occurs. Using Verilog as a modelingtool,thisstudyultimatelyprovidesa32-bitVedic multiplierthatutilizesthecarrysaveadder(CSA)logic.By using a multiplier instead of traditional multiplier units, the findings show that the multiplier implementation increasesoverallperformance.
[1] S. Akhter, “VHDL implementation of fast NxN multiplier based on Vedic mathematics,” in Proc. 18th European Conference on Circuit Theory and Design, 2007,pp.472-475
[2] S. Nagaraj, Dr.G.M. Sreerama Reddy and Dr.S. Aruna Mastani; A Comparative Study on Different Multipliers-Survey Journal of Advanced Research in Dynamical and Control Systems147397522018InstituteofAdvancedScientificResearch.
[3] M.Pushpa, S. Nagaraj, Design and Analysis of 8-bit Array, Carry Save Array, Braun, Wallace Tree and Vedic Multipliers, IEEE Sponsored International Conference On New Trends In Engineering & Technology(ICNTET2018).

International Research Journal of Engineering and Technology (IRJET) e-ISSN:2395-0056





K.G.VENKATAKRISHNA, Assistant Professor, KrishnaUniversityCollege of EngineeringandTechnology, KrishnaUniversity, Machilipatnam.
Volume: 11 Issue: 04 | Apr 2024 www.irjet.net p-ISSN:2395-0072 © 2024, IRJET | Impact Factor value: 8.226 | ISO 9001:2008
AKULASUPRIYA,Studentof DepartmentofElectronicsand CommunicationEngineering, KrishnaUniversity,Machilipatnam.
REBBAAKHIL,studentof DepartmentofElectronicsand CommunicationEngineering,Krishna University,Machilipatnam.
CHITTIPROLU PAVAN KUMAR, StudentofDepartmentofElectronics andCommunication Engineering,KrishnaUniversity, Machilipatnam.
DUDEKULAKARIMULLA,Studentof DepartmentofElectronicsand CommunicationEngineering,Krishna University, Machilipatnam.