
International Research Journal of Engineering and Technology (IRJET) e-ISSN: 2395-0056
Volume:11 Issue: 04| Apr2024 www.irjet.net p-ISSN: 2395-0072
![]()

International Research Journal of Engineering and Technology (IRJET) e-ISSN: 2395-0056
Volume:11 Issue: 04| Apr2024 www.irjet.net p-ISSN: 2395-0072
Mohd Saad Khan Hanima Nabisher Khan Information Technology, Information Technology, Theem College of Engineering
Theem College of Engineering Mumbai , India Mumbai , India
Kaneej Shaikh Fatima
Prof. Simran Patil Information Technology, Information Technology Theem College of Engineering
Theem College of Engineering Mumbai , India Mumbai , India
Abstract This project explores the use of VPNs, a crucial tool for secure communication over untrusted networks like the Internet, and the cryptographic mechanisms that ensure data confidentiality, integrity, and authenticity. It focuses on the use of OpenSSL, an open-source toolset that provides robust implementations of various cryptographic protocols and algorithms. The project covers VPN architecture, cryptographic underpinnings, such as symmetric and asymmetric encryption, digital signatures, and key exchange protocols. It also examines OpenSSL's versatility in implementing and managing cryptographic solutions within VPN frameworks. The insights provided will not only guide understanding of the cryptography backbone of VPNs but also demonstrate the practicality and efficiency of OpenSSL in fortifying network security. In today's interconnected digital world, ensuring the security of sensitive data is essential. The project explores the convergence of VPNs, cryptography, and the OpenSSL library, highlighting their collective role in enhancing data security without relying on specific cryptographic algorithms.
Keywords: SSL(Secure Socket Layer), VPN(Virtual PrivateNetwork)
In our digital world, where data travels across networks constantly, keeping that data secure is a top priority. VirtualPrivateNetworks(VPNs)arewidelyusedtocreate secure connections over the internet, but ensuring the security of data transmitted through VPNs is crucial. This paperfocusesonusingtwokeytechnologies,cryptography and OpenSSL, to enhance the security of VPN data. Cryptography is like a secret code that scrambles data, making it unreadable to anyone who doesn't have the key to unlock it. OpenSSL is a tool that helps in implementing this cryptographic protection, providing a set of protocols and algorithms to secure data transmission. By combining the power of cryptography with the tools offered by OpenSSL, we can create a strong shield around data traveling through VPNs. This introduction sets the stage
for exploring how these technologies work together to safeguard data and ensure the privacy and integrity of communicationsovervirtualnetworks
This research describes a VPN technology has become a popular choice for internal network access due to its low deployment cost, flexible management strategy, and high securitycharacteristics.VPNsareusedfordatasecurity,but traditional network audit equipment faces challenges in ensuring network security due to the lack of support for VPN recognition and tunnel transmission. Protocol identification systems can be divided into traditional port protocol identification systems based on load and host behavior, and the current widely used Deep Packet Inspection(DPI)technology.DPItechnology,suchasSSH,is usedfornonstandardportandprotocolselection.However, traditionalmethodshavelimitations,suchaslowaccuracy, easy spoofing, and high information complexity. Feedback computing systems using machinelearning algorithms can help address these issues. With the increase in network data transmission speed and real-time data traffic, traditionalpassiveprotocolidentificationisdifficulttodeal with, making it difficult for traditional passive protocol identificationtohandlemassivenetworkdataonhardware andsoftware.
The paper provides a With the rapid increase of user’s access to the Internet, various companies are considering how to use the Internet to get more commercial interests. E-banking, e-shopping, ecommerce has become increasingly popular. Security technology must be used to achieve these functions, which ensures that network data transmitted securely. Virtual private network (VPN) technology is one of the important means to achieve it. VirtualPrivateNetwork(VPN)isthetransmissionmedium for information of users which uses the open and public network. It achieves the security protection for process of information transmission by additional information encrypted tunnel encapsulation, user authentication and access control technology that provides secure performancesimilarwithprivatenetworkforusers.

International Research Journal of Engineering and Technology (IRJET) e-ISSN: 2395-0056
Volume:11 Issue: 04| Apr2024 www.irjet.net p-ISSN: 2395-0072
These days, wecan talk toanyone, anywhere in the globe, thanks to the internet. Both authorised and unauthorised peoplecangainaccesstothiskindofinformation.Tostop hacking attempts, data security must thus be updated periodically. Virtual Private Networks (VPNs) are thought tobeamongthebestoptionsforaccessinganydatawitha high degree of security and receiving exceptional service quality.Inthisstudy,weofferamoresecureandexpedient encryption technique for packet payloads in tunnel networks.Thistechniqueisbasedonthecreationofpublic keys through the use of a linear feedback shift register. Internet protocol security (IPsec) for the packets is processedinparallelviathisapproach.Whencomparedto other protocols that provide the same functions as the Secure Sockets Layer (SSL), the later one performs better. Additionally,itisdiscoveredthatemployingtheIPsectype Authentication Header (AH) protocol increases data flow. In addition, this suggested method can improve the efficiencyandthroughputontheInternetwhileachievinga notable 15% reduction in the latency brought on by encryption. Furthermore, the suggested cryptography permitsthecreationofuniqueencryptionprocessorsusing Field Programmable Gate Array (FPGA) chips, which may besoldasnetwork-connectedproducts.
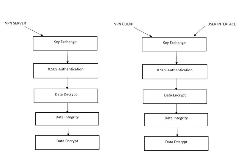
VPN data security employs several components working in unison. Starting with the User Device, which initiates and manages the secure connection, data is encrypted using the Encryption/Decryption Module leveraging the OpenSSL toolkit. This encrypted data is authenticated and transmitted via the VPN Server, ensuring data remains confidential and tamper-free while in transit. Finally, it reaches its intended Destination Serversecurely.
Thesystemarchitectureconsistsof:
1. VPN Server: This is like a secure checkpoint for your data. When you send information through a VPN, it first goes to the VPN server. The server receives your encrypted data, decrypts it, and sends it along to its final destination (like a websiteoranotherserver).TheVPNserveractsas a middleman, ensuring that your data remains secureasittravelsthroughtheinternet.
2. X.509 Authentication: Think of X.509 authenticationasa digitalIDcardforyourdevice. It'sa wayto verify thatyourdevice is whoitsays it is before it's allowed to connect to the VPN server. Just like you need to show ID to get into certain places, your device needs to authenticate itself to access the VPN server. X.509 authentication uses certificates to prove your device's identity, ensuring that only trusted devicescanconnecttotheVPN
3. DataDecrypt: Whenyourencrypteddatareaches theVPN server,itneedstobedecryptedsothatit can be understood and forwarded to its destination. Data decryption is like unlocking a secret code. The VPN server uses special keys (provided during the connection setup) to decode your encrypted data and make it readable again. Once decrypted, your data can continue its journeytoitsintendedrecipient
4. Data Integrity: Data integrity ensures that your information remains unchanged and uncorrupted duringtransmission.It'slikesealingyourmessage in an envelope to prevent tampering. Before sending your data, it's encrypted and bundled withaspecialtagcalledahash.Thishashactslike a digital fingerprint, allowing the recipient to verifythatthedatahasn'tbeenalteredenroute.If the data is modified in any way during transmission, the hash won't match, indicating a potentialsecuritybreach.
5. Data Encrypt:Encryptingyourdataislikeputting it in a locked box before sending it out into the world. Encryption scrambles your information into a jumbled mess that's unreadable to anyone withouttheproperkeytounlockit.Beforeleaving yourdevice,yourdataisencryptedusingcomplex mathematicalalgorithms.Thisensuresthatevenif someone intercepts your information while it's traveling through the internet, they won't be able tomakesenseofitwithoutthedecryptionkey.
Thesystemarchitectureworksasfollows:
1. Connection Establishment: You initiate a connection to a VPN server using VPN client software on your device. The VPN client software sends a request to the VPN server to establish a secureconnection.
2. X.509 Authentication: The VPN server verifies the identity of your device using X.509 authentication. Your device presents its digital certificate, which contains information such as its public key and other identifying details. The VPNserverchecksthecertificateagainstatrusted list of certificates to ensure that your device is authorizedtoconnect.
3. Connection Establishment: You initiate a connection to a VPN server using VPN client software on your device. The VPN client software sends a request to the VPN server to establish a secureconnection.
4. X.509 Authentication: The VPN server verifies the identity of your device using X.509 authentication. Your device presents its digital certificate, which contains information such as its

International Research Journal of Engineering and Technology (IRJET) e-ISSN: 2395-0056
Volume:11 Issue: 04| Apr2024 www.irjet.net p-ISSN: 2395-0072
public key and other identifying details. The VPNserverchecksthecertificateagainstatrusted list of certificates to ensure that your device is authorizedtoconnect.
5. Data Encryption: Before sending any data, your device encryptsitusingcryptographicalgorithms. Encryption transforms your data into an unreadable format, making it secure from unauthorized access. The encrypted data, along with any necessary authentication tokens or headers, is then sent over the internet to the VPN server.
6. Data Transmission: The encrypted data travel through the internet to reach the VPN server. During transmission, the data remains protected fromeavesdroppersandpotentialattackersdueto itsencryptedformat.
7. Data Decryption: Upon receiving the encrypted data, the VPN server decrypts it using the appropriate decryption keys. Decryption transforms the encrypted data back into its original,readableformat.TheVPNservercannow access the contents of the data and process it accordingly.
8. Data Integrity Checking: Before forwarding the decrypted data to its final destination, the VPN server verifies its integrity. This is done by checking the data against a cryptographic hash or checksumthatwasgeneratedbeforeencryption.If the hash of the decrypted data matches the original hash, it indicates that the data has not beentamperedwithduringtransmission.
This proposed system seeks to address these concerns by harnessing the power of cryptography, specifically integratingtherobustcapabilitiesofOpenSSL.Thissystem aims to ensure not only the privacy of the data in transit but also its integrity and authenticity. Through a combination of state-of-the-art encryption techniques, advanced authentication methods, and continuous monitoring mechanisms, we aspire to set a new standard insecureVPNcommunications.Thisinnovativesolutionis not just about security, but also about enhancing user experience,ensuringthatsafetydoesn'tcomeatthecostof speedorefficiency.

The proposed system for VPN data security harnesses the power of cryptography and OpenSSL to establish a robust and resilient network infrastructure. By leveraging cryptographic algorithms, sensitive data transmitted over the VPN is encrypted, ensuring confidentiality and thwarting potential eavesdropping attempts. Open-source OpenSSL provides essential cryptographic functionalities, enabling secure key exchange, authentication, and data integrity verification. This system ensures that only authorized users gain access to the VPN, with stringent authentication mechanisms in place. Additionally, meticulouskeymanagementpracticesareimplementedto safeguard against unauthorized access and ensure the integrity of cryptographic keys. Overall, the proposed system offers a comprehensive approach to VPN data security, mitigating risks and fortifying network defenses againstcyberthreats
Algorithm:
1. Initiate VPN connection request from User Device to VPNServer.
2.OnVPNServer:
3.Receiveconnectionrequest.
4.InitiateAuthentication&KeyExchange Protocol.
5.Onuserdevice:
6. Participate in Authentication & Key Exchange with theVPNServer.
7.IFAuthenticationissuccessful:
8.GeneratesessionkeysusingOpenSSLfunctions.
9.SendacknowledgmenttoVPNServer.
ELSE:

10.Terminatetheconnectionprocess.
11.OnVPNServer:
12.IFacknowledgmentreceived:
13. Generate corresponding session keys using OpenSSL.
14.Setupasecuretunnel.
ELSE:
15.Terminatetheconnectionprocess.
16.DataTransmissionProcess:
17.Onuserdevice:
18. Encrypt data using session key and OpenSSL functions.
19.Transmitencrypteddatathroughthesecuretunnel.
20.OnVPNServer:
21.Receiveencrypteddata.
22. Decrypt data using session key and OpenSSL functions.
23.ForwarddecrypteddatatotheDestinationServer.
24.OnDestinationServer:
25.Processthereceiveddata.
26.Sendresponsebackthroughthesamesecuretunnel followingthereverseprocess.
27. Terminate the VPN connection after data transmissionor uponuserrequest. END
The VPN server serves as a critical component in ensuring the security and integrity of data transmitted over virtual private networks (VPNs). In our IEEE paper focusing on VPN data security using cryptography and OpenSSL, the evaluation of the VPN server's performance andeffectivenessiscentraltounderstandingtheefficacyof theproposedsecuritymeasures.
This section of the paper aims to provide an insightful overview of the results obtained from the implementation and testing of the VPN server within the context of our project.

This section of the paper aims to provide an insightful overview of the results obtained from the implementation and testing of the VPN server within the context of our project. The outcomes discussed herein contribute valuable insights into the server's capabilities in safeguardingsensitiveinformationagainstvarioussecurity threats
This communication shows that the, data flows from the clienttotheserver,andtheserverprocessesandresponds to the client's requests. This process ensures secure and confidential communication between the clientand server over the VPN connection, protecting data from unauthorizedaccessorinterception.

This communication processexemplifiestheseamlessand secureexchangeofdatabetweentheclientandserverover aVPNconnection,facilitatedbyencryptionanddecryption mechanisms inherent in cryptography and OpenSSL. By encrypting data flows and ensuring robust authentication, VPNsupholdtheprinciplesofconfidentiality,integrity,and
© 2024, IRJET | ImpactFactorvalue:8.226 | ISO 9001:2008CertifiedJournal | Page1673

International Research Journal of Engineering and Technology (IRJET) e-ISSN: 2395-0056 Volume:11 Issue: 04| Apr2024 www.irjet.net p-ISSN: 2395-0072
privacy,therebyfortifyingthesecuritypostureofnetwork communications and protecting against unauthorized accessorinterception
This will let you send text from client to server and show you how the encryption and decryption will work and let you know what if some one else outside from the organizationwillsee.

Through the encryption and decryption mechanisms facilitated by OpenSSL and cryptographic algorithms, this system ensures that sensitive information exchanged between the client and server remains confidential and protected from unauthorized access, safeguarding the integrityoforganizationalcommunicationchannels.
The VPN Data Security project has evaluated a VPN server's role in enhancing data confidentiality, integrity, andauthenticityovervirtualprivatenetworks.Theserver, usingcryptographyandOpenSSL,wasfoundtobeefficient in handling encrypted data transmission. Security assessments showed the server's effectiveness in safeguardingdata throughrobustencryptionmechanisms, data integrity checks, and X.509 certificate-based authentication.Scalabilitytestsshowedtheserver'sability to handle increasing traffic loads while maintaining optimalperformanceandsecurity.
Wewouldliketoexpressoursinceregratitudetoallthose who contributed to the successful completion of this project. First and foremost, we extend our deepest appreciation to our project supervisor Prof. Simran Patil whose guidance, support, and invaluable insights have been instrumental throughout the entire duration of this project. Their expertise and encouragement have been indispensable in steering us in the right direction and overcomingvariouschallengesalongtheway.Wearealso immensely grateful to the entire team involved in the
project, whose dedication, collaboration, and hard work have been vital in bringing this vision to fruition. Each team member's unique skills and contributions have played a crucial role in the development, implementation, andtestingphasesoftheproject.
1. The Hot market for SSLVPNs Database and Network,2005Vekemans,John.
2. IP Virtual Private Networks (VPNs) Rosen E, RekhterY.
3. Security Framework for provider-provisioned VirtualPrivateNetworks(PPVPNS),2005,Fang.
4. Research of VPN based on SSL, Technology and applicationofnetworksecurity,2004LihongBao, Liya
5. The security implementation of IPSec VPN, CarIton,R.Davis.
6. TechnologyofIPSecVPN,Beijing:Posts&Telecom press,2008,BaohongHe,Tianhui.
7. FirewallpolicyandVPNconfiguration,2008.Lucas, Xielin.
8. Study into the SSL VPN Access Control System WirelessLocalnetworkArchitecture,2007.