
International Research Journal of Engineering and Technology (IRJET) e-ISSN:2395-0056
Volume: 11 Issue: 04 | Apr 2024 www.irjet.net p-ISSN:2395-0072
![]()

International Research Journal of Engineering and Technology (IRJET) e-ISSN:2395-0056
Volume: 11 Issue: 04 | Apr 2024 www.irjet.net p-ISSN:2395-0072
K.SRIHARI
1 Associate professor, Department of Electronics and Communication Engineering, Nri institute of technology, Perecherla, Andhra Pradesh,India
2 Associate professor, Department of Electronics and Communication Engineering, Nri institute of technology, Perecherla, Andhra Pradesh,India
3 UG Students,Department of Electronics and Communication Engineering, Nri institute of technology, Perecherla, Andhra Pradesh,India ***
Abstract - Drowning is one of the major causes of unintentional death in the world. owning to this reason, there is a need to curb the issue of drowning. Some systems have been developed over the years, but most of the systems are not accurate in detecting a drowning person and do not provide an effective rescue scheme to prevent the swimmers from drowning. The smart anti-drowning and alert system is a system which detects, rescues the swimmer experiencing drowning and alerts the necessary authorities. The system uses two sensors, pulse sensor and accelerometer for the detection of the heartbeat rate and tilting pattern of the swimmer. The Arduino Nano microcontroller receives analogue signal from the sensors and sends a signal to trigger the air vacuum pump and sends a message, when the threshold value is met. The threshold value of the pulse sensor is 45bpm-150bpm(minimum and maximum value) while the threshold value of the accelerometer is750 -1100 (minimum and maximum value).
Key Words: Arduino,GPS,GSM,LCD,Jtag,Sensors
Numerous people lose their lives to drowning every year, especiallyinswimmingpools,beaches,andopenbodiesof water. This is still a global public health problem. The effectivenessoftraditionaldrowningpreventionstrategies, such lifeguards and signs, is limited, particularly in crowded or unsupervised swimming conditions. In order to increase swimmer safety and lower the number of drowning events, creative solutions that make use of cutting-edge technologies are desperately needed. This need is intended to be met by the Smart Wearable Antidrowning System (SWADS), which offers real-time monitoringandalertingcapabilitiestoquicklyidentifyand react to possible drowning incidents. SWADS consists of a small wearable gadget with a variety of sensors that can track the motions, orientation, and physiological data of swimmers. The system can recognize unusual behavior patternsthatindicatedistressorsubmersionbyevaluating sensor data in real-time. This allows the system to promptly notify designated rescuers, including lifeguards ornearbypersons.
Numerousdrowningeventstakehappeninareaswithlittle supervision. Large stretches of the coastline cannot be monitoredbylifeguardsduetotheirexpensiveexpense.As a result, their primary duty is to police well-known beaches.Furthermore, not all domestic pools or riversare staffed by lifeguards. Comprehensive monitoring is not practicalduetothecost.Anotheroptionistocreatealowcost autonomous system that uses a movable Unmanned Aerial Vehicle (UAV), such a quadcopter or fixed-wing aircraft, or an above-water vantage point, like a pole or observationtower,toidentifyswimmersindifficulty.Prior studies in this area have been on the use of UAVs to take better footage for skilled staff to monitor or autonomous systemstoidentifyswimmers,independentoftheirdegree of distress. Implemented an anti-drowning system using remote alert. The system developed uses a RF module for wireless communication consist ing of a transmitter and receiver, a heartbeat sensorwhich monitors theheartbeat rate of the user, was interfaced with an At-Mega 328 microcontroller which was also interface with LCD, LED andabuzzerforindication.Thesystemisscalable,flexible and oflow cost. However, the anti-drowningsystem using remote alert communicates at a very short range and not so efficient in informing the person, if the person is not close to the buzzer or LED. Even though drowning is a serious public health danger, estimates from throughout theworldmaygreatlyunderestimateitsactual prevalence [3,4]. Certain groups of people who participate in waterbased activities like kids and young men are especially vulnerable to this risk [5]. There are several underlying reasons for drowning, making it a complex problem [6,7,8,9].Nonetheless,themaincausesofdrowninginclude inadequate child supervision, fear of the water, and incapacity to swim [10]. It is noteworthy that victims of drowning seldom show signs of convulsions and that the incidentisfrequentlyquiet.Rather,theyhavetoworkvery hard to stay afloat and are frequently unable to indicate theirneedforassistanceordistress.Theymaygetterrified and have spasms if water gets inside their trachea or larynx,whichkeepsthemfromyelling.Itmightbedifficult toidentifydrowningvictimsbecausetheymayfightinthe

International Research Journal of Engineering and Technology (IRJET) e-ISSN:2395-0056
Volume: 11 Issue: 04 | Apr 2024 www.irjet.net p-ISSN:2395-0072
water,havebreathingdifficulties,orirregularheartbeats.It may only take 20 to 60 seconds for someone to submerge inthewaterwithouttheassistanceofaqualifiedlifeguard. Findingalostindividualinthewateristhereforeessential totheirlife.
2.1 Existing System

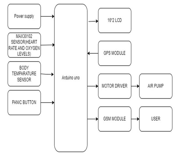
3. PROPOSED SYSTEM

-2:ProposedBlockdiagram
4. HARDWARE DESCRIPTION
4.1 Arduino
Based on a microcontroller board with an integrated development environment for programming the board, Arduino is an open source physical processing system. A
few inputs, like switches or sensors, are sent into the Arduino, which then controls a few different outputs, like lights, an engine, and other things. Unlike other microcontroller frameworks, which are limited to functioning on Windows, the Arduino application is compatiblewithWindows,Macintosh,andLinuxoperating systems. Beginners and amateurs alike may easily learn and implement Arduino programming. With Arduino, you may create a computer that is more capable than a standarddesktopcomputerintermsofcontrol,interaction, and sensing. It's a physical processing stage that is opensource and centered around a simple microcontroller board, along with a programming environment for the board.Arduinomaybeusedtomakeinteractiveobjects.It can operate a variety of lights, motors, and other physical outputs by receivinginputsfroma wide rangeofswitches or sensors. Activities with Arduino may be connected to otherapplicationsthatarerunningonyourcomputer,such as Processing, Flash, and Maxmsp, or they can be done alone. The open-source IDE may be downloaded for free, and the board can be constructed by hand or purchased already assembled. An implementation of Wiring, a comparable physical computing platform, the Arduino programming language is centered around the Processing mediaprogrammingenvironment

Asmall,flatdisplaydeviceknownasaliquidcrystaldisplay (LCD)iscomposedofanynumberofcolorormonochrome pixels arranged in front of a reflector or light source. A column of liquid crystal molecules hanging between two transparent electrodes makes up each pixel, as do two polarizing filters with perpendicular polarity axes. Light traveling through one would be obstructed by the other if therewerenoliquidcrystalsbetweenthem.Toenablelight entering one filter to pass through the other, the liquid crystaltwiststhepolarizationofthelight.Inputandoutput devices that speak with people directly must be used by a software to communicate with the outside world. An LCD

International Research Journal of Engineering and Technology (IRJET) e-ISSN:2395-0056
Volume: 11 Issue: 04 | Apr 2024 www.irjet.net p-ISSN:2395-0072
display is one of the most often connected devices to a controller. 16X1, 16x2, and 20x2 LCDs are a few of the most often used LCDs that are linked to controllers. This translates to 16 characters on a single line. There are sixteen and twenty characters per line by two lines, respectively.

Maxim combined produced the combined pulse oximetry and heart-rate monitor module known as the MAX30102. Because it packs two essential features into a small, lowpower container, it may be used in medical monitoring applicationsaswellaswearablehealthandfitnessgear.An overview and description of the MAX30102 are provided below:ECG and heart rate monitoring pulse oximetry The MAX30102 is a single module that combines heart-rate monitoringand pulse oximetry functions. The user'sheart rate is monitored by the heart-rate monitor, and the oxygensaturationlevelintheblood(SpO2)ismeasuredvia pulse oximetry.High Sensitivity and precision: The SpO2 and heart rate detection capabilities of the module ensure dependable monitoring results with their high sensitivity andprecision.

TheGlobalSystemforMobileCommunications,orGSM,isa cellular network that is connected by mobile devices looking for nearby cells. GSM networks function within four distinct frequency bands. The majority of GSM
networks use the 900 MHz or 1800 MHz bands for operation. • In certain nations in the Americas, the rarer 400 and 450 MHz frequency bands are allotted, because these frequencies were previously utilized for firstgeneration systems. These countries employ the 850 MHz and 1900 MHz bands because the 900 and 1800 MHz frequency bands were already allocated. GSM offers suggestions rather than mandates. The GSM standards do not include hardware; instead, they provide a detailed definition of the functionality and interface requirements. The switching system (SS), base station system (BSS), and operation and support system (OSS) are the three main systemsthatmakeuptheGSMnetwork.

There is only one complete Global Navigation Satellite System (GNSS), which is the Global Positioning System (GPS).GPSreceiversareabletodetectauser'slocationand speed with the use of a constellation of 24–32 Medium EarthOrbitsatellitesthatemitaccuratemicrowavesignals. It was the US Department of Defense that created GPS. NAVSTAR-GPS is its formal name. A number backronyms havebeencoinedforNAVSTAR-GPS,despitethefactthatit isnotanacronym.TheUSAirForce's50thSpaceWingisin charge of overseeing the GPS satellite system. The Global Positioning System is an earth-orbiting satellite-based systemthatmaybeusedtopreciselyestablishtimeandthe three-dimensional position of a GPS receiver. Signals from the system are available anywhere on or above the globe, twenty-four hours a day. Geographic Information Systems (GIS)areusingGPSasan input moreandmore, especially for field data collecting and accurate geospatial data location. GPS receivers at reference sites that provide corrections and relative positioning data for distant receiversenableprecisepositioning.AnotherusageforGPS istimeandfrequencydissemination,whichismanagedby

International Research Journal of Engineering and Technology (IRJET) e-ISSN:2395-0056
Volume: 11 Issue: 04 | Apr 2024 www.irjet.net p-ISSN:2395-0072
the monitor stations and is dependent on the exact clocks onboardtheSVs.

5. Results
The heart rate will be tracked by this system. The detecting range would be between two and four meters while submerged in water. Both transmitting and receivingcircuitsarepartofthissystem.Thepersoninthe water is the transmitter circuit, and the lifeguard is the receiver circuit, which provides information about the individual'sheart rate. An LCDscreen isinterfaced with a microprocessor from the AVR family in the transmitter circuit. 12V batteries are used to power the transmitter circuit. Similar to this, the receiver circuit has an RF receiverandmicroprocessorfromtheAVRfamilythatare connectedtoa12Vtransformer.Aheartratesensorisalso includedinthesystem.AbuzzerandanLEDlightarealso included in the receiver circuit. The transmitter block is madeupofanLCD,a push-buttonswitch,anIC regulator, a cardiac sensor, an RF module with an encoder and transmitter, and a battery. This battery is rechargeable, meaningthatitchargestoitsmaximumcapacitywhenthe mainsupplyisONandservesasabackuppowersourcein theeventofapoweroutage.

To sum up, creating a Smart Wearable Anti-drowning System (SWADS) is a potential way to improve swimmer safetyandlowerthenumberofdrowningoccurrencesthat occur in aquatic environments. SWADS provides an early warning system for possible drowning incidents by utilizing cutting-edge sensor technology and real-time monitoring features. The incorporation of wireless communication channels enables prompt notification to lifeguards or persons in the vicinity, therefore expediting rescue operations and reducing the likelihood of casualties.
[1] ChaudhariTetal(2018)AntiDrowning system using remote alert. IOSR Journal of Engineering(IOSRJEN)1:38-42
[2] Clevelandclinic (2021) Cerebral hypoxia. https://my.clevelandclinic.org/health/diseases /6025-cerebralhypoxia.Accessed21April2022
[3] Hemalatha S et al (2017) Automated Drowning Detection and Security in Swimming Pool. International Research Journal of Engineering andTechnology(IRJET)4(6):17-21
[4] ILF(2014)Drowning.https://www.ilsf.org/wpcontent/uploads/2019/01/LPS17-2016Definition-ofDrowning.pdf. Accessed 5 March 2020