
International Research Journal of Engineering and Technology (IRJET) e-ISSN: 2395-0056
Volume: 11 Issue: 03 | Mar 2024 www.irjet.net p-ISSN: 2395-0072
![]()

International Research Journal of Engineering and Technology (IRJET) e-ISSN: 2395-0056
Volume: 11 Issue: 03 | Mar 2024 www.irjet.net p-ISSN: 2395-0072
S. B. Patil1, Anjali Patil2, Pranil Nigade3, Satyajit Mane4, Apurva Kumbhar5, Prajakta Nale6
1 Associate Professor, Dept. of E&TC, D Y Patil College of Engineering and Technology(Autonomous),Kasaba Bavada , Kolhapur, Maharashtra.
23456B. Tech Students, Dept. of E&TC, D Y Patil College of Engineering and Technology(Autonomous),Kasaba Bavada, Kolhapur, Maharashtra ***
Abstract - Thedevelopmentandimplementationofasmart biometricattendancesystemutilizingfingerprintrecognition technologycanmake theattendancetrackingprocesssimpler or more efficient, designed specifically for college environments.Thesystemaimstoaddresstheexistingsystems and challenges associated with traditional attendance trackingmethodsbyoffering aportableefficientsolution.The proposed system uses fingerprint biometrics for user identification,ensuringaccuracyandreliabilityinattendance recording. A portable device, such as a handheld scanner, is employed to capture student's fingerprints during each attendance session. The captured data is then processed and compared against a database of enrolled students to authenticate their identity and record attendance. Important features of the system include real-time attendance tracking, automated data management, and integration with existing college management Systems. Additionally, the portability of thedeviceenablesfacultiestoconvenientlyrecordattendance in various settings, including classrooms, laboratories, and outdoor activities. By eliminating manual attendance processesandminimizingtheriskoferrorsorbuddypunching, the system enables colleges to optimize resource utilization and focus on academic excellence.
Key Words: IOT Biometric, Fingerprints, Paperless, Database,AttendanceTracking,Matchingalgorithm,etc.
Student participation in class is very important. Many collegesuseattendancerecordstorecordclassattendance. Teachers call at the end or beginning of class and mark "Present"or"Absent"ontheattendancesheet.Thisprocess takesa longtime,andstudentsmayalsorelyonsomeone else'snameforvirtualparticipation.Weallknowthatevery person has unique biometric characteristics such as fingerprints.Evenaswegetolder,thefingerprintpatterns on our fingers remain the same. Therefore, these characteristicsareusedasauniqueidentifiertodistinguish a person from other people. In many applications for identificationandverification,people’suniquecharacteristics areusedtoidentifypeople,whichincreasestheaccuracyand reliabilityoftheapplication.Biometricauthenticationsystem is one of the most effective and secure technologies. Considering the need for smart attendance in classes, we plannedandimplementedanInternetofThings-basedsmart
attendance system for universities using fingerprints in attendance. Indicators of student knowledge. We produce portable devices with fingerprint scanners and Wi-Fi connectivity.Deviceswillbedistributedtoeachclassroomto capturestudents’fingerprints.Thecapturedfingerprintsare compared with the fingerprints on file and the student’s registrationnumberissenttoaremotelocation.Wecreateda websiteasacontrolpanelforattendancewherestudentsand teachers can access and view attendance information as needed.Usingthissystemgreatlybenefitedtheparticipants intheclassroom;Itreducedthetimerequiredtomaintainthe callbookwhilealsoincreasingthereliabilityandaccuracyof thesystem.
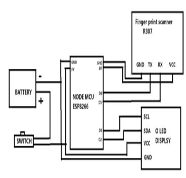
The device comprises an R307 fingerprint sensor for biometric authentication, an ESP8266 NodeMCU for connectivityanddataprocessing,anOLED0.96displayfor user interaction, and a power bank for portability. This deviceiscirculatedinclassroomstotakeattendanceduring lectures.Duringeachlecture,theportableattendancedevice iscirculatedamongstudents,whousetheR307fingerprint sensortoregistertheirattendance.TheESP8266NodeMCU collects and processes this data, updating the Attendance table in the database in real-time. Meanwhile, the GUI provides teachers with access to attendance information fromanylocationwithinternetconnectivity.

International Research Journal of Engineering and Technology (IRJET) e-ISSN: 2395-0056
Volume: 11 Issue: 03 | Mar 2024 www.irjet.net p-ISSN: 2395-0072

2.1 NodeMCU ESP8266
TheESP8266isalow-costWi-FimicrochipwithfullTCP/IP stackandmicrocontrollercapabilityproducedbyEspressif Systems.Itgainedpopularityduetoitslowcost,built-inWiFi capabilities, and the ability to be programmed using ArduinoIDE.NodeMCUdevelopmentboardsaredesignedto make it easy to prototype IOT projects with the ESP8266. These boards typically include a USB interface for programmingandpower,GPIOpinsforconnectingsensors andactuators,andbuilt-involtageregulators.
2.2 R-307 Fingerprint Scanner
TheR307FingerprintScannerisabiometricsensormodule withanopticalsensorforcapturingfingerprintimagesand onboardimageprocessingcapabilities.Itstoresfingerprint templates internally and utilizes a matching algorithm for authentication. The module communicates with microcontrollers or other devices through standard interfaces like UART or SPI, enabling seamless integration intovarioussystems.Typicallyusedinaccesscontrol,time attendance,andidentityverificationsystems,itoffersreliable and convenient fingerprint recognition for secure applications.
2.3 OLED 0.96 Display
TheOLED0.96Displayisasmall,lightweightdisplaymodule thatutilizesorganiclight-emittingdiode(OLED)technology. Withasizeof0.96inches,itoffershighcontrast,brightness, and wide viewing angles compared to traditional LCD displays.ThesedisplaysaretypicallydrivenbySSD1306or similar controller chips and can display monochrome graphicsandtext.
3.1 Capturing biometric data (such as fingerprints) with sensors
When a user places their finger on the sensor, the sensor detectsthepresenceofafingerprint.
3.2 Data processing to extract unique features
Thefingerprintimageisdividedintoregionsofinterest,such asridgesandvalleys,toisolatethefingerprintpatternfrom thebackground.
3.3 Properly storing attributes in the database
Create a table to store user information, including unique identifiersnames,roles,andanyotherrelevantdetails.Each usershouldhaveacorrespondingrecordinthistable.
3.4 When a user wants to clock in, he/she provides his/her biometric data
The biometric data provided by the user is captured and processedbythesystemtoextractuniquefeatures,suchas fingerprintminutiae.
3.5 The system matches the given data with the stored attributes
Thesmartbiometricattendancesystemensuresaccurateand reliablematchingofprovidedbiometricdatawiththestored attributes,facilitatingsecureauthenticationforusers.
3.6 Records attendees if they see a contact
Thesystemcaneffectivelyrecordattendeeswhentheycome intocontactwithadesignatedareaordevice,providingan automatedandefficientattendancetrackingsolution.
3.7 Transmits attendance data to a central server for processing
The smart biometric attendance system can effectively transmitattendancedatatoacentralserverforcentralized processing, enabling real-time monitoring, analysis, and reportingofattendanceinformation.
3.8 Alternatively, it can provide real-time analysis and reporting capabilities
Thesystemiscapableofinstantlyanalyzingattendancedata as it flows in. It's like having a live feed of attendance information that's constantly being processed and interpreted.

International Research Journal of Engineering and Technology (IRJET) e-ISSN: 2395-0056
Volume: 11 Issue: 03 | Mar 2024 www.irjet.net p-ISSN: 2395-0072

-2:BlockDiagram
Attendance Marking Device: This can be a fingerprint scanner, facial recognition, or other device that the students/facultyusetoclockinandoutofwork.
ď‚· Biometric Device: This refers toa device that identifies a person using unique biological characteristics such as fingerprintsorfacialfeatures
User Interface: This is the part of the system that students/faculty interact with to mark their presence. An arrivalrecognitiondevicecanhaveaphysicaltouchscreen,or asoftwareapplicationonacomputerormobiledevice.
ď‚· Database Server: The database server is the place where the data of the available markingdevicesisstored.Thislocalserver canbeon-premisesoracloud-basedserver.
ď‚· Internet connectivity: It is essential for communicating presence marking devices withadatacenterorserver.
 Mobile Approval:Thesystemcanallowfor mobile approval, such as a manager approvinganemployee’svacationrequest throughamobileapp.
User: This refers to the person who uses the attendance marking system, such as an employee, faculty member, or student.
ď‚· User Gateway: This can be a web-based interface that allows employees to view theirattendancerecords,requestleave,and perform other tasks. Cloud-based attendance marking systems offer many advantages over traditional paper-based systems.
Advantages-
Improvedaccuracyandreducederror
Enhancedperformance. Easydatamanagement.
Real-timereporting.
Securitywastightened.

Database Design: - Design the database schema to save statistics which includes user information, attendance information,biometricfacts,andmanyothers.
XAMPP Setup: -DownloadandinstalltheXAMPPserverfor the device, making sure Apache and MySQL servers are working.Accessthedatabase(phpMyAdmin)tomanipulate theMySQLdatabase.
HTML Interface: Create HTML paperwork/pages for consumer authentication, registration, and attendance marking. Design an intuitive consumer interface for easy interaction.
PHP Backend: Develop PHP scripts to deal with form submissions,databaseinteractions,andbusinesscommon sense.UsePHPtohookupwiththeMySQLdatabase,insert newstatistics,fetchrecords,andmanyothers.

International Research Journal of Engineering and Technology (IRJET) e-ISSN: 2395-0056
Volume: 11 Issue: 03 | Mar 2024 www.irjet.net p-ISSN: 2395-0072
JavaScript for Client-aspect Interaction:UtilizeJavaScript forconsumer-facetvalidationofpaperworkandtoenhance personal reveal in dynamic updates. Advanced JavaScript designpartmaybeusedforasynchronousverbalexchange withtheservertofetchfactswithoutreloadingthepage.
User Authentication:Implementasecurelogindevicefor theusageofPHPclassestoauthenticatecustomers.Ensure passwords are securely hashed and stored inside the database.
Attendance Marking: Create the capability to mark attendance,bothmanuallythroughamoduleintegratedwith biometric devices. PHP scripts are taught to deal with recordingattendanceinthedatabase.
Reporting and Analysis: - Develop features to generate reports and examine attendance records. Use PHP and MySQL queries to extract relevant records from the database.Presentfactsinauser-friendlymanner,theusage ofHTMLandJavaScript.
Testing and Deployment: Thoroughly test the system to ascertainthat,itworkssuccessfullyinuniqueeventualities Onceexamined,installthesoftwareontheXAMPPserverfor actualuse.
Security Considerations: Implement security features to protectinoppositiontounauthorizedaccesswhichincludes SQL injection, pass-web page scripting (XSS), and so on. Regularly update and patch the system to cope with any safetyflaws.
Documentation and Maintenance:Documentthemachine structure, database schema, and codebase for destiny reference. Plan for ongoing preservation and updates to makesurethat,themachineremainsstableandpurposeful.
A smart biometric attendance monitoring system offers enhanced accuracy, efficiency, and security in tracking attendance. It reduces administrative overhead, provides real-time monitoring, and integrates well with other systems. Despite initial costs, the long-term benefits, includingtimesavingsandimproveddataaccuracy,makeit a cost-effective solution. However, organizations must prioritizeuserprivacy,complywithregulations,andensure transparentcommunicationforsuccessfulimplementation anduseracceptance.
[1] TriptiJain,UrvashiTomar,UmangAroraandSwati Jain, “IOT BASED BIOMETRIC ATTENDANCE SYSTEM ”, International Journal of Electrical Engineering& Technology,11(2),2020,pp. 156-161.
[2] NadarPrince,AbhishekSengupta,Ms.KeerthiUnni, “ImplementationofIoTBasedAttendanceSystem onaDedicatedWeb-Server”.InternationalJournal ofScientificEngineeringResearch,Volume7,Issue 6,June-2016,ISSN2229-551
[3] Carldwight O. Ocumen, Jenefer P. Bermusa, Mary Jane R. Laranang,Edward B.Panganiban, Sandy E. Laranang,“PaperlessSmartClassroomAttendance System Using Fingerprint Biometric With SMS”, International Journal of Emerging Trends in EngineeringResearch,Volume8.No.9,September 2020.
[4] Anagha Jadhav , Sudarshan Dutonde , Archana Todarmal , Ashwini Patil, “:IoT Based Biometric Attendance System for Smart Classroom” International Journal of Scientific Research in ComputerScienceandEngineering,Vol.8,Issue.4, pp.58-67,August(2020).
[5] D.Narendharsingh, Anusha Reddy and Dr.Sharma Sudhir Kumar, “IoT Based Wireless Attendance Management System Using Finger Print Recognition”InternationalJournalofLatestTrends in Engineering and Technology, Vol.(7)Issue(3), pp.410-418ISSN:2278-621X.
[6] Piyush Devika, Ajit Krishnamoorthy, Aditya Bhanage, Mohit Singh Chauhan, “IoT Based Biometric Attendance System.” International Journal of Advanced Research in Computer and CommunicationEngineering,Vol.5,SpecialIssue2, October2016