
International Research Journal of Engineering and Technology (IRJET) e-ISSN:2395-0056
Volume: 11 Issue: 02 | Feb 2024 www.irjet.net p-ISSN:2395-0072
![]()

International Research Journal of Engineering and Technology (IRJET) e-ISSN:2395-0056
Volume: 11 Issue: 02 | Feb 2024 www.irjet.net p-ISSN:2395-0072
1F. O Adunola, 2O. A Sadiq, 3A. Danladi and 4K. B Labbo
Department of Electrical and Electronic Engineering, Nigerian Defence Academy, Kaduna ***
The Improved Hybrid Spectrum Sensing Method (IHSM) for cognitive radio networks, based on hybridization of Matched Filter Detection (MFD) and Cyclostationary Feature Detection (CFD) techniques used to improved detection performance and reduced computational complexity. This method operates in such a way that the matched filter receives the licensed user or primary user (PU) signal and senses a quarter number of the samples. When Matched Filter Detection (MFD) lacks sufficient knowledge of PU, it shifts to Cyclostationary Feature Detection (CFD) while lowering computational complexity in both. The performance for implementation and comparison was tested under Additive White Gaussian Noise (AWGN) and Weibull fading channels in both cooperative and the non-cooperative scenarios. The simulation was obtained on Windows 8.1 using Matlab 2023. The detection probability and the ratio of computational complexity were used to evaluate the performance outcomes of the IHSM. From the results, the IHSM scheme's computational complexity ratio reduced by 18% and 22% compared to the CFD method and the MFD method, respectively, when the number of samples, N is 50. Additionally, the probability of detection in the IHSM increased by 68% and 48%, respectively, as compared to the CFD method and the MFD methods, at signal to noise ratio per bit (Eb/No) equal to 0 dB under the Weibull fading channel. The proposed method performed better in both cases but fading, noise and other impairment cannot be completely eradicated at the transmitting and reporting channels.
KEYWORDS: IHSM, CFD, MFD, detection performance, computational complexity, signal to noise ratio per bit, AWGN, Weibull fading channel.
Nowadays, the use of spectrum has increased as a result of the rising number of users who now consider telecommunication technologies to be essential to life. Inadequate use of the useable spectrum was discovered through numerous studies and investigations [1]. Rapid development in communication technology has greatly increased the usefulness of many handheld and portable devices. These tools offer subscribers cutting-edge services. The majority of these gadgets operate on a specific radio frequency, making it extremely limited in supply [2]. Due to the advent of new applications and the constant demand for faster data speeds, radio frequency (RF) spectrum is getting more and more crowdedasaresultoftheenormousquantityanddiversityofwirelessdevicesandapplications[3].Thespectrum scarce challengeisbecomingmoreprevalentinvariousplacesoftheglobe.Lowspectrumutilisationefficiencyinlicencedbands and subpar performance of wireless devices in the highly congested unlicensed bands are the results of the rigid, inflexible, and centralised spectrum assignment and management policies that were established by the Federal CommunicationsCommission(FCC)intheUnitedStatesandtheOfficeofCommunications(Ofcom)intheUnitedKingdom [4]. For the benefit of the authorised users, an environment free from interference is ensured by the fixed frequency allocation. The apex body for management of frequency that allocate bulk frequency and satellite co-ordination issues in Nigeria is the National Frequency Management Council (NFMC) [5]. Pursuant to these functions, the NFMC share responsibility for the administration of radio frequency spectrum for commercial users (i.e. Private Telecom Operators, PTOs) to Nigerian Communication Commission, NCC. While Ministry of Communication and Digital Economy (MCDE) handledtheassignmentnon-commercialradiofrequencyusersincludesGovernmentMDAs,Military,DiplomaticMission, NGOs,SecurityOperatives,Industries/Companies,MaritimeandAviationsectors.NigerianBroadcastingCommission,NBC regulateTelevisionsandRadiobroadcastingstations[5,6].
Themajorityofwirelessnetworksemploythestaticspectrumallocationtechnique,inwhichtheMinistryandAgencies of Governmentcontrolandlong-termassignthespectrumtoauthorisedusersforbroadgeographicareas[6,7].Thisstrategy experiencedspectrumscarcityinseveralbandsasaresultoftheusers'apparentincreaseinspectrumdemand.Asaresult, the development of Cognitive Radio systems that intelligently assign spectrum has recently attracted the attention of researchers. The deployment of cognitive radio is based on the notion of dynamic access by unlicensed users.

International Research Journal of Engineering and Technology (IRJET) e-ISSN:2395-0056
Volume: 11 Issue: 02 | Feb 2024 www.irjet.net p-ISSN:2395-0072
Opportunistic spectrum access, also known as Dynamic Spectrum Access (DSA), has been put into place to address the issueswithspectrumallocation.TheDSApermitsopportunisticspectrumsharingbetweenlicencedandunlicensedusers, withthespectrumdividedintomanyfrequencybandsassignedtooneormoreusers[8].
Bydynamicallyutilisingtheunusedportionofthespectrumbandknownasthespectrumholesorwhitespaces[9],which are depicted in Figure 1.1, cognitive radio (CR) has been presented as a viable approach that offers a solution to the spectrumshortageproblem.

ThecommondefinitionforCognitiveRadioisgivenas‘‘aradioforwirelesscommunicationsinwhicheitheranetworkora wireless node changes its transmission or reception parameters based on the interaction with the environment to communicate effectively without interfering with the licensed users’’ [10] The three main concerns to take into account when designing a Cognitive Radio network are quality of service, interference avoidance, and spectrum sensing [10]. Cognitive radios are characterised by cognitive capability and re-configurability. The objective of Cognitive Radio is to efficientlyutilisenaturalresources,suchasfrequency,time,andpower.
Aradioorsystemthatsensesandisawareofitsoperationalsurroundingsandcandynamicallymodifyitsradiooperating parameters in response can also be described as a cognitive radio [11]. The objective of Cognitive Radio is to efficiently utilisenaturalresources,suchasfrequency,time,andpower.
Opportunistic spectrum access is made possible by cognitive radio environments. According to Figure 1.2, the primary functions of CR networks are spectrum sensing, spectrum management and decision, spectrum sharing, and spectrum mobility[12]

The following is a brief description of these features. Spectrum sensing is the reliable detection of the unused portion of the primary user spectrum by the sensing and monitoring of the available spectrum bands. Spectrum management/decisionisaprocessforspectrumanalysisandjudgementbasedontheresultsofthespectrumsensor[12]. InSpectrumDecision,thecognitiveradiocanassignachannelbasedontheroutinelyenforcedpoliciesandtheoutcomes ofspectrum sensing.Spectrumsharingcoordinateamongthe multiple cognitive users toavoid collisionsinthe available
© 2024, IRJET | Impact Factor value: 8.226 | ISO 9001:2008 Certified Journal | Page693

International Research Journal of Engineering and Technology (IRJET) e-ISSN:2395-0056
Volume: 11 Issue: 02 | Feb 2024 www.irjet.net
p-ISSN:2395-0072
portion of the spectrum band. In Spectrum Mobility, the cognitive radio user is seen as a visitor to the primary user spectrum. If the primary user regularly uses the licenced spectrum, a reliable communication cannot be sustained for a long period. In order to continue communicating in other vacant bands, the cognitive radio system should offer mobility [13].
Energy detection (ED), matchedfilter detection (MFD), and cyclostationary feature detection (CFD) are the three fundamental techniques used for spectrum sensing [14]. Due to its simplicity and low computational complexity, the ED spectrumsensingapproachismorepopularthanothers.TheED,however,isunabletodistinguishbetweenthePUsignal and the noise when the signal-to-noise ratio (SNR) is low and when the channel conditions are poor. MFD is the best detectorsinceitmaximizesthereceivedSNRincommunicationsystems[15].ThechallengeforMFDisthatitneedstobe aware of the details of the PU signal features, such as packet format, pulse shaping, and the modulation type. The MFD cannot function as the best detector if the CR contains insufficient data about the PU signal. A less-than-ideal detector optionisa CFD.TheCFDhastheabilitytoseparatethe noise fromthePUsignal.Becauseofitsnoise rejection property, CFD performs well in low SNR situations [16]. However, the CFD has a long sensing time, leading to high computational complexitywhichisundesirableinsomecircumstances[17].
There are two categories of spectrum sensing techniques: cooperative and non-cooperative. Non-cooperative methods workbyidentifyingsignalssentbythemainsystem.Itfrequentlybaseonguessthatthesensingdevicesareawareofthe primarytransmissionarea isknowntothesensorydevices.Therefore,inorderto executespectrumsensing(SS),theSU should only rely on local detections and detect the weak primary transmission signals. The sensing device's coverage region does not have entire spectrum retention information. Therefore, it is impossible to completely eliminate harmful interference with the PU [18]. Cooperative Spectrum Sensing (CSS) is used in order to improve the performance of the First Priority Users (FPUs) and to minimise the probability values [19]. CSS is used in wireless channels to avoid fading and shadowing in order to improve performance detection. CSS can be divided into two fundamental types: distributed and centralised [20, 21]. In a centralised system, a sensing controller (Base station) senses the spectrum, and the informationisthensharedwithalloftheneighbouringnodes.TheSecondPriorityUsers(SPUs)canmakedecisionseither independently (non-cooperative sensing) or collectively (cooperative sensing) based on how other SPUs are sensing the spectrum [22]. In CSS, a fusion centre (FC) receives local decisions from a large number of SUs that each independently detect the spectrum. FC is in charge of making the final decision by implementing some type of fusion logic scheme. Finally,adecisionregardingthestatusofthePUismadegloballywhenthese localdecisionsreachtheFC[23].Thereare twotypes ofdecisionfusion rules:hard andsoft. While undera softfusionrule,the SUssubmittheir sensing data tothe fusioncentrewithoutmakinglocaldecisions,inahardfusionrule,eachSUmakesthelocalbinarydecisionindependently oftheactivityofthePU.Usingoneofthecombiningrules,thedecisionismadeatFC[24].
2.1 Introduction
This section discuss review of fundamental concepts on the improved spectrum sensing method for cognitive radio and relatedwork.
2.2 Dynamic Spectrum Access
Dynamic spectrum access is the idea of finding white spaces or spectrum holes (a frequency range that is available for usagebut not fullyoccupied)andusing themforcommunication. The most importantuse of cognitive radiosisdynamic spectrumaccess[25]
TheSUnetworksopportunisticallyaccessthePUbands,resultinginminimaldisturbancetothePUs.Figure2.1depictsthe dynamic spectrum access (DSA) scenario where several PUs and SUs coexist with their Primary Base Station, PBS and SecondaryBaseStation,SBSrespectively.DSA isamethodthroughwhicha radiosystemdynamicallyadaptsto available spectrumholeswithrestrictedspectrumuserightsinresponsetoshiftingconditionsandgoals.Theproducedinterference alterstheradio'sstateunderenvironmentalrestrictions.TheprimarygoalofDSAistoeliminatetwotypesofinterference: harmfulinterferenceduetofaultydevices,andharmfulinterferenceasaresultofmalicioususers[25].

International Research Journal of Engineering and Technology (IRJET) e-ISSN:2395-0056
Volume: 11 Issue: 02 | Feb 2024 www.irjet.net p-ISSN:2395-0072

According to FCC definitions, an SDR is a radio that has a transmitter and works within commission-approved specifications for frequency range, modulation type, maximum output power, and transmitter conditions. These can be alteredbyalteringthesoftwarewithoutalteringthehardwarepartsthatcontroltheradiofrequencyemissions[26].The primaryconceptofSDRis,inessence,thecapacityoftheusertoaltertransmissionsontherunwithoutbeingconstrained bytechnology.
Energydetection,matching filter detection, and cyclostationary featuredetection arethethree fundamental methodsfor spectrum sensing. The hybridization of matched filter detection and cyclostationary feature detection techniques was takenintoconsiderationforthisresearchwork.Thefollowingsectionsprovideexplanationsforeachtechniquethatmade upthehybrid.
The matched filter detection is an intelligent sensing technique. This technique needs knowledge of the PU signals at SU beforehand.TheSUreceivesboththesignalandthepilotstreamifthePUtransmittertransmitsapilotstreamalongwith thedata.Byprojectingthereceivedsignalinthepilot'sdirection,matchedfilterdetectioniscarriedout[16].
Convoluting an unknown signal with a time-reversed version of the signal is analogous to this. The operation of the matchedfiltercanbewrittenas[27]:
Where x is the unknown signal convolved with h (impulse response of matched filter which has been matched to the referencesignal)tomaximizeSNR.
Convolution does two functions i.e. it has placed one function over the other function and generated single value output suggesting a level of similarity. Secondly, it has moved the first function an infinitesimally small distance and found anothervalue.
Demodulation of received signals by SUs is necessary in this scheme. Thus, necessitating requirement of perfect knowledgeaboutPUssignallingfeaturessuchasbandwidth,operatingfrequency,modulationtype,andpulseshapingand frameformat[27].

International Research Journal of Engineering and Technology (IRJET) e-ISSN:2395-0056
Volume: 11 Issue: 02 | Feb 2024 www.irjet.net p-ISSN:2395-0072
IftheaveragesumofthesignalconvolvedusingFastFourierTransform,(FFT)isgreaterthanthethreshold(λ),thenPUis presentorifotherwise,thePUisabsent.
Cyclostationary Future Detector uses the cyclostationary characteristics of the received signals such as their periodicity, number,typeofmodulation,symbolrate,andpresenceofinterferers.Itidentificationisaspectrumsensingtechniquefor recognising PU signals [28]. The autocorrelation process is used to achieve this strategy. The received signal y(n) can be multiplied with its delay version to calculate the autocorrelation. To identify the activity of the PU signal, the total of autocorrelation is compared with a predetermined threshold. The PU is present if the summation is greater than the threshold;otherwise,itisabsent[29].Ittakesadvantageoftheperiodicitythatisfrequentlyincorporatedintotheprimary signals that are received (such as modulated signals paired with sinewave carriers, cyclic prefixes, hopping sequences, etc.). These cyclostationarity signals exhibit periodic statistics and spectral correlation due to their periodicity, which cannot be seen in stationary noise or interference [27]. By looking at the Cyclic Autocorrelation Function (CAF) of the receivedsignalx(t),itcanbeachievedasfollows:
Where E [.] is expectation operation, * denotes complex conjugate, α is cyclic frequency (CF). However, CAF can also be characterizedbyitsFourierseriesexpansioncalledCyclicSpectrumDensity(CSD)functionas:
Whencyclicfrequency,α,equalsfundamentalfrequencyoftransmittedsignal,peakshavebeenexhibitedbyCSDfunction. This technique can distinguish between the signal and the noise, so it has a better performance as compared to Energy Detection.However,ithasahighcomputationalcomplexity,sinceitconsumesalongsensingtime.ThedetectionofthePU signal has been based on scanning the cyclic frequency of its cyclic spectrum or its cyclic autocorrelation function [30]. Comparing the cyclic spectrum or CAF at a given CF with the threshold value, decision can be made about presence/absenceofprimarysignal.
In the past, many researchers had used various types of hybrid method for spectrum sensing in cognitive radio, particularlytheimprovementofspectrumsensingperformanceincognitiveradiousingmodifiedhybridsensingmethod in [16]. The approach used was the hybrid of matched filter and cyclostationary feature techniques with half sample selection under Rayleigh multipath fading channel. The result shows an improvement in performance detection and reductioninthecomputationalcomplexity.However,thisapproachcanbeimprovedin termsofsampleselectionandby usingothertypesofmultipathfadingchannels.
To further improved the detection probability and reduce computational complexity of the CRU, an IHSM detector was proposed,itconsistsofMFDandCFDdetectors.Themethodinvolvedtheuseofthequarterofsamplesundernon-fading channel (AWGN) and other type of multipath fading channel (Weibull). Therefore, to know whether the PU is absent or not, the output of the PU transmitter was received by MFD and if the MFD has less or no much information about PU, it handoverstoCFD.UnlikeasingledetectorsuchasMFDorCFD,IHSMcansensethesignalmoreprecisely.
Cooperative spectrum sensing techniques fall into three categories: soft combination techniques, hard combination techniques,andtwo-stagecombinationtechniques[24].
2.5.1 Soft combination schemes:
According to this scheme, SUs sends their sensing data to FC without taking any action. Square law combination (SLC), maximumratiocombination(MRC),anddoublethresholdsoftdecision(DTSD)rulearetheprimaryrulesinthisdetection technique.
Squarelawcombination(SLC):Underthisrule,thefusioncentreaddsthesignalsfromeachsecondaryuserbefore comparingthemtoapredeterminedthresholdtodeterminewhetherornotPUispresent[24].
MaximumRatioCombination(MRC):Inthismethod,thesignalsofCRusersareaddedafterbeingmultipliedbya normalisedweight.Theoutputofthisruleisitsoverallenergy.

International Research Journal of Engineering and Technology (IRJET) e-ISSN:2395-0056
Volume: 11 Issue: 02 | Feb 2024 www.irjet.net p-ISSN:2395-0072
Double Threshold Soft Decision Rule (DTSD): This technique compares signals using two thresholds. All secondary users communicate their sensing data to the fusion centre as part of the system's operation. At the fusion centre, each signal is compared to the initial threshold of λ1. Then, in order to lower the likelihood of a false alarm, the energiesbelowthresholdarediscarded.Theremainingenergyarethencombinedandcomparedtothesecondthreshold, λ2[24].
2.Hardcombinationschemes:
This scheme involves local decisions made by SUs, which then communicate one binary decision bit to FC. The current regulationsareasfollows:
ANDrule:Underthisrule,theFC'sultimatedecisionisdependentoneverylocaldecisionthatisforwardedtothe FC.
OR rule: Under this rule, the FC's ultimate choice is contingent upon any local choice that is forwarded to the fusioncentre.
Majority rule:Underthis rule,the FCmustconsideratleasthalfofthelocal judgements thatare forwarded toit [24].
Wireless channels are often referred to as the free space or path between the transmitting and receiving antenna. Dependingonthetopography,thesechannelsaffectthebehaviourorcharacteristicsofthesentsignalasittravels[31]. These phenomena are what give this signal its characteristics: Signal reflection, refraction, and diffraction caused by objects in between the antennas, there must be a direct line of sight between the antennas, the objects between the transmitterandreceiveraswellastheirrelativevelocity,noiseinthechannelandsignalattenuationasitpassesthrough themedium.
If the transmitter signal can be correctly modelled in a real-world setting, the received signal can be calculated from the transmittersignal.Scientistsandengineershaveresearchedinvariousenvironmentandgivenusstrategiesforsimulating those situations in various media that are as near to reality as possible [31]. Detection may be cooperative and noncooperative. Their performance can be assessed in several channels both fading and non-fading such as AWGN, lognormal,Hoyt(orNakagami-q),Rayleigh,Rician(orNakagami-n),Nakagami-m,andWeibullchannels[32].
2.6.1 Additive White Gaussian Noise (AWGN) Channel:isthestatisticallyrandomradionoisethat,intermsofsignal in communications channel, has a broad frequency range. With the following presumptions, it is the widely accepted modelforthermalnoiseincommunicationchannels[31].
(i)Thenoiseisadditive,i.e.,thesignalreceivedistheadditionofsignaltransmitandsomenoise.Statistically,thenoiseis independentofthesignal.
(ii)Thenoiseiswhite,i.e.,thepowerspectraldensityisflat,sotheautocorrelationofthenoiseinthetimedomainis zero foranynon-zerotimeoffset
(iii)ThenoisesampleshaveaGaussiandistribution,i.e.,thehigherthesamplethebettertheresult. Therefore, AWGN channels took place in a non-fading environment, meaning that the signal is free from shadowing or fading effect. The sensing channels are only corrupted with AWGN by reflecting the presence of background noise and othersourcesofinterferencethataffectsignalquality.
2.6.2 Log-normal Shadowing Channel: The log-normal shadowing distribution showsthe effectsof random shadowing overlocationsoflargenumberofmeasurementswithdifferentlevelsofclusteronthepathofpropagation.Thelog-normal randomvariable,whereisazero-meanGaussianrandomvariablewithvariance,canbeusedtodescribethelinearchannel gain.dB-spreadistypicallyusedtodescribelog-normalshadowing[33].
2.6.3 Hoyt (or Nakagami-q) Fading Channel: More severe fading settings than Rayleigh fading are typically described using the Hoyt or Nakagami-distribution [33]. One of the well-liked proposed distribution models is the Nakagami-q. Nakagami introduced this model as a Nakagami-m distribution estimation throughout the range of fading that extends fromtheone-sidedGaussianmodeltotheRayleighmodel[34].
2.6.4 Nakagami-m Fading Channel: The modelling of physically fading radio channels has seen extensive use of the Nakagami-m distribution. The Nakagami-m fading model's excellent fit to empirical fading data serves as the main argumentforuse.Itisadaptable,andwemaymodelsignalfadingsituationsthatrangefromseveretomoderate,tolight fading,orevennofading,usingitsparameterm.Itisadaptableandcanrepresentsignalfadingsituationsthatrangefrom

International Research Journal of Engineering and Technology (IRJET) e-ISSN:2395-0056
Volume: 11 Issue: 02 | Feb 2024 www.irjet.net p-ISSN:2395-0072
severe to moderate, to light fading, or even no fading thanks to its parameter m. As particular examples, it contains the one-sidedGaussiandistribution(m=0.5)andtheRayleighdistribution(m=1)[35].
2.6.5 Rayleigh Fading Channel:Iftherearemanyplanewavesandmanyformsofscatteringpresentintheenvironment, the signal amplitude will follow a Rayleigh distribution [36]. It is a statistical model that assumes that the signal is composed of many random components that have equal magnitude and phase that lead to multiple reflections and scattering of the signal by various obstacles. When there is no direct line-of-sight path, multipath fading is usually modelledusingtheRayleighdistribution[35].
2.6.6 Rician (or Nakagami-n) Fading Channel: ThereisaspecularorLoS(LineofSight)componenttocertainkindsof scatteringsituations.Thereceivedsignal amplitudeinthis instancehasaRiciandistribution[33].Modellingpropagation paths with one strong direct LOS component and numerous random weaker components frequently employs the Rician distribution[35].
2.6.7 Weibull Fading Channel: In the real-world systems, it is common for signals to be transmitted through various channels that introduce impairments and distortion. One such scenario involves the uses of a Weibull fading channel, whichadda level ofrealismtosignal propagation. [36] The Weibull fadingchannel accountsforthe effectsof multipath propagation,wherethesignalencountermultiplepathswithdifferentdelaysandattenuations.Thisleadtofluctuationsin thereceivedsignalstrengthovertime,resultinginfading.
The Weibull distribution is employed in many scientific disciplines nowadays. It is a highly popular statistical model, for instance,infailuredataanalysisandreliabilityengineering.Whileitiscommonlyemployedinradarsystemstorepresent thedispersionofthereceivedsignallevelcreatedbyparticulartypesofclutters,itisalsousedinotherapplications,such as weather forecasting and data fitting of all kinds [36]. In terms of wireless communications, the experimental fading channelmeasurementsforbothindoorandoutdoorsituationsseemtocorrespondwellwiththeWeibulldistribution,with aplausiblephysicalbasisprovidedin[37].
For the purpose of this research work, AWGN and Weibull channels were the two wireless channels considered. For the purpose of this research work, AWGN and Weibull channels were the two wireless channels that was considered. The choiceofthesechannelswasasaresultofthefactthat:
1. Weibull distribution is particularly adaptable in both indoor and outdoor communication situations and environments.
2. In urban communication environments, if the Rayleigh distribution fails as in digital enhanced cordless telecommunications(DECT)system,Weibulldistributionhavethecapabilityofaccountingforthepropagation[38].
3. Inspiteoftheeffectivenessofthedistribution,however,theworkrelatedtoIHSMintheliteratureforcooperative andnon-cooperativescenariooverWeibullfadingconditionisnotreported.
A sequence x(n) is transformed into a sequence X(k) in the frequency domain using the N-point Discrete Fourier Transform(DFT).AnN-pointDFTmustbedirectlycomputedbydoingNxNcomplexmultiplicationsandN(N-1)complex additions. Numerous strategies were created to cut down on the required calculations [39]. The Fast Fourier Transform (FFT),atechniquecreatedbyCooleyandTurkey,isthemostwell-knownofthese.TheFFTcanbeviewedasanalgorithm (oratechnique)forquickly(withfewercalculations)computingtheDFT.Herethecomputationalefficiencyisattainedby adoptingadivideandconquerapproach.AnN-pointDFTisdecomposedintoprogressivelysmallerDFTsinthisapproach, whicharethencombinedtoproducethefinaltransform.AsetofcomputationalalgorithmsknownasFFTalgorithmswas createdbasedonthisfundamentalapproachwhichwasadoptedforthiswork[39].
Asaresultofthisfundamentalapproach,asetofcomputationalalgorithmsweredevelopedandarecollectivelyknownas FastFourierTransform,FFTalgorithms,whichwasadoptedforthiswork[39].
Authors of [13], proposed hybrid spectrum sensing method for cognitive radio based on the Centralised Coordination concept,anditconsidersthedeploymentofinfrastructureforCRusers.TheCRcontroller,whichcanbeawiredstationary device, is notified once CR detects the existence of a primary transmitter. Using a broadcast control message, the CR controller notifies all CR users within its coverage area. The most reliable spectrum sensing mechanism is produced by this networking dilemma using the centralised concept of spectrum sensing. Numerous cutting-edge techniques, such as cooperative spectrum sensing, interference management, cognitive radio reconfiguration management, and distributed

International Research Journal of Engineering and Technology (IRJET) e-ISSN:2395-0056
Volume: 11 Issue: 02 | Feb 2024 www.irjet.net p-ISSN:2395-0072
spectrumsensingcommunications,mustbeusedinconjunctionwithoneanother.Additionally,itoffersquick,dependable operation and accurate system interference identification. Increasing the spatial and spectral diversity will increase the throughputofsecondarynodes.Moreimportantly,theapproachutilisedforefficientradiofrequencyspectrumutilisation should identify the interference, so that the primary user will not experience interference from a CR system when using theirlicencedspectrum.Thismethoddoesalsoresolvethecomputationalcomplexityissue.
Improvement of Spectrum Sensing Performance in Cognitive Radio using Modified Hybrid Method of Sensing in [16], for both cooperative and non-cooperating situations, it comprises of a Match Filter and a Cyclostationary Detection method. ThismethodisbasedonamatchingfilterthatreceiveshalfofthePUsignalsamples,sensesthesignal,andthenforwards ittocyclostationaryfeaturedetectionifsufficientknowledgeofthesignalisnotknown.Thefindingsdemonstratethatthe suggestedmethodreducedcomputationalcomplexityandimprovedspectrumsensingdetectionperformanceincognitive radio. This approach was carried out and assessed using Additive White Gaussian Noise (AWGN) and Rayleigh fading channels.However,thismethodcanbefurtherimprovedbyemployingothermultipathfadingchannelsandbyusingother methodsofsampleselection.
Alow-complexitycyclostationary-baseddetectionmethodforcooperativespectrumsensingincognitiveradionetworksis thesubjectoftheresearchpresentedin[17].Itisahybriddetector,whichcombinescyclostationaryandenergydetection techniques.Anenergydetection(ED)isemployedforhighSNRregions,whereasacyclostationarydetectionisusedinlow SNR regions.DuetoED’sstraightforwardstructureand minimal computational complexitywhencomparedtofrequency domain, the cyclostationary detector (CFD) is utilised in the time domain. The effectiveness of the suggested hybrid method for Cooperative Spectrum Sensing (CSS) is evaluated and compared with that of purely CFD- and only ED-based schemes. It was observed that implementing full cyclostationary detection at all CRUs would be complicated but would enhance performance over ED. The cooperative scenario increases the effectiveness of the suggested methods. Nevertheless, using double threshold and other fading channel types in the sensing process can help to increase the probabilityofdetectionandreducecomputationalcomplexity.
Theworkdonein[23],investigatedthecomplexityreductionofcyclostationarysensingtechniqueusingimprovedhybridsensing method using the Fast Fourier Transform, FFT and Sliding Discrete Fourier Transform, SDFT. A novel approach theperformanceofCRintermsofdetectionperformanceincooperativeandnon-cooperativescenariosunderAWGNand Rayleighmultipathfadingchannels.Theperformancewasevaluatedandcomparedusingenergydetection,traditionaland hybrid methods available in literature. The proposed methods reduce the computational complexity by using only a half numberofsamplesintheautocorrelationprocessandusingtheSDFTinthesecondproposedmethodwithalittlelossin the detection performance. The proposed methods become more efficient when the cooperative scenario is assumed. Nevertheless,inordertoimprovetheprobabilityofdetection,thistechnologycanbemodifiedbyusingdoublethreshold inthesensingprocessalongwithdifferenttypesoffadingchannels.Moreso,thetransmissionstageandselectingtheright codingschemesmightbetakenintoaccount.
Furthermore,themethodin[24]suggestedtwo-stagedetectionrulestoincreasethroughputincognitiveradionetworks. This method employs three decision rules, each of which has two decision stages (hard and soft), and is proposed to increaseCRthroughputincooperativescenarios.Thecredibilityofthedecisionsandthroughputcanbothbeincreasedby usingmixedtypesofdecisionrules.Theperformanceofthreemodifiedmixed-typedecisionrulesovernoisyandRayleigh multipathchannelshasbeenexaminedandcomparedtoothermixedrulesavailableintheliterature.Theproposedrules create a special criterion to reduce computations based on the value of detection probability in addition to blending the softandhardrules.Thecooperativescenarioincreasestheeffectivenessofthesuggestedmethods.However,usingdouble threshold and other fading channel types in the sensing process can help to reduce the latency leading to increase the probabilityofdetectionandreducecomputationalcomplexity.
A Deep Neural Network Model for Hybrid Spectrum Sensing in Cognitive Radio in [40] presents the artificial neural network (ANN)-based hybrid spectrum sensing (HSS) technique. ANN is used to aggregate several Test Statistics (TSs) fromvariousdetectorsratherthanemployingasingle detectionmethodasisthecasewithtraditionalspectrum sensing. Theemployeddetectors'TSsforthenoise-onlyscenarioandthecasewherePUisactiveareusedtotraintheANNsystem. ThenumericaloutcomessupportthesuggestedHSS'seffectivenessincomparisontothenon-hybriddetectiontechnique, whichtrainstheANNwiththeTSonjustonedetector.Thefindingsalsodemonstratedthatwhenthenumberofdetectors rises,theaccuracyofthedetectionoutcomeincreases. TheproposedANN-basedHSSperformsbetterthanthetraditional ANN-basedenergydetectorandprovesitscapacitytodetectPUsignalatverylowSNR,whichissupportedbynumerical findings.Thesystem,however,wasunabletowithstandareductionincomputationalcomplexity.

International Research Journal of Engineering and Technology (IRJET) e-ISSN:2395-0056
Volume: 11 Issue: 02 | Feb 2024 www.irjet.net p-ISSN:2395-0072
According to the research in [41], a multi-path hybrid spectrum sensing schemefor cognitive radio was presented to increase sensing efficiency. The proposed approach combines two conventional sensing schemes; energy detection and maximum minimum eigenvalue detector in a hybrid scheme. Additionally, performance analysis is done to highlight the performancetrade-offsforthesuggestedsensingsystemintermsofdetectionperformanceandmeandetectiontime.The primarygoalofthissuccessfullycompletedandassessedworkistomaximisethedetectingprobabilityunder theexisting false alarm probability limits without increasing the computational cost. However, the emphasis is on proving the effectiveness of the proposed hybrid approach to improve sensing performance and address the issue of inadequate spectrum utilisation. However, based on the findings of this study, further research work such as testing the proposed hybridmodelinacooperativesensingscenarioanddetermininghowitaffectstheefficiencyofcooperativesensingneed tobedone.
The research in [42] proposed using a hybrid matched filter with a single cycle cyclostationary feature detector for spectrumsensingforcognitiveradio.Thetwotogetherimprovetheabilitytofindsuchanarchitecture.Thisleadstogreat frequency offset tolerance as well as precise phase-unknown signal recognition in settings with very low SNR. The proposed methodoutperformsHybridMatchedFilterin termsofdetectionprobabilityandfalsealarmrate,accordingto simulationfindings.However,thesignalprocessingassociatedwiththecascadedstepsoftheproposedapproachresultsin alargeexecutiontimeoverhead.Therefore,itwouldbeinterestingtoreducelatencyoftheproposedscheme'sexecution time.
The study of the two sensing methods, Energy detection and CFD, has also been done, as shown in [43], and from this hybridmodel,properspectrumutilisationisintended.Thehybridmethodimprovesthenetwork'sefficiency.Theoutcome from the proposed method has been contrasted with earlier methods for the network's improved efficiency in terms of energyconsumptionandthroughput.Althoughthisapproachreducedtheamountofprocessingpowerused,reducedthe sensingperiod,andimprovedthroughputanderror,butunabletoaddresstheissueofcomputationalcomplexity.
In the like manner, [44] employed a technique for energy efficiency in cognitive radio networks based on cooperative spectrum sensing and hybrid spectrum handoff. The study offers a second priority user transmission system that senses available channels through cooperative spectrum sensing. Energy efficiency is achieved by optimising the energy consumption of the sensing process. For spectrum mobility management, a threshold technique based on primary user trafficpatternsisprovided.Calculationof probabilisticstay-and-waitandQualityofService(QoS)handoffvaluesisdone usingathresholdtechnique.Usingahybridhandofftechniquebasedondynamicspectrumaggregation,thetransmission channelischosen.Inordertodeterminethebestchannel withthehighestthroughputandlowestenergyconsumption,a cooperative spectrum sensingalgorithm isdefined and simulated. However, thisresearchwork can befurther improved by taking into account the additional unoccupied spectrums that are accessible for transmission but are not utilised, resultingingreaterenergyusage.Additionally,amethodisrequiredtocommunicateorshareaccurateinformationabout channels amongst SPUs. The other SPUs utilise energy by constantly detecting the occupied channel because malicious usersmaycontinuetoexploitspectrumgapsandspreadfalseinformationaboutthem.
The work done in [45], present a novel design of Improved Hybrid Spectrum Sensing Technique for Cognitive Radio Network. It is a performance evaluation of a hybrid spectrum sensing method based on spectral covariance sensing and energydetection(ED).Performancemeasuresincludesensingtime,SNR,andprobabilityofdetection.Numericalfindings from computer simulation and analytical formulation show that the proposed hybrid spectrum sensing offers superior detectionatlowSNR,whentheenergydetectorisunreliable.Inaddition,theresultsdemonstratethatforthemajorityof the SNR range, the suggested spectrum sensing technique's mean detection time is significantly lower than that of the Spectral Covariance detection technique. Therefore, the suggested method offers a reasonable balance between performanceanddetectiontime.Tofurtherimprovedoutcomes,theproposedtechniquecanbeusedinconjunctionwith othercomputationaltechniques.
In order to choose an appropriate spectrum band for cognitive users, the authors in [46] developed a Hybrid Spectrum Sensing Approach to Select Suitable Spectrum Band for Cognitive Users. This method uses an energy detector with an interweaving approach to proposeda cooperative spectrum sensing method. The accuracy of the sensing results is improved by using low-energy clustering techniques and an anticipated maximisation algorithm. Through the identification of the appropriate spectrum using historical environmental variables, reinforcement learning enhances performance spectrum management. The findings demonstrate that the suggested technique has a greater level of spectrum sensing accuracy, and that the CU can select the ideal spectrum hole. The system will then offer CR users an alternativeafterthePUshavefilledthedesignatedspectrumhole.Yet,thismethodtakesmaximumestimationtime.Itcan befurtherenhancedbyreducingitslatencytofindtheidealspectrumholeinaknownRFenvironmentinlessestimating timewithoutinterferingwiththePUs.

International Research Journal of Engineering and Technology (IRJET) e-ISSN:2395-0056
Volume: 11 Issue: 02 | Feb 2024 www.irjet.net p-ISSN:2395-0072
HybridSpectrumSensingUsingMDandEDforCognitiveRadioNetworkswasthe approachusedin[47]. Toidentifythe spectrumholefromtheavailablespectrumresources,thehybriddetector(HD)isproposed.Anenergydetector(ED)and matcheddetector(MD)serveasthefoundationforHDdesign.HDisabletosensethesignalmorepreciselythanasingle detector. Whether or not the primary user (PU) information is available in this case, HD can function under both circumstances. HD is examined in a variety of situations, both with and without the use of CSS (cooperative spectrum sensing).InordertoimplementOR,AND,andmajorityschemesforCSSwithlowSNRbarriers,fouruserswereused. The method,meanwhile,wasunabletohandledPUsignalswithlowSNRandcouldnotminimiseitscomputationalcomplexity. Hence, the detection performance of spectrum sensing techniques and its computational complexity challenges in the above-related work was the focus of this work. These challenges were ameliorated by the current improved hybrid spectrum sensing method (IHSM) based on matched filter detection and cyclostationary feature detection. The current proposed research work adopts similarapproachasin [16]butwithvariationintermsofsampleselectionand byusing AWGNandWeibulltypeoffadingchannelsincooperativeandnon-cooperativescenarios.Theprocedureofthismethodis suchthatthematchedfilterreceivesthelicensedusersignalandsensesthesamplesbyselectingonequarterandskipping therest.ThismethodimprovesthedetectionperformanceoftheMFD,whenithasenoughinformationaboutthelicensed usersignal.ItalsoreducesthecomputationalcomplexityoftheCFDperformancedetectionprocess.
Thesystemmodelissubdividedintothefollowingsubheadings:
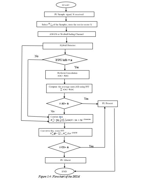
Theproposedsensingmethodusedwasanimprovedhybridspectrumsensingmethod,IHSMforcognitiveradionetworks. Thedesignisbasedonthehybridizationofmatchedfilterdetectionandcyclostationaryfeaturedetectiontechniques,with the hope to improve the probability of detection and reduce its computational complexity. In this concept, a band pass filterwitha bandwidth, W isusedtopre-filterthereceivedsignal.Theoutputofthisfilterisfedintothehybriddetector, whereFFTconvolutionandautocorrelationwereperformed,beforebeingroutedthroughtheAWGNorWeibull channels. Theoutcomearemeasuredagainstapredeterminedthresholdvalue,��
Themethodyieldhighresultinperformancedetectionandreductionincomputationalcomplexityofspectrumsensingfor cognitiveradionetworks.TheblockdiagramisshowninFigure3.1.

3.2 Computational Complexity of the IHSM
Here, the computational complexity was done at MFD and CFD stages. The computing complexity of the convolution process based on the frequency domain in the first stage is equal to the multiplication of two signals since the MFD is basedontheconvolutionprocessbetweenthereceivedandpriorinformationofthePUsignal.Additionally,the received PUsignal'simpulseanditsfrequencydomaintransformationarecomputed.Inotherwords,theconvolutionof theinput

International Research Journal of Engineering and Technology (IRJET) e-ISSN:2395-0056
Volume: 11 Issue: 02 | Feb 2024 www.irjet.net p-ISSN:2395-0072
signal received x(n)andthe MFDimpulse response,h(n),canbeused to identifytheoutput signal of thePU received by SU,y(n),ataspecificmomentintime,suchast=t0.Thus
Theteststatisticthematchedfilterdetection, TMFD canbewrittenas[16]:
Where x ∗(n)representstheconjugateofPUsignal(cognitivePUpilot-stream). TheactivityofPUisthendeterminedbycomparingtheTMFD toapredeterminedthreshold,asillustratedinEquations(3a and3b)[16].
The Discrete Fourier Transform (DFT)iscommonlyreferredtoasN-pointDFTandisdescribedintermsofthenumberofsamples,N. Afinitedurationsequencex(n)oflengthL(whereN≥L)hasthefollowingN-pointDFT[39]:
Also,theInverseDiscreteFourierTransform(IDFT)ofthesequence X(k)oflengthN,isgivenas[39]:

is called the Twiddle Factor. It is a major key component in the pursuit of simplicity and optimization in the computationDFTandIDFT[39].
Fast Fourier Transform, FFT algorithm is used to compute the DFT efficiently by adopting the divide and conquer approach. In addition, the computation of N-point DFT requires N X N complex multiplications and N(N-1) complex additions. By direct computation of all DFT coefficients requires o(N2) operations, while the FFT algorithm computes all DFTcoefficientswitho(Nlog2N)operationforNtoapowerof2.
Hence, the computational complexity of FFT for N sample is o(Nlog2N) and when two sample are multiplied each with N samples,theresultiso(N)[16].
ThecomputationalcomplexityofaconventionalMFD. CCmfdFFT isgivenas:
Sincequarternumberofsample(N/4)wastaken,theIHSMcomputationalcomplexityofaconventionalMFDbecomes:
TheCFDprocedureisbasedontheautocorrelationprocessanditscomputationalcomplexityinthesecondstage[39].The autocorrelation Rxx(n) ofthePUsignal x(n) withitsshiftedversion x(-n) is give as:
Ifasignal'sautocorrelationisaperiodicfunctionoftimetwithaspecificperiod,thesignalissaidtobecyclostationary.A 2ndordercyclostationarydetector isthe namegiven to thiskind ofcyclostationary detector.Thedefinition of a discrete cyclicautocorrelationfunctionforadiscrete-timesignalx(n)withafixedlaglisgivenas[17].
© 2024, IRJET | Impact Factor value: 8.226 | ISO 9001:2008 Certified Journal | Page702

International Research Journal of Engineering and Technology (IRJET) e-ISSN:2395-0056
Volume: 11 Issue: 02 | Feb 2024 www.irjet.net p-ISSN:2395-0072
Where N is the number of samples of a signal x[n] and Δn is the sampling interval. By applying the discrete Fourier transformto,

thecyclicspectrum(CS)isgivenas(3.11)[16]:
By measuring the (cyclic frequency) of the PU signal's cyclic spectrum or cyclic autocorrelation function (CAF), the PU signal canbedetected.Thesignal ispresentiftheCAF isgreaterthanthepre-defendthreshold;else,thesignal isabsent [29].
To find a signal hidden in noise, correlation is a powerful tool. Therefore, the complexity of a traditional cyclostationary feature detection technique, CCcfdFFT is the summation of computational complexity through the autocorrelated process CCauto andcomputationalcomplexitywhenconvertedtofrequencydomain, CCfreq asshowninEquation(3.10)[17]
Autocorrelatedprocess CCauto isthesummationofthenumberofrealmultiplications, Rm andnumberofrealadditions, Ra
Computationalcomplexitywhenconvertedtofrequencydomain, CCfreq is:
Combinationof(3.13)and(3.14)givesthecomputationalcomplexityofaconventionalcyclostationaryprocessas(3.15)
But,theIHSMscheme,onlyselectaquarterofthesamplesforthecyclostationaryprocesstheEquation(3.15)reducesto:
The total computational complexity of the IHSM proposed, CCihsmproposed is the addition of Equations (3.8) and (3.16), as showninEquation(3.17).
The computational complexity ratio is defined as the ratio of computational complexity in the proposed method to the maximumcomputationalcomplexityintheconventionalCyclostiationarymethod(3.18).

The probability of detection of this method involves utilizing various parameters at both matched filter detection and cyclostaionaryfeaturedetectionstages.
AtMFDstage,theprobabilityofdetection isgivenas[8]:
Whereλisthethreshold, isthenoisevarianceand
AtCFDstage,theprobabilityofdetectionoverthechannelsisgivenas[21]
WhereΩistheinstantaneousSNR, istheSUsvariance.Q(…)istheMarcumQ-function
Bydefault,theinstantaneousSNRisananaloguesignal.Thepowerofthissignalcan berepresentedindigitalformas . Hence,

International Research Journal of Engineering and Technology (IRJET) e-ISSN:2395-0056
Volume: 11 Issue: 02 | Feb 2024 www.irjet.net p-ISSN:2395-0072
Where(S/N)istheSignaltoNoiseRatioand(W/R)istheProcessingGain
There istheratioofenergyperbittothenoisepowerspectraldensity.Itisreferredtoassignaltonoiseratioperbit.It isthemeasureofsignaltonoiseratioforadigitalcommunicationsystem[49]. Hence,(3.21)canbewrittenas

TheprobabilityofdetectionoftheIHSMmodelcanbewrittenasin[15]:
Wherei=1,2,...k,and kisthenumberofSUsincooperativeandnon-cooperativeScenarios
In non-cooperative spectrum sensing, each cognitive radio senses the PU independently to carry out frequency band occupancy and unused frequency band detection. The individual sensing SUs base their decision on the signals they are able to detect from the PU transmitter to the PU devices. To assess the activity of the PU signal, a single SU is utilised, whichisasinglesensingapproach.TheyfrequentlyassumethatthePUisawareofthemaintransmissionregion.Eachof thefiveSUslacksathoroughunderstandingofitscoveragearea'sspectrumretention.Thisresultedinhastygeneralization and conclusion of the absent or present of the primary user, PU. Therefore, it is impossible to completely avoid harmful interferencewiththelicensedPU.
Duetofading,shadowingandotherlimitations,detectionperformanceisimpairedinanon-cooperativesetting.Therefore, it may not be very reliable for a single SU or CRU to identify the PU signal in a Cognitive Radio Network. to the fusion centre(FC),whichmakesafinaldeterminationregardingthestatusofthePU[21].TheANDruleoffusionisusedinthis situation. In accordance with this guideline, if all SUs report the existence of PU, the presence of PU is approved overall. Hence, Cooperative Spectrum Sensing (CSS) is employed to solve these detection issues. CSS enhances performance by taking use of spatial diversity. Individual CRU in CSS detect the spectrum and send it. Here, in the cooperative scenario, multiple SUsareusedto sense theactivityof PUsignal. Asillustrated inFig.3.2, assuming there are n SUs(let'ssay5of them) between the PU and FC. It is assumed that each secondary user independently performs local signal sensing and reports these signal values to the FC across a reporting channel in cooperative cognitive radio network. Therefore, the effectoffadingisminimized.Theproposedsystemmodel using thecentralisedcooperativesensingnetwork isshownin Fig.3.2.

International Research Journal of Engineering and Technology (IRJET) e-ISSN:2395-0056
Volume: 11 Issue: 02 | Feb 2024 www.irjet.net p-ISSN:2395-0072


Figure3.4,presentstheflowchartthatexplainsthestep-by-stepprocedureoftheIHSM.

International Research Journal of Engineering and Technology (IRJET) e-ISSN:2395-0056
Volume: 11 Issue: 02 | Feb 2024 www.irjet.net p-ISSN:2395-0072

3.6 Performance Percentages of the IHSM
The performance percentages include the percentage improvement in the detection performance and percentage reductionincomputationalcomplexityoftheIHSMmodel.
2024, IRJET | Impact Factor value: 8.226 | ISO 9001:2008

International Research Journal of Engineering and Technology (IRJET) e-ISSN:2395-0056
Volume: 11 Issue: 02 | Feb 2024 www.irjet.net p-ISSN:2395-0072
In computing the percentage improvement in detection performance of the simulated results, particularly when comparingtwocurvesatthesame ,itisensuringthatthecurvesmusthavedifferentvaluesi.e.highandlowprobability ofdetectionvalues.Thehighestvalueistakenasthereferencepoint(usuallytheproposedmethodcurve)ascompareto others.
To know the improvement percentage, the differences is obtained and multiply by 100%. Hence, the calculation for the percentageimprovementinthesimulationresultcanbeobtainedusingtherelationship:
The percentage reduction in computational complexity of the IHSM at any given number of sample N is the differences betweentheCCratio curvesoftheproposedmethodandthatofMFDorCFDmultiplyby100%as

4.0
Thissectiondiscussedthesimulationprocedures,parameters,resultsanditsanalyses.
4.1 Simulation
There are various numbers of multipath components of the ITU Channel Model for Indoor and Outdoor. The multipath fadingusedisITUindoorchannelmodel(A)withthespecificationshowninTable4.2[49].
Table 2.1: ITU Channel Model for Indoor Office
Thefollowingproceduresareusedtoobtainedthesimulationresults
(i) CreatingQPSKmodulationasaPUsignal.
(ii) Dividethesamplesignalintofour,selectaquarternumberofthesamplesandskiptherest.
(iii) Addingachannel,whichisanAWGNchannelorITUindoorchannelmodel(A),Weibullfadingchannel.
(iv) ApplyingtheIHSMsensingmethodsshownintheprevioussections.
(v) Therearetwoscenariosforthesensingprocess,thenon-cooperativeandcooperativescenariowithmultipleSUs.
(vi) Testing the sensing performance by computing the probability of the detection in equations (3.28a-c) under variousvaluesof ofPUsignal.Inthetwo-casescenario,theaverageprobabilityofthedetectionoverallSUsis computed.
(vii) Also,testingthecomputationalcomplexitybycomputingthecomputationalcomplexityratioinequations (3.29a-c)undervariousvaluesofPUsignalsample,Nfromplottedresultsthatwereobtained.
ThesimulationparametersusedarepresentedinTable4.2.

Volume: 11 Issue: 02 | Feb 2024 www.irjet.net
Table 4.2: Summary table for simulation parameters
S/N
Note that designers are allowed to choose any detection technique, including energy detection, matched filter detection, cyclostationary feature detection, covariance-based detection, etc., as long as it complies with the IEEE 802.22 WRAN standards. While the fine-sensing time for the spectrum sensing approaches can be on the order of milliseconds (for example, 25 ms) at moderate and high SNRs, they perform poorly at low SNRs. IEEE 802.22 restricts the maximum detection delay to 2 seconds, which may include sensing time and subsequent processing time, despite the fact that increasingthesensingdurationenhancesperformance.Atlow-SNRspectrumsensing,thistimeconstraintiscrucial[50]
The performance curves of the MATLAB simulated results of conventional spectrum sensing techniques (MFD and CFD) andIHSMschemeinnon-cooperativeandcooperativescenariosunderAWGNandWeibullfadingchannelsaredepictedin Figures4.1a-4.4.

Figure 4.1a. Performance curves of conventional sensing techniques and IHSM under AWGN in non-cooperative scenarios.

International Research Journal of Engineering and Technology (IRJET) e-ISSN:2395-0056
Volume: 11 Issue: 02 | Feb 2024 www.irjet.net p-ISSN:2395-0072
FromEquations(3.28a-c),theprobabilityofdetectionvaluesofIHSM,MFDandCFDat equalto0dBare0.80,0.32and 0.22respectively.Hence,theprobabilityofdetectionofIHSMisincreasedby48%and68%ascomparedtoMFDandCFD, respectively.
However,at =3dBtheirprobabilityofdetectionbecamethebetterandsameinthedetectionperformance.TheIHSM performsbestwhencomparedtotheMFDandCFDtechniques,especiallyforlowvaluesof ,ascanbeshownfromthe Figure4.1a.
TheMFDtechniqueoutperformstheCFDmethodbecauseithasabetterunderstandingofthePUsignal.

Figure 4.1b. Performance curves of conventional sensing techniques and IHSM under AWGN in cooperative scenarios.
FromEquations(3.28a-c),at equalto0dB,theprobabilityofdetectionvaluesofIHSM,MFDandCFDare0.96,0.78and 0.58respectively.Hence,theprobabilityofdetectionofIHSMisincreasedby16%and36%as comparedtoMFDandCFD, respectively.
ItisobservedfromtheFigurethattheperformanceishighlyimprovedandallthemethodsperformedbetterascompared toFigure4.1a.
However, the performance of MFD becomes very bad when the knowledge of PU signal becomes poor and the CFD technique becomes the better technique in the detection performance. The performance curves, Pd increases as increases.
Table4.1showthesummaryofIHSM,MFDandCFDat =0underAWGN channel innon-cooperativeandcooperative scenario.
Table4.1showthesummaryofIHSM,MFDandCFDat =0 CHANNEL

International Research Journal of Engineering and Technology (IRJET) e-ISSN:2395-0056
Volume: 11 Issue: 02 | Feb 2024 www.irjet.net p-ISSN:2395-0072

4.2a Performance curves of conventional sensing techniques and IHSM under Weibull fading channel in noncooperative scenarios.
The performance shown in Figure 4.2a is identical to that in Figure 4.1a. but in Weibull fading channel. It could be observed that while all technique has the same detection performance as compared to Figure 4.1a, their probability of detection has been deteriorated as a result of multipath fading experienced by the 5SUs. That is, it assumed that all the 5SUsusedtosensethespectrumissufferingfrommultipathfading.
When equal to 0 dB, the probability of detection values of IHSM, MFD and CFD are 0.84, 0.48, and 0.28 respectively. From Equations (3.28a-c), the probability of detection of IHSM is increased by 36% and 56% as compared to MFD and CFD,respectively.
It is observed from the Figure 4.2a that the IHSM has the best performance as compared to the MFD and CFD methods, especiallyatalowvalueof .MFDperformbetterthanCFDmethod,sinceithasagoodknowledgeofthePUsignal. However,at =2dB,theirprobabilityofdetectionbecamebetterandsameintheirdetectionperformance.Thisisdueto hastygeneralizationandconclusionofthe5SUsaboutthepresenceofPU.

4.2b Performance curves of conventional sensing techniques and IHSM under Weibull fading channel in cooperative scenarios.
In the cooperative scenario, the effect of fading is minimized. Here, it assumed the 5SUs used to sense the spectrum and oneofthemissufferingfrommultipathfading.
At equalto0dB,theprobabilityofdetectionvaluesofIHSM,MFDandCFDare0.96,0.92,and0.82respectively.Hence, fromEquations(3.28a-c),theprobabilityofdetectionofIHSMisincreasedby4%and14%ascomparedtoMFDandCFD, respectively.

International Research Journal of Engineering and Technology (IRJET) e-ISSN:2395-0056
Volume: 11 Issue: 02 | Feb 2024 www.irjet.net p-ISSN:2395-0072
ItisobservedthatdetectionperformanceoftheIHSM methodisalmostsametotheMFDatlow buttheperformance becomethebestascomparedtotheMFDandCFDtechniques,especiallyathighvalueof . MFDperformbetterthanCFDmethod,sinceithasagoodknowledgeofthePUsignal.However,theperformanceofMFD becomesverybadwhentheknowledgeofPUsignalbecomespoorandtheCFDtechniquebecomesthebettertechniquein thedetectionperformance.Theperformancecurves, Pd increasesas increases.
Table4.2showthesummaryofIHSM,MFDandCFDat =0underWeibullmultipathfadingchannelinnon-cooperative andcooperativescenario.
Table4.2showthesummaryofIHSM,MFDandCFDat =0
CHANNEL TYPE

Figure 4.3a Performance curves of conventional sensing techniques and IHSM under Weibull fading channel plus AWGN in non-cooperative scenarios.
Here, the signal is transmitted through a Weibull fading channel while AWGN was added at the receiver with a deteriorationduethecasescenariobythe5SUs. When equalto0dB,theprobabilityofdetectionvaluesofIHSM,MFDandCFDare0.80,0.44,and0.4respectively.From Equations (3.28a-c), the probability of detection of IHSM is increased by 36% and 76% as compared to MFD and CFD, respectively.
It is observed from the Figure that the proposed method (IHSM) has the best performance as compared to the MFD and CFDtechniques,especiallyatalowvalueof MFDperformbetterthanCFDmethod,sinceithasagoodknowledgeofthePUsignal. However,theperformancecurves, Pd increasesas increasesandat equalto6dB,theperformancebecamesame.

International Research Journal of Engineering and Technology (IRJET) e-ISSN:2395-0056
Volume: 11 Issue: 02 | Feb 2024 www.irjet.net p-ISSN:2395-0072

4.3b Performance curves of conventional sensing techniques and IHSM under Weibull fading channel plus AWGN in cooperative scenarios.
In this case, there is an improvement in the detection performance due to the cooperation of the 5SUs, the signal was transmittedthroughaWeibullfadingchannelwhileAWGNwasaddedatthereceiver. When equal to 0 dB, the probability of detection values of IHSM, MFD and CFD are 0.96, 0.78 and 0.54 respectively. Hence,fromEquations(3.28a-c),theprobabilityofdetectionofIHSMisincreasedby16%and42%ascomparedtoMFD and CFD, respectively. However, the performance of MFD becomes very bad when the knowledge of PU signal becomes poor and the CFD technique becomes the better technique in the detection performance. The performance curves, Pd increases as increases. This combination of fading and non-fading channel in spectrum sensing, present a more practicalscenarioofsignalsinthereal-worldsystems.
Table4.3showthesummaryofIHSM,MFDandCFDat =0underWeibullplusAWGNchannelinnon-cooperativeand cooperativescenario.
Table4.3showthesummaryofIHSM,MFDandCFDat =0 CHANNEL

International Research Journal of Engineering and Technology (IRJET) e-ISSN:2395-0056
Volume: 11 Issue: 02 | Feb 2024 www.irjet.net p-ISSN:2395-0072

Figure 4.4 Computational complexity ratio versus the number of samples between conventional sensing techniques and IHSM. At N equalto50,thecomputationalcomplexityratioinIHSM,MFDandCFDare0.24,0.42and0.46respectively.From Equations(29a-c),thecomputationalcomplexityofIHSMisreducedby18%and22%ascomparedtoMFDandCFD, respectively.
In addition, when N equal to 100, the computational complexity ratio in IHSM, MFD and CFD are 0.52, 0.98 and 0.99 respectively. Hence, the computational complexity of IHSM is reduced by 46% and 47% as compared to MFD and CFD, respectively. The computational complexity ratio curves increase as the number of samples, N increases. It can be seen that the IHSM has a lowest computational complexity compared to the MFD and CFD methods, since it computes the convolutionprocessintheMFDstageorautocorrelationprocessinCFDwithaquarterofthesamples.Hence,theseresults demonstrated that the higher the number of samples, N the higher the computational complexity vice versa as shown in Table4.4.
Table 4.4: Summary of computational complexity ratio.
Table4.4comparestheeffectivenessoftheproposedIHSMmethodwiththatofconventionalmethods(MFDandCFD)and hybridmethodin[22].Thistabledemonstratesthattheproposedmethodistheidealoptionforspectrumsensinginterms ofdetectionperformanceandcomputationalcomplexityforverylow andNvalues.
Table 4.1: Summary of performance measurement.
Method
Probability of Detection
At = 0 dB
Computational Complexity Ratio
At N = 50 At N = 100
Proposedmethod[IHSM] Excellent(84%) Low(24%) Moderate(52%)
Hybridmethod[22] VeryGood(58%) Moderate(38%) High(88%)
MFD Good (when PU information is known,48%)
CFD Poor(28%)
(42%) High(98%)
(46%)
(99%)

International Research Journal of Engineering and Technology (IRJET) e-ISSN:2395-0056
Volume: 11 Issue: 02 | Feb 2024 www.irjet.net p-ISSN:2395-0072
The performance of the improved hybrid spectrum sensing method for cognitive radio networks, IHSM adopted for this research work in terms of detection performance and computational complexity in cooperative and non-cooperative scenarios under AWGN and Weibull fading channels achieved its objectives. The model was effective by reducing the latencyofitsdetectionperformanceandcomputationalcomplexity.
This study introduces a novel technique for efficient sample selection, which significantly reduces the sensing time and computational complexity. By utilizing only, a fraction of the available samples (N/4 or 25%), the developed model outperforms existing methods such as MFD and CFD by 18% and 22% respectively. The IHSM method is more effective andefficientinthecooperativescenariothanitisinthenon-cooperativeonebecauseitgreatlyreducesthecomputational complexity. This improvement in efficiency not only enhances the overall performance of the sensing process but also offerspracticaladvantagesintermsofreducedcomputationalrequirementsandfasterdetectionofspectrumavailability. The research work of the IHSM spectrum sensing technique also demonstrates a remarkable increase in detection accuracy compared to conventional methods. The developed IHSM model achieves a detection accuracy improvement of 48%and68%whencomparedwithMFDandCFDrespectively.Thissubstantialimprovementinaccuracyisofparamount importance in spectrum sensing applications, as it enables more identification that is reliable and utilization of available frequencybands,leadingtoimprovedspectrumutilizationefficiency.
Fromthecurves,itisclearthattheprobabilityofdetectionaccuracyofthecooperatingsensingishigher.Itgivesamore accurate picture of the spectrum holes or white spaces but takes a longer time to converge because it requires the contributionofthemultiplenodesinthenetwork.
However, the probability of detection of the non-cooperating sensing is not as high as cooperating; the non-cooperating scenarioshowsquickerconvergencebecauseitrequiresthejudgementofonlyonenodetotakedecision
Therefore,fromtheanalyses,itisevidentthattheIHSMschemehasanexcellentinprobabilityofdetectionandverygood inthereductionofcomputationalcomplexity.
Finally,bycombiningtheefficientsampleselectiontechniqueandtheIHSMspectrumsensingmethod,thisresearchwork offersacomprehensiveapproachtoimprovetheperformanceofspectrumsensingsystems.Theresultsnotonlyvalidate the effectiveness of the proposed techniques but also contribute to advancing the field of cognitive radio and spectrum management.
Thisworkcanbefurtherimprovedinthefutureusingothertypesoffadingchannelse.g.log-normal,Hoyt(orNakagamiq),Rayleigh,Rician(orNakagami-n),andNakagami-m Itstransmissionstagesi.e.thethroughputfor thecognitiveusers’ performanceshouldalsobeinvestigated,inordertoimprovethetransmissionofcognitiveusers.Moreso,byusingdouble thresholdinthesensingprocesscanleadtoanimprovementindetectionperformance.
y(n) ReceivedsensedsignalbytheSU
x(n) PUsignal
h(n) Impulseresponse
μ KnownpreviousknowledgeorinformationaboutPU
λ Pre-definedthreshold
Ra Numberofrealadditions
Rm Numberofrealmultiplications
N Numberofsensedsamples
Fc Carrierfrequency
Fs Samplingfrequency
Pf Probabilityoffalsealarm
Pd Probabilityofdetection
R α yy (l) Discretecyclicautocorrelationfunction
Δn Sampling interval
Pd,MFDi ProbabilityofdetectionofMFDstage
Pd,CFDi ProbabilityofdetectionofCFDstage

International Research Journal of Engineering and Technology (IRJET) e-ISSN:2395-0056
Volume: 11 Issue: 02 | Feb 2024 www.irjet.net p-ISSN:2395-0072
Pd,IHSMi ProbabilityofdetectionofIHSM
n NumberofSU
CCmfdFFT ComputationalcomplexityoftraditionalMFD
CCcfdFFT ComputationalcomplexityoftraditionalCFD
CCihsmPproposed ComputationalcomplexityoftheproposedIHSMmethod
CCratio Ratioofcomputationalcomplexity
Eb EnergyperBit
No NoiseSpectralDensity
Eb/No Signaltonoiseratioperbit
σ2 SUsVariance NoiseVariance
Ω InstantaneousSNR
W Bandwidth
WN TwiddleFactor
x[n] DiscreteFourierTransform
X[k] InverseDiscreteFourierTransform
LIST OF ABBREVIATIONS
ANN ArtificialNeuralNetworks
AWGN AdditiveWhiteGaussianNoise
BPSK BinaryPhaseShiftKeying
CAF CyclicAutocorrelationFunction
CC ComputationalComplexity
CF CyclicFrequency
CFD CyclostationaryFeatureDetection
CU CognitiveUser
CR CognitiveRadio
CRU CognitiveRadioUser
CS CyclicSpectrum
CSD CyclicSpectrumDensity
CSS CooperativeSpectrumSensing
ED EnergyDetection
BPF BandPassFilter
DFT DiscreteFourierTransform
FC FusionCentre
FPUs FirstPriorityUsers
GLRT GeneralizedLikelyRatioTest
HD HybridDetector
HSS HybridSpectrumSensing
IDFT InverseDiscreteFourierTransform
IHSM ImprovedHybridSpectrumSensingMethod
MFD MatchedFilterDetection
MC&DE MinistryofCommunicationandDigitalEconomy
MDAs MinistryDepartmentandAgencies
MME Maximum–MinimumEigenvalue
NBC NationalBroadcastingCorporation
NCC NigerianCommunicationCommission
OFDM OrthogonalFrequencyDivisionMultiplexing
PTOs PrivateTelecomOperators
PU PrimaryUser
Q MarcumQ-function
QPSK QuadraturePhaseShiftKeying
RF RadioFrequency
SDFT SlidingDiscreteFourierTransform
SNR SignaltoNoiseRatio

International Research Journal of Engineering and Technology (IRJET) e-ISSN:2395-0056
SLC SquareLawCombination
SPUs SecondPriorityUsers
SS SpectrumSensing
SU SecondaryUser
TSs Teststatistics
TVs Televisions
XG Network NextGenerationNetwork
WRAN WirelessRegionalAreaNetwork
[1] R.A.H. Suliman, K.H. Bilal and I. Elemam. Review Paper on Cognitive Radio Networks. Journal of Electrical & Electronic Systems,Volume7•Issue1•1000252,2018. https://doi.org/10.4172/2332-0796.1000252
[2] S. Pandit and G. Singh. Spectrum Sharing in Cognitive Radio Networks. Springer International Publishing AG, April 2017. DOI10.1007/978-3-319-53147-2_2
[3] M. E. Bayrakdar, A. Çalhan. Performance analysis of sensing based spectrum handoff process for channel bonding mechanisminwirelesscognitivenetworks.In201725thSignalProcessingandCommunicationsApplicationsConference (SIU).Turkey,Antalya,2017. https://doi.org/10.1109/SIU.2017.7960157
[4]F.Shen,G.Ding,Z.WangandQ.Wu,"UAV-Based3DSpectrumSensinginSpectrum-HeterogeneousNetworks,"in IEEE Transactions on Vehicular Technology,vol.68,no.6,pp.5711-5722,June2019.
[5] Federal Republic of Nigeria Official Gazette.No.22,Vol.108,Lagos–Nigeria.5th February,2021.
[6]B.G.Najashi,F.WenjiangandC.Kadri. An Insight into Spectrum Occupancy in Nigeria. InternationalJournalofComputer ScienceIssues(IJCSI),Vol.10,Issue1,No1,pp1-6,2013.
[7]B.G. Najashi.Spectrum OccupancyMeasurementsinNigeria:ResultsandAnalysis.International Journal ofComputer ScienceIssues(IJCSI),Vol.12,Issue4,pp1-10,July2015
[8]A.Brito,P.Sebastião,andF.J.Velez HybridMatchedFilterDetectionSpectrumSensing.IEEEAccess,2021
[9] Ian F. Akyildiz, Won-Yeol Lee, Mehmet C. Vuran and Shantidev Mohanty. Next generation/dynamic spectrum access/cognitiveradiowirelessnetworks:Asurvey.BroadbandandWirelessNetworkingLaboratory,SchoolofElectrical and Computer Engineering, Georgia Institute of Technology, Atlanta, GA 30332, United States, Received 2 January 2006; accepted2May2006.[RetrievedSept.2022]
[10]Sk.MuntajandD.AJohn. A Review on Spectrum Sensing Techniques in Cognitive Radio Network. InternationalJournalof ModernCommunicationTechnologies&Research(IJMCTR).ISSN:2321-0850,Volume-4,Issue-7,July2016. https://www.erpublication.org
[11] S. Althunibat. Towards energy efficient cooperative spectrum sensing in cognitive radio networks. Ph.D. thesis, UniversityofTrento,Italy,2014. http://eprints-phd.biblio.unitn.it/1335/
[12]Z.Ayoub,G.KhalilandA.Aziz. Spectrum Sensing Using Cooperative Matched Filter Detector in Cognitive Radio 23June 202.DOI:10.20944/preprints20226.0319.v1
[13]A.S.KhobragadeandR.D.Raut. Hybrid spectrum sensing method for cognitive radio. InternationalJournalofElectrical andComputerEngineering(IJECE) 7(5):2683–2695,2017. https://doi.org/10.11591/ijece.v7i5.pp2683-2695
[14]M. S.FalihandH. N.Abdullah. DWT based energy detection spectrum sensing method for cognitive radio system Iraqi JournalofInformationandCommunicationsTechnology3(3):1–11,2020. https://doi.org/10.31987/ijict.3.3.99.
Volume: 11 Issue: 02 | Feb 2024 www.irjet.net p-ISSN:2395-0072 © 2024, IRJET | Impact Factor value: 8.226 | ISO 9001:2008

International Research Journal of Engineering and Technology (IRJET) e-ISSN:2395-0056
Volume: 11 Issue: 02 | Feb 2024 www.irjet.net p-ISSN:2395-0072
[15]K.Yadav,S.D.RoyandS.Kundu. Hybrid cooperative spectrum sensing with cyclostationary detection for cognitive radio networks. In 2016 IEEE Annual India Conference (INDICON), pp. 1–6. 2016. https://doi.org/10.1109/INDICON.2016.7839118
[16]H.SAbedandH.N.Abdullah. Improvement of Spectrum Sensing Performance in Cognitive Radio using Modified Hybrid Sensing Method. Acta Polytechnica 62(2):228–237, 2022. https://doi.org/10.14311/AP.2022.62.0228
[17] H. Arezumand and H. Sadeghi. A low-complexity cyclostationary-based detection method for cooperative spectrum sensing in cognitive radio networks.International journal of information and communication technology 3(3):1–10, 2011. https://elmnet.ir/article/605357-22041
[18] Xue D, Ekici E and Vuran MC. Cooperative Spectrum Sensing in Cognitive Radio Networks Using Multidimensional Correlations. IEEETransWirel.Commun.2014;13(4):1832–43. https://doi.org/10.1109/TWC.2014.022714.130351
[19]P.Bachan,S.K.GhoshandS.K.Saraswat. Comparative error rate analysis of cooperative spectrum sensing in non-fading and fading environments. In 2015 Communication, Control and Intelligent Systems (CCIS), pp. 124–127. 2015. https://doi.org/10.1109/CCIntelS.2015.7437891.
[20]A.Mukherjee,P.GoswamiandA.Datta. HML-Based smart positioning of fusion center for cooperative communication in cognitive radio networks IEEE Communications Letters 20(11):2261–2263, 2016. https://doi.org/10.1109/LCOMM.2016.2602266
[21] S. K. Ghosh, S. R. Trankatwar and P. Bachan. Optimal voting rule and minimization of total error rate in cooperative spectrum sensing for cognitive radio networks JournalofTelecommunicationsandInformationTechnology1:43–50,2021. https://doi.org/10.26636/jtit.2021.144420
[22]NNoorshams,M.Malboubi,andA.Bahai. Centralized and decentralized cooperative spectrum sensing in cognitive radio networks: A novel approach. IEEE 11th International Workshop on Signal Processing Advances in Wireless Communications.p.1–5.2010 https://doi.org/10.1109/SPAWC.2010.5670998.
[23] H. N. Abdullah, Z. O. Dawood and A. E. Abdelkareem, H. S. Abed. Complexity reduction of cyclostationary sensing technique using improved hybrid-sensing method Acta Polytechnica 60(4):279–287, 2020. https://doi.org/10.14311/AP.2020.60.0279
[24] H. N. Abdullah, N. S. Baker and M. T. S. Al-Kaltakchi. Proposed two-stage detection rules for improving throughput in cognitive radio networks. Iraqijournalofcomputers,communications,control&system engineering(IJCCCE)19(4):1–11, 2019.https://doi.org/10.33103/uot.ijccce.19.4.1
[25]G.Goutam,D. PrasunandC.Subhajit .CognitiveRadioand Dynamic Spectrum Access.International Journal ofNextGenerationNetworks(IJNGN)Vol.6,No.1,March2014 DOI:10.5121/ijngn.2014.610443
[26]N.KHoven.Onthefeasibilityofcognitiveradio.MEERiceUniversity,2003.
[27] R.R. Jaglan, S. Sarowa, R. Mustafa, S. Agrawal and N. Kumar. Comparative Study of Single-user Spectrum Sensing. Techniques in Cognitive Radio Networks. Second International Symposium on Computer Vision and the Internet (VisionNet’15),2015.
[28] W. Adigwe and O. R. Okonkwo. A review of cyclostationary feature detection based spectrum-sensing technique in cognitive radio networks. E3 Journal of Scientific Research 4(3):041–047, 2016. https://doi.org/10.18685/EJSR(4)3_EJSR-16-010.
[29] I. G. Anyim. Wideband Cyclostationary Spectrum Sensing with Receiver Constraints and Optimization. Ph.D. thesis, UniversityofPortsmouth,UnitedKingdom,2018.
2024, IRJET | Impact Factor value: 8.226 | ISO 9001:2008

International Research Journal of Engineering and Technology (IRJET) e-ISSN:2395-0056
Volume: 11 Issue: 02 | Feb 2024 www.irjet.net p-ISSN:2395-0072
[30] E.Rebeiz, P.Urriza and D.Cabric, “Optimizing Wideband Cyclostationary spectrum sensing under receiver impairements,”IEEETrans.OnSignalProcessing,Vol.61,No.15,Aug.(2013).
[31] W.O Ajadi, S.M Sani and A.M.S Tekanyi. Estimation of an Improved Spectrum Sensing Threshold for Cognitive Radio usingSmoothedPseudoWigner–VilleDistributionSignal.Vol.,3pp.9,2017.
[32] S Nallagonda, S. K Bandari, S. D Roy and S. Kundu. On Performance of Weighted Fusion Based Spectrum Sensing in FadingChannels.JournalofComputationalEngineering.Dec2013.https://doi.org/10.1155/2013/270612
[33]N.Narayan,S.SudeepandK.Nirajan.EnergydetectionbasedtechniquesforSpectrumsensinginCognitiveRadioover differentfadingChannels.CyberJournals:MultidisciplinaryJournalsinScienceandTechnology,JournalofSelectedAreas inTelecommunications(JSAT),FebruaryEdition,2014
[34] S. B. Shawkat, Md. M-Ul-Haque, Md. S. Islam and B. S. Sonok. Fundamental Capacity Analysis for Identically Independently Distributed Nakagami-q Fading Wireless Communication. International Journal of Advanced Computer ScienceandApplications,(IJACSA)Vol.11,No.9,2020
[35] D. H. Pavlovic, N. M. Sekulovic, G. V. Milovanovic, A. S. Panajotovic, M. H. Stefanovic and Z. J. Popovic. Statistics for Ratios of Rayleigh, Rician, Nakagami-��, and Weibull Distributed Random Variables. Mathematical Problems in Engineering,2013.
[36]C.SagiasandGeorgeK.Karagiannidis.GaussianClassMultivariateWeibullDistributions:TheoryandApplicationsin FadingChannelsNikos.IEEETransactionsonInformationTheory,Vol.51,No.10,October2005
[37] M. D. Jacoub. The α-μ distribution: A general fading distribution, in Proc. IEEE Int. Symp. Personal, Indoor, Mobile RadioCommunications,Lisbon,Portugal,Sep.2002.
[38]M.Ranjeeth1,S.NallagondaandS.Anuradha.OptimizationAnalysisofImprovedEnergyDetectionbasedCooperative Spectrum SensingNetwork inNakagami-mandWeibull FadingChannels.Journal of EngineeringScienceand Technology Review,2017.
[39] A.A Kumar. Digital Signal Processing K.L.U. College of Engineering, K.L. University Vijayawada, Andhra Pradesh PHI LearningPrivateLimitedNewDelhi,2013
[40]A.Nasser,M.Chaitou,A.Mansour,K-CYaoandH.Charara. A Deep Neural Network Model for Hybrid Spectrum Sensing in Cognitive Radio. Wireless Personal Communications, Springer Verlag, 2021. https://doi.org/10.1007/s11277-02008013-7
[41]A.R.Mohamed,A.A.A. El-Banna andH.A.Mansour.Multi-pathhybridspectrumsensingincognitive radio.Arabian JournalforScienceandEngineering46:9377–9384,2021. https://doi.org/10.1007/s13369-020-05281-0.
[42] D. Joshi, N. Sharma and J. Singh. Spectrum Sensing for Cognitive Radio Using Hybrid Matched Filter Single Cycle Cyclostationary Feature Detector I.J. Information Engineering and Electronic Business 5, 13-19. September 2015. DOI: 10.5815/ijieeb.2015.05.03
[43] R. Kaurand S. Sharma. Analysis of Hybrid Model based on Energy and Cyclostationary Spectrum Sensing Techniques. InternationalJournalofScientific&EngineeringResearch,Volume8,Issue2,February-2017.
[44]K.Arshid,Z.Jianbiao,I.Hussain,M.S.Pathan,M.Yaqub,A.Jawad,R.MunirandF.Ahmad. Energy efficiency in cognitive radio network using cooperative spectrum sensing based on hybrid spectrum handoff.EgyptianInformaticsJournal.22June, 2022https://doi.org/10.1016/j.eij.2022.06.008
[45] B. Ahuja and G. Kaur. A Novel Design of Improved Hybrid Spectrum Sensing Technique for Cognitive Radio. InternationalJournalofComputerApplications(0975–8887)Volume125–No.13,September2015.
[46] R. Rajaguru1, K.V. Devi and P. Marichamy. A Hybrid Spectrum Sensing Approach to Select Suitable Spectrum Band for Cognitive Users. ComputerNetworks(2020) https://doi.org/10.1016/j.comnet.2020.107387

International Research Journal of Engineering and Technology (IRJET) e-ISSN:2395-0056
Volume: 11 Issue: 02 | Feb 2024 www.irjet.net p-ISSN:2395-0072
[47]K.BaniandV.Kulkarni. Hybrid Spectrum Sensing Using MD and ED for Cognitive Radio Networks. JournalofSensorandActuatorNetwork11,36.Pg1-15,2022 https://doi.org/10.3390/jsan11030036
[49] Wireless Applications Corp. 16689 SE 59 t h Street Bellevue, WA 98006. Retrieved 23rd October 2022. https://ftp.unpad.ac.id/orari/library
[48]R.Jain. Channel Models: A Tutorial. Vol1.0February21,2007.CitedfromITU-RRecommendationM.1225,"Guidelines for evaluation of radio transmission technologies for IMT-2000," 1997.
[50] S. U. B. Atapattu. Analysis of Energy Detection in Cognitive Radio Networks. Ph.D. thesis, University of Alberta, EdmontonAlberta,2013. http://www.ece.ualberta.ca/~chintha/pdf/thesis/phd_saman.pdf
2024, IRJET | Impact Factor value: 8.226 | ISO 9001:2008