DESIGN AND IMPLEMENTATION OF A LIGHT FIDELITY BASED AUTOMATED SMART TROLLEY FOR SHOPPING USING RADIO

Page 1

DESIGN AND IMPLEMENTATION OF A LIGHT FIDELITY BASED AUTOMATED SMART TROLLEY FOR SHOPPING USING RADIO FREQUENCY IDENTIFICATION

1,2,3,5Department of Electrical and Electronics Engineering, Nigerian Defence Academy, Kaduna, Nigeria.

***

ABSTRACT

The Design and Implementation of a Light Fidelity based automated smart trolley for shopping using Radio Frequency Identification technology was aimed at reducing the time and efforts needed while shopping by customers. It is also used to reduce the long queues experienced. The methodology employed in implementing this system include the software and hardware integration, the software aspect of this system includes simulating the system performance on proteus and programming the Arduino Uno controller using C++. The hardware aspect involved integrating the components needed. The smarttrolley,afterimplementationwasabletodisplaythedifferentaislesinthesupermarket,detectproductsoritemsplaced inthetrolley,displayrelevantinformationlikeprice,dateofexpiry,weight,andalsocomputetheprices ofproductsoritems as they are added. The system was designed to carry a maximum of 20kg load. Furthermore, the details of the items are transmittedtothecashier’ssystemwhenthetrolleyiswithinamaximumdistanceof6.0meterstothecashier’send usingthe conceptofLi-Fitechnologywherethefinalbillingandpaymenttakesplaceinordertoclearcustomerforexit.

Keywords: Automated Smart Trolley, Arduino Uno Microcontroller, LCD, Li-Fi, Load Sensor, RFID Tags, RFID Readers, Trolley.

I. INTRODUCTION

A scarce natural resource that is essential to all nations is radio frequency spectrum. The broadcasting and communication industries, as well as those in the fields of transportation, security, science, and recreation, all rely heavily on this resource. The limited amount of radio frequency spectrum is progressively reducing as a result of the explosion in communication technology options, which has increased global communications and necessitated the development of new spectrum-based communicationmethods[1].

AnewtechnologycalledLi-Fihasdevelopedinordertoachievegreaterbandwidth,efficiency,andspeed.Light-basedwireless bidirectionalcommunicationisknownasLightFidelity(Li-Fi).Itmakesadvantageoftheunusedvisiblespectrumwhileeasing thestrainonthe radiospectrum[2]. Itcan bethought ofasanoptical kindof Wi-Fithattransmitsdata throughvisiblelight ratherthanradiofrequencies.WithLi-Fi,wecanutilize thevisiblespectrum,which hasa frequencybandwidth ofabout300 THz, which is significantly wider than the typical radio frequency band (RF), which has a bandwidth of 300 GHz and is constrained and steadily decreasing [3]. Three different high frequency technologies for communication networks are Ethernet, Wi-Fi, and Li-Fi. While Li-Fi technology uses light as a communication medium, Wi-Fi and Ethernet both use radio frequencywaves[4].

Thesedays,ifacustomerwantstomakepurchasesatamall,theymustselecttheitemfromthedisplayshelf,standinqueue, andthenwaitfortheirturntopaythecashier.Itwilltakealongtimeforcustomerstowait whilethoseinfrontofthequeue scan each and every item using a traditional barcode scanner. This is followed by the time it takes to complete the payment process [5]. To increase the quality of the shopping experience for customers, ongoing improvements to the current billing systemarerequired[6].AnRFIDsystemconsistsofthreeparts:anantenna,atransceiver(whichissometimesintegratedinto onereader),andatransponder(thetag).TheideaofemployingRFIDtechnologywillassistreducethelineandtimespentor

© 2023, IRJET | Impact Factor value: 8.226 | ISO 9001:2008 Certified Journal | Page1286
1M.M Shehu, 2F.O Adunola, 3A.A Ahmad, 4M. Hamza, 5A.E Airoboman 4Department of Electrical and Electronics Engineering, Kaduna Polytechnic, Kaduna, Nigeria.
(IRJET) e-ISSN:2395-0056
International Research Journal of Engineering and Technology
| May 2023 www.irjet.net p-ISSN:2395-0072
Volume: 10 Issue: 05

wasted by clients when shopping [7]. It is crucial to identify methods to enhance the shopping experience while taking into accountvariableslikereturnoninvestment,anticipatedsalesgrowth,andcustomerexpectations.

Subsequently this paper is organized as follows; section two discusses the review of past works, section three entails the methodology, section four presents the results and discussions, section five is for conclusion, finally section six covers recommendationforfuturework.

II. RELATED WORKS

The RFID module and the ZIGBEE module were employed by the authors [8]; the former scans for product tags, while the latteractsasatransmittertosenddatafromthetrolleytothemaincomputer.Here,anAT89S52microcontrollerisemployed. The system was put into place to streamline the billing procedure, make it efficient, and boost security utilizing RFID technology. However, weight sensors and online shopping cart payments were not taken into account, which would have enhancedthesystem'sfunctionality.

TheRFIDreaderinthesmarttrolleysystemwillscantheproduct'sprice,name,andexpirationdateanddisplayitonanLCD [9].CostinformationistransferredfromtheLPC2148microcontrollerintheRFtransmittertotheLPC2148intheRFreceiver. Thisdatawillbesentfromthereceiverthroughserialtransmissiontothecomputer(Max232interface).The authorsdevised a system that uses the concept of RFID rather than barcodes to speed up billing and improve the shopping experience by mitigatingthetimewastedwhenmakingpayments

The authors of [10] used PIC microcontroller, RFID reader and tag, Li-Fi transmitter and receiver, LCD display, and Max232 logic converter to make up their system. The PIC microcontroller and RFID are interfaced. The main computer can receive product information from the PIC controller through a Li-Fi transmitter. The data can then be transferred to the computer usingMAX232serialtransmission.Asaresult,theauthorsusedLi-Fitechnologytodevelopasystemthatimprovesthebilling processbyreducingthetimeutilizedinscanningitemswithregardstobarcodeandalsoboostssecurity.

Theauthorsin[11]designedasystemsothatwhenanRFIDtagisread,theRFIDmodulebeginstooperateandsendsasignal tothemicrocontroller.TheLi-FimoduleandLi-Fireceivermodulearealsohookedtothemicrocontroller,whichisconnected to a power source that powers the cart. The customer receives information about the products that have been scanned and displayedontheLCD,whilethevoiceboardprovidesinformationabouteachproduct,theKeypadisusedtochoosebetween differenttrolleymodes,andtheparallaxdataacquisitiontool(PLXDAQ)softwareisusedtotransferthedatatoanExcelsheet viaaLi-Fimodule.

Theworkof[12],hasthesystemconnectedtoaWLANnetwork,whereallproductinformationisbeingstored.Aftershopping, the bill issent to the database,and eachtrolleyhasa unique number.An employee atthe billingcounterscans thisnumber, anditemdetailsareavailableforthecustomertomakeaninstantpayment.Thecustomermustscanproductsbefore placing theminthetrolley;iftheyarenotscanned,aloadcellhelpstoalertthattheproductinthetrolleydoesnotcorrespond tothe weightofitemsscanned.TheLCDdisplaystheproductsandprices.Thesystem'sdesignaidsinshorteningqueuelongwaitat the bill counter in shopping malls.Additionally, the technology makes sure that every item placed in the cart is scanned and totaledupforinvoicing.

International Research Journal of Engineering and Technology (IRJET) e-ISSN:2395-0056 Volume: 10 Issue: 05 | May 2023 www.irjet.net p-ISSN:2395-0072 © 2023, IRJET | Impact Factor value: 8.226 | ISO 9001:2008 Certified Journal | Page1287

III. METHODOLOGY

BlockDiagramoftheSmartTrolleySystem

The block diagram in Figure 1 depicts how the building blocks interacts with each other to yield the complete smart trolley system.Theitemswillhave RFIDtagswhichisreadbytheRFIDreader,informationread fromtheRFIDreader isforwarded to the Arduino Uno controller and is displayed on the LCD, the weight sensor helps identify weight of items placed in the trolley and as more items are placed, it keeps weighing the item, it also helps to reduce weight of items removed from the trolley. The buzzer helps with the sound while products are placed in to the trolley or removed from the trolley, Li-Fi transmitterandreceiverutilizeswirelesscommunicationmeanstosendinformationfromthetrolleytothecomputer.TheLiFitransmitterismountedonthetrolley,whiletheLi-Fireceiverisatthecashier’send.Theinformationofitemsplacedinthe trolley can be printed from the computer with the help of a printer which will then serve as the customer’s receipt and clearanceforexitfromthesupermarket.

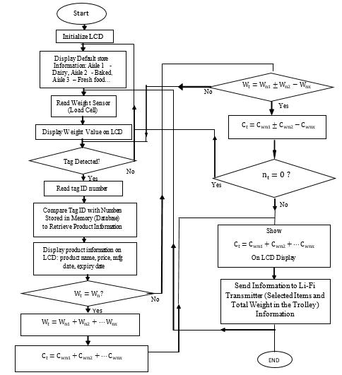
TheflowchartofthesystemsoftwareisdepictedinFigure2whichexplainstheworkingprinciplefromthestarttoend. Forweightincreased;

Where“n”denotesitemscountsastheyareadded.

Letcostofitemsbedenotedby“C” Hence,

International Research Journal of Engineering and Technology (IRJET) e-ISSN:2395-0056 Volume: 10 Issue: 05 | May 2023 www.irjet.net p-ISSN:2395-0072 © 2023, IRJET | Impact Factor value: 8.226 | ISO 9001:2008 Certified Journal | Page1288
DIAGRAM:
BLOCK
Figure1:
Let
Where
International Research Journal of Engineering and Technology (IRJET) e-ISSN:2395-0056 Volume: 10 Issue: 05 | May 2023 www.irjet.net p-ISSN:2395-0072 © 2023, IRJET | Impact Factor value: 8.226 | ISO 9001:2008 Certified Journal | Page1289 ForweightReduction; Where Todecreaseitemselectedcountby1,
Figure2:SystemFlowChartoftheProject

IV. RESULTS

Thedesignelectronicscomponents werecasedsoastoserveasa bettermeansofintegratingitonthetrolley.Thecomplete smarttrolleyisshowninfigure3,wheretenitemswereplacedinthetrolley.Alltheseitemshadtheirinformationdisplayed respectivelyonthetrolleysdisplayinordertoconveniencethecustomerwhileshopping.

Figure3:TheCompleteSmartTrolley

The complete smart trolley having in it ten items is shown in figure 3. The information received by the Li-Fi receiver is displayedonthecomputerasshowninfigure4,theLi-Fireceivermoduletobeconnectedtothecomputerisshowninfigure 5.

International Research Journal of Engineering and Technology (IRJET) e-ISSN:2395-0056 Volume: 10 Issue: 05 | May 2023 www.irjet.net p-ISSN:2395-0072 © 2023, IRJET | Impact Factor value: 8.226 | ISO 9001:2008 Certified Journal | Page1290
Figure4:Cashier’sComputerDisplayShowingItemsinTrolley

Thesystemsbehaviorandresultsaftersuccessfullyimplementingthedesign wasrecorded.Thefindingsweretabulatedand discussionswasmadeoneachresult.WhenthesystemisputON,the20x4LCDdisplays“Li-Fibasedautomatedsmarttrolley for shopping using RFID” thereafter displays “NDA EEE Supermarket” and the different aisles in the store as being programmed.Table1givesthetabulatedresultofthetrolley’sweightmeasurementfeature.

The result from Table 1 was carried out using a standard weight meter to measure the items and compare with the trolleys ability to measure the items. The standard weight meter was calibrated to measure in gram by default, whereas the weight sensors on the trolleys measures items in kg. Items 1 and 2 from the table 4.1 had on them their weight from their manufacturers.Thesestandarditemswereusedinordertocheckthetrolleysweightmeasurementaccuracy.Itisobviousthat thetrolleyfunctionsproperlyinidentifyingtheweightofitemsplacedinit.The20kgweightsensorswereimplementedinthe designtoachievethisfeature.

International Research Journal of Engineering and Technology (IRJET) e-ISSN:2395-0056 Volume: 10 Issue: 05 | May 2023 www.irjet.net p-ISSN:2395-0072 © 2023, IRJET | Impact Factor value: 8.226 | ISO 9001:2008 Certified Journal | Page1291
Figure5:ReceiverModuleinterfacedwiththecomputer Table1:TrolleyWeightMeasurementAnalysis

6:GraphofTrolleysMeasuredWeightinComparisonwithActualWeightofItems

The graph in figure 6 shows the trolley’s measured weight versus the actual weight of items in consideration, and it can be seen that the two plots closely corresponds to each other, so the trolley’s measured weight is fairly accurate and could be reliedupon.

The permissible operation distance of the whole system working was also tested (Table 2) and the result obtained is shown appropriately.

The smart trolley system is capable of sending data to the receiver which is on the cashier’s end if and only if the system is within6.0mrange.Theitemsonthetrolleyautomaticallydisplaysonthecashier’scomputer,therebyinformingontheitems inthecorrespondingtrolley.TheIRLEDwhichtransmitsthedatafromthetrolleyhavelightemittingangleofapproximately 20º to 60º and range of approximately 6m. The IR receiver (TSOP1838) beam angle is +/-45º and hence data recognition occurs.

International Research Journal of Engineering and Technology (IRJET) e-ISSN:2395-0056 Volume: 10 Issue: 05 | May 2023 www.irjet.net p-ISSN:2395-0072 © 2023, IRJET | Impact Factor value: 8.226 | ISO 9001:2008 Certified Journal | Page1292
Figure Table2:DistancePerformanceoftheTrolleySystem

V. CONCLUSION

A Li-Fi based automated smart trolley using RFID has been designed, simulated and implemented. At the beginning, the simulationoftheresearchworkwasdoneonproteustoseehowthedevicewouldfunction.Theitemsweresimulatedwiththe helpofswitcheswhichwhenactivated,displaysthecorrespondingitemonthe20x4LCD.Thesmarttrolleysystemiscapable of displaying items available on each aisle in the supermarket, and also helps in identifying items/products placed into the trolley,measuretheirweight,anddisplaytheirpriceontheliquidcrystaldisplay,thereaftersendthedataviatheinfraredLED to the TSOP1838 receiver interfaced with the computer. The automated smart trolley is known to be an effective means of reducinglongqueuesexperiencedduringshopping.

VI. FUTURE WORK

Despitethelimitationsofthisdesignandobservationmadeduringtestingproper,thefollowingsuggestionsweremadefor furtherstudies:

I. Automaticmovementofthetrolleycouldbeconsideredinfuturework.

II. The smart trolley could interact with customers during a shopping trip. For example, passing on discount vouchers basedonwheretheyareinthesupermarket.

III. Thesmarttrolleycouldbeenhancedtobeusedinlibrariestoborrowbook,andbookstorestopurchasebooks.

IV. Theconcept behind thiswork couldalsobe used in the departmentto implement a system thatinformstheheadof departmentastowheneachandeverystaffarrivesandleavestheworkplace.

V. SwappingtheATMcardwiththissystemtodebitfromthebankaccountatonce.

REFERENCES

[1]U.Stanley,N.Nkordeh,C.Ochonogor,A.Peter,O.Alashiri,andI.Joshua,“AReview:ThePast,PresentandFutureofRadio Frequency Spectrum in Nigeria, Canada, United Kingdom, Ghana”, International Research Journal of Engineering and Technology (IRJET), Vol.05Issue:03pp.1034-1039,March2018.

[2] S. Kulkarni, A. Darekar and P. Joshi, “A Survey on Li-Fi technology”, 2016 International Conference on Wireless Communications, Signal Processing and Networking (WiSPNET),2016pp.1624-1625,2016

[3] P. Krishnan “Design of Collision Detection System for Smart Car Using Li-Fi and Ultrasonic Sensor”, IEEE Transactions on Vehicular Technology, 2018Citationinformation:DOI10.1109/TVT.2018.2870995

[4] S. Wafa M. Elbasher, B. Amin A. Mustafa, and A. A. Osman “A Comparison between Li-Fi, Wi-Fi, and Ethernet Standards”, International Journal of Science and Research (IJSR) Vol.4Issue12,pp.1-4December,2015

[5] M. Banusundareswari, R. S. Vishnu, G.Gowshik, S.Prakash, and S.Aravinth “Automation of Shopping Cart using Raspberry Pi”, Students Journal of Electrical and Electronics Engineering,IssueNo.1,Vol.4,pp.25-28,2018

[6]P.Ramya,C.Aravind,N.Mouriya,andS.Pavithra“SmartShoppingforVisuallyImpairedusingRFID”, International Journal of Information and Computing Science (IJICS) Vol.6,Issue3,March2019

[7]T.K.Reddy,E.Ranadheer,K.Roopa,T.Kavitha,andY.D.S.Raju“SmartTrolleyusingRFIDandZIGBEE”, Journal of Advanced Research in Technology and Management Sciences (JARTMS) Vol.02 Issue03,June 2020

[8]L.Yathisha,A.Abhishek,R.Harshith,S.R.DarshanandK.M.Srinidhi“Automationofshoppingcarttoeasequeueinmalls by using RFID”, International Research Journal of Engineering and Technology (IRJET) Vol. 02 Issue: 03 pp. 1435-1441 June, 2015

International Research Journal of Engineering and Technology (IRJET) e-ISSN:2395-0056 Volume: 10 Issue: 05 | May 2023 www.irjet.net p-ISSN:2395-0072 © 2023, IRJET | Impact Factor value: 8.226 | ISO 9001:2008 Certified Journal | Page1293

[9] K. Dawkhar, S. Dhomase, and S. Mahabaleshwarkar “Electronic Shopping Cart for Effective Shopping based on RFID”, International Journal of Innovative Research in Electrical, Electronics, Instrumentation and Control Engineering (IJIREEICE) Vol. 3,Issue1,pp.84-86,January2015

[10] V.Padmapriya, R.Sangeetha, R.Suganthi, and E.Thamaraiselvi “Lifi Based Automated Smart Trolley Using Rfid”, International Journal of Scientific & Engineering Research,Vol.7,Issue3,pp.1026-1030,March2016

[11] K. Gupta, Agilandeeswari, “RFID and LI-FI based intelligent shopping cart”, International Journal of Pure and Applied Mathematics, Vol.120No.6pp.9525-9538,2018

[12]R.Priya,N.A.Swetha,G.Krishnakumar,S.Kaliappan,andP.Jeyabharathi“ElectronicSmartCartwithBillingAssistance in Super Market” International Journal of Technical Innovation in Modern Engineering & Science (IJTIMES) International Conference on Recent Explorations in Science, Engineering and Technology (ICRESET’19) Vol. 5, pp. 1-4, Special Issue- March, 2019

International Research Journal of Engineering and Technology (IRJET) e-ISSN:2395-0056 Volume: 10 Issue: 05 | May 2023 www.irjet.net p-ISSN:2395-0072 © 2023, IRJET | Impact Factor value: 8.226 | ISO 9001:2008 Certified Journal | Page1294

Turn static files into dynamic content formats.

Create a flipbook