Smart Pill Reminder and Monitoring System

Page 1

Smart Pill Reminder and Monitoring System

Abstract - A new reminder system based on Internet of Things (IoT) has been created to aid individuals, particularly those suffering from dementia, who often neglect their health. The system includes an IoT device and an Android application, aiming to alleviate the burden of daily medication for patients. Through data analysis, the system detects when medication needs to be taken and sends timely notifications via the mobile application. This solution not only benefits dementia patients but also proves useful for others. By utilizing an IoT-enabled Arduino device and an infrared (IR) sensor, the system can monitor whether the patient has taken their medicine, ensuringproper healthcare management.

Key Words: Reminder system, IOT, Dementia, medicine scheduler,IRsensors.

1. INTRODUCTION

Nowadays,peopleareoftencaughtupintheirbusylives andtend to prioritize work over their health. As a result, commondiseaseslikediabetesandhighbloodpressurehave become more prevalent. It can be challenging for elderly individualstokeepupwiththeirdailymedication,andeven younger people face similar difficulties. Many family members struggle to provide constant assistance to their loved ones who require regular care. However, it is not alwaysfeasibleforustoremindthemabouttheirmedication schedulesallthetime.Toaddressthisissue,weneedasystem that can monitor patients and provide care. With the prevalenceoftechnologyinourlives,wecanleverageitina waythatbenefitsus. Mobile phonesare nolongerjust for making calls; they can now be equipped with embedded sensors that enable various applications, including healthcare,socialnetworks,andenvironmentaltracking.In the healthcare sector, the use of mobile phones is increasinglyvaluable.TheInternetofThings(IoT)canplaya crucialroleinmonitoringreal-timeconditions,anditoffers anefficientmeansofstoringdatacollectedbysensordevices inthecloud.OurprojectaimstoutilizeIoT-enableddevices tocontrolanintegratedmonitoringsystem.Additionally,we willdevelopanAndroidapplicationthatassistspatientsby remindingthemoftheirmedicationintakeandmore.

2. LITERATURE REVIEW

AccordingtotheWorldHealthOrganization,morethan 80% of individuals aged 60 and above are prescribed

medicationsthatneedtobetaken2to4timesperday.Dueto theriseincardiovasculardiseasesanddiabetesamongthisage group, it has become essential to ensure regular administrationofmedicines.However,asignificantportion of this population, around 40-60%, faces difficulties in rememberingto take their medications at the right time. Currentlyavailabletechniquesinthemarket,suchasusing alarmsandpillboxes,donotaddresstheissuesofoverdose or incorrect dosage. These methods rely on a clock that generatesanalarmafterasettimehaspassed.Furthermore, thereisoftenalackoftimelyremindersforrefillingthepill box, leading to interruptions in the course of therapy. To addressthesechallenges,thesensingofpillboxslotscanbe doneusingeitherLoadSensingmethodologyorLight-based sensing.Slot-basedsensingoffersseveraladvantages,such as the ability to detect individual moments of medication intake,therebyidentifyingproblemsrelatedtooverdosing and incorrect dosage. A comprehensive survey has been conductedtoanalyzeandcomparedifferentmodesofslot sensing,boththeoreticallyandpractically.

Fig-1: 1GMobileApplication

Mei-YingWangetal.developedasystemcalledWedjat, whichservesasareminderforuserstotaketheirmedications attheappropriatetimes.Italsohelpsuserskeeptrackoftheir medication records and provides a means for healthcare professionalstoreviewthem.[1]

Guanling Chen et al. introduced a Mobile-phone based PatientComplianceSystem(MPCS)aimedatstreamliningthe time-consuminganderror-proneproceduresassociatedwith currentself-regulationpractices.Thesystemassistsinselfreporting,detectingnoncompliance,andprovidingreminders to promote medication adherence.[2]A mobile reminder system, basedon video technology,has been developedto

International Research Journal of Engineering and Technology (IRJET) e-ISSN: 2395-0056 Volume: 10 Issue: 05 | May 2023 www.irjet.net p-ISSN: 2395-0072 © 2023, IRJET | Impact Factor value: 8.226 | ISO 9001:2008 Certified Journal | Page764
Dr. Sreelakshmi 1 , K. Varshini2 , K. Yoshitha3 , S.Tharun4 1Assistant Professor, Institute of Aeronautical Engineering, Hyderabad, Telangana. 234Student of Electronics and Communication Engineering, Institute of Aeronautical Engineering, Hyderabad, Telangana.
***

providememorysupportforindividualsintheearlystagesof Alzheimer'sdisease.[3]

My MediHealth is a mobile application specifically designedforchildrenandaccessibleondeviceslikepersonal digitalassistants.Itspurposeistoprovideagraphicaluser interfacethatallowsuserstocreatedrugschedulesandsetup analarmsystemtoremindpatientsofmedicationtimesand otherrelevantdetails [4]

Zaoetal.havedevelopedanapplicationthatservesasa smartphoneapplicationwiththeaimofassistingpatientsin preventingmedicationadministrationerrors [5].

PrasadBhasintroducedanapplicationcalled'Medicine updateexpert'thatallowsuserstosetupto15medication reminders.Theappofferstwooptionsforreminderpatterns: repeating or non-repeating alerts. Users can choose one patternatatime,andthereshouldbeaminimumone-hour gapbetweentworeminderpatterns.[6]

Hamidaetal.haveproposedasecureandefficientsystem for monitoring and diagnosing insomnia called the inHabitationWearablesystem. [7]

An architectural framework for monitoring health of elderly people"byP.Raydiscussesa proposedframework formonitoringthehealthofelderlypeopleusingInternetof Things(IoT)technology.Theframeworkinvolvestheuseof varioussensorstomonitorhealthparameterssuchasblood pressure,heartrate,andbodytemperature,whicharethen transmittedtoacentralhubusingIoTprotocols.[8]

Thearticle"HomeTelehealthbyInternetofThings(IoT)" byS.S.AlmajeeddiscussesthepotentialofIoTtechnologyto improve home telehealth services. The article provides an overviewofIoTtechnologyanditsapplicationsinhealthcare, including remote patient monitoring, medication management,andfalldetection.[9]

The paper titled "The Intelligent Pill Box - Design and Implementation"byS.Huang,H.Chang,Y.Jhu,andG.Chenwas publishedin2014.[10]

The paper titled "Work Embedded Platform for Webbased Monitoring and Control of a Smart Home" was authored by C. List, O. F. Authors, D. Moga, N. Stroia, D. Petreus, R. Moga, and R. A. Munteanu. The paper was publishedin2015andappearsinissuenumber53,spanning pages1-3.[11]

Thepaperyouarereferringtoistitled"Intelligentpillbox: AutomaticandprogrammableAssistiveTechnologydevice" and was presented at the 2017 13thIASTED International Conference on Biomedical Engineering (BioMed) in Innsbruck, Austria. The authors of the paper are J. M. Parra,W. Valdez, A. Guevara, P. Cedillo, and J. OrtízSegarra.[12]

The M.S. thesis by G.H.-W. Kuo titled "Research and Implementation of Intelligent MedicalBox" describes the design and implementation of an intelligent medical box system that can monitor and dispense medication automatically.Thesystemconsistsofamicrocontrollerunit,a medicationbox,andauserinterface.[13]

The paper "Multidisciplinary Approaches to Achieving EfficientandTrustworthyeHealthMonitoringSystems"was presentedatthe2014IEEE/CICInternationalConferenceon CommunicationsinChina(ICCC).Theauthorsofthepaper areA.Sawand,S.Djahel,Z.Zhang,andF.Na. [14]

3.EXISTING METHOD

Thedeliveryofhealthcareservicestopatientsischanging asaresultoftechnologicaladvancement.Theprimarymobile computerandcommunicationdevicesofsmartphonestoday not only serve as communication devicesbut also come equipped with a range of built-in sensors. These sensors enablediverseapplicationsacrossvariousindustriessuchas homecare,healthcare,socialnetworks,safety,environmental monitoring, e-commerce, and transportation. In modern healthcaresystems,theuseofimobiledevicesisincreasingly prevalent.Mobiletechnologyplaysacrucialroleinmanaging chronic diseases, empowering elderly individuals and expectant mothers, send medication reminders at precise times,extendingservicestounderservedareas,andenhancing health outcomes and the efficiency of the medical system. Mobile phones are not only feature-rich and powerful but alsocost-effectiveduetoadvancementsinvarioustechnology domains. In addition to their primary purpose ofipersonal communication and entertainment, they can be effectively utilized in various health and wellness monitoring applications. The widespread availability of user-friendly smartphones with multi-touch interfaces, multimedia capabilities, and robust embedded systems, such as the iPhoneandHTCTouch,hascontributedtotherapidgrowth ofsmartphoneandmobileinternetusageworldwideinrecent years.Thesedevicesofferintuitiveusageandaccessibility, makingthemsuitableforindividualsofallabilities,including disabledandelderlypatients

International Research Journal of Engineering and Technology (IRJET) e-ISSN: 2395-0056 Volume: 10 Issue: 05 | May 2023 www.irjet.net p-ISSN: 2395-0072 © 2023, IRJET | Impact Factor value: 8.226 | ISO 9001:2008 Certified Journal | Page765
Fig2:BlockDiagramofexistingmodel.

Themaincomponentsusedintheexistingmethodwas, PowerSupply5v.

ARDUINO-UNOmicrocontroller.

Relay.

Irsensor.

LCD.

GSMmodule.

4. PROBLEM IDENTIFICATION AND SOLUTION

Themicrocontrollerthatservesasthemaincomponentof the circuit in the current version is the Arduino Uno. A microcontrollerisconnectedtoanIRsensorinaccordance withourblockdiagram.Monitoringthemedicationtoseeif the box is empty is the drawback in this situation. Even if there is a Buzzer alerting system, it is still a prototype. In addition,sincemostofthesemodelsaremadetoorder,only thepersonwhocreatedordesignedthemcanusethem;itis notpossibleforseveralpeopletoutilizethem.Thecurrent model makes it difficult for the carer by failing to deliver alertsregardingthenumberofpillspresentinthepillboxand failingtosavethedatainthecloud.

Thissectiondiscussesthelimitationsofthecurrentmodel and proposes future work to address them. The proposed solutioninvolvesintegratinganESPmoduleandbuzzerto overcometheexistingmodel'slimitations.TheESPmodule and buzzer can enhance the system's capabilities significantly. There have been advancements and improvements made to the indicators and buzzers, which havebeenincorporatedintoourproposedsystem.

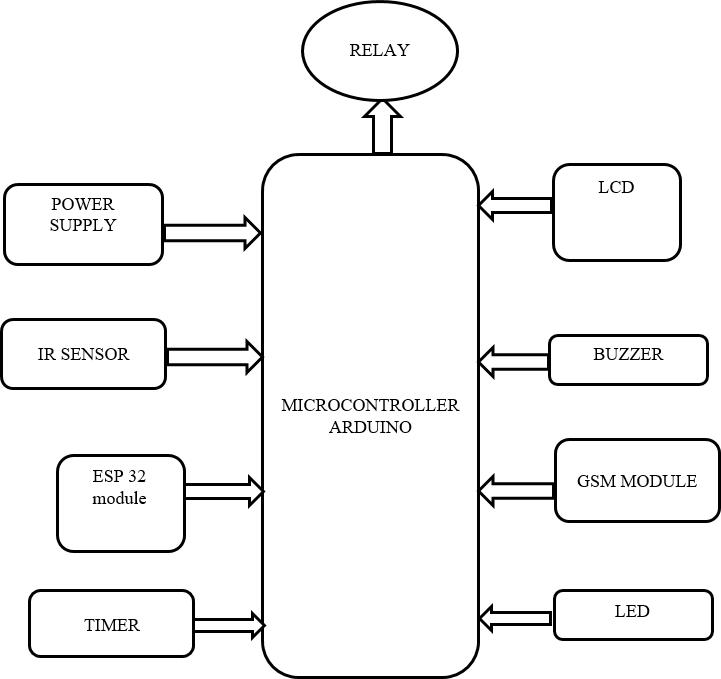
5. PROPOSED SYSTEM

Thesuggestedmodelhasmanyupgradesandadvantages over existingsmart pill reminder and monitoringsystems. TheadditionoftheESPmodule,whichoffersanAndroidappto updatethedatatothatappsothecaretakermaywatchthe patient,isthereasonwerefertoitasa"smartpillreminder." Thebuzzerbeingutilizedhereisadvantageousforthosewho areblindsincetheycanhearthebuzzer.

Theimportantcomponentsinproposedmethodare,

ESPmodule

IRsensor

Arduinomicrocontroller

5vPowersupply.

GSMModule.

Buzzer.

LCDDisplayforlevelandrealtimesensingdata

International Research Journal of Engineering and Technology (IRJET) e-ISSN: 2395-0056 Volume: 10 Issue: 05 | May 2023 www.irjet.net p-ISSN: 2395-0072 © 2023, IRJET | Impact Factor value: 8.226 | ISO 9001:2008 Certified Journal | Page766
Fig3:ESPmodule Fig4:Buzzer

DuetobenefitslikethebuzzerandEspmodule,theexisting system may be preferred over the suggested solution. The notification is updated in the Android app and is communicated to the smartphone by GSM when the time limitismetbytheirsensor,whichalsoidentifiestheareaif thepillisconsumed.Ifthemedicationisnottaken,anotice stating"Mednottaken"isdeliveredtothecaregiver'sappand totherespectedpersonthroughSMSviaGSMmodule.

6. IMEPLEMENTATION

A. Hardware Interface

In oursystemconcept,we have developeda smartIoT boxthatincorporatesanalarmandstoragecompartmentfor medications. The essential components used in its design includeanArduinoUnomicrocontroller,IRsensors,abuzzer, apillbox,andjumperwires.

Thereareseveralpossiblehardwareinterfacesthatcould beusedforasmartpillreminderandmonitoringsystem.A Bluetooth:Bluetoothinterfacecouldbeusedtoconnectthe smartpillreminderandmonitoringsystemtoasmartphone or other mobile device. This would allow users to receive remindersandtracktheirmedicationusethroughanapp.

Wi-Fi: A Wi-Fi interface could be used to connect the smart pill reminder and monitoring system to a home network,allowinguserstoreceiveremindersandtracktheir medicationusethroughawebinterface.

B. Hardware Requirements

TheArduinoUnoisapopularmicrocontrollerdeveloped byArduino.cc.Itisaversatileandaffordabledevicebasedon the Atmega328 microcontroller. With the advancement of electronicdevices,theyhavebecomesmaller,moreflexible, and cheaper, while also being capable of performing more functions. Microcontrollers play a significant role in embeddedsystems,enablingdevicestooperateaccordingto specificneedsandrequirements.Jumperwiresarecommonly used to transfer electrical signals between two points ina circuit.Theyareoftenusedfortroubleshootingcircuitdefects ormakingchangestothecircuitconfiguration

IRsensor:IRwirelessreferstotheutilizationofwireless technology in devices or systems that transmit data using infrared (IR) radiation. Infrared refers to electromagnetic energy with wavelengths slightly longer than those of red light.Theshortest-wavelengthIRislocatedattheborderof visibleredlightintheelectromagneticspectrum,whilethe longest-wavelengthIRapproachestherangeofradiowaves.

International Research Journal of Engineering and Technology (IRJET) e-ISSN: 2395-0056 Volume: 10 Issue: 05 | May 2023 www.irjet.net p-ISSN: 2395-0072 © 2023, IRJET | Impact Factor value: 8.226 | ISO 9001:2008 Certified Journal | Page767
Fig5:BlockdiagramofProposedModule Fig6:HardwareInterface Fig7:Arduino

ESP module: The ESP module is a chip developed by Espressif Systems, which offers embedded devices Wi-Fi connectivity and, in certain models, dual-mode Bluetooth capabilities.

Although ESP technically refers to the chip itself, manufacturersoftenusethetermtoencompassmodulesand development boards that incorporate this chip. These ESP models come with Wi-Fi and Bluetooth connectivity, or sometimesjustWi-Fiiconnectivity.TheESPchipisprimarily designedforuseinmobiledevices,wearabletechnology,and InternetofThings(IoT)applications,suchasNabto.

Additionally, Mongoose OS has introduced an ESP IoT StarterKit,furthersolidifyingtheESP'sreputationasatop choiceforhobbyistsanddevelopersworkingonIoTprojects.

usingtheArduinoIDE,firstinstallitonyourcomputerand connecttheArduinoboardviaUSBcable.OpentheArduino IDEandselecttheappropriateboardbynavigatingtoTools

> Boards > Arduino/Genuino Uno. Choose the correct PortbyselectingTools>Port.ArduinoUnoisprogrammed usingtheArduinoprogramminglanguage,whichisbasedon Wiring.TostartwiththeArduinoUnoboardandmakethe built-inLEDblink,loadtheexamplecodebyselectingFiles

> Examples>Basics>Blink.Oncetheexamplecode(also providedbelow)isloadedintotheIDE,clickonthe'upload' button located on the top bar. Once the upload process is complete, you should observe the Arduino's built-in LED blinking.Theterm"sketch"referstoanArduinoprogram.

D. System Architecture and Working Procedure

Thepillremindersystemcanbedesignedasfollows:

 The device incorporates various methods toremindthepatienttotaketheir medication.

 Ithasacapacitytostoreupto10dosesof pills.

 The deviceallows family members or caregiverstoremotelymonitorthepatient's medicationintakeandactivity.

 Sensors are implemented to detect the statusofthemedication,whetherithasbeen takenornot.

 Thesystemprovidesanalertwhenthestock ofmedicineisrunninglow.

C. Software Implementation

TheArduinoSoftwareisafreelyavailablesoftwarethat simplifies the process of coding for Arduino boards. It includes a text editor for writing code, and the programs written for Arduino are referred to as sketches. These sketchesaresavedwiththe'.ino'extensionandarestoredin adesignatedlocationknownasthesketchbook.Thissoftware is compatible with all Arduino boards and allows users to easilywriteanduploadcodetotheirchosenboard.

The Arduino software is open-source, with the Java environment'ssourcecodereleasedundertheGPLandthe C/C++ microcontroller libraries under the LGPL. To begin

OperationalProcess: Thepilldispenserisloadedeither bythepatientthemselvesorwiththeassistanceofsomeone else. The information about the medications is storedina clouddatabase,andremindersaresetaccordingly.Thesystem canaccessthestoredinformationandgenerateremindersfor theusertotaketheirmedication,sendingnotificationstoa mobileapplication.Thesystemprovidesalertswhenit'stime to take medication, and these details are automatically updated fromthecloud.

International Research Journal of Engineering and Technology (IRJET) e-ISSN: 2395-0056 Volume: 10 Issue: 05 | May 2023 www.irjet.net p-ISSN: 2395-0072 © 2023, IRJET | Impact Factor value: 8.226 | ISO 9001:2008 Certified Journal | Page768
Fig8:IRsensor Fig9:ESPmodule

1. When the patient takes the pills and opens the dispenserlid,aninfrared(IR)detectorconnectedtothelid detectsthelidopeningandsendsthesignaltoanArduino. TheArduinoiscapableofstoppingthereminder,andthis eventcanberecordedasthesuccessfulintakeofmedication bythepatient.

2. Ifthepatientfailstotakethemedicationorrefusesto doso,thedispenserlidremainsclosed,causingthereminder to automatically stop after a predetermined time and allowing for a snooze option. If the medication is missed againbythepatient,thesystemwillsenda notificationto themobileapplication,promptingamessagetobesentto thepatient,remindingthemthattheyhavemissedadose.

7. RESULTS AND DISCUSSION

Smartmedicinereminderapplicationhelpspeoplewho sufferwithdementiai.e.,theyforgettotakemedicineontime. Ourprojectgeneratesalarmsignalstoremindaiipatientto take medication. We focus on helping patients and improving the monitoring system of medication. Smart medicinereminderconsistsofarduino,ESPmodulewhichisa Wi-Fimodulehelpsincreatingthedatabaseinthecloud.This remindswheneverthepillboxhaslessthan5pills.Smartpill reminder reminds the patient to take medicine by buzzer soundormobilenotificationalongwiththemedicinename.

This is most useful for the people with dementia and who needsacaretaker.

Oncethekitisgiventhepowersupplythentheworking begins.

AssoonasthekitisstartedtheLCDdisplayshowsasbelow:

International Research Journal of Engineering and Technology (IRJET) e-ISSN: 2395-0056 Volume: 10 Issue: 05 | May 2023 www.irjet.net p-ISSN: 2395-0072 © 2023, IRJET | Impact Factor value: 8.226 | ISO 9001:2008 Certified Journal | Page769
Fig10:Flowchartofsystemdesign. Fig11:HardwareInterfaceofthesmartpill reminder. Fig12:LCDdisplayingthetitle Oncetheandroidaddsandthemobilenumberisconnected thentheLCDshowsasabove.

Oncethetimerissetandthealarmrings‘MedicineReminder’ andthecountofthepillsissentviaSMSthroughGSM.

8. CONCLUISION

In summary, the mobile application named Medicare servesasaremindersystembygeneratingalarmsignalsto promptpatientstotaketheirmedication.Itsprimaryfocusto assist patients and enhance the monitoring system. The application,Medicare,iseasilyiaccessible,anditcombinesa sensing system with an Android application to track and measure apatient's medication intake in real-time. The utilization ofsensors and other healthcare IoT devices improves patientcare and enables continuous monitoring. By implementingourproposedframework,wecanachieve better complianceand adherence to medication schedules. Thisframeworkensures patient safety, prevents incorrect dosages, andsupportsmedicationadherence.

9. FUTURE SCOPE

The proposed system can be enhanced by increasing the capacity of the pill and mobile application usage by the caregiver.Thefeaturessuchasheartbeatratemonitoring, pulsemonitoring,identificationofthepilltobetaken,doctor search,andmorecanbeadded.Asanenhancementtothe drugupdateframeworkbyintroducingadditionalfeatures throughthemobileapplicationandintegratingwithother healthcare services. Developing a data-sharing feature between patients and healthcare professionals. Implementing

avoice-alertnotificationsystemthatnotonly alertsthepatientbutalsoprovidesinformationtothemcan beconsidered.

REFERENCES

[1] Mei-Ying Wang, John K. Zao, P.H. Tsai, J.W.S. Liu, “ Wedjat:AMobile Phone Based Medicine In- take Reminder and Monitor”, Ninth IEEE International Conferen ce on Bioinformatics andBioengineering,2009.

[2] GuanlingChen,BoYan,MinhoShin,DavidKotz,Ethan Berkel, “MPCS: Mobile-Phone Based Patient Compliance System for Chronic Illness Care”, 2009.Mark Donnelly, Chris Nugent, Sally

International Research Journal of Engineering and Technology (IRJET) e-ISSN: 2395-0056 Volume: 10 Issue: 05 | May 2023 www.irjet.net p-ISSN: 2395-0072 © 2023, IRJET | Impact Factor value: 8.226 | ISO 9001:2008 Certified Journal | Page770
Fig 13: LCD displaying that the kit and mobile network is connected Thebelowfigureisdisplayedintheandroidappbythe ESPmodule Fig14:Theandroidappdisplayingthealertandcountof thepills

McClean,Bryan Scotney, “A Mobile Multimedia TechnologytoAidThosewithAlzheimer’sDisease”, PublishedbytheIEEEComputerSociety2010.

[3] Mark Donnelly, Chris Nugent, Sally McClean, and BryanScotney,“AMobileMultimediaTechnologyto Aid Those with Alzheimer’s Disease”, Published by theIEEEComputerSociety2010.

[4] lagle, J.M., Gordon, J.S., Harris, C.E., Davison, C.L., Culpepper, D.K.,Scott P. and Johnson, K.B., (2011) “MyMediHealth–Designinganextgenerationsystem forchild-centeredmedicationManagement”,Journal ofBiomedicalInformatics,Vol.43,No.5.

[5] Zao, J.K., Wang, M.Y., Peihsuan, T. and Liu, J.W.S., (2010)” Smart Phone Based Medicine In-take Scheduler, Reminder and Monitor”,IEEE e-Health NetworkingApplicationsandServices(Healthcom).

[6] Prasad, B., (2013) “Social media, health care, and socialnetworking”,GastrointestEndosc.Vol.77.

[7] S.T.-B. Hamida, E. Ben Hamida, B. Ahmed, and A. AbuDayya. Towards efficient and secure in-home wearableinsomniamonitoringanddiagnosissystem. 13th IEEE Int. Conf. Bioinforma. Bioeng.pp. 1– 6; 2013.

[8] P.Ray.HomeHealthHubInternetofThings(H3IoT): Anarchitecturalframeworkformonitoringhealthof elderlypeople.Sci.Eng.Manag.Res.,pp.3–5,2014.

[9] S. S. Al-majeed. Home Telehealth by Internet of Things(IoT).pp.609–613;201.

[10]S.Huang,H.Chang,Y.Jhu,andG.Chen.TheIntelligent PillBox-DesignandImplementation.pp.235–236; 2014.

[14]A. Sawand, S. Djahel, Z. Zhang, and F. Na. MultidisciplinaryApproachestoAchievingEfficient and Trustworthy eHealth MonitoringSystems. Commun. China (ICCC), 2014 IEEE/CIC Int. Conf., pp.187–192;2014

C.List,O.F.Authors,D.Moga,N.Stroia,D.Petreus,R. Moga, and R. A. Munteanu. Work Embedded PlatformforWeb-basedMonitoringandControlofa SmartHomeno.53,pp.1–3;2015.

[11] [12] J.M.Parra,W.Valdez,A.Guevara,P.CedilloandJ. OrtízSegarra, "Intelligent pillbox: Automatic and programmable Assistive Technology device," 2017 13thIASTEDInternationalConferenceonBiomedical Engineering(BioMed),Innsbruck,Austria,2017,pp. 74-81,doi:10.2316/P.2017.852-051.

[13] G H.-W. Kuo, “Research and Implementation of Intelligent MedicalBox,” M.S.thesis, Department of ElectricalEngineering,I-ShouUniversity,Kaohsiung, TW,2009.

International Research Journal of Engineering and Technology (IRJET) e-ISSN: 2395-0056 Volume: 10 Issue: 05 | May 2023 www.irjet.net p-ISSN: 2395-0072 © 2023, IRJET | Impact Factor value: 8.226 | ISO 9001:2008 Certified Journal | Page771

Turn static files into dynamic content formats.

Create a flipbook