Smart ID for Blind People’s

Page 1

Smart ID for Blind People’s

Assistant Professor, Dept. of Computer Science and Engineering, Maharaja Institute of Technology, Thandavapura

2,3,4,5 Students, Dept, of Computer Science and Engineering, Maharaja Institute of Technology, Thandavapura ***

Abstract - Thestudyoutlinesatheoreticalframeworkand asystemdesignforasmartIDsystemforblindindividuals. The system's overall measurements are meant to include artificialvisionandobjectdetectionaswellasreal-timeGPS support.Thesystemincludesproximitysensors,ultrasonic sensors,aGPSmodule,stereocameras,andadualfeedback system in addition to auditory and vibratory feedback circuits.Theoverallsystem'sgoalistogiveblindpeoplea low-cost, effective navigational aid that gives them a sensationofartificialvisionbysupplyingdetailsaboutthe environmentandthestaticandmovingitemsnearby

Key Words: Arduino, GSM module, GPS module, IR sensor, and ultrasonic sensor.

1.INTRODUCTION

Whenwecannotrelyonourownsight,navigatingin an unfamiliar area becomes a significant difficulty. Blind persons improve their sense of hearing to locate dynamic impediments because they frequently make sounds while moving. The most popular mobility aid for the blind is a white cane. It does not, however, provide information on barriersthatarehigherthankneelevelorfartherawaythan one metre. Even though blind people's first companions were guide dogs, technology later on became extremely important.Toassisttheblind,elbowcanes,walkingsticks withchangeablelengths,weremanufacturedforthemarket. Theseinitiativesdidnotentirelysucceedinhelpingtheuser, nevertheless. To resolve these problems The Ultrasonic sensor for Obstacle detection, backed by heat and water detection, is part of the Smart electronic aid's design. Vibratorymotorsareutilisedinthissystemtoalertusersto movingobstacles.Thespeedofthemovingobstaclesaffects thevibration'sintensity.

To create a wonderful tool that gives the user a betterwalkingexperience,muchresearchisbeingdone.It includes Smart Vision. Both moving and stationary impedimentscanbedetectedbythegadget.Thegadgetcan identifyparticularlocationsandwilllettheuserknowhow farawayanobstructionis.Anothertoolthatcanbeinstalled on the current white cane and detect low-hanging objects like tree branches is called HALO. It is made up of an eccentric-mass vibrating motor and an ultrasonic range sensorthatvibratesnoticeablyinresponsetoobstacleson

the ground and in low hanging areas. An intelligent guide stickcanuseultrasonicsensorstoidentifyobstructions,but itcannotdeterminewhethertheimpedimentismovingor not.

Forpersonswithvisualimpairments,Smartidisa specialandusefultoolthatallowsforimprovedandsimple navigation. We are aware that persons with vision impairmentsrelyonotherpeopleorcertainanimals,suchas traineddogsorawoodstick,tomovearoundthehouseor outside. We suggested a creative Smart id that makes it simple for persons with visual impairments to navigate utilising cutting-edge technologies. In order to enable the guardianoftheblindsubjectfindtheirwhereaboutsinthe event that they become lost or encounter a crisis, we included safety features using GSM Module. The guardian willreceiveanSMSwiththesubject'slocationandcanthen callthesubjecttofindoutwheretheyare.Byfabricatingthe entire module, we also improved the stick's ability to functioninwetconditions.Ourideaisaspeech-basedsmart id that leverages WI-FI technology for navigation and prerecordedvoicecommandsforguiding.

1.1 Overview

Themajorgoalofthisstudyistoassistthosewho areblindinnavigatingbyassistingtheminspottinghazards. Additionally,itmakesiteasierforindividualstonavigatethe streetson theirown withoutthe need for assistance. This alsoseekstokeepusersawayfromhazardousareas.

1.2 Problem Statement

Current Augmented Reality and Virtual Reality games are too expensive as the need of costly sensors to recognize movements is very high. Training of players, athletesanddancers’postureandresponsetimecurrently needsanexperiencedhumansupervision.Motiondetection usingcamerasisnotmuchusedingamedevelopmentdueto itsaccuracyIssuesalsoasithindersprofitmarginofconsole developers.Understandingcommunity,andprovidemental healthguidance.

2. EXISTING SYSTEM

Therearenumerousgadgetscurrentlyavailableto detectobstaclesusingeyewear,a walkingstick,andother

International Research Journal of Engineering and Technology (IRJET) e-ISSN: 2395-0056 Volume: 10 Issue: 04 | Apr 2023 www.irjet.net p-ISSN: 2395-0072 © 2023, IRJET | Impact Factor value: 8.226 | ISO 9001:2008 Certified Journal | Page1703
Mrs. Sumaiya1 , Ms. Bhoomika M2 , Mr. Chandan Kumar3 , Ms. Honika GB4 , Ms. Supritha S5 1

means. These devices have a limited range of object detection,whichmakesthemunusableinmanysituations. The presence of bumps, potholes, and other road hazards cannotbedetectedbythisequipment

3. PROPOSED SYSTEM

The current system must definitely be improved. Thetaginthissystemhasanembeddedsensorandcamera for object detection. Through voice aid, the user will be informedaboutthechallengethatliesahead.Theobjectscan befoundbetweencertaindistance Thefamilymemberswill beinformedoftheuser'slocationutilizingthissystem.

4. SYSTEM DESIGN

Theproposeddesignofapplicationofinternetofthingsand acombinationofandroidandcloudtechnology.

5.MODULE DESCRIPTION

Sensor Manager Module: Asensorisadevicethatmeasures anobjectivephysicalquantityandtransformsitintoasignal thatcanbedecodedbyahumanobserveroraninstrument. The accelerometer found in mobile phones is used in this project.Atoolfordetectingaccelerationandforcescaused by gravity is an accelerometer. Depending on how the accelerometerismovingorvibrating,theseforcesmaybe dynamic or static, such as the continual pull of gravity on yourfeet.Anaccelerometercalculatesitsaccelerationand gravity.Botharefrequentlyexpressedintermsofg-forceor in SI units, meters/second2 (ms-2). In this project, the accelerometerdetectsafall,afterwhichtheprogrammeis launched.

Threshold Manager Module: Settingupeventsandalerts (also known as thresholds) is simple using Threshold Manager(TM).Whenathresholdvalueissurpassed,areport is generated. A threshold is a test of one variable against another.Theresultisthatitgrowstothebiggestnetworks withminimaltrafficoverhead.Ifwedon'thaveamechanism toextracttheinformationfromthedevice,justevaluatingif variablesexceedorgobelowthresholdlevelsisn'tgoingto beveryuseful.Trapsarelikelysomethingwewishtouseto alert us to major happenings. The mere logging of less important threshold crossings could enough for us. The threshold value that is compared with the accelerometer data inthis projectcan bechanged bytheuser. Thevalue mustnotexceed

Contact Manager Module: Inthislesson,we'llgothrough howtoaddpeopletoyoursocialcontactlist.Itispossiblefor theusertoaddmorethanonesocialcontacttothelist.When a fall isdetected,a notificationisdeliveredindividuallyto eachcontact.Therearealsochoicesprovidedtotheuserso thattheymayaddcontactsandremovecontacts.

International Research Journal of Engineering and Technology (IRJET) e-ISSN: 2395-0056 Volume: 10 Issue: 04 | Apr 2023 www.irjet.net p-ISSN: 2395-0072 © 2023, IRJET | Impact Factor value: 8.226 | ISO 9001:2008 Certified Journal | Page1704
Fig -1: Low-LevelSystemDesign Fig -2: IRSensorforsmartid

SMS Manager Module: The exchange of short written messagesbetweenfixed-linephonesormobilephonesand fixedorportabledevicesacrossanetworkisknownastext messagingortexting.Arobustruleeditorisavailableinthe SMS/MMSManagerandmaybeusedtoautomatemessage processing.Thisenablesthedeploymentofbothwidelyused situations,suchasSMSvotingpolls,andconsiderablymore intricateplans.

Reply Verification Module: The user-specified social contactreceivesthenotificationwhenafallisdetected.The password or keyword is then looked up in the reply message. The call is placed if the message contains the keywordandwassentbythesamecontact;otherwise,the messageisignored.

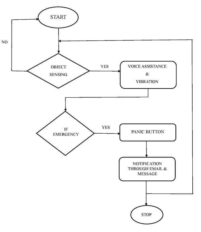
6.FLOWCHART

1.TheobjectissensedbytheIRsensorswhichisconnected toNodeMCU.

2.If the object is detected in left, then voice assistance is giventhroughthespeakerconnectedtoAPRkit

3.Iftheobjectisdetectedinright,thenvoiceassistanceis giventhroughthespeakeralongwithvibration

4.Iftheobjectisdetectedinbottom,thenvoiceassistanceis giventhroughthespeakerconnectedtoAPRkit

5. If the object is detected in top, then voice assistance is giventhroughthespeakerconnectedtoAPRkit

6.IfemergencyoccurspanicbuttonconnectedtoNodeMCU willbeoperatedbytheuser.

7.Thenotificationthroughemail(alongwithcapturedimage) andmessageissentwiththehelpof GSMmodule.

International Research Journal of Engineering and Technology (IRJET) e-ISSN: 2395-0056 Volume: 10 Issue: 04 | Apr 2023 www.irjet.net p-ISSN: 2395-0072 © 2023, IRJET | Impact Factor value: 8.226 | ISO 9001:2008 Certified Journal | Page1705
Fig -4: ContactManager Fig -4: SMSManager Fig -6: MethodologyFlowchart

8.Theimagealongwiththeexactlocationoftheusercanbe tracedandanalyzedbytheguardianwhohasreceivedthe notificationandmessage.

International Research Journal of Engineering and Technology (IRJET) e-ISSN: 2395-0056 Volume: 10 Issue: 04 | Apr 2023 www.irjet.net p-ISSN: 2395-0072 © 2023, IRJET | Impact Factor value: 8.226 | ISO 9001:2008 Certified Journal | Page1706
Fig -7: ClassDiagram Fig -8: SequenceDiagram 7.EXPERIMENTAL RESULTS Fig -9: LocationofBlindPerson Fig -10: LocationofBlindPerson Fig -11: PanicButtonImageview Fig -12: FrontObjectPicture

8. CONCLUSIONS

Thestudysuggestedabrand-newSmartIdconcept forblindpeople,completewitharchitectureanddesign.The system'sbenefitisthatitmayprovetobeaveryaffordable optionformillionsofblindpeoplethroughouttheworld.The suggested combination of multiple functional elements createsareal-timesystemthattrackstheuser'slocationand gives dual feedback, enhancing navigational security. This project created a smartphone app and server-based userfriendly navigation system for visually impaired persons. Whileusingthesystem,thesmartphonecontinuouslysends picturesofthesceneinfrontoftheusertoaserverovera Wi-Fi or 4G network. The server then goes through the recognitionprocedure. Thefinaloutputisreturnedtothe smartphone, which informs the user of obstacles through speechnotifications.Thisprojectalsoensuresthesafetyof theuser.

ACKNOWLEDGEMENT

Prof.Sumaiyaactedasourprojectadviser,andwe would like to sincerely thank her. We had Prof. Sumaiya's guidancewhileweworkedonthisproject,andshegaveus some excellent tips that helped us make it better than we had anticipated. Secondly, we would like to express our gratitudetoourprojectcoordinators,Dr.RanjitK.N.andDr. H.K.Chethan,whocontinuouslyencouragedusandassisted usincompletingthisprojectwithintheallottedtimeperiod. We also want to extend our sincere gratitude to our department's head, Dr. Ranjit KN, for giving us a venue to workonprojectsandshowhowouracademiccurriculumis put to use in the real world. We would like to thank our principal,Dr.YTKrishneGowda,forgivingusthechanceto completethisamazingprojectonthetopicof"SmartIDfor Blind People." This project has also assisted us in doing extensiveresearchandlearninghowtoapplyit.

REFERENCES

[1] A.Chou, J.Yang, B.Chelf, S.Hallem, and D.Engler. An Empirical StudyofAndroid OperatingSystems,In Proc. of 18th ACM Symposium on Operating Systems Principles (SOSP),P.73–88,2008.

[2]W.Gu,Z.Kalbarczyk,R.K.Iyer,andZ.Yang.Characterization of Linux Kernel Behavior, In Proc. of International Conference on Dependable Systems and Networks (DSN), 2007,P.4.

[3] Shaou-GangMiaou,Pei-HsuSung,andChia-YuanHuang. A customized human fall detection system using omnicamera images and personal information. pages 39–41. Proceedings of the 1st Distributed Diagnosis and Home Healthcare(D2H2)Conference,April2006.

[4]RickRogers,JohnCombardo,ZigardMednieksandBlake Meiko. Android Application Development, programming withGoogleSDK,May2000.

[5] Z. Zhou, X. Lan, S. Li, C. Zhu and H. Chang, "Feature Pyramid Outdoor Object Detection Algorithm for Blind People,"2019 IEEE 5th International Conference on Computer and Communications (ICCC), Chengdu, China, 2019,pp.650-654,doi:10.1109/ICCC47050.2019.9064251.

[6] Miss Rajeshvaree Ravindra Karmarkar, Prof.V.N. Honmane, “Object detection system for the blind with voiceguidance”InternationalJournalofEngineeringApplied Sciences and Technology, 2021 Vol. 6, Issue 2, ISSN No. 2455-2143, Pages 67-70 Published Online June 2021 in IJEAST(http://www.ijeast.com)

[7] Rohini Bharti, Ketan Bhadane, Pranav Bhadane, Ajjay Gadhe “Object Detection and Recognition for Blind Assistance” International Research Journal of Engineering andTechnology(IRJET)Volume06Issue05,May2019

[8]Prof.PradnyaKasture,AishwaryaKumkar,YashJagtap , AkshayTangade,AdityaPole,ASurveyon“ObjectDetection Algorithms for Visually Impaired People” International Journal of Advanced Research in Science, Communication andTechnology(IJARSCT)Volume3,Issue2,March2021

International Research Journal of Engineering and Technology (IRJET) e-ISSN: 2395-0056 Volume: 10 Issue: 04 | Apr 2023 www.irjet.net p-ISSN: 2395-0072 © 2023, IRJET | Impact Factor value: 8.226 | ISO 9001:2008 Certified Journal | Page1707

Turn static files into dynamic content formats.

Create a flipbook