System for Managing Vehicle Services

Page 1

11 I January 2023 https://doi.org/10.22214/ijraset.2023.48618

ISSN: 2321-9653; IC Value: 45.98; SJ Impact Factor: 7.538 Volume 11 Issue I Jan 2023- Available at www.ijraset.com

System for Managing Vehicle Services

Hari Chandra Prasad1 , Mrs. J. Mounika2 , Sangala Gopi3

1, 3Undergraduate Students, 1Assistant Professor, Department of Information Technology, KKR & KSR Institute of Technology and Sciences(A), Guntur, India.

Abstract: Vehicle owners can prevent unexpected automotive problems by routinely maintaining their vehicles. It's critical to identify car issues as soon as possible to stop them from becoming major problems. Vehicle owners routinely ask auto shops about servicing. Vehicle mechanics inspect important components and address issues to make sure they are in good shape and won't break down unexpectedly. Researchers conducted the study to assess the routine business transactions and activities in vehicle repair shops. Preliminary data collected by the researchers revealed that the majority of vehicle repair companies or garages continue to conduct daily transactions manually. Customer records, client interactions, billing, tracking the progress of auto repairs, and service updates are all still entered by hand. The capstone project, "System for managing vehicle services" will automate the operations and regular transactions of the car repair shop. The system will electronically streamline processes including managing car repair orders, maintaining maintenance logs, monitoring customer and transaction records, servicing updates, and billing. The system's installation will benefit both customers and auto shops. The company's use of the system will enable vehicle garages to grow and enhance operational effectiveness. Customers can easily and comfortably conduct business for vehicle servicing.

Keywords: Vehicle Service, Vehicle Garages, Repairs, Customer Records

I. INTRODUCTION

The project, entitled “System for Managing Vehicle Services” is designed for vehicle service management automation. This project will be built in Django that will offer allow vehicle garage to electronically process Recording of customer records, monitoring of vehicle repair progress, vehicle service updates, managing vehicle service orders, keeping maintenance records, transactions with clients, and billing. Vehicle garages are becoming popular as the number of vehicle owners is increasing. Vehicle owners often enquire about vehicle services in garages to check and repair problems in their vehicles. Regular vehicle servicing will help vehicle owners ensure that their vehicles function well and will not fail unexpectedly. The researchers have seen the need to upgrade the way how vehicle servicing garage operates. the "System for Managing Vehicle Services" capstone project. The system will electronically streamline processes including managing car repair orders, maintaining maintenance logs, monitoring customer and transaction records, servicing updates, and billing. The system's installation will benefit both customers and auto shops. The company's use of the system will enable vehicle garages to grow and enhance operational effectiveness. Customers can easily and comfortably conduct business for vehicle servicing.

International Journal for Research in Applied Science
Engineering
)
&
Technology (IJRASET
519 ©IJRASET: All Rights are Reserved | SJ Impact Factor 7.538 | ISRA Journal Impact Factor 7.894 |
Rayapati

ISSN: 2321-9653; IC Value: 45.98; SJ Impact Factor: 7.538

Volume 11 Issue I Jan 2023- Available at www.ijraset.com

II. OVERVIEW OF FRONTEND TECHNOLOGIES

A. HTML

The publishing language used by the World Wide Web is HTML (from Hyper Text Markup Language). HTML gives authors the means to - Publish online documents with headings, text, tables, lists, photos, etc. - Retrieve online information via hypertext links, at the click of a button - Design forms for conducting transactions with remote services, for use in searching for information, making reservations, ordering products etc. - Include spread - sheets, video clips, sound clips, and other applications directly in their documents.

B. Microsoft .NET Framework

The .NET Framework is a new computing platform that simplifies application development in the highly distributed environment of the Internet. The .NET Framework is designed to fulfill the following objectives:

1) To provide a consistent object-oriented programming environment whether object code is stored and executed locally, executed locally but Internet-distributed, or executed remotely.

2) To provide a code-execution environment that minimizes software deployment and versioning conflicts.

3) To provide a code-execution environment that guarantees safe execution of code, including code created by an unknown or semi-trusted third party.

4) To provide a code-execution environment that eliminates the performance problems of scripted or interpreted environments.

5) To make the developer experience consistent across widely varying types of applications, such as Windows-based applications and Web-based applications.

6) To build all communication on industry standards to ensure that code based on the .NET Framework can integrate with any other code.

The .NET Framework has two main components: the common language runtime and the .NET Framework class library. The common language runtime is the foundation of the .NET Framework. You can think of the runtime as an agent that manages code at execution time, providing core services such as memory management, thread management, and remoting, while also enforcing strict type safety and other forms of code accuracy that ensure security and robustness. In fact, the concept of code management is a fundamental principle of the runtime. Code that targets the runtime is known as managed code, while code that does not target the runtime is known as unmanaged code. The class library, the other main component of the .NET Framework, is a comprehensive, object-oriented collection of reusable types that you can use to develop applications ranging from traditional command-line or graphical user interface (GUI) applications to applications based on the latest innovations provided by ASP.NET, such as Web Forms and XML Web services.

a) ASP.NET Web Forms provide an easy and powerful way to build dynamic Web UI. b) ASP.NET Web Forms pages can target any browser client (there are no script library or cookie requirements).

c) ASP.NET Web Forms pages provide syntax compatibility with existing ASP pages. d) ASP.NET server controls provide an easy way to encapsulate common functionality. e) ASP.NET ships with 45 built-in server controls. Developers can also use controls built by third parties. f) ASP.NET server controls can automatically project both up level and down-level HTML. g) ASP.NET templates provide an easy way to customize the look and feel of list server controls. h) ASP.NET validation controls provide an easy way to do declarative client or server data validation.

III. OVERVIEW OF BACKEND TECHNOLOGIES

A. About Microsoft SQL Server 2000

Microsoft SQL Server is a Structured Query Language (SQL) based, client/server relational database. Each of these terms describes a fundamental part of the architecture of SQL Server.

1) Database

A database is similar to a data file in that it is a storage place for data. Like a data file, a database does not present information directly to a user; the user runs an application that accesses data from the database and presents it to the user in an understandable format.

International Journal for Research in Applied Science
)
& Engineering Technology (IJRASET
520 ©IJRASET: All Rights are Reserved | SJ Impact Factor 7.538 | ISRA Journal Impact Factor 7.894 |

ISSN: 2321-9653; IC Value: 45.98; SJ Impact Factor: 7.538 Volume 11 Issue I Jan 2023- Available at www.ijraset.com

A database typically has two components: the files holding the physical database and the database management system (DBMS) software that applications use to access data. The DBMS is responsible for enforcing the database structure, including: -Maintaining the relationships between data in the database. -Ensuring that data is stored correctly and that the rules defining data relationships are not violated. -Recovering all data to a point of known consistency in case of system failures.

2) Relational Database

There are different ways to organize data in a database but relational databases are one of the most effective. Relational database systems are an application of mathematical set theory to the problem of effectively organizing data. In a relational database, data is collected into tables (called relations in relational theory).

3) Normalization

Relations are to be normalized to avoid anomalies. In insert, update and delete operations. Normalization theory is built around the concept of normal forms. A relation is said to be in a particular form if it satisfies a certain specified set if constraints. To decide a suitable logical structure for given database design the concept of normalization, which are briefly described below.

a) 1st Normal Form (1 N.F): A relation is said to be in 1 NF is and only if all unaligned domains contain values only. That is the fields of an n-set should have no group items and no repeating groups.

b) 2nd Normal Form (2 N.F): A relation is said to be in 2 NF is and only if it is in 1 NF and every non key attribute is fully dependent on primary key.

c) 3rd Normal Form (3 N.F): A relation is said to be in 3 NF is and only if it is in 2 NF and every non key attribute is non transitively dependent on the primary key. This normal form avoids the transitive dependencies on the primary key.

d) Boyce code Normal Form (BCNF): This is a stronger definition than that of NF. A relation is said to be in BCNF if and only if every determinant is a Candidate key.

e) 4th Normal Form (4 NF): A relation is said to be in 4 NF if and only if whenever there exists a multi valued dependency in a relation say A->->B then all of the relation are also functionally dependent on A(i.e. A->X for all attributes x of the relation.).

f) 5th Normal Form (5 NF) OR Projection Join Normal Form (PJNF): A relation R is in 5 NF. if and only if every join dependency in R is implied by the candidate key on R. A relation can ‘t be non-loss split into two tables but can be split into three tables. This is called Join Dependency.

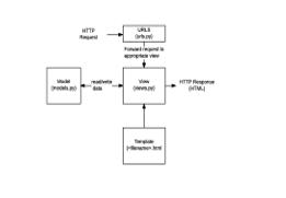
B. DJANGO

Django is a high-level Python web framework that enables rapid development of secure and maintainable websites. Built by experienced developers, Django takes care of much of the hassle of web development, so you can focus on writing your app without needing to reinvent the wheel. It is free and open source, has a thriving and active community, great documentation, and many options for free and paid-for support.

Django helps you write software that is:

1) Complete: Django follows the "Batteries included" philosophy and provides almost everything developers might want to do "out of the box". Because everything you need is part of the one "product", it all works seamlessly together, follows consistent design principles, and has extensive and upto documentation.

2) Versatile: Django can be (and has been) used to build almost any type of website from content management systems and wikis, through to social networks and news sites. It can work with any client-side framework, and can deliver content in almost any format (including HTML, RSS feeds, JSON, and XML). Internally, while it provides choices for almost any functionality you might want (e.g. several popular databases, templating engines, etc.), it can also be extended to use other components if needed.

3) Secure: Django helps developers avoid many common security mistakes by providing a framework that has been engineered to "do the right things" to protect the website automatically. For example, Django provides a secure way to manage user accounts and passwords, avoiding common mistakes like putting session information in cookies where it is vulnerable (instead cookies just contain a key, and the actual data is stored in the database) or directly storing passwords rather than a password hash. A password hash is a fixed-length value created by sending the password through a cryptographic hash function. Django can check if an entered password is correct by running it through the hash function and comparing the output to the stored hash value.

International Journal for Research in Applied
Science & Engineering Technology (IJRASET)
521 ©IJRASET: All Rights are Reserved | SJ Impact Factor 7.538 | ISRA Journal Impact Factor 7.894 |

(IJRASET

ISSN: 2321-9653; IC Value: 45.98; SJ Impact Factor: 7.538

Volume 11 Issue I Jan 2023- Available at www.ijraset.com

However due to the "one-way" nature of the function, even if a stored hash value is compromised it is hard for an attacker to work out the original password.

4) Scalable: Django uses a component-based "shared-nothing" architecture (each part of the architecture is independent of the others, and can hence be replaced or changed if needed). Having a clear separation between the different parts means that it can scale for increased traffic by adding hardware at any level: caching servers, database servers, or application servers. Some of the busiest sites have successfully scaled Django to meet their demands (e.g. Instagram and Disqus, to name just two).

5) Maintainable: Django code is written using design principles and patterns that encourage the creation of maintainable and reusable code. In particular, it makes use of the Don't Repeat Yourself (DRY) principle so there is no unnecessary duplication, reducing the amount of code. Django also promotes the grouping of related functionality into reusable "applications" and, at a lower level, groups related code into modules (along the lines of the Model View Controller (MVC) pattern).

IV. LITERATUREREVIEW

Information from a variety of sources is included in the poll on this system. Some of the websites, IEEE papers, some related research papers, and even some project reports are among these sources. Modules, diagrams, literature, etc. from a study paper titled "Automobile Service Centre Management System" by Prof. Shilpa Chavan from Pune University were very helpful in developing our project. Keywords like "Vehicle Service System," "Car Service System," "Automobile Service System," etc. were used to search the various websites. they were quite useful. There was a website called "Gaadizo" that was being analysed. It is primarily in Delhi NCR. Vikas Mitra, a former senior executive of the Honda Company, created it. Gaadizo has a variety of service centres, including those in Noida, Gurgaon, Ghaziabad, etc. This system included features like the assurance of authentic parts, a service warranty, simple service progress tracking, etc.

The suggested system makes mention of the previously mentioned system and includes several additional characteristics that are:

1) Offers slot reservations

2) Auto Billing while customers choose the services.

3) FAQs to answer any questions.

4) Regular car maintenance.

The majority of research papers and references found throughout the study related to "Vehicle Tracking System," which was unhelpful, but there were also some incredible websites found, like "DreamzTech Solution," "CarZ," "The Bike Doctor," and many more, which competed with "Gaadizo." Slot booking to eliminate time consumption, auto-billing for transparency, FAQs for general questions, and navigation services to determine the precise location of the service center are the primary differences between the current system and the one that is being suggested.

The goal of the literature review is to reduce the damaging effects of traffic on the environment by optimizing vehicles used for transportation and using university management. Design/Methodology/Approach Before looking at options to enhance transportation operations, this study first evaluates the main restriction on vehicle use. Three crucial areas for increased effectiveness fall under the purview of this paper.

International Journal
Research
for
in Applied Science & Engineering Technology
)
522 ©IJRASET: All Rights are Reserved | SJ Impact Factor 7.538 | ISRA Journal Impact Factor 7.894 |

ISSN: 2321-9653; IC Value: 45.98; SJ Impact Factor: 7.538 Volume 11 Issue I Jan 2023- Available at www.ijraset.com

Logistics effectiveness, vehicle use, and driver conduct and training are all mentioned as aspects of the sector. Findings There is already a developing body of official literature giving advice and assistance, and environmental considerations will impact how transport managers carry out their duties. Data object representation in ER diagrams is not standardized. Each modelling methodology's nomenclature is used. Although Chen’s original notation is frequently used in academic papers and journals, CASE tools and non-academic publications hardly ever utilize it. There are several notations used nowadays, but the most popular ones are IDEFIX, crow's foot, and Bachman. Entities are shown as rectangular boxes in all notational styles, and relationships are shown as lines linking boxes. To express the cardinality of a link, each style employs a unique collection of symbols. Martin provided the notation that is used in this work. The majority of auto repair companies and garages still conduct their daily business using manual techniques. Customer records are still entered manually, as are transactions with clients, tracking of vehicle repairs as they are made, updates on vehicle services, and billing. Both the car garages and the clients find this sort of transaction time-consuming. To handle repair requests and carry out other necessary tasks related to vehicle servicing, customers must personally visit garages. The functioning of the garage and the response time to client inquiries will be slowed by the ongoing usage of manual procedures.

V. PROBLEM IDENTIFICATION

The majority of auto repair companies and garages still conduct their daily business using manual techniques. keeping track of customer information, tracking the status of vehicle repairs, Billing, client interactions, and vehicle service updates are still handled manually. Both the car dealerships and the buyers find this type of transaction to be time-consuming. To handle service requests and carry out other necessary tasks related to vehicle servicing, customers must personally visit garages. The functioning and response time of the garage to client enquiries will be slowed by the ongoing usage of manual procedure

VI. PROPOSEDSYSTEM

In addition to the home page, there are two boards: Admin, for instance, a store, and the Customer. The login credentials enable the consumer to access a range of services after logging in. Before beginning your work, provide information to the shop or the car. The administrator will confirm the automobile information, customer information, and overhaul details before sending the assignment to the staff. After providing his information and inspecting the region, the customer will add his adjusting information and then wait for the opening to happen.

A. Admin Module Dashboard

The total number of users that have registered, the total number of queries, the total number of mechanics, and the total number of services are all statistics that the administrator may access. The administrator can search enquiries in this part using a customer's phone number, email address, or contact number. Service Search: The administrator can look for services in this area using a client's phone number, email address, or contact number.

Mechanics: In this area, the administrator has control over mechanics (add, delete, and update). what kind of car it is The vehicle categorization in this region is under the administrator's authority (add, delete and update) Reg Users: The administrator has access to this section to view and modify user information? Customer Demand: In this area, the administrator may add service fees (service fee and any additional parts fees that may apply). The administrator may view services based on status (pending services, rejected services, and complete services). Administrators may also sanction pending policies. Customer Inquiry In this section, the administrator can react to client inquiries and view those to which no clients have replied.

B. Customers Dashboard Enquiry

Here, users can fill out forms and check the status of their inquiries to see if they have received a response (which is done by the admin). Service Demand: The user can fill out the service form, monitor the service's progress, see how much is being charged for the service, and print an amount slip in this section (which is done by the admin). Additionally, users can update their profiles and retrieve or change their passwords.

C. Mechanics Module

The admin has given the mechanic duties to look through in this section. He can also check the attendance list. The mechanic module updates the vehicle's status, including whether or not it has been repaired.

International Journal for Research in Applied
Science & Engineering Technology (IJRASET)
523 ©IJRASET: All Rights are Reserved | SJ Impact Factor 7.538 | ISRA Journal Impact Factor 7.894 |

Technology (IJRASET

ISSN: 2321-9653; IC Value: 45.98; SJ Impact Factor: 7.538

Volume 11 Issue I Jan 2023- Available at www.ijraset.com

1) Customer

a) The consumer will register with the system and log in;

b) The customer can submit a request for service of their car by supplying information (vehicle number, model, problem description etc.) Following admin approval of the request, the consumer can view the pricing and service status.

c) Customers can check the status of requests (enquiries) that are pending, approved, in progress, completed, and released.

d) Customers can also check invoice details or repaired vehicles.

e) Customers can delete requests (enquiries) if they change their minds or are not approved by the administrator (ONLY PENDING REQUEST CAN BE DELETED).

f) Customer can view and amend their profile and provide feedback to the administrator.

2) Mechanic

Admin will hire (approve) mechanic account based on expertise when mechanic submits application with necessary information (skills, address, mobile, etc.).After having their account approved, mechanics have access to the following features: After logging in, mechanics can see how many vehicles they have been assigned to repair; they can change the status of their service (from "Repairing" to "Repairing Done") in accordance with the progress of their work; they can view their salary and the number of vehicles they have completed repairs on; they can send admin feedback; and they can view/edit their profile.

3) Admin

a) Give your username, email address, and password, and your admin account will be established.

b) The first admin will log in (for username/password run the following command in cmd).

c) Admin can see/add/update/delete customers; • Admin can see each customer invoice (if two requests are made by the same customer, it will show the total sum of both requests);

d) Admin can see/update/delete mechanics;

e) Admin can approve(hire) mechanics (requested by mechanic) based on their skills;

f) Admin can see/update/delete request/enquiry for service;

g) Admin can authorise a customer's request for service and choose the mechanic to handle the repair while providing a cost based on the problem description.

h) Admin can view all service costs for approved and outstanding requests.

VII. CLASSDIAGRAM

A structure that has both variables and methods is what a class is. A selection of classes, interfaces, partnerships, and the corresponding ships are displayed in the class diagram. The most typical diagram is used to represent object-oriented systems and is used to present a static perspective of a system. It demonstrates the interdependence of the classes that can be applied to our system. Below are the interactions between the modules or classes of our projects. Class Name, Variables, and Methods are all contained in each block.

International Journal for Research
)
in Applied Science & Engineering
524 ©IJRASET: All Rights are Reserved | SJ Impact Factor 7.538 | ISRA Journal Impact Factor 7.894 |

Science & Engineering Technology (IJRASET)

ISSN: 2321-9653; IC Value: 45.98; SJ Impact Factor: 7.538 Volume 11 Issue I Jan 2023- Available at www.ijraset.com

VIII. CONCLUSION

With more people owning cars, car garages are growing in popularity. To check and fix issues with their vehicles, vehicle owners frequently ask about vehicle services at garages. Owners of automobiles can guarantee that their vehicles function well and do not fail abruptly by having regular maintenance performed on them. the capstone project for "System for Managing Vehicle Services". The system will automate tasks including processing auto repair orders, keeping up with maintenance logs, keeping track of client and transaction information, providing servicing updates, and charging. Both customers and auto shops will profit from the system's installation. The company's implementation of the system will allow car garages to expand and improve operating efficiency. Customers can conduct business for vehicle servicing pleasantly and easily.

REFERENCES

[1] Dr.C K Gomathy, Article: A Study on the recent Advancements in Online Surveying, International Journal of Emerging technologies and Innovative Research ( JETIR ) Volume 5 | Issue 11 | ISSN : 2349-5162, P.No:327-331, Nov-2018

[2] Jr-Jen Huang, Yi-Yu Chu, and Yen-Jen Chen, “The System Design and Implementation of Vehicle Management”, Journal of Advances in Computer Networks, Vol. 1, No. 1, March 2013 Temperature (° C) Temperature (°C)

[3] C.K.Gomathy.(2010),"Cloud Computing: Business Management for Effective Service Oriented Architecture" International Journal of Power Control Signal and Computation (IJPCSC), Volume 1, Issue IV, Oct - Dec 2010, P.No:22-27, ISSN: 0976-268X .

[4] Dr.C.K.Gomathy,C K Hemalatha, Article: A Study On Employee Safety And Health Management International Research Journal Of Engineering And Technology (Irjet)- Volume: 08 Issue: 04 | Apr 2021

[5] Dr.C K Gomathy, Article: A Study on the Effect of Digital Literacy and information Management, IAETSD Journal For Advanced Research In Applied Sciences, Volume 7 Issue 3, P.No-51-57, ISSN NO: 2279-543X,Mar/2018

[6] Dr.C K Gomathy, Article: An Effective Innovation Technology In Enhancing Teaching And Learning Of Knowledge Using Ict Methods, International Journal Of Contemporary Research In Computer Science And Technology (Ijcrcst) E-Issn: 2395-5325 Volume3, Issue 4,P.No-10-13, April ’2017

[7] Class is nothing but a structure that contains both variables and methods. The Class Diagram shows a set of classes, interfaces, and collaborations and their relating ships. There is most common diagram in modeling the object oriented systems and are used to give the static view of a system. It shows the dependency between the classes that can be used in our system. The interactions between the modules or classes of our projects are shown below. Each block contains Class Name, Variables and Methods.

International Journal for Research in
Applied
525 ©IJRASET: All Rights are Reserved | SJ Impact Factor 7.538 | ISRA Journal Impact Factor 7.894 |

Turn static files into dynamic content formats.

Create a flipbook
Issuu converts static files into: digital portfolios, online yearbooks, online catalogs, digital photo albums and more. Sign up and create your flipbook.