A Novel Study of Hazard Identification and Risk Assessment in Textile Industry

Page 1

https://doi.org/10.22214/ijraset.2023.49709

11 III
2023
March

ISSN: 2321-9653; IC Value: 45.98; SJ Impact Factor: 7.538

Volume 11 Issue III Mar 2023- Available at www.ijraset.com

A Novel Study of Hazard Identification and Risk Assessment in Textile Industry

Mr. R. Vigneshwar1, Mr. S. Karthikeyan2

1Post graduate student, 2Assistant Professor, Department of Industrial Safety Engineering, Erode Sengunthar Engineering College, Thudupathi, Erode, Tamilnadu-638057

Abstract: The work environment of textiles is risky and portrayed by different simultaneous chemical, physical and mechanical hazard exposure, which would prompt wounds of textile labourers. Health risks from working in the textile industry. This manuscript contains the details on the hazards and risk level present in one of south India's leading textile industry. This study also briefs about the need, method and result of the HIRA technique. The HIRA technique is adopted in the old rotary printing department and dyeing department to assess the risk levels in terms of quantified values. The control measures were also developed for each area and activities identified with potential safety issues. It is found that the identified hazards majorly categorized under Physical, chemical, ergonomics, material handling, health and electrical hazards. The risk level is quantified for all the hazards in the printing and dyeing department by multiplying the values of severity and probability.

Keywords: Risk, Hazards, textile, dyeing, health, severity

I. INTRODUCTION

Hazard Identification and Risk Assessment (HIRA) deals with the identification and quantification of risks that are exposed to, due to accidents resulting from the hazards present or handling of hazardous substances in the workplace

This involves Hazard analysis which essentially is identification and quantification of the various hazards that are likely to occur in the industry as well as quantification of the consequences due to a particular hazard.

The risk analysis estimates the probability as well as severity of a particular hazard over an exposed group of people, plant equipment or both.

For any industry to be successful, it has to be safe, reliable, and sustainable in its operations. The industry has to identify the hazards and assess the associated risks and to bring the risks to tolerable level.

Hazard Identification and Risk Assessment (HIRA) is carried for identification of undesirable events that can lead to a hazard, the analysis of hazard of this undesirable event, that could occur and usually the estimation of its extent, magnitude, and likelihood of harmful effects.

It is widely accepted within industry in general that the various techniques of risk assessment contribute greatly toward improvements in the safety of complex operations and equipment.

The objective of this work of hazards and risk analysis is to identify and analyse hazards, the event sequences leading to hazards and the risk associated with hazardous events.

Many techniques ranging from the simple qualitative methods to the advanced quantitative methods are available to help identify and analyse hazards.

The use of multiple hazard analysis techniques is recommended because each has its own purpose, strengths, and weaknesses. HIRA assists in identifying the most likely hazards which can have significant impact on workplace safety in an industry. It helps in devising effective management measures as well as engineering measures for both preventive as well as post-disaster management.

II. HAZARD IDENTIFICATION AND RISK ASSESSMENT

Hazards are the sources or situations which have the potential to cause undesired events. Risks are the combination of likelihood which creates a chance for the undesired events. All industries and workplace consist of Hazards and Risks which creates and cause the chances of accidents. In order to reduce those hazards and risks, the hazard identification and risk assessment have to be performed periodically. Hazard Identification and Risk Assessment is a tool used by industries to identify the hazards and providing control measures as per the risk priorities of each hazard. After the hazards are identified the risks can be assessed by quantitative and qualitative method to determine whether the identified risks are significant or non- significant.

International Journal for Research in Applied Science & Engineering Technology (IJRASET)
©IJRASET: All Rights are Reserved | SJ Impact Factor 7.538 | ISRA Journal Impact Factor 7.894 |

ISSN: 2321-9653; IC Value: 45.98; SJ Impact Factor: 7.538

Volume 11 Issue III Mar 2023- Available at www.ijraset.com

HIRA is a combination of deterministic, probabilistic, and quantitative method. The deterministic methods take into consideration of the products, the equipment and quantification of the various targets such as people, environment, and equipment. The probabilistic methods are based on the probability or requency of hazardous situation apparitions or on the occurrence of potential accidents. The uantitative methods analyse various data numerically. The steps involved in HIRA are

1) Classify Work Activities

2) Hazard Identification

3) Risk Assessment

4) Monitor and Review

III. PROCESS DESCRIPTION

Its yarn storage area, Front pass of Yarn loading point , The different yarn is segregation, The yarn box move to fabric knitting room by the help of vehicle.

A. Fabric Knitting Machine

Knitting machine process

Knitting is a process of using long needles to interlink or knot a series of loops made by one continuous thread. Each loop or knot connects to another one, and when enough loops have been made, the result is a flat piece of material called a textile Type of knitting machine

1) Circular Knitting Machine: In this machine the needles are implanted on a circular cylinder, which when used creates a seamless tube of fabric, by joining the stiches from the needles.

2) Single Jersey Machine: As opposed to double jersey machine, the Single jersey machine has only one cylinder one which one set of needles and sinkers are placed on. The diameter of this cylinder is generally around 30 inch, which can vary according to the machines type and requirement. The fabric manufactured on a Single jersey machine is known as “Single jersey fabric”, they have a plain thickness, almost half if compared to the Double jersey fabric. Both front and back side of this fabric is visibly different

3) Double Jersey Machine: Double jersey machines have two sets of needles; one on dial and as well as on cylinder. There are no sinkers in double jersey machines. known as double jersey fabric

4) Interlock Double Jersey Machine: In this type of double jersey machines, the needles on the cylinder and the dial are placed opposite and alternatively. Interlock machine uses two types of latch needles instead only one type which is used generally in circular knitting machines

5) Terry Single Jersey Machine: Terry fabrics are manufactured on Terry circular knitting machine using “Plush knitting technique”. In this technique generally the one set of sinker loops are made longer than the ground fabric sinker loops this longer set of sinker loops form the velvet like pile on the fabric, both the threads, of pile and ground fabric are worked together to give a stable structure.

B. Dyeing Machine

The machine which is used to dyeing or coloring of materials like yarn, fabric, garments or any other materials is called dyeing machine. Dyeing machines come in all shapes and sizes to accommodate the various forms and quantities of textile materials TYPES OF DYEING MACHINE

1) Soft Flow Dyeing Machine

In the soft flow dyeing machine water is used for keeping the fabric in circulation. The conception difference of this equipment from a conventional jets that operates with a hydraulic system is that the fabric rope is kept circulating during the whole processing cycle (right from loading to unloading).There is no stopping of liquor or fabric circulation for usual drain and fill steps. The principle working behind the technique is very unique. There is a system for fresh water to enter the vessel via a heat exchanger to a special interchange zone. At the same time the contaminated liquor is allowed channel out through a drain without any sort of contact with the fabric or for that matter the new bath in the machine.

International Journal for Research in Applied Science & Engineering Technology (IJRASET)
©IJRASET: All Rights are Reserved | SJ Impact Factor 7.538 | ISRA Journal Impact Factor 7.894 |

ISSN: 2321-9653; IC Value: 45.98; SJ Impact Factor: 7.538

Volume 11 Issue III Mar 2023- Available at www.ijraset.com

2) Jet Dyeing Machine

Jet dyeing machine is the most modern machine used for the dyeing of polyester fabric with disperse dyes. In these machines, both the fabric and the dye liquor are in motion, thereby facilitating a faster and more uniform dyeing. In jet dyeing machine, there is no fabric drive reel to move the fabric. The fabric movement by only force of water. It is economical, because of low liquor ratio. It is users friendly because comparison with long tube dyeing machine, to control the fabric movement four valves required. In jet dyeing machines and fabric dyeing machine, there is only one valve. Absent of reel, reduce connecting electric power, maintenance of two mechanical seal and breakdown time, if jet pressure and reel speed not synchronized.

In jet dyeing machines a strong jet of dye liquor is pumped out from an annular ring through which a rope of fabric passes in a tube called a venturi. This venturi tube has a constriction, so the force of the dye liquor passing through it pulls the fabric with it from the front to the back of the machine.

Thereafter the fabric rope moves slowly in folds round the machine and then passes through the jet again, a cycle similar to that of a winch dyeing machine. The jet has a dual purpose in that it provides both a gentle transport system for a fabric and also to fully immerse the fabric in liquor as it passes through it.

In all types of jet machines there are two principle phases of operation:

1) The active phase in which the fabric moves at speed, passing through the jet and picking up fresh dye liquor

2) The passive phase in which the fabric moves slowly around the system back to the feed‐in to the jets

Jet dyeing machines are unique because both the dye and the fabric are in motion, whereas in other types of machine either the fabric moves in stationary dye liquor, or fabric is stationary and the dye liquor moves through it.

The design of the jet dyeing machine with its venturi means that very effective agitation between the fabric rope and the dye liquor is maintained, giving a fast rate of dyeing and good levelness. Although this design can create creases longitudinally in the fabric, the high degree of turbulence causes the fabric to balloon out and the creases disappear after the fabric leaves the jet. However, the rapid flow of the dye liquor can lead to a high degree of foaming when the machines are not fully flooded. The machines operate at low liquor ratios of about 10 : 1, so as with beam dyeing, exhaustion is good and water and energy consumption efficient.

C. Stenter Machine

Stenter machine is not only a dryer but also used for many other purposes. Here knitted and woven fabric in open width form is treated. This multipurpose machine is used for the following purposes:

1) Drying

2) Heat setting

3) Width control

4) Curing

5) Finishing chemical application

6) Selvedge printing

7) Uniform moisture control for pad batch dyeing

8) Loop control

9) Weft straitening

10) Pigment dye application

11) Any thermo fixation

12) Padding mangle

Here finishing like OBA treatment, dry-cross finish, moist cross finish, wrinkle free finish, easy care finish can be done along with width and shrinkage control.

WORKING PROCEDURE

Continuous drying is done in a stenter frame by convection. Blowers impinge hot air on both the top and bottom of fabric as the fabric passes through the chamber of the machine. Its frames are equipped with an endless chain on each side to grip the fabric by both selvages as it enters chamber.

The distance between the chains can be increased or decreased. In every chamber there are burners and blowers. The temperature of each chamber can be controlled individually. The fabric gripping in stenter, two systems are available:

a) Clip to grip coarse fabrics like twill fabric.

b) Pin to grip fine fabric.

Journal
International
for Research in Applied Science & Engineering Technology (IJRASET)
©IJRASET: All Rights are Reserved | SJ Impact Factor 7.538 | ISRA Journal Impact Factor 7.894 |

ISSN: 2321-9653; IC Value: 45.98; SJ Impact Factor: 7.538

Volume 11 Issue III Mar 2023- Available at www.ijraset.com

D. Mechanical Finishing

A simple device which simulates the effects of calendaring is the domestic iron. Hot ironing makes garment smooth flat by removing its crinkles and creases. Besides making the fabrics free from creases by calendaring,

1) it is possible to raise the luster of the fabric,

2) make it compact by closing the threads,

3) impart a soft feel and ‘thready’ or

4) linen like appearance to it

It reduces the yarn slippage as well as thickness of the fabric by varying the calendaring operation.

The need of calendaring arises mainly because the fabric when it is wet processed and dried, is in the least lustrous state and its surface is not smooth because of presence of highly crimped and wavy threads. To meet this need the fabric is passed between the rollers or bawls of a machine termed ‘Calender’ and this mechanical process

a) Raising

Raising is a process of lifting of a layer of fibres from the surface of the fabric so as to form a hairy surface or pile. The process imparts a warm and soft handle to both on the woven and knitted fabrics; in fact, the formation of a pile on the fabric can make it exceptionally soft. The pile also includes a large amount of air and since air is a bad conductor of the heat, the raised fabrics feel vary warm as well assoft. In the early days, only cotton and woolen fabrics were raised, but now besides these fabrics, man-made fibre fabrics also raised. If the fabric contains a woven or coloured pattern, the weave and pattern get subdued on raising and various colour blends.It is easier to raise the fabric in the wet state than in dry state. Therefore, moist raising is most widely adopted.

b) Shearing

Shearing means removing or taking off fibre ends by cutting. It is carried out to cut fibres of random length to produce a level pile and prevent pilling in case of synthetic fibres by resulting of the height of the fibres particularly to produce clean staple fibre fabrics. Napped fabrics are mostly sheared. Knitted fabrics are sheared on a machine having a single cutting head per unit where in case of woven fabrics multiple sheared are used. The pile heights are regulated by adjusting the distance between the cloth rest and rotary blade.

c) Sanforising

A method of producing unshrinkable cotton fabric is to give it a thorough wash in a washing machine so as to allow it to shrink freely and then dry and finish it without stretching. This method however is not reliable and not suitable for commercial production.

d) Napping

In napping the surface of the cloth is raised, cut even and smoothed by a napping machine known as planetary napper.

e) Sueding

When a vary mild effect of raising is required a special type of machine called sueding machine is used. This consists of a vertical set of small diameter rotating rollers covered with an abrasive surface such as sand paper or emery cloth. There is a rubber covered pressure roll which presses the fabric against the abrasive covered cylinder. The abrasion of the fabric surface takes place when the fabric is open width presses between the pressure roller and abrasive covered cylinder. A vary sort pile thus raised according to the pressure of the fabric against these rollers which rotate in a direction of opposite to that of the fabric.

f)

Setting and Heat-setting

During manufacturing processes like spinning, weaving or knitting, the fabric is subjected to stresses and strains and release of these distortions in fabric leads to distortions in fabric structure and woven design and also uneven shrinkage. The purpose of the setting is to stabilize the woven structure of the fabric in a regular and permanent manner by relaxing the stresses. The effect is bought about by agencies like heat, moisture, and pressure and generally no chemicals are used in the process.

HIRA RISK

International Journal for Research in Applied Science
(IJRASET)
& Engineering Technology
©IJRASET: All Rights are Reserved | SJ Impact Factor 7.538 | ISRA Journal Impact Factor 7.894 |
YARN GODOWN

ISSN: 2321-9653; IC Value: 45.98; SJ Impact Factor: 7.538

Volume 11 Issue III Mar 2023- Available at www.ijraset.com

 Yarn Godown

The proposed action for the Hazards in Yarn godown is to electrical hazards in textile operation maybe related to electrical vehicle charging materials. Accident related to improper handling electrical vehicle charging , Injuries from charging activities, maybe due to adapter problem or connecting terminal damage . To avoid those electrical rubber mat ,to avoid unauthorized persons are handling charging station, charging station handling should remain within restricted zone under supervision, with particular attention paid to proximity of electrical cables and equipment’s. Locate machine tools at a safe distance from other work areas and from walkways.

Conduct regular inspection and repair of machine tools, in particular protective shield and safety devices/ equipment’s. Use appropriate PPE (Personal Protective Equipment’s) such as Helmets, Insulating gloves, safety shoes. Respiratory Hazards: Dust generated in textile includes corttonbox dusts, which are present in yarn godown, The improper of cleaning process Incase of fire incident to indicate the fire alarm switch and automatically sense the smoke detector and additionally provide fire extinguisher.

 Fabric Knitting

The proposed action for the hazard in Fabric knitting is to electrical hazard and trolley movement, cleaning process in this operation maybe related to fabric machine. This machine due to create noise level .Its rotating parts maybe Entanglement of workers clothes and hairs due to rotating part, Finger or hand struck by in rotating parts.

International Journal for Research in Applied Science & Engineering Technology (IJRASET)
©IJRASET: All Rights are Reserved | SJ Impact Factor 7.538 | ISRA Journal Impact Factor 7.894 |

International Journal for Research in Applied Science & Engineering Technology (IJRASET)

ISSN: 2321-9653; IC Value: 45.98; SJ Impact Factor: 7.538

Volume 11 Issue III Mar 2023- Available at www.ijraset.com

The fabric due to shifting in fabric storage area by the help of trolley, Injury from the needle point changing and hot oil replacement shifting of materials maybe due to handling activity .to avoid those handling procedure given to the employees some materials handling only authorized person only should remain within restricted zone under supervision, with particular attention paid to proximity of electrical cables and equipment’s. Locate machine tools at a safe distance from other work areas and from walkways. Conduct regular inspection and repair of machine tools, in particular protective shield and safety devices/ equipment’s. Use appropriate PPE (Personal Protective Equipment’s) such as ear plug, apron ,head cap .Respiratory Hazards: Dust generated in Fabric knitting machine includes yarn dusts, which are present in fabric knitting area.

©IJRASET: All Rights are Reserved | SJ Impact Factor 7.538 | ISRA Journal Impact Factor 7.894 |

International Journal for Research in Applied Science & Engineering Technology (IJRASET)

ISSN: 2321-9653; IC Value: 45.98; SJ Impact Factor: 7.538

Volume 11 Issue III Mar 2023- Available at www.ijraset.com

©IJRASET: All Rights are Reserved | SJ Impact Factor 7.538 | ISRA Journal Impact Factor 7.894 |  Dyeing

International Journal for Research in Applied Science & Engineering Technology (IJRASET)

ISSN: 2321-9653; IC Value: 45.98; SJ Impact Factor: 7.538

Volume 11 Issue III Mar 2023- Available at www.ijraset.com

©IJRASET: All Rights are Reserved | SJ Impact Factor 7.538 | ISRA Journal Impact Factor 7.894 |

ISSN: 2321-9653; IC Value: 45.98; SJ Impact Factor: 7.538

Volume 11 Issue III Mar 2023- Available at www.ijraset.com

 Dyeing

The proposed action for the Hazards in dyes kitchen shop is to implement First and foremost, using a less toxic or environment friendly abrasive media will give less dominant after effects on the atmosphere. Water based blasting media may be preferred due to its dust reduction property.

The proposed action for the hazard in dyeing is to chemical handling ,confined space , electrical hazard and trolley movement, cleaning process in this operation maybe related to fabric machine. This machine due to create health .Its rotating parts maybe Entanglement of workers clothes and hairs due to rotating part, Finger or hand struck by in rotating parts. The fabric due to shifting in fabric storage area by the help of trolley, Injury from the door handling ,maintain proper temperature and steam line handling and rejection water go to the etp collection tank maybe due to handling activity .to avoid those handling procedure given to the employees some materials handling only authorized person only should remain within restricted zone under supervision, with particular attention paid to proximity chemical explosion ,and the electrical cables and equipment’s. Locate machine tools at a safe distance from other work areas and from walkways. Conduct regular inspection and repair of machine tools safety valve ,drain valve ,temperature maintain properly in particular protective shield and safety devices/ equipment’s. Use appropriate PPE (Personal Protective Equipment’s) such as PPE (The nitrigul glove and respiratory mask, gum boot, pvc apron) .Respiratory Hazards: Dust generated in chemical handling includes dyes formation of dusts, which are present in dyeing machine area.

Journal
Engineering
)
International
for Research in Applied Science &
Technology (IJRASET
©IJRASET: All Rights are Reserved | SJ Impact Factor 7.538 | ISRA Journal Impact Factor 7.894 |

International Journal for Research in Applied Science & Engineering Technology (IJRASET)

ISSN: 2321-9653; IC Value: 45.98; SJ Impact Factor: 7.538

Volume 11 Issue III Mar 2023- Available at www.ijraset.com

©IJRASET: All Rights are Reserved | SJ Impact Factor 7.538 | ISRA Journal Impact Factor 7.894 |  Stenter

International Journal for Research in Applied Science & Engineering Technology (IJRASET)

ISSN: 2321-9653; IC Value: 45.98; SJ Impact Factor: 7.538

Volume 11 Issue III Mar 2023- Available at www.ijraset.com

©IJRASET: All Rights are Reserved | SJ Impact Factor 7.538 | ISRA Journal Impact Factor 7.894 |

International Journal for Research in Applied Science & Engineering Technology (IJRASET)

ISSN: 2321-9653; IC Value: 45.98; SJ Impact Factor: 7.538

Volume 11 Issue III Mar 2023- Available at www.ijraset.com

 Stenter Machine

The proposed action for the hazard in stenter is to chemical handling and rotating parts, electrical hazard and trolley movement, hot surface machine, cleaning process in this operation maybe related to stenter machine. This machine due to create health .Its rotating parts maybe Entanglement of workers clothes and hairs due to rotating part, Finger or hand struck by in rotating parts .The fabric due to shifting in fabric storage area by the help of trolley, Injury from the door handling ,maintain proper temperature and steam line handling and rejection water go to the etp collection tank maybe due to handling activity .to avoid those handling procedure given to the employees some materials handling only authorized person only should remain within restricted zone under supervision, with particular attention paid to proximity chemical explosion ,and the electrical cables and equipment’s. Locate machine tools at a safe distance from other work areas and from walkways. Conduct regular inspection and repair of machine tools safety valve ,drain valve ,temperature maintain properly in particular protective shield and safety devices/ equipment’s. Use appropriate PPE (Personal Protective Equipment’s) such as PPE (The nitrigul glove and respiratory mask, gum boot, pvc apron) .Respiratory Hazards: Dust generated in chemical handling includes dyes formation of dusts, which are present in stenter machine area.

©IJRASET: All Rights are Reserved | SJ Impact Factor 7.538 | ISRA Journal Impact Factor 7.894 |

International Journal for Research in Applied Science & Engineering Technology (IJRASET)

ISSN: 2321-9653; IC Value: 45.98; SJ Impact Factor: 7.538

Volume 11 Issue III Mar 2023- Available at www.ijraset.com

 Mechanical Finishing

The proposed action for the hazard in mechanical finishing is to drum rotating parts and knife or plate ,electrical hazard and trolley movement, hot surface machine ,cleaning process in this operation maybe related to mechanical finishing machine. This machine due to create health .Its rotating parts maybe Entanglement of workers clothes and hairs due to rotating part, Finger or hand struck by in rotating parts .The fabric due to shifting in fabric storage area by the help of trolley, Injury from the drum rotating parts, knife handling and steam line handling , maybe due to handling activity .to avoid those handling procedure given to the employees some materials handling only authorized person only should remain within restricted zone under supervision, with particular attention paid to proximity electrical cables and equipment’s. Locate machine tools at a safe distance from other work areas and from walkways. Conduct regular inspection and repair of machine tools in properly in particular protective shield and safety devices/ equipment’s. Use appropriate PPE (Personal Protective Equipment’s) such as PPE (The pvc apron, dust mask, ear plug) .Respiratory Hazards: Dust generated in machines includes dusts, which are present in mechanical finishing machine area.

©IJRASET: All Rights are Reserved | SJ Impact Factor 7.538 | ISRA Journal Impact Factor 7.894 |

International Journal for Research in Applied Science & Engineering Technology (IJRASET)

ISSN: 2321-9653; IC Value: 45.98; SJ Impact Factor: 7.538

Volume 11 Issue III Mar 2023- Available at www.ijraset.com

©IJRASET: All Rights are Reserved | SJ Impact Factor 7.538 | ISRA Journal Impact Factor 7.894 |

International Journal for Research in Applied Science & Engineering Technology (IJRASET)

ISSN: 2321-9653; IC Value: 45.98; SJ Impact Factor: 7.538

Volume 11 Issue III Mar 2023- Available at www.ijraset.com

©IJRASET: All Rights are Reserved | SJ Impact Factor 7.538 | ISRA Journal Impact Factor 7.894 |

International Journal for Research in Applied Science & Engineering Technology (IJRASET)

ISSN: 2321-9653; IC Value: 45.98; SJ Impact Factor: 7.538

Volume 11 Issue III Mar 2023- Available at www.ijraset.com

©IJRASET: All Rights are Reserved | SJ Impact Factor 7.538 | ISRA Journal Impact Factor 7.894 |  Final Inspection

International Journal for Research in Applied Science & Engineering Technology (IJRASET)

ISSN: 2321-9653; IC Value: 45.98; SJ Impact Factor: 7.538

Volume 11 Issue III Mar 2023- Available at www.ijraset.com

Ware House

The proposed action for the hazard electrical hazard and physical hazard , fork lift and trolley movement ,cleaning process in this operation maybe related to ware house. The fork lift due to create health hazard .Its rotating 360* stacker and fork lift any materials or human or rack parts maybe kit the person or fatal accident create the fork lift, so will be followed in ware house safety procedure, pins are insert and remove by the help of stacker machine ,the stacker machine charging place separate place Injury from the fork lift driver or other person and fork lift handling of maybe due to handling activity .to avoid those all process fully knowledge and trained person and handling procedure given to the employees some materials handling only authorized person only should remain within restricted zone under supervision, with particular attention paid to proximity electrical cables and equipment’s. Locate rack tools at a safe distance from other work areas and from walkways. Conduct regular inspection and repair of fork lift machine tools in properly in particular protective shield and safety devices/ equipment’s. Use appropriate PPE (Personal Protective Equipment’s) such as PPE (The safety jacket or safety apron, safety helmet, safety goggle, safety shoe) .Respiratory Hazards: Dust generated in fabric and atmospare air includes fork lift movements, which are present ware house area.

©IJRASET: All Rights are Reserved | SJ Impact Factor 7.538 | ISRA Journal Impact Factor 7.894 |
 Ware House

ISSN: 2321-9653; IC Value: 45.98; SJ Impact Factor: 7.538

Volume 11 Issue III Mar 2023- Available at www.ijraset.com

 Boiler

The proposed action for the Hazards in boiler and thermo back is to implement Position yourself so that you are not hit by objects moving down the conveyor. Ensure that you can see the conveyor system when you are at the operating controls. Ensure that guards are in place for all moving parts of the drive system and in all zones where hazards such as in-running friction burns or boiler ire process entry are present (includes above, sides, and below the conveyor). Guard all pinch points between the conveyor system and fixed objects. Locate guardrails around low level conveyors and areas where conveyors pass through the floor/ceiling. Locate emergency stop cut-off switches near the operator and along the length of the conveyor at approximately 30 metres (100 feet) apart (or closer). Ground belts on belt conveyors to prevent static build-up.

The proposed action for the Hazards in wood and coal storage is to implement by conducting pressure test for the steam and oil pipeline and automated and manual valves are strategically placed along the pipeline route to enable the pipeline to shut down immediately and sections can be isolated quickly as and when required.

The proposed action for the hazard in boiler and thermo back machine is to hot surface area, wood and coal handling, hot oil chamber, steam line ,electrical hazard and trolley movement ,cleaning process in this operation maybe related to boiler and thermo back machine. This machine due to create health .Its rotating parts maybe Entanglement of workers clothes and hairs due to rotating part, Finger or hand struck by in rotating parts .The wood due to shifting in fabric storage area by the help of trolley, Injury from the steam line and oil pipe line, maybe due to handling activity .to avoid those insulate and cover the steam and oil pipe line handling procedure given to the employees some materials handling only authorized person only should remain within restricted zone under supervision, with particular attention paid to proximity electrical cables and equipment’s. Locate machine tools at a safe distance from other work areas and from walkways. Conduct regular inspection and repair of machine tools in properly in particular protective shield and safety devices/ equipment’s. Use appropriate PPE (Personal Protective Equipment’s) such as PPE (The heat resistive glove and leather apron, goggle and safety shoe ,safety helmet, dust mask) .Respiratory Hazards: Dust generated in boiler machines includes dusts, which are present boiler and thermo back machine area.

Journal
International
for Research in Applied Science & Engineering Technology (IJRASET)
©IJRASET: All Rights are Reserved | SJ Impact Factor 7.538 | ISRA Journal Impact Factor 7.894 |

International Journal for Research in Applied Science & Engineering Technology (IJRASET)

ISSN: 2321-9653; IC Value: 45.98; SJ Impact Factor: 7.538

Volume 11 Issue III Mar 2023- Available at www.ijraset.com

ETP and RO Plant

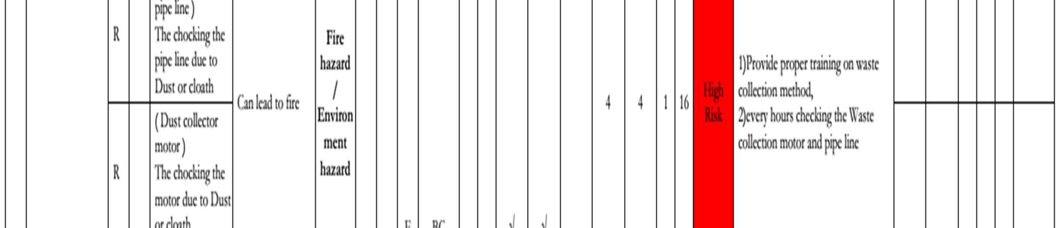
The proposed action for the hazard sludge waste collection ,chemical handling, collection of waste water tank, processing tank ,electrical hazard and trolley movement ,cleaning process in this operation maybe related to Etp and Ro plant. This ETP waste due to create health hazard .Its rotating drum parts maybe in clothes and hairs Finger or hand struck by in rotating parts .The sludge waste proper segregation and sludge waste are compressed machine. this machine will be great the air this air affect the human and air pollution.

Injury from the waste water and waste disposal handling of maybe due to handling activity .to avoid those all process fully knowledge and trained person and handling procedure given to the employees some materials handling only authorized person only should remain within restricted zone under supervision, with particular attention paid to proximity electrical cables and equipment’s. Locate machine tools at a safe distance from other work areas and from walkways. Conduct regular inspection and repair of machine tools in properly in particular protective shield and safety devices/ equipment’s. Use appropriate PPE (Personal Protective Equipment’s) such as PPE (The pvc apron, glove, safety helmet, gum boot, goggle ) .Respiratory Hazards: Dust generated in ETP plant includes sludge waste, which are present ETP and RO plant machine area.

©IJRASET: All Rights are Reserved | SJ Impact Factor 7.538 | ISRA Journal Impact Factor 7.894 |  ETP & RO PLANT

ISSN: 2321-9653; IC Value: 45.98; SJ Impact Factor: 7.538

Volume 11 Issue III Mar 2023- Available at www.ijraset.com

International Journal for Research in Applied Science & Engineering Technology (IJRASET)
©IJRASET: All Rights are Reserved | SJ Impact Factor 7.538 | ISRA Journal Impact Factor 7.894 |
 Power House

International Journal for Research in Applied Science & Engineering Technology (IJRASET)

ISSN: 2321-9653; IC Value: 45.98; SJ Impact Factor: 7.538

Volume 11 Issue III Mar 2023- Available at www.ijraset.com

Power house

Proper management of the risks associated with aboveground storage tanks is essential. Everyone who works on or around the equipment or the fuel storage locations should be trained to identify and eliminate risks. They should also know how to conduct routine inspections of fuel storage containers, dispense fuel and operate pump shutoffs properly. The generator machine run at the generate the noise so wear the ear muff,generator is automatically run by the power cut time, generator handle good knowledge electrical person only allowed, the transformer is high voltage so any body circuit open or close wear the ppe and good handling electrical person only applicable. The transformer oil or other problem we are atten this person wear the ppe and proper earthing for transformer, panel board handling or breaker handling and really circuit person only knowledge electrical person only allowed, the E-waste are disposed in only authorized person , all the machine and panel board connect proper double earthing

 Key Performance Indicator

©IJRASET: All Rights are Reserved | SJ Impact Factor 7.538 | ISRA Journal Impact Factor 7.894 |
KPI table S.NO KPI KPI Details Requirements Target 1 Legal documents Fire safety license Cross verification process by one year 100% 2 Test certificate (Boiler,Dying,,ETP,Forklift operator) Medical checkup ( Cancer & DNA test,Lung test,Eye test ) Cross verification process by 6month 100% 3 License Holder Electrician, fork lift operator, bus drivers Cross verification process by 6month 100% 4 Transportation vehicles Ensure safety condition and fire extinguisher All the workers using transportation vehicles 100% 5 New employees Fire & Safety details and E&D point details, As company requirments 100% 6 Employee special training Fire Fighting trainer , First aid trainer , External program conducting by one year 100% 7 Fire safety trainer 10% to 15% of the total employee in the company should be in fire safety training Internal program conducting by six month 100% 8 First aid trainer 2% to 5% of the total employee in the company should be in fire safety training Internal program conducting by six month 100% 9 PPE training PPES using methods Internal training conducting by one month 100% 10 Chemical training Chemical handling and Spill kid training Internal training conducting by one month 100% 11 Health & safety committee meeting AS concerned persons only Internal committee meeting by two month 100% 12 Chemical details List of chemical,All chemicals MSDS and SDS,chemical pictogram inculding transported sub 7chemical box, Cross verification process by one month 100% 13 Drinking point Is it 8compatible with t9he working place (falling hazard) Cross verification process by one weekly 100% 14 Conduct a Risk assessment once in 6 months New layout changes, Process changes Maintain post risk score below 10 points 100% 15 Incident details small injury - , major - , death, Maintain the record in department and nurse 100% 16 Accident details minor ,major, death. Maintain the record in department and nurse 100%
2321-9653; IC Value: 45.98; SJ Impact Factor: 7.538 Volume 11 Issue III Mar 2023- Available at www.ijraset.com ©IJRASET: All Rights are Reserved | SJ Impact Factor 7.538 | ISRA Journal Impact Factor 7.894 | 17 Fire safety equipments Fire pump room ,fire hydrant,fire extinguisher,Fire alarm switch. Good working condition at any time 100% 18 PPES Maintain minimum stock level of concerned department Above 20-25% from the required stock 100% 18.1 PPES Monitoring of PPEs condition Cross verification process by one month 100% 19 Risky machine Ensure the safe condition of risky machine ( Equipments details :- Lift,fork lift , generator ,compresssor,dying machine ,stenter machine, chain pully, sensor , door safety limit switch,emergency switch) Preventive Maintenance schedule & routine 100% Table – KPI Report schedule S.N o Document Name Jan Fe b Ma r Apr il Ma y Jun Jul y Au g Se p Oc t No v De c Remarks 1 Eyewash station inspection report xxx x xxx x xxx x xxx x xxx x xxx x xxx x xxx x xxx x xxx x xxx x xxx x 2 Lifting equipment’s (Forklift and Stacker) should be maintain xxx x xxx x xxx x xxx x xxx x xxx x xxx x xxx x xxx x xxx x xxx x xxx x 3 Drinking point xxx x xxx x xxx x xxx x xxx x xxx x xxx x xxx x xxx x xxx x xxx x xxx x 4 List of risky machines & Inspection record ( Sensors, Emergency stop button, Door sensors, Lift chain pulley, Forklift, Pallet truck & Lift ) xxx xxx xxx xxx xxx xxx xxx xxx xxx xxx xxx xxx 5 Environmental impact check list xxx xxx xxx xxx xxx xxx xxx xxx xxx xxx xxx xxx 6 Gentral health and Safety awareness report xx xx xx xx xx xx xx xx xx xx xx xx 7 Chamical handling and spillage kit tarining xx xx xx xx xx xx xx xx xx xx xx xx 8 Electrical panel board inspection report xx xx xx xx xx xx xx xx xx xx xx xx 9 Boiler inspection report xx xx xx xx xx xx xx xx xx xx xx xx 10 PPE issue & Stock record xx xx xx xx xx xx xx xx xx xx xx xx 11 PPE verification record ( inspection of PPEs condition ) xx xx xx xx xx xx xx xx xx xx xx xx 12 Fire Extinguisher inspection report xx xx xx xx xx xx xx xx xx xx xx xx 13 Emergency light Inspection report xx xx xx xx xx xx xx xx xx xx xx xx 14 Fire alarm Inspection report xx xx xx xx xx xx xx xx xx xx xx xx 15 Smoke detector Inspection report xx xx xx xx xx xx xx xx xx xx xx xx
International Journal for Research in Applied Science & Engineering Technology (IJRASET) ISSN:

International Journal for Research in Applied Science & Engineering Technology (IJRASET)

ISSN: 2321-9653; IC Value: 45.98; SJ Impact Factor: 7.538

Volume 11 Issue III Mar 2023- Available at www.ijraset.com

©IJRASET: All Rights are Reserved | SJ Impact Factor 7.538 | ISRA Journal Impact Factor 7.894 | 16 Incident and accident, near miss report xx xx xx xx xx xx xx xx xx xx xx xx If any reportable accidents occur need to update and submit to Inspector of factories within 48 Hours 17 ERT training record -X- -X- -X- -X- -X- -X18 Fire drill -X- -X- -X- -X- -X- -X19 Risk Assessment ü ü Updatting If Layout changes or New machine installatio n 20 Medical checkup for following operator (Boiler,Dying,,ETP,Forkli ftoperator) ü ü 21 First aid trainer ü ü 22 Firefighting training ü ü 23 Test certificate (Boiler,Dyeing,ETP,Forklift operator) ü ü 24 License Holder ü ü 25 Legaldocuments üü 26 Transportation vehicles üü
Report schedule xxxx Weekly updating xxx 15days updating xx Monthly updating -X- Two months updating Ü once in 6 month üü once in year
Table – KPI

International Journal for Research in Applied Science & Engineering Technology (IJRASET)

ISSN: 2321-9653; IC Value: 45.98; SJ Impact Factor: 7.538

Volume 11 Issue III Mar 2023- Available at www.ijraset.com

Table –Daily walk on field observe Menaka Mills Pvt Ltd

WALK

©IJRASET: All Rights are Reserved | SJ Impact Factor 7.538 | ISRA Journal Impact Factor 7.894 |
ON FIELD OBSERVE Responsible person: Inspection Date: Next Due Date: SL NO DETAILS CHECKING DETAILS OK NOT OK NOT APPLICABLE IF FOUND ANY DEVIATION
UPDATE
DECATHLON FORMAT ) 1 First aid box Clearly visible Easily accessible Medicine available 2 Fire extinguisher Clearly visible Easily accessible Available operating instruction 3 Fire alarm switch Clearly visible Easily accessible Available operating instruction 4 Smoke sensor Clearly visible Check the function 5 First aid and Fire fighter list Available of trainer person list Check the training skill 6 PPE Box Clearly visible Easily accessible PPE available Condition of PPE 7 Drinking point Stand condition Spillage of water Condition of water Condition of Water can 8 Exit and emergency exit door Sign board clearly Visible No blockage of exit and emg exit door 9 Emergency exit light Sign is clearly visible Two light available 10 Passage way Clearly visible Easy to evacuate No block any objects 11 Evacuation plan Clearly visible Mention machine and fire equipment’s details Check if any update 12 Evacuation Details Available of Emergency evacuation procedure Available of Emergency response team chart 13 Evacuation Clearly visible
(
IN

routs

International Journal for Research in Applied Science & Engineering Technology (IJRASET)

ISSN: 2321-9653; IC Value: 45.98; SJ Impact Factor: 7.538

Volume 11 Issue III Mar 2023- Available at www.ijraset.com

©IJRASET: All Rights are Reserved | SJ Impact Factor 7.538 | ISRA Journal Impact Factor 7.894 |
Board Check the route direction Check the board Damages 14 Assembly point Worker knowledge of Assembly point Assembly point location and number 15 PPE PPE instruction Board Consult dpt wear the PPE's Identify the damage 16 Sharp tool Tied the sharp tools, ( Trimmer or scissor ) Check the condition Trimmer or scissor , Verify the accountability check list 17 Emergency Switch Check the condition of Emergency switch Worker knowledge of emergency switch Operator which condition Operate emergency switch 18 Needle guard Condition of Needle guard and eye guards Identify the damage Worker use the Needle & eye guard 19 Pulley Guard Condition of pulley guard Identify the damage Maintain cleaning of motor 20 Motor coupling guard Condition of guard Identify the damage 21 SSB panel board No damage Switches No dust Cleaning of panel board condition Indication lamp condition Warning sign 22 LDB Panel board No damage Switches No dust Cleaning of panel board condition Any Dummy apply the gap Warning sign 23 Machine Panel board No damage Switches and indicating lamp, display No dust Cleaned condition of panel board 24 Rubber mat Available of electrical rubber mat

International Journal for Research in Applied Science & Engineering Technology (IJRASET)

ISSN: 2321-9653; IC Value: 45.98; SJ Impact Factor: 7.538

Volume 11 Issue III Mar 2023- Available at www.ijraset.com

Identify the damage

25 Wiring Identify the damage wire

Loose wire

Identify Removing wire

Proper insulation

26 Machine Function of Door sensor

Function of Temperature sensor

Unwanted sound and vibration

Check the safety valve and pressure valve

Function of drain valve

27 Combustible storage area Danger symbol mention

MSDS Detail

Handling time wear the PPES

Use proper secondary container

28 Trolley and hydraulic trolley

29 Forklift and Stacker machine

Trolley only placed on inside the yellow marking

Free of passage

Only Authorized person operate Check the driving licence

Check the battery condition

Check the oil & Diesel or water leakage

30 Chemical storage area Check the compatibility chart Warning Sign Display

Wear the PPE

All the Chemical & dyes use

GHS symbols

Spill kid use instruction

MSDS Detail in all the chemical and dyes

Use proper secondary Secondary container

Identify any combustible material 31 Chemical and dyes using area All the Chemical & dyes use

symbols, Wear the proper PPE

©IJRASET: All Rights are Reserved | SJ Impact Factor 7.538 | ISRA Journal Impact Factor 7.894 |
GHS
Identify any combustible material 32 Eye wash station and eye wash bottle Clearly visible Easily accessible Available operating instruction 33 Storage area Stacking method Check the warning sign Proper stacking materials Material stacking only inside of yellow marking Free of passage

International Journal for Research in Applied Science & Engineering Technology (IJRASET)

ISSN: 2321-9653; IC Value: 45.98; SJ Impact Factor: 7.538

Volume 11 Issue III Mar 2023- Available at www.ijraset.com

Table – 23 Monthly walk on field observe Menaka Mills Pvt Ltd

WALK ON FIELD OBSERVE

Responsible person: Inspection Date: Next Due Date:

SL.NO DETAILS

CHECKING DETAILS

LEGAL AUTHORIZATION AND PERIDICAL CHECK

IF FOUND ANY DEVIATION ( UPDATE IN DECATHLON FORMAT )

1 Electrical installation

2 Elecal warning Sign

Loose wire, Burning wire, Multi looping, Damage wire, Improper jointing wire, Identify Melting & over heating.

Danger Symbol, HV / LT mention.

Dyeing Safety

Check the Safety valve, Check the Pressure release valve, Check the pressure gauge, Check the drain valve auto function. Check the temperature sensor,

Valid persion only Check the Electrician license, Check the fork lift operator license, Check the Boiler operator certificate,

Check the Safety valve, Check the Pressure release valve, Check the working condition of pressure gauge, Check the Botton valve. Check cut off / on, Boiler max pr 7.5KG, 8 Machine service

Work permit follow, LOTO follow, Wear proper PPE, Apply Warning sign board, Check the Preventive maintaince details. Accident and incident report,

©IJRASET: All Rights are Reserved | SJ Impact Factor 7.538 | ISRA Journal Impact Factor 7.894 |
OK NOT OK NOT APPLICABLE
6
3 Electrical rubber mat Available of electrical rubber mat, Identify the rubber mat damage, 4 Legal doc
Available of Boiler test certificate Available of compressor and presser vessel tank test certificate, Available of Generator (emission) test Certificate, Available noise and lux test certificate, 5 Boiler Safety 7

International Journal for Research in Applied Science & Engineering Technology (IJRASET)

ISSN: 2321-9653; IC Value: 45.98; SJ Impact Factor: 7.538

Volume 11 Issue III Mar 2023- Available at www.ijraset.com

9 Work place safety Near miss report,

New electrical installation, New machine Installation, New building construction, RISK & SAFETY MANAGEMENT

10 Installation

11 Pregnant worker(PW) & Breast feeding worker(BFW)

Identify the Pregnant worker and breast feeding worker, Availability of caretaker, No allowed heavy load work and don’t entry hazards area , No allowed in over time, No allowed night shift, Proper break time and extant the break time, Regular update of PW & BFW, Allowed in medical leave (Emergency time), Ensure work place risk in PW & BFW.

12 Risk Assessment

Available of Risk assessment, Ensure all the department Risk Assessment (Updating If Layout changes or New machine installation ), Ensure environmental hazard and ergonomic hazard, fire hazard.

13

PPE'S (e.g. engineering controls, reduce exposure time, insulation wall)

14 First aid box

Sufficient level of PPE stock, Free cost of replace the PPE's, Check the PPE condition, Check the PPE box condition, Find the improper PPE wearing person, To reduce exposure to noise use to proper PPE's

Identify the Dpt wise PPE's warning sign board fixed,

Ensure all the production building fix the first aid box, Clearly visible FAB, Easily accessible FAB, Medicine available FAB, No blockage of FAB,

Work permit s/m followed, LOTO procedure followed, Wear the proper PPE, Use the warning sign board, Identify the Loose wire, Burning wire, Multi looping, Damage wire, Improper jointing wire, Identify Melting & over heating.

15 Electrical Risk

Available of electrical rubber mat, Identify the rubber mat damage.

All the SSB,DP,LDP proper wire insulate

©IJRASET: All Rights are Reserved | SJ Impact Factor 7.538 | ISRA Journal Impact Factor 7.894 |

16 Record

International Journal for Research in Applied Science & Engineering Technology (IJRASET)

ISSN: 2321-9653; IC Value: 45.98; SJ Impact Factor: 7.538

Volume 11 Issue III Mar 2023- Available at www.ijraset.com

and proper dummy provide, cable are covered by pvc pipe or other relevant materials.

Check the earth value monthly once, Check the preventive maintaince schedule,

Accident report (major, minor, medium).

Near miss report.

Work permit report.

Noise report.

H&S committee meeting report,

CHEMICAL MANAGEMENT SYSTEM

17 Chemical Storage area

List of Chemical, List of MSDS, Sufficient level of secondary container, Sufficient level of FE, Availability of FAB and medicine, Availability of spill kit, Available of emergency evacuation procedure, Available of emergency chart, Available of evacuation map, Available of FF & FA trainer, Availability of eye wash station, Availability of humidity meter, Available of warning sign board, Available of PPE sign board,

18 Secondary container

Check the condition of secondary container, Identify the damage and spillage , Regular inspection of secondary container.

19 Spill kit

Clearly visible of spill kit, Easily accessible, Available of spill kit materials, Available of Spill kit operating instruction,

MSDS & SDS there are should be following details are verified :

20 MSDS and SDS

Product Name, Manufacturing Address, Effect the chemical, Human Health affect, Pictogram symbols, Suggestion PPES, MSDS & SDS full update version, Version 3 years once reverse the MSDS, The employees should be knowledge of the MSDS information.

PPE using awareness,

©IJRASET: All Rights are Reserved | SJ Impact Factor 7.538 | ISRA Journal Impact Factor 7.894 |

21 Awareness

International Journal for Research in Applied Science & Engineering Technology (IJRASET)

ISSN: 2321-9653; IC Value: 45.98; SJ Impact Factor: 7.538

Volume 11 Issue III Mar 2023- Available at www.ijraset.com

22 Eye wash and shower station

Spill kit Awareness, Eye wash and shower station Awareness, General health and safety Awareness, Fire drill awareness, Fire fighting training, First Aid training,

Available of operating instruction, Easy Access able, Check the valve, Sufficient level of water and water pressure,

23 PPE & PPE box

24 Empty can and box

Check the condition of PPE box, Check the condition of PPE, Find the improper PPE wearing person, Availability of PPE,

Proper segregation of waste can & carton box storage area, Chemical can after clean then can move to empty can storage area,

FIRE SAFETY EVACUTION

25 Building

26 Stair case

Clear visible of exit and Emg exit door, Clear visible of exit and emg exit board, Clear visible of Yellow line and red arrow making, Clear visible of evacuation map, Clear visible of Fire safety equipment, Clear visible of first aid box, Applicable centralized fire alarm system,

No Object storage(Waste materials, chemical, carton box)

Steps start and end zebra marking, Availability of Hand dill,

No close the exit and emg exit door (including break and lunch time period, same as night duty lunch time), No blockage of exit and emg exit rounds (free from obstacles),

27 Exit and Emg exit

No automatic door, No flammable material stored in rounds and door, Clear visible of Exit and emg exit Sign board, Emg exit width 80 cm ,

28 Emergency light

Clear visible of exit light sign, Check the Doom light direction, Check frequently Battery back up (Update check list),

29 Yellow and red marking Clear visible of yellow line mark and red arrow marking, Identify any defect of marking, Centralized fire alarm s/m, All the building Sufficient level of fire alarm s/m,

©IJRASET: All Rights are Reserved | SJ Impact Factor 7.538 | ISRA Journal Impact Factor 7.894 |

International Journal for Research in Applied Science & Engineering Technology (IJRASET)

ISSN: 2321-9653; IC Value: 45.98; SJ Impact Factor: 7.538

Volume 11 Issue III Mar 2023- Available at www.ijraset.com

30 Fire alarm system

All the worker Identify the FA, Clear visible of Fire alarm s/m, Available of operating instruction, Available of hammer, Free from obstacle, Evacuation of worker Minimum 5 mit of working , Available of UBS battery backup,

31 Fire alarm Sound

All the building Sufficient level of sound, Its different Sound easy identify the worker. Evacuation of worker Minimum 5 mit of working, Employee how to operate FA.

32 Fire alarm Test Update check list, All time working condition with maintaince and service of FA,

33 Fire equipment

The building Sufficient level of fire extinguisher, Clear visible of fire extinguisher, Easy accessible of fire extinguisher, Available of operating instruction board,

Yearly once Refilling FE, Monthly once checking of FE, Update the FE card, Update the check list, Employee how to operate FE,

Smoke

Building Sufficient level of smoke detector, different Sound easy identify the worker, Frequently check the battery.

First aid trainer - 2% of worker, Fire fighting trainer - 10% of worker, Available FA & FE certificate, The building FE & FA mention

Evacuation Drill

Drill Awareness of worker, Drill conducted by two month once (Crosse verification of record), This drill applicable for Buyer and visitor and other worker (Factory inside of all the people applicable).

Everyone knows with our Assembly point num, Line followed by the Assembly point Head counting Authorised person only, LIVING ENVIRONMENT

Availability of transport vehicle, Driver only applicable for valid license holder, Available of medical certificate in driver, Check the vehicle live (FC), Check the Preventive maintaince details,

©IJRASET: All Rights are Reserved | SJ Impact Factor 7.538 | ISRA Journal Impact Factor 7.894 |
34 Fire extinguisher
35
36 Smoke detector test Update check list 37
detector
Trained person
38
39 Assembly point

40 Transport

International Journal for Research in Applied Science & Engineering Technology (IJRASET)

ISSN: 2321-9653; IC Value: 45.98; SJ Impact Factor: 7.538

Volume 11 Issue III Mar 2023- Available at www.ijraset.com

Available of first aid box and Medicine, Available of fire extinguisher, Check the break condition, Check the light condition,

Check the neatness of rest room, Availability of cleaning materials, Available of continuous water

41 Toilet

Per day 3 time of cleaning, Cleaning time wear the PPES, Clear visible of MSDS, Available of restroom check list,

42 Drinking point

Clear visible of sign board, Availability of drinking water, Check the Stand condition No Spillage of water Check the Condition of water Check the Condition of Water can,

Work place H&S environment, Proper ventilation, Proper illumination, Acceptable temperature, Free access the toilet, Free access the drinking point, Free of use transport, Proper wear the PPE'S

43 Employee work place

Proper cleaning maintain, Available of Employee medical certificate, Available drinking point, Available hand washing place, Available of first aid box and Medicine,

44 Canteen Available of fire extinguisher, Available of fire alarm switch, Available of ERT chart and emergency procedure, Available of Evacuation map, Sufficient shitting table,

45 Crèche room

Only allowed in Responsible person, Available of toys, No allowed in sharp toys, Available of drinking water, Available of toilet, Ensure the inside no chemical. Treatment only Responsible person (Doctor and Nurse), Available of Doctor and Nurse, Available of bed, Available of Medicine,

©IJRASET: All Rights are Reserved | SJ Impact Factor 7.538 | ISRA Journal Impact Factor 7.894 |

Fire

International Journal for Research in Applied Science & Engineering Technology (IJRASET)

ISSN: 2321-9653; IC Value: 45.98; SJ Impact Factor: 7.538

Volume 11 Issue III Mar 2023- Available at www.ijraset.com

Proper waste disposal and record, Available of drinking water, Available of

All ways maintain Factory neat and clean, Availability of dustbins, Regular cleaning of dustbins, Keep always dry condition of floor,

area

factory Inside the if any unnecessary place storage of

MENAKA MILL PVT LTD UNIT – I

MENAKA MILL PVT LTD UNIT - I

Emergency

©IJRASET: All Rights are Reserved | SJ Impact Factor 7.538 | ISRA Journal Impact Factor 7.894 |
Extinguisher
person: Inspection Date: Next Due Date: S. No Locat ion Checking parameters If Found Any Deviatio n (Update in DECAT HLON format) Ty pe Capac ity Clam p Condi tion to Hang Eas y access ible Pressure level Ho se Cond ition Safet y Pin & seal provi ded Phyi cal apperi ance If CO2Che ck Wei ght Inspec tion Tag Provid ed Operat ing Instruc tion (Ok / Not Ok) (Yes / No) (Low/Normal /High) (Good/B ad) (Yes / No) (Good/Dam aged) (Below/No rmal) (Yes/ No) (Yes/ No) Fire extinguisher monitoring inspection log Table
Emergency
46 First aid room
Monitoring - Inspection Log Responsible
-25
light monitoring inspection log
47 Cleaning
48 Waste storage area
Identify
toilet, Identify the hygienic cleaning,
proper segregation of waste storage
(E waste, Oil waste, machine waste, chemical waste, fabric waste),
waste, Check the Waste disposal record, Identify the GCT approval person is Waste collected
S. No Locati on Checking parameters If Found Any Deviatio n (Update in DECAT Ty pe Batte ry Condi tion Disp lay sig ns wo rki Swi tch wor king Doom Light Direc tion Light Working condition Duriation of Light working Physic al appeara nce Dama ged Wire s
Light Monitoring - Inspection Log Responsible person: Inspection Date: Next Due Date:

MENAKA

Manual

International Journal for Research in Applied Science & Engineering Technology (IJRASET)

ISSN: 2321-9653; IC Value: 45.98; SJ Impact Factor: 7.538

Volume 11 Issue III Mar 2023- Available at www.ijraset.com

Smoke

©IJRASET: All Rights are Reserved | SJ Impact Factor 7.538 | ISRA Journal Impact Factor 7.894 |
Table -26 Fire alarm switch (or) Manual call point monitoring inspection log
UNIT
MILL PVT LTD
- I
person: Inspection Date: Next Due Date: S.No Location Checking parameters If Found Any Deviation (Update in DECATHLON format) Easy accessible FLB Connectivity - Check By Removing Glass Glass Condition Hammer availability Physical appearance Wire Condition Operating Instruction (Yes/ No) (Working/ Not working) (Good/ Damaged) (Good/ Damaged) (Good/ Damaged) (Good/ Damaged) (Yes/ No)
Call Point Monitoring - Inspection Log Responsible
MILL PVT LTD UNIT - I
Table -27 Smoke detectors monitoring inspection log
MENAKA
Detectors Monitoring -Inspection Log
InspectionDate: Next Due Date: S.No Location If Found Any Deviation (Update in DECATHLON format) FLB Connectivity check with smoke Physical appearance Wiring condition Blinking light Cobweb / Dust particles clean (Working/ Not working) (Good/ Bad) (Good/ Damaged) (Yes/ No) (Yes/ No) ng HLON format) Good/ Bad Worki ng / Not wo rki ng Goo d / Dama ged (Yes/ No) Goo d Work ing Fuse not work ing Bulb not work ing Bel ow 5 Min Betwe en 5 to 8 Min Abo ve 8 Min (Goo d/ Damag ed) (Yes/ No)
Responsibleperson:

International Journal for Research in Applied Science & Engineering Technology (IJRASET)

ISSN: 2321-9653; IC Value: 45.98; SJ Impact Factor: 7.538

Volume 11 Issue III Mar 2023- Available at www.ijraset.com

MENAKA

©IJRASET: All Rights are Reserved | SJ Impact Factor 7.538 | ISRA Journal Impact Factor 7.894 |
Table -28 Fire hydrant monitoring inspection log
MILL PVT LTD UNIT
I
Hydrant Monitoring - Inspection Log Responsibleperson: InspectionDate: Next Due Date: S. No Locat ion Availability Checkingparameters If Found Any Deviatio n (Update in DECAT HLON format) Hose Box Key Prov ided Noz zle1 No' s H os e Re al - 2 No 's Eas y access ible Phyical apperianc eof Hose Box Nozzl e to Hose Coupli ng conne cted Hose to Hydra nt Head Coupl ing conne cted Gat e valv e whe el rota tion Hose Condit ion (Leaka ges) Pressure level Opera ting Instruc tion (Yes/ No) (Yes/ No) (Go od/ Dama ged) (Yes / No) (Ye s/ No) (Easy/ Hard) (Go od/ Dama ged) L o w Nor mal Hi gh (Yes/ No)
-
Fire
MILL PVT LTD UNIT - I FireHose reel Monitoring - Inspection Log Responsibleperson: InspectionDate: Next Due Date: S.N o Locatio n If Found Any Deviation (Update in DECATHL ON format) Easy accessib le Phyical apperian ce of Hose reel drum Nozzle Conditi on (Easy Twistin g) Hose Dru m rotat ion Gate valve conditi on Hose Conditio n (Leakage s) Pressurelevel Operati ng Instructi on (Yes/ No) (Good /Damaged) (Good /Damage d) (Easy/ Hard) (Good/ Bad) (Good /Damaged) Lo w Norm al Hig h (Yes/ No)
Table -29 Fire hose reel monitoring inspection log
MENAKA
MILL PVT LTD UNIT - I
wash and showe station Monitoring - Inspection Log Responsible person: Inspection Date: Next Due Date: If Found Any sufficient Nozzle fitting Operating
Table -30 Eye wash station monitoring inspection log
MENAKA
Eye

International Journal for Research in Applied Science & Engineering Technology (IJRASET)

ISSN: 2321-9653; IC Value: 45.98; SJ Impact Factor: 7.538

Volume 11 Issue III Mar 2023- Available at www.ijraset.com

MENAKA MILL PVT LTD UNIT - I Drinking point station Monitoring - Inspection Log Responsible

MENAKA MILL PVT LTD UNIT - I

receiver tank Monitoring - Inspection Log

©IJRASET: All Rights are Reserved | SJ Impact Factor 7.538 | ISRA Journal Impact Factor 7.894 | S.No Location Easy accessible Hand valve Foot valve Shower
damage or
leakage Instruction Deviation (Update in DECATHLON format) (Yes/ No) (Easy/ Hard) (Easy/ Hard) (Easy/ Hard) (Yes/ No) (Good /Damaged) (Yes/ No) (Yes/ No)
valve water pressure condition
water
Table -31 Drinking point monitoring inspection log
Inspection
Date: S.No Location If Found Any Deviation (Update in DECATHLON format) Easy accessible Dinking valve sufficient level
fitting damage
leakage Rubber mat condition Check the water taste (Yes/ No) (Easy/ Hard) (Yes/ No) (Good /Damaged) (Yes/ No) (Good /Damaged) (Ok / Not ok)
person:
Date: Next Due
of water Nozzle condition
or water
Table -32 Air receiver tank monitoring inspection log
Air
Inspection
Next Due Date: Sl. no Pres sur e ve sse l det ail Locat ion Seri al num ber Name and addres s of manuf acturer Nat ure of proc ess Year on manfact uring CAP/VO LUM E Condi
All
Is
Safety
Date:
tion of the tank Air lea kag e for tan k
drains handle easily access iable
the drain pipe line valve installe d on the lowest point of the compr essor tank
valve easily access iable Is the in coming and out going pipe line valve installe d on the top and lowest point of the compre ssor tank Press ure gaug e MAX.W ORK. PR Curr ent press ure of the tank Maxi mum allow able storag e tank worki ng pressu re

International Journal for Research in Applied Science & Engineering Technology (IJRASET)

ISSN: 2321-9653; IC Value: 45.98; SJ Impact Factor: 7.538

Volume 11 Issue III Mar 2023- Available at www.ijraset.com

Environmental Impact Check List

MENAKA

o Locatio n Materi al Stored

Secondar y Containe r Availabl e in proper condition Ok No t Ok

Table

Leakage / Spillage found Material container s are closed properly Materials stored under Closed roof & in Ventilate d condition O k No t O k

e things stored near Ok No t O k

Using PPEs while Handlin g the material s

& Spill Control Procedur e Displaye d Ok Not Ok Yes No Yes No Ye s No

If Found Any Deviatio n (Update in DECATHLO N format)

Menaka mills pvt ltd unit-1

Electrical panel board inspection -log

Sl. N o. Locati on

Cleani

Indicati

on lamp Work ing condi tion

Phyical

©IJRASET: All Rights are Reserved | SJ Impact Factor 7.538 | ISRA Journal Impact Factor 7.894 |
Table -33 Environmental impact monitoring inspection log MILL PVT LTD UNIT - I
Inspection Date:
Due Date: Sl.N
Any
Any Flammabl
Responsible person: MSDS
Next
Material s are Labele d Proper ly O k No t O k
-34
Electrical panel board monitoring inspection log
L Phyical
Prop er closi ng door Warni ng signs (dange
voltag
sign) Electric
R Y B OK / NOT OK
Damage d) OK
(Good/
OK / NOT OK OK / NO T OK Yes / No Yes / No Yes / No (Good/ Damage d)
Responsible
person: Inspection Date: Next Due:
PANE
NO
ng conditi on
apperia nce Indicati on lamp
apperi ance Switch Switch workin g conditi on Loo se wire Heat Leaka ge
r and
e
al rubber mat condit ion If Found Any Deviati on
(Good/
/ NOT OK
Damage d)

International Journal for Research in Applied Science & Engineering Technology (IJRASET)

ISSN: 2321-9653; IC Value: 45.98; SJ Impact Factor: 7.538

Volume 11 Issue III Mar 2023- Available at www.ijraset.com

Table -35 Safety equipments – corrective action report

MENAKA MILL PVT LTD UNIT - I SAFETY EQUIPMENTS - CORRECTIVE ACTION REPORT

I understand the work scope,Hazards,Precautions to be tacken and ensure compliance.

I will conduct a safety talk in this regard to the personnel and record on the back side of this permit.

©IJRASET: All Rights are Reserved | SJ Impact Factor 7.538 | ISRA Journal Impact Factor 7.894 |
Inspection Done By: DateofInspection: Name oftheEquipment: SL Deviation Found Corrective Action Completion Date Responsible person Verified by person Table -36 work permit system WORK PERMIT DESCRIPTION 1)Date: Time start: Time end: 2)Job Location: 3)Job Description: 4)Associated work permit (if any): Type Permit No Type Permit No Type Permit No HAZARDS AND PRECAUTION Hazards PPE Electrical Isolation Authorised ELE Incharge Falling Objects Fall from height Overhead Danger Moving machine Auto start equipment Traffic movement HV / LV / Line near by Other Safety helmet Safety shoe Safety Harness Gloves Life line Face sheld Other LOTO Done Isolator put off & Locked Test for non operative Service Isolation Authorised MNT Incharge Depressurised Valve closed & Tagged Line blanked OTHER PRECAUTIONS Process Isolation Authorised opeator Safety Net Scaffolding Crawl Board Signage Barrication Valve closed & Tagged Line blanked Line disconnected PERMIT ISSUE AND
Permit Requestor
ACCEPTANCE
Name Sign Date & Time

International Journal for Research in Applied Science & Engineering Technology (IJRASET)

ISSN: 2321-9653; IC Value: 45.98; SJ Impact Factor: 7.538

Volume 11 Issue III Mar 2023- Available at www.ijraset.com

Permit Authoriser

I have reviewed the work scope,Hazards and pecautions and authorise for proceeding the work Name Sign Date & Time

The job described in this permit has been completed ,all safety devices put back,area cleared and person on the job. withdrawn

Name Sign Date & Time

Permit Authorisr

I have reviewed the work site,satisfied and accept for closing this permit

Name Sign Date & Time

SAFETY TALK

i have beeen explained on the content of this work permit (work scope, hazard precautions) and provided necessary ppe’s .i shall strictly follow and will be held responsible or any deviations.

Table – 36.1 safety talk worker details

IV. CONCLUSION

Hazard Identification and Risk Assessment (HIRA) study were made on the textile and various hazards of different process and their associated equipment’s were found. Recommendations are provided to reduce high level risk to low level. . Noise level is measured in various areas of the industry and suitable control measures are suggested. In textile industries, the working environment is high in temperature and hence heat stress, chemical handling index is calculated for the workers working in the Boiler and Dyeing area, ETP & RO plant suitable preventive measures are given. Health hazards associated with each process are found and suitable mitigation measures are given for safe handling of the chemicals

The KPI (KEY PERFORMANCE INDICATPOR) ,its new implementation of MENAKA MILLS UNIT-1 PVT LTD .the factory new update version of KPI table format and KPI schedule, sop o safety and health, list of deviation and monitoring inspection log ,list o PPE’s tabulated department wise , transport safety, key person, daily and monthly on field observe ,work permit system.

The KPI and HIRA assessment details and schedule should be correctly followed and give to working awareness then successive run by factory

©IJRASET: All Rights are Reserved | SJ Impact Factor 7.538 | ISRA Journal Impact Factor 7.894 |
Date Time (AM / PM) Valid upto Requestor Authoriser After hour Authoriser Operator
ENDORSEMENTS FOR EXTENSION / CANCELLATIONS
PERMIT CLOSURE Permit Requestor
Sl.no Name Signature

International Journal for Research in Applied Science & Engineering Technology (IJRASET)

ISSN: 2321-9653; IC Value: 45.98; SJ Impact Factor: 7.538

Volume 11 Issue III Mar 2023- Available at www.ijraset.com

REFERENCES

[1] Textile Business-JJG, “Hazard identification and risk assessment Standard”, March 2018.

[2] D.S Padmini..,” Unsafe work environment in garments industries”, journal of environmental research and development, volume 7 no.1A 2012.

[3] Thillainatarajan, “Review on Occupational Health Diseases in the textile industries”, International Research Journal of Engineering and Technology, Volume: 06 Issue: 10, Oct 2019

[4] Nazia Malik..,” Role of hazard control measure in occupational health and safety in the textile industry of Pakistan, Pak j.agri sci vol 47(1), 72-76,2010.

[5] Hafiz Danish asraf.,”frequency of hearing loss among textile workers of wearing units in Karachi, Pakistan.

[6] Tiwari meenaxi..,” Causes of Musco- skeletal disorders in the textile industry”, Issn 2329-3563.vol 1(4),4850,December 2012

[7] Vasim khatik..,” The pioneering study on identification of fire hazards in cotton ginning industries of nandurbar region of Maharashtra”, volume-2, Issn 22778179

[8] Nimkar 2016,‘Chemical Safety at the Workplace in Textile Industry’ NimkarTek Technical Services Pvt Ltd.

[9] Faisal Hannan 2015,Risk Assessment and Evaluation of Basic Health and Safety Facilities (A Report of Textile Industry Gujrat, Pakistan) (2014) Safety View Magazine.

©IJRASET: All Rights are Reserved | SJ Impact Factor 7.538 | ISRA Journal Impact Factor 7.894 |

Turn static files into dynamic content formats.

Create a flipbook
Issuu converts static files into: digital portfolios, online yearbooks, online catalogs, digital photo albums and more. Sign up and create your flipbook.