
CHERBROS.

![]()

CHERBROS.




παραγωγική της δύναμη αποτελείται:
α) από 90 εργαζόμενους που έχουν εμπειρία
και
διαθέτει: 5 πρέσες ( 2 πρέσες δυναμικότητας 400
τόνων), 14 μηχανήματα κατεργασίας/transfer
(11 μηχανήματα 12-15 θέσεων), 8 μηχανήματα μονταρίσματος και
CherTech), 3
3




χώρους
από
ERASMUS.
Η CherBros








ΔΊΟΔΗ
•
•
•
•












































Η CherBros



GmbH
Prüflabor - Ingenieurbüro - Prüfstände
CHERBROS S.A. Brass Fittings Manufacturer 224 Orfeos Str.
GR - 122 41, Egaleo, Attiki Fluiddynamic measurement
1’’ with 8 balance
Messung - Dauerprüfung
Entwicklung - Berechnung Auslegung - Projektierung
KVS-Value: KV-Value for a full opened valve according to DIN EN 60534-2-3
Herford, 28 May 2015

ADELFOI K. CHEROUVEIM ANONYMI VIOMICHANIKI EMPORIKI ETAIREIA OREICHALKINON YDRAULIKON EIDON
OI ANONY HANIKI ETAIREI ALKINON EI
Certicationdate 23 December 2025 Macro-industry Mechanics Country Greece
ESGSCORE:B
ESG SCO

Va d unti 23 December 2026 6 MacroM Mech h 23Decemmber
Dr.-Ing. Thomas Bäumer B C D E
23 December 2026





















































7002/2

























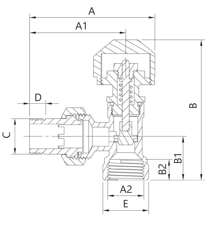
- BODY (CW617N UNI EN 12165)
- END CONNECTION (CW617N UNI EN 2165)
ΑΞΟΝΑΚΙ - STEM (CW614N UNI EN 12164)
1 O-RING (HNBR 70 GREEN FDA)
2 O-RING (NBR 70 FDA)
ΣΦΑΙΡΑ-BALL (CW617N UNI EN 12165)
1
ΤΕΦΛΟΝ
-BALL SEAT (P T F E )

- ALUMINUM BUTTERFLY HANDLE (EN AB - 46100)
2 ΛΑΒΗ ΑΛΟΥΜΙΝΙΟΥ - ALUMINUM HANDLE (EN AB - 46100)
ΠΑΞΙΜΑΔΙ - NUT (CL 04)
ΤΕΦΛΟΝ
- SEALING FLANGE (P T F E )
617N UNI EN 12165)
NNECTION (CW617N UNI EN 2165)
CW614N UNI EN 12164)
GREEN FDA)
FDA)
617N UNI EN 12165)
ΜΠΙΛΙΑΣ -BALL SEAT (P.T.F.E.)
UMINUM BUTTERFLY HANDLE (EN AB - 46100)
ΟΥ - ALUMINUM HANDLE (EN AB - 46100)
CL 04)
ΠΟΙΗΣΗΣ - SEALING FLANGE (P.T.F.E.)

/ TECHNICAL SPECIFICATIONS
N 12165) (CW617N UNI EN 2165) I EN 12164) A)
N 12165)
BALL SEAT (P T F E )

UTTERFLY HANDLE (EN AB - 46100)
NUM HANDLE (EN AB - 46100)
SEALING FLANGE (P T F E ) 4.2

9
6
1 ΣΩΜΑ - BODY (CW617N UNI EN 12165)
2 ΜΑΣΤΟΣ - END CONNECTION (CW617N UNI EN 2165)
3 ΑΞΟΝΑΚΙ - STEM (CW614N UNI EN 12164)
4 1 O-RING (HNBR 70 GREEN FDA)
4 2 O-RING (NBR 70 FDA)
5 ΣΦΑΙΡΑ-BALL (CW617N UNI EN 12165)
-BALL SEAT (P T F E )
7 ΠΕΤΑΛΟΥΔΑ - ALUMINUM BUTTERFLY HANDLE (EN AB - 46100)
8 ΠΑΞΙΜΑΔΙ - NUT (CL 04)
10
- SEALING FLANGE (P T F E )
-NUT (CW617N UNI EN 12165)
11 ΜΑΣΤΟΣ - END CONNECTION (CW617N UNI EN 12165)
12 O-RING (NBR 70)

/ TECHNICAL SPECIFICATIONS


1706/1



1706/3







CW617N UNI EN 12165 2 ΜΑΣΤΟΣ CW617N UNI EN 12165
3 ΑΞΟΝΑΚΙ CW614N UNI EN 12164 4.1 4.2 0-RING 0-RING HNBR 70 GREEN FDA NBR 70 FDA 5
CW617N UNI EN 12165
ΤΕΦΛΟΝ ΣΤΗΡΙΞΗΣ ΜΠΙΛΙΑΣ P.T.F.E
7.1 ΛΑΒΗ ΑΛΟΥΜΙΝΙΟΥ EN AB - 46100 8 ΒΙΔΑ ΙΝΟΧ Α2









1631/1A
1631/1B
1631/1C

CW617N UNI EN 12165 2
3
CW617N UNI EN 12165
CW614N UNI EN 12164
CW617N UNI EN 12165 6
P.T.F.E











EN AB - 46100
P.T.F.E
ΣΤΕΓΑΝΟΠΟΙΗΣΗΣ CW614N UNI EN 12164
ZAMAK-5 ZP 410
ΡΟΥΞΟΥΝΙΟΥ PVC N.1A8
ΡΟΥΞΟΥΝΙ CW508L
ΠΑΞΙΜΑΔΙ CLO4 GEOMET
CW614N UNI EN 12164
CW617N UNI EN 12165
P.T.F.E
















2
3
1
- BODY (CW617N UNI EN 12165)
- END CONNECTION (CW617N UNI EN 2165)
















ZAMAΚ 5
MAΣΤΟΥ (3/8”) P.T.F.E
(3/8”) CW614N UNI EN 12164
PN / DN: 16/9







0210/1Β






0210/1ΒR


















0210/2A
0210/2C














0261/1BL




















0262/1















62,70 B 25,20 C 13,60 D 3/4"
E 67,50
F 42,50
G 25,00
H 1/2"










0260/Α1
0260/Α3
0260/Α4
















CW 614N UNI EN 12164
CW614N UNI EN 12164
3.1 O-RING NBR 70SH
3.2 O-RING NBR 70SH
4 O-RING NBR 80SH

5 ΒΟΛΑΝ ZAMAK5 6
ZP DIN 7985

























0250/2










4007/1

4
1
2
4007/2
- BODY (CW617N UNI EN 12165)
- STEM (CW614N UNI EN 12164)
3 O-RING (HNBR 70)
- BALL (CW617N UNI EN 12165)










A-A ( 1 : 1 )

/ TECHNICAL SPECIFICATIONS
2
3
4
5
1
- BODY (UNI-EN 12165 CW617N)
- BODY END (UNI-EN 12165 CW617N)
- AXLE (BRASS UNI-EN 12165 CW614N)
- SPRING STAINLESS STEEL (AISI 302)
- GASKET DISC (NBR)





1
UNI EN 12165 CW617N






















Threading:
Pipeline connection Threads according to ISO 228/1




































1.


































1706/3




3437/1



3437/2















































0-RING NBR







Dr.-Ing. T. Bäumer GmbH - Altensenner Weg 75 - D - 32052 Herford
CHERBROS S.A.
Brass Fittings Manufacturer 224 Orfeos Str.

GR - 122 41, Egaleo, Attiki
Fluiddynamic measurements
Test bench according to DIN EN 60534
Radiator Valve 0-100%
Flow direction A→Outlet/pump with piping for simulation of radiator
Herford, 28 June 2023
Dr.-Ing. Thomas Bäumer













3750/BL
3018/1




CW614N UNI EN12164
0-RING NBR
0-RING NBR
0-RING NBR
0-RING NBR
0-RING NBR

NBR
CW617N UNI EN12165
CW617N UNI EN12165
CW617N UNI EN12165 INOX 302
CW614N UNI EN 12164
CW614N UNI EN 12164 NBR NBR

Dr.-Ing. T. Bäumer GmbH - Altensenner Weg 75 - D - 32052 Herford
CHERBROS S.A.
Brass Fittings Manufacturer
224 Orfeos Str.
GR - 122 41, Egaleo, Attiki
Fluiddynamic measurements
Test bench according to DIN EN 60534
Radiator Valve Bypass
Flow direction A→Outlet/pump with piping for simulation of radiator

Seite 1 von 2

Dr.-Ing. T. Bäumer GmbH - Altensenner Weg 75 - D - 32052 Herford CHERBROS S.A.
Brass Fittings Manufacturer 224 Orfeos Str.
GR - 122 41, Egaleo, Attiki
Fluiddynamic measurements
Test bench according to DIN EN 60534 BY-PASS Valve 50-100%

Dr.-Ing. Thomas Bäumer
Seite 1 von 1



















CW617N UNI EN12165 CW617N UNI EN12165
CW617N UNI EN12165 INOX 302

Dr.-Ing. T. Bäumer GmbH - Altensenner Weg 75 - D - 32052 Herford
CHERBROS S.A.
Brass Fittings Manufacturer
224 Orfeos Str.

GR - 122 41, Egaleo, Attiki
Fluiddynamic measurements
Test bench according to DIN EN 60534
Radiator Valve 20-80%
Flow direction A→Outlet/pump with piping for simulation of radiator
Sample 2-0,25
Lift: Stroke of spindle T: p1: Temperature Inlet pressure
∆p: VA: VB: KVA:
Pressure difference between connections A and B
Volumetric flow rate in inlet of valve

Volumetric flow rate in inlet of piping for simulation of radiator
KV-Value for flow rate VA
Herford, 11 September 2023
Dr.-Ing. Thomas Bäumer
Dr.-Ing. T. Bäumer GmbH - Altensenner Weg 75 - D - 32052 Herford
CHERBROS S.A.
Brass Fittings Manufacturer 224 Orfeos Str.

GR - 122 41, Egaleo, Attiki
Fluiddynamic measurements
Test bench according to DIN EN 60534
Radiator Valve 20-80%
Flow direction A→Outlet/pump with piping for simulation of radiator
Seite 1 von 1
Lift: Stroke of spindle T: p1: Temperature Inlet pressure
∆p: VA: VB: KVA:
Pressure difference between connections A and B
Volumetric flow rate in inlet of valve
Volumetric flow rate in inlet of piping for simulation of radiator
KV-Value for flow rate VA
Herford, 06 November 2023
Dr.-Ing. Thomas Bäumer











•
•
Τεχνικές Προδιαγραφές:
• Σώμα Διακόπτη: EN 12165/98 CW617N
• Εσωτερικά ορειχάλκινα τμήματα: EN 12164/98 CW614N
• Δακτύλιοι στεγανοποίησης (O-Rings): ΝΒR
• Γλωττίδα διαχωρισμού ροής: PA6 (στιγμιαία έως 1200C)
• Σπείρωμα σύνδεσης: 24x19
• Απόσταση κέντρων εισόδου-εξόδου: 38mm
Λειτουργία: Ο διακόπτης FlowHeat της CHERBROS, είναι
Τοποθέτηση:












3704/BL




3019/Β1



3019/ΒL2






* Proportional band with which the flow and Kv values are calculated
Design features
Sensing element liquid-filled
Springs stainless steel
Handwheel ABS


1,

Features
1) Liquid-filled sensing element
2) Compensation mechanism
3) Adjustment range locking/limiting system
4) Disc stem
7410111480 Rev.H

When used in conjunction with thermostat-adaptable valves, these devices (the use of which is required by Italian Law 10/91) adapt the heat output of heat emitters to the desired temperature, and ensure a high level of comfort with considerable energy savings, by using the naturally occurring heat sources in the room.








Operation is controlled by a liquid-filled sensing element inside the knob. When the element expands or contracts, it moves the valve disc stem in proportion to the deviation between the setpoint temperature and the actual room temperature. If the room temperature exceeds the setpoint, the sensing element gradually closes the disc, thus reducing the flow of hot water to the radiator. Conversely, if the room temperature falls below the setpoint, the element opens the disc, thus increasing the flow of hot water to the radiator. This keeps the temperature constant at the level set for each individual room.
148 Series Thermostatic actuator with liquid-filled sensing element , WATTS brand, with temperature locking and limiting device. ABS cap with radial slots. M30x1.5 threaded ring-nut for coupling with thermostat-adaptable valves. Compatible with 148GA Series tamper-proof cover. Graduated scale from 0 to 5. Adjustment range: 0÷28°C. Anti-freeze position: 8°C. Maximun differential pressure: 1.5 bar. Max. hysteresis 0.4K. Time constant: 27min. UNI EN 215 certified.
148A Series

Thermostatic actuator with liquid-filled sensing elemen 148A Series, WATTS brand, with temperature locking and limiting device. Ergonomic plastic cap with radial slots. M30x1.5 threaded ring-nut for coupling with thermostat-adaptable valves. Compatible with tamper-proof cover. Graduated scale from 0 to 5. Adjustment range: 0÷28°C. Anti-freeze position: 8°C. Maximum differential pressure: 1.5 bar. Max. hysteresis 0.4K. Time constant: 27 min. UNI EN 215 certified.
148SD Series

Thermostatic actuator with remote sensor 148SD Series, WATTS brand. Liquid-filled sensing element. With temperature limiting and locking device. ABS cap with radial slots. M30x1.5 threaded ring-nut for coupling with thermostat-adaptable valves. Compatible with 148GA Series tamper-proof cover. Graduated scale from 0 to 5. Adjustment range: 0÷28°C. Anti-freeze position: 8°C. Capillary length: 2m. Maximum differential pressure: 1.5 bar. Max. hysteresis 0.4K. Time constant: 27 min. 148GA Series Tamper-proof cover 148GA Series, WATTS brand. Compatible with 148,148A and 148SD Series thermostatic
and













1 ΣΩΜΑ CW617N UNI EN 12165
2 ΜΑΣΤΟΣ CW617N UNI EN 12165 3
CW617N UNI EN 12165 4.1
5
CW614 CW614N UNI EN 12164
CW614N UNI EN 12164
6 O-RING NBR 70
7 O-RING NBR 80SH
8 O-RING NBR 70
ZP DIN 985




1 ΣΩΜΑ CW617N UNI EN 12165
2 ΜΑΣΤΟΣ CW617N UNI EN 12165
3
CW617N UNI EN 12165
4.1 ΑΞΟΝΑΚΙ CW614N UNI EN 12164
4.2 ΚΕΦΑΛΑΡΙ CW614N UNI EN 12164
5 ΒΑΛΒΙΔΑ CW614N UNI EN 12164
6 O-RING NBR 70
7 O-RING NBR 70
8 O-RING NBR 70
ZP DIN 98S







3713/2BL


1
2

CW617N UNI EN 12165
CW617N UNI EN 12165
3 ΠΑΞΙΜΑΔΙ CW617N UNI EN 12165
4.1 ΑΞΟΝΑΚΙ CW614N UNI EN 12164
4.2 ΚΕΦΑΛΑΡΙ CW614N UNI EN 12164
5 ΒΑΛΒΙΔΑ CW614N UNI EN 12164
6 O-RING NBR 70
7 O-RING NBR 70
8 O-RING NBR 70
9
12,00 E 24 X 19






1/2” x 1/2”
72,20
54,70
1/2”
81,30 B1 26,00
11,20 C 1/2” D 11,20
25,00
1/2” x 1/2”
78,40
52,40
1/2''
76,30 Β1 15,00 Β2 11,00
C 1/2''
D 12,00
E 24,90

3019/3


3019/4

x M24X19 A 72,20
A1 54,70
A2 24χ19
B 81,30
B1 26,00
B2 10,50
C 1/2”
D 11,20
Διαστάσεις 1/2” x M24X19
A 76,10
Α1 52,40
Β 76,30
Β1 15,00
Β2 10,50
C 1/2''
D 12,00
E 24 X 19





3713/3

11,20


3742/NP














1 ΣΩΜΑ CW617N UNI EN 12165
2 ΜΑΣΤΟΣ CW614N UNI EN 12164
3 ΠΑΞΙΜΑΔΙ CW617N UNI EN 12165
4 ΑΞΟΝΑΚΙ CW614N UNI EN 12164
5 ΚΕΦΑΛΑΡΙ CW614N UNI EN 12164
6 O-RING NBR 70
7 O-RING NBR 70
8 ΛΑΒΗ ΠΛΑΣΤΙΚΗ ABS
9 ΚΕΦΑΛΑΡΙ BY PASS CW614N UNI EN 12164
10 ΑΞΟΝΑΣ BY PASS CW614N UNI EN 12164
11 O-RING NBR 70
12 O-RING NBR 70


Διαστάσεις 1/2” x M24X19
A 66,20
A1 54,70
A2 24x19
B 62,00
B1 24,00
Β2 10.50
C 1/2”
D 11,20

6
8

NBR 70
7 O-RING NBR 70








1 ΣΩΜΑ CW617N UNI EN 12165 2 ΜΑΣΤΟΣ CW614N UNI EN 12164 3 ΠΑΞΙΜΑΔΙ CW617N UNI EN 12165 4 ΑΞΟΝΑΚΙ CW614N UNI EN 12164
5 ΚΕΦΑΛΑΡΙ CW614N UNI EN 12164
6 O-RING NBR 70
7 O-RING NBR 70
8 ΛΑΒΗ ΠΛΑΣΤΙΚΗ ABS
9 ΚΕΦΑΛΑΡΙ BY PASS CW614N UNI EN 12164 10 ΑΞΟΝΑΣ BY PASS CW614N UNI EN 12164
11 O-RING NBR 70 NBR 70

1/2” x M24X19
66,20
54,70
24x19
62,00 B1 24,00
10.50 C 1/2” D 11,20














CW617N UNI 12165
CW614N UNI 12164 • O’ring: EPDM και Viton.
PN16











P.T.F.E.
P.T.F.E. 8
P.T.F.E.
9 ΣΦΑΙΡΑ CW 617N UNI EN 12165 10
CW 617N UNI EN 12165
11 O-RING NBR 70
12
CW 617N UNI EN 12165

104,80 B1 51,30
C 38,95 D 15,50
E 17,30 F 114,50
G 68,90
H 126,00


























Valve 1 opened
Valves 1+2 opened
Valves 1+2+3 opened
Valves 1+2+3+4 opened
ZP DIN985 7
CN 614N UNI EN 12164












•
•
•
•
•
40°C: 0,041 W/Mk ( EN 12667).
30 Kg/ m3 (ISO 845)
























PE LDPE
ABS
ZP DIN985

Prüflabor - Ingenieurbüro - Prüfstände

CHERBROS S.A.
Brass Fittings Manufacturer
224 Orfeos Str.
GR - 122 41, Egaleo, Attiki

Fluiddynamic calculation
Straight Manifold 1’’ - 5 balancing valves



Prüflabor - Ingenieurbüro - Prüfstände
CHERBROS S.A.
Brass Fittings Manufacturer 224 Orfeos Str.
GR - 122 41, Egaleo, Attiki
Fluiddynamic calculation Straight Manifold 1’’ - 5 balancing valves
Herford, 16 April 2021

Dr.-Ing. Thomas Bäumer
Herford, 16 April 2021

1 2 3.1 3.2 3.3 4 5 6
3.4 F 7
1 ΣΩΜΑ CW617N UNI EN 12165
2 ΑΞΟΝΑΚΙ CW614N UNI EN 12164
3.1
3.2 3.3
3.4 0-RING 0-RING O-RING O-RING NBR 70 NBR 70 NBR 70 NBR 70
4 ΤΑΠΑ ΠΡΟΣΤΑΤΕΥΤΙΚΗ PE LDPE
5 ΔΙΑΚΟΠΤΗΣ ABS
6 ΒΙΔΑ ZP DIN985
7 ΚΕΦΑΛΑΡΙ CN 614N UNI EN 12164









1 2 3.1 3.2 3.3 4 5 6 3.4



Prüflabor - Ingenieurbüro - Prüfstände



CHERBROS S.A.
Brass Fittings Manufacturer
224 Orfeos Str.

GR - 122 41, Egaleo, Attiki

Fluiddynamic calculation
Manifold 1’’ - 5 balancing valves
Prüflabor - Ingenieurbüro - Prüfstände
CHERBROS S.A.
Brass Fittings Manufacturer 224 Orfeos Str.
GR - 122 41, Egaleo, Attiki

Herford, 16 April 2021

Dr.-Ing. Thomas Bäumer
Herford, 16 April 2021







Prüflabor - Ingenieurbüro - Prüfstände
CHERBROS S.A.
Brass Fittings Manufacturer 224 Orfeos Str.

GR - 122 41, Egaleo, Attiki

Fluiddynamic calculation

Angle Manifold 3/4’’ - 4 balancing valves



Prüflabor - Ingenieurbüro - Prüfstände
CHERBROS S.A.
Brass Fittings Manufacturer 224 Orfeos Str.
GR - 122 41, Egaleo, Attiki
Fluiddynamic calculation
Angle Manifold 3/4’’ - 4
Herford, 04 April 2022

Dr.-Ing. Thomas Bäumer
1322/1








1310/1










4830100565 565χ110-170χ575mm έως 5
4830100715 715χ110-170χ575mm έως 6
4830100795 795χ110-170χ575mm έως 8
4830100965 965χ110-170χ575mm
•
•
•
•
•
•
• Κατανάλωση ισχύος: περίπου 1 watt
• Βαθμός προστασίας: IP54
•
•
•
• Ύψος: 50 mm

5mm


















3005/4BL




3005/4

3002/4

3006/4


3005/5

3002/5
3006/5






1.



































u1o
u2o

u3o Bήμα:















0630



0730


0740









u1o Bήμα:
•
•
•
•
u2o Bήμα:












1
3
CW617N UNI EN 12165












0,113 l/m 16mm
0,153 l/m 18mm
0,201 l/m 20mm
0,314 l/m 26mm
0,804 l/m 32mm



8051
8052003230 Ø32 (13mm






•
•
•
u 2o Bήμα:
•


u 3o Bήμα:
•
•
•






0520

053016160Δ 16 x 16 Plus 10/150 5,10
053018180Δ











u






u1o Bήμα:
u2o Bήμα:




- BODY (CW617N UNI EN 12165)
- NUT (CW617N UNI EN 2165)









0610
0620
0710

















4010/2









1120/1














1310/Α1








1380/3

1380/4




1110/2



1230/2




1320/3















u1o Bήμα:
•
•
• Κόπτης
• Γρεζοσπάστης
• CHERFLUX Αλοιφή καθαρισμού
• CHER Solder
u 2o Bήμα:
• Κόβουμε
•


u 3o Bήμα:












0930/2


0940/2


0950/2


1020


















1620/2
1630/7
1620/3
1630/8

































































































PN
NBR 70
HNBR 70 Green FDA:
PTFE (Polytetrafluoroethylene):
GEOMET:
DVGW (Deutscher Verein
DIN
(Hydrogenated Nitrile
Wasserfaches):
NSF/ANSI
EN
ABS:
PEX (Cross-linked Polyethylene):
AL PEX (Aluminum PEX):
EPDM
Nilamid with
Polyamide with Glass:
PP (Polypropylene):
PA 66 (Polyamide
Gauss
Zic
Viton:
DIN 4102:
PC (Polycarbonate):
Inox
DIN
2.
5.
email: orders1@hydromarin.gr
orders2@hydromarin.gr
orders3@hydromarin.gr
τηλεφ: 210.3471605
