


Product:RECLAIMERMIXER
Model:RM-300RECLAIMERMIXERBWR
Configuration:RM-300RotaryMixerBWR00001-UP(MACHINE)POWEREDBYC11Engine
OperationandMaintenanceManual
RM-300SoilStabilizer
MediaNumber-KEBU7523-12PublicationDate-01/01/2014DateUpdated-30/11/2016
Foreword
SMCS-7008;7600-ZM
LiteratureInformation
s00037320
Thismanualshouldbestoredintheoperator'scompartmentintheliteratureholderorseatback literaturestoragearea.
Thismanualcontainssafetyinformation,operationinstructions,transportationinformation, lubricationinformationandmaintenanceinformation.
Somephotographsorillustrationsinthispublicationshowdetailsorattachmentsthatcanbedifferent fromyourmachine.Guardsandcoversmighthavebeenremovedforillustrativepurposes.
Continuingimprovementandadvancementofproductdesignmighthavecausedchangestoyour machinewhicharenotincludedinthispublication.Read,studyandkeepthismanualwiththe machine.
Wheneveraquestionarisesregardingyourmachine,orthispublication,pleaseconsultyourCat dealerforthelatestavailableinformation.
Safety
Thesafetysectionlistsbasicsafetyprecautions.Inaddition,thissectionidentifiesthetextand locationsofwarningsignsandlabelsusedonthemachine.
Readandunderstandthebasicprecautionslistedinthesafetysectionbeforeoperatingorperforming lubrication,maintenanceandrepaironthismachine.
Operation
Theoperationsectionisareferenceforthenewoperatorandarefresherfortheexperiencedoperator. Thissectionincludesadiscussionofgauges,switches,machinecontrols,attachmentcontrols, transportationandtowinginformation.
Photographsandillustrationsguidetheoperatorthroughcorrectproceduresofchecking,starting, operatingandstoppingthemachine.
Operatingtechniquesoutlinedinthispublicationarebasic.Skillandtechniquesdevelopasthe operatorgainsknowledgeofthemachineanditscapabilities.
Maintenance
Themaintenancesectionisaguidetoequipmentcare.TheMaintenanceIntervalSchedule(MIS)lists theitemstobemaintainedataspecificserviceinterval.Itemswithoutspecificintervalsarelisted underthe"WhenRequired"serviceinterval.TheMaintenanceIntervalScheduleliststhepage numberforthestep-by-stepinstructionsrequiredtoaccomplishthescheduledmaintenance.Usethe MaintenanceIntervalScheduleasanindexor"onesafesource"forallmaintenanceprocedures.
MaintenanceIntervals
Usetheservicehourmetertodetermineservicingintervals.Calendarintervalsshown(daily,weekly, monthly,etc.)canbeusedinsteadofservicehourmeterintervalsiftheyprovidemoreconvenient servicingschedulesandapproximatetheindicatedservicehourmeterreading.Recommendedservice shouldalwaysbeperformedattheintervalthatoccursfirst.
Underextremelysevere,dustyorwetoperatingconditions,morefrequentlubricationthanisspecified inthemaintenanceintervalschartmightbenecessary.
Performserviceonitemsatmultiplesoftheoriginalrequirement.Forexample,atevery500service hoursor3months,alsoservicethoseitemslistedunderevery250servicehoursormonthlyandevery 10servicehoursordaily.
CaliforniaProposition65Warning
DieselengineexhaustandsomeofitsconstituentsareknowntotheStateofCaliforniatocause cancer,birthdefects,andotherreproductiveharm.
Batteryposts,terminalsandrelatedaccessoriescontainleadandleadcompounds.Washhandsafter handling.
CertifiedEngineMaintenance
Propermaintenanceandrepairisessentialtokeeptheengineandmachinesystemsoperating correctly.Astheheavydutyoff-roaddieselengineowner,youareresponsiblefortheperformanceof therequiredmaintenancelistedintheOwnerManual,OperationandMaintenanceManual,and ServiceManual.
Itisprohibitedforanypersonengagedinthebusinessofrepairing,servicing,selling,leasing,or tradingenginesormachinestoremove,alter,orrenderinoperativeanyemissionrelateddeviceor elementofdesigninstalledonorinanengineormachinethatisincompliancewiththeregulations (40CFRPart89).Certainelementsofthemachineandenginesuchastheexhaustsystem,fuel system,electricalsystem,intakeairsystemandcoolingsystemmaybeemissionrelatedandshould notbealteredunlessapprovedbyCaterpillar.
MachineCapacity
Additionalattachmentsormodificationsmayexceedmachinedesigncapacitywhichcanadversely affectperformancecharacteristics.Includedwouldbestabilityandsystemcertificationssuchas brakes,steering,androlloverprotectivestructures(ROPS).ContactyourCatdealerforfurther information.
CatProductIdentificationNumber
EffectiveFirstQuarter2001theCatProductIdentificationNumber(PIN)haschangedfrom8to17 characters.Inanefforttoprovideuniformequipmentidentification,Caterpillarandotherconstruction equipmentmanufacturersaremovingtocomplywiththelatestversionoftheproductidentification numberingstandard.Non-roadmachinePINsaredefinedbyISO10261.ThenewPINformatwill applytoallCatmachinesandgeneratorsets.ThePINplatesandframemarkingwilldisplaythe17 characterPIN.Thenewformatwilllooklikethefollowing:


This is the sample of the manual if you need complete manual Click Here to download
2.MachineDescriptor(characters4-8)
3.CheckCharacter(character9)
4.MachineIndicatorSection(MIS)orProductSequenceNumber(characters10-17).Thesewere previouslyreferredtoastheSerialNumber.
MachinesandgeneratorsetsproducedbeforeFirstQuarter2001willmaintaintheir8characterPIN format.
Componentssuchasengines,transmissions,axles,etc.andworktoolswillcontinuetousean8 characterSerialNumber(S/N).
Copyright1993-2021CaterpillarInc. AllRightsReserved. PrivateNetworkForSISLicensees.
TueNov2310:46:21UTC+05302021

Product:RECLAIMERMIXER
Model:RM-300RECLAIMERMIXERBWR
Configuration:RM-300RotaryMixerBWR00001-UP(MACHINE)POWEREDBYC11Engine
OperationandMaintenanceManual
RM-300SoilStabilizer
MediaNumber-KEBU7523-12PublicationDate-01/01/2014DateUpdated-30/11/2016
AccessDoorsandCovers
SMCS-7251;7263;7273-572;7273-573;7273
i02369414


Illustration1g01163893
Sideview
(1)Engineaccessdoors
(2)Coolanttankaccessdoor
(3)Vandalismcovers
(4)Rearmixingchamberdoor
(5)Siderotoraccessdoor
(6)Frontmixingchamberdoor
(7)Batteryboxcover
(8)Circuitbreakerboxcover
(9)Batterydisconnectswitchdoor (10)Grilldoor

Illustration2g01163658
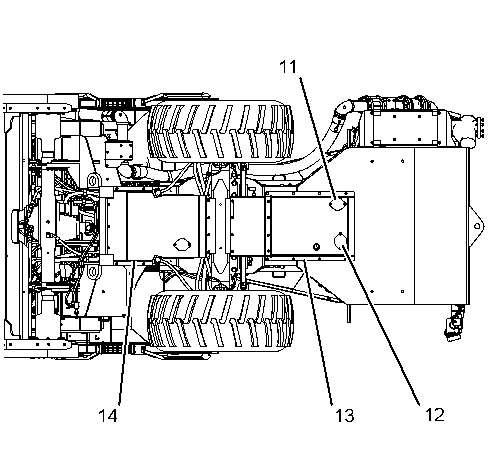
Bottomview
(11)Coolantdrainvalvecover (12)Crankcasedrainvalvecover (13)Frontpanshield (14)Rearpanshield



Illustration3g01163916
Topview (2)Coolanttankaccessdoor (3)Vandalismcovers (15)Accessdoors (16)Accesspanels (17)Rotorcase
Copyright1993-2021CaterpillarInc. AllRightsReserved. PrivateNetworkForSISLicensees.
TueNov2311:00:19UTC+05302021

Product:RECLAIMERMIXER
Model:RM-300RECLAIMERMIXERBWR



Product:RECLAIMERMIXER
Model:RM-300RECLAIMERMIXERBWR
Configuration:RM-300RotaryMixerBWR00001-UP(MACHINE)POWEREDBYC11Engine
OperationandMaintenanceManual
RM-300SoilStabilizer
MediaNumber-KEBU7523-12PublicationDate-01/01/2014DateUpdated-30/11/2016
AuxiliaryHydraulicSystemFilter-Replace
SMCS-5068-510
i02347571
Note:Cleanlinessmustbeaprioritywhenyoudrainthehydraulicoilandwhenyoufillthe hydraulicoil.Cleanlinessmustbeaprioritywhenyouchangethefilters.Draintheoilandfill theoilinacleanworkarea.Usecleantools.Makesurethatyouhavecleanhands.Cleanthe outsideofthehydraulictankbeforeyoustarttooperatethemachine.
Drainthehydraulictankbeforeyouchangethefilter.

Illustration1g01163215
1.Seethehydraulictankdrainvalvebeneaththeaccessstepsontherightsideofthemachine.


Illustration2g01163193 Topviewofthehydraulictankdrainvalve
2.Connectatemporarydrainhosetothedrainvalve.Placetheotherendofthedrainhoseina suitablecontainer.

Illustration3g01163184
3.Cleantheareaaroundthefillercap.
4.Loosenthefillercapinordertoequalizethepressureinthehydraulictank.
5.Openthedrainvalve.Draintheoiltoasuitablecontainer.Allowtheoiltodrainuntilthe hydraulictankisempty.
6.Closethedrainvalve.
7.Removethetemporarydrainhosefromthedrainvalve.
8.Removethecontainer.

Illustration4g01156020
Thehydraulicfiltersarelocatedbehindtheaccessladderontherightsideofthemachine.

Illustration5g01162824
Theauxiliaryhydraulicsystemfilter
9.Placeasuitablecontainerunderthefilter.
10.Removethefilterfromthefilterbase.
11.Cleanthefilterbase.
12.Installthenewfilter.
13.Openthefillercap.
14.Fillthehydraulictankwithclean,approvedhydraulicoil.
15.Closethefillercap.
16.Startthemachine.
17.Allowtheenginetorunforseveralminutes.
18.Checkforleaks.
19.Stopthemachine.
20.Repairanyleaks.
21.Removethecontainer.Disposeofallfluidsaccordingtolocalregulations.Disposeoftheold filteraccordingtolocalregulations.Propercareisyourresponsibility.
22.Continuetocheckforleaksafteryouplacethemachineinoperation.
Note:RefertoOperationandMaintenanceManual,"GeneralHazardInformation"forinformation thatpertainstocontainingfluidspillage. Copyright1993-2021CaterpillarInc.
TueNov2311:02:19UTC+05302021

Product:RECLAIMERMIXER
Model:RM-300RECLAIMERMIXERBWR
Configuration:RM-300RotaryMixerBWR00001-UP(MACHINE)POWEREDBYC11Engine
OperationandMaintenanceManual
RM-300SoilStabilizer
MediaNumber-KEBU7523-12PublicationDate-01/01/2014DateUpdated-30/11/2016
i02369415
BackupAlarm-Test
SMCS-7406-081
1.Starttheengine.


2.Engageparkingbrake(1).


3.Slowlymovepropellever(2)towardtheREVERSEposition.Donotmovethepropelleverto theFULLREVERSE.Donotmovethemachine.
Thebackupalarmshouldsound.Thebackupalarmwillsounduntilthepropelleverismovedtothe CENTERpositionoruntilthepropelleverismovedtotheFORWARDposition.
Note:TheCENTERpositionistheneutralposition.

Illustration3g01153130 Thebackupalarmislocatedontherearbolsterbehindthefueltankdrainatthepivotpointofthebolster.
Copyright1993-2021CaterpillarInc. AllRightsReserved. PrivateNetworkForSISLicensees.
TueNov2311:02:31UTC+05302021

Product:RECLAIMERMIXER
Model:RM-300RECLAIMERMIXERBWR
Configuration:RM-300RotaryMixerBWR00001-UP(MACHINE)POWEREDBYC11Engine
OperationandMaintenanceManual
RM-300SoilStabilizer
MediaNumber-KEBU7523-12PublicationDate-01/01/2014DateUpdated-30/11/2016
i02360573
Battery-Clean
SMCS-1401-070
Batteriesgiveoffflammablefumeswhichcanexplode.
Toavoidinjuryordeath,donotstrikeamatch,causeaspark,orsmoke inthevicinityofabattery.
Note:Maintenancefreebatteriesareincludedwithanewmachine.Youdonotneedtocheckthe electrolytelevelinthemaintenancefreebatteries.
Thebatteryboxislocatedbehindtheoperatoraccessladderontherightsideofthemachine.



1.Disconnectthebattery.RefertothisOperationandMaintenanceManual,"BatteryDisconnect Switch"topic,fortheproperprocedure.
Note:Thereislimitedclearancebetweenthebatteryboxandthebatteryterminals.Usecare whenyoudisconnectthebatteryterminals.Donotallowthebatteryterminalsorthebattery poststocomeincontactwiththebatterybox.Donotallowthebatteryterminalsorthebattery poststocomeincontactwiththebatteryboxcover.
2.Removethebatteryboxcover.
3.Removethebatteryterminalcovers(1).
4.Cleanthebatteryterminals.Coatthebatteryterminalswithpetroleumjelly.
5.Replacethebatteryterminalcovers.
6.Tightenthebatteryretainers(2).
7.Cleanthetopofthebatteries(3)withacleancloth.
8.Replacethebatteryboxcover.
Copyright1993-2021CaterpillarInc. AllRightsReserved. PrivateNetworkForSISLicensees.
TueNov2311:02:43UTC+05302021

Product:RECLAIMERMIXER
Model:RM-300RECLAIMERMIXERBWR
Configuration:RM-300RotaryMixerBWR00001-UP(MACHINE)POWEREDBYC11Engine
OperationandMaintenanceManual
RM-300SoilStabilizer
MediaNumber-KEBU7523-12PublicationDate-01/01/2014DateUpdated-30/11/2016
i06543763
Battery-Recycle
SMCS-1401-561
Alwaysrecycleabattery.Neverdiscardabattery.
Alwaysreturnusedbatteriestooneofthefollowinglocations:
•Abatterysupplier
•Anauthorizedbatterycollectionfacility
•Recyclingfacility
Copyright1993-2021CaterpillarInc.
AllRightsReserved. PrivateNetworkForSISLicensees.
TueNov2311:02:53UTC+05302021

Product:RECLAIMERMIXER
Model:RM-300RECLAIMERMIXERBWR
Configuration:RM-300RotaryMixerBWR00001-UP(MACHINE)POWEREDBYC11Engine
OperationandMaintenanceManual
RM-300SoilStabilizer
MediaNumber-KEBU7523-12PublicationDate-01/01/2014DateUpdated-30/11/2016
i02302940
BatteryorBatteryCable-Inspect/Replace
SMCS-1401-040;1401-510;1402-040;1402-510


1.Turntheenginestartswitch(1)totheOFFposition.Removethekey.




Illustration2g01153247
Note:Donotdisengagetheparkingbrake.
2.Turnalloftheswitchesontheoperatorsconsole(2)(3)totheOFFposition.
3.Turnalloftheswitchesontheoperatorssideconsole(4)totheOFFposition.
4.TurnthekeyforthebatterydisconnectswitchtotheOFFposition.Removethekey.
5.Disconnectthenegativebatterycableatthebatterydisconnectswitch.Thenegativebattery cableisconnectedtotheframeofthemachine.
Note:Donotallowthebatterycablethatisdisconnectedtotouchthedisconnectswitch.
6.Disconnectthenegativebatterycableatthebattery.
7.Makeanyrepairsthatarerequired.Replacethebattery.
8.Connectthenegativebatterycabletothebattery.
9.Connectthebatterytothebatterydisconnectswitch.
10.Installthekey.TurnthebatterydisconnectswitchtotheONposition.
Copyright1993-2021CaterpillarInc. AllRightsReserved. PrivateNetworkForSISLicensees.
TueNov2311:03:03UTC+05302021

Product:RECLAIMERMIXER
Model:RM-300RECLAIMERMIXERBWR
Configuration:RM-300RotaryMixerBWR00001-UP(MACHINE)POWEREDBYC11Engine
OperationandMaintenanceManual
RM-300SoilStabilizer
MediaNumber-KEBU7523-12PublicationDate-01/01/2014DateUpdated-30/11/2016
Belts-Inspect/Adjust/Replace
SMCS-1357-025;1357-040;1357-510
InspectBelts
i02422916
Youshouldinspectthebeltsinyourengineinordertogetthemaximumperformanceoutofyour engine.Thebeltsshouldbeinspectedforwearandforcracks.Checkthebelttension.Ifthebeltsare loose,thebeltswillslip.Beltsthatslipwillcausepoorperformanceofthealternator.
1.Turnofftheengine.
2.TurnthebatterydisconnectswitchtotheOFFposition.
3.Inspectthebelts.
4.Inspectthetensionofthealternatorbelt.
Tocheckthebelttension,apply110N(25lb)offorcetothebelt.Theforcemustbeappliedmidway betweenthepulleys.Ifthebeltsareproperlyadjusted,thebeltswilldeflect10to15mm (.4to.6inch).
Checktheadjustmentonnewbeltsafterthenewbeltshaveoperatedfor30minutes.Formultiplebelt driveapplications,replacethebeltsinmatchedsets.
Ifonlyonebeltofamatchedsetisreplaced,thenewbeltwillcarrymoreloadthantheoldbelts.The oldbeltswillbestretched.Theadditionalloadonthenewbeltcouldcausethenewbelttobreak.
Copyright1993-2021CaterpillarInc. AllRightsReserved. PrivateNetworkForSISLicensees.
TueNov2311:03:15UTC+05302021
This is the sample of the manual if you need complete manual Click Here to download