


Product:MARINEENGINE
Model:C18MARINEENGINECKH
Configuration:C18MarineEngineCKH00001-UP
OperationandMaintenanceManual
Foreword
LiteratureInformation
Thismanualcontainssafety,operationinstructions,lubricationandmaintenanceinformation.This manualshouldbestoredinorneartheengineareainaliteratureholderorliteraturestoragearea. Read,studyandkeepitwiththeliteratureandengineinformation.
EnglishistheprimarylanguageforallCatpublications.TheEnglishusedfacilitatestranslationand consistencyinelectronicmediadelivery.
Somephotographsorillustrationsinthismanualshowdetailsorattachmentsthatmaybedifferent fromyourengine.Guardsandcoversmayhavebeenremovedforillustrativepurposes.Continuing improvementandadvancementofproductdesignmayhavecausedchangestoyourenginewhichare notincludedinthismanual.Wheneveraquestionarisesregardingyourengine,orthismanual,please consultwithyourCatdealerforthelatestavailableinformation.
Safety
Thissafetysectionlistsbasicsafetyprecautions.Inaddition,thissectionidentifieshazardous, warningsituations.Readandunderstandthebasicprecautionslistedinthesafetysectionbefore operatingorperforminglubrication,maintenanceandrepaironthisproduct.
Operation
Operatingtechniquesoutlinedinthismanualarebasic.Theyassistwithdevelopingtheskillsand techniquesrequiredtooperatetheenginemoreefficientlyandeconomically.Skillandtechniques developastheoperatorgainsknowledgeoftheengineanditscapabilities.
Theoperationsectionisareferenceforoperators.Photographsandillustrationsguidetheoperator throughproceduresofinspecting,starting,operatingandstoppingtheengine.Thissectionalso includesadiscussionofelectronicdiagnosticinformation.
Maintenance
Themaintenancesectionisaguidetoenginecare.Theillustrated,step-by-stepinstructionsare groupedbyfuelconsumption,servicehoursand/orcalendartimemaintenanceintervals.Itemsinthe maintenanceschedulearereferencedtodetailedinstructionsthatfollow.
Usefuelconsumptionorservicehourstodetermineintervals.Calendarintervalsshown(daily, annually,etc.)maybeusedinsteadofservicemeterintervalsiftheyprovidemoreconvenient schedulesandapproximatetheindicatedservicemeterreading.
Recommendedserviceshouldbeperformedattheappropriateintervalsasindicatedinthe MaintenanceIntervalSchedule.Theactualoperatingenvironmentoftheenginealsogovernsthe MaintenanceIntervalSchedule.Therefore,underextremelysevere,dusty,wetorfreezingcold operatingconditions,morefrequentlubricationandmaintenancethanisspecifiedintheMaintenance IntervalSchedulemaybenecessary.
Themaintenancescheduleitemsareorganizedforapreventivemaintenancemanagementprogram.If thepreventivemaintenanceprogramisfollowed,aperiodictune-upisnotrequired.The implementationofapreventivemaintenancemanagementprogramshouldminimizeoperatingcosts throughcostavoidancesresultingfromreductionsinunscheduleddowntimeandfailures.
MaintenanceIntervals
Performmaintenanceonitemsatmultiplesoftheoriginalrequirement.Eachleveland/orindividual itemsineachlevelshouldbeshiftedaheadorbackdependinguponyourspecificmaintenance practices,operationandapplication.Werecommendthatthemaintenanceschedulesbereproduced anddisplayedneartheengineasaconvenientreminder.Wealsorecommendthatamaintenance recordbemaintainedaspartoftheengine'spermanentrecord.
SeethesectionintheOperationandMaintenanceManual,"MaintenanceRecords"forinformation regardingdocumentsthataregenerallyacceptedasproofofmaintenanceorrepair.Yourauthorized Catdealercanassistyouinadjustingyourmaintenancescheduletomeettheneedsofyouroperating environment.
Overhaul
MajorengineoverhauldetailsarenotcoveredintheOperationandMaintenanceManualexceptfor theintervalandthemaintenanceitemsinthatinterval.Majorrepairsarebestlefttotrainedpersonnel oranauthorizedCatdealer.YourCatdealeroffersavarietyofoptionsregardingoverhaulprograms. Ifyouexperienceamajorenginefailure,therearealsonumerousafterfailureoverhauloptions availablefromyourCatdealer.Consultwithyourdealerforinformationregardingtheseoptions.
CaliforniaProposition65Warning
DieselengineexhaustandsomeofitsconstituentsareknowntotheStateofCaliforniatocause cancer,birthdefects,andotherreproductiveharm.
Batteryposts,terminalsandrelatedaccessoriescontainleadandleadcompounds.Washhandsafter handling.
Copyright1993-2021CaterpillarInc. AllRightsReserved. PrivateNetworkForSISLicensees.
SunAug2220:45:24UTC+05302021
This is the sample of the manual if you need complete manual Click Here to download

Product:MARINEENGINE
Model:C18MARINEENGINECKH
Configuration:C18MarineEngineCKH00001-UP
OperationandMaintenanceManual FederalEmissionsWarrantyInformation MediaNumber-SEBU7920-04PublicationDate-01/03/2007DateUpdated-16/03/2007
i02000865
GeneralInformation
SMCS-1000
Thefollowingwarrantyinformationisapplicabletoallcommercialmarinedieselenginesthatare certifiedaccordingtotheregulationsoftheUnitedStatesEnvironmentalProtectionAgency(EPA).
Copyright1993-2021CaterpillarInc. AllRightsReserved.
PrivateNetworkForSISLicensees.
SunAug2220:46:12UTC+05302021

Product:MARINEENGINE
Model:C18MARINEENGINECKH
Configuration:C18MarineEngineCKH00001-UP



MaintenanceRecommendations
SomeCaterpillarmarinedieselenginesarecertifiedbytheUnitedStatesEnvironmentalProtection Agency(EPA)tocomplywithgaseousandparticulateemissionstandardsthatareprescribedby Federallawsatthetimeofmanufacture.
Theengineiscertifiedifithasaspecialcertificationlabel.Twotypesoflabelsthatareusedby Caterpillarareshownabove.ACaterpillardealercanalsoinformyouiftheengineiscertifiedandto whichcategorytheengineiscertified.
Efficiencyoftheemissioncontrolandtheengineperformancedependsonadherencetoproper operationandmaintenancerecommendationsANDuseofrecommendedfuelsandlubricatingoils.It isrecommendedthatmajoradjustmentsandrepairsshouldbeperformedbyyourauthorized Caterpillardealer.
Thecorrectivestepstakenimmediatelyondiscoverywornparts,whichmayaffectemissionlevels, willhelpassuretheproperoperationoftheemissioncontrolsystems.TheuseofgenuineCaterpillar partsisrecommended.Suppliersofnon-Caterpillarpartsmustensuretheownerthattheuseofsuch partswillnotadverselyaffectemissionlevels.
Regularmaintenanceintervalswithaspecialemphasisonthefollowingitemsarenecessaryinorder tokeepexhaustemissionswithinacceptablelimitsfortheusefullifeoftheengine.Refertothe OperationandMaintenanceManual,"SevereServiceApplication-Check"topic(Maintenance Section).Iftheengineisoperatingundersevereconditions,adjustthemaintenanceschedule accordingly.SeeyourauthorizedCaterpillardealerinordertohelpanalyzeyourspecificapplication, operatingenvironmentandmaintenancescheduleadjustments.
Thefollowinginformationisanexplanationofmaintenanceitemsforemissionrelatedcomponents. SeetheOperationandMaintenanceManual,"MaintenanceIntervalSchedule"(MaintenanceSection) forthespecificintervalforthefollowingitems.
UNITINJECTORS
-Unitinjectorsaresubjecttotipwearasaresultoffuelcontamination.This damagecancausethefollowingconditions:anincreaseinfuelconsumption,blacksmoke,misfire androughrunningengine.Theunitinjectorshouldbeinspected,testedandreplaced,ifnecessary. UnitinjectorscanbetestedbyanauthorizedCaterpillarmarineenginedealer.
TURBOCHARGER-Checkforanyunusualsoundorvibrationintheturbocharger.Inspecttheinlet pipingandconnectionsandinspecttheexhaustpipingandconnections.Checktheconditionofthe bearing.PerformthemaintenancethatisdescribedintheOperationandMaintenanceManual, "MaintenanceIntervalSchedule"(MaintenanceSection).
ELECTRONICENGINECONTROL
-Thiscomponentisadevicethatisdesignedtocontrol engineoperationwithrespecttotheamountoffuelinjected,theinjectiontimingaswellascontrolling theblacksmokeemissionofanengineduringtheengine'soperationwhenlowinletmanifoldpressure exists.Anyerraticenginebehaviormayindicateaneedforadjustmentorrepair.YourCaterpillar dealerisequippedwiththenecessarytools,personnelandproceduresinordertoperformthisservice.
Theownerisencouragedtokeepadequatemaintenancerecords.However,theabsenceofsuch recordswillnotinvalidatethewarranty.RefertotheOperationandMaintenanceManual, "MaintenanceLog"(ReferenceMaterialsSection).
Thevehicleownermayperformroutinemaintenance,repairsandotherworkthatisoutsideofthe warranty.Theworkmaybedoneatanyrepairfacility.Suchworkdoesnotneedtobeperformedata designatedstationthatisdeterminedbythewarrantyinorderforthewarrantytoremaininforce.
CustomerAssistance(EmissionControlSystemsWarranty)
CaterpillarInc.aimstoensurethattheEmissionControlSystemswarrantyisproperlyadministered. Intheeventthatyoudonotreceivethewarrantyservicetowhichyoubelieveyouareentitledunder theEmissionControlSystemsWarranty,callorwritetothefollowingaddress:
CaterpillarInc. EngineDivision
P.O.Box610
Mossville,IL61552-0610
Attention:CustomerServiceManager (800)228-2030
Authorizeddealersarerecommendedformajormaintenanceandforrepairworkastheyarestaffed withtrainedpersonnelandpropertools.Authorizeddealersareawareofthelatestmaintenance methodsandprocedures.Ownersorotherpersonswhodesiretoperformtheirownworkshould purchaseaServiceManualandobtaincurrentserviceinformationfromtheirCaterpillardealer.
Copyright1993-2021CaterpillarInc. AllRightsReserved. PrivateNetworkForSISLicensees. SunAug2220:47:30UTC+05302021

Product:MARINEENGINE
Model:C18MARINEENGINECKH
Configuration:C18MarineEngineCKH00001-UP
OperationandMaintenanceManual FederalEmissionsWarrantyInformation
MediaNumber-SEBU7920-04PublicationDate-01/03/2007DateUpdated-16/03/2007
FederalEmissionControlWarranty
SMCS-1000
EmissionsWarranty
i02258745
CaterpillarInc.,oranyofitssubsidiaries("Caterpillar")warrantstotheinitialownerandtothe subsequentownerofanew,certified,marinedieselengine(propulsionorauxiliary),thatsuchan engineis:
1.Designed,builtandequippedsoastoconform,atthetimeofsale,withallapplicable regulationsadoptedbytheUnitedStatesEnvironmentalProtectionAgency(EPA).
2.Freefromdefectsinmaterialsandworkmanshipforthefollowingperiods:
EmissionsWarranty
Followingthestandardwarrantyperiods,theemissionwarrantyperiod,outlinedbelow,wouldbe effective:
•60months,or5000hoursofoperation,whicheveroccursfirst,afterdateofdeliverytothe initialownerofaCategory1commercial[usedinrevenueproducingorgovernmental applications]marineengine
•60months,or10000hoursofoperation,whicheveroccursfirst,afterdateofdeliverytothe initialownerofaCategory2commercial[usedinrevenueproducingorgovernmental applications]marineengine
•18months,or5000hoursofoperation,whicheveroccursfirst,afterdateofdeliverytothe initialownerofaCategory3commercial[usedinrevenueproducingorgovernmental applications]marineengine
Theengineiscertifiedifithasaspecialcertificationlabel.RefertoOperationandMaintenance Manual,"EmissionsWarrantyInformation"foranexampleofthefilm.ACaterpillardealercanalso informyouiftheengineiscertifiedandtowhichcategorytheengineiscertified.
Ifanemissionrelatedpartfailsduringthewarrantyperiod,thepartwillberepairedorreplaced.Any suchpartrepairedorreplacedunderwarrantyiswarrantedfortheremainderofthewarrantyperiod.
Thiswarrantycoversthefollowingemission-relatedpartsandcomponents:
•ExhaustAftertreatment(IfEquippedfromCaterpillar)
•FuelInjectionSystem
•InletManifold
•TurbochargerSystem
•ElectronicEngineControlSystem
•SeawaterAftercooler
•VariableValveActuationSystem
•Misc.hoses,clamps,connectorsandsealingdevicesusedintheabovesystems
Duringthetermofthiswarranty,CaterpillarInc.willprovidethroughaCaterpillardealerorother establishmentauthorizedbyit,repairorreplacementofanywarrantedpartatnochargetothemarine dieselengineowner.
LimitationsandResponsibilities
Thewarrantyissubjecttothefollowing:
CaterpillarResponsibilities
Ifadefectinmaterialorworkmanshipisfoundduringthestandardwarrantyperiod,emissions warrantyperiodorextendedwarrantyperiod,ifapplicable,Caterpillarwill,duringnormalworking hoursandthroughaplaceofbusinessofaCaterpillardealerorothersourceapprovedbyCaterpillar:
•Provide(atCaterpillar'schoice)new,remanufacturedorrepairedpartsand/orassembled components,approvedpursuanttoEPARegulations,requiredtocorrectthedefect.
•Replacelubricatingoil,filters,antifreezeandotherserviceitemsmadeunusablebythedefect.
•Providereasonableorcustomarylabor,neededtocorrectthedefectincludinglaborto disconnecttheproductfromandreconnecttheproducttoitsattachedequipment,mounting,and supportsystemsifrequired.For3034,3054,3056and3126enginesandanygeneratorsetsfor usewithsuchenginesand/orbrandedtransmissions(includinganyproductsofother manufacturerspackagedandsoldbyCaterpillar)duringthestandardorextendedwarranty period,ifapplicable.
•Providetravellabor,uptosixhoursroundtripincludingreasonablemileage(perrepair),if,in theopinionofCaterpillar,theproductcannotreasonablybetransportedtoaplaceofbusinessof aCaterpillardealerorothersourceapprovedbyCaterpillar.(ForC1.1,C1.5,andC2.2marine generatorsetsduringthestandardwarrantyperiodonly).
•Providetravellabor,uptosixhoursroundtripincludingreasonablemileage(perrepair),if,in theopinionofCaterpillar,theproductcannotreasonablybetransportedtoaplaceofbusinessof aCaterpillardealerorothersourceapprovedbyCaterpillar.(Forallotherproductduringthe standardorextendedwarrantyperiod,ifapplicable).
•Providereasonabletravelexpensesforauthorizedmechanics,includingmeals,mileageand lodgingwhenCaterpillarchoosestomaketherepairon-site.
Note:ItemsreplacedunderwarrantybecomethepropertyofCaterpillar.
UserResponsibilities
Duringthestandard,extendedandemissionswarrantyperiod,theuserisresponsiblefor:
•Providingproofofthedeliverydatetothefirstuser.
•Premiumorovertimelaborcosts
•Laborandmaterialcostsforproductremovalandreinstallation,exceptasstatedunder "CaterpillarResponsibilities"
•Allcostsfortransportingtheproductorequipmentinwhichtheproductisinstalled.
•Travelexpensesnotcoveredunder"CaterpillarResponsibilities"
•Partsshippingchargesinexcessofthosewhichareusualandcustomary.
•Localtaxes,ifapplicable
•Coststoinvestigatecomplaints,unlesstheproblemiscausedbyadefectinCaterpillarmaterial orworkmanship.
•Givingtimelynoticeofawarrantablefailureandpromptlymakingtheproductavailablefor repair.
•Performanceoftherequiredmaintenanceanduseofproperfuel,oil,lubricantsandcoolant.
•Forelectronicallycontrolledengines,allowCaterpillaraccesstoallelectronicdatastoredinthe ElectronicControlModule.
Limitations
Caterpillarisnotresponsiblefor:
•FailuresresultingfromanyuseorinstallationwhichCaterpillarjudgesimproper.
•Failuresresultingfromattachments,accessoryitemsandpartsnotsoldnorapprovedby Caterpillar
•Failuresresultingfromabuse,neglectand/orimproperrepair.
•Failuresresultingfromuser'sdelayinmakingtheproductavailableafterbeingnotifiedofa potentialproductproblem.
•Failuresresultingfromunauthorizedrepairoradjustments,andunauthorizedfuel-setting changes.
•Damagetoparts,fixtures,housingsattachmentsandaccessoryitems,whicharenotpartofthe engine(includinganyproductsofothermanufacturerspackagedandsoldbyCaterpillar).
•RepairofcomponentssoldbyCaterpillarthatiswarranteddirectlytotheuserbytheir respectivemanufacturer.Dependingontypeofapplication,certainexclusionsmayapply. ConsultyourCaterpillardealerformoreinformation.
ThiswarrantyisinadditiontoCaterpillar'sstandardwarranty,applicabletothemarineengineproduct involved.
NEITHERTHEFOREGOINGEXPRESSWARRANTYNORANYOTHERWARRANTY BYCATERPILLAR,EXPRESSORIMPLIED,ISAPPLICABLETOANYITEM CATERPILLARSELLSWHICHISWARRANTEDDIRECTLYTOTHEUSERBYITS MANUFACTURER.
THISWARRANTYISEXPRESSLYINLIEUOFANYOTHERWARRANTIES,EXPRESS ORIMPLIED,INCLUDINGANYWARRANTYOFMERCHANTABILITYORFITNESS FORAPARTICULARPURPOSE.REMEDIESUNDERTHISWARRANTYARELIMITED TOTHEPROVISIONOFMATERIALANDSERVICESORCONSEQUENTIAL DAMAGES.CATERPILLAREXCLUDESALLLIABILITYFORORARISINGFROMANY NEGLIGENCEONITSPARTORONTHEPARTOFANYOFITSEMPLOYEES,AGENTS ORREPRESENTATIVESINRESPECTOFTHEMANUFACTUREORSUPPLYOF GOODSORTHEPROVISIONOFSERVICESRELATINGTOTHEGOODS.
Copyright1993-2021CaterpillarInc. AllRightsReserved. PrivateNetworkForSISLicensees.
SunAug2220:46:26UTC+05302021

Product:MARINEENGINE
Model:C18MARINEENGINECKH
Configuration:C18MarineEngineCKH00001-UP
OperationandMaintenanceManual
C18MARINEMarineEngine
MediaNumber-SEBU7689-12PublicationDate-01/12/2013DateUpdated-16/12/2013
Foreword
LiteratureInformation
Thismanualcontainssafety,operationinstructions,lubricationandmaintenanceinformation.Thismanual shouldbestoredinorneartheengineareainaliteratureholderorliteraturestoragearea.Read,studyand keepitwiththeliteratureandengineinformation.
EnglishistheprimarylanguageforallCatpublications.TheEnglishusedfacilitatestranslationand consistencyinelectronicmediadelivery.
Somephotographsorillustrationsinthismanualshowdetailsorattachmentsthatmaybedifferentfromyour engine.Guardsandcoversmayhavebeenremovedforillustrativepurposes.Continuingimprovementand advancementofproductdesignmayhavecausedchangestoyourenginewhicharenotincludedinthis manual.Wheneveraquestionarisesregardingyourengine,orthismanual,pleaseconsultwithyourCat dealerforthelatestavailableinformation.
Safety
Thissafetysectionlistsbasicsafetyprecautions.Inaddition,thissectionidentifieshazardous,warning situations.Readandunderstandthebasicprecautionslistedinthesafetysectionbeforeoperatingor performinglubrication,maintenanceandrepaironthisproduct.
Operation
Operatingtechniquesoutlinedinthismanualarebasic.Theyassistwithdevelopingtheskillsandtechniques requiredtooperatetheenginemoreefficientlyandeconomically.Skillandtechniquesdevelopasthe operatorgainsknowledgeoftheengineanditscapabilities.
Theoperationsectionisareferenceforoperators.Photographsandillustrationsguidetheoperatorthrough proceduresofinspecting,starting,operatingandstoppingtheengine.Thissectionalsoincludesadiscussion ofelectronicdiagnosticinformation.
Maintenance
Themaintenancesectionisaguidetoenginecare.Theillustrated,step-by-stepinstructionsaregroupedby fuelconsumption,servicehoursand/orcalendartimemaintenanceintervals.Itemsinthemaintenance schedulearereferencedtodetailedinstructionsthatfollow.
Usefuelconsumptionorservicehourstodetermineintervals.Calendarintervalsshown(daily,annually,etc.) maybeusedinsteadofservicemeterintervalsiftheyprovidemoreconvenientschedulesandapproximate theindicatedservicemeterreading.
RecommendedserviceshouldbeperformedattheappropriateintervalsasindicatedintheMaintenance IntervalSchedule.TheactualoperatingenvironmentoftheenginealsogovernstheMaintenanceInterval Schedule.Therefore,underextremelysevere,dusty,wetorfreezingcoldoperatingconditions,morefrequent lubricationandmaintenancethanisspecifiedintheMaintenanceIntervalSchedulemaybenecessary.
Themaintenancescheduleitemsareorganizedforapreventivemaintenancemanagementprogram.Ifthe preventivemaintenanceprogramisfollowed,aperiodictune-upisnotrequired.Theimplementationofa preventivemaintenancemanagementprogramshouldminimizeoperatingcoststhroughcostavoidances resultingfromreductionsinunscheduleddowntimeandfailures.
MaintenanceIntervals
Performmaintenanceonitemsatmultiplesoftheoriginalrequirement.Eachleveland/orindividualitemsin eachlevelshouldbeshiftedaheadorbackdependinguponyourspecificmaintenancepractices,operation andapplication.Werecommendthatthemaintenanceschedulesbereproducedanddisplayedneartheengine asaconvenientreminder.Wealsorecommendthatamaintenancerecordbemaintainedaspartofthe engine'spermanentrecord.
SeethesectionintheOperationandMaintenanceManual,"MaintenanceRecords"forinformationregarding documentsthataregenerallyacceptedasproofofmaintenanceorrepair.YourauthorizedCatdealercan assistyouinadjustingyourmaintenancescheduletomeettheneedsofyouroperatingenvironment.
Overhaul
MajorengineoverhauldetailsarenotcoveredintheOperationandMaintenanceManualexceptforthe intervalandthemaintenanceitemsinthatinterval.Majorrepairsarebestlefttotrainedpersonneloran authorizedCatdealer.YourCatdealeroffersavarietyofoptionsregardingoverhaulprograms.Ifyou experienceamajorenginefailure,therearealsonumerousafterfailureoverhauloptionsavailablefromyour Catdealer.Consultwithyourdealerforinformationregardingtheseoptions.
DieselengineexhaustandsomeofitsconstituentsareknowntotheStateofCaliforniatocausecancer,birth defects,andotherreproductiveharm.
Batteryposts,terminalsandrelatedaccessoriescontainleadandleadcompounds.Washhandsafter handling.
Copyright1993-2021CaterpillarInc. AllRightsReserved. PrivateNetworkForSISLicensees. SunAug2220:47:31UTC+05302021

Product:MARINEENGINE
Model:C18MARINEENGINECKH
Configuration:C18MarineEngineCKH00001-UP
OperationandMaintenanceManual
C18MARINEMarineEngine
MediaNumber-SEBU7689-12PublicationDate-01/12/2013DateUpdated-16/12/2013 i03626622
SMCS-1063-042-DN
NOTICE
Failuretokeepthecondensatedrainvalvefunctionalcancausesevere damagetotheengine.


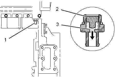
(1)Valve (2)Plunger (3)Valveseat
Theengineboostpressureforcestheplungertomovedowntothevalveseat.Theplungermustclose againsttheseatatapressureof27.5kPa(4psi).Whentheengineisstopped,theabsenceofboost pressureallowstheplungertorisetotheopenposition,whichallowscondensationfromthe aftercoolertodrainout.
Theplungermustbeabletomovefreelyinordertoclosethesystemwhentheengineisrunning.The plungermustbeabletomovefreelyinordertoallowcondensationtodrainfromtheaftercoolerwhen theengineisstopped.Residuefromnormalengineoperationcouldcausetheplungertostick.
1.Removethevalvefromtheadapter.Checkthevalveinordertodetermineiftheplungermoves freely.Iftheplungerdoesnotmoveeasily,cleanthevalvewithsolvent.
2.Reassembletheaftercoolercondensatedrainvalve.SeeSpecificationsManual,SENR3130, "TorqueSpecifications"formoreinformationonthepropertorques.
Copyright1993-2021CaterpillarInc. AllRightsReserved. PrivateNetworkForSISLicensees.
SunAug2220:46:39UTC+05302021

Product:MARINEENGINE
Model:C18MARINEENGINECKH
Configuration:C18MarineEngineCKH00001-UP
OperationandMaintenanceManual
C18MARINEMarineEngine
MediaNumber-SEBU7689-12PublicationDate-01/12/2013DateUpdated-16/12/2013