Skip to main content

CAT + Caterpillar 992 Wheel Loader Service Repair Manual

Page 1


Product: WHEEL LOADER

Model: 992 WHEEL LOADER 25K

Configuration: 992B WHEEL LOADER 25K01170-UP (MACHINE) POWERED BY D348 ENGINE

Disassembly and Assembly

GENERAL INSTRUCTIONS

Media Number -REG00684-03

General Instructions

SMCS - 1405-016

General Instructions

REG006840001

The following instructions will prove helpful to disassemble and assemble machine components. The information should be read and then referred to as necessary.

Safety

The safety symbols in the manual indicate an item or procedure where the use of caution and safety is necessary. ALWAYS heed these symbols.

Your safety and that of others is always the number one consideration when working around machines. Safety is a matter of thoroughly understanding the job to be done and the application of good common sense; not just a matter of "do's" and don'ts."

Cleanliness

Clean the connection and the adjacent area before disconnecting hydraulic, fuel or air lines. As soon as the disconnection is made, cap, plug or tape the line or opening to prevent entry of foreign material. The same recommendations for cleaning and covering apply when access covers or inspection plates are removed.

Clean and inspect all parts. Be sure all passages and holes are open. Cover all parts to keep them clean. Be sure parts are clean when installed. Leave new parts in their containers until ready for assembly.

Removal And Installation

Unless otherwise specified, all removals should be accomplished using an adjustable lifting beam. All supporting members (chains and cables) should be parallel to each other and as near perpendicular as possible to the top of the object being lifted.

When it is necessary to remove a component on an angle, remember that the capacity of an eyebolt diminishes as the angle between the supporting members and the object becomes less than 90°. Eyebolts and brackets should never be bent and should only have stress in tension. A length of pipe and a washer can be used, as shown, to help relieve these stresses on eyebolts.

Forged eyebolts are available. Each size eyebolt has a maximum load recommendation.

Some removals require the use of lifting fixtures to obtain proper balance and to provide safe handling.

If a part resists removal, check to be certain all nuts and bolts have been removed and that an adjacent part is not interfering.

Cleaning And Handling Of Parts

Use caution during removal and installation of parts to prevent damage when handling. Many parts may be used again if not damaged by removal methods. Never discard an expensive part without first cleaning it to see if it can be used again.

Parts that are to be reused should be protected with a coating of oil or corrosion preventive material until they are installed. Do not store parts outside unless they have corrosion protection and they are covered.

Before installation of new or reusable parts, clean the corrosion preventive material from the machined surfaces. Use a cleaning solvent that will not destroy the material being cleaned (an example is aluminum).

Inspect the parts for damage caused by handling. Many nicks and burrs can be removed with crocus cloth or a fine grain polishing stone.

See the correct Service Manual or Guideline for Reusable Parts for more information.

Disassembly And Assembly

When assembling a machine, complete each step in turn. Do not partially assemble one part and start assembling some other part. Make all adjustments as recommended. Always check the job after it is completed to see nothing has been overlooked.

First Operation Of A Rebuilt Engine

Use the following procedure:

1. If the diesel engine has a starting engine, use the starting engine to make the engine turn for 10 minutes.

2. Start the diesel engine, then run the engine at low RPM for 10 minutes. Make correct low idle governor adjustment. Check the pressure of the cooling system and the lubrication system. Look for leaks of water and of oil.

3. Run the engine at 3/4 of full RPM with 1/2load for 15 minutes.

4. Run the engine at full RPM and make correct high idle governor adjustment, then run engine at full RPM and with full load for 30 minutes.

Service Tools

Puller Assembly (2 or 3 Arm)

This is the sample of the manual click on the download link for complete manual

DOWNLOAD LINK

For some reason if link does not work download this pdf and then click

Two or three arm puller assemblies can be used to remove gears, bearing cages, hubs, bearings, shafts, etc.

EXAMPLE OF TOOL INSTALLATION

1. Puller.

EXAMPLE OF TOOL INSTALLATION

1. Puller. 2. Step plate.

EXAMPLE OF TOOL INSTALLATION

1. Puller. 2. Step plate.

Bearing Pulling Attachment

Bearing Pulling Attachments can be used with forcing bolts, to remove shafts, bearings, gears, etc. They can be used with Push-Pullers to provide a variety of pulling combinations.

EXAMPLE OF TOOL INSTALLATION

1. Bearing puller attachment. 2. Forcing screws.

Bearing Cup Pulling Attachment

Bearing Cup Pulling Attachments are used to remove bearing races or cups, sleeve-type bearings, bearings, seats, etc. and can be used with Push Pullers.

EXAMPLE OF TOOL INSTALLATION

1. Screw. 2. Bearing cup puller attachment. 3. Step plate.

Push Pullers

Push Pullers can be used to remove pulleys, gears, shafts, etc., and can be used in a variety of pulling combinations.

EXAMPLE OF TOOL INSTALLATION

1. Adapters (use as required). 2. Ratchet box wrench. 3. Push puller. 4. Step plate. 5. Legs.

EXAMPLE OF TOOL INSTALLATION

1. Push puller. 2. Adapter. 3. Step plate.

EXAMPLE OF TOOL INSTALLATION

1. Ratchet box wrench. 2. Push puller. 3. Reducing adapter.

EXAMPLE OF TOOL INSTALLATION

1. Push puller. 2. Ratchet box wrench. 3. Step plate. 4. Bearing puller attachment.

EXAMPLE OF TOOL INSTALLATION

1. Push puller. 2. Bearing cup puller attachment. 3. Reducing adapter.

EXAMPLE OF TOOL INSTALLATION

1. Bearing puller attachment. 2. Push puller. 3. Reducing adapter.

Tool Safety

RULE 1-Always use safe tools.

RULE 2-Keep tools in safe condition.

RULE 3-Use the right tool for the job.

RULE 4-Safety sense with tools pays off.

Pressing Parts

When pressing one part into another, use 9M3710 Anti-Seize Compound or a molybdenum disulfide base compound to lubricate the mating surfaces.

Assemble tapered parts dry. Before assembling parts with tapered splines, be sure the splines are clean, dry and free from burrs. Position the parts together by hand to mesh the splines before applying pressure.

If parts which are fitted together with tapered splines are not tight, inspect the tapered splines and discard if worn.

Bolts And Bolt Torque

A bolt which is too long may "bottom" before the head is tight against the part it is to hold. The threads can be damaged when a "long" bolt is removed.

If a bolt is too short, there may not be enough threads engaged to hold the part securely.

Apply proper torque values to all bolts and nuts when assembling Caterpillar equipment. When a specific torque value is required, the value is listed in the SPECIFICATION section of the Service Manual. Tighten all other bolts and nuts for general usage, hydraulic valve bodies, or taperlock studs to the torque values given in the charts.

T-T-T Procedure

A torque-turn-tighten (T-T-T) procedure is used in many specifications and instructions.

1. Clean the bolt and nut threads.

2. Put lubricant on the threads and the seat face of the bolt and the nut.

3. Turn the bolt or the nut tight according to the torque specification.

4. Put a location mark on the part and on the bolt or the nut.

5. Turn the bolt or the nut tighter by the amount of degrees shown in the specifications.

NOTE: The side of a nut or bolt head can be used for reference if a mark can not be put on.

Torque Wrench Extension

When a torque wrench extension is used with a torque wrench, the torque indication on the torque wrench will be less than the real torque.

TORQUE WRENCH WITH TORQUE WRENCH EXTENSION

E. Dimension from torque wrench drive axis to torque wrench extension drive axis. W. Dimension from mark on handle to torque wrench drive axis.

1. Put a mark on the handle. Measure the handle from the mark to the axis of the torque wrench drive (W).

2. Measure the torque wrench extension from the torque wrench drive to the axis of the torque wrench extension drive (E).

3. To get correct torque indication (TI) when the real torque (RT) is known:

Example: W = 12 in. (305 mm); E = 2.56 in. (65 mm); RT (from specifications) = 125 lb. ft. (170 N·m).

4. Hold the torque wrench handle with the longest finger of the hand over the mark on the handle to get the real torque (RT) with low torque indication (TI) on the torque wrench.

Torque Multipliers

The capacity of a torque wrench is increased when it is used with a torque multiplier. The Tool Guide shows several torque multipliers with different capacities.

5P3508 TORQUE MULTIPLIER

1. Torque wrench. 2. Torque multiplier.

A 1P850 Torque Multiplier is used with the hydraulic cylinder repair stand. An 8H8561 Adapter is needed when a torque wrench with a 1/2 inch (12.7 mm) drive is used with the 1P850 Torque Multiplier.

Chart (5) under the torque multiplier handle has the torque wrench input torque and the torque multiplier output torque.

When the T-T-T (torque-turn-tighten) procedure is needed, use 60° protractor (3). The protractor is used with six marks (4) to tighten the nut correctly.

1P850 TORQUE MULTIPLIER (USED WITH HYDRAULIC CYLINDER REPAIR STAND)

1. Torque wrench. 3. 60° Protractor. 4. Six marks (60° apart). 5. Chart (under handle).

Locks

Flat metal locks must be installed properly to be effective. Bend one end of the lock around the edge of the part. Bend the other end against one flat surface of the nut or bolt head.

Always install new locks in compartments which house moving parts.

When installing lockwashers on housings made of aluminum, use a flat washer between the lockwasher and the housing.

Lines And Wires

When removing or disconnecting a group of lines or wires, tag each one to assure proper assembly.

Lubrication

Where applicable, fill the compartments of the components serviced with the amount, type and grade of lubricant recommended in the Lubrication and Maintenance Guide section of the Service Manual.

Shims

When shims are removed tie them together and identify them as to location. Keep shims clean and flat until they are reinstalled.

Bearings

Anti-Friction Bearings

When an anti-friction bearing is removed, cover it to keep out dirt and abrasives. Wash bearings in nonflammable cleaning solution and allow them to drain dry. The bearing may be dried with compressed air but DO NOT SPIN THE BEARING.

Discard the bearings if the races and balls or rollers are pitted, scored or burned. If the bearing is serviceable, coat it with oil and wrap it in clean paper. Do not unwrap new bearings until time of installation.

The life of an anti-friction bearing will be shortened if not properly lubricated.

Double Row, Tapered Roller

Double row, tapered roller bearings are precision fit during manufacture and the components are not interchangeable. The cups, cones and spacers are usually etched with the same serial number and letter designator. If no letter designators are found, wire the components together to assure correct installation. Reusable bearing components should be installed in their original positions.

Heating Bearings

Bearings which require expansion for installation should be heated in oil not to exceed 250° F. (121° C.). When more than one part is heated to aid in assembly, they must be allowed to cool and then pressed together again. Parts often separate as they cool and shrink.

Installation

Lubricate new or used bearings before installation. Bearings that are to be preloaded must have a film of oil over the entire assembly to obtain accurate preloading. When installing a bearing, spacer or washer against a shoulder on a shaft, be sure the chamfered side is toward the shoulder.

When pressing bearings into a retainer or bore, apply pressure to the outer race. If the bearing is pressed on the shaft, apply pressure on the inner race.

Preload

Preload is an initial force placed on the bearing at the time of assembly.

Determine preload or end clearance from the SPECIFICATIONS. Care should be exercised in applying preload. Misapplication of preload to bearings requiring end clearance can result in bearing failure.

Sleeve Bearings

DO NOT INSTALL SLEEVE BEARINGS WITH A HAMMER. Use a press if possible and apply the pressure directly in line with the bore. If it is necessary to drive on a bearing use a driver or a bar with a smooth flat end. If a sleeve bearing has an oil hole, align it with the oil hole in the mating part.

Gaskets

Be sure the holes in the gaskets correspond with the lubricant passages in the mating parts. If it is necessary to make gaskets, select stock of the proper type and thickness. Be sure to cut holes properly. Blank gaskets can cause serious damage.

Batteries

Clean batteries by scrubbing with a solution of baking soda and water. Rinse with clear water. After cleaning, dry thoroughly, coat terminals and connections with anti-corrosion compound or grease.

If an engine is not to be used for a long period of time, remove the batteries. Store them in a warm, dry place, on wooden shelves. Never store on concrete. A small charge should be introduced periodically to keep the specific gravity rating at recommended level.

Brake Linings

Replace brake linings before they have worn enough for rivet heads to contact and score the brake drums.

Seals

Duo-Cone Floating Seals

Floating ring seals have highly finished surfaces and are held together by toric sealing rings. The flexibility of the toric sealing rings makes the floating ring seals self aligning and compensates for wear on the metal faces.

During disassembly, tape the metal floating ring seals together so they will be kept in matched sets Always install the metal floating ring seals in pairs; that is, two new seals together or two seals that have previously run together. Never reinstall a used toric sealing ring.

CORRECT INSTALLATION

1. Dimension. 2. Metal floating ring seal. 3. Rubber toric sealing ring. 4. Toric sealing ring retainer.

The illustration shows the dimension (1) to be checked, the metal floating ring seal (2), the rubber toric sealing ring (3) and the toric sealing ring retainer (4). The dimension must be uniform around the entire circumference of the floating ring seal. Check the dimension at 90° intervals.

Handle all parts with care to avoid nicks. File smooth any parts, other than the sealing faces, that have nicks that may make assembly difficult or questionable. Wash used parts. Use a wire brush to clean dirt or rust from the bore of the seal retainers to assure they are clean and smooth. Remove all oil or the protective coating from floating ring seals and retainers with a nonflammable cleaning solvent. Be sure the ramp on the retainers and on the floating ring seals is dry.

Check the ramps for tool marks and nicks. On used parts, remove dirt or rust deposits from the ramps. Smooth the surface with emery cloth.

Install new toric sealing rings or floating ring seals. Seat the toric sealing ring uniformly in the relief of the ring seal. Be sure the toric sealing ring is not twisted. It must set straight against the lip which keeps it from falling off the floating ring seal.

Duo-Cone floating seal installation tools are available for various size seals. See the Power Train Tools section of the Tool Guide for a list of installation tools. A typical installation tool is shown in the illustration.

DUO-CONE SEAL INSTALLED

2. Metal floating ring seal. 3. Rubber toric sealing ring.

If an installer tool is not used, install the toric sealing ring and floating ring seal as an assembly by pressing on the toric sealing ring. Use finger pressure only. Be sure the toric sealing ring is seated uniformly in the recess of both the floating ring seal and the retainer. Make sure it sets in the bore straight and against the lip that keeps it from falling out of the retainer. DO NOT USE A SCREWDRIVER OR STICK TO ASSEMBLE THE TORIC SEALING RING IN THE RETAINER.

Before assembling floating ring seals together, wipe faces of seals with lint-free tissue to remove any foreign material and fingerprints. Place one drop of oil on the cleaning tissue and coat the sealing surfaces of the seals. Be careful to prevent any oil from contacting the toric sealing ring or its mating surfaces.

Lip-Type Seals

Generally the toe or spring-loaded lip of an oil seal faces the oil being sealed or the oil having the higher pressure. The toe or lip of a grease seal faces away from the lubricant being sealed. Unless otherwise specified, use the preceding rules for installing lip-type seals.

The main parts of a lip-type seal are the case, sealing element, and garter spring. The picture illustrates the construction of a simple lip-type seal. The cross sections show the terms "heel" and "toe" used to identify the sides of various types of seals.

Lubricate the lips of lip-type seals before installation. Use the same type lubricant in which the seal will be operating. Do not use grease on any seal except a grease seal.

If, during installation, the seal lip must pass over a shaft that has splines, a keyway, rough surface or a sharp edge, the lip can be easily damaged. Shim stock or other such material can be formed around the area to provide a smooth surface over which to slide the seal.

Hydraulic Systems

Cleanliness

... When removing components of a hydraulic system cover all openings in both the component and the machine.

... If evidence of metal or rubber particles are found in the hydraulic system, flush the entire system

... Disassemble and assemble hydraulic components on a clean surface. Clean all metal parts in a nonflammable cleaning fluid. Then lubricate all components to aid in assembly.

Safety

Before servicing the hydraulic system, NEUTRALIZE THE HYDRAULIC PRESSURE.

PROCEDURE:

1. Lower all implements to the ground. In some instances a removal procedure may require the implement to be blocked in a certain position.

2. With the engine shut off, move the hydraulic control levers to all positions to insure there is no pressure in the system.

3. Place all control levers in HOLD position.

NOTE: When attached hydraulic equipment is removed from a machine which will continue to be used, the hydraulic system lines must be securely blocked. High pressure protective covers are available. The following chart lists the protective covers for various size hydraulic hoses. One Oring seal is required with each protective cover.

Sealing Elements

Inspect all sealing elements (O-rings, gaskets, etc.) when disassembling and assembling hydraulic system components. Install new elements if necessary.

Always use the recommended Caterpillar part number when installing new sealing elements. Seals may resemble one another but will not necessarily be compatible in a given application.

Hydraulic Line Installation

1. For a metal tube to hose installation, install the tube and tighten all bolts finger tight.

2. Tighten the bolts at the rigid end.

3. Install the hose and tighten all bolts finger tight.

4. Put the hose in a position so that it does not make contact with the machine or another hose.

5. Tighten the bolts on both connections.

6. Start the engine.

7. Move the implement control levers to all positions.

8. Look at the hose during movement of the implement. Make sure hose is not in contact with the machine or other hoses.

NOTICE

Do not use the thin sheet metal covers designed for shipping and storage. These covers can rupture when high pressure is applied.

9. Shut off the engine.

10. If necessary, put the hose in a new position where it will not make contact when the implement is moved.

Assembly of Fittings with Straight Threads and O-ring Seals

This type of fitting is used in many applications. The tube end of the fitting will be different in design so that it can be used in many different applications. However, the installation procedure of the fitting is the same. If the tube end of the fitting body is the same as in the illustration (either an elbow or a straight body) it will be necessary to assemble the sleeve on the tube before connecting the tube to the end.

ELBOW BODY ASSEMBLY

1. End of fitting body (connects to tube). 2. Fitting body. 3. Locknut. 4. Backup washer. 5. O-ring seal. 6. End of fitting that goes into other part.

1. Put locknut (3), backup washer (4) and O-ring seal (5) as far back on fitting body (2) as possible. Hold these components in this position. Turn the fitting into the part it is used on, until backup washer (4) just makes contact with the face of the part it is used on.

2. To put the fitting assembly in its correct position, turn the fitting body (2) out (counterclockwise) a maximum of 359°. Tighten locknut (3) finger tight.

NOTE: If the fitting is a connector (straight fitting) the hex on the body takes the place of the locknut. To install this type fitting tighten the hex against the face of the part it goes into.

Torques for Flared and O-ring Fittings

The torques shown in the chart that follows are to be used on the nut part of 37° Flared, 45° Flared and Inverted Flared fittings (when used with steel tubing), O-ring plugs, O-ring fittings and swivel nuts when used in applications to 3000 psi (20 700 kPa).

Torques for Other Fittings

Ermeto Tube Fittings

Put nut and sleeve over the tube with head or shoulder end of sleeve next to nut. Push tube into counterbore of fitting body as far as possible. Turn nut clockwise until sleeve holds tube and prevents movement. Tighten the nut 11/4 turns more to seat sleeve and give a locking action. When necessary to assemble again, put sleeve over tube and tighten nut until a sudden increase in torque is felt. Then tighten 1/6 to 1/3 turn more to seat the sleeve.

Flex Fittings

Put nut and sleeve over tubing and push tube into counterbore of fitting body as far as possible. Tighten the nut until it is against the hex part of the fitting body.

Hi Duty (shear sleeve) Tube Fittings

After tube has been put through the nut and makes contact against the tube shoulder in the fitting body, turn the nut with a wrench until a small decrease in torque is felt. This is an indication that the sleeve has been broken off of the nut. Hold the tube to prevent turning and tighten the nut 1 and 1/2 turns.

Hi Seal Fittings

Put nut and sleeve over the tubing with the short heavy end of the sleeve facing the end of tubing. Put the tube end against the counterbore in the body of the fitting and tighten until nut is over the last thread on the body. The remainder of space is used whenever the fitting is removed and installed again.

Hydraulic Valves

Examine all valves, valve bores and valve seats for nicks, burrs and/or scratches. Rough spots may be removed with a crocus cloth or fine emery cloth. All valves which operate in bores must slide freely in their bores. Be certain all passages are clean and open.

Springs

On control valve spools having bolt-retained centering or return springs, the bolt should be removed while the valve spool is in the valve body. This procedure will prevent spool distortion and possible damage to the spool lands.

BOLT REMOVAL

Check all springs to be certain they meet the values listed in the SPECIFICATIONS.

When installing shims to adjust pressure settings, always place the thick shim or spacer against the spring.

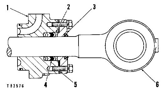
Cylinders

Rod End or Head End?

The "rod end" (1) of a cylinder is that end that has the rod extending.

The "head end" (2) is the other end of the cylinder - the blind end.

The rod end line directs oil to the rod end of the cylinder to retract the rod. The head end line directs oil to the head end of the cylinder to extend the rod.

HYDRAULIC CYLINDER

1. Rod end. 2. Head end.

Removal

The hydraulic system need not be drained to remove any or all cylinders. Only the oil in the lines between the cylinder and its control valve will be lost. However, the control lever must remain in HOLD position or oil can drain from the tank in some instances.

Disassembly and Assembly

Remove and install the bolts securing the cylinder head to the cylinder with the piston rod fully extended.

Cylinder Head Seals

The rubber O-ring seal and the back-up ring which form the seal between the head and cylinder bore are all assembled as illustrated.

Note that the toe or lip of all wiper seals (3) on all cylinders faces away from the cylinder head.

CORRECT INSTALLATION OF O-RING SEAL AND BACK-UP RING

THREE SEAL CYLINDER HEAD

1. Buffer seal. 2. U-cup seal (always installed with lip toward the oil). 3. Wiper seal.

Seal Guide for Installation of Cylinder Head

A hydraulic cylinder rod with a sharp edge, on the thread end of the rod, needs a seal guide to put the cylinder head on the cylinder rod. A complete list of seal guides is in the Vehicle System Tools section of the Tool Guide. To install the cylinder head:

1. Put lubricant on the seals. From the outside face of the cylinder head, push the small diameter end of the seal guide into the seals.

2. Place the thread end of the rod in the seal guide and push the cylinder head on the rod.

TYPICAL SEAL GUIDE AND CYLINDER HEAD

PUSH CYLINDER HEAD ON ROD

Cylinder Head Packing Adjustment

Oil leakage between the rod and the hydraulic cylinder packing can be the result of worn, cut, and/or distorted packing. Leakage can often be stopped by removing shims (2) located between retainer (1) and the cylinder head; this will allow the packing to be compressed against the rod when the retainer is tightened.

REMOVAL OF SHIMS 1. Retainer. 2. Shims.

Remove the bolts securing retainer (1) to the cylinder head. Move the retainer away from the cylinder head to allow the shims to be cut and removed.

Remove one shim (2); install retainer (1) and operate the cylinder. If leakage is still apparent, repeat the procedure. If the cylinder leaks after removing two shims, remove and disassemble the cylinder and replace the packing.

NOTE: Remove only the shims (2) which measure .010 in. (0.25 mm) in thickness. The thicker shims should not be removed to adjust the packing.

Installing Packing and Shims in Head

1. Place retainer (3) on rod (6). Separate and oil all the rings of packing (2). Place the packing on the rod so the open part of the V will be facing toward head (1) when the head is installed. Be sure rubber pressure ring (4) is located as shown.

HEAD ASSEMBLY

1. Head. 2. Packing. 3. Retainer. 4. Rubber pressure ring. 5. Shims.

2. Place the head on the rod and insert one ring of packing at a time into the head.

3. Tap packing firmly into the head with the retainer (3).

4. Hold retainer (3) firmly against the packing and measure clearance (B) between the retainer and head with a thickness gauge. Sufficient shims (5) must be installed between the retainer and head to obtain a total thickness of .010 in. to .015 in. (0.25 to 0.38 mm) less than the measured clearance (B). The shims will preload the packing properly when the retainer bolts are tightened.

CLEARANCE MEASUREMENT

1. Head. 3. Retainer. B. Clearance between head and retainer.

5. Remove the head and contained packing from the rod. Install the correct amount of shims and reinstall the head.

NOTICE

Be careful not to damage packing (2) when reinstalling head (1) on the rod.

PACKING AND SHIMS INSTALLED

1. Head. 2. Packing. 3. Retainer. 4. Rubber pressure ring. 5. Shims. 6. Piston rod.

Solid Seal Assemblies

Each solid seal assembly consists of a solid, rubber, inner expansion ring and a solid, plastic outer seal. Since these seals are continuous rings (no split joint), special tools and procedures are required for installation.

The following is a typical installation procedure for the solid seal assemblies. This procedure can be used for all hydraulic cylinders which use the solid seal assemblies. A piston may have one or two seal assemblies.

The tools needed to install the outer seals of the piston seal assemblies are: one 4S9181 Expander Assembly, one 4S9446 Clamp Assembly (two clamp assemblies are required on the larger diameter pistons), and one seal compressor. Measure the diameter of the piston to select the correct seal compressor. See the COMPRESSOR SELECTION CHART for the seal compressor to be used.

SOLID SEAL INSTALLATION TOOLS

1. 4S9181 Expander Assembly. 2. Seal compressor. 3. 4S9446 Clamp Assembly.

Compressors are marked for nominal ranges shown in the chart. The actual usable range can be calculated by reducing the low figure .06 in. (1.5 mm) and increasing the high figure .19 in. (4.8 mm).

NOTE: Be certain all hydraulic cylinder components have been inspected and new components installed where necessary before installing the seal assemblies. The installation of the seal assemblies is the last step before the piston is installed in the cylinder.

1. For ease of seal installation, remove the wear ring.

2. Install the inner expansion rings on the piston.

SOLID SEAL ASSEMBLIES INSTALLED ON PISTON

4. Wear ring. 5. Solid plastic outer seals. 6. Piston. 7. Solid rubber inner expansion rings.

3. Measure the diameter of the piston to determine the diameter to which the seal must be expanded. The outer seals of the seal assembly must be expanded to a diameter slightly larger than the diameter of piston to allow the seal to be placed over the piston. Be careful not to over-expand the seals or they can be ruined.

NOTE: The bars of the expander are graduated, representing piston diameters. If the seal can be slipped off the expander when the inside face of the movable block is at point (A) (indicated piston diameter) the seal is expanded sufficiently.

4. Place a seal on the expander. Turn the crank on the expander until the inside face of the movable block is slightly past point (A). Then return to point (A). Rotate the seal 90° on the expander and expand again. Check to see if the seal will slip off the expander. If not, repeat the procedure, expanding the seal farther each time, until the seal will slip off the expander when block is returned to point (A).

5. Lubricate the outer seals and place them on the piston. Install and lubricate the wear ring.

SEAL ON EXPANDER

1. 4S9181 Expander Assembly. A. Indicated piston diameter.

6. Select the applicable compressor from the COMPRESSOR SELECTION CHART. Install the clamp on the compressor. Place the compressor loosely over the outer seals. Place the compressor on the piston so the rolled side of the compressor will be facing the cylinder when the piston is installed in the cylinder.

COMPRESSION

OF SEALS

2. Seal compressor. 3. 4S9446 Clamp Assembly.

This is the sample of the manual click on the download link for complete manual

DOWNLOAD LINK

For some reason if link does not work download this pdf and then click

Turn static files into dynamic content formats.

Create a flipbook