Skip to main content

CAT + Caterpillar 988H Wheel Loader Operation & Maintenance Manual

Page 1


Product:WHEELLOADER

Model:988HWHEELLOADERBXY

Configuration:988HWheelLoaderBXY00001-UP(MACHINE)POWEREDBYC18Engine

OperationandMaintenanceManual

988HWheelLoader

MediaNumber-SEBU7808-14PublicationDate-01/05/2012DateUpdated-09/05/2012

Foreword

LiteratureInformation

Thismanualshouldbestoredintheoperator'scompartmentintheliteratureholderorseatback literaturestoragearea.

Thismanualcontainssafetyinformation,operationinstructions,transportationinformation, lubricationinformationandmaintenanceinformation.

Somephotographsorillustrationsinthispublicationshowdetailsorattachmentsthatcanbe differentfromyourmachine.Guardsandcoversmighthavebeenremovedforillustrative purposes.

Continuingimprovementandadvancementofproductdesignmighthavecausedchangestoyour machinewhicharenotincludedinthispublication.Read,studyandkeepthismanualwiththe machine.

Wheneveraquestionarisesregardingyourmachine,orthispublication,pleaseconsultyourCat dealerforthelatestavailableinformation.

Safety

Thesafetysectionlistsbasicsafetyprecautions.Inaddition,thissectionidentifiesthetextand locationsofwarningsignsandlabelsusedonthemachine.

Readandunderstandthebasicprecautionslistedinthesafetysectionbeforeoperatingor performinglubrication,maintenanceandrepaironthismachine.

Operation

Theoperationsectionisareferenceforthenewoperatorandarefresherfortheexperienced operator.Thissectionincludesadiscussionofgauges,switches,machinecontrols,attachment controls,transportationandtowinginformation.

s00037320

Photographsandillustrationsguidetheoperatorthroughcorrectproceduresofchecking,starting, operatingandstoppingthemachine.

Operatingtechniquesoutlinedinthispublicationarebasic.Skillandtechniquesdevelopasthe operatorgainsknowledgeofthemachineanditscapabilities.

Maintenance

Themaintenancesectionisaguidetoequipmentcare.TheMaintenanceIntervalSchedule(MIS) liststheitemstobemaintainedataspecificserviceinterval.Itemswithoutspecificintervalsare listedunderthe"WhenRequired"serviceinterval.TheMaintenanceIntervalScheduleliststhe pagenumberforthestep-by-stepinstructionsrequiredtoaccomplishthescheduledmaintenance. UsetheMaintenanceIntervalScheduleasanindexor"onesafesource"forallmaintenance procedures.

MaintenanceIntervals

Usetheservicehourmetertodetermineservicingintervals.Calendarintervalsshown(daily, weekly,monthly,etc.)canbeusedinsteadofservicehourmeterintervalsiftheyprovidemore convenientservicingschedulesandapproximatetheindicatedservicehourmeterreading. Recommendedserviceshouldalwaysbeperformedattheintervalthatoccursfirst.

Underextremelysevere,dustyorwetoperatingconditions,morefrequentlubricationthanis specifiedinthemaintenanceintervalschartmightbenecessary.

Performserviceonitemsatmultiplesoftheoriginalrequirement.Forexample,atevery500 servicehoursor3months,alsoservicethoseitemslistedunderevery250servicehoursor monthlyandevery10servicehoursordaily.

CaliforniaProposition65Warning

DieselengineexhaustandsomeofitsconstituentsareknowntotheStateofCaliforniatocause cancer,birthdefects,andotherreproductiveharm.

Batteryposts,terminalsandrelatedaccessoriescontainleadandleadcompounds.Washhands afterhandling.

CertifiedEngineMaintenance

Propermaintenanceandrepairisessentialtokeeptheengineandmachinesystemsoperating correctly.Astheheavydutyoff-roaddieselengineowner,youareresponsiblefortheperformance oftherequiredmaintenancelistedintheOwnerManual,OperationandMaintenanceManual,and ServiceManual.

Itisprohibitedforanypersonengagedinthebusinessofrepairing,servicing,selling,leasing,or tradingenginesormachinestoremove,alter,orrenderinoperativeanyemissionrelateddeviceor elementofdesigninstalledonorinanengineormachinethatisincompliancewiththe regulations(40CFRPart89).Certainelementsofthemachineandenginesuchastheexhaust system,fuelsystem,electricalsystem,intakeairsystemandcoolingsystemmaybeemission relatedandshouldnotbealteredunlessapprovedbyCaterpillar.

MachineCapacity

Additionalattachmentsormodificationsmayexceedmachinedesigncapacitywhichcan adverselyaffectperformancecharacteristics.Includedwouldbestabilityandsystemcertifications suchasbrakes,steering,androlloverprotectivestructures(ROPS).ContactyourCatdealerfor furtherinformation.

CatProductIdentificationNumber

EffectiveFirstQuarter2001theCatProductIdentificationNumber(PIN)haschangedfrom8to 17characters.Inanefforttoprovideuniformequipmentidentification,Caterpillarandother constructionequipmentmanufacturersaremovingtocomplywiththelatestversionoftheproduct identificationnumberingstandard.Non-roadmachinePINsaredefinedbyISO10261.Thenew PINformatwillapplytoallCatmachinesandgeneratorsets.ThePINplatesandframemarking willdisplaythe17characterPIN.Thenewformatwilllooklikethefollowing:

1.Caterpillar'sWorldManufacturingCode(characters1-3)

2.MachineDescriptor(characters4-8)

3.CheckCharacter(character9)

4.MachineIndicatorSection(MIS)orProductSequenceNumber(characters10-17).Thesewere previouslyreferredtoastheSerialNumber.

MachinesandgeneratorsetsproducedbeforeFirstQuarter2001willmaintaintheir8character PINformat.

This is the sample of the manual if you need complete manual Click Here to download

Componentssuchasengines,transmissions,axles,etc.andworktoolswillcontinuetousean8 characterSerialNumber(S/N).

Copyright1993-2022CaterpillarInc. AllRightsReserved. PrivateNetworkForSISLicensees.

FriJul2211:31:32UTC+05302022

Product:WHEELLOADER

Model:988HWHEELLOADERBXY

Configuration:988HWheelLoaderBXY00001-UP(MACHINE)POWEREDBYC18Engine

OperationandMaintenanceManual

988HWheelLoader

MediaNumber-SEBU7808-14PublicationDate-01/05/2012DateUpdated-09/05/2012

Alternator-Inspect

SMCS-1405-040

Illustration1g01092657

Thealternatorislocatedontherightsideofthemachine.

Caterpillarrecommendsascheduledinspectionofthealternator.Inspectthealternatorforloose connectionsandforproperbatterycharging.

Keepthebatteriesfullycharged.

Airtemperatureaffectsthecrankingpowerofthebatteries.Keepthebatterieswarm.Theengine willnotcrankifthebatteriesaretoocold.Awarmenginewillnotcrankifthebatteriesaretoo cold.

Whentheengineisoperatedforshortperiodsoftime,thebatteriesmaynotfullyrecharge.Make surethatthealternatorisproperlyfunctioning.Thealternatorwillchargethebatteries.

Reference:Foradditionalinformation,refertotheappropriateServiceManualforthismachine.

Copyright1993-2022CaterpillarInc. AllRightsReserved. PrivateNetworkForSISLicensees.

FriJul2211:57:17UTC+05302022

Product:WHEELLOADER

Model:988HWHEELLOADERBXY

Configuration:988HWheelLoaderBXY00001-UP(MACHINE)POWEREDBYC18Engine

OperationandMaintenanceManual

988HWheelLoader

MediaNumber-SEBU7808-14PublicationDate-01/05/2012DateUpdated-09/05/2012

ArticulationBearings-Lubricate

SMCS-7057-086-BD;7065-086-BD;7066-086-BD

CrushingHazard.Connectthesteeringframelockbetweenfrontand rearframesbeforeservicingthemachineinthearticulationarea. Disconnectthesteeringframelockandsecureitinthestoredposition beforeresumingoperation.Failuretodosocouldresultinserious injuryordeath.

RefertoOperationandMaintenanceManual,"SteeringFrameLock"beforeenteringthe articulationjoint.

Wipeoffthefittingsbeforeanylubricantisapplied.

i04835273

Illustration1g01092660

Applygreasethroughonefittingontheupperpivotbearing.

Illustration2g01092661

Applygreasethroughonefittingonthelowerpivotbearing.

Copyright1993-2022CaterpillarInc. AllRightsReserved. PrivateNetworkForSISLicensees.

FriJul2211:57:29UTC+05302022

Product:WHEELLOADER

Model:988HWHEELLOADERBXY

Configuration:988HWheelLoaderBXY00001-UP(MACHINE)POWEREDBYC18Engine

OperationandMaintenanceManual

988HWheelLoader

MediaNumber-SEBU7808-14PublicationDate-01/05/2012DateUpdated-09/05/2012

AutomaticLubricationGreaseTank-Fill-IfEquipped

SMCS-7540-544-TNK

Apressurehazardispresent.Severepersonalinjuryordeathcanresult fromremovinghosesorfittingsthatareunderpressure.Relievethe pressureinthesystembeforeyouremovehosesorfittings.

TheCentro-MaticLubricationSystem

Reference:Beforeanyserviceworkisperformedonthelubricationsystem,refertoSpecial Instructions,REHS1394orconsultyourCaterpillardealer.

BulkFill

1.Inordertofillthereservoir,removethelowerandupperplugsfromthesideofthe reservoir.

2.Attachtheappropriatepumptothelowerinlet.

3.FillthereservoiruntilvisualindicatoronthelidofthetankindicatesFULLoruntilthe greaseappearsatthetopventport.

Reference:Forthecorrecttypeofgrease,refertoOperationandMaintenanceManual, "LubricantViscosities".

4.Removethepumpandreplacebothplugs.

TheQuicklubLubricationSystem

i02216552

Reference:Beforeanyserviceworkisperformedonthelubricationsystem,refertoSpecial Instructions,REHS1396orconsultyourCaterpillardealer.

FillingtheReservoir

1.Fillthereservoirthroughthegreasefitting.Thegreasefittingislocatedatthebaseofthe reservoir.

Reference:Forthecorrecttypeofgrease,refertoOperationandMaintenanceManual, "LubricantViscosities".

2.Refillthereservoirwhenthegreasereachesthe"MIN"markonthereservoir.

3.Fillthereservoirtothe"MAX"markonthereservoir.

PrimingtheSystem

Afterthereservoirhasbeenfilledwiththerecommendedlubricant,loosenthefittingtothesupply line.Operatethepumpuntillubricantflowsfromtheoutlet.Then,tightenfitting.

Copyright1993-2022CaterpillarInc. AllRightsReserved. PrivateNetworkForSISLicensees.

FriJul2211:57:40UTC+05302022

Product:WHEELLOADER

Model:988HWHEELLOADERBXY

Configuration:988HWheelLoaderBXY00001-UP(MACHINE)POWEREDBYC18Engine

OperationandMaintenanceManual

988HWheelLoader

MediaNumber-SEBU7808-14PublicationDate-01/05/2012DateUpdated-09/05/2012

SMCS-7540-535

Apressurehazardispresent.Severepersonalinjuryordeathcanresult fromremovinghosesorfittingsthatareunderpressure.Relievethe pressureinthesystembeforeyouremovehosesorfittings.

Reference:Beforeanyserviceworkisperformedonthelubricationsystem,refertoSpecialInstructions, REHS1394orconsultyourCatdealer.

Autolubesystemsneedtobeadjustedbeforebeingputintousetoensureeachjointgetstheappropriate amountofgrease.Differentapplicationsrequirefrequency,volume,andproportioningadjustmentsfrom therecommendedorfactorysettings.

(A)A-Pin (B)B-Pin (C)C-Pin (E)E-Pin (F)F-Pin (G)G-Pin

(H)PinforUpperArticulationJoint (J)PinforLowerArticulationJoint (K)K-Pin (L)SteeringCylinderPins (X)Trunnions (Y)Y-Pin

1.Removeanybuildupofgrease.Checkthateachpinjointisreceivingafreshsupplyofgrease.

Reference:Ifafreshsupplyofgreaseisnotpresent,refertoSpecialInstructions,REHS1394for systemtroubleshootingprocedures.

2.Checkthegreaselevelatthetopventportofthereservoir.

Reference:Forfillingprocedures,refertoOperationandMaintenanceManual,"Automatic LubricationGreaseTank-Fill".

SettingsoftheInjectorsfortheAutolubeSystem

Thecontrolleroftheautolubesystemispresetfromthefactory.Thelubricationisdispensedat15minute intervals,andalloftheinjectorsarepresetatthefullflowsetting.Theremaybeanexcessivebuildupof greasearoundsomeofthejoints.Asaresult,thegreasereservoirmayneedfillingmorefrequently.The injectorsforselectedjointscanbeadjustedinordertoreducetheflowofgreasewithoutadversely affectingthelifeofthepin.Theinjectorsaresetbythefactoryatthefullflowsetting.Thissettingis equivalentto8turnsopen.Whentheinjectorsareadjusted,theinjectorsshouldfirstbeclosed.Then,the injectorsshouldbeopenedbythenumberofspecifiedturns.Therecommendedsettingsfortheinjectorsat eachpinlocationarelistedinTable1.

Table1

PinsQty(Injectors)Settings(Turns)

Note:Byusingtheabovesettings,thebuildupofgreasewillbereduced.Theintervalbetweenrefillsofthe reservoirwillbeextendedtoapproximately250hours.Greaselevelsinthereservoirmustbecheckedin ordertoensureanuninterruptedflow.

TimerOperation

Autolubesystemsmustbeadjustedbeforebeingputintousetoensureeachjointgetstheappropriate amountofgrease.Differentapplicationsrequirefrequency,volume,andproportioningadjustmentsfrom therecommendedorfactorysettings.

Autolubesettingsmustbemonitoredandadjustedasneededtoaccountforchangesinapplication, temperature,greasetype,andNLGIgrade.

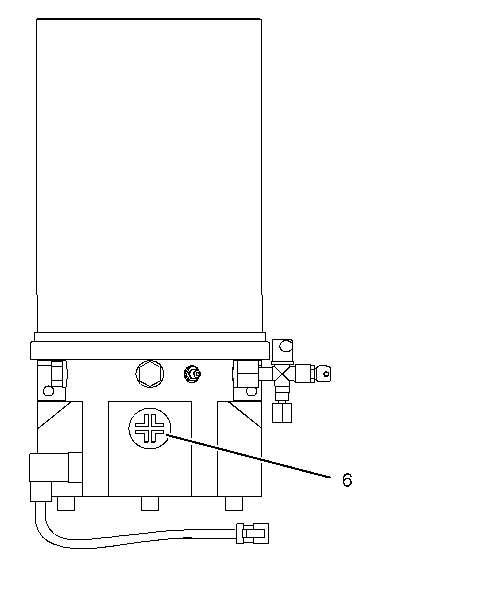
Illustration2g01239276 (6)Accessplug

Removeaccessplug(6)onthefrontofthepumpinordertoaccessthetimercontrol.Thetimercontrol groupconsistsofthefollowing: •Manuallubricationswitch

•OFFtimerrotaryswitch

•ONtimerrotaryswitch

•PowerONLED

•PumpONLED

Illustration3g01238978

Timercontrol

(7)OFFtimerswitch

(8)ONtimerswitch

(9)PowerONLED.

(10)PumpmotorONLED

(11)Pushbuttonformanuallubrication

OFFtimerswitch(7)canbeadjustedto15values.SeeTable1forthetimeintervalforeachvalue.

ONtimerswitch(8)canbeadjustedto15values.SeeTable1forthetimeintervalforeachvalue.

LED(9)ismarked"battery".ThisLEDwillilluminatewhenpowerissenttothepumpcontrol.

LED(10)ismarked"motor".ThisLEDwillilluminatewhenthepumpispumpinglubricant.

Presspushbutton(11)for2seconds.Thisprocesswillinitiateamanuallubricationcycle.

TheOFFpositionofthetimerbeginsaccumulatingtimewhentheignitionswitchcloses.WhentheOFF positionofthetimerreachesthepresetvalue,thepumpwillturnON.Thepumpremainsactivatedforthe timeperiodthatispresetontheONtimer.

WhentheignitionisturnedOFF,theusedtimeissavedforanunlimitedduration.

TurntheignitiontotheONposition.Theautomaticlubricationoperationwillfinishthecycletime

Note:Donotusethezerosettingthatislocatedonthetimerswitches.

Note:ThefactorysettingfortheOFFpositionis"4"(16minutes).ThefactorysettingfortheONposition is"2"(4minutes).

Table2

Note:IftheLincoln94824Pumportheprintedcircuitboardarereplacedinthefield,contactLincoln TechnicalServiceDepartmentat314-679-4200ext.4782forinstructionsonspecialjumperpinsettingfor timeroperationpriortoinstallationandstartup.

Copyright1993-2022CaterpillarInc. AllRightsReserved. PrivateNetworkForSISLicensees.

FriJul2211:57:54UTC+05302022

Product:WHEELLOADER

Model:988HWHEELLOADERBXY

Configuration:988HWheelLoaderBXY00001-UP(MACHINE)POWEREDBYC18Engine

OperationandMaintenanceManual

988HWheelLoader

MediaNumber-SEBU7808-14PublicationDate-01/05/2012DateUpdated-09/05/2012

AxleOilCoolerFilter-Replace

SMCS-3004-510-AOC

NOTICE

Caremustbetakentoensurethatfluidsarecontainedduring performanceofinspection,maintenance,testing,adjustingandrepair oftheproduct.Bepreparedtocollectthefluidwithsuitablecontainers beforeopeninganycompartmentordisassemblinganycomponent containingfluids.

RefertoSpecialPublication,NENG2500,"CaterpillarDealerService ToolCatalog"fortoolsandsuppliessuitabletocollectandcontain fluidsonCaterpillarproducts.

Disposeofallfluidsaccordingtolocalregulationsandmandates.

i02610378

Illustration1g01092743

FrontFilter

Illustration2g01092745

RearFilter

Thefiltersarelocatedundertheaccessdoorontheleftcabplatform.

1.Stoptheengine.

2.Useastraptypewrenchtoremovethefilters.Disposeoftheusedfiltersproperly.

3.Cleanthefiltermountingbases.Makesurethatalloftheusedsealisremovedfromeach filtermountingbase.

4.Applyathincoatofcleandifferentialoiltothesealofeachnewoilfilter.Installeachnew oilfilterhandtightuntilthesealoftheoilfiltercontactsthebase.Notethepositionofeach indexmarkoneachfilterinrelationtoafixedpointoneachfilterbase.

Note:Therearerotationindexmarksoneachoilfilterthatarespaced90degreesor1/4ofa turnawayfromeachother.Whenyoutighteneachoilfilter,usetherotationindexmarksas aguide.

5.Tighteneachfilteraccordingtotheinstructionsthatareprintedoneachfilter.Usetheindex marksasaguide.Fornon-Caterpillarfilters,usetheinstructionsthatareprovidedwiththe filter.

Note:YoumayneedtouseaCaterpillarstrapwrench,oranothersuitabletool,inorderto turnthefiltertotheamountthatisrequiredforfinalinstallation.Makesurethatthe installationtooldoesnotdamagethefilter.

6.Starttheengineandruntheengineatlowidle.Checkforleaks.

7.Checkthelevelofthedifferentialoil.

ReferenceRefertoOperationandMaintenanceManual,"DifferentialandFinalDriveOil Level-Check"forthecorrectprocedure.

Copyright1993-2022CaterpillarInc. AllRightsReserved. PrivateNetworkForSISLicensees.

FriJul2211:58:06UTC+05302022

Product:WHEELLOADER

Model:988HWHEELLOADERBXY

Configuration:988HWheelLoaderBXY00001-UP(MACHINE)POWEREDBYC18Engine

OperationandMaintenanceManual

988HWheelLoader

MediaNumber-SEBU7808-14PublicationDate-01/05/2012DateUpdated-09/05/2012

AxleOscillationBearings-Lubricate

SMCS-3268-086-BD;3278-086-BD

Wipeoffthefittingsbeforeanylubricantisapplied.

Illustration2g01841715

Applylubricantthroughthetworemotefittingsontherightsideofthemachine.Fitting(1) appliesgreasetotherearaxleoscillationbearing.Fitting(2)appliesgreasetothefrontaxle oscillationbearing.

Copyright1993-2022CaterpillarInc. AllRightsReserved. PrivateNetworkForSISLicensees.

FriJul2211:58:17UTC+05302022

Product:WHEELLOADER

Model:988HWHEELLOADERBXY

Configuration:988HWheelLoaderBXY00001-UP(MACHINE)POWEREDBYC18Engine

OperationandMaintenanceManual

988HWheelLoader

MediaNumber-SEBU7808-14PublicationDate-01/05/2012DateUpdated-09/05/2012 i02319912

BackupAlarm-Test

SMCS-7406-081

TurntheenginestartswitchkeytotheONpositioninordertoperformthetest.

Applytheservicebrake.

MovethetransmissiondirectioncontrollevertotheREVERSEposition.

Thealarmshouldstarttosoundimmediately.Thealarmwillcontinuetosounduntilthe transmissiondirectioncontrolleverismovedtotheNEUTRALpositionortotheFORWARD position.

Illustration1g01091949

Thebackupalarmislocatedbehindthereargrill.

Illustration2g01117861

Copyright1993-2022CaterpillarInc. AllRightsReserved. PrivateNetworkForSISLicensees. FriJul2211:58:26UTC+05302022

This is the sample of the manual if you need complete manual Click Here to download

Turn static files into dynamic content formats.

Create a flipbook