Skip to main content

CAT + Caterpillar 988F II Wheel Loader Service Repair Manual

Page 1


988F II WHEEL LOADER







Product: WHEEL LOADER

Model: 988F II WHEEL LOADER 2ZR

Configuration: 988F Series II Wheel Loader 2ZR00001-UP (MACHINE) POWERED BY 3408E Engine

Disassembly and Assembly

Comfort Series Seat For Caterpillar Machines

Media Number -RENR2165-12 Publication Date -01/10/2013 Date Updated -31/10/2013

i01723170

Air Suspension With Air Valve Knob Height Adjustment -

Assemble

SMCS - 7324-016-AJ

Assembly Procedure

Illustration 1 g00891451

1. Install compressor assembly (25) to mount (26). Make sure that compressor assembly (25) isseated firmly in mount (26).

2

Install bolts (24) in order to attach compressor assembly (25) to scissor assembly (11).

3

Improper assembly of parts that are spring loadedcancause bodily injury.

To prevent possible injury, follow the established assembly procedure and wear protective equipment.

3. Install bolt (23) in order to attach spring assembly (18) to scissor assembly (11). Attach hose assembly (22) to spring assembly (18).

Illustration
g00872046
2.
Illustration
g00872043

4

4. Install shaft (20) in order to attach toggle assembly (21) to scissor assembly (11). Tighten the two nuts for shaft (20) to a torque of 15 ±3 N·m (11 ± 2 lb ft).

Illustration 5

g00872031

5. Install shaft assemblies (19) in order to attach tether straps (11A) and scissor assembly (11) to housing assembly (14). Tighten the nutson shaft assemblies (19) to a torque of 20 ± 5 N·m (15 ± 4 lb ft). Install blocking in order to prevent scissor assembly (11) from falling.

Illustration 6

g00872029

Illustration
g00872037

This is the sample of the manual click on the download link for complete manual

DOWNLOAD LINK

For some reason if link does not work download this pdf and then click

7

6. Install screw(17) in order to attach housing assembly (14) to spring assembly (18).

7. Install shaft (15) in order to attach toggle assembly (16) to scissor assembly (11). Tighten the two nuts for shaft (15) to a torque of 15 ±3 N·m (11 ± 2 lb ft).

8 g00897454

Illustration
Illustration

9

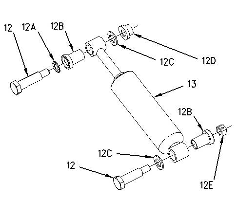
8. Install bearings (12B) to shock absorber (13).

9. Install bolts (12) in order to attach shock absorber (13) to scissor assembly (11) and housing assembly (14). Remove the blocking.

Note: Illustration 8 shows the location of lockwasher (12A), bearings (12B), washers (12C), nut (12D), and locknut (12E).

10. Repeat Steps 8 and 9 if the seat is equipped with a shock absorber on the opposite side.

Illustration 10

g00871994

11. Connect harness assemblies (9) and hose assembly (10) to air valve (8).

Illustration
g00872007

Illustration 11 g00871971

12. Position air valve (8) to upper housing assembly (7). Position upper housing assembly (7) to the seat.

Illustration 12 g00871951

13. Install cable strap (6) in order to secure harness assemblies (9) to upper housing assembly (7).

Illustration 13 g00876043

14. Install shaft assemblies (5). Tighten the nuts for shaft assemblies (5) to a torque of 20 ± 5 N·m (15 ± 4 lb ft).

15. Position plate (4) to the seat. Install lockwasher (3A) and nut (3) in order to secure air valve (8) to the seat. Tighten the setscrewin adjustment knob (1) in order to secure adjustment knob (1) to air valve (8).

Illustration 14

16. Install boot (2) to the seat. Copyright 1993 - 2020 Caterpillar Inc.

g00871915

Rights Reserved. Private Network For SIS Licensees. Fri Sep 11 13:40:12 UTC+0530 2020

Product: WHEEL LOADER

Model: 988F II WHEEL LOADER 2ZR

Configuration: 988F Series II Wheel Loader 2ZR00001-UP (MACHINE) POWERED BY 3408E Engine

Disassembly and Assembly

Comfort Series Seat For Caterpillar Machines

Media Number -RENR2165-12

Air Suspension with Air Valve Knob Height Adjustment

i01693748

Disassemble

SMCS - 7324-015-AJ

Disassembly Procedure

The air spring of the air suspension is filled withair pressure.

Prior to disassembly, release the air pressure in the air spring. Failure to do so could result in personal injury.

Illustration 1 g00871915

1. Pull adjustment knob (1) in order to release the air from the seat.

2. Remove boot (2).

Illustration 2 g00876043

3. Loosen the setscrew in adjustment knob (1) and remove adjustment knob (1). Remove nut (3) and lockwasher (3A). Remove plate (4) from air valve (8).

4. Remove shaft assemblies (5).

Illustration 3 g00871951

5. Remove cable strap (6) in order to disconnect harnessassemblies(9) from upper housing assembly (7).

Illustration 4

g00871971

6. Lift upper housing assembly (7) and push air valve (8) away from upper housing assembly (7). Remove upper housing assembly (7).

Illustration 5

g00871994

7. Disconnect harnessassemblies(9) and hose assembly (10) from air valve (8).

Illustration 6

g00872007

Illustration 7 g00897454

8. Raise scissor assembly (11) and install blocking in order to prevent scissor assembly (11) from falling.

9. Remove bolts (12) in order to remove shock absorber (13) from scissor assembly (11) and housing assembly (14).

10. Remove bearings (12B) from shock absorber (13).

Note: Illustration 7 shows the location of lockwasher (12A), bearings (12B), washers (12C), nut (12D), and locknut (12E).

11. Repeat Steps 9 and 10 if the seat is equipped with a shock absorber on the opposite side.

Illustration 8

Illustration 9

g00872029

12. Remove shaft (15) in order to remove toggle assembly (16) from scissor assembly (11).

13. Remove screw(17) in order to disconnect spring assembly (18) from housing assembly (14).

Illustration 10

g00872031

14. Remove shaft assemblies (19) in order to remove scissor assembly (11) from housing assembly (14) and tether straps (11A).

Illustration 11

15. Remove shaft (20) in order to remove toggle assembly (21) from scissor assembly (11).

12

Personal injury can result from being struck by parts propelled by a releasedspring force.

Make sure to wear all necessary protective equipment.

Follow the recommended procedure and use all recommendedtooling to release the spring force.

16. Remove hose assembly (22) and bolt (23) in order to remove spring assembly (18) from scissor assembly (11).

13

17. Remove bolts (24) in order to remove compressor assembly (25) from scissor assembly (11).

Illustration
g00872043
Illustration
g00872046

Illustration 14 g00891451 18. Remove compressor assembly (25) from mount (26).

Copyright 1993 - 2020 Caterpillar Inc. All Rights Reserved. Private Network For SIS Licensees. Fri Sep 11 13:39:49 UTC+0530 2020

Product: WHEEL LOADER

Model: 988F II WHEEL LOADER 2ZR

Configuration: 988F Series II Wheel Loader 2ZR00001-UP (MACHINE) POWERED BY 3408E Engine

Disassembly and Assembly

Comfort Series Seat For Caterpillar Machines

Media Number -RENR2165-12

Air Suspension With System Air - Assemble

SMCS - 7324-016-AJ

Assembly Procedure

Table 1 ToolsNeeded

Loctite LB 8632 Silicone Lubricant (1)

- Loctite LB 8104 Silicone Lubricant (2)

- Loctite LB 8801 Silicone Lubricant (3)

- Loctite LB Superlube (4)

North America

EAME

Asia Pacific Division

South America

1. Check the condition of all parts of the air suspension. If any of the parts are worn or damaged, install new parts.

i07432502

Illustration 1

TypicalExample

g00275862

2. Position slider track (31) on upper housing (6). Install bolt (33), two bolts (32) and the washers. Tighten bolts (33) and (32) to a torque of 30 ± 7 N·m (22 ± 5 lb ft). Install locknut (30) and the washer. Tighten locknut (30) to a torque of 40 ± 8 N·m (30 ±6 lb ft).

Illustration 2

g00275860

Illustration 3

g00275858

3. Position air spring (28) on scissor assembly (5). Apply Tooling (A) to the threads of bolt (27). Install bolt (27) that holds the air spring to scissor assembly (5). Tighten bolt (27) to a torque of 40 ± 8 N·m (30 ±6 lb ft).

4. Position tubes (12) and (22) on scissor assembly (5). Install new tie-wraps(29) to secure the tubes to the scissor assembly.

5. Connect tube (22) to fitting (26) on air spring (28). Install two bumpers (25).

Illustration 4

g00275857

6. Apply Tooling (B) to scissor assembly (5) at the point of installation for two rollers (24). Install two rollers (24) and two bearings (21). Connect tubes(12) and (22) to valve assembly (23).

Illustration 5

7. Install fitting (11) in lower housing (14).

g00275856

Illustration 6

TypicalExample

g00275855

8. Install two bearings (17) and (20), damper (18), the pin and locknut (19). Tighten locknut (19) to a torque of 30 ±7 N·m (22 ± 5 lb ft). Install shaft (7) and cap (15) on damper (18).

Illustration 7

g00275854

9. Install scissor assembly (5) into lower housing (14). Install two tether belts (10).

Illustration 8

g00275851

10. Install the lower shaft assembly. Install locknut (13) and the lock washer. Tighten locknut (13) to a torque of 40 ±8 N·m (30 ± 6 lb ft).

Illustration 9

11. Connect tube (12) to fitting (11).

g00275850

Illustration 10

TypicalExample

g00275849

12. Install two tether belts(10) and two bearings(9). Apply Tooling (B) to the scissor assembly at the point of installation for rollers(8). Install rollers (8) on the scissor assembly.

Illustration 11

g00275848

13. Apply Tooling (A) to the threads of screw (7). Install screw (7) to secure the air spring, which is not shown. Tighten the screwto a torque of 4.3 ± 1 N·m (38 ± 9 lb in).

12

14. Install upper housing (6) on scissor assembly (5).

Illustration 13

TypicalExample

g00275845

15. Install the upper shaft assembly, locknut (4), and the lock washer. Tighten the locknut to a torque of 40 ± 8 N·m (30 ±6 lb ft). Install locknut (4) and the lock washer. Apply Tooling (A) to the setscrewof knob (2). Install knob (2) and the setscrew.

Illustration 14

TypicalExample

g00275844

Illustration
g00275846

16. Install boot (1).

17. Install the seat on the air suspension. Install the seat in the machine.

Copyright 1993 - 2020 Caterpillar Inc. All Rights Reserved. Private Network For SIS Licensees.

Fri Sep 11 13:45:12 UTC+0530 2020

Product: WHEEL LOADER

Model: 988F II WHEEL LOADER 2ZR

Configuration: 988F Series II Wheel Loader 2ZR00001-UP (MACHINE) POWERED BY 3408E Engine

Disassembly and Assembly

Comfort Series Seat For Caterpillar Machines

Media Number -RENR2165-12

Air Suspension With System Air - Disassemble

SMCS - 7324-015-AJ

Disassembly Procedure

1. Remove the seat from the machine. Separate the seat from the air suspension.

Illustration 1

g00275844 TypicalExample

2. Remove boot (1).

i01518481

Illustration 2

TypicalExample

g00275845

3. Loosen the setscrew on knob (2) and remove the knob. Remove nut (3) and the lock washer.

4. Remove locknut (4) and the lock washer. Remove the upper shaft assembly.

Illustration 3

g00275846

5. Tilt upper housing (6) forward. Slide the upper housing off scissor assembly (7).

Illustration 4

g00275848

6. Remove screw(7) from the air spring, which isnot shown.

Illustration 5

g00275849

7. Disconnect two tether belts(10). Remove two bearings (9) and two rollers (9).

Illustration 6

8. Disconnect tube (12) from fitting (11).

g00275850

Illustration 7

g00275851

9. Remove locknut (13) and the lock washer. Remove the lower shaft assembly.

8

10. Remove two tether belts(10). Lift up scissor assembly (5) and slide the scissor assembly out of lower housing (14).

Illustration 9

TypicalExample

11. Remove cap (15) and shaft (16) from damper (18). Remove locknut (19), the pin, bearings (17) and (20), and damper (18).

Illustration 10

12. Remove fitting (11) from lower housing (14).

Illustration
g00275854
g00275855
g00275856

Illustration 11

13. Remove two bearings (21) and two rollers (24) from scissor assembly (5). Disconnect tubes (22) and (12) from valve assembly (23).

Illustration 12

g00275858

Illustration 13

g00275860

14. Remove two bumpers (25). Remove bolt (27) from air spring (28).

15. Disconnect tube (22) from fitting (26). Remove air spring (28) from scissor assembly (5).

16. Cut tie-wraps(29) that are holding tubes (22) and (12) to scissor assembly (5).

g00275857

Illustration 14

TypicalExample

g00275862

17. Remove two bolts (32) and the washers. Remove locknut (30) and the washer. Remove bolt (33). Remove slider track (31) from upper housing (6).

Copyright 1993 - 2020 Caterpillar Inc. All Rights Reserved.

Private Network For SIS Licensees.

Fri Sep 11 13:40:38 UTC+0530 2020

This is the sample of the manual click on the download link for complete manual

DOWNLOAD LINK

For some reason if link does not work download this pdf and then click

Turn static files into dynamic content formats.

Create a flipbook