
Note: Use Bookmarks panel to navigate

Product: TRACK LOADER
Model: 973D TRACK LOADER LCP
Configuration: 973D TRACK-TYPE LOADER LCP00001-UP (MACHINE) POWERED BY C9 Engine
Disassembly and Assembly
Air Conditioning and Heating R134a for All Caterpillar Machines
Media Number -SENR5664-31
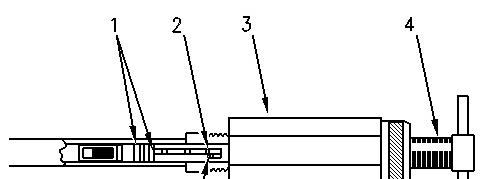
Refrigerant Orifice Tube Assembly - Remove and Install
Removing the Orifice Tube
NOTICE
Do not attempt to remove the orifice tube with pliers. Do not twist or rotate the orifice tube in the tube assembly.
i05907628


This is the sample of the manual click on the download link for complete manual
DOWNLOAD LINK
For some reason if link does not work download this pdf and then click


1U-9890

Product: TRACK LOADER
Model: 973D TRACK LOADER LCP
Configuration: 973D TRACK-TYPE LOADER LCP00001-UP (MACHINE) POWERED BY C9 Engine
Disassembly and Assembly
Air Conditioning and Heating R134a for All Caterpillar Machines
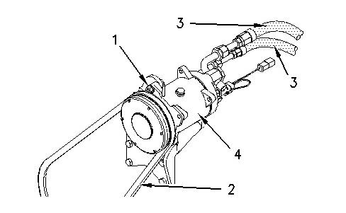
In-Line Refrigerant Dryer - Remove and Install
Dryer Installation
Personal injury can result from contact with refrigerant.
This system is under pressure at all times, even if the engine is not running. Heat should never be applied to a charged system.
Contact with refrigerant can cause frost bite. Keep face and hands away to help prevent injury.
Protective goggles must always be worn when refrigerant lines are opened, even if the gauges indicate the system is empty of refrigerant.
Always use caution when a fitting is removed. Slowly loosen the fitting. If the system is still under pressure, evacuate the system recovering the refrigerant before removing the fitting.
Personal injury or death can result from inhaling refrigerant through a lit cigarette.
Inhaling air conditioner refrigerant gas through a lit cigarette or other smoking method or inhaling fumes released from a flame contacting air conditioner refrigerant gas, can cause bodily harm or death.
Do not smoke when servicing air conditioners or wherever refrigerant gas may be present.
Before any checks of the air conditioning and heating system are made, move the machine to a smooth horizontal surface. Lower all implements to the ground. Make sure the transmission is in neutral or park and that the parking brake is engaged. Keep all other personnel away from the machine or where they can be seen.
Personal injury can result from hot coolant. Any contact with hot coolant or with steam can cause severe burns. Allow cooling system components to cool before the cooling system is drained.
NOTICE
Never weld of solder any charged components.












Before removing the dryer, perform the following steps in order to diagnose the problem
Note:
Dryer Removal
Note:
1993 - 2022 Caterpillar Inc.

Product: TRACK LOADER
Model: 973D TRACK LOADER LCP
Configuration: 973D TRACK-TYPE LOADER LCP00001-UP (MACHINE) POWERED BY C9 Engine
Disassembly and Assembly
Air Conditioning and Heating R134a for All Caterpillar Machines
Media Number -SENR5664-31 Publication Date -01/05/2015 Date Updated -23/10/2018
Refrigerant Receiver-Dryer - Remove and Install


i05907625
NOTICE
If the receiver-dryer does not have air conditioner quick disconnects, the system must be recovered, evacuated, and recharged after the receiver-dryer has been replaced.
Note:
Note:

Product: TRACK LOADER
Model: 973D TRACK LOADER LCP
Configuration: 973D TRACK-TYPE LOADER LCP00001-UP (MACHINE) POWERED BY C9 Engine
Disassembly and Assembly
Air Conditioning and Heating R134a for All Caterpillar Machines
Media Number -SENR5664-31
Refrigerant Expansion Valve - Remove and Install
i05907624
Note:
8P-6355
Copyright 1993 - 2022 Caterpillar Inc. All Rights Reserved. Private Network For SIS Licensees.

Product: TRACK LOADER
Model: 973D TRACK LOADER LCP
Configuration: 973D TRACK-TYPE LOADER LCP00001-UP (MACHINE) POWERED BY C9 Engine
Disassembly and Assembly
Air Conditioning and Heating R134a for All Caterpillar Machines
Media Number -SENR5664-31
Refrigerant Accumulator - Remove and Install
SMCS
i05907623

Product: TRACK LOADER
Model: 973D TRACK LOADER LCP
Configuration: 973D TRACK-TYPE LOADER LCP00001-UP (MACHINE) POWERED BY C9 Engine
Disassembly and Assembly
Air Conditioning and Heating R134a for All Caterpillar Machines
Media Number -SENR5664-31 Publication Date -01/05/2015 Date Updated -23/10/2018
Refrigerant Compressor - Remove and Install
Removal

i05907622
Note:

Product: TRACK LOADER
Model: 973D TRACK LOADER LCP
Configuration: 973D TRACK-TYPE LOADER LCP00001-UP (MACHINE) POWERED BY C9 Engine
Disassembly and Assembly
Air Conditioning and Heating R134a for All Caterpillar Machines
Media Number -SENR5664-31
Air Conditioner Lines - Remove and Install
Personal injury can result from contact with refrigerant.
This system is under pressure at all times, even if the engine is not running. Heat should never be applied to a charged system.
Contact with refrigerant can cause frost bite. Keep face and hands away to help prevent injury.
Protective goggles must always be worn when refrigerant lines are opened, even if the gauges indicate the system is empty of refrigerant.
Always use caution when a fitting is removed. Slowly loosen the fitting. If the system is still under pressure, evacuate the system recovering the refrigerant before removing the fitting.
Personal injury or death can result from inhaling refrigerant through a lit cigarette.
Inhaling air conditioner refrigerant gas through a lit cigarette or other smoking method or inhaling fumes released from a flame contacting air conditioner refrigerant gas, can cause bodily harm or death.
Do not smoke when servicing air conditioners or wherever refrigerant gas may be present.
i05907621
Before any checks of the air conditioning and heating system are made, move the machine to a smooth horizontal surface. Lower all implements to the ground. Make sure the transmission is in neutral or park and that the parking brake is engaged. Keep all other personnel away from the machine or where they can be seen.
Personal injury can result from hot coolant. Any contact with hot coolant or with steam can cause severe burns. Allow cooling system components to cool before the cooling system is drained.
NOTICE
Never weld or solder any charged components.
Proper Technique for Assembly





Copyright 1993 - 2022 Caterpillar Inc. All Rights Reserved.
Private Network For SIS Licensees.

Product: TRACK LOADER
Model: 973D TRACK LOADER LCP
Configuration: 973D TRACK-TYPE LOADER LCP00001-UP (MACHINE) POWERED BY C9 Engine
Disassembly and Assembly
Air Conditioning and Heating R134a for All Caterpillar Machines
Media Number -SENR5664-31
Machine Preparation for Disassembly and Assembly
SMCS
Personal injury can result from contact with refrigerant.
This system is under pressure at all times, even if the engine is not running. Heat should never be applied to a charged system.
Contact with refrigerant can cause frost bite. Keep face and hands away to help prevent injury.
Protective goggles must always be worn when refrigerant lines are opened, even if the gauges indicate the system is empty of refrigerant.
Always use caution when a fitting is removed. Slowly loosen the fitting. If the system is still under pressure, evacuate the system recovering the refrigerant before removing the fitting.
Personal injury or death can result from inhaling refrigerant through a lit cigarette.
Inhaling air conditioner refrigerant gas through a lit cigarette or other smoking method or inhaling fumes released from a flame contacting air conditioner refrigerant gas, can cause bodily harm or death.
Do not smoke when servicing air conditioners or wherever refrigerant gas may be present.
Updated -23/10/2018
Note:
Before any checks of the air conditioning and heating system are made, move the machine to a smooth horizontal surface. Lower all implements to the ground. Make sure the transmission is in neutral or park and that the parking brake is engaged. Keep all other personnel away from the machine or where they can be seen.
Personal injury can result from hot coolant. Any contact with hot coolant or with steam can cause severe burns. Allow cooling system components to cool before the cooling system is drained.
NOTICE
Never weld or solder any charged components.
This is the sample of the manual click on the download link for complete manual
DOWNLOAD LINK
For some reason if link does not work download this pdf and then click