Skip to main content

CAT + Caterpillar 972M Wheel Loader Service Repair Manual

Page 1


Note: Use Bookmarks panel to navigate

Product: WHEEL LOADER

Model: 972M WHEEL LOADER JPR

Configuration: 972M Wheel Loader JPR00001-UP (MACHINE) POWERED BY C9.3 Engine

Disassembly and Assembly

Air Conditioning and Heating R134a for All Caterpillar Machines

Air Conditioner Lines - Remove and Install

Personal injury can result from contact with refrigerant.

This system is under pressure at all times, even if the engine is not running. Heat should never be applied to a charged system.

Contact with refrigerant can cause frost bite. Keep face and hands away to help prevent injury.

Protective goggles must always be worn when refrigerant lines are opened, even if the gauges indicate the system is empty of refrigerant.

Always use caution when a fitting is removed. Slowly loosen the fitting. If the system is still under pressure, evacuate the system recovering the refrigerant before removing the fitting.

Personal injury or death can result from inhaling refrigerant through a lit cigarette.

Inhaling air conditioner refrigerant gas through a lit cigarette or other smoking method or inhaling fumes released from a flame contacting air conditioner refrigerant gas, can cause bodily harm or death.

Do not smoke when servicing air conditioners or wherever refrigerant gas may be present.

Before any checks of the air conditioning and heating system are made, move the machine to a smooth horizontal surface.

i05907621

Lower all implements to the ground. Make sure the transmission is in neutral or park and that the parking brake is engaged. Keep all other personnel away from the machine or where they can be seen.

Personal injury can result from hot coolant. Any contact with hot coolant or with steam can cause severe burns. Allow cooling system components to cool before the cooling system is drained.

NOTICE

Never weld or solder any charged components.

Proper Technique for Assembly

This is the sample of the manual click on the download link for complete manual

DOWNLOAD LINK

For some reason if link does not work download this pdf and then click

Product: WHEEL LOADER

Model: 972M WHEEL LOADER JPR

Configuration: 972M Wheel Loader JPR00001-UP (MACHINE) POWERED BY C9.3 Engine

Disassembly and Assembly

Air Conditioning and Heating R134a for All Caterpillar Machines

Media Number -SENR5664-27

General Information

Refrigeration System

Personal injury can result from contact with refrigerant.

This system is under pressure at all times, even if the engine is not running. Heat should never be applied to a charged system.

Contact with refrigerant can cause frost bite. Keep face and hands away to help prevent injury.

Protective goggles must always be worn when refrigerant lines are opened, even if the gauges indicate the system is empty of refrigerant.

Always use caution when a fitting is removed. Slowly loosen the fitting. If the system is still under pressure, evacuate the system recovering the refrigerant before removing the fitting.

Personal injury or death can result from inhaling refrigerant through a lit cigarette.

Inhaling air conditioner refrigerant gas through a lit cigarette or other smoking method or inhaling fumes released from a flame contacting air conditioner refrigerant gas, can cause bodily harm or death.

Do not smoke when servicing air conditioners or wherever refrigerant gas may be present.

Before any checks of the air conditioning and heating system are made, move the machine to a smooth horizontal surface. Lower all implements to the ground. Make sure the transmission is in neutral or park and that the parking brake is engaged. Keep all other personnel away from the machine or where they can be seen.

Personal injury can result from hot coolant. Any contact with hot coolant or with steam can cause severe burns. Allow cooling system components to cool before the cooling system is drained.

Product: WHEEL LOADER

Model: 972M WHEEL LOADER JPR

Configuration: 972M Wheel Loader JPR00001-UP (MACHINE) POWERED BY C9.3 Engine

Disassembly and Assembly

Air Conditioning and Heating R134a for All Caterpillar Machines

In-Line Refrigerant Dryer - Remove and Install

Dryer Installation

Personal injury can result from contact with refrigerant.

This system is under pressure at all times, even if the engine is not running. Heat should never be applied to a charged system.

Contact with refrigerant can cause frost bite. Keep face and hands away to help prevent injury.

Protective goggles must always be worn when refrigerant lines are opened, even if the gauges indicate the system is empty of refrigerant.

Always use caution when a fitting is removed. Slowly loosen the fitting. If the system is still under pressure, evacuate the system recovering the refrigerant before removing the fitting.

Personal injury or death can result from inhaling refrigerant through a lit cigarette.

Inhaling air conditioner refrigerant gas through a lit cigarette or other smoking method or inhaling fumes released from a flame contacting air conditioner refrigerant gas, can cause bodily harm or death.

Do not smoke when servicing air conditioners or wherever refrigerant gas may be present.

i05907627

Before any checks of the air conditioning and heating system are made, move the machine to a smooth horizontal surface. Lower all implements to the ground. Make sure the transmission is in neutral or park and that the parking brake is engaged. Keep all other personnel away from the machine or where they can be seen.

Personal injury can result from hot coolant. Any contact with hot coolant or with steam can cause severe burns. Allow cooling system components to cool before the cooling system is drained.

NOTICE

Never weld of solder any charged components.

Disassembly and Assembly

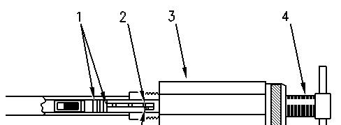
Before removing the dryer, perform the following steps in order to diagnose the problem

    

Note: 



Note:



Dryer Removal



Note:  



Copyright 1993 - 2023 Caterpillar Inc. All Rights Reserved. Private Network For SIS Licensees.

Product: WHEEL LOADER

Model: 972M WHEEL LOADER JPR

Configuration: 972M Wheel Loader JPR00001-UP (MACHINE) POWERED BY C9.3 Engine

Disassembly and Assembly

Air Conditioning and Heating R134a for All Caterpillar Machines

Machine Preparation for Disassembly and Assembly

SMCS

Personal injury can result from contact with refrigerant.

This system is under pressure at all times, even if the engine is not running. Heat should never be applied to a charged system.

Contact with refrigerant can cause frost bite. Keep face and hands away to help prevent injury.

Protective goggles must always be worn when refrigerant lines are opened, even if the gauges indicate the system is empty of refrigerant.

Always use caution when a fitting is removed. Slowly loosen the fitting. If the system is still under pressure, evacuate the system recovering the refrigerant before removing the fitting.

Personal injury or death can result from inhaling refrigerant through a lit cigarette.

Inhaling air conditioner refrigerant gas through a lit cigarette or other smoking method or inhaling fumes released from a flame contacting air conditioner refrigerant gas, can cause bodily harm or death.

Do not smoke when servicing air conditioners or wherever refrigerant gas may be present.

Before any checks of the air conditioning and heating system are made, move the machine to a smooth horizontal surface.

i05907618

Note:

Note:

Lower all implements to the ground. Make sure the transmission is in neutral or park and that the parking brake is engaged. Keep all other personnel away from the machine or where they can be seen.

Personal injury can result from hot coolant. Any contact with hot coolant or with steam can cause severe burns. Allow cooling system components to cool before the cooling system is drained.

NOTICE

Never weld or solder any charged components.



Oil Capacities for Component Replacements

   

Product: WHEEL LOADER

Model: 972M WHEEL LOADER JPR

Configuration: 972M Wheel Loader JPR00001-UP (MACHINE) POWERED BY C9.3 Engine

Disassembly and Assembly

Air Conditioning and Heating R134a for All Caterpillar Machines

Media Number -SENR5664-27

Publication Date -01/05/2015

Refrigerant Accumulator - Remove and Install

SMCS

Date Updated -27/05/2015

i05907623

Product: WHEEL LOADER

Model: 972M WHEEL LOADER JPR

Configuration: 972M Wheel Loader JPR00001-UP (MACHINE) POWERED BY C9.3 Engine

Disassembly and Assembly

Air Conditioning and Heating R134a for All Caterpillar Machines

Media Number -SENR5664-27

Publication Date -01/05/2015

Refrigerant Compressor - Remove and Install

Removal

Date Updated -27/05/2015

i05907622



Installation

Product: WHEEL LOADER

Model: 972M WHEEL LOADER JPR

Configuration: 972M Wheel Loader JPR00001-UP (MACHINE) POWERED BY C9.3 Engine

Disassembly and Assembly

Air Conditioning and Heating R134a for All Caterpillar Machines

Media Number -SENR5664-27 Publication Date -01/05/2015 Date Updated -27/05/2015

Refrigerant Expansion Valve - Remove and Install

Note:



 

 

i05907624

Copyright 1993 - 2023 Caterpillar Inc. All Rights Reserved. Private Network For SIS Licensees. Fri Feb 24 22:15:27 UTC+0530 2023

Product: WHEEL LOADER

Model: 972M WHEEL LOADER JPR

Configuration: 972M Wheel Loader JPR00001-UP (MACHINE) POWERED BY C9.3 Engine

Disassembly and Assembly

Air Conditioning and Heating R134a for All Caterpillar Machines

Media Number -SENR5664-27 Publication Date -01/05/2015 Date Updated -27/05/2015

Refrigerant Orifice Tube Assembly - Remove and Install

Removing the Orifice Tube

NOTICE

Do not attempt to remove the orifice tube with pliers. Do not twist or rotate the orifice tube in the tube assembly.

i05907628

This is the sample of the manual click on the download link for complete manual

DOWNLOAD LINK

For some reason if link does not work download this pdf and then click

Turn static files into dynamic content formats.

Create a flipbook