Skip to main content

CAT + Caterpillar 966F Wheel Loader Service Repair Manual

Page 1




 





Product: WHEEL LOADER

Model: 966F WHEEL LOADER 4YG

Configuration: 966F WHEEL LOADER 4YG00001-UP (MACHINE) POWERED BY 3306 ENGINE

Disassembly and Assembly

26SI Series Alternator Media

Alternator - Assemble

SMCS - 1405-016

Assembly Procedure

i01167078

Note: Cleanliness is an important factor. Before assembly, all parts should be thoroughly cleaned in cleaning fluid. Allow the parts to air dry. Wiping cloths or rags should not be used to dry parts. Lint may be deposited on the parts which may cause later trouble. Inspect all parts. If any parts are worn or damaged, use new parts for replacement.

Note: Do not strike the diodes. The shock of such an impact can damage the diodes. Use proper tools in order to press the diodes in the mountings.

Illustration 1 g00628072

1. Install 3 diodes (11) in heat sink (12) .

Illustration 2

g00628068

Note: Do not strike the bushing. Shocks from striking the housing can cause damage.

2. Press bushing (43) in housing (14) .

3. Install 3 diodes (13) in housing (14) .

Illustration 3

g00628067
4. Press collar (42) on rotor (39) .
5. Slide retainer (41) on rotor (39) .
6. Press bearing (40) on rotor (39) .

This is the sample of the manual click on the download link for complete manual

DOWNLOAD LINK

For some reason if link does not work download this pdf and then click

Illustration 4

g00628063

7. Press housing (31) on rotor (39) and bearing (40) .

8. Install 4 screws (38) in housing (31) .

Illustration 5

g00628057

Note: Do not strike the bearing. Shocks from striking the housing can cause damage.

9. Install the inner race. Press bearing (37) into the housing.

Illustration 6

10. Press cap (36) in housing (14) .

g00628043

Illustration 7

g00628041

11. Install the coil and support (34) in housing (14). Guide the field leads and the grommet through the hole as the coil is installed in housing (14). Install 3 screws (33) .

Illustration 8

g00628037

12. Press the stator (32) and housing (14) together. Guide the stator leads and the grommet through the hole as the stator is installed in housing (14) .

Illustration 9

g00628035

Note: Do not damage exposed stator windings or field windings. Bumping the windings or scraping the windings may break the insulation. Broken insulation may create a short circuit or a ground.

13. Join housing (31) and housing (14). Install 4 bolts (30) .

Illustration 10

g00627853

Note: Many of the alternator's internal components are covered with dielectric grease. If the grease is removed, reapply the grease.

11

14. Install Insulator (29). Install the heat sink and diode assembly (12) in housing (14) .

12

15. Install separator (28) .

16. Install alternator output terminal (27). Install insulator (26). Install the nut and washer (25) .

17. Install diode trio (24) and install screw (23) .

Illustration
g00627855
Illustration
g00627840

Illustration 13

g00627832

18. Install the 3 screws and insulators (18). Connect wire (19) .

19. If the "R" terminal is used, install the following components: nut (20), lead (21), the washer and terminal (21) .

Illustration 14

g00627820

20. Install the screw and insulator (16). Connect capacitor lead (17) .

Illustration 15

g00627810

Note: The 3 output diodes (11) are located in heat sink (12). These diodes are identical in polarity. Diode (11) has red insulation on the wire. The 3 ground diodes (13) are located in housing (14). These diodes are identical in polarity. Diode (13) has black insulation on the wire.

21. Connect 6 diode leads. Connect 3 phase leads. Connect 3 stator phase leads. Install 3 nuts (15).

Table 1

Alternator Ground

Negative

Current Flow of the Output Diodes

Lead to the Heat Sink

Current Flow of the Ground Diodes

Housing to the Lead Red Wire Black Wire

Illustration 16

22. Install mounting plate (10).

g00627808

Illustration 17

23. Install regulator (9) .

24. Install grounded mounting screw (8) .

g00627804

18

25. Install 2 insulated screws (6). Connect the 3 leads.

Note: The regulator and the mounting plate are coated with dielectric grease. If the grease is removed, reapply the grease.

26. Install nut (7) and connect the wire.

19

27. Install gasket (5) .

Illustration
g00627796
Illustration
g00627794

20

28. Position cover (4). Install 7 screws (3) .

21

29. Position plate (2). Install 4 screws (1) .

30. Install the fan, the pulley, the washer, and the pulley nut.

1993 - 2021 Caterpillar Inc.

Rights Reserved.

Network For SIS Licensees. Thu Jul 8 10:54:33 UTC+0530 2021

Illustration
g00627792
Illustration
g00627790

Product: WHEEL LOADER

Model: 966F WHEEL LOADER 4YG

Configuration: 966F WHEEL LOADER 4YG00001-UP (MACHINE) POWERED BY 3306 ENGINE

Disassembly and Assembly

26SI Series Alternator

Alternator - Disassemble

SMCS - 1405-015

Disassembly Procedure Table 1 Required Tools

i01167081

Start By:

A. Remove the alternator. Refer to Disassembly and Assembly, "Alternator - Remove" for the machine that is being serviced.

Note: Cleanliness is an important factor. Before the disassembly procedure, the exterior of the component should be thoroughly cleaned. This will help to prevent dirt from entering the internal mechanism.

1. Remove the pulley nut, the washer, the pulley, and the fan.

Illustration 1

2. Remove 4 screws (1). Remove plate (2) .

Illustration 2

3. Remove 7 screws (3). Remove cover (4) .

Illustration 3

4. Remove gasket (5) .

g00627790
g00627792
g00627794

Illustration 4

5. Remove 2 insulated screws (6). Remove the 3 leads.

Note: The regulator and the mounting plate are coated with dielectric grease. If the grease is removed, reapply the grease.

6. Remove nut (7) .

Illustration 5

7. Remove grounded mounting screw (8) .

8. Remove regulator (9) .

g00627796
g00627804

Illustration 6

g00627808

9. Remove mounting plate (10). The mounting plate may be stuck to the regulator.

Illustration 7

g00627810

Note: The 3 output diodes (11) are located in heat sink (12). These diodes are identical in polarity. Diode (11) has red insulation on the wire. The 3 ground diodes (13) are located in housing (14). These diodes are identical in polarity. Diode (13) has black insulation on the wire.

10. Remove 3 nuts (15). Disconnect 3 stator phase leads. Disconnect 3 phase leads. Disconnect 6 diode leads.

Table 2

Alternator Ground Current Flow of the Output Diodes Current Flow of the Ground Diodes

Negative

Lead to the Heat Sink Housing to the Lead Red Wire Black Wire

Illustration 8

g00627820

11. Remove the screw and insulator (16). Disconnect capacitor lead (17) .

Illustration 9

g00627832

12. Remove the 3 screws and insulators (18). Disconnect wire (19) .

13. If the "R" terminal is used, remove the following components: nut (20), lead (21), the washer and terminal (21) .

Illustration 10

14. Remove screw (23) and remove diode trio (24) .

15. Remove the nut and washer (25). Remove insulator (26). Remove alternator output terminal (27) .

16. Remove separator (28) .

Illustration 11

g00627853

Note: Many of the alternator's internal components are covered with dielectric grease. If the grease is removed, reapply the grease.

Illustration 12

g00627855

17. Remove the heat sink and diode assembly (12) from housing (14). Insulator (29) may be stuck to heat sink (12) .

Illustration 13

g00628035

Note: Do not damage exposed stator windings or field windings. Bumping the windings or scraping the windings may break the insulation. Broken insulation may create a short circuit or a ground.

18. Remove 4 bolts (30). Carefully separate housing (31) from housing (14) .

Illustration 14

g00628037

19. Pull apart stator (32) and housing (14). Guide the stator leads and the grommet through the hole as the stator is removed from housing (14) .

Illustration 15

g00628041

20. Remove 3 screws (33). Remove the coil and support (34) from housing (14). Guide the field leads and the grommet through the hole as the coil is removed from housing (14) .

Illustration 16

g00628043

21. Position a small screwdriver in slot (35). Pry cap (36) from housing (14) .

Illustration 17

g00628057

Note: Do not strike the bearing. Shocks from striking the housing can cause damage.

22. Wipe the excess grease from the bearing well. Press bearing (37) into the housing. Remove the inner race.

Illustration 18

23. Remove 4 screws (38) from housing (31) .

g00628063

24. Lift rotor (39) and bearing (40) from housing (31) .

Illustration 19

25. Pull bearing (40) from rotor (39) .

26. Pull retainer (41) from rotor (39) .

27. Pull collar (42) from rotor (39) .

g00628067

Illustration 20

g00628068

Note: Do not strike the bushing. Shocks from striking the housing can cause damage.

28. Press bushing (43) from housing (14) .

Note: Do not strike the diodes. The shock of such an impact can damage the diodes. Use proper tools in order to press or pull the diodes from the mountings. As much as 890 N (200 lb) of force may be needed to remove a diode.

29. Remove 3 diodes (13) from housing (14) .

Illustration 21

30. Remove diode (11) from heat sink (12) .

g00628072

Copyright 1993 - 2021 Caterpillar Inc. All Rights Reserved. Private Network For SIS Licensees.

Thu Jul 8 10:54:23 UTC+0530 2021







Product: WHEEL LOADER

Model: 966F WHEEL LOADER 4YG

Configuration: 966F WHEEL LOADER 4YG00001-UP (MACHINE) POWERED BY 3306 ENGINE

Disassembly and Assembly

Comfort Series Seat For Caterpillar Machines

Media Number -RENR2165-12

Publication Date -01/10/2013

Date Updated -31/10/2013

Air Suspension With Air Valve Knob Height Adjustment -

Assemble

SMCS - 7324-016-AJ

Assembly Procedure

Illustration 1 g00891451

1. Install compressor assembly (25) to mount (26). Make sure that compressor assembly (25) is seated firmly in mount (26).

i01723170

2

Install bolts (24) in order to attach compressor assembly (25) to scissor assembly (11).

3

Improper assembly of parts that are spring loaded can cause bodily injury.

To prevent possible injury, follow the established assembly procedure and wear protective equipment.

3. Install bolt (23) in order to attach spring assembly (18) to scissor assembly (11). Attach hose assembly (22) to spring assembly (18).

Illustration
g00872046
2.
Illustration
g00872043

Illustration 4

4. Install shaft (20) in order to attach toggle assembly (21) to scissor assembly (11). Tighten the two nuts for shaft (20) to a torque of 15 ± 3 N·m (11 ± 2 lb ft).

Illustration 5

g00872031

5. Install shaft assemblies (19) in order to attach tether straps (11A) and scissor assembly (11) to housing assembly (14). Tighten the nuts on shaft assemblies (19) to a torque of 20 ± 5 N·m (15 ± 4 lb ft). Install blocking in order to prevent scissor assembly (11) from falling.

Illustration 6

g00872029

g00872037

7

6. Install screw (17) in order to attach housing assembly (14) to spring assembly (18).

7. Install shaft (15) in order to attach toggle assembly (16) to scissor assembly (11). Tighten the two nuts for shaft (15) to a torque of 15 ± 3 N·m (11 ± 2 lb ft).

8 g00897454

Illustration
Illustration

9

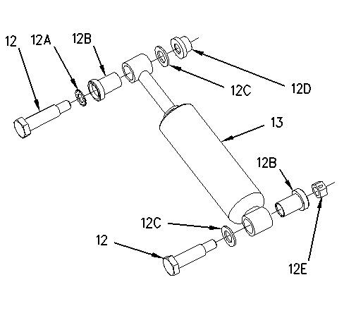
8. Install bearings (12B) to shock absorber (13).

9. Install bolts (12) in order to attach shock absorber (13) to scissor assembly (11) and housing assembly (14). Remove the blocking.

Note: Illustration 8 shows the location of lockwasher (12A), bearings (12B), washers (12C), nut (12D), and locknut (12E).

10. Repeat Steps 8 and 9 if the seat is equipped with a shock absorber on the opposite side.

Illustration 10

g00871994

11. Connect harness assemblies (9) and hose assembly (10) to air valve (8).

Illustration
g00872007

Turn static files into dynamic content formats.

Create a flipbook