Skip to main content

CAT + Caterpillar 950H Wheel Loader Service Repair Manual

Page 1






Product: WHEEL LOADER

Model: 950H WHEEL LOADER M1G

Configuration: 950H Wheel Loader M1G00001-UP (MACHINE) POWERED BY C7 Engine

Disassembly and Assembly

Comfort Series Seat For Caterpillar Machines

Media Number -RENR2165-12

Publication Date -01/10/2013

Date Updated -31/10/2013

Air Suspension With Air Valve Knob Height Adjustment - Assemble

SMCS - 7324-016-AJ

Assembly Procedure

Illustration 1 g00891451

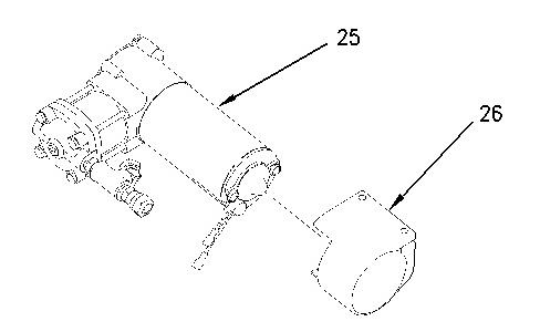
1. Install compressor assembly (25) to mount (26). Make sure that compressor assembly (25) is seated firmly in mount (26) .

i01723170

Illustration 2

2. Install bolts (24) in order to attach compressor assembly (25) to scissor assembly (11) .

Illustration 3

Improper assembly of partsthat are spring loaded can cause bodily injury.

To prevent possible injury, followthe established assembly procedure and wear protective equipment.

3. Install bolt (23) in order to attach spring assembly (18) to scissor assembly (11). Attach hose assembly (22) to spring assembly (18) .

g00872046
g00872043

Illustration 4

g00872037

4. Install shaft (20) in order to attach toggle assembly (21) to scissor assembly (11). Tighten the two nuts for shaft (20) to a torque of 15 ± 3 N·m (11 ± 2 lb ft).

Illustration 5

g00872031

5. Install shaft assemblies (19) in order to attach tether straps (11A) and scissor assembly (11) to housing assembly (14). Tighten the nuts on shaft assemblies (19) to a torque of 20 ± 5 N·m (15 ± 4 lb ft). Install blocking in order to prevent scissor assembly (11) from falling.

This is the sample of the manual click on the download link for complete manual

DOWNLOAD LINK

For some reason if link does not work download this pdf and then click

Illustration 6

Illustration 7

6. Install screw(17) in order to attach housing assembly (14) to spring assembly (18) .

7. Install shaft (15) in order to attach toggle assembly (16) to scissor assembly (11). Tighten the two nuts for shaft (15) to a torque of 15 ± 3 N·m (11 ± 2 lb ft).

g00872029
g00872020

Illustration 8 g00897454

Illustration 9 g00872007

8. Install bearings (12B) to shock absorber (13) .

9. Install bolts (12) in order to attach shock absorber (13) to scissor assembly (11) and housing assembly (14). Remove the blocking.

Note: Illustration 8 shows the location of lockwasher (12A), bearings(12B), washers (12C), nut (12D), and locknut (12E) .

10. Repeat Steps 8 and 9 if the seat is equipped with a shock absorber on the opposite side.

10

11. Connect harness assemblies(9) and hose assembly (10) to air valve (8) .

11

12. Position air valve (8) to upper housing assembly (7). Position upper housing assembly (7) to the seat.

Illustration
g00871994
Illustration
g00871971

Illustration 12 g00871951

13. Install cable strap (6) in order to secure harness assemblies (9) to upper housing assembly (7) .

Illustration 13 g00876043

14. Install shaft assemblies (5). Tighten the nuts for shaft assemblies (5) to a torque of 20 ± 5 N·m (15 ±4 lb ft).

15. Position plate (4) to the seat. Install lockwasher (3A) and nut (3) in order to secure air valve (8) to the seat. Tighten the setscrewin adjustment knob (1) in order to secure adjustment knob (1) to air valve (8) .

Illustration 14

16. Install boot (2) to the seat.

g00871915

Copyright 1993 - 2020 Caterpillar Inc. All Rights Reserved. Private Network For SIS Licensees. Tue Nov 24 19:37:04 UTC+0530 2020

Product: WHEEL LOADER

Model: 950H WHEEL LOADER M1G

Configuration: 950H Wheel Loader M1G00001-UP (MACHINE) POWERED BY C7 Engine

Disassembly and Assembly

Comfort Series Seat For Caterpillar Machines

Media Number -RENR2165-12 Publication Date -01/10/2013 Date Updated -31/10/2013

i01693748

Air Suspension with Air Valve Knob Height AdjustmentDisassemble

SMCS - 7324-015-AJ

Disassembly Procedure

The air spring of the air suspension isfilledwith air pressure.

Prior to disassembly, release the air pressure in the air spring. Failure to do so couldresult in personal injury.

Illustration 1 g00871915

1. Pull adjustment knob (1) in order to release the air from the seat.

2. Remove boot (2) .

Illustration 2

g00876043

3. Loosen the setscrew in adjustment knob (1) and remove adjustment knob (1). Remove nut (3) and lockwasher (3A). Remove plate (4) from air valve (8) .

4. Remove shaft assemblies (5) .

Illustration 3

5. Remove cable strap (6) in order to disconnect harnessassemblies(9) from upper housing assembly (7) .

Illustration 4

g00871971

6. Lift upper housing assembly (7) and push air valve (8) away from upper housing assembly (7). Remove upper housing assembly (7) .

g00871951

Illustration 5

g00871994

7. Disconnect harnessassemblies(9) and hose assembly (10) from air valve (8) .

Illustration 6

g00872007

Illustration 7 g00897454

8. Raise scissor assembly (11) and install blocking in order to prevent scissor assembly (11) from falling.

9. Remove bolts (12) in order to remove shock absorber (13) from scissor assembly (11) and housing assembly (14) .

10. Remove bearings (12B) from shock absorber (13) .

Note: Illustration 7 shows the location of lockwasher (12A), bearings(12B), washers (12C), nut (12D), and locknut (12E) .

11. Repeat Steps 9 and 10 if the seat is equipped with a shock absorber on the opposite side.

Illustration 8

g00872020

Illustration 9

g00872029

12. Remove shaft (15) in order to remove toggle assembly (16) from scissor assembly (11) .

13. Remove screw(17) in order to disconnect spring assembly (18) from housing assembly (14) .

Illustration 10

g00872031

14. Remove shaft assemblies (19) in order to remove scissor assembly (11) from housing assembly (14) and tether straps (11A) .

Illustration 11

g00872037

15. Remove shaft (20) in order to remove toggle assembly (21) from scissor assembly (11) .

Illustration 12

g00872043

Personal injury can result from being struck by parts propelled by a released spring force.

Make sure to wear all necessary protective equipment.

Follow the recommended procedure and use all recommended tooling to release the spring force.

16. Remove hose assembly (22) and bolt (23) in order to remove spring assembly (18) from scissor assembly (11) .

Illustration 13 g00872046

17. Remove bolts (24) in order to remove compressor assembly (25) from scissor assembly (11) .

Illustration 14 g00891451

18. Remove compressor assembly (25) from mount (26) . Copyright 1993 - 2020 Caterpillar Inc. All Rights Reserved. Private Network For SIS Licensees. Tue Nov 24 19:36:50 UTC+0530 2020

Product: WHEEL LOADER

Model: 950H WHEEL LOADER M1G

Configuration: 950H Wheel Loader M1G00001-UP (MACHINE) POWERED BY C7 Engine

Disassembly and Assembly

Comfort Series Seat For Caterpillar Machines

Media Number -RENR2165-12 Publication Date -01/10/2013

Air Suspension With System Air - Assemble

SMCS - 7324-016-AJ

Assembly Procedure

-31/10/2013

i01518491

1. Check the condition of all parts of the air suspension. If any of the parts are worn or damaged, install newparts.

Illustration 1

TypicalExample

g00275862

2. Position slider track (31) on upper housing (6). Install bolt (33), two bolts (32) and the washers. Tighten bolts (33) and (32) to a torque of 30 ±7 N·m (22 ± 5 lb ft). Install locknut (30) and the washer. Tighten locknut (30) to a torque of 40 ± 8 N·m (30 ± 6 lb ft).

2

Illustration 3

3. Position air spring (28) on scissor assembly (5). Apply 9S-3263 Thread Lock on bolt (27). Install bolt (27) that holdsthe air spring to scissor assembly (5). Tighten bolt (27) to a torque of 40 ± 8 N·m (30 ± 6 lb ft).

4. Position tubes (12) and (22) on scissor assembly (5). Install new tie-wraps(29) in order to secure the tubes to the scissor assembly.

5. Connect tube (22) to fitting (26) on air spring (28). Install two bumpers (25) .

Illustration
g00275860
g00275858

Illustration 4

6. Apply 5N-5561 Lubrication Compound on scissor assembly (5) at the point of installation for two rollers (24). Install two rollers (24) and two bearings (21). Connect tubes (12) and (22) to valve assembly (23) .

Illustration 5

7. Install fitting (11) in lower housing (14) .

g00275856

g00275857

Illustration 6

TypicalExample

g00275855

8. Install two bearings (17) and (20), damper (18), the pin and locknut (19). Tighten locknut (19) to a torque of 30 ± 7 N·m (22 ±5 lb ft). Install shaft (7) and cap (15) on damper (18) .

Illustration 7

g00275854

9. Install scissor assembly (5) into lower housing (14). Install two tether belts (10) .

8

10. Install the lower shaft assembly. Install locknut (13) and the lock washer. Tighten locknut (13) to a torque of 40 ± 8 N·m (30 ±6 lb ft).

9

11. Connect tube (12) to fitting (11) .

Illustration
g00275851
Illustration
g00275850

Illustration 10

TypicalExample

g00275849

12. Install two tether belts(10) and two bearings(9). Apply 5N-5561 Lubrication Compound on the scissor assembly at the point of installation for rollers (8). Install rollers(8) on the scissor assembly.

Illustration 11

g00275848

13. Apply 9S-3263 Thread Lock on screw (7). Install screw (7) in order to secure the air spring, which is not shown. Tighten the screw to a torque of 4.3 ± 1 N·m (38 ± 9 lb in).

Illustration 12

g00275846

14. Install upper housing (6) on scissor assembly (5) .

Illustration 13

TypicalExample

g00275845

15. Install the upper shaft assembly, locknut (4) and the lock washer. Tighten the locknut to a torque of 40 ± 8 N·m (30 ± 6 lb ft). Install locknut (4) and the lock washer. Apply 9S-3263 Thread Lock on the setscrew of knob (2). Install knob (2) and the setscrew.

Illustration 14 g00275844

TypicalExample

16. Install boot (1) .

17. Install the seat on the air suspension. Install the seat in the machine.

Copyright 1993 - 2020 Caterpillar Inc. All Rights Reserved. Private Network For SIS Licensees. Tue Nov 24 19:37:29 UTC+0530 2020

Product: WHEEL LOADER

Model: 950H WHEEL LOADER M1G

Configuration: 950H Wheel Loader M1G00001-UP (MACHINE) POWERED BY C7 Engine

Disassembly and Assembly

Comfort Series Seat For Caterpillar Machines

Media Number -RENR2165-12 Publication Date -01/10/2013 Date Updated -31/10/2013

Air Suspension With System Air - Disassemble

SMCS - 7324-015-AJ

Disassembly Procedure

1. Remove the seat from the machine. Separate the seat from the air suspension.

Illustration 1 g00275844

TypicalExample

2. Remove boot (1) .

i01518481

Illustration 2

TypicalExample

3. Loosen the setscrew on knob (2) and remove the knob. Remove nut (3) and the lock washer.

4. Remove locknut (4) and the lock washer. Remove the upper shaft assembly.

Illustration 3

g00275846

5. Tilt upper housing (6) forward. Slide the upper housing off scissor assembly (7) .

g00275845

This is the sample of the manual click on the download link for complete manual

DOWNLOAD LINK

For some reason if link does not work download this pdf and then click

Turn static files into dynamic content formats.

Create a flipbook