
Note: Use Bookmarks panel to navigate

Product: WHEEL LOADER
Model: 938K WHEEL LOADER W8K
Configuration: 938K Small Wheel Loader W8K00001-UP (MACHINE) POWERED BY C7.1 Engine
Disassembly and Assembly
924K, 930K and 938K Wheel Loaders Power Train
Media Number -UENR0281-03
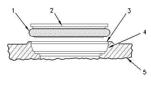
Service Brakes - Single Disc Brakes
SMCS -
S/N
S/N
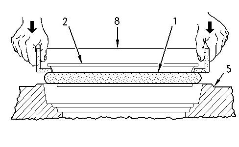
Removal Procedure
Tool
Start By:

Personal injury can result from being struck by parts propelled by a released spring force.
Make sure to wear all necessary protective equipment.
Follow the recommended procedure and use all recommended tooling to release the spring force.
This is the sample of the manual click on the download link for complete manual
DOWNLOAD LINK
For some reason if link does not work download this pdf and then click



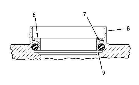
Installation Procedure




Improper assembly of parts that are spring loaded can cause bodily injury.
To prevent possible injury, follow the established assembly procedure and wear protective equipment.
End By:

Product: WHEEL LOADER
Model: 938K WHEEL LOADER W8K
Configuration: 938K Small Wheel Loader W8K00001-UP (MACHINE) POWERED BY C7.1 Engine
Disassembly and Assembly
924K, 930K and 938K Wheel Loaders Power Train
Media Number -UENR0281-03
Service Brakes
SMCS -
i04571766
S/N
Removal
Procedure
Start By:

Installation Procedure
Disassembly Procedure








Assembly Procedure











Product: WHEEL LOADER
Model: 938K WHEEL LOADER W8K
Configuration: 938K Small Wheel Loader W8K00001-UP (MACHINE) POWERED BY C7.1 Engine
Disassembly and Assembly
924K, 930K and 938K Wheel Loaders Power Train
Duo-Cone Conventional Seals
Installation Procedure
Note:


Use caution when you are using isopropyl alcohol. Avoid prolonged skin contact with isopropyl alcohol.
Vapors may be harmful if inhaled. Use only in a well ventilated area. Do not smoke while using isopropyl alcohol.
Isopropyl alcohol is flammable. Do not use near an open flame or near welding operations. Keep isopropyl alcohol away from heated surfaces exceeding 482°C (900°F).





Note:





Note:




Copyright 1993 - 2023 Caterpillar Inc. All Rights Reserved.
Private Network For SIS Licensees.
Wed Jan 25 13:24:38 UTC+0530 2023

Product: WHEEL LOADER
Model: 938K WHEEL LOADER W8K
Configuration: 938K Small Wheel Loader W8K00001-UP (MACHINE) POWERED BY C7.1 Engine
Disassembly and Assembly
924K, 930K and 938K Wheel Loaders Power Train
Media Number -UENR0281-03
Brake and Planetary
SMCS -
S/N -
i05149932
S/N
Removal Procedure
Start By:
This is the sample of the manual click on the download link for complete manual
DOWNLOAD LINK
For some reason if link does not work download this pdf and then click