
910E COMPACT WHEEL LOADER

Product: COMPACT WHEEL LOADER
Model: 910E COMPACT WHEEL LOADER 1SF
Configuration: 910F WHEEL LOADER 1SF01104-UP (MACHINE) POWERED BY 3114 ENGINE
Disassembly and Assembly
Air Conditioning and Heating R-12 All Caterpillar Machines
General Information
SMCS - 1808; 7309
Personal injury can result from contact with refrigerant. This system isunder pressure at all times, evenif the engine is not running. Heat should never be applied to a charged system.
Contact withrefrigerant can cause frost bite. Keep face and hands away to help prevent injury.
Protective gogglesmust always be worn whenrefrigerant linesare opened, even if the gauges indicate the system isempty of refrigerant.
Always use caution when a fitting is removed. Slowly loosen the fitting. If the system isstill under pressure, evacuate the system recovering the refrigerant before removing the fitting.
Personal injury or death can result from inhaling refrigerant througha lit cigarette.
Inhaling air conditioner refrigerant gas througha lit cigarette or other smoking method or inhaling fumes released from a flame contacting air conditioner refrigerant gas, can cause bodily harm or death.
Do not smoke whenservicing air conditionersor wherever refrigerant gas may be present.
Before any checks of the air conditioning and heating system are made, move the machine to a smooth horizontal surface. Lower all implements to the ground. Make sure the transmission is in neutral or park and that
i01790828
the parking brake is engaged. Keepall other personnel away from the machine or where they can be seen.
• All refrigerant lines that are metal or flexible hose must be free of sharp bends. Also, do not use a refrigerant line that iskinked. Sharp bends will cause a restriction in the refrigerant flow. Restrictions in the refrigerant lines are identified by cold spots or frost on the line at the location of the restriction. Restrictionsin the lines reduce the performance and the efficiency of the system.
• The radiusof bendsin the flexible hose must never be lessthan 10 times the outside diameter of the hose.
• Do not allow the flexible hoses to come within 63.5 mm (2.50 inch) of the exhaust manifold.
• The hoses need to be inspected yearly for leaks and for hardness. Conduct a leak test on all the hoses and the lines. Refer to the Service Manual, SENR3334, "Refrigerant LeakageTest" section in testing and adjusting. Replace hoses if leaks or hardness are in the hoses. Replace hoses with new hose that is sealed and free of contaminants.
• The correct use of wrenches is very important when connections are made. The type of wrench that is used is also important. Only use wrenches that are made for use with tube type fittings. When a hose is connected or disconnected from the system, use a wrench on the fitting and use a wrench on the nut. When a metal line is connected or disconnected from the system, use a wrench on the fitting and use a wrench on the nut.
• Install protective plugsor protective caps on all components and hoses that are disconnected or removed.
• O-ring seals and O-ring seats must be in good condition. Small cuts, scratches, or particles of dirt will cause a leak in the system. Put new refrigerant oil on all newO-ring seals at the time of installation. Do not use any kind of sealant on connections.
• Dust capson the compressor block fittings are the primary seals on the air conditioning system.
• All machines should have an identification tag that specifies the refrigerant charge for the machine. The tag should be located in the operator compartment.
• If water is in the ventscheck the nonreturn valve. If water leaks from the air conditioning system, check the nonreturn valve. The nonreturn valve should have the proper position and the proper direction.
• If engine coolant is leaking into the operator compartment, check for loose clamps on the heater hoses.
Copyright 1993 - 2021 Caterpillar Inc.
Rights Reserved.
Network For SIS Licensees. Sat Mar 27 09:52:36 UTC+0530 2021

Product: COMPACT WHEEL LOADER
Model: 910E COMPACT WHEEL LOADER 1SF
Configuration: 910F WHEEL LOADER 1SF01104-UP (MACHINE) POWERED BY 3114 ENGINE
Disassembly and Assembly
Air Conditioning and Heating R-12 All Caterpillar Machines
Media Number -SENR3334-02
In-Line Refrigerant Dryer - Remove and Install
SMCS - 7322-010
-23/08/2002
i01790844
This is the sample of the manual click on the download link for complete manual
DOWNLOAD LINK
For some reason if link does not work download this pdf and then click




Illustration 1 g00654556
TypicalIn-Line Dryer
(1) Inlet hose with air conditioner quick disconnects
(2) Outlet hose with air conditioner quick disconnects
In order to replace the in-line dryer and the orifice tube that is in the in-line dryer, use the procedure that follows.
Before any service work is performed on the air conditioning system, refer to the Service Manual, SENR3334, "Machine Preparation for Troubleshooting" section in Testing and Adjusting.
1. Stop the engine for five minutes in order to equalize the pressure in the air conditioning system.
2. Disconnect the inlet hose (1) from the old in-line dryer.
3. Connect the inlet hose that was disconnected in Step 2 to the inlet on the newin-line dryer.
4. Start the engine and operate the air conditioning system.
5. With the air conditioning system in operation, disconnect the outlet hose (2) from the old inline dryer.
6. Stop the engine for five minutes in order to equalize the pressure in the air conditioning system.
7. Connect the outlet hose (2) that was disconnected in Step 5 to the outlet on the newin-line dryer.
Note: Do not add oil to the in-line dryer. Copyright 1993 - 2021 Caterpillar Inc.
Rights Reserved.
Network For SIS Licensees. Sat Mar 27 09:54:09 UTC+0530 2021

Product: COMPACT WHEEL LOADER
Model: 910E COMPACT WHEEL LOADER 1SF
Configuration: 910F WHEEL LOADER 1SF01104-UP (MACHINE) POWERED BY 3114 ENGINE
Disassembly and Assembly
Air Conditioning and Heating R-12 All Caterpillar Machines
Machine Preparation for Disassembly and Assembly
SMCS - 7320-017
Personal injury can result from contact with refrigerant.
This system isunder pressure at all times, evenif the engine is not running. Heat should never be applied to a charged system.
Contact withrefrigerant can cause frost bite. Keep face and hands away to help prevent injury.
Protective gogglesmust always be worn whenrefrigerant linesare opened, even if the gauges indicate the system isempty of refrigerant.
Always use caution when a fitting is removed. Slowly loosen the fitting. If the system isstill under pressure, evacuate the system recovering the refrigerant before removing the fitting.
Personal injury or death can result from inhaling refrigerant througha lit cigarette.
Inhaling air conditioner refrigerant gas througha lit cigarette or other smoking method or inhaling fumes released from a flame contacting air conditioner refrigerant gas, can cause bodily harm or death.
Do not smoke whenservicing air conditionersor wherever refrigerant gas may be present.
Before any checks of the air conditioning and heating system are made, move the machine to a smooth horizontal surface. Lower all implements to the ground. Make sure the transmission is in neutral or park and that
the parking brake is engaged. Keepall other personnel away from the machine or where they can be seen.
When the service work isdone on the air conditioning system, it is important to keep the system clean and free from contamination. Plugsand caps must be used in order to close the components and hoseswhen the components and hoses are open. The plugs and capsprotect the system from dirt and air (moisture). Only new refrigerant oil of the correct viscosity and newrefrigerant can be added to the system. Refer to the Service Manual, SENR3334, "Refrigerant Compressor" section in this manual for the correct oil. Any other material or any other substance isconsidered noncondensable and the material will contaminate the system. Keep the work area clean.
• Dust capson the refrigerant compressor block fitting are the primary seal on the air conditioning system.
• All machines should have an identification tag in the cab that specifies the proper refrigerant charge for the machine.
When replacement or repair of components and hoses are required, perform the following procedure:
1. Remove the refrigerant charge. Refer to the Service Manual, SENR3334, "Refrigerant Recovery" section in Testing and Adjusting.
2. Remove the component or remove the hose that is being repaired or replaced. Install protective plugson componentsor hoses that are left exposed to the air.
3. Replace any damaged component or hose.
4. Use the following table in order to determine the amount of oil that is lost during individual replacements of components. Add the correct amount of oil to the compressor before the system is evacuated. No additional oil should be added to the system if the compressor is replaced at the same time asother components in the system.
Oil Capacities for Component Replacements
Accumulator
30 mL (1 fl oz)
Compressor Refer to the Service Manual, SENR3334, "Refrigerant Compressor Oil -Check" section in Testing and Adjusting.
Condenser
Evaporator
In-Line Dryer (1)
Receiver-Dryer
30 mL (1 fl oz)
90 mL (3 fl oz)
30 mL (1 fl oz)
30 mL (1 fl oz)
( 1) Refer tothe Service Manual, SENR3334, "In-Line-RefrigerantDryer- Remove and Install " before anyoil is added.
5. Refer to the Service Manual, SENR3334, "Refrigerant System-Evacuate" section in testing and adjusting.
6. Refer to the Service Manual, SENR3334, "Refrigerant System-Charge" section in Testing and Adjusting.

Product: COMPACT WHEEL LOADER
Model: 910E COMPACT WHEEL LOADER 1SF
Configuration: 910F WHEEL LOADER 1SF01104-UP (MACHINE) POWERED BY 3114 ENGINE
Disassembly and Assembly
Air Conditioning and Heating R-12 All Caterpillar Machines
Media Number -SENR3334-02
Publication Date -01/08/2002 Date Updated -23/08/2002
Receiver-Dryer - Remove and Install
SMCS - 7322-010
i01790843




Illustration 1 g00382493
TopView ofReceiver-Dryer
(1) Inlet
(2) Outlet
(3) Quick Disconnect Fittings
NOTICE
If the receiver-dryer doesnot have air conditioner quick disconnects, the system must be completely recovered, evacuated, and recharged after the receiver-dryer has been replaced.
The refrigerant that is in the system must be recovered if the receiver-dryer does not have air conditioner quick disconnects (3). Refer to the Service Manual, SENR3334, "Refrigerant Recovery" section in Testing and Adjusting before you remove the receiver-dryer. If the receiverdryer has air conditioner quick disconnects (3) use the procedure that follows.
Refer to Safety Requirements before service is performed on the air conditioning system.
1. Stop the engine for five minutes. This allowsthe air conditioning system to equalize the pressure.
2. Disconnect the inlet hose (1) from the old receiver-dryer at the air conditioner quick disconnects.
3. Connect the hose that was disconnected in Step 2 to the inlet on the new receiver-dryer.
4. Disconnect the electrical connectionson the old receiver-dryer. Connect the electrical connections to the new receiver-dryer.
5. Add 30 mL (1 fl oz) of refrigerant oil to the system.
Note: Do not add refrigerant oil if the compressor was changed also.
6. Start the engine. Operate the air conditioning system for one minute.
7. With the air conditioning system in operation, disconnect the outlet hose (2) from the old receiver-dryer. Disconnect the old receiver-dryer at the air conditioner quick disconnects.
8. Stop the engine for five minutes. This allowsthe air conditioning system to equalize pressure.
9. Connect the outlet hose (2) that was disconnected in step 6 to the newreceiver-dryer.

Product: COMPACT WHEEL LOADER
Model: 910E COMPACT WHEEL LOADER 1SF
Configuration: 910F WHEEL LOADER 1SF01104-UP (MACHINE) POWERED BY 3114 ENGINE
Disassembly and Assembly
Air Conditioning and Heating R-12 All Caterpillar Machines
Refrigerant Accumulator - Remove and Install
SMCS - 1808-010; 7320-010
The refrigerant must be recovered before the accumulator isremoved. Refer to the Service Manual, SENR3334, "Refrigerant Recovery" section in Testing and Adjusting.
i01790836
Refer to the Service Manual, SENR3334, "Machine Preparation for troubleshooting" section in Testing and Adjusting before service work isperformed.
Remove the accumulator. The accumulator hasan internal oil drain hole which could become plugged. The oil could be trapped inside the accumulator. It isnecessary to check for excessive oil when the accumulator ischanged. Add the same amount of oil that was drained from the old accumulator. Add an additional 30 mL (1 fl oz) to the new accumulator before the new accumulator is installed. Do not add oil if the compressor was changed also. Evacuate the system and recharge the system. Refer to the Service Manual, SENR3334, "Refrigerant SystemEvacuate" section in Testing and Adjusting. Refer to the Service Manual, SENR3334, "Refrigerant System - Charge" section in Testing and Adjusting.
Note: If the accumulator hasfrost on the outside, the air conditioning system still contains refrigerant.
Copyright 1993 - 2021 Caterpillar Inc. All Rights Reserved.
Private Network For SIS Licensees. Sat Mar 27 09:53:23 UTC+0530 2021

Product: COMPACT WHEEL LOADER
Model: 910E COMPACT WHEEL LOADER 1SF
Configuration: 910F WHEEL LOADER 1SF01104-UP (MACHINE) POWERED BY 3114 ENGINE
Disassembly and Assembly
Air Conditioning and Heating R-12 All Caterpillar Machines
Media Number -SENR3334-02 Publication Date -01/08/2002 Date Updated -23/08/2002
Refrigerant Compressor - Remove and Install
SMCS - 1802-010 Removal


Illustration 1 g00742981
(1) Bolt
(2) Drive belt
(3) Suction and discharge hoses
(4) Compressor
i01790832
1. Remove the refrigerant charge. Refer to the Service Manual, SENR3334, "Refrigerant Recovery" section in Testing and Adjusting.
2. Disconnect electrical wiresfrom the magnetic clutch.
3. Loosen all the mounting bolts and loosen the belt tightener (if equipped). Remove drive belt (2) .
4. Disconnect hoses (3) and put plugs or caps on the hoses. Put plugsor caps on the fittingsof the compressor. Put identification marks on the hoses. The marks will ensure that the hoses will be connected correctly at a later time.
5. Remove all the mounting boltsand remove the compressor (4). The weight of the compressor is approximately 18 kg (40 lb).
Installation
1. Check the amount and condition of the oil in the compressor (4). Refer to the Service Manual, SENR3334, "Refrigerant Compressor Oil-Test" section in Testing and Adjusting.
2. Inspect the drive belt (2). If the drive belt (2) is damaged or worn replace the belt.
3. Install the compressor (4). Do not tighten the mounting bolts until drive belt (2) isinstalled and adjusted.
4. Connect the discharge and the suction hoses (3) to the discharge and suction ports on the compressor.
5. Connect the electrical wires to the magnetic clutch.
6. Evacuate the system. Refer to the Service Manual, SENR3334, "Refrigerant SystemEvacuate" section in Testing and Adjusting.
7. Charge the system. Refer to the Service Manual, SENR3334, "Refrigerant System - Charge" section in Testing and Adjusting.
8. For the correct system operation, refer to the Service Manual, SENR3334, "Troubleshooting Heating and Air Conditioning Control System" section in Testing and Adjusting.
Note: Refer to the Service Manual, SENR3334, "Refrigerant Compressor" in the SpecificationsSection for the correct belt tension.
Copyright 1993 - 2021 Caterpillar Inc. All Rights Reserved. Private Network For SIS Licensees. Sat Mar 27 09:52:53 UTC+0530 2021

Product: COMPACT WHEEL LOADER
Model: 910E COMPACT WHEEL LOADER 1SF
Configuration: 910F WHEEL LOADER 1SF01104-UP (MACHINE) POWERED BY 3114 ENGINE
Disassembly and Assembly
Air Conditioning and Heating R-12 All Caterpillar Machines
Refrigerant Expansion Valve - Remove and Install
SMCS - 7320-010
i01790839
To replace the expansion valve, use the procedure that follows. Refer to Service Manual, SENR3334, "Troubleshooting Heating and Air Conditioning Control System" before service work isperformed on the air conditioning system.
1. Recover the refrigerant.
Note: Cap all disconnected lines and hoses.
2. Remove the insulation and the clip. The insulation and the clip hold the sensing bulb to the evaporator outlet pipe.
3. Disconnect the sensing line for pressure from the evaporator outlet pipe.
4. Loosen and remove the two connections at the expansion valve. Remove the expansion valve.
Note: Check the O-ring seals. The seals must be in good condition and the seals must be properly lubricated with the correct refrigerant oil before assembly.
5. Install the expansion valve for replacement and tighten the two connections.
6. Tighten the pressure sensing connection on the evaporator outlet pipe.
7. Use a 8P-6355 Clip to hold the sensing bulb onto the evaporator outlet pipe. The sensing bulb should be as close to the coil as possible. The bulb should be upstream of the pressure sensing connection on the evaporator outlet pipe. The 5P-7070 Insulation should be wrapped tightly around the clip, the sensing bulb and the outlet pipe. There should be no insulation between the bulb and the outlet pipe.
8. Tighten all the connections correctly.
9. Evacuate the system. Refer to the Service Manual, SENR3334, "Refrigerant SystemEvacuate" section in testing and adjusting.
10. Charge the system with the correct amount of refrigerant by weight. Refer to the Service Manual, SENR3334, "Refrigerant System - Charge" section in testing and adjusting.
Copyright 1993 - 2021 Caterpillar Inc. All Rights Reserved. Private Network For SIS Licensees. Sat Mar 27 09:53:37 UTC+0530 2021

Product: COMPACT WHEEL LOADER
Model: 910E COMPACT WHEEL LOADER 1SF
Configuration: 910F WHEEL LOADER 1SF01104-UP (MACHINE) POWERED BY 3114 ENGINE
Disassembly and Assembly
Air Conditioning and Heating R-12 All Caterpillar Machines
Refrigerant Orifice Tube - Remove and Install
SMCS - 7320-010
i01790846
The orifice tube may be located in the refrigerant line near the evaporator inlet, or in the in-line dryer.
If the orifice tube is located in the refrigerant line near the evaporator inlet use the procedure that follows. If the orifice tube is located in the in-line dryer, refer to Dryer Replacement.
Removing the Orifice Tube
Refer to Safety Requirements before service work is performed on the air conditioning system.
The refrigerant must be recovered before removing the accumulator. Refer to the Service Manual, SENR3334, "Refrigerant Recovery" section in testing and adjusting.
NOTICE
Do not attempt to remove the orifice tube with pliers. Do not twist or rotate the orifice tube in the tube assembly.


Illustration 1 g00379603
Orifice tube
(1) O-Ring seals
(2) Lugs
(3) Body
(4) Drive screw
(5) Finger lock
1. Disconnect the high side line at the enlarged section of the evaporator inlet port. Thiswill expose the orifice tube for removal.
2. The short prongs on the 208-1375 Orifice Tool Gp must be aligned with the ribs on the orifice tube. Insert the tool onto the tube until the tool bottoms out.
3. Turn drive screw(4) clockwise. Turn far enough to engage the lugs(2) on the orifice tube in the finger lock (5). The finger lock (5) ispart of the removal tool.
4. Hold the drive screw (4) stationary. Thread the body (3) forward until the body makes contact with the inlet port.
5. Continue holding the drive screwstationary, and thread the body forward until the orifice tube becomes free.


Illustration 2 g00381412
Removing the broken orificetube
(3) Body
(4) Drive screw
(6) Extractor tip
6. In order to remove the orifice tube assembly, use the extractor tip (6) on 208-1375 Orifice Tool Gp. Insert the tool into the evaporator inlet tube and thread the tool into the brass center of the orifice tube.
7. Repeat steps 3 and 4.
8. If only the brass center of the orifice tube is removed, thread the tool into the plastic body and repeat step 3 and 4.
Orifice Tube Installation
1. Lubricate the O-Ring on the orifice tube with the proper clean refrigerant oil.
2. Place the orifice tube into the 208-1375 Orifice Tool Gp. Insert the orifice tube straight into the evaporator inlet tube without twisting until the tube is seated.
3. Disengage the removal tool from the orifice tube.
4. Use a newO-Ring that is lubricated with clean refrigerant oil. Reconnect the high side line at the enlarged section of the evaporator inlet port.
5. Do a leak test. Evacuate the system and recharge the system. Refer to the Service Manual, SENR3334, "Refrigerant Systems-Evacuate" section in testing and adjusting. Also, refer to the Service Manual, SENR3334, "Refrigerant Systems-Charge"section in testing and adjusting.

Product: COMPACT WHEEL LOADER
Model: 910E COMPACT WHEEL LOADER 1SF
Configuration: 910F WHEEL LOADER 1SF01104-UP (MACHINE) POWERED BY 3114 ENGINE
Disassembly and Assembly
RA1.2, R1.4, R2.0, R2.2, R2.5, R2.7, R3.0, R4.5 and R5.5 Series Reduction Starting Motors
Media Number -SENR3828-02 Publication Date -01/07/1999 Date Updated -09/10/2001
General Information
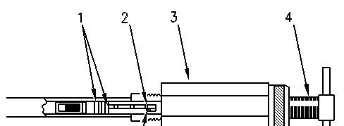
i01107056




Illustration 1 g00585231
R2.0Series Reduction StartingMotor
(1) Motorterminal leadwire
(11) Armature reduction gear
(12) Idler gear
(13) Retainer
(14) Roller
(15) Return spring
Note: The following information isfor the disassembly and assembly of a "R2.0 series" starting motor. All other seriesof starting motors are similar.
Copyright 1993 - 2021 Caterpillar Inc. All Rights Reserved. Private Network For SIS Licensees.

Product: COMPACT WHEEL LOADER
Model: 910E COMPACT WHEEL LOADER 1SF
Configuration: 910F WHEEL LOADER 1SF01104-UP (MACHINE) POWERED BY 3114 ENGINE
Disassembly and Assembly
RA1.2, R1.4, R2.0, R2.2, R2.5, R2.7, R3.0, R4.5 and R5.5 Series Reduction Starting Motors
Media Number -SENR3828-02 Publication Date -01/07/1999 Date Updated -09/10/2001
Starting Motor - Assemble
SMCS - 1453-016
i01107165


Illustration 1 g00585386
1. Install the return spring (15) into the solenoid (2) .


Illustration 2 g00585389
2. Install the rollers (14) and the retainer (13) into the drive end housing (4) .


Illustration 3 g00585386
3. Put the idler gear (12) and the armature reduction gear (11) onto the drive end housing (4) .


Illustration 4 g00585348
4. Put the steel ball (10) into the overrunning clutch (9) .


Illustration 5 g00585337
5. Put the overrunning clutch (9) into the drive end housing (4) .
This is the sample of the manual click on the download link for complete manual
DOWNLOAD LINK
For some reason if link does not work download this pdf and then click