

Product: ARTICULATED TRUCK
Model: 725 ARTICULATED TRUCK AFX
Configuration: 725 Articulated Truck AFX00001-UP (MACHINE) POWERED BY 3176C Engine
Disassembly and Assembly
Comfort Series Seat For Caterpillar Machines
Media Number -RENR2165-12
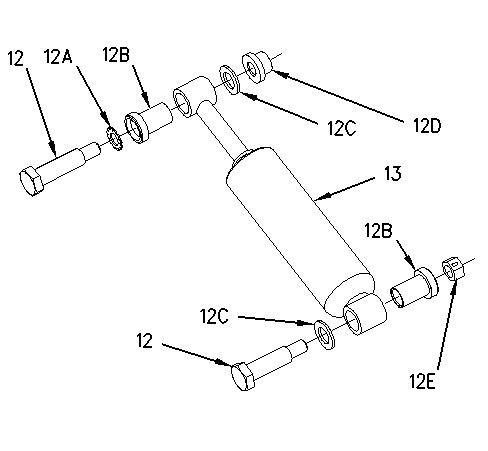
Air Suspension With Air Valve Knob Height AdjustmentAssemble
Assembly Procedure




Improper assembly of parts that are spring loaded can cause bodily injury.
To prevent possible injury, follow the established assembly procedure and wear protective equipment.














Product: ARTICULATED TRUCK
Model: 725 ARTICULATED TRUCK AFX
Configuration: 725 Articulated Truck AFX00001-UP (MACHINE) POWERED BY 3176C Engine
Disassembly and Assembly
Comfort Series Seat For Caterpillar Machines
Media Number -RENR2165-12
Air Suspension with Air Valve Knob Height AdjustmentDisassemble
Disassembly Procedure
The air spring of the air suspension is filled with air pressure.
Prior to disassembly, release the air pressure in the air spring. Failure to do so could result in personal injury.






