
Note: Use Bookmarks panel to navigate

Product: BACKHOE LOADER
Model: 446B BACKHOE LOADER 5BL
Configuration: 446B Backhoe Loader 5BL00001-02499 (MACHINE) POWERED BY 3114 Engine
Disassembly and Assembly
Air Conditioning and Heating R134a for All Caterpillar Machines Media
Air Conditioner Lines - Remove and Install
Personal injury can result from contact with refrigerant.
This system is under pressure at all times, even if the engine is not running. Heat should never be applied to a charged system.
Contact with refrigerant can cause frost bite. Keep face and hands away to help prevent injury.
Protective goggles must always be worn when refrigerant lines are opened, even if the gauges indicate the system is empty of refrigerant.
Always use caution when a fitting is removed. Slowly loosen the fitting. If the system is still under pressure, evacuate the system recovering the refrigerant before removing the fitting.
Personal injury or death can result from inhaling refrigerant through a lit cigarette.
Inhaling air conditioner refrigerant gas through a lit cigarette or other smoking method or inhaling fumes released from a flame contacting air conditioner refrigerant gas, can cause bodily harm or death.
Do not smoke when servicing air conditioners or wherever refrigerant gas may be present.
Before any checks of the air conditioning and heating system are made, move the machine to a smooth horizontal surface.
Lower all implements to the ground. Make sure the transmission is in neutral or park and that the parking brake is engaged. Keep all other personnel away from the machine or where they can be seen.
Personal injury can result from hot coolant. Any contact with hot coolant or with steam can cause severe burns. Allow cooling system components to cool before the cooling system is drained.
NOTICE
Never weld or solder any charged components.
Proper Technique for Assembly
This is the sample of the manual click on the download link for complete manual
DOWNLOAD LINK
For some reason if link does not work download this pdf and then click






Product: BACKHOE LOADER
Model: 446B BACKHOE LOADER 5BL
Configuration: 446B Backhoe Loader 5BL00001-02499 (MACHINE) POWERED BY 3114 Engine
Disassembly and Assembly
Air Conditioning and Heating R134a for All Caterpillar Machines
Media
General Information
Refrigeration System
Personal injury can result from contact with refrigerant.
This system is under pressure at all times, even if the engine is not running. Heat should never be applied to a charged system.
Contact with refrigerant can cause frost bite. Keep face and hands away to help prevent injury.
Protective goggles must always be worn when refrigerant lines are opened, even if the gauges indicate the system is empty of refrigerant.
Always use caution when a fitting is removed. Slowly loosen the fitting. If the system is still under pressure, evacuate the system recovering the refrigerant before removing the fitting.
Personal injury or death can result from inhaling refrigerant through a lit cigarette.
Inhaling air conditioner refrigerant gas through a lit cigarette or other smoking method or inhaling fumes released from a flame contacting air conditioner refrigerant gas, can cause bodily harm or death.
Do not smoke when servicing air conditioners or wherever refrigerant gas may be present.
Before any checks of the air conditioning and heating system are made, move the machine to a smooth horizontal surface. Lower all implements to the ground. Make sure the transmission is in neutral or park and that the parking brake is engaged. Keep all other personnel away from the machine or where they can be seen.
Personal injury can result from hot coolant. Any contact with hot coolant or with steam can cause severe burns. Allow cooling system components to cool before the cooling system is drained.
Copyright 1993 - 2023 Caterpillar Inc. All Rights Reserved.

Product: BACKHOE LOADER
Model: 446B BACKHOE LOADER 5BL
Configuration: 446B Backhoe Loader 5BL00001-02499 (MACHINE) POWERED BY 3114 Engine
Disassembly and Assembly
Air Conditioning and Heating R134a for All Caterpillar Machines Media
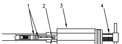
In-Line Refrigerant Dryer - Remove and Install
Dryer Installation
Personal injury can result from contact with refrigerant.
This system is under pressure at all times, even if the engine is not running. Heat should never be applied to a charged system.
Contact with refrigerant can cause frost bite. Keep face and hands away to help prevent injury.
Protective goggles must always be worn when refrigerant lines are opened, even if the gauges indicate the system is empty of refrigerant.
Always use caution when a fitting is removed. Slowly loosen the fitting. If the system is still under pressure, evacuate the system recovering the refrigerant before removing the fitting.
Personal injury or death can result from inhaling refrigerant through a lit cigarette.
Inhaling air conditioner refrigerant gas through a lit cigarette or other smoking method or inhaling fumes released from a flame contacting air conditioner refrigerant gas, can cause bodily harm or death.
Do not smoke when servicing air conditioners or wherever refrigerant gas may be present.
Before any checks of the air conditioning and heating system are made, move the machine to a smooth horizontal surface. Lower all implements to the ground. Make sure the transmission is in neutral or park and that the parking brake is engaged. Keep all other personnel away from the machine or where they can be seen.
Personal injury can result from hot coolant. Any contact with hot coolant or with steam can cause severe burns. Allow cooling system components to cool before the cooling system is drained.
NOTICE
Never weld of solder any charged components.




Disassembly and Assembly








Before removing the dryer, perform the following steps in order to diagnose the problem
Note:
Copyright 1993 - 2023 Caterpillar Inc.

Product: BACKHOE LOADER
Model: 446B BACKHOE LOADER 5BL
Configuration: 446B Backhoe Loader 5BL00001-02499 (MACHINE) POWERED BY 3114 Engine
Disassembly and Assembly
Air Conditioning and Heating R134a for All Caterpillar Machines Media
Machine Preparation for Disassembly and Assembly
SMCS
Personal injury can result from contact with refrigerant.
This system is under pressure at all times, even if the engine is not running. Heat should never be applied to a charged system.
Contact with refrigerant can cause frost bite. Keep face and hands away to help prevent injury.
Protective goggles must always be worn when refrigerant lines are opened, even if the gauges indicate the system is empty of refrigerant.
Always use caution when a fitting is removed. Slowly loosen the fitting. If the system is still under pressure, evacuate the system recovering the refrigerant before removing the fitting.
Personal injury or death can result from inhaling refrigerant through a lit cigarette.
Inhaling air conditioner refrigerant gas through a lit cigarette or other smoking method or inhaling fumes released from a flame contacting air conditioner refrigerant gas, can cause bodily harm or death.
Do not smoke when servicing air conditioners or wherever refrigerant gas may be present.
Before any checks of the air conditioning and heating system are made, move the machine to a smooth horizontal surface.
Note:
Note:
Lower all implements to the ground. Make sure the transmission is in neutral or park and that the parking brake is engaged. Keep all other personnel away from the machine or where they can be seen.
Personal injury can result from hot coolant. Any contact with hot coolant or with steam can cause severe burns. Allow cooling system components to cool before the cooling system is drained.
NOTICE
Never weld or solder any charged components.
Oil Capacities for Component Replacements

Product: BACKHOE LOADER
Model: 446B BACKHOE LOADER 5BL
Configuration: 446B Backhoe Loader 5BL00001-02499 (MACHINE) POWERED BY 3114 Engine
Disassembly and Assembly
Air Conditioning and Heating R134a for All Caterpillar Machines
Media Number -SENR5664-27
Refrigerant Accumulator - Remove and Install
i05907623

Product: BACKHOE LOADER
Model: 446B BACKHOE LOADER 5BL
Configuration: 446B Backhoe Loader 5BL00001-02499 (MACHINE) POWERED BY 3114 Engine
Disassembly and Assembly
Air Conditioning and Heating R134a for All Caterpillar Machines
Media Number -SENR5664-27
Refrigerant Compressor - Remove and Install
Removal

i05907622
Installation

Product: BACKHOE LOADER
Model: 446B BACKHOE LOADER 5BL
Configuration: 446B Backhoe Loader 5BL00001-02499 (MACHINE) POWERED BY 3114 Engine
Disassembly and Assembly
Air Conditioning and Heating R134a for All Caterpillar Machines
Media Number -SENR5664-27
Refrigerant Expansion Valve - Remove and Install
Note:
i05907624
Copyright 1993 - 2023 Caterpillar Inc. All Rights Reserved. Private Network For SIS Licensees.

Product: BACKHOE LOADER
Model: 446B BACKHOE LOADER 5BL
Configuration: 446B Backhoe Loader 5BL00001-02499 (MACHINE) POWERED BY 3114 Engine
Disassembly and Assembly
Air Conditioning and Heating R134a for All Caterpillar Machines
Media Number -SENR5664-27
Refrigerant Orifice Tube Assembly - Remove and Install
Removing the Orifice Tube
NOTICE
Do not attempt to remove the orifice tube with pliers. Do not twist or rotate the orifice tube in the tube assembly.


This is the sample of the manual click on the download link for complete manual
DOWNLOAD LINK
For some reason if link does not work download this pdf and then click