
Tip: Use Bookmarks panel to navigate

Product: EXCAVATOR
Model: 365B II EXCAVATOR DER
Configuration: 365B Series II Excavator DER00001-UP (MACHINE) POWERED BY 3196 Engine
Disassembly and Assembly
3176C and 3196 Engines for Caterpillar Built Machines Media Number -RENR1223-15
Accessory Drive - Assemble
SMCS - 1207-016
Assembly Procedure Table 1 Required Tools

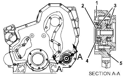
Illustration 1 g01062840 1. Lower the temperature of gear and shaft (2).
i02076489
Always wear protective gloveswhen handling parts that have been heated.
2. Raise the temperature of bearings (3).
3. Place bearings (3) in the original location on gear and shaft (2).
4. Use Tooling (B) in order to install retaining ring (4) into accessory drive housing (5).
5. Install gear and shaft (2) with bearings (3) into accessory drive housing (5).
6. Install bolts (1).
End By:
a. Install the accessory drive. Refer to Disassembly and Assembly, "Accessory Drive - Install".

Product: EXCAVATOR
Model: 365B II EXCAVATOR DER
Configuration: 365B Series II Excavator DER00001-UP (MACHINE) POWERED BY 3196 Engine
Disassembly and Assembly
3176C and 3196 Engines for Caterpillar Built Machines
Accessory Drive - Disassemble
SMCS - 1207-015
Disassembly Procedure Table 1
Start By:
a. Remove the accessory drive. Refer to Disassembly and Assembly, "Accessory DriveRemove".


Illustration 1 g01062840
1. Remove bolts (1).
2. Remove gear and shaft (2) with bearings (3) from accessory drive housing (5).
Note: One end of the gear shaft islonger than the opposite end. Prior to assembly, ensure that the gear shaft is in the correct position.
3. Use Tooling (A) in order to remove bearings(3) from gear and shaft (2).
4. Use Tooling (B) in order to remove retaining ring (4) from accessory drive housing (5).

Product: EXCAVATOR
Model: 365B II EXCAVATOR DER
Configuration: 365B Series II Excavator DER00001-UP (MACHINE) POWERED BY 3196 Engine
Disassembly and Assembly
3176C and 3196 Engines for Caterpillar Built Machines
Media Number -RENR1223-15
Accessory Drive - Install
SMCS - 1207-012
Installation Procedure


Illustration 1 g01021789
Typicalexample
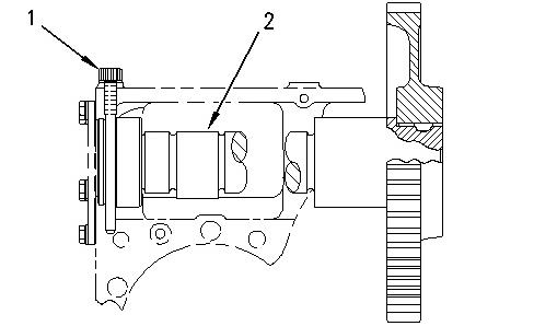
1. Install accessory drive (2).
2. Install bolts (1) and the washers. Tighten the bolts to a torque of 100 ± 20 N·m (74 ± 15 lb ft).
End By:
a. Install the front cover. Refer to Disassembly and Assembly, "Front Cover - Install".
b. Install the belt tensioner. Refer to Disassembly and Assembly, "Belt Tensioner - Remove and Install".
Copyright 1993 - 2021 Caterpillar Inc. All Rights Reserved. Private Network For SIS Licensees.
Fri Jul 9 21:56:42 UTC+0530 2021

Product: EXCAVATOR
Model: 365B II EXCAVATOR DER
Configuration: 365B Series II Excavator DER00001-UP (MACHINE) POWERED BY 3196 Engine
Disassembly and Assembly
3176C and 3196 Engines for Caterpillar Built Machines
Accessory Drive - Remove
SMCS - 1207-011
Removal Procedure
Start By:
a. Remove the belt tensioner. Refer to Disassembly and Assembly, "Belt Tensioner - Remove and Install".
b. Remove the front cover. Refer to Disassembly and Assembly, "Front Cover - Remove".


Illustration 1 g01021789
Typicalexample
1. Remove bolts (1) and the washers.
2. Remove accessory drive (2).
Copyright 1993 - 2021 Caterpillar Inc. All Rights Reserved. Private Network For SIS Licensees. Fri Jul 9 21:55:56 UTC+0530 2021

Product: EXCAVATOR
Model: 365B II EXCAVATOR DER
Configuration: 365B Series II Excavator DER00001-UP (MACHINE) POWERED BY 3196 Engine
Disassembly and Assembly
3176C and 3196 Engines for Caterpillar Built Machines Media Number -RENR1223-15
Air Conditioner Support Bracket - Remove and Install
SMCS - 1802-010
Removal Procedure

Illustration 1
g01064408
1. Remove bolts (1) with the nuts and the washers.
2. Remove bolts (2) and the washers.
3. Remove air conditioner compressor support bracket (3).
Installation Procedure
NOTICE
The air conditioner support bracket provides additional support for the mounting pad on the engine front housing. However, due to the
increased stiffnessof this bracket, extra care is needed when installing the air conditioner compressor support bracket on the engine. Following the correct installation procedure will avoid applying assembly stresses to the engine front housing mounting pad which may lead to a crack.

2
1. Install air conditioner support bracket (3) with the following procedure.
a. Install bolts (1) with the nuts and the washers. Finger tighten the bolts.
b. Install bolts (2) and the washers. Finger tighten the bolts.
NOTICE
Ensure that there isno gap between the air conditioner compressor support bracket and the engine front housing. Ensure that there is no gap between the air conditioner support bracket and the cylinder head. Reposition the air conditioner compressor support bracket in order to eliminate the gap.
c. Lightly tighten bolts(1) and bolts (2).
d. Ensure that air conditioner support bracket (3) remainstight against the engine front housing and the cylinder head.
e. Tighten the bolts to a torque of 47 ± 9 N·m (35 ± 7 lb ft).

Product: EXCAVATOR
Model: 365B II EXCAVATOR DER
Configuration: 365B Series II Excavator DER00001-UP (MACHINE) POWERED BY 3196 Engine
Disassembly and Assembly
3176C and 3196 Engines for Caterpillar Built Machines
Alternator - Remove and Install
SMCS - 1405-010
Removal Procedure
Personal injury can result from failure to disconnect the battery.
First, disconnect the negative battery cable. Then, disconnect the positive battery cable.
A positive power lead can cause sparks if the battery is not disconnected. Sparkscan possibly result in battery explosion or fire.
1. Remove the drive belt from the drive pulley on the alternator.
2. Place an index mark on all of the harness assemblies that are connected to the alternator. Disconnect the harness assemblies from the alternator.



Illustration 1 g01028740
3. Remove bolt (1).
4. Remove nut (2) and the bolt from mounting bracket (3).
5. Remove alternator (4).
Installation Procedure



Illustration 2 g01028740
1. Position alternator (4) on mounting bracket (3). Install the bolt and nut (2). Hand tighten nut (2).
2. Install bolt (1). Do not tighten.
3. Install the drive belt on the drive pulley of the alternator.
4. Adjust the tension on the drive belt. Refer to the Operation and Maintenance Manual for the correct adjusting procedure.
5. Tighten bolt (1).
6. Tighten nut (2).
7. Connect all harnessassembliesto the alternator. Use the index marks to correctly connect the harness assemblies.

Product: EXCAVATOR
Model: 365B II EXCAVATOR DER
Configuration: 365B Series II Excavator DER00001-UP (MACHINE) POWERED BY 3196 Engine
Disassembly and Assembly
3176C and 3196 Engines for Caterpillar Built Machines
Bearing Clearance - Check
SMCS - 1203-535; 1219-535
Measurement Procedure
Table 1
Required Tools Tool
Plastic Gauge (Green)
Plastic Gauge (Red)
Plastic Gauge (Blue)
to
to 0.009 inch)
Plastic Gauge (Yellow)
to 0.510 mm (0.009 to 0.020 inch)
Note: Plastic gauge may not be necessary when the engine is in the chassis.
NOTICE
Keep all partsclean from contaminants.
Contaminants may cause rapid wear and shortenedcomponent life.
Note: Cat does not recommend the checking of the actual bearing clearancesparticularly on small engines. Thisisbecause of the possibility of obtaining inaccurate results and the possibility of damaging the bearing or the journal surfaces. Each Cat engine bearing is quality checked for specific wall thickness.
Note: The measurements should be within specifications and the correct bearings should be used. If the crankshaft journals and the bores for the block and the rods were measured during disassembly, no further checksare necessary. However, if the technician still wants to measure the bearing clearances, Tooling (A) is an acceptable method. Tooling (A) is less accurate on journals with small diametersif clearances are lessthan 0.10 mm (0.004 inch).
NOTICE
Lead wire, shim stock or a dial bore gauge can damage the bearing surfaces.
The technician must be very careful to use Tooling (A) correctly. The following points must be remembered:
• Ensure that the backs of the bearings and the bores are clean and dry.
• Ensure that the bearing locking tabs are properly seated in the tab grooves.
• The crankshaft must be free of oil at the contact pointsof Tooling (A).
1. Put a piece of Tooling (A) on the crown of the bearing that is in the cap.
Note: Do not allow Tooling (A) to extend over the edge of the bearing.
2. Use the correct torque-turn specifications in order to install the bearing cap. Do not use an impact wrench. Be careful not to dislodge the bearing when the cap isinstalled.
Note: Do not turn the crankshaft when Tooling (A) is installed.
3. Carefully remove the cap, but do not remove Tooling (A). Measure the width of Tooling (A) while Tooling (A) isin the bearing cap or on the crankshaft journal. Refer to Illustration 1.


Illustration 1 g01152855
TypicalExample
4. Remove all of Tooling (A) before you install the bearing cap.
Note: When Tooling (A) is used, the readings can sometimes be unclear. For example, all parts of Tooling (A) are not the same width. Measure the major width in order to ensure that the partsare within the specification range. Refer to SpecificationsManual, "Connecting Rod Bearing Journal" and Specifications Manual, "Main Bearing Journal" for the correct clearances. Copyright 1993 - 2021 Caterpillar Inc. All Rights Reserved. Private Network For SIS Licensees. Fri Jul 9 22:05:29 UTC+0530 2021

Product: EXCAVATOR
Model: 365B II EXCAVATOR DER
Configuration: 365B Series II Excavator DER00001-UP (MACHINE) POWERED BY 3196 Engine
Disassembly and Assembly
3176C and 3196 Engines for Caterpillar Built Machines
Media Number -RENR1223-15
Belt Tensioner - Remove and Install
SMCS - 1358-010
Removal Procedure

Illustration 1
1. Use a breaker bar to release the tension on belt tightener (1). Remove the drive belt.
i01247345

2
2. Remove bolt (4) and the washer.
3. Remove belt tightener (1) .
4. Remove three bolts (2) and the washers.
5. Remove support (3) .
Installation Procedure
1. Inspect the condition of the belt tightener and the drive belt. Replace the tightener and the belt, if necessary.

3
2. Install support (3) on the front housing with three bolts (2) and the washers. Tighten the bolts to a torque of 55 ± 10 N·m (41 ± 7 lb ft).
3. Install belt tightener (1) with bolt (4) and the washer. Tighten the bolt to a torque of 55 ± 10 N·m (41 ± 7 lb ft).
4. Install the drive belt. Use a breaker bar to place the original amount of tension on the belt.

Illustration 4
5. If the alternator is equipped with an adjustable support strap, adjust the position of the alternator until the indicator edge (5) is aligned with the green area of the indicator decal.
Copyright 1993 - 2021 Caterpillar Inc. All Rights Reserved.
Private Network For SIS Licensees.
Fri Jul 9 22:06:35 UTC+0530 2021

Product: EXCAVATOR
Model: 365B II EXCAVATOR DER
Configuration: 365B Series II Excavator DER00001-UP (MACHINE) POWERED BY 3196 Engine
Disassembly and Assembly
3176C and 3196 Engines for Caterpillar Built Machines
Media Number -RENR1223-15
Camshaft - Install
SMCS - 1210-012
Installation Procedure Table 1 Required Tools

Illustration 1 g00813405



Illustration 2 g00813917
1. Install Tooling (A).
Note: Ensure that camshaft (2) and Tooling (A) are clean. Apply clean engine oil to the lobes and journals of camshaft (2) and Tooling (A).
Note: During installation of camshaft (2), rotate the camshaft in both directions in order to prevent binding in the camshaft bearing bores.
2. Carefully install camshaft (2) in the engine.
NOTICE
When installing the camshaft, make sure the number one cylinder isat top center of the compression stroke withthe timing bolt installed in the flywheel. The camshaft timing is very important. The timing mark on the camshaft drive gear must line up with the timing mark on the idler gear. Refer to the Specifications Manual for more information.
3. Ensure that the timing marks (3) on the idler gear are aligned with the timing marks on the crankshaft gear and the camshaft drive gear.
4. Install thrust pin (1). Tighten thrust pin (1) to a torque of 28 ± 7 N·m (20 ± 5 lb ft). Remove the wires that were used to hold the valve lifters.
End By:
a. Install the camshaft position sensor. Refer to Disassembly and Assembly, "Camshaft Position Sensor - Remove and Install".
b. Install the front cover. Refer to Disassembly and Assembly, "Front Cover - Install".
c. Install the rocker shaft and the pushrods. Refer to Disassembly and Assembly, "Rocker Shaft and Pushrod - Install". Copyright 1993 - 2021 Caterpillar Inc.
Rights Reserved.
Network For SIS Licensees. Fri Jul 9 22:01:02 UTC+0530 2021

Product: EXCAVATOR
Model: 365B II EXCAVATOR DER
Configuration: 365B Series II Excavator DER00001-UP (MACHINE) POWERED BY 3196 Engine
Disassembly and Assembly
3176C and 3196 Engines for Caterpillar Built Machines
Camshaft - Remove
SMCS - 1210-011
Removal Procedure Table 1
Start By:
a. Remove the rocker shaft and the pushrods. Refer to Disassembly and Assembly, "Rocker Shaft and Pushrod - Remove".
b. Remove the front cover. Refer to Disassembly and Assembly, "Front Cover - Remove".
c. Remove the camshaft position sensor. Refer to Disassembly and Assembly, "Camshaft Position Sensor - Remove and Install".
NOTICE
Keep all partsclean from contaminants.
Contaminants may cause rapid wear and shortenedcomponent life.
NOTICE
Care must be taken to ensure that fluids are containedduring performance of inspection, maintenance, testing, adjusting, and repair of the product. Be prepared to collect the fluid with suitable containers before opening any compartment or disassembling any component containing fluids.
Refer to Special Publication, NENG2500, "Dealer Service Tool Catalog" for toolsand supplies suitable to collect and contain fluids on Cat® products.
Dispose of all fluids according to local regulations and mandates.
1. Turn the crankshaft to top center compression stroke for the No. 1 piston. Install the timing bolt in the flywheel. Refer to Testing and Adjusting, "Finding Top Center Position for No. 1 Piston".
2. Ensure that the timing marks on the following gears are aligned: the camshaft drive gear, the idler gear and the crankshaft gear.

Note: It is not necessary to remove the cylinder head for removal of the camshaft.
3. Wire the valve lifters away from the camshaft. See Illustration 1.