
Tip: Use Bookmarks panel to navigate

Product: EXCAVATOR
Model: 345D EXCAVATOR BYW
Configuration: ISJ HEX COMMONALITY CHART BYW00001-UP (MACHINE)
Disassembly and Assembly
C11 and C13 Engines for Caterpillar Built Machines
Media Number -RENR9214-22
Publication Date -01/05/2015
Accessory Drive - Install
SMCS - 1207-012
Installation Procedure



Date Updated -14/11/2016
i01943324
Illustration 1 g01011209
1. Raise the temperature of the bearing.
2. Lower the temperature of gear (3).
3. Install the bearing into gear (3).
4. Install gear (3), cover (2), and bolts (1).

Product: EXCAVATOR
Model: 345D EXCAVATOR BYW
Configuration: ISJ HEX COMMONALITY CHART BYW00001-UP (MACHINE)
Disassembly and Assembly
C11 and C13 Engines for Caterpillar Built Machines
Media Number -RENR9214-22
Publication Date -01/05/2015 Date Updated -14/11/2016
Accessory Drive - Remove
SMCS - 1207-011
Removal Procedure
Table 1
Required Tools
8H-0663 Bearing Puller Gp 1
8B-7551 Bearing Puller Gp 1



Illustration 1 g01011209
1. Remove bolts (1), cover (2), and gear (3).
2. Use Tooling (A) and a suitable pressin order to remove the bearings from gear (3).
Copyright 1993 - 2021 Caterpillar Inc. All Rights Reserved. Private Network For SIS Licensees. Fri Apr 16 15:09:40 UTC+0530 2021

Product: EXCAVATOR
Model: 345D EXCAVATOR BYW
Configuration: ISJ HEX COMMONALITY CHART BYW00001-UP (MACHINE)
Disassembly and Assembly
C11 and C13 Engines for Caterpillar Built Machines
Media Number -RENR9214-22
Publication Date -01/05/2015 Date Updated -14/11/2016
Alternator - Remove and Install
SMCS - 1405-010
Removal Procedure
Personal injury can result from failure to disconnect the battery.
First, disconnect the negative battery cable. Then, disconnect the positive battery cable.
A positive power lead cancause sparksif the battery is not disconnected. Sparks can possibly result in battery explosion or fire.
1. Disconnect the batteries.
2. Place identification marks on all of the harnessassembliesand disconnect the harness assemblies.



Illustration 1 g01135438
3. Remove belt (1).
4. Remove bolts (2) and alternator (3).
Installation Procedure



Illustration 2 g01135438
1. If necessary, install the pulley on alternator (3). Install the nut and tighten the nut to a torque of 127 ± 10 N·m (94 ± 7 lb ft).
2. Position alternator (3) on the alternator mounting bracket. Install bolts (2).
3. Install belt (1).
4. Connect the harness assembly to alternator (3) and install the bolt. Tighten the bolt to a torque of 4.4 ± 1.0 N·m (39 ± 9 lb in).
5. Connect the harness assembly to alternator (3) and install the nut. Tighten the nut to a torque of 18 ± 2 N·m (13 ± 2 lb ft).
6. Connect the batteries.
1993 - 2021 Caterpillar Inc.
Fri Apr 16 14:58:08 UTC+0530 2021

Product: EXCAVATOR
Model: 345D EXCAVATOR BYW
Configuration: ISJ HEX COMMONALITY CHART BYW00001-UP (MACHINE)
Disassembly and Assembly
C11 and C13 Engines for Caterpillar Built Machines
Media Number -RENR9214-22
Publication Date -01/05/2015 Date Updated -14/11/2016
Atmospheric Pressure Sensor - Remove and Install
SMCS - 1923-010
NOTICE
Keep all parts clean from contaminants.
Contaminants may cause rapid wear andshortened component life.


i05196645
Illustration 1 g01134780
(1) Atmospheric pressure sensor ... 10 ± 2 N·m (88 ± 18 lb in)
Note: Atmospheric pressure sensor (1) is to be installed at an angle of 40+/-15 degrees from vertical.
Copyright 1993 - 2021 Caterpillar Inc. All Rights Reserved. Private Network For SIS Licensees.
Fri Apr 16 15:01:50 UTC+0530 2021

Product: EXCAVATOR
Model: 345D EXCAVATOR BYW
Configuration: ISJ HEX COMMONALITY CHART BYW00001-UP (MACHINE)
Disassembly and Assembly
C11 and C13 Engines for Caterpillar Built Machines
Media Number -RENR9214-22
Bearing Clearance - Check
SMCS - 1203-535; 1219-535
Measurement Procedure
Table 1 Required Tools Tool
198-9142
Date -01/05/2015
Plastic Gauge (Green) 0.025 to 0.076 mm (0.001 to 0.003 inch)
Plastic Gauge (Red)
to 0.152 mm (0.002 to 0.006 inch)
Plastic Gauge (Blue)
to 0.229 mm (0.004 to 0.009 inch)
Plastic Gauge (Yellow) 0.230 to 0.510 mm (0.009 to 0.020 inch)
Note: Plastic gauge may not be necessary when the engine is in the chassis.
NOTICE
Keep all parts clean from contaminants.
Contaminants may cause rapid wear andshortened component life.
Note: Cat does not recommend the checking of the actual bearing clearancesparticularly on small engines. This is because of the possibility of obtaining inaccurate resultsand the possibility of damaging the bearing or the journal surfaces. Each Cat engine bearing is quality checked for specific wall thickness.
Note: The measurements should be within specifications and the correct bearings should be used. If the crankshaft journals and the bores for the block and the rods were measured during disassembly, no further checks are necessary. However, if the technician still wants to measure the bearing clearances, Tooling (A) is an acceptable method. Tooling (A) is less accurate on journals with small diameters if clearances are less than 0.10 mm (0.004 inch).
NOTICE
Lead wire, shim stock or a dial bore gauge can damage the bearing surfaces.
The technician must be very careful to use Tooling (A) correctly. The following points must be remembered:
• Ensure that the backs of the bearings and the bores are clean and dry.
• Ensure that the bearing locking tabs are properly seated in the tab grooves.
• The crankshaft must be free of oil at the contact pointsof Tooling (A).
1. Put a piece of Tooling (A) on the crown of the bearing that is in the cap.
Note: Do not allow Tooling (A) to extend over the edge of the bearing.
2. Use the correct torque-turn specifications in order to install the bearing cap. Do not use an impact wrench. Be careful not to dislodge the bearing when the cap is installed.
Note: Do not turn the crankshaft when Tooling (A) is installed.
3. Carefully remove the cap, but do not remove Tooling (A). Measure the width of Tooling (A) while Tooling (A) is in the bearing cap or on the crankshaft journal. Refer to Illustration 1.


Illustration 1 g01152855
TypicalExample
4. Remove all of Tooling (A) before you install the bearing cap.
Note: When Tooling (A) is used, the readings can sometimes be unclear. For example, all partsof Tooling (A) are not the same width. Measure the major width in order to ensure that the partsare within the specification range. Refer to Specifications Manual, "Connecting Rod Bearing Journal" and SpecificationsManual, "Main Bearing Journal" for the correct clearances.
Copyright 1993 - 2021 Caterpillar Inc. All Rights Reserved. Private Network For SIS Licensees. Fri Apr 16 15:02:05 UTC+0530 2021

Product: EXCAVATOR
Model: 345D EXCAVATOR BYW
Configuration: ISJ HEX COMMONALITY CHART BYW00001-UP (MACHINE)
Disassembly and Assembly
C11 and C13 Engines for Caterpillar Built Machines
Media Number -RENR9214-22
Publication Date -01/05/2015 Date Updated -14/11/2016
Boost Pressure Sensor - Remove and Install
SMCS - 1917-010
NOTICE
Keep all parts clean from contaminants.
Contaminants may cause rapid wear andshortened component life.


Illustration 1 g01134727
i02253255
(1) Boost pressure sensor ... 10 ± 2 N·m (88 ±18 lb in)
Copyright 1993 - 2021 Caterpillar Inc. All Rights Reserved. Private Network For SIS Licensees.
Fri Apr 16 14:59:08 UTC+0530 2021

Product: EXCAVATOR
Model: 345D EXCAVATOR BYW
Configuration: ISJ HEX COMMONALITY CHART BYW00001-UP (MACHINE)
Disassembly and Assembly
C11 and C13 Engines for Caterpillar Built Machines
Media Number -RENR9214-22
Camshaft - Install
SMCS - 1210-012
Installation Procedure
Table 1 Required Tools
Publication Date -01/05/2015
Date Updated -14/11/2016
i02251403


Illustration 1 g01144336
1. Install Tooling (A).
Note: Apply clean engine oil to the lobes and journals of camshaft (2) and Tooling (A).
Note: During installation of camshaft (2), rotate the camshaft in both directionsin order to prevent binding in the camshaft bearing bores.
2. Carefully install camshaft (2) in the engine.
NOTICE
When installing the camshaft, make sure the number one cylinder isat top center of the compression stroke withthe timing bolt installed in the flywheel. The camshaft timing is very important. The timing mark on the camshaft drive gear must line up with the timing mark on the idler gear. Refer to the Specifications Manual for more information.



2 g01144422
3. Ensure that timing marks (3) on the idler gear are aligned with the timing markson the crankshaft gear and the camshaft drive gear.


4. Install bolts (1).
5. Remove the wires that were used to hold the valve lifters.
End By:
a. Install the camshaft position sensor. Refer to Disassembly and Assembly, "Camshaft Position SensorRemove and Install".
b. Install the front cover. Refer to Disassembly and Assembly, "Front Cover - Install".
c. Install the rocker shaft and the pushrods. Refer to Disassembly and Assembly, "Rocker Shaft and Pushrod - Install".

Product: EXCAVATOR
Model: 345D EXCAVATOR BYW
Configuration: ISJ HEX COMMONALITY CHART BYW00001-UP (MACHINE)
Disassembly and Assembly
C11 and C13 Engines for Caterpillar Built Machines
Media Number -RENR9214-22 Publication Date -01/05/2015
Camshaft - Remove
SMCS - 1210-011
Removal Procedure
Table 1
Required Tools Tool
Start By:
a. Remove the rocker shaft and the pushrods. Refer to Disassembly and Assembly, "Rocker Shaft and Pushrod - Remove".
b. Remove the front cover. Refer to Disassembly and Assembly, "Front Cover - Remove".
c. Remove the camshaft position sensor. Refer to Disassembly and Assembly, "Camshaft Position Sensor - Remove and Install".
NOTICE
Keep all parts clean from contaminants.
Contaminants may cause rapid wear andshortened component life.
1. Turn the crankshaft to top center compression stroke for the No. 1 piston.
2. Ensure that the timing marks on the following gears are aligned: the camshaft drive gear, the idler gear and the crankshaft gear.
3. Wire the valve lifters away from the camshaft.


1 g01133114
4. Remove bolts (1).


Illustration 2 g01144335
5. Install Tooling (A) on the rear of the camshaft.


Illustration 3 g01144336
Note: Lubricate Tooling (A) with clean oil.
6. Carefully remove camshaft (2) from the engine. Copyright 1993 - 2021 Caterpillar Inc. All Rights Reserved. Private Network For SIS Licensees.
Fri Apr 16 15:05:58 UTC+0530 2021

Product: EXCAVATOR
Model: 345D EXCAVATOR BYW
Configuration: ISJ HEX COMMONALITY CHART BYW00001-UP (MACHINE)
Disassembly and Assembly
C11 and C13 Engines for Caterpillar Built Machines
Camshaft Bearings - Install
SMCS - 1211-012
Installation Procedure
Table 1 Required Tools
( 1) Part of 8S-2241Camshaft BearingToolGroup.
Keep all parts clean from contaminants.
Contaminants may cause rapid wear andshortened component life.


1 g01133376
1. Position new camshaft bearing (1) in Tooling (A) and install the bearing from the rear to the front of the engine.


Illustration 2 g01133395
2. The camshaft bearings are installed with Tooling (A) . Measure the depth of the camshaft bearings from the front face of the cylinder block to the following distances:
a. Dimension (A) is 36.50 mm (1.437 inch).
b. Dimension (B) is 192.50 mm (7.579 inch).
c. Dimension (C) is 348.50 mm (13.720 inch).
d. Dimension (D) is 504.50 mm (19.862 inch).
e. Dimension (E) is660.50 mm (26.004 inch).
f. Dimension (F) is 816.50 mm (32.146 inch).
g. Dimension (G) is 972.50 mm (38.287 inch).
NOTICE
Camshaft bearings must be installed into their correct position. Failure to do so will result inengine damage.

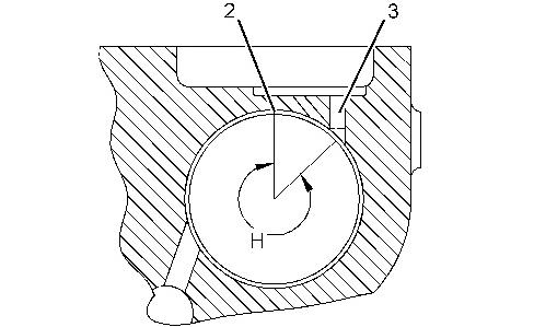
3 g01133403
(2) Bearing joint
(3) Oil hole
(H) Bearing oil hole islocated at a 45 degree angle from vertical. All seven bearings have the same angle.
End By:
a. Install the camshaft. Refer to Disassembly and Assembly, "Camshaft - Install".
b. Install the lifter group. Refer to Disassembly and Assembly, "Lifter Group - Remove and Install".