
Note: Use Bookmarks panel to navigate

Product: EXCAVATOR
Model: 322 L EXCAVATOR 9RL
Configuration: 322L EXCAVATOR 9RL00001-UP (MACHINE) POWERED BY 3116 ENGINE
Disassembly and Assembly
26SI Series Alternator Media
Alternator - Assemble
SMCS - 1405-016
Assembly Procedure
i01167078
Note: Cleanliness is an important factor. Before assembly, all parts should be thoroughly cleaned in cleaning fluid. Allow the parts to air dry. Wiping cloths or rags should not be used to dry parts. Lint may be deposited on the parts which may cause later trouble. Inspect all parts. If any parts are worn or damaged, use new parts for replacement.
Note: Do not strike the diodes. The shock of such an impact can damage the diodes. Use proper tools in order to press the diodes in the mountings.

Illustration 1
1. Install 3 diodes (11) in heat sink (12) .
g00628072

Illustration 2
g00628068
Note: Do not strike the bushing. Shocks from striking the housing can cause damage.
2. Press bushing (43) in housing (14) .
3. Install 3 diodes (13) in housing (14) .

Illustration 3
This is the sample of the manual click on the download link for complete manual
For some reason if link does not work download this pdf and then click

Illustration 4
g00628063
7. Press housing (31) on rotor (39) and bearing (40) .
8. Install 4 screws (38) in housing (31) .

Illustration 5
g00628057
Note: Do not strike the bearing. Shocks from striking the housing can cause damage.
9. Install the inner race. Press bearing (37) into the housing.

Illustration 6
10. Press cap (36) in housing (14) .
g00628043

Illustration 7
g00628041
11. Install the coil and support (34) in housing (14). Guide the field leads and the grommet through the hole as the coil is installed in housing (14). Install 3 screws (33) .

Illustration 8
g00628037
12. Press the stator (32) and housing (14) together. Guide the stator leads and the grommet through the hole as the stator is installed in housing (14) .

Illustration 9
g00628035
Note: Do not damage exposed stator windings or field windings. Bumping the windings or scraping the windings may break the insulation. Broken insulation may create a short circuit or a ground.
13. Join housing (31) and housing (14). Install 4 bolts (30) .

Illustration 10
g00627853
Note: Many of the alternator's internal components are covered with dielectric grease. If the grease is removed, reapply the grease.

11
14. Install Insulator (29). Install the heat sink and diode assembly (12) in housing (14) .

12
15. Install separator (28) .
16. Install alternator output terminal (27). Install insulator (26). Install the nut and washer (25) .
17. Install diode trio (24) and install screw (23) .

Illustration 13
g00627832
18. Install the 3 screws and insulators (18). Connect wire (19) .
19. If the "R" terminal is used, install the following components: nut (20), lead (21), the washer and terminal (21) .

Illustration 14
g00627820
20. Install the screw and insulator (16). Connect capacitor lead (17) .

Illustration 15
g00627810
Note: The 3 output diodes (11) are located in heat sink (12). These diodes are identical in polarity. Diode (11) has red insulation on the wire. The 3 ground diodes (13) are located in housing (14). These diodes are identical in polarity. Diode (13) has black insulation on the wire.
21. Connect 6 diode leads. Connect 3 phase leads. Connect 3 stator phase leads. Install 3 nuts (15).
Table 1
Alternator Ground
Negative
Current Flow of the Output Diodes
Lead to the Heat Sink
Current Flow of the Ground Diodes
Housing to the Lead Red Wire Black Wire

Illustration 16
22. Install mounting plate (10).
g00627808

Illustration 17
23. Install regulator (9) .
24. Install grounded mounting screw (8) .
g00627804

18
25. Install 2 insulated screws (6). Connect the 3 leads.
Note: The regulator and the mounting plate are coated with dielectric grease. If the grease is removed, reapply the grease.
26. Install nut (7) and connect the wire.

19
27. Install gasket (5) .

20
28. Position cover (4). Install 7 screws (3) .

21
29. Position plate (2). Install 4 screws (1) .
30. Install the fan, the pulley, the washer, and the pulley nut.

Product: EXCAVATOR
Model: 322 L EXCAVATOR 9RL
Configuration: 322L EXCAVATOR 9RL00001-UP (MACHINE) POWERED BY 3116 ENGINE
Disassembly and Assembly
26SI Series Alternator
Alternator - Disassemble
SMCS - 1405-015
Disassembly Procedure
Table 1
Required Tools
Start By:
A. Remove the alternator. Refer to Disassembly and Assembly, "Alternator - Remove" for the machine that is being serviced.
Note: Cleanliness is an important factor. Before the disassembly procedure, the exterior of the component should be thoroughly cleaned. This will help to prevent dirt from entering the internal mechanism.
1. Remove the pulley nut, the washer, the pulley, and the fan.

Illustration 1
2. Remove 4 screws (1). Remove plate (2) .

Illustration 2
3. Remove 7 screws (3). Remove cover (4) .

Illustration 3
4. Remove gasket (5) .

Illustration 4
5. Remove 2 insulated screws (6). Remove the 3 leads.
Note: The regulator and the mounting plate are coated with dielectric grease. If the grease is removed, reapply the grease.
6. Remove nut (7) .

Illustration 5
7. Remove grounded mounting screw (8) .
8. Remove regulator (9) .

Illustration 6
g00627808
9. Remove mounting plate (10). The mounting plate may be stuck to the regulator.

Illustration 7
g00627810
Note: The 3 output diodes (11) are located in heat sink (12). These diodes are identical in polarity. Diode (11) has red insulation on the wire. The 3 ground diodes (13) are located in housing (14). These diodes are identical in polarity. Diode (13) has black insulation on the wire.
10. Remove 3 nuts (15). Disconnect 3 stator phase leads. Disconnect 3 phase leads. Disconnect 6 diode leads.
Table 2
Alternator Ground Current Flow of the Output Diodes Current Flow of the Ground Diodes
Negative
Lead to the Heat Sink Housing to the Lead Red Wire Black Wire

Illustration 8
g00627820
11. Remove the screw and insulator (16). Disconnect capacitor lead (17) .

Illustration 9
g00627832
12. Remove the 3 screws and insulators (18). Disconnect wire (19) .
13. If the "R" terminal is used, remove the following components: nut (20), lead (21), the washer and terminal (21) .

Illustration 10
14. Remove screw (23) and remove diode trio (24) .
15. Remove the nut and washer (25). Remove insulator (26). Remove alternator output terminal (27) .
16. Remove separator (28) .

Illustration 11
g00627853
Note: Many of the alternator's internal components are covered with dielectric grease. If the grease is removed, reapply the grease.

Illustration 12
g00627855
17. Remove the heat sink and diode assembly (12) from housing (14). Insulator (29) may be stuck to heat sink (12) .

Illustration 13
g00628035
Note: Do not damage exposed stator windings or field windings. Bumping the windings or scraping the windings may break the insulation. Broken insulation may create a short circuit or a ground.
18. Remove 4 bolts (30). Carefully separate housing (31) from housing (14) .

Illustration 14
g00628037
19. Pull apart stator (32) and housing (14). Guide the stator leads and the grommet through the hole as the stator is removed from housing (14) .

Illustration 15
g00628041
20. Remove 3 screws (33). Remove the coil and support (34) from housing (14). Guide the field leads and the grommet through the hole as the coil is removed from housing (14) .

Illustration 16
g00628043
21. Position a small screwdriver in slot (35). Pry cap (36) from housing (14) .

Illustration 17
g00628057
Note: Do not strike the bearing. Shocks from striking the housing can cause damage.
22. Wipe the excess grease from the bearing well. Press bearing (37) into the housing. Remove the inner race.

Illustration 18
23. Remove 4 screws (38) from housing (31) .
g00628063
24. Lift rotor (39) and bearing (40) from housing (31) .

Illustration 19
25. Pull bearing (40) from rotor (39) .
26. Pull retainer (41) from rotor (39) .
27. Pull collar (42) from rotor (39) .
g00628067

Illustration 20
g00628068
Note: Do not strike the bushing. Shocks from striking the housing can cause damage.
28. Press bushing (43) from housing (14) .
Note: Do not strike the diodes. The shock of such an impact can damage the diodes. Use proper tools in order to press or pull the diodes from the mountings. As much as 890 N (200 lb) of force may be needed to remove a diode.
29. Remove 3 diodes (13) from housing (14) .

Illustration 21
30. Remove diode (11) from heat sink (12) .
g00628072
Copyright 1993 - 2025 Caterpillar Inc. All Rights Reserved. Private Network For SIS Licensees. Sat Mar 15 12:41:31 UTC+0700 2025

Product: EXCAVATOR
Model: 322 L EXCAVATOR 9RL
Configuration: 322L EXCAVATOR 9RL00001-UP (MACHINE) POWERED BY 3116 ENGINE
Disassembly and Assembly
37-MT, 41-MT, and 42-MT Series Starting Motors
Media Number -SENR3581-04
Publication Date -01/10/2008
Date Updated -24/10/2008
i01557321
General Information
SMCS - 1453
37-MT and 41-MT Starting Motors

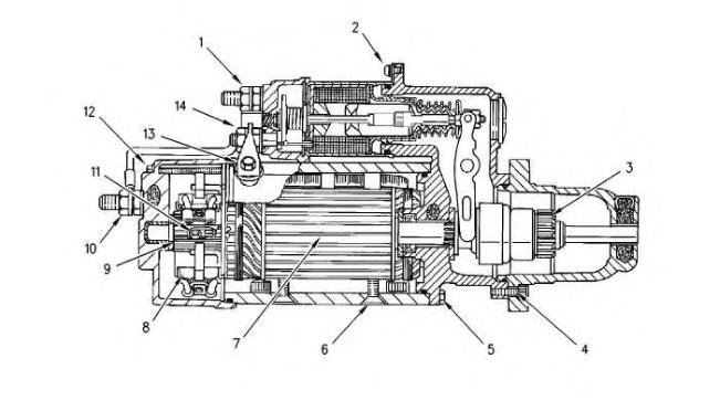
Illustration 1 g00782868
37-MT and 41-MT Cross section view
(1) Nut (Battery)
(2) Solenoid Mounting Screws
(3) Pinion
(4) Pinion Drive Housing Bolts
(5) Shift Lever Housing Bolts
(6) Field Winding Screws
(7) Laminated Core
(8) Rear Housing Bolts
(9) Brush
(10) Commutator
(11) Brush Lead Screws
(12) Motor Terminal Bolt
(13) Motor Terminal Nut
42-MT Starting Motors

2
42-MT Cross section view
(1) Nut (Battery)
(2) Solenoid Mounting Screws
(3) Pinion
(4) Pinion Drive Housing Bolts
(5) Shift Lever Housing Bolts
(6) Field Winding Screws
(7) Laminated Core
(8) Brush
(9) Commutator
(10) Ground Terminal Nut
(11) Brush Lead Screws
(12) Rear Housing Bolt
(13) Motor Terminal Bolt
(14) Motor Terminal Nut
1993 - 2025 Caterpillar Inc. All Rights Reserved.
Network For SIS Licensees. Sat Mar 15 12:29:42 UTC+0700 2025

Product: EXCAVATOR
Model: 322 L EXCAVATOR 9RL
Configuration: 322L EXCAVATOR 9RL00001-UP (MACHINE) POWERED BY 3116 ENGINE
Disassembly and Assembly
37-MT, 41-MT, and 42-MT Series Starting Motors
Media Number -SENR3581-04 Publication Date -01/10/2008 Date Updated -24/10/2008
Starting Motor - Assemble - 37-MT and 41-MT
SMCS - 1453-016
Assemble the Starting Motor Table 1
Required Tools

Illustration 1 g00810281
1. Put SAE 20W oil on all bushings, seals and oil wicks.
2. Put field winding coil (29) and pole shoes (30) in position in the starting motor housing. Put 9s-3263 Thread Lock Compound on the threads of screws (31). Tighten to a torque of 20.3 ± 2.3 N·m (179.7 ± 20.4 lb in).

Illustration 2
3. Install bushing (27) and seal (28) into the shift lever housing. Use tool group (B) .

Illustration 3
4. Put the O-ring on the shift lever housing (22) .
5. Install the seals on pin (26). Hold shift lever (24) in shift lever housing (22) and install pin (19) through the housing and lever (24). Install ring (23) with tool (A) .
This is the sample of the manual click on the download link for complete manual
For some reason if link does not work download this pdf and then click