Pipe & Tube Fittings (French)

Page 1

Raccords pour tuyaux et tubes

FONCTIONNELS ET POLYVALENTS

Raccords pour tuyaux et tubes

Polyvalents et adaptables à de multiples configurations structurelles, les garde-corps en tuyaux et en tubes conviennent aux projets industriels, institutionnels et commerciaux, à l’intérieur comme à l'extérieur.

Raccords pour tuyaux et tubes

Fabriquez des garde-corps et des mains courantes ou créez des solutions personnalisées conformes au cahier des charges du projet. Fonctionnels et polyvalents, les raccords pour tuyaux et tubes offrent des possibilités infinies.

Raccords à assemblage coulissant

PAR KEE® SAFETY

Créez des structures tubulaires rigides; garde-corps, mains courantes et barrières protectrices ou grilles et supports d’éclairage. Raccords faciles à assembler, légers et réutilisables. Aucun soudage n’est nécessaire.

geobezdan.com 1 800 663 6356 07/23 2

Bezdan Sélect

DES RACCORDS FONCTIONNELS ET POLYVALENTS

Communément utilisés comme garde-corps, les raccords pour tuyaux et tubes servent d’éléments directeurs dans les parcs, les terrains de jeu et les espaces publics. Polyvalentes, ces composantes peuvent aussi conférer une esthétique industrielle aux restaurants et espaces commerciaux.

Fabriquez des solutions personnalisées avec un assortiment de composantes pour les tuyaux de la nomenclature 40 ou des tuyaux standard équivalents. Les raccords sont disponibles en acier et en aluminium (à l’endroit indiqué). D’autres matériaux et dimensions sont disponibles sur commande spéciale.

Raccords

Une sélection complète de raccords est disponible pour diverses applications.

u Coudes et connecteurs

u Capuchons d’extrémité et disques

u Plaques et brides

u Supports de main courante

3 07/23 geobezdan.com 1 800 663 6356

RACCORDS POUR TUYAUX ET TUBES

Coudes, grand rayon, acier au carbone

APERÇU

w Formés à chaud à partir de tuyaux sans soudure

w Extrémités chanfreinées

w Légèrement huilés

w Sans peinture ni laque

PRODUITS ASSOCIÉS

w Capuchons bombés

w Plaques rondes ou carrées

w Raccords avec clavettes

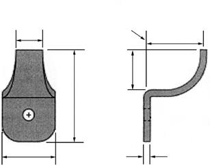
37-1/2˚ 90˚ 4 07/23 geobezdan.com 1 800 663 6356 n Raccords pour tuyaux et tubes | Bezdan Sélect
Item # Type Nom. 40 Diamètre ext. Angle Rayon int. (RI) Matériau Fini Poids SE4 Sans soudure 1-1/4" ø 1.660" 90˚ 1-1/16" Acier au carbone Brut 0.60 lb chq SE2 Sans soudure 1-1/2" ø 1.900" 90˚ 1-5/16" Acier au carbone Brut 0.90 lb chq SE6 Sans soudure 2" ø 2.375" 90˚ 1-13/16" Acier au carbone Brut 1.20 lb chq RI
cliquable
NOUVEAU! Contenu

Coudes, acier

RACCORDS | COUDES RI

Rayon intérieur 1"

Rayon intérieur 1-5/8"

Rayon intérieur 2"

Rayon intérieur 3"

Options de matériaux et de dimensions

Des coudes aux matériaux, dimensions et angles divers, avec ou sans soudure, sont disponibles sur commande spéciale.

u Veuillez communiquer avec votre représentant aux ventes pour de plus amples renseignements

avec clavettes

90˚ 55˚ 45˚ 35˚ 5 07/23 geobezdan.com 1 800 663 6356 n Raccords pour tuyaux et tubes | Bezdan Sélect
Item # Type Nom. 40 Diamètre ext. Angle Rayon int. (RI) Matériau Fini Poids 218 Avec soudure 1" ø 1.315" 90˚ 1" Acier Brut 0.35 lb chq 248 Avec soudure 1-1/4" ø 1.660" 35˚ 1" Acier Brut 0.24 lb chq 254 Avec soudure 1-1/4" ø 1.660" 45˚ 1" Acier Brut 0.29 lb chq 260 Avec soudure 1-1/4" ø 1.660" 55˚ 1" Acier Brut 0.36 lb chq 266 Avec soudure 1-1/4" ø 1.660" 90˚ 1" Acier Brut 0.53 lb chq 320 Avec soudure 1-1/2" ø 1.900" 35˚ 1" Acier Brut 0.27 lb chq 326 Avec soudure 1-1/2" ø 1.900" 45˚ 1" Acier Brut 0.35 lb chq 332 Avec soudure 1-1/2" ø 1.900" 55˚ 1" Acier Brut 0.40 lb chq 338 Avec soudure 1-1/2" ø 1.900" 90˚ 1" Acier Brut 0.65 lb chq RI RI RI Item # Type Nom. 40 Diamètre ext. Angle Rayon int. (RI) Matériau Fini Poids 4434 Avec soudure 1-1/4" ø 1.660" 90˚ 1-5/8" Acier Brut 0.72 lb chq 4464 Avec soudure 1-1/2" ø 1.900" 90˚ 1-5/8" Acier Brut 0.87 lb chq
APERÇU w Acier estampé avec soudure w Soudure affleurante w Pas d’extrémités chanfreinées w Légèrement huilés PRODUITS ASSOCIÉS w Capuchons bombés w Plaques rondes ou carrées w Raccords
Item # Type Nom. 40 Diamètre ext. Angle Rayon int. (RI) Matériau Fini Poids 270 Avec soudure 1-1/4" ø 1.660" 90˚ 3" Acier Brut 1.12 lb chq 342 Avec soudure 1-1/2" ø 1.900" 90˚ 3" Acier Brut 1. lb chq Item # Type Nom. 40 Diamètre ext. Angle Rayon int. (RI) Matériau Fini Poids 268 Avec soudure 1-1/4" ø 1.660" 90˚ 2" Acier Brut 0.86 lb chq 340 Avec soudure 1-1/2" ø 1.900" 90˚ 2" Acier Brut 0.96 lb chq
NOUVEAU! Contenu cliquable

NOUVEAU!

RACCORDS | COUDES

Coudes, rayon intérieur 1/8", acier

APERÇU

w Acier estampé avec soudure

w Soudure affleurante

w Pas d’extrémités chanfreinées

w Légèrement huilés

PRODUITS ASSOCIÉS

w Capuchons bombés

w Raccords avec clavettes

Coudes, rayon intérieur 1/8", à trois voies, acier

APERÇU

w Acier estampé avec soudure

w Soudure affleurante

w Pas d’extrémités chanfreinées

w Légèrement huilés

PRODUITS ASSOCIÉS

w Capuchons bombés

w Raccords avec clavettes

Options de matériaux et de dimensions

Des coudes de matériaux différents sont disponibles sur commande spéciale. Des tés et croix en acier sont également disponibles sur commande spéciale.

u Veuillez communiquer avec votre représentant aux ventes pour de plus amples renseignements

3/4" 3/4" 3/4" 3/4" 801 820 840 841 1-9/16" 1-11/16" 1-9/16" 1-11/16" 6 07/23 geobezdan.com 1 800 663 6356 n Raccords pour tuyaux et tubes | Bezdan Sélect
Item # Type Nom. 40 Diamètre ext. Angle Rayon int. (RI) Matériau Fini Poids 801 Avec soudure 1-1/4" ø 1.660" 90˚ 1/8" Acier Brut 0.54 lb chq 820 Avec soudure 1-1/2" ø 1.900" 90˚ 1/8" Acier Brut 0.71 lb chq
Item # Type Nom. 40 Diamètre ext. Angle Rayon int. (RI) Matériau Fini Poids 840 Avec soudure 1-1/4" ø 1.660" 90˚ 1/8" Acier Brut 0.71 lb chq 841 Avec soudure 1-1/2" ø 1.900" 90˚ 1/8" Acier Brut 0.79 lb chq RI RI RI RI
Contenu cliquable

RACCORDS | COUDES

APERÇU

w Les coudes dont le rayon intérieur est de 1" sont en alliage d’aluminium estampé 6063 avec soudure

w Les coudes dont le rayon intérieur est de 2" sont en alliage d’aluminium plié 3003 avec soudure

w Soudure affleurante

w Pas d’extrémités chanfreinées

w Légèrement huilés

PRODUITS ASSOCIÉS

w Capuchons bombés

w Raccords avec clavettes

Rayon intérieur 1"

Options de matériaux et de dimensions

Des coudes aux matériaux, dimensions et angles divers, avec ou sans soudure, sont disponibles sur commande spéciale.

u Veuillez communiquer avec votre représentant aux ventes pour de plus amples renseignements

90˚ 7 07/23 geobezdan.com 1 800 663 6356 n Raccords pour tuyaux et tubes | Bezdan Sélect
RI Item # Type Nom. 40 Diamètre ext. Angle Rayon int. (RI) Matériau Fini Poids 290 Avec soudure 1-1/4" ø 1.660" 90˚ 1" Aluminium Brut 0.18 lb chq 362 Avec soudure 1-1/2" ø 1.900" 90˚ 1" Aluminium Brut 0.21 lb chq 434 Avec soudure 2" ø 2.375" 90˚ 1" Aluminium Brut 0.30 lb chq Item # Type Nom. 40 Diamètre ext. Angle Rayon int. (RI) Matériau Fini Poids 292 Sans soudure 1-1/4" ø 1.660" 90˚ 2" Aluminium Brut 0.30 lb chq 364 Sans soudure 1-1/2" ø 1.900" 90˚ 2" Aluminium Brut 0.36 lb chq Rayon intérieur
Coudes, aluminium
2"
NOUVEAU! Contenu cliquable

RACCORDS | CONNECTEURS

Connecteurs contre-profilés, type A, acier

APERÇU

w Conçus pour éviter d’avoir à contreprofiler le tuyau

w Permettent de consacrer moins de temps à la découpe et à l’alignement

w Acier estampé

w À enfoncer

w Entièrement soudables

Raccords avec clavettes, acier

APERÇU

w Moyen simple de maintenir le tuyau en place en vue du soudage

w Les opérations de meulage et soudage prennent moins de temps et réduisent les coûts de finition

w Acier estampé

w Aucun chanfreinage nécessaire

w Résistent à une de traction de 100 lb+

w Fournis avec une cale

PRODUITS ASSOCIÉS

w Coudes

INSTALLATION

w Insérer une clavette dans chaque extrémité du tuyau et l’enfoncer avec un marteau

w Souder le joint et meuler jusqu’à ce que la surface soit lisse

Joints internes, verrouillage simple, acier

APERÇU

w Des broches maintiennent en un seul ensemble les composantes du joint interne, ce qui facilite son insertion dans le tuyau

w Acier estampé

w Aucun soudage requis

w Fourni avec une vis de blocage sans tête à pan creux de diamètre 3/8"

1-7/8" 3/8" 8 07/23 geobezdan.com 1 800 663 6356 n Raccords pour tuyaux et tubes | Bezdan Sélect
Item # Type Nom. 40 Diamètre ext. Angle Matériau Fini Poids 1822 A 1-1/4" ø 1.660" 90˚ Acier Brut 0.08 lb chq 1834 A 1-1/2" ø 1.900" 90˚ Acier Brut 0.05 lb chq Item # Nom. 40 Diamètre ext. Matériau Fini Poids 1023 1-1/4" ø 1.660" Acier Brut 0.06 lb chq 1033 1-1/2" ø 1.900" Acier Brut 0.06 lb chq
Item # Nom. 40 Diamètre ext. Matériau Fini Longueur Poids 3314 1-1/4" ø 1.660" Acier Brut 3-3/4" 0.38 lb chq 3318 1-1/2" ø 1.900" Acier Brut 3-3/4" 0.46 lb chq Trou percé de ø 13/32"
NOUVEAU! Contenu cliquable

RACCORDS | CAPUCHONS D’EXTRÉMITÉ

Capuchons d’extrémité, type A à enfoncer, acier

APERÇU

w Acier estampé

w Légèrement huilés

w À enfoncer

w Les capuchons restent en affleurement avec l’extérieur du tuyau une fois installés

w Aucun soudage requis

PRODUITS ASSOCIÉS

w Raccords avec clavettes

INSTALLATION

w Ébarber les extrémités du tuyau pour faciliter l’insertion des capuchons

Capuchons d’extrémité, type C à souder, acier

APERÇU

w Acier estampé

w Pas d’extrémités chanfreinées

w Légèrement huilés

PRODUITS ASSOCIÉS

w Raccords avec clavettes

INSTALLATION

w Souder et meuler jusqu’à ce que la surface soit lisse

produits sont disponibles sur commande spéciale. Veuillez communiquer avec votre représentant aux ventes pour de plus amples renseignements.

Raccords avec clavettes

Le raccord maintient en place le capuchon et le tuyau avant le soudage. Permet de consacrer moins de temps pour meulage et soudage et réduit les coûts de finition.

u Items # 1023 et 1033 | Bezdan Sélect page 8

1-5/8" 1-3/8" 3/8" 1-1/8" 3211 3212 1-7/8" 1-39/64" 5/16" 1-1/8" 9 07/23 geobezdan.com 1 800 663 6356 n Raccords pour tuyaux et tubes | Bezdan Sélect
Item # Type Nom. 40 Diamètre ext. Matériau Fini Longueur Calibre Poids 3211 À enfoncer 1-1/4" ø 1.660" Acier Brut 1-1/8" 10 0.36 lb chq 3212 À enfoncer 1-1/2" ø 1.900" Acier Brut 1-3/8" 10 0.43 lb chq L
Item # Type Nom. 40 Diamètre ext. Matériau Fini Longueur (L) Poids u 3223 À souder 3/4" ø 1.050" Acier Brut 5/8" 0.05 lb chq 3218 À souder 1" ø 1.315" Acier Brut 1" 0.12 lb chq 3219B À souder 1-1/4" ø 1.660" Acier Brut 1-1/8" 0.18 lb chq 3220B À souder 1-1/2" ø 1.900" Acier Brut 1-1/8" 0.22 lb chq 3221B À souder 2" ø 2.375" Acier Brut 1-3/8" 0.33 lb chq 3224 À souder 2-1/2" ø 2.870" Acier Brut 1-1/4" 0.46 lb chq 3225 À souder 3" ø 3.500" Acier Brut 1-1/4" 0.54 lb chq 3225-2 À souder 3-1/2" ø 4.000" Acier Brut 1-5/16" 0.64 lb chq 3225-4B À souder 4" ø 4.500" Acier Brut 1-5/8" 0.90 lb chq u Ces
NOUVEAU! Contenu cliquable
Illustré avec un raccord avec clavette

RACCORDS | CAPUCHONS D’EXTRÉMITÉ

Capuchons d’extrémité, type C à souder, aluminium

APERÇU

w Aluminium estampé

w Alliage 3003

w Pas d’extrémités chanfreinées

w Légèrement huilés

PRODUITS ASSOCIÉS

w Raccords avec clavettes

INSTALLATION

w Souder et meuler jusqu’à ce que la surface soit lisse

Capuchons d’extrémité, à enfoncer, plastique

APERÇU

w À enfoncer

w Les capuchons reste en affleurement avec l’extérieur du tuyau une fois installés

w Aucun soudage requis

PRODUITS ASSOCIÉS

w Coudes

Hémisphères

Des hémisphères en acier pouvant servir de capuchons d’extrémité à des tuyaux de la nomenclature 40 sont disponibles.

u Consulter la section Composantes ornementales, Hémisphères, à l’onglet « Garde-corps ornemental »

10 07/23 geobezdan.com 1 800 663 6356 n Raccords pour tuyaux et tubes | Bezdan Sélect
Item # Type Nom. 40 Diamètre ext. Matériau Fini Longueur (L) Poids 3239 À souder 1-1/4" ø 1.660" Aluminium Brut 1-1/8" 0.07 lb chq 3240 À souder 1-1/2" ø 1.900" Aluminium Brut 1-1/8" 0.08 lb chq 3241 À souder 2" ø 2.375" Aluminium Brut 1-3/8" 0.12 lb chq
Item # Type Nom. 40 Diamètre ext. Matériau Couleur Poids 133C À enfoncer 1-1/4" ø 1.660" Plastique Gris 0.05 lb chq 133D À enfoncer 1-1/2" ø 1.900" Plastique Gris 0.05 lb chq L
NOUVEAU! Contenu cliquable
Illustré avec un raccord avec clavette

NOUVEAU! Contenu cliquable

RACCORDS | DISQUES ET PLAQUES

Disques, simples, acier

Plaques, rondes avec des trous, acier

ø 11 07/23 geobezdan.com 1 800 663 6356 n Raccords pour tuyaux et tubes | Bezdan Sélect
Calibre/Épaisseur APERÇU w Acier estampé w Légèrement huilés PRODUITS ASSOCIÉS w Coudes Item # Type Diamètre (ø) Nom. 40 Matériau Fini Calibre/Épaisseur Poids D030 Simple ø 1-5/16" 1" Acier Brut 10 0.05 lb chq D039 Simple ø 1-3/8" - Acier Brut 10 0.05 lb chq D045 Simple ø 1-1/2" - Acier Brut 10 0.05 lb chq D060 Simple ø 1-5/8" 1-1/4" Acier Brut 10 0.07 lb chq D075 Simple ø 1-7/8" 1-1/2" Acier Brut 10 0.15 lb chq D090 Simple ø 2" - Acier Brut 10 0.19 lb chq D105 Simple ø 2-3/8" 2" Acier Brut 10 0.15 lb chq D132-1 Simple ø 2-7/8" 2-1/2" Acier Brut 10 0.25 lb chq D135 Simple ø 3" - Acier Brut 10 0.30 lb chq D165 Simple ø 3-1/2" 3" Acier Brut 10 0.36 lb chq D195 Simple ø 4" 3-1/2" Acier Brut 10 0.50 lb chq D035 Simple ø 1-5/16" 1" Acier Brut 1/4" 0.09 lb chq D071-1 Simple ø 1-3/8" - Acier Brut 1/4" 0.16 lb chq D053 Simple ø 1-1/2" - Acier Brut 1/4" 0.14 lb chq D065 Simple ø 1-5/8" 1-1/4" Acier Brut 1/4" 0.14 lb chq D080 Simple ø 1-7/8" 1-1/2" Acier Brut 1/4" 0.10 lb chq D098 Simple ø 2" - Acier Brut 1/4" 0.23 lb chq D110 Simple ø 2-3/8" 2" Acier Brut 1/4" 0.30 lb chq D134-1 Simple ø 2-7/8" 2-1/2" Acier Brut 1/4" 0.47 lb chq D143 Simple ø 3" - Acier Brut 1/4" 0.49 lb chq D173 Simple ø 3-1/2" 3" Acier Brut 1/4" 0.65 lb chq D203 Simple ø 4" 3-1/2" Acier Brut 1/4" 0.88 lb chq
Permettent la fabrication de supports de main courante
Acier estampé
Légèrement huilées
Les trous ne sont pas fraisés Trous de ø 1/4" (3) Trou central de ø 1/2" Item # Type Diamètre Trou central Matériau Fini Épaisseur Poids DISC B-2 3 trous ø 3-1/2" ø 1/2" Acier Brut 3/16" 0.50 lb chq
APERÇU w
w
w
w

RACCORDS | PLAQUES ET BRIDES

Plaques, carrées avec des trous, acier

APERÇU

w Permettent la fabrication de supports de main courante ou de bases de poteau

w Acier estampé

w Légèrement huilées

w Les trous ne sont pas fraisés

Brides, base plate, acier

Brides, base lourde, acier

12 07/23 geobezdan.com 1 800 663 6356 n Raccords pour tuyaux et tubes | Bezdan Sélect
de ø 3/8" (4) Item # Type Dimension Matériau Fini Épaisseur Poids BP-1 4 trous 3" x 3" Acier Brut 5/32" 0.37 lb chq BP-2 4 trous 4" x 4" Acier Brut 5/32" 0.66 lb chq
Trous
Simple 3 trous Trous de ø 5/16" (3) APERÇU w Acier estampé w Fixation sur plat de dalle
Simple 3 trous Trous de ø 5/16" (3) APERÇU w Acier estampé w Fixation sur plat de dalle Item # Type Nom. 40 Compatible Diam. de la bride Entraxes Matériau Fini Calibre Poids 626 Simple 1-1/4" ø 1.660" ø 3-3/4" - Acier Brut 10 0.40 lb chq 634 Simple 1-1/2" ø 1.900" ø 4-1/4" - Acier Brut 10 0.54 lb chq 627A 3 trous 1-1/4" ø 1.660" ø 3-3/4" 3" Acier Brut 10 0.39 lb chq 635A 3 trous 1-1/2" ø 1.900" ø 4-1/4" 3-1/2" Acier Brut 10 0.54 lb chq Item # Type Nom. 40 Compatible Diam. de la bride Entraxes Matériau Fini Calibre Poids 1426 Simple 1-1/4" ø 1.660" ø 3-7/8" - Acier Brut 10 0.53 lb chq 1434 Simple 1-1/2" ø 1.900" ø 4-1/2" - Acier Brut 10 0.64 lb chq 1427A 3 trous 1-1/4" ø 1.660" ø 3-7/8" 3" Acier Brut 10 0.49 lb chq 1435A 3 trous 1-1/2" ø 1.900" ø 4-1/2" 3-1/2" Acier Brut 10 0.64 lb chq NOUVEAU! Contenu cliquable

NOUVEAU! Contenu cliquable

RACCORDS | SUPPORTS DE MAIN COURANTE

Supports, disque soudé de 1/4" et barre, acier

APERÇU

w Appui compatible avec les mains courantes rondes, carrées ou rectangulaires

w Plaque de 1/4" soudable

w Légèrement huilés

w Les trous ne sont pas fraisés

w Rapport d'essai pour BB 4.0

w Rapport d'essai pour BB 4.5

Supports, 3/16", acier formé

APERÇU

w Appui compatible avec les mains courantes rondes, carrées ou rectangulaires

w Acier estampé

w Plaque de 3/16" soudable

w Légèrement huilés

w Les trous ne sont pas fraisés

w Rapport d'essai

1/2" 3-15/16" ø 2.94" 3" 1/2" 1/2" R=1" 1/4" 1-3/4" 1" 3/8" 3/8" 2-3/4" 15/16" 2-1/2" 3/16" 13 07/23 geobezdan.com 1 800 663 6356 n Raccords pour tuyaux et tubes | Bezdan Sélect
Item # Type d’appui Nb de trous Dist. mur-appui Matériau Fini Poids BB 4.0 Rond ou plat 3 3" Acier Brut 1.02 lb chq BB 4.5 Rond ou plat 3 3-1/2" Acier Brut 1.04 lb chq Supports
Item # Type d’appui Nb de trous Dist. mur-appui Matériau Fini Poids 3434B Rond ou plat 2 2-1/2" Acier Brut 0.53 lb chq 3458B Rond ou plat 3 2-1/2" Acier Brut 0.53 lb chq 3426B Rond ou plat 1 3" Acier Brut 0.52 lb chq 3442B Rond ou plat 2 3" Acier Brut 0.52 lb chq 3466B Rond ou plat 3 3" Acier Brut 0.52 lb chq Trous de ø 1/4" (3) Trou de ø 7/16" Trous de ø 7/16" (2) Trous de ø 1/4" (2) 2-1/2 ou 3" Trous de ø 5/16" (3) 3" ou 3-1/2"

NOUVEAU! Contenu cliquable

RACCORDS | SUPPORTS DE MAIN COURANTE

Supports, 3/16", acier formé

APERÇU

w Appui compatible avec les mains courantes rondes, carrées ou rectangulaires

w Acier estampé

w Plaque de 3/16" soudable

w Légèrement huilés

w Les trous ne sont pas fraisés

w Rapport d'essai

w Le dégagement entre la sous-face de la main courante et le bras horizontal dépasse de 1" les autres supports formés de cette section

Supports, 3/16", acier formé

APERÇU

w Appui compatible avec les mains courantes rondes, carrées ou rectangulaires

w Acier estampé

w Plaque de 3/16" soudable

w Légèrement huilés

w Les trous ne sont pas fraisés

w Se fixent au mur et aux poteaux carrés ou rectangulaires

Supports, 1/4", acier formé

APERÇU

w Appui compatible avec les mains courantes rondes

w Acier estampé

w Plaque de 1/4" soudable

w Légèrement huilés

w Les trous ne sont pas fraisés

w Rapport d'essai

2-3/4" 2-1/2" 3-1/2" 1-3/4" 3/8" 3/8" 1" 1-1/2" 3/16" 1-3/4" 3-1/2" 5/8" 3/8" 3/8" 2-5/8" 3" 3/16" 1-3/4" 1" 3" 1-1/2" 2-1/2" 3/8" 3/8" 1/4" 14 07/23 geobezdan.com 1 800 663 6356 n Raccords pour tuyaux et tubes | Bezdan Sélect Mur Trous de ø 1/4" (2) Trou de ø 3/8" Trous de ø 1/4" (2) Trou de ø 7/16" Trous de ø 1/4" (2) Mur
Item # Type d’appui Nb de trous Dist. mur-appui Matériau Fini Poids 1926RB Rond 1 3-15/16" Acier Brut 0.83 lb chq 1938RB Rond 1 3" Acier Brut 0.75 lb chq
Item # Type d’appui Nb de trous Dist. mur-appui Matériau Fini Poids 3419B Rond ou plat 1 2-1/2" Acier Brut 0.53 lb chq
Item # Type d’appui Nb de trous Dist. mur-appui Matériau Fini Poids 3482 Rond ou plat 1 3" Acier Brut 0.40 lb chq
Trou de ø 7/16" 3" ou 3-15/16" Trou

RACCORDS | SUPPORTS DE MAIN COURANTE

Supports, 1/4", acier formé

APERÇU

w Compatibles avec des mains courantes rondes, carrées ou rectangulaires

w Acier estampé

w Plaque de 1/4" soudable

w Légèrement huilés

w Les trous ne sont pas fraisés

w Testé aux exigences de l’OSHA, BOCA et ADA en matière de charges

Supports, 1/4", acier formé

APERÇU

w Appui compatible avec les mains courantes rondes, carrées ou rectangulaires

w Acier estampé

w Plaque de 1/4" soudable

w Légèrement huilés

w Le trou n’est pas fraisé

w Rapport d'essai

Supports, 7/32", aluminium extrudé

APERÇU

w Appui compatible avec les mains courantes rondes

w Alliage 6063-T5

w Plaque de 7/32" entièrement soudable

w Les trous ne sont pas fraisés

1/4" 1-1/2" 1" 2" 3-13/32" 3" 2-13/32" 1-3/4" 3/8" 3/8" 1" 1/4" 1-9/16" 7/32" 2-19/32" 1-1/8" 15 07/23 geobezdan.com 1 800 663 6356 n Raccords pour tuyaux et tubes | Bezdan Sélect Trou de ø 1/4" Trous de ø 1/4" (2) Nouv
Item # Type d’appui Nb de trous Dist. mur-appui Matériau Fini Poids 1930R Rond 1 2-1/2" Acier Brut 0.78 lb chq 1930F Plat 1 2-1/2" Acier Brut 0.86 lb chq 1938R Rond 1 3" Acier Brut 0.77 lb chq 1938F Plat 1 3" Acier Brut 0.88 lb chq
Item # Type d’appui Nb de trous Dist. mur-appui Matériau Fini Poids BB 2.5 Rond ou plat 1 2-1/4" Acier Brut 0.55 lb chq BB 3.0 Rond ou plat 1 3" Acier Brut 0.55 lb chq
Item # Type d’appui Nb de trous Dist. mur-appui Matériau Fini Poids AL-210 Rond 1 3" Aluminium Brut 0.25 lb chq
Trou de ø 3/8" Trou de ø 7/16" 3"
Mur Mur Trou de ø 3/8" Trou de ø 3/8" 2-1/2" ou 3"
jusqu’à l’arrière de la plaque
NOUVEAU! Contenu cliquable

RACCORDS | SUPPORTS DE MAIN COURANTE

Supports, extension de 2-1/2",

fonte ductile

APERÇU

w Compatibles avec des mains courantes rondes, carrées ou rectangulaires

w Fonte ductile

w Entièrement soudables

w Légèrement huilés

w Les trous ne sont pas fraisés

Supports, extension de 3", fonte ductile

APERÇU

w Compatibles avec des mains courantes rondes, carrées ou rectangulaires

w Fonte ductile

w Entièrement soudables

w Légèrement huilés

w Les trous ne sont pas fraisés

Supports, extension de 2-1/2", aluminium coulé

APERÇU

w Appui compatible avec les mains courantes carrées ou rectangulaires

w Aluminium coulé

w Entièrement soudables

w Les trous ne sont pas fraisés

2" 2-7/8" 1-1/2" 2-1/2" 1-7/16" 2-1/2" 2-1/2" 1-7/16" 2-3/16" 2" 3-1/4" 1-1/2" 3" 1-5/8" 2-3/8" 3" 1-5/8" 2-1/4 2-1/4" 3" 1-1/2" 2-1/2" 1-7/16" 2-5/16" 16 07/23 geobezdan.com 1 800 663 6356 n Raccords pour tuyaux et tubes | Bezdan Sélect
Item # Type de d’appui Nb de trous Dist. mur-appui Matériau Fini Poids DH2382 Rond 1 2-1/2" Fonte ductile Brut 0.90 lb chq DH2381 Droit 1 2-1/2" Fonte ductile Brut 0.90 lb chq
Trous de ø 3/16 (2)
Trous de ø 3/16"(2) Trous de ø 3/16" (2)
Item # Type de d’appui Nb de trous Dist. mur-appui Matériau Fini Poids A-3A Droit 1 2-1/2" Aluminium coulé Brut 0.25 lb chq
Item # Type de d’appui Nb de trous Dist. mur-appui Matériau Fini Poids DH2306 Rond 1 3" Fonte ductile Brut 1.13 lb chq DH2305 Droit 1 3" Fonte ductile Brut 1.17 lb chq Mur Mur Mur Mur Mur Trou de ø 7/16" Trou de ø 7/16" Trou de ø 5/16" NOUVEAU! Contenu cliquable

Raccords à assemblage coulissant

PAR KEE® SAFETY

CONÇU DANS UN SOUCI DE SIMPLICITÉ ET DE POLYVALENCE

Kee® Safety propose deux systèmes, les raccords en fonte malléable Kee® Klamp et les raccords en aluminium Kee® Lite, capables de créer des structures de tuyauterie et tubulaires rigides et polyvalentes sans soudage. Ces systèmes modulaires ont été conçus pour permettre la réalisation de virtuellement n’importe quelle configuration structurelle avec quelques composantes seulement. Les raccords s’installent rapidement avec une clé Allen et constituent une solution économique pour la construction de garde-corps sûrs et durables, à l’intérieur comme à l’extérieur.

Raccords compatibles avec les tuyaux en acier de la nomenclature 40 dont le diamètre est compris entre 1-1/4" et 2".

u Raccords en fonte malléable

u Idéals pour les environnements difficiles

u Applications horizontales et obliques

Raccords compatibles avec les tuyaux en aluminium de la nomenclature 40 dont le diamètre est compris entre 1-1/4" et 2".

u Raccords en aluminium

u Idéals pour les structures tubulaires légères

u Applications horizontales et obliques

geobezdan.com 1 800 663 6356 17 08/20  1
Kee® Klamp Kee® Lite
1: Application industrielle
FIGURE

Kee® Klamp

Durable et polyvalent

u Raccords en fonte malléable

u Compatibles avec les tuyaux en acier de la nomenclature 40 dont le diamètre est compris entre 1-1/4" et 2" u Applications horizontales et obliques

u Utilisation intérieure et extérieure

Raccords fonctionnels pour tuyaux en acier

Un système de raccordement de tuyaux durable et polyvalent

Créez une solution complète de garde-corps sur mesure ou réparez, remplacez et modifiez facilement des structures existantes. Les raccords en fonte malléable polyvalents ont été conçus de façon à être compatibles avec les tuyaux aux dimensions standard les plus courantes. L’installation est facile avec les vis de blocage hexagonales qui immobilisent les raccords fermement en place. Les vis de blocage sont en acier cémenté et sont traitées avec Kee Koat, un agent protecteur contre la corrosion unique.

Caractéristiques

u Raccords en fonte malléable durables et réutilisables

u S’installent rapidement et sans soudage

u Galvanisés pour offrir une résistance élevée à la corrosion et assurer une protection durable

u Les grandes vis de blocage encastrées résistent à l’arrachement des filets et ont une apparence épurée

u Fabriqués conformément aux exigences de la norme

ASTM A47-77-32510

geobezdan.com 1 800 663 6356 19 08/20 n Raccords pour tuyaux et tubes | Raccords à assemblage coulissant
NOUVEAU! Contenu cliquable

KEE® KLAMP | RACCORDS

Dimensions des raccords Kee et des tuyaux correspondants

geobezdan.com 1 800 663 6356 08/20 20 n
Raccords pour tuyaux et tubes | Raccords à assemblage coulissant
Guide de sélection des raccords D.I. du raccord Kee Les diagrammes sont à l’échelle.
TAILLE DU RACCORD KEE® 5 6 7 8 9 NOM. 40/Diam. nom. 3/4" 1" 1-1/4" 1-1/2" 2" D.I. du raccord Kee 1.09" 1.38" 1.72" 1.94" 2.41" Diam. ext. du tuyau ø 1.050" ø 1.315" ø 1.660" ø 1.900" ø 2.375" Diam. ext. du tuyau ø 1.660" Diam. ext. du tuyau ø 1.050" Diam. ext. du tuyau ø 1.900" Diam. ext. du tuyau ø 2.375" Diam. ext. du tuyau ø 1.315" 8 1-1/2" NOM. 40 9 2" NOM. 40 5 3/4" NOM. 40 6 1" NOM. 40 7 1-1/4" NOM. 40 NOUVEAU! Contenu cliquable

NOUVEAU! Contenu cliquable

KEE® KLAMP | RACCORDS

10 - Té à une entrée

APERÇU

w Conçu pour réaliser un joint d’about à 90˚ entre deux tuyaux

w Ce raccord ne peut pas être utilisé quand le tube qui passe au travers du manchon doit être raccordé à l’intérieur du raccord

w Le tuyau no 1 traverse le raccord

disponibles sur commande spéciale. Veuillez communiquer avec votre représentant aux ventes pour de plus amples renseignements.

14 - Couplage droit

Performance

APERÇU

w Conçu pour former un joint en ligne entre deux tuyaux de la même taille

w Les tuyaux nos 1 et 2 se rejoignent dans le raccord pour former une longueur de tuyau continue

Les raccords Kee Klamp peuvent supporter une charge axiale de 2 000 lb par vis de blocage lorsque la vis de blocage est serrée à un couple de 29 lb/pi. L’évaluation comprend un facteur de sécurité de 2:1. On obtient normalement cette résistance lorsque la vis de blocage est serrée à fond avec une clé à rochet.

D E D geobezdan.com 1 800 663 6356 08/20 21 n Raccords pour tuyaux et tubes | Raccords à assemblage coulissant
Tuyau no 1 Tuyau no 2 Tuyau no 1 Tuyau no 2 Item # Taille Kee Diam. nom. 40 D.I. du raccord D Matériau Fini Poids u 14-5 5 3/4" ø 1.09" 3.03" Fonte malléable Galvanisé 0.59 lb chq u 14-6 6 1" ø 1.38" 3.50" Fonte malléable Galvanisé 0.86 lb chq 14-7 7 1-1/4" ø 1.72" 4.02" Fonte malléable Galvanisé 1.14 lb chq 14-8 8 1-1/2" ø 1.94" 4.09" Fonte malléable Galvanisé 1.41 lb chq u 14-9 9 2" ø 2.41" 4.88" Fonte malléable Galvanisé 2.38 lb chq u Ces produits sont disponibles sur commande spéciale. Veuillez communiquer avec votre représentant aux ventes pour de plus amples renseignements. Item # Taille Kee Diam. nom. 40 D.I. du raccord D E Matériau Fini Poids u 10-5 5 3/4" ø 1.09" 1.63" 1.47" Fonte malléable Galvanisé 0.51 lb chq u 10-6 6 1" ø 1.38" 1.81" 1.84" Fonte malléable Galvanisé 0.64 lb chq 10-7 7 1-1/4" ø 1.72" 2.38" 2.16" Fonte malléable Galvanisé 0.99 lb chq 10-8 8 1-1/2" ø 1.94" 2.69" 2.38" Fonte malléable Galvanisé 1.36 lb chq u 10-9 9 2" ø 2.41" 3.31" 2.88" Fonte malléable Galvanisé 2.13 lb chq u Ces
produits sont

NOUVEAU! Contenu cliquable

KEE® KLAMP | RACCORDS

15 - Coude à 90˚

APERÇU

w Conçu pour former un coude à 90°

w Les tuyaux nos 1 et 2 se rejoignent dans le raccord

17 - Croix décalée

Tuyau no 1 Tuyau no 2 Tuyau no 1 Tuyau no 2

APERÇU

w Conçue pour assurer un raccordement décalé à 90°

w Peut être ajoutée à une structure existante

w Les tuyaux nos 1 et 2 traversent le raccord

spéciale. Veuillez communiquer avec votre représentant aux ventes pour de plus

D E D D geobezdan.com 1 800 663 6356 08/20 22
n Raccords pour tuyaux et tubes | Raccords à assemblage coulissant
Item # Taille Kee Diam. nom. 40 D.I. du raccord D Matériau Fini Poids u 15-5 5 3/4" ø 1.09" 1.61" Fonte malléable Galvanisé 0.59 lb chq u 15-6 6 1" ø 1.38" 1.81" Fonte malléable Galvanisé 0.81 lb chq 15-7 7 1-1/4" ø 1.72" 2.36" Fonte malléable Galvanisé 1.47 lb chq 15-8 8 1-1/2" ø 1.94" 2.68" Fonte malléable Galvanisé 1.69 lb chq u 15-9 9 2" ø 2.41" 3.35" Fonte malléable Galvanisé 2.82 lb chq u Ces produits sont disponibles sur commande spéciale. Veuillez communiquer avec votre représentant aux ventes pour de plus amples renseignements. Item # Taille Kee Diam. nom. 40 D.I. du raccord D E Matériau Fini Poids u 17-5 5 3/4" ø 1.09" 1.06" 1.57" Fonte malléable Galvanisé 0.33 lb chq u 17-6 6 1" ø 1.38" 1.34" 1.89" Fonte malléable Galvanisé 0.51 lb chq u 17-7 7 1-1/4" ø 1.72" 1.69" 2.28" Fonte malléable Galvanisé 0.95 lb chq 17-8 8 1-1/2" ø 1.94" 1.93" 2.56" Fonte malléable Galvanisé 1.23 lb chq u 17-9 9 2" ø 2.41" 2.40" 3.07" Fonte malléable Galvanisé 1.98 lb chq u Ces produits sont disponibles sur commande
w Ce raccord ne devrait pas servir à rejoindre deux tuyaux amples renseignements.
IMPORTANT : épaisseur du tuyau
Seules les structures soumises à de faibles charges peuvent comporter des tuyaux dont l’épaisseur est inférieure à 1/8".

KEE® KLAMP | RACCORDS

20 – Angle supérieur à trois entrées

APERÇU

w Conçu pour assurer un raccordement d’angle à 90°

w Utilisé pour les rails supérieurs des garde-corps de sécurité et les joints d’angle des bancs, des tables de travail et d'autres structures

w Les tuyaux nos 1, 2 et 3 se rejoignent dans le raccord

21 – Angle intermédiaire à deux entrées à 90˚

APERÇU

w Conçu pour assurer un joint d’angle à 90˚ pour le rail intermédiaire d’un garde-corps de sécurité ou d’autres structures

w Se combine généralement à 20Angle supérieur à trois entrées

w Le tuyau no 3 traverse le raccord

D D D D D geobezdan.com 1 800 663 6356 23 08/20 n Raccords pour tuyaux et tubes | Raccords à assemblage coulissant
Tuyau no 2 Tuyau no 3 Tuyau no 1 Tuyau no 2 Tuyau no 3 Tuyau no 1 Item # Taille Kee Diam. nom. 40 D.I. du raccord D Matériau Fini Poids u 21-5 5 3/4" ø 1.09" 1.61" Fonte malléable Galvanisé 0.62 lb chq u 21-6 6 1" ø 1.38" 1.81" Fonte malléable Galvanisé 0.90 lb chq 21-7 7 1-1/4" ø 1.72" 2.36" Fonte malléable Galvanisé 1.52 lb chq 21-8 8 1-1/2" ø 1.94" 2.68" Fonte malléable Galvanisé 1.87 lb chq u 21-9 9 2" ø 2.41" 3.35" Fonte malléable Galvanisé 2.99 lb chq u Ces produits sont disponibles sur commande spéciale. Veuillez communiquer avec votre représentant aux ventes pour de plus amples renseignements. Item # Taille Kee Diam. nom. 40 D.I. du raccord D Matériau Fini Poids u 20-5 5 3/4" ø 1.09" 1.61" Fonte malléable Galvanisé 0.84 lb chq u 20-6 6 1" ø 1.38" 1.81" Fonte malléable Galvanisé 1.06 lb chq 20-7 7 1-1/4" ø 1.72" 2.36" Fonte malléable Galvanisé 1.78 lb chq 20-8 8 1-1/2" ø 1.94" 2.68" Fonte malléable Galvanisé 2.49 lb chq u 20-9 9 2" ø 2.41" 3.31" Fonte malléable Galvanisé 4.00 lb chq u Ces produits sont disponibles sur commande spéciale. Veuillez communiquer avec votre représentant aux ventes pour de plus amples renseignements. NOUVEAU! Contenu cliquable

n Raccords pour tuyaux et tubes | Raccords à assemblage coulissant

KEE® KLAMP | RACCORDS

25 - Té à trois entrées à 90˚

APERÇU

w Conçu pour réaliser un joint bout à bout à 90˚ entre deux tuyaux

w Les tuyaux nos 1 et 2 se rejoignent dans le raccord pour former une longueur de tuyau continue

disponibles sur commande spéciale. Veuillez communiquer avec votre représentant aux ventes pour de plus amples renseignements.

26 - Croix à deux entrées

IMPORTANT : épaisseur du tuyau

APERÇU

w Conçu pour assurer un joint à 90°

w Se combine généralement à 25 - Té à trois entrées à 90˚

w Le tuyau no 3 traverse le raccord

Seules les structures soumises à de faibles charges peuvent comporter des tuyaux dont l’épaisseur est inférieure à 1/8".

E D D geobezdan.com 1 800 663 6356 08/20 24
Tuyau no 2 Tuyau no 3 Tuyau no 1 Tuyau no 2 Tuyau no 3 Tuyau no 1 Item # Taille Kee Diam. nom. 40 D.I. du raccord D E Matériau Fini Poids u 25-5 5 3/4" ø 1.09" 1.61" 3.23" Fonte malléable Galvanisé 0.81 lb chq u 25-6 6 1" ø 1.38" 1.81" 3.62" Fonte malléable Galvanisé 1.08 lb chq 25-7 7 1-1/4" ø 1.72" 2.36" 4.72" Fonte malléable Galvanisé 1.87 lb chq 25-8 8 1-1/2" ø 1.94" 2.68" 5.35" Fonte malléable Galvanisé 2.40 lb chq u 25-9 9 2" ø 2.41" 3.31" 6.61" Fonte malléable Galvanisé 3.83 lb chq u Ces produits
Item # Taille Kee Diam. nom. 40 D.I. du raccord D Matériau Fini Poids u 26-5 5 3/4" ø 1.09" 3.19" Fonte malléable Galvanisé 0.59 lb chq u 26-6 6 1" ø 1.38" 3.62" Fonte malléable Galvanisé 0.88 lb chq 26-7 7 1-1/4" ø 1.72" 4.72" Fonte malléable Galvanisé 1.43 lb chq 26-8 8 1-1/2" ø 1.94" 5.35" Fonte malléable Galvanisé 1.87 lb chq u 26-9 9 2" ø 2.41" 6.77" Fonte malléable Galvanisé 3.21 lb chq u Ces produits sont disponibles sur commande spéciale. Veuillez communiquer avec votre représentant aux ventes pour de plus amples renseignements.
sont
NOUVEAU! Contenu cliquable

NOUVEAU! Contenu cliquable

KEE® KLAMP | RACCORDS

45 - Croix décalée

APERÇU

w Conçue pour assurer un raccordement décalé à 90°

w À utiliser sur un garde-corps de sécurité lorsqu’un rail horizontal continu est nécessaire ou pour les niveaux intermédiaires de supports lorsque les montants n’ont pas à être reliés horizontalement

w Permet de réduire les coûts en réduisant au minimum le nombre de découpes de tuyau

w Ce raccord ne permet pas de rejoindre deux tuyaux

w Les tuyaux nos 1 et 2 traversent le raccord

produits sont disponibles sur commande spéciale. Veuillez communiquer avec votre représentant aux ventes pour de plus amples renseignements.

C50 - Raccord orientable à une entrée

APERÇU

w Conçu pour faire office de raccord de couplage complet

w Utilisé à des fins de contreventement, mais permet également de raccorder des tuyaux formant un angle non standard

w Une structure ne devrait pas être construite intégralement à partir de raccords orientables. Elle ne serait pas suffisamment stable et rigide

w Le tuyau no 1 traverse le raccord

D E 85˚ 85˚ geobezdan.com 1 800 663 6356 25 08/20 n Raccords pour tuyaux et tubes | Raccords à assemblage coulissant
Tuyau
Tuyau
Tuyau no 1 Tuyau no 2 Item # Taille Kee Diam. nom. 40 D.I. du raccord D E Matériau Fini Poids u 45-5 5 3/4" ø 1.09" 1.34" 1.22" Fonte malléable Galvanisé 0.44 lb chq u 45-6 6 1" ø 1.38" 1.57" 1.50" Fonte malléable Galvanisé 0.75 lb chq u 45-7 7 1-1/4" ø 1.72" 2.17" 1.81" Fonte malléable Galvanisé 1.19 lb chq 45-8 8 1-1/2" ø 1.94" 2.17" 1.97" Fonte malléable Galvanisé 1.30 lb chq u 45-9 9 2" ø 2.41" 2.64" 2.40" Fonte malléable Galvanisé 2.00 lb chq u Ces
Item # Taille Kee Diam. nom. 40 D.I. du raccord Matériau Fini Poids u C50-55 5 3/4" ø 1.09" Fonte malléable Galvanisé 1.23 lb chq u C50-66 6 1" ø 1.38" Fonte malléable Galvanisé 1.41 lb chq C50-77 7 1-1/4" ø 1.72" Fonte malléable Galvanisé 1.76 lb chq C50-88 8 1-1/2" ø 1.94" Fonte malléable Galvanisé 2.00 lb chq u C50-99 9 2" ø 2.41" Fonte malléable Galvanisé 2.68 lb chq u Ces produits sont disponibles
no 1
no 2
sur commande spéciale. Veuillez communiquer avec votre représentant aux ventes pour de plus amples renseignements.

KEE® KLAMP | RACCORDS

60 – Bride renforcée

APERÇU

w Bride renforcée à base large

w Conçue pour répartir les charges sur une grande surface

w Les trous de fixation ne peuvent accueillir que des vis à tête plate fraisée (non incluses)

w Il n'est pas recommandé de l’utiliser comme bride de base pour supporter un garde-corps ou une balustrade (cf. bride no 62, page 27)

61 - Bride

APERÇU

w Les trous de fixation ne peuvent accueillir que des vis à tête plate fraisée (non incluses)

w Il n'est pas recommandé de l’utiliser comme bride de base pour supporter un garde-corps ou une balustrade (cf. bride no 62, page 27)

Ces produits sont disponibles sur commande spéciale. Veuillez communiquer avec votre représentant aux ventes pour de plus amples renseignements.

D F G E 0.55" 2.52" G E geobezdan.com 1 800 663 6356 08/20 26 n
Raccords pour tuyaux et tubes | Raccords à assemblage coulissant
Item # Taille Kee Diam. nom. 40 D.I. du raccord D E F G Matériau Fini Poids u 61-5 5 3/4" ø 1.09" 0.24" 3.15" 1.57" 2.24" Fonte malléable Galvanisé 0.73 lb chq u 61-6 6 1" ø 1.38" 0.24" 3.54" 1.93" 2.52" Fonte malléable Galvanisé 1.10 lb chq 61-7 7 1-1/4" ø 1.72" 0.28" 4.02" 2.01" 2.99" Fonte malléable Galvanisé 1.36 lb chq 61-8 8 1-1/2" ø 1.94" 0.31" 4.49" 2.32" 3.50" Fonte malléable Galvanisé 1.47 lb chq u 61-9 9 2" ø 2.41" 0.39" 5.00" 2.48" 3.74" Fonte malléable Galvanisé 2.38 lb chq u
Item # Taille Kee Diam. nom. 40 D.I. du raccord E G Matériau Fini Poids u 60-5 5 3/4" ø 1.09" 5.12" 3.11" Fonte malléable Galvanisé 2.53 lb chq u 60-6 6 1" ø 1.38" 5.51" 3.39" Fonte malléable Galvanisé 2.53 lb chq 60-7 7 1-1/4" ø 1.72" 5.87" 3.74" Fonte malléable Galvanisé 2.86 lb chq u 60-8 8 1-1/2" ø 1.94" 6.18" 4.02" Fonte malléable Galvanisé 3.26 lb chq u Ces produits sont disponibles sur commande spéciale. Veuillez communiquer avec votre représentant aux ventes pour de plus amples renseignements. NOUVEAU! Contenu cliquable

KEE® KLAMP | RACCORDS

62 - Bride pour garde-corps standard

APERÇU

w Utilisée comme bride de base ou lorsqu’un raccord structurel est requis pour soutenir les garde-corps et les balustrades

w Les trous ont un diamètre suffisant pour réaliser une fixation appropriée par le biais d’un ancrage mécanique ou chimique

w Les deux vis de blocage dans le raccord vertical donnent au montant une stabilité latérale plus grande

w Les trous de fixation de la bride devraient être alignés sur la charge appliquée

133

Bouchon en plastique (à enfoncer)

APERÇU

w Capuchon à enfoncer pour tuyau ou tube

w Le capuchon est en affleurement avec l’extérieur du tuyau une fois installé

w Aucun soudage requis

IMPORTANT : épaisseur du tuyau

Seules les structures soumises à de faibles charges peuvent comporter des tuyaux dont l’épaisseur est inférieure à 1/8".

F E G D H geobezdan.com 1 800 663 6356 08/20 27 n Raccords pour tuyaux et tubes | Raccords à assemblage coulissant
Item # Taille Kee Diam. nom. 40 D.I. du raccord D E F G H Matériau Fini Poids u 62-5 5 3/4" ø 1.09" 2.52" 4.57" 2.99" 2.99" 0.31" Fonte malléable Galvanisé 1.30 lb chq u 62-6 6 1" ø 1.38" 2.99" 5.04" 3.50" 3.50" 0.31" Fonte malléable Galvanisé 1.61 lb chq 62-7 7 1-1/4" ø 1.72" 2.95" 5.51" 3.50" 4.02" 0.39" Fonte malléable Galvanisé 2.64 lb chq 62-8 8 1-1/2" ø 1.94" 3.35" 6.10" 3.50" 4.53" 0.39" Fonte malléable Galvanisé 2.86 lb chq u 62-9 9 2" ø 2.41" 4.02" 6.50" 5.00" 5.00" 0.39" Fonte malléable Galvanisé 3.87 lb chq u Ces produits sont
amples renseignements. Item # Taille Kee Diam. nom. 40 Diamètre ext. Matériau Couleur Poids u 133A 5 3/4" ø 1.050" Plastique Gris 0.01 lb chq u 133B 6 1" ø 1.320" Plastique Gris 0.02 lb chq 133C 7 1-1/4" ø 1.660" Plastique Gris 0.05 lb chq 133D 8 1-1/2" ø 1.900" Plastique Gris 0.05 lb chq u 133E 9 2" ø 2.375" Plastique Gris 0.06 lb chq u Ces produits sont disponibles sur commande spéciale. Veuillez communiquer
de plus amples renseignements.
disponibles sur commande spéciale. Veuillez communiquer avec votre représentant aux ventes pour de plus
avec votre représentant aux ventes pour
NOUVEAU! Contenu cliquable

KEE® KLAMP | RACCORDS

Réalisez presque n’importe quelle configuration structurale

Les raccords Kee® Klamp offrent des possibilités de conception illimitées. Vous trouverez des composantes sûres, fiables, durables et polyvalentes permettant de créer plusieurs configurations structurelles. Aucune fabrication sur mesure requise. Se reporter au catalogue complet des raccords Kee Klamp sur bezdanfittings.com.

u Veuillez communiquer avec votre représentant aux ventes pour de plus amples renseignements

geobezdan.com 1 800 663 6356 08/20 28 n Raccords pour tuyaux et tubes | Raccords à assemblage coulissant
16 – Té ouvrable 19 – Croix ajustable à deux entrées 35 – Croix à trois entrées 40 – Croix à quatre entrées M50 – Anneau type mâle F50 – Anneau type femelle C52 – Angle orientable à deux entrées C58 – Bride orientable 68 – Bride murale 70 – Support de rail
NOUVEAU! Contenu cliquable
12 – Té à une entrée à 45˚

Kee® Lite

Léger et polyvalent

u Raccords en aluminium

u Compatibles avec les tuyaux en aluminium de la nomenclature 40 dont le diamètre est compris entre 1-1/4" et 2"

u Applications horizontales et obliques

u Utilisation intérieure et extérieure

Raccords pour l'aluminium

Un système de raccord de tuyauterie léger et polyvalent Créez une solution complète de garde-corps sur mesure ou réparez, remplacez et modifiez facilement des structures existantes. Les raccords sont constitués d’un alliage aluminium-silicium-magnésium de haute qualité A356-T6 pour des structures tubulaires résistantes, légères et à l’épreuve de la corrosion. Polyvalents, ils sont compatibles avec les tuyaux en aluminium et les tubes en acier inoxydable.

L’installation est facile avec les vis de blocage hexagonales qui immobilisent les raccords fermement en place. La charge de glissement nominale des vis de blocage avec bout cuvette durci utilisées dans les raccords pour percer les tuyaux est la plus élevée de l’industrie.

Caractéristiques

u Raccords en aluminium légers et réutilisables

u S’installent rapidement, sans soudage et sans enfilage

u Anodisés pour offrir une résistance élevée à la corrosion et assurer une protection durable

u Les grandes vis de blocage encastrées résistent à l’arrachement des filets et ont une apparence épurée

geobezdan.com 1 800 663 6356 29 08/20 n Raccords pour tuyaux et tubes | Raccords à assemblage coulissant
NOUVEAU! Contenu cliquable

KEE® LITE | RACCORDS Raccord en aluminium pour structures légères

Kee® Lite propose des raccords à assemblage coulissant conçus pour raccorder des tuyaux en aluminium ou des tubes en acier inoxydable. Permet de créer virtuellement n’importe quelle configuration structurelle sans qu’aucune fabrication sur mesure ne soit requise. Se reporter au catalogue complet des raccords Kee Lite sur bezdanfittings.com.

u Veuillez communiquer avec votre représentant aux ventes pour de plus amples renseignements

geobezdan.com 1 800 663 6356 08/20 30 n Raccords pour tuyaux et tubes | Raccords à assemblage coulissant
NOUVEAU! Contenu cliquable

Turn static files into dynamic content formats.

Create a flipbook
Issuu converts static files into: digital portfolios, online yearbooks, online catalogs, digital photo albums and more. Sign up and create your flipbook.