Electronica Azi nr.3 - Aprilie 2023

Page 1

Anul XXIII | Nr. 3 [ 273 ] Aprilie 2023 www.electronica-azi.ro

Luna trecută am fost la expoziția embedded world 2023 de la Nurnberg (14 –16 Martie) – punctul de atracție al comunității internaționale de aplicații și dispozitive embedded.

Au fost peste 950 de expozanți din 44 de țări care și-au prezentat inovațiile și soluțiile de produse, cu alte cuvinte a fost, așa ca altădată, cu pavilioane înțesate de lume fără nicio grijă referitoare la perioada coronavirusului.

Chiar directorul executiv al expoziției (Benedikt Weyerer) spunea că au fost copleșiți de numărul de vizitatori, aproape 27.000 de persoane, cu peste 50% mai mult decât anul trecut, iar peste 40% dintre aceștia erau veniți din străinătate.

Pe lângă industria embedded care, pur și simplu, strălucește în această expoziție, un foarte mare interes a fost acordat inovațiilor în materie de LCD-uri, OLED-uri, micro-LED-uri și afișaje reflectorizante eficiente din punct de vedere energetic. Și noi vom aborda mai des acest domeniu prin articole tehnice de specialitate, pe lângă știrile pe care obișnuim să le publicăm în paginile noastre de internet. Interesant este și faptul că organizatorii se extind spre vest cu expoziția “embedded world” și anume în “Silicon Hills” din Austin, Texas, SUA – inima industriei americane de calculatoare și software. Prima expoziție va avea loc în perioada 8-10 octombrie 2024. Ținând cont că sistemele embedded se regăsesc acum în aproape fiecare dispozitiv inteligent și constituie baza pentru Industrie 4.0, era normal să existe o cerere puternică din afara Europei pentru un asemenea eveniment internațional, iar acesta (după China, Shanghai, 14 – 16 iunie 2023) nu putea avea loc decât în SUA! Mai mult, concentrarea unor actori importanți din industrie, precum AMD, Apple, Dell, Google, Hewlett-Packard, IBM, Oracle și Wincor Nixdorf, vor face din Austin locul perfect pentru prima ediție a “embedded world” de pe continentul american.

Până atunci, însă, ne pregătim de alte trei expoziții care vor avea loc la Nurnberg: PCIM.

SMTconnect și Sensor +test 2023 (9 – 11 Mai).

Dacă numele “PCIM” nu vă spune prea multe, rețineți că temele abordate (pe lângă cele tradiționale de module de putere și surse de alimentare) se extind până la convertoare de putere inteligente (bazate pe AI) pentru o tranziție reușită către e-mobilitate și energii alternative. Ne auzim pe la mijlocul lunii Mai!

gneagu@electronica azi.ro

www.electronica-azi.ro
EDITORIAL | de Gabriel Neagu 3

Management

Director General - I onela G anea

Director Editorial - Gabriel N eagu

Director Economic - I oana P araschiv

P ublicitate - Irina G anea

Web design - Petre Cristescu

Editori Seniori

Prof. Dr. I ng. Paul S vasta

Prof. Dr. I ng. N orocel C odreanu

Conf. Dr. I ng. Marian V lădescu

Conf. Dr. I ng. B ogdan G rămescu

I ng. Emil Floroiu

Contact: office@electronica-azi.ro https://www.electronica-azi.ro

Tel.: +40 (0) 744 488818

Revista “Electronica Azi” apare de 10 ori pe an (exceptând lunile Ianuarie şi August. Revista este disponibilă atât în format tipărit, cât şi în format digital (Flash / PDF).

Preţul unui abonament la revista “Electronica Azi” în format tipărit este de 200 Lei/an.

Revista “Electronica Azi” în format digital este disponibilă gratuit accesând: www.electronica-azi.ro În acest format pot fi vizualizate toate paginile revistei şi descărcate în format PDF.

Revistele editurii în format flash pot fi accesate din pagina de internet a revistei “Electronica Azi” sau din pagina web Issuu: https://issuu.com/esp2000

Revistele sunt, de asemenea, disponibile pentru Android sau iOS, descărcând aplicaţia oferită de Issuu. 2023© - Toate drepturile rezervate.

3 | Editorial

6 | Câștigați un kit de evaluare ATtiny817 Xplained Pro produs de Microchip

6 | Noile produse de înaltă performanță de la Analog Devices sunt disponibile acum la Farnell

8 | Cum se implementează un sistem de control wireless pentru iluminatul cu LED-uri în orașele inteligente și în instalațiile industriale

13 | O privire asupra Firmware-ului Open Source Tasmota pentru dispozitive ESP

“Electronica Azi” este marcă înregistrată la OSIM - România, înscrisă la poziţia: 124259

ISSN: 1582-3490

EURO STANDARD PRESS 2000 srl

CUI: RO3998003 J03/1371/1993

Contact:

Tel.: +40 (0) 31 8059955 // office@esp2000.ro https://www.esp2000.ro

Tipar executat la Tipografia Everest

14 | Ghid pentru DECT NR+: Primul protocol wireless 5G necelular din lume

17 | Wi-Fi 6 și Wi-Fi 6E: cele mai recente standarde Wi-Fi

20 | Colaborare la locul de muncă − Cum poate fi îmbunătățită munca manuală de către noua generație de coboți

22 | Creați valoare prin mai multă integrare în controlerele pentru automatizarea clădirilor

26 | Achiziționarea produselor se extinde datorită noilor caracteristici myLists de la Digi-Key

www.electronica-azi.ro

Electronica • Azi nr. 3 (273)/2023 4 ® ®
Electronica Azi nr. 3/2023 | SUMAR
https://issuu.com/esp2000 www.facebook.com/ELECTRONICA.AZI

28 | Sprijinirea inovării în domeniul electronicii medicale − utilizate în terapie, diagnosticare și reabilitare

31 | Farnell își extinde gama ‘Test & Tools’ pentru a sprijini inginerii în proiectarea, testarea și întreținerea echipamentelor electronice

43 | Noi convertoare DC/DC de 150W și 200W 12:1 cu domeniu de tensiune de intrare ultra-larg

44 | “Straight Up” − O abordare mai bună pentru răcirea semiconductorilor

46 | Convertoare miniaturale RECOM din grupul RAC

49 | Baterii ‘Solid State’

31 | Farnell deține în stoc produse Festo pentru livrare globală

32 | Cum poate un microcontroler de mici dimensiuni, cu un sistem analogic sofisticat să economisească spațiu pe placă și costuri de sistem în aplicațiile alimentate de la baterii

35 | Conversie analog-digitală cu economie de energie în cazul unor măsurători de mare precizie

36 | ADN, PCR și surse de alimentare − Ce au în comun?

40 | Noile dispozitive GaN aduc comutația de înaltă frecvență

într-o gamă tot mai largă de aplicații

43 | Traco Power lansează un blog tehnic

54 | Ghid pentru CPU și Microprocesoare

58 | Senzori cu un raport preț/calitate convigător pentru linii conveioare și industria de împachetare

60 | Siguranță industrială cu Sistemul LBK

62 | Măsurarea culorii vopselei în producție, prin sticlă de 15mm grosime

65 | Felix Electronic Services: Servicii complete de asamblare

66 | Brady: Siguranță și conformitate

www.instagram.com/electronica_azi

www.electronica-azi.ro

https://international.electronica-azi.ro

www.twitter.com/ElectronicaAzi

5
36 40 44 49

Electronica Azi | CONCURS

Câștigați un kit de evaluare ATtiny817 Xplained Pro produs de Microchip

Câștigați un kit de evaluare Microchip

ATtiny817 Xplained Pro (ATTINY817-XPRO) de la Electronica Azi și, dacă nu îl câștigați, primiți un cupon de reducere de 15% pentru această placă, plus transport gratuit.

Kitul de evaluare ATtiny817 Xplained Pro este o platformă hardware pentru testarea microcontrolerelor tinyAVR® (AT tiny817, ATtiny816, ATtiny814, ATtiny417). Kitul de evaluare include un depanator, care asigură o inte grare perfectă cu Atmel Studio.

Microcontrolerul ATtiny817 conține un procesor AVR® pe 8-biți cu multiplicator hardware, care rulează la o frecvență de până la 20 MHz și dispune de 8 KB de memorie Flash, 512B de memorie SRAM și 128B de memorie EEPROM într- o capsulă cu 24-pini. Seria utilizează cele mai recente periferice independente de nucleu (Core Independent Pe ripherals) cu consum redus de putere, inclusiv sistem de evenimente (Event System), analogice inteligente și periferice avansate. Interfețele tactile capacitive cu detecție de proximitate și tehnologie Shield Drive sunt suportate de controlerul tactil periferic QTouch®.

ATtiny817 Xplained Pro suportă în prezent peste 20 de plăci de extensie - inclusiv conectivitate cu și fără fir, autentificare criptografică, kituri tactile capacitive QTouch, precum și plăci generice I/O și OLED.

Pentru a avea șansa de a câștiga un kit de evaluare

ATtiny817 Xplained Pro sau de a primi un cupon de reducere de 15% pentru acest kit, plus transport gratuit, accesați pagina: https://page.microchip.com/E-Azi-Tiny817.html

și introduceți datele voastre în formularul online.

Noile produse de

de la Analog Devices sunt disponibile acum la Farnell

Farnell deține acum în stoc trei noi produse fiabile de înaltă performanță de la Analog Devices (ADI). Noul portofoliu ADI de la Farnell cuprinde convertoarele dual buck MAX25254/MAX25255 cu switch-uri high-side și low-side integrate; placa de evaluare Single Chain Power (SCP) LT1956-BEVALZ, proiectată pentru a demonstra performanțele convertorului buck LT1956 de 60V/1,5A și ale dispozitivului de cronometrare în timp real (RTC) MAX31331 de la Analog Devices, cu consum de putere foarte redus.

MAX31331 suportă o gamă largă de cristale de 32,768kHz

și este accesat prin intermediul unei interfețe seriale I2C. Acesta consumă un curent de 65nA în regim de cronometrare, care extinde durata de viață a bateriei și este potrivit pentru dispozitive portabile și alimentate cu baterii, inclusiv dispozitive purtabile, medicale, IoT și altele. Pe lângă ușurința în utilizare, acesta oferă un consum de putere ultra redus, comutarea automată la o sursă de alimentare de rezervă în cazul unei pene de curent și o amprentă compactă de 1,66 mm x 1,26 mm. Placa de evaluare LT1956-BEVALZ este un convertor coborâtor DC/DC în comutație de 48V, curent de sarcină de 1A, cu o gamă largă de intrare pentru aplicații care necesită o tensiune de intrare mai mare.

Placa reprezintă o platformă ușor de utilizat de către ingineri, pentru a-și optimiza proiectele de gestionare a puterii și este proiectată pentru a fi ușor de conectat la alte plăci SCP.

Una dintre caracteristicile cheie ale MAX25255 este capabilitatea sa multifază, care permite mai multor convertoare să lucreze împreună într-o manieră intercalată pentru a oferi o eficiență de conversie îmbunătățită și pentru a reduce riplul de ieșire. Acest lucru este deosebit de util în aplicațiile de curenți mari în care un singur convertor nu poate face față cererii de putere. De asemenea, produsul respectă cerințele Automotive Safety Integrity Level (ASIL B), ceea ce îl face potrivit pentru aplicațiile auto critice din punct de vedere al siguranței.

Toate cele trei dispozitive sunt acum disponibile în stoc la Farnell în EMEA, Newark în America de Nord și element14 în APAC. ■ Farnell | https://ro.farnell.com

Electronica • Azi nr. 3 (273)/2023 6
înaltă performanță

Cum se implementează un sistem de control wireless pentru iluminatul cu LED-uri

ÎN ORAȘELE INTELIGENTE ȘI ÎN INSTALAȚIILE INDUSTRIALE

Acest articol face mai întâi o trecere în revistă a operării de bază a LED-urilor și a construcției de corpuri de iluminat, precum și a parametrilor pentru măsurarea eficienței LED-urilor și a corpurilor de iluminat. Se discută despre utilizarea șunturilor pentru a maximiza fiabilitatea și performanța corpurilor de iluminat în aplicațiile de tip Smart City și Industrie 4.0. Apoi, prezintă platformele de dezvoltare pentru comanda și controlul iluminatului cu LED-uri, precum și componentele aferente, de la STMicroelectronics și onsemi , împreună cu considerații privind proiectarea și implementarea.

Autor: Rolf Horn

Inginer de aplicații

Digi-Key Electronics

Utilizarea sistemelor de iluminat cu LED-uri echipate cu funcții de control wireless în orașele inteligente și în Industrie 4.0 este în creștere, deoarece aduce beneficii multiple, inclusiv costuri mai mici de energie (și o reducere corespunzătoare a emisiilor de carbon), niveluri de iluminare reglabile și costuri de întreținere reduse datorită fiabilității mai mari și duratei de viață mai lungi a corpurilor de iluminat cu LED-uri.

Pentru a fi cât mai eficiente, aceste sisteme de iluminat cu LED au nevoie de un controler care să dispună de diverse moduri de operare, funcții de detectare și protecție, plus o eficiență ridicată și o gamă largă de tensiuni de operare de la 90 la 300 VAC (curent alternativ), împreună cu un factor de putere (PF) ridicat și o distorsiune armonică totală (THD) redusă. În plus, sunt necesare un microcontroler (MCU), un concentrator

de date și un emițător-receptor wireless pentru a completa sistemul.

Proiectarea de la zero a unui sistem wireless de control al iluminatului cu LED-uri este o sarcină multidisciplinară, care implică un nivel de risc semnificativ și poate întârzia lansarea pe piață.

În schimb, creatorii pot utiliza platforme de dezvoltare pre-proiectate pentru controlul iluminatului cu LED-uri.

Electronica • Azi nr. 3 (273)/2023 8
Iluminat public și industrial

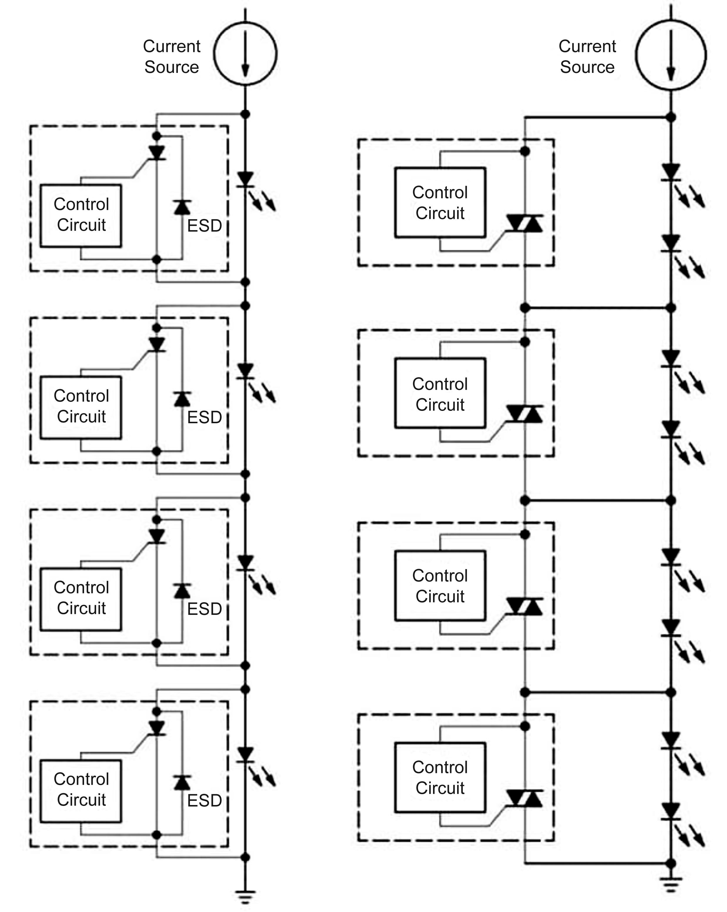
Aceste platforme sunt foarte eficiente din punct de vedere energetic, cu un PF ridicat și dispun de comenzi wireless cuprinzătoare (pornit/oprit, atenuare și alte moduri) și de mai multe canale de LED-uri controlate independent, care oferă o flexibilitate maximă de proiectare. Acestea includ module de comunicații wireless care acceptă protocoale precum Bluetooth Low Energy (BLE), Zigbee și 6LoWPAN. În plus, acestea sunt susținute de medii de dezvoltare care includ firmware personalizabil, Free RTOS și diverse cazuri de utilizare. Controlul inteligent al iluminatului cu LED-uri începe cu verificarea interacțiunii dintre LED-urile din fiecare șir pentru a optimiza performanța corpului de iluminat. Acesta include, de asemenea, conversia inteligentă a puterii și se extinde la controlul wireless al mai multor corpuri de iluminat, incluzând atât hardware, cât și software, pentru a maximiza performanța rețelelor de iluminat stradal și industrial. Un corp de iluminat tipic cu LED-uri include mai multe LED-uri în serie, dispuse în unul sau mai multe șiruri. Fiecare LED necesită o tensiune de comandă de aproximativ 3,5 V. Un șir conține, de obicei, între 10 și 30 de LED-uri și are o tensiune de alimentare cuprinsă între 40 și 100 V, absorbind un curent de aproximativ 0,35 până la 1,0 amperi (A), în funcție de luminozitatea LED-urilor individuale (vezi figura 1).

Luminozitatea surselor de lumină este cuantificată în lumeni (lm), care măsoară luminozitatea aparentă percepută de ochiul uman și ține cont de sensibilitatea ochiului la diferite lungimi de undă ale luminii vizibile. Eficiența cu care o sursă de lumină produce lumeni se numește eficacitate și se măsoară în lumeni per watt (lm/W). LED-urile au o eficacitate mai mare decât alte tehnologii de iluminat obișnuite.

Totuși, nu toate LED-urile sunt la fel de eficiente, iar unele au o eficacitate semnificativ mai mare față de altele. În plus, un anumit LED poate produce mai multă lumină dacă este alimentat cu mai mult curent.

LED-urile sunt mai fiabile decât alte tehnologii de iluminat, dar nu sunt perfecte. LED-urile se pot defecta, în special dacă sunt solicitate puternic într-un corp de iluminat de înaltă performanță, cum ar fi cele utilizate în iluminatul stradal și în iluminatul industrial. Defecțiunea LED-ului poate fi un scurtcircuit sau un circuit deschis. Dacă un LED dintr-un șir cedează în condiții de scurtcircuit, acesta se stinge, dar celelalte LED-uri din șir continuă să funcționeze. Curentul continuă să circule prin LED-ul scurtcircuitat, încălzindu-l până la punctul în care poate deveni un circuit deschis, ceea ce face ca întregul șir să se stingă.

www.electronica-azi.ro
Două șiruri a câte 16 LED-uri fiecare pentru utilizarea în corpurile de iluminat inteligente. Figura 1
⮞ 9
©onsemi

Iluminat public și industrial

Șuntarea LED-urilor

Proiectanții de corpuri de iluminat cu LEDuri sunt provocați să livreze mai mulți lumeni în corpuri de iluminat mai mici. Acest lucru necesită adesea ca LED-urile să opereze la temperaturi mai ridicate pentru perioade lungi de timp ceea ce poate duce la defecțiuni ale LED-urilor.

Corpurile de iluminat stradal, în special, ar trebui să aibă o durată de viață de până la 15 ani. Șunturile pot ajuta la armonizarea cerințelor contradictorii pentru temperaturi de funcționare mai ridicate și durate de viață prelungite. Atunci când un LED se defectează în stare deschisă, în loc ca șirul să se stingă, șuntul ocolește LED-ul și menține

funcționarea normală a șirului, doar LED-ul defect fiind stins (vezi figura 2). Sunt disponibile șunturi care pot fi utilizate pentru a ocoli unul sau două LED-uri, în funcție de necesitățile de proiectare a corpului de iluminat (vezi figura 3). Șuntarea fiecărui LED presupune o scădere minimă a luminozității în cazul în care un LED cedează, în timp ce șuntarea a două LEDuri reduce la jumătate numărul de șunturi pentru soluții mai sensibile la costuri.

De exemplu, NUD4700SNT1G de la onsemi poate fi utilizat pentru a șunta LED-uri individuale dintr-un șir, iar acesta se resetează automat dacă LED-ul își reia funcționarea sau este înlocuit.

Fără șunturi (de ocolire) defectarea unui singur LED duce la pierderea întregului șir (stânga). Cu ajutorul șunturilor, doar LED-ul defect se stinge, iar celelalte LED-uri din

LBP01-0810B de la STMicroelectronics poate “ocoli” 1 sau 2 LED-uri, sporind flexibilitatea de proiectare și reducând numărul de piese. LBP01-0810B oferă, de asemenea, protecție la supratensiune împotriva sarcinilor definite în IEC 61000-4-2 și IEC 61000-4-5.

Iluminatul stradal inteligent

Proiectanții de sisteme inteligente pentru iluminat stradal pot apela la placa STEVALLLL006V1 de la STMicroelectronics în vederea evaluării opțiunilor pentru iluminatul cu LED-uri de mare putere (vezi figura 4). Controlerul integrat HVLED001A pentru iluminatul cu LED-uri include diverse moduri de operare, mecanisme de detecție și protecție și formează un convertor de putere inteligent și eficient folosind MOSFET-uri STP21N90K5. Această placă de comandă pentru LED-uri utilizează convertorul de înaltă tensiune VIPER012LSTR pentru a asigura o ieșire de la 60 la 110 VDC (curent continuu) cu un curent constant de 0,7 A. Pentru a satisface nevoile aplicațiilor inteligente de iluminat stradal, driverul are o plajă de intrare de la 90 la 300 VAC, un PF de peste 0,97 și un THD sub 15%.

Modulul emițător-receptor SPSGRFC sub-1 GigaHertz (GHz) încorporat poate fi utilizat pentru a primi comenzi de pornire, oprire și atenuare a intensității luminoase și pen tru a le trimite către microcontrolerul STM32L071KZ integrat pe placă. Acesta suportă cinci niveluri de reglaj analogic.

Instrumente de dezvoltare

Pentru a accelera procesul de dezvoltare și a evidenția funcționalitatea plăcii de evaluare STEVAL-LLL006V1, sunt disponibile un concentrator de date (DCU) și o aplicație mobilă pentru Android. DCU este un mediu de evaluare integrat construit pe platforma NUCLEO-F401RE. Acesta include o placă X-NUCLEO-IDB05A2 pentru

Electronica • Azi nr. 3 (273)/2023 10
© onsemi Sunt disponibile șunturi pentru LED-uri (în interiorul zonelor punctate) care pot șunta 1 (stânga) sau 2 (dreapta) LED-uri. Figura 3 © onsemi Figura 2 șir continuă să funcționeze (dreapta).

LABORATOR | Control wireless pentru iluminatul cu LED-uri

comunicația cu un dispozitiv mobil prin Bluetooth. STMicroelectronics oferă, de asemenea, aplicația mobilă 6LoWPAN Smart Streetlight, care poate fi utilizată pentru a forma o rețea de controlere inteligente de iluminat stradal și pentru a evalua funcționalitatea rețelei.

Iluminat industrial cu LED-uri Soluțiile de iluminat industrial cu LED-uri pot fi prototipate cu ajutorul platformei de iluminat LIGHTING-1-GEVK de la onsemi Această platformă de dezvoltare dispune de control wireless, posibilitatea de a alege între utilizarea unei surse de alimentare

off-line de curent alternativ/continu sau a unei surse opționale de alimentare prin Ethernet (PoE), de un modul LED și un driver de LED, precum și de un modul de conectivitate BLE pentru a conecta totul.

Opțiunile de control disponibile includ utilizarea aplicației mobile ‘RSL10 Sense and Control’ de la onsemi sau a unui client web. Această platformă de dezvoltare include Free RTOS, un CMSIS-Pack cu firmware personalizabil și mai multe cazuri de utilizare pentru a începe să explorați utilizarea soluțiilor de iluminat industrial cu LED-uri.

Kitul de bază LIGHTING-1-GEVK include un driver dual LED, o placă LED cu două șiruri de LED-uri, o sursă de alimentare AC/DC și un modul de comunicație BLE (vezi figura 5). Un modul de alimentare PoE este disponibil separat, acesta putând livra până la 90 W. Unele specificații cheie ale diferitelor plăci din kit includ:

• Dual LED driver: include două drivere de LED FL7760 care livrează până la 25 W fiecare, cu o eficiență de până la 96%, atenuare în 4.000 de trepte până la 0,6%, date de telemetrie, inclusiv măsurători de curent și tensiune pentru fiecare driver de LED și un conector pentru modulul plug-in cu microcontroler pentru a susține conectivitatea wireless.

• Placă LED: două canale independente cu câte 16 LED-uri pe fiecare canal. Un canal are LED-uri cu o putere nominală de 121 lm, iar celălalt canal are LED-uri cu o putere nominală de 95 lm, pentru o luminozitate totală disponibilă de 7.000 lm.

• Sursă de alimentare AC/DC: include două controlere flyback pentru stabilizare pe partea primară FL7740 cu PFC, operează într-o plajă de intrare cuprinsă între 90 și 270 VAC, dezvoltă o putere de 70 W la 55 V pentru a alimenta placa de comandă a LEDurilor, cu un PF de peste 0,99 și o eficiență de peste 91%.

• Modul BLE: Platforma de iluminat utilizează trei servicii BLE; serviciul de control al iluminatului, utilizat de dispozitivele conectate pentru a citi și a schimba de la distanță starea LED-urilor, serviciul de telemetrie utilizat de dispozitivele conectate pentru a monitoriza tensiunea și curentul din driverele LED și serviciul de furnizare a alimentării PoE, care oferă informații despre limitele de putere PoE impuse dispozitivului de

11 www.electronica-azi.ro
către injectorul de putere PoE. Placa de dezvoltare pentru iluminat cu LED-uri STEVAL-LLL006V1 face parte dintr-o platformă care include managementul puterii și conectivitate wireless. Figura 4 © STMicroelectronics Kitul de dezvoltare de bază include un driver dual LED, un șir dublu de LED-uri, o sursă de alimentare AC/DC și un modul de conectivitate BLE. Figura 5 ©onsemi

Iluminat public și industrial

Plăci de expansiune

Pentru kitul LIGHTING-1-GEVK sunt disponibile două plăci de expansiune și anume switch-ul BLE-SWITCH001-GEVB pentru recoltarea energiei și placa multisenzor MULTI-SENSE-GEVB (vezi figura 6). Luminozitatea LED-urilor poate fi controlată cu ajutorul switch-ului BLE. Luminozitatea crește atunci când switch-ul este apăsat și ținut apăsat. Intensitatea luminii rămâne constantă atunci când switch-ul este eliberat sau când este atinsă luminozitatea maximă. Luminozitatea este redusă prin apăsarea switch-ului a doua oară. Placa multisenzor suportă prototiparea sistemelor care includ un senzor de lumină ambientală, senzori de mediu și/sau un senzor inerțial de mișcare.

Opțiuni de proiectare și implementare Corpurile de iluminat stradal cu LED-uri și corpurile de iluminat industrial aduc noi oportunități de regândire a proiectării și implementării rețelelor de iluminat. Spre deosebire de tehnologiile înlocuite de acestea, LED-urile sunt reglabile, ceea ce creează oportunități de proiectare a orașelor inteligente și a instalațiilor inteligente din Industrie 4.0 care integrează diverși factori, cum ar fi tiparele de trafic/utilizare, ora din zi și chiar o suită de senzori, pentru

a optimiza nivelurile de iluminare în funcție de necesități. Într-un oraș inteligent, rețelele mesh wireless sunt o alegere naturală, dar în instalațiile din Industrie 4.0, controlul poate fi implementat cu conectivitate wireless sau Ethernet. Acesta din urmă, are avantajul de a furniza atât energie, cât și comunicație. În ambele cazuri, senzorii de temperatură, umiditate și chiar senzorii de cameră pot fi integrați în corpurile de iluminat, sporind funcționalitatea acestora. În plus, condițiile de funcționare a corpurilor de iluminat în sine, cum ar fi temperaturile interne, LED-urile scurtcircuitate sau deschise și alți factori, pot fi monitorizate pentru a ajuta la programarea întreținerii preventive și la reducerea costurilor de funcționare.

Rezumat

După cum s-a arătat, proiectarea unui sistem de iluminat cu LED-uri interconectate fiabil și eficient începe cu proiectarea corpurilor de iluminat. LED-urile trebuie să fie selectate pentru a oferi nivelul optim de lumeni, iar utilizarea șunturilor poate îmbunătăți semnificativ fiabilitatea și performanța corpurilor de iluminat. Utilizarea iluminatului cu LED-uri conectate prin cablu sau wireless în orașele inteligente și în instalațiile din industria 4.0 poate reduce

costurile curente de întreținere și de funcționare, pe lângă reducerea consumului de energie. Sunt disponibile platforme complete de dezvoltare pentru a ajuta la accelerarea proiectării și implementării soluțiilor inteligente de iluminat cu LED-uri.

Despre autor

Rolf Horn este inginer de aplicații și face parte din grupul European de Asistență Tehnică din 2014, având responsabilitatea principală de a răspunde la întrebările venite din partea clienților finali din EMEA referitoare la Dezvoltare și Inginerie. Înainte de Digi-Key, el a lucrat la mai mulți producători din zona semiconductorilor, cu accent pe sistemele embedded ce conțin FPGA-uri, microcontrolere și procesoare pentru aplicații industriale și auto. Rolf este licențiat în inginerie electrică și electronică la Universitatea de Științe Aplicate din Munchen, Bavaria.

■ Digi-Key Electronics www.digikey.ro

Două plăci de expansiune sunt disponibile pentru kitul LIGHTING-1-GEVK, un switch BLE și o placă multisenzor (imaginea din partea de sus).

Electronica • Azi nr. 3 (273)/2023 12
© onsemi ⮞
Figura 6

Acum în stocul RS Components:

O privire asupra

Firmware-ului Open Source

Tasmota pentru dispozitive ESP

Alternativă de tip open pentru dispozitivele IoT bazate pe ESP8266 și ESP32

Internetul lucrurilor (IoT) oferă comoditate și eficiență chiar și atunci când este utilizat pentru a implementa automatizare a locuinței, putând controla încălzirea și iluminatul în funcție de programe complexe prin detectarea gradului de ocupare a camerei, de exemplu. Cu toate acestea, IoT poate fi, în egală măsură, o cauză a multor angoase și cheltuieli atunci când un furnizor își încetează activitatea și platforma sa cloud devine offline, făcând dispozitivele inutile. Ca să nu mai vorbim de faptul că, uneori, pot exista două sau trei sisteme paralele diferite în uz, iar lipsa interoperabilității împiedică integrarea.

Din fericire, există soluții disponibile, cum ar fi Home Assistant, o platformă de automatizare a locuinței cu sursă deschisă extrem de ușor de configurat și Zigbee2MQTT, un gateway Zigbee open source, independent de furnizor. În aceste rânduri, se face referire la Tasmota, un firmware open-source care poate fi încărcat pe dispozitive IoT compatibile cu WiFi, înlocuind în întregime firmware-ul furnizorului și simplificând integrarea cu Home Assistant, precum și cu alte platforme. Tasmota este acceptat pe dispozitivele bazate pe ESP8266, ESP32, ESP32-S sau ESP32-C3 și și-a sărbătorit re cent cea de-a 7-a aniversare. În ianuarie 2016 a fost utilizat în proiectul Sonoff-MQTT-OTA, care asigura controlul MQTT de bază, pentru un anumit comutator marca Sonoff. Între timp însă, firmware-ul se tot dezvoltă, asigurând suport pentru peste 2000 de dispozitive, iar acestea variază de la plăci de dezvoltare și întrerupătoare bazate pe ESP, până la corpuri de iluminat, motoare pentru perdele și aparate de uz casnic, precum ar fi dezumidificatoare și încălzitoare.

Lista extinsă de caracteristici Tasmota include suport pentru intrare ADC, butoane și comutatoare, afișaje, numeroși senzori și alte periferice, protocol OpenTherm, reguli, scripturi și multe altele. Cel mai simplu, oferă o interfață web care permite citirea stării și comutarea ieșirilor, cu o interfață MQTT care permite, de asemenea, integrarea cu aplicații personalizate. Este oferit suport ca standard pentru Alexa, AWS IoT, Domoticz, Home Assistant și alte platforme.

Documentația Tasmota avertizează că dispozitivele alimentate de la rețea nu trebuie conectate în timpul scrierii pe dispozitiv, deoarece acest lucru ar prezenta un risc semnificativ de electrocutare. În schimb, puterea microcontrolerului ESP este livrată în timpul programării de un USB UART adecvat, care trebuie să aibă un stabilizator de tensiune discret capabil să furnizeze 3,3V cu un curent suficient.

Un exemplu de dispozitiv potrivit pentru programare este USB UART Click de la Mik roElektronika (Nr. stoc RS 882-8913). Acesta se bazează pe FTDI FT232RL plus un AP7331 300mA LDO, cu un jumper de zero

ohmi (J1) care poate fi utilizat pentru selectarea nivelului I/O de 5V sau 3,3V. Acesta din urmă este implicit.

Tasmota oferă o alternativă de firmware de tip open source, puternică, flexibilă și extensibilă pentru dispozitivele acceptate, ceea ce face posibilă integrarea cu platforme avansate, personalizate și de control local, care nu depind de cloud. Se pare că unii vânzători mici încep să ofere Tasmota preinstalat ca firmware standard pentru dispozitive, iar acest lucru ar elimina necesitatea de a demonta dispozitivele pentru a le rescrie firmware-ul, ceea ce înseamnă, în plus, că garanțiile. și certificarea produsului nu sunt invalidate.

IMPORTANT: acesta nu este un ghid de utilizare, motiv pentru care, va recomandăm pentru informații detaliate să consultați proiectul Tasmota și/sau documentația furnizorului.

Autor: Grămescu Bogdan Aurocon Compec | www.compec.ro

13 www.electronica-azi.ro

Ghid pentru DECT NR+

Primul protocol wireless 5G necelular din lume

Acest articol prezintă un nou protocol de comunicație wireless, Digital Enhanced Cordless Telecommunications [DECT] New Radio plus [NR+], care promite să abordeze multe dintre limitările metodelor de comunicație existente, umplând golul pentru comunicații ultrafiabile, cu latență redusă și cu rază lungă de acțiune.

Trăim într-o lume conectată. Suntem mereu alături de prietenii noștri prin mesaje, suntem la curent cu știrile globale, controlăm aparatele electrocasnice de la distanță sau colaborăm cu colegii, oriunde s-ar afla aceștia. Apariția Internetului lucrurilor (IoT) și a Internetului industrial al lucrurilor (IIoT) a adus tehnologia în casele, mașinile și fabricile noastre, iar cea mai mare parte a acesteia depinde în mare măsură de comunicația wireless. Wi-Fi, Bluetooth® și tehnologia celulară 3G/4G/5G sunt termeni pe care îi cunoaștem foarte bine. Alte tehnologii wireless mai puțin cunoscute, cum ar fi UWB (ultra-wideband - bandă ultralargă), LoRa, Sigfox și ISM, sunt la fel de importante.

Comunicația wireless facilitează dezvoltarea unei societăți moderne Comunicația wireless ne înconjoară. Probabil că o luăm ca pe un lucru de la sine înțeles, așa cum se întâmplă cu energia electrică la prize și cu apa în conductele noastre. Dependența noastră de comunicațiile fără fir, în special de comunicațiile de date wireless,

a crescut semnificativ în ultimele două decenii. Stând în biroul meu și scriind acest articol, am numărat cel puțin opt dispozitive conectate fără fir: laptop, tastatură externă, trackpad, headset, telefon inteligent, căști, ceas inteligent și imprimantă. Nu am nevoie să știu ce protocol wireless folosesc sau cum funcționează; faptul că sunt fiabile este suficient. Același lucru este valabil și acasă și în mașina mea. De asemenea, fabricile noastre, punctele de vânzare cu amănuntul și rețelele de distribuție se bazează pe comunicații de date wireless disponibile în permanență și fiabile. Nevoia de comunicație wireless continuă să evolueze pe măsură ce găsim tot mai multe aplicații care beneficiază de automatizare, în special pe baza IIoT. Dacă ne adâncim în aspectele tehnice ale protocoalelor de date wireless, aflăm că multe dintre acestea sunt optimizate pentru a se potrivi unor cazuri de utilizare specifice, în loc să fie bune pentru toate. Dacă ne uităm la evoluția rețelelor de date cu fir, observăm multe asemănări. Greii industriei, cum ar fi Ethernet, au progresat semnificativ în ultimele patru decenii.

Implementările Ethernet contemporane tipice utilizează rate de transfer de 10 Gbps, de 1000 de ori mai rapide decât la lansarea inițială. Dar nu doar viteza este importantă; latența, durata de încărcare a pachetelor și consumul de energie sunt unii dintre factorii critici care determină acreditările unui protocol și, în cele din urmă, succesul său. Același lucru este valabil și în cazul comunicațiilor de date fără fir.

Selectarea protocoalelor

wireless pentru IoT și IIoT

Înainte de a explora aspectele tehnice ale noului protocol wireless DECT NR+, să trecem rapid în revistă câțiva factori esențiali când selectăm un protocol.

Viteză de transfer Viteza de transfer a datelor, măsurată de obicei în Mbps sau Gbps, este crucială. Transferul unor cantități mari de date într-un interval de timp cât mai scurt este esențial pentru multe aplicații. Cu toate acestea, unele cazuri de utilizare nu justifică viteze mari; de exemplu, un simplu senzor de temperatură IoT trimite doar câțiva octeți la fiecare minut.

Wi-Fi a progresat considerabil, iar Wi-Fi 6 promite viteze Gigabit, aproape egale cu cele ale Ethernet. Prin comparație, ratele de descărcare a datelor de pe telefonul mobil 4G ating, tipic, 30 Mbps.

Electronica • Azi nr. 3 (273)/2023 14
TELECOMUNICAȚII

Implementarea 5G este în curs de desfășurare, dar primele teste indică faptul că sunt posibile viteze de 150 Mbps.

Printre candidații la viteze reduse se numără Bluetooth la 1Mbps, LoRa până la 27kbps și NB-IoT celular la 127kbps.

Latență Măsurată în mod obișnuit ca o călătorie dus-întors, latența indică timpul necesar unui semnal pentru a ajunge la destinație și pentru a primi o confirmare de primire la origine. Latența poate deveni un factor limitativ pentru comunicațiile de mare viteză, deoarece așteptarea unei confirmări a unui pachet de date reduce debitul. De asemenea, are un impact grav asupra aplicațiilor în timp real care necesită un timp de răspuns determinist și previzibil. O latență redusă este vitală pentru sistemele de automatizare industrială, o țintă cheie pentru implementările 5G.

Tehnologia 5G promite să îmbunătățească semnificativ latența celulară, ajungând la 5 ms, comparativ cu o medie de 80 ms pentru 4G. Latența depinde, de asemenea, de răspunsul sistemului gazdă; alte aplicații afectate de latență sunt jocurile online și streamingul audio/video.

Rază de acțiune Raza de acțiune efectivă a unei legături wireless variază considerabil. În interiorul locuinței și la locul de muncă, pereții și podelele atenuează semnalele wireless, limitând majoritatea comunicațiilor Wi-Fi la distanțe, în metri, cu o singură cifră. Raza de acțiune în exterior este influențată de teren, plante și copaci și, la frecvențe foarte înalte, de precipitații.

Figura 1 evidențiază principalele caracteristici ale protocoalelor wireless populare menționate în acest articol.

Consum de energie Consumul de energie este un aspect esențial, în special pentru sistemele embedded alimentate de la baterii. Cantitatea de curent pe care o consumă

transmiterea ulterioară a pachetelor de date. Pentru aplicațiile IoT și IIoT, performanța unei legături wireless robuste, rezistente și fiabile este imperativă.

transmițătorul wireless pentru a iniția și menține o legătură fiabilă va influența semnificativ durata de viață a bateriei - o preocupare esențială pentru mulți consumatori. De exemplu, în ciuda vitezei sale, Wi-Fi consumă o cantitate considerabilă de energie, ceea ce subliniază necesitatea altor protocoale cu consum redus de putere în anumite aplicații. Topologie Printre topologiile populare se numără cea în stea (celulară, Wi-Fi, LoRa) și cea de tip plasă (mesh) (Bluetooth). Există și legături wireless directe dedicate P2P (punct-la-punct). La un nivel tehnic mai pro fund, protocolul wireless sta bilește, de asemenea, dimensiunea pachetelor. Acesta definește schimbul de ‘handshaking’ la nivel de legătură, metodele de corecție a erorilor - dacă sunt implementate - și

DECT NR+ anunță comunicații

ultrafiabile cu latență redusă pentru implementări IIoT la scară largă Uniunea Internațională a Telecomunicațiilor (ITU), împreună cu Institutul European de Standarde în Telecomunicații (ETSI), a ratificat recent standardul DECT-2020 New Radio (NR)+ ca parte a setului de standarde 5G. Forumul DECT, fondatorul standardului DECT pentru telefoanele wireless, a dezvoltat DECT NR+; totuși, acesta nu își are originea în standardul pentru telefoanele fără fir. Specificațiile DECT NR+ răspund nevoilor implementărilor IoT și IIoT la scară largă, ultrafiabile și cu latență redusă, cum ar fi orașe inteligente, contorizare inteligentă, Industrie 4.0 și streaming audio profesionist (de exemplu, pe stadioane și în săli de conferințe mari). ⮞

www.electronica-azi.ro ANALIZĂ | Digital Enhanced Cordless Telecommunications [DECT]
Principalele atribute ale protocoalelor wireless populare.
©
Figura 1
Mouser
Triunghiul de cazuri de utilizare 5G IMT-2020.
© Nordic Semiconductor 15
Figura 2

Spre deosebire de 5G, DECT NR+ nu este un standard celular, obținând aprobarea ITU-R 5G față de standardul internațional de telecomunicații mobile 5G (IMT-2020) pe baza capabilităților sale de comunicații ultrafiabile, cu latență redusă (URLLC) și de comunicații masive de tip mașină (mMTC).

Figura 2 evidențiază tipurile de cazuri de utilizare pentru DECT NR+ pe baza standardului IMT-2020 pentru URLLC, mMTC și banda largă mobilă îmbunătățită (eMBB). Figura 3 compară DECT NR+ cu alte protocoale wireless populare cu rază scurtă de acțiune. Stratul fizic (PHY) al stivei de protocoale NR+ permite BPSK (binary phase shift keying), QPSK (quadrature phase shift keying) și QAM (quadrature amplitude modulation) a semnalului OFDM (figura 4).

Caracteristicile cheie ale DECT NR+ includ

• Operarea în spectrul wireless de 1,9 GHz, scutit de licență, disponibil la nivel global (cu excepția Chinei, în prezent). Acest lucru creează potențialul de a dezvolta o singură versiune a unui produs, mai degrabă decât variante regionale, economisind costuri semnificative de producție și aprobare. DECT NR+ coexistă cu dispozitivele DECT wireless tradiționale care utilizează deja banda de 1,9GHz.

• Funcționalitate în mai multe topologii, inclusiv stea, mesh și P2P, cu capabilități de auto-organizare și auto-reparare a rețelei.

• Latență extrem de scăzută, de până la 1 ms, care poate permite implementarea pentru prima dată a comunicațiilor fără fir în multe aplicații.

• Fiabilitate mai bună de 99,99%, bazată pe tehnici celulare dovedite, cum ar fi FEC (Forward Error Correction) și HARQ (Hybrid Automatic Repeating Request), care apar la un nivel inferior în stiva de protocoale, economisind nivelurile superioare de gestionare a retransmisiilor.

• Cele mai bune practici de securitate care utilizează AES și CCM.

• Scalabilitate imensă, până la 4 miliarde de noduri și 16 milioane de rețele.

• Modulație OFDM (Orthogonal frequencydivision multiplexing) cu codificare eficientă a canalelor și modulație de nivel înalt.

• O abordare de rețea non-celulară, care permite clienților să creeze rețele private fără a avea nevoie de acces la stațiile de bază sau la infrastructura furnizorilor de servicii.

• Adaptabilitate de implementare la scară largă, cu o rază de acțiune de un kilometru și o rată maximă de date de 9Gbps.

• Nu necesită abonamente sau cartele SIM.

Tabel comparativ între DECT NR+ și alte metode populare de comunicare wireless.

HARQ în cadrul PHY îmbunătățește fiabilitatea, introduce o latență minimă și economisește resursele stratului de aplicație.

Specificația DECT NR+ suportă până la 1024QAM pentru până la 9Gbps. Reducerea vitezei de date pentru a corespunde cerințelor aplicațiilor va optimiza consumul de energie pentru aplicațiile embedded cu consum redus de putere.

O altă caracteristică a stratului PHY este tehnica de corecție a erorilor HARQ (figura 5). Efectuarea retrimiterilor în cadrul PHY elimină necesitatea ca straturile de aplicații să asigure această funcționalitate și permite opt procese HARQ concurente. Deoarece retransmiterile pentru îmbunătățirea fiabilității au loc în cadrul PHY, latența de retransmitere este mai mică de 417μs.

Nordic nRF91: Prima platformă care suportă DECT NR+ Nordic Semiconductor este prima companie de semiconductori care a anunțat su portul pentru protocolul DECT NR+. Transmițătorul wireless nRF91 DECT NR+ cu consum redus de energie, proiectele de referință și platforma de evaluare vor fi disponibile în 2023.

Bazându-se pe sistemul celular SiP (sistem în pachet) nRF91 (LTE și NB-IoT) bine consolidat, Nordic a încheiat un parteneriat cu principalul furnizor de software IoT, Wirepas, pentru a integra suita Wirepas Mesh Con nectivity Suite pe nRF91.

DECT NR+ umple golul pentru comunicații wireless la scară largă, ultrafiabile și cu latență redusă

Pe măsură ce implementările IoT și IIoT se extind din ce în ce mai mult, nevoia de comunicații wireless fiabile, cu latență redusă și consum redus de energie devine crucială. Cu caracteristicile sale de securitate și fiabilitate de nivel celular, DECT NR+ este bine poziționat pentru a îndeplini cerințele pe care alte protocoale wireless cu rază scurtă de acțiune nu le pot atinge.

■ Mouser Electronics

https://ro.mouser.com

Distributor autorizat

Urmărește-ne pe Twitter

Electronica • Azi nr. 3 (273)/2023 16
Figura 3 © Mouser Metode de modulație a canalului fizic de date I/Q disponibile cu DECT NR+. Figura 4 © Nordic Semiconductor
DECT NR+
Figura 5
© Nordic Semiconductor TELECOMUNICAȚII

Wi-Fi 6 și Wi-Fi 6E cele mai recente standarde Wi-Fi

POTRIVITE PENTRU CERINȚE ACTUALE ȘI VIITOARE

Cel mai recent standard Wi-Fi, Wi-Fi 6 și extensia sa, Wi-Fi 6E, promit viteze mari de transmisie a datelor, capacitate mai mare și latență redusă, chiar și în medii cu mulți abonați în rețea. Aceste avantaje deschid numeroase noi variante de aplicații și domenii de utilizare, dar dau naștere și la noi cerințe.

Mult menționatul frigider, care comandă automat alimente nu a devenit popular, dar multe alte dispozitive inteligente de uz casnic au reușit să se impună, așa cum sunt mașinile de spălat care își informează proprietarii prin intermediul unui telefon inteligent că rufele sunt gata. Acest lucru este posibil datorită Wi-Fi, una dintre cele mai cunoscute și mai răspândite tehnologii wireless. Din ce în ce mai multe dispozitive oferă o interfață WiFi și nu doar în sectorul locuințelor inteligente. De asemenea, Wi-Fi își face tot mai mult loc în mediile industriale prin aplicații precum roboții mobili, sistemele de macara, vehiculele cu ghidaj automat sau chiar sistemele de siguranță și securitate și conectarea în rețea a senzorilor din liniile de producție.

Aplicațiile de realitate virtuală și de jocuri, precum și aplicațiile de tip wallbox folosesc, de asemenea, această tehnologie fără fir. Noile domenii de aplicare impun, de asemenea, noi cerințe pentru această tehnologie și, în ciuda numărului tot mai mare de abonați la rețeaua Wi-Fi, utilizatorii se așteaptă la o conexiune stabilă a rețelei. Acesta este motivul pentru care Wi-Fi Alliance continuă să dezvolte standardele, în permanență. De la apariția primului protocol IEEE 802.11, în 1997, debitul de date s-a îmbunătățit semnificativ cu fiecare nou standard Wi-Fi.

De data aceasta, însă, Alianța Wi-Fi nu a optimizat doar tehnologia, ci și denumirea: Wi-Fi 6 și Wi-Fi 6E (E = enhanced/extended) înlocuiesc denumirea greoaie IEEE 802.11ax.

Standardele predecesoare au primit, de asemenea, nume noi: IEEE 802.11ac se numește acum Wi-Fi 5, iar IEEE 802.11n este acum Wi-Fi 4.

Din punct de vedere tehnic, Wi-Fi 6 și Wi-Fi 6E oferă o gamă întreagă de îmbunătățiri:

• OFDMA (Orthogonal Frequency Division Multiple Access): OFDMA este o extindere a metodei OFDM utilizată în tehnologia Wi-Fi 5. În timp ce, în cazul utilizării OFDM, se poate transmite un singur pachet de date către un singur terminal într-o anumită fereastră de timp, OFDMA permite transmiterea unor seturi multiple de date pentru diferite terminale în același pachet de date. Acest lucru sporește eficiența ratei de transfer de date și reduce semnificativ latența rețelei.

17 www.electronica-azi.ro
Autor: Kerstin Naser Corporate

Wi-Fi 6 & Wi-Fi 6E

• 1024-QAM (modulație de amplitudine în cuadratură): În comparație cu Wi-Fi 5, care utilizează metoda de modulare 256QAM, 1024-QAM permite cu Wi-Fi 6 un debit de date cu 25% mai mare.

Cu 1024-QAM, fiecare simbol transportă 10 biți în timp ce cu 256-QAM, numai 8 biți. Acest lucru este deosebit de avantajos în mediile caracterizate de o densitate mare de terminale WLAN, de exemplu în gări sau la evenimente mari.

• MU-MIMO (multi-utilizator - intrare multiplă, ieșire multiplă): Prin împărțirea lățimii de bandă disponibile în fluxuri spațiale separate, este posibilă comunicația prin intermediul mai multor antene între un punct de acces și mai multe dispozitive, simultan, atât pe legătura descendentă, cât și pe cea ascendentă. În cazul Wi-Fi 5, acest lucru funcționa doar pentru legătura descendentă. Prin urmare, Wi-Fi 6 reduce și mai mult latența rețelei și oferă o mai mare stabilitate.

• TWT (target wake time): TWT “trezește” abonații rețelei pentru a transmite date numai la anumite ore. În restul timpului, dispozitivele “dorm” și, astfel, necesită mai puțină energie. Acest lucru evită, de asemenea, interferențele în comunicația în rețea, deoarece abonații care dorm nu transmit date și nu blochează fluxurile de comunicație – ceea ce reprezintă un avantaj decisiv, în special în domeniul automatizării industriale cu multe aplicații cu senzori.

• Colorarea BSS (set de servicii de bază): Fiecărui BSS, format dintr-un punct de acces și din clienți, i se atribuie o “culoare” (adică un număr) imediat ce un alt BSS se află în apropierea sa. Prin urmare, semnalele provenite de la o altă rețea pot fi detectate și ignorate. Acest lucru permite o utilizare mai eficientă a fluxurilor și o mai bună calitate a transmisiei.

• Standard de securitate WPA3 (Wi-Fi Protected Access 3): În comparație cu standardul precedent WPA2, WPA3 oferă îmbunătățiri semnificative în domeniul autentificării și al criptării, precum și în configurarea dispozitivelor WLAN. În plus, acesta asigură o mai mare securitate în hotspoturile publice. Standardul WPA3 este obligatoriu pentru produsele certificate Wi-Fi 6.

Wi-Fi 6E oferă și mai multe avantaje

Wi-Fi 6E oferă mai mult decât avantajele menționate anterior: de exemplu, extinderea la banda de 6 GHz.

Wi-Fi 6E se bazează, de asemenea, pe standardul Wi-Fi IEEE 802.11ax, suportând astfel toate tehnologiile menționate, la fel ca Wi-Fi 6. Cu toate acestea, pentru Wi-Fi 6 sunt definite doar benzile originale de 2,4 GHz și 5 GHz, acum extrem de aglomerate.

În schimb, banda de 6 GHz devine disponibilă pentru Wi-Fi 6E. Alte fluxuri spațiale de 80 MHz și până la șapte fluxuri spațiale suplimentare de 160 MHz pentru transmiterea datelor permit un debit de date și mai mare cu fluxuri spațiale mai largi. Benzile de 2,4 GHz și 5 GHz, pe care dispozitivele cu standarde Wi-Fi mai vechi le folosesc pentru transmisie, sunt degrevate, ceea ce conduce, la rândul său, la o latență mai mică. Acest lucru face din Wi-Fi 6E o soluție ideală pentru jocuri, streaming și aplicații de realitate virtuală.

Trecerea la această tehnologie necesită un nou hardware Oricine se gândește acum să treacă la WiFi 6 sau Wi-Fi 6E trebuie să țină cont că dispozitivele cu standarde Wi-Fi mai vechi nu pot fi pur și simplu să “treacă” la Wi-Fi 6/6E printr-o actualizare software. Aceasta înseamnă că toate routerele și dispozitivele care trebuie să utilizeze cel mai recent standard trebuie să fie echipate cu hardware nou. Dispozitivele Wi-Fi 6/6E, pe de altă parte, sunt compatibile cu standardele Wi-Fi mai vechi.

în care există suport pentru Wi-Fi 6E (începând cu aprilie 2022).

Totuși, utilizarea benzii de 6 GHz în cadrul Wi-Fi nu a fost încă deschisă în unele țări. SUA a început în 2020; figura 1 ilustrează ce alte țări i-au urmat de atunci.

Rutronik are deja în portofoliu produse de la diverși furnizori atât pentru Wi-Fi 6, cât și pentru Wi-Fi 6E. Iată mai jos portofoliul

Wi-Fi este o piață cu miliarde de dispozitive și o valoare economică estimată, în prezent, la 3,3 trilioane de dolari.

Electronica • Azi nr. 3 (273)/2023 18
Țările
©
Rutronik Figura 1
WIRELESS ⮞
Figura 2
© Rutronik

Intel oferă plăci de rețea combinate pentru Wi-Fi 6 și Bluetooth cu modelele sale AX200 și AX201 în factorii de formă M.2 2230 și M.2 1216. De asemenea, Wi-Fi 6E este deja disponibil pentru cele două plăci de rețea M.2 AX210 și AX211 de la Intel. Toate plăcile de rețea de tip plug-in de la Intel pot fi obținute într-o serie de variante, cu și fără vPRO. AX210 este disponibil, în plus, pentru gama de temperaturi industriale. Sunt disponibile și kituri de dezvoltare.

Silex oferă placa SX-PCEAX pentru Wi-Fi 6 și Bluetooth 5.2 BR/EDR/LE. Modulul se bazează pe un SoC QCA2066 de la Qualcomm și este disponibil în diferiți factori de formă (SMT, half-size PCIe, M.2). Modulul este, de asemenea, certificat pentru banda de 6 GHz pentru Wi-Fi 6E.

Advantech are mai multe carduri plug-in pentru Wi-Fi 6 în gama sa de produse: AIW-163 este o placă M.2 2230 cu cheie A-E (cheia descrie forma de conectare a conectorului M.2) și un interval de temperatură cuprins între 0°C și 70°C. AIW-165, cu factor de formă M.2 2830, are o cheie E și un interval de temperatură de la -40°C la +85°C. Advantech a mai lansat două plăci M.2 2230 E Key la sfârșitul anului trecut. Kiturile sunt, de asemenea, disponibile de la Advantech.

Furnizorul de module Murata se bazează pe seriile de cipuri de la Infineon/Cypress și NXP pentru produsele sale Wi-Fi 6 și 6E. Type 1XL este un modul MIMO 2x2 Wi-Fi 6 și BLE 5.2 2x2 bazat pe NXP, cu un factor de formă mic de 19,1 mm × 16,5 mm. Au fost programate mai multe module pentru 2023: Type 2EA se bazează pe CYW55573 de la Cypress și suportă Wi-Fi 6E. Type 2DL/2DR și 2EL/2ER se bazează pe diferite cipuri NXP. Variantele 2Ex suportă, totodată, Thread pe lângă Bluetooth și Wi-Fi 6. Modulele 2xR dispun de o antenă suplimentară pentru Bluetooth.

Și Panasonic lansează primele module Wi-Fi 6 în 2023.

Rutronik oferă routere cu noul standard Wi-Fi 6/6E de la Asus, iar Silex plănuiește, de asemenea, să adauge Wi-Fi 6E la punțile sale wireless, la serverele și la sistemele sale de prezentare wireless.

Standard stabilit

Produsele sunt, așadar, disponibile, iar numeroși furnizori de dispozitive le implementează deja. Conform informațiilor furnizate de Wi-Fi Alliance, 2,3 miliarde și 350 de milioane din totalul de 29 de miliarde de dispozitive Wi-Fi livrate în 2022 vor fi echipate cu Wi-Fi 6 și, respectiv, Wi-Fi 6E (figura 2). Datorită avantajelor pe care acestea le oferă, cota globală a noilor standarde va crește semnificativ în mod cert.

În timp ce Wi-Fi 6 și Wi-Fi 6E se impun pe piață, Wi-Fi Alliance lucrează deja la următorul standard: Wi-Fi 7 sau IEEE 802.11be. Utilizatorii se pot aștepta la trei benzi (2,4, 5 și 6 GHz) și la viteze de transfer de date și mai mari. Totuși, Alianța Wi-Fi nu va finaliza acest standard până la jumătatea anului 2024. Așadar, va mai trece ceva timp până când hardware-ul cu Wi-Fi 7 va fi disponibil pe piață.

■ Rutronik

www.rutronik.com

www.electronica-azi.ro
19 ANALIZĂ

Colaborare la locul de muncă

CUM POATE FI ÎMBUNĂTĂȚITĂ MUNCA MANUALĂ DE CĂTRE NOUA GENERAȚIE DE COBOȚI

Chiar înainte de începutul acestui deceniu, mai multe forțe se combinau pentru a extinde adoptarea tehnologiei robotice. Roboții erau instalați în număr tot mai mare, în special în fabrici, dar și în laboratoare științifice, depozite și facilități logistice - și chiar și în domenii care, prin tradiție, necesitau multă manoperă, cum ar fi horticultura.

Apoi, în martie 2020, aceste forțe au fost dublate brusc, odată cu apariția pandemiei SARS-CoV-2. Noua normalitate generată de criza coronavirusului a impus nevoia de distanțare socială la locul de muncă, a stimulat volumul tranzacțiilor de comerț electronic și cererea de servicii de expediere și a arătat industriei că lanțurile sale de aprovizionare îndepărtate și globalizate sunt surprinzător de fragile. Iar robotica are un rol important de jucat în răspunsul industriei la aceste fenomene induse de coronavirus.

Inovațiile din tehnologia sistemelor robotice au făcut ca acestea să fie mai rapid și mai ușor de implementat ca niciodată. Pe măsură ce provocările tehnice implicate în robotică devin mai ușor de rezolvat, accentul se mută pe oameni și procese. Tehnologia robotică poate duce la schimbări profunde în ceea ce privește modelul de repartizare a personalului,

Tehnologia de automatizare poate face munca mai puțin periculoasă, obositoare și plictisitoare - dar necesită o im plementare sensibilă și un angajament de recalificare. În acest articol, Nicola O'Byrne, ambasadorul global al ADI pentru robotică, ne împărtășește opiniile sale.

cerințele în materie de competențe și instruire și chiar în ceea ce privește cultura organizațională și societatea în general, iar aceste schimbări merită o atenție deosebită din partea organizațiilor și a organismelor publice.

Orientări la nivel înalt pentru companiile care implementează programe de robotică Pentru a ajuta la ghidarea industriei în această schimbare, Analog Devices a numit-o pe Nicola O'Byrne ambasadorul său global pentru robotică. O'Byrne este inginer cu mulți ani de experiență în dezvoltarea de componente și tehnologii pentru sisteme robotice, cum ar fi motoare, module SLAM și detectarea de evenimente legate de siguranță. În prezent, ea consiliază clienții ADI și pe clienții clienților săi cu privire la aspectele mai ample legate de introducerea sau extinderea roboticii. Această viziune la un nivel mai înalt este mai importantă ca oricând, spune ea, deoarece pandemia de coronavirus a determinat companiile să adopte tehnologia robotică mai repede decât înainte. Iar dacă acestea țin cont de problemele pe care le ridică O'Byrne, se pot asigura că implementările lor nu sunt doar rapide, ci și eficiente și bune pentru companie

și pentru comunitățile în care aceasta își desfășoară activitatea.

“Știm din experiența din lumea reală că roboții sunt un factor uriaș de îmbunătățire a productivității pe linia de producție din fabrică”, spune ea. “Utilizările clasice ale roboților presupun implementarea unor mașini mari și costisitoare, a căror instalare, punere în funcțiune și programare durează săptămâni întregi.”

“De când s-a declanșat pandemia de coronavirus, am observat un interes crescând pentru instalarea de noi tipuri de roboți, inclusiv roboți colaborativi, cunoscuți sub numele de coboți. Absența datorată bolii sau autoizolării îngreunează planificarea turelor de lucru, iar nevoia de distanțare socială la locul de muncă înseamnă că, în unele medii, angajatorii pur și simplu nu pot găzdui numărul obișnuit de lucrători. Roboții sau coboții oferă potențialul de a suplini această lipsă.”

Pandemia a pus, de asemenea, presiune asupra lanțurilor de aprovizionare globale, care resimțeau deja presiunea provocată de tensiunile comerciale dintre SUA și China și de Brexit. Un răspuns comun constă în relocarea producției, astfel încât produsele să fie fabricate mai aproape de punctul de achiziție sau de utilizare.

Electronica • Azi nr. 3 (273)/2023 20
ADI
© ADI

Din nou, roboții joacă un rol important. După cum spune O'Byrne, “Relocarea poate fi bună pentru continuitatea și reziliența afacerii, dar fabricanții care produc în Europa de Vest sau în America de Nord nu au acces la o mână de lucru ieftină, așa cum au în China sau în alte națiuni asiatice. Roboții rezolvă problema forței de muncă. De asemenea, aceștia oferă avantajul suplimentar de a permite o abordare mai modulară și mai flexibilă a operațiunilor de producție, pentru a sprijini trecerea către personalizarea în masă.”

Roluri noi pentru tipuri noi de roboți

Potrivit lui O'Byrne, acest nou val de automatizare înseamnă mult mai mult: organizațiile inovatoare găsesc noi modalități de automatizare, care necesită noi tipuri de roboți - și noi aptitudini pentru operatorii lor umani. Ea afirmă: “Una dintre cele mai mari dezvoltări este legată de proiectarea și implementarea coboților. Rolul coboților este de a elimina munca grea și obositoare pe care o presupune o mare parte din munca manuală. Aceștia pot efectua sarcini plictisitoare, obositoare sau periculoase, cum ar fi lustruirea, frezarea, găurirea sau tăierea, sub îndrumarea unui operator uman”. Studiile au arătat că siguranța la locul de muncă este îmbunătățită atunci când se lucrează cu coboți.1) Utilizarea coboților în paralel cu un operator uman înseamnă că puterea pe care o folosesc și spațiul pe care îl ocupă trebuie să fie mult mai limitate decât în cazul roboților tradiționali autonomi. Aceasta înseamnă că trebuie să fie conștienți de mediul înconjurător, astfel încât să încetinească

sau să se oprească atunci când detectează o persoană în apropierea unei părți în mișcare, cum ar fi o unealtă sau brațul cobotului. De asemenea, producătorii de coboți găsesc noi modalități pentru a permite o punere în funcțiune și o programare mai rapidă și mai ușoară. O'Byrne spune: “Producătorii de coboți au introdus o abordare foarte abstractizată a programării. În multe cazuri, utilizatorul nu trebuie să scrie nicio linie de cod - operațiunile cobotului putând fi configurate prin intermediul unei console de tip tabletă. Apoi, operatorul poate efectua o programare ghidată, poziționând brațul cobotului într-o secvență de puncte în spațiu și apăsând un buton de pe consolă pentru a stoca secvența în memoria cobotului.”

Coboți mai mici, mai ieftini, mai rapizi și mai ușor de implementat: aceasta este viziunea industriei pentru o adoptare mai largă a roboticii. Combinația dintre un cobot și un om poate duce la rezultate mult mai mari și mai sigure decât cele obținute de oameni pe cont propriu. Acest lucru dă naștere unor oportunități interesante de a reimagina munca și locul de muncă. Ceea ce suntem obișnuiți să considerăm ca fiind muncă manuală ar putea fi transformat, eliminând efortul fizic, plictiseala și pericolul, precum și posibilitatea de eroare umană, permițând lucrătorilor să desfășoare activități mai dinamice, care să utilizeze mai bine capacitățile lor cognitive.

Dar O'Byrne insistă că această transformare are nevoie de un management atent pentru ca industria să păstreze acordul comunităților în care lucrează.

Ea precizează: “În prezent, oamenii se tem că roboții îi vor înlocui, în special categoriile sociale cele mai puțin calificate și cel mai prost plătite. Deși înțeleg această teamă, cred că este neîntemeiată. De fapt, prin introducerea roboților se preiau sarcini de la oameni, dar nu și locuri de muncă. Oamenii trebuie să facă ceea ce coboții nu pot face: să gestioneze procesul, să folosească creativitatea pentru a-l rafina sau reinventa și să formeze echipa care lucrează cu coboții. Acestea sunt funcții care necesită umanitate, nu mașini.”

Iar O'Byrne spune că persoanele care sunt deja angajate pentru a îndeplini o sarcină sunt, de cele mai multe ori, cele mai potrivite pentru a configura, opera și conduce cobotul. Ea afirmă: “Într-o fabrică, oamenii din atelier sunt cei care cunosc cel mai bine procesul, așa că ei știu cel mai bine cum să integreze coboții în acesta. Bineînțeles, această schimbare în rolul lor necesită anumite abilități și cunoștințe suplimentare, iar organizațiile își pot atrage personalul și întreaga comunitate pentru a sprijini această tranziție prin programe generoase de formare și reorganizare. Cred că organismele publice pot juca un rol util și aici, de exemplu, pentru a extinde oferta de cursuri profesionale de robotică pentru absolvenți, pentru a le spori valoarea în fața unui prim angajator.”

Un rezultat benefic pentru ambele părți în urma adoptării noilor tehnologii robotice este posibil, dar lecția dată de experți precum Nicola O'Byrne de la ADI este clară. După cum spune ea: “Tehnologia se află în centrul implementărilor de succes ale roboticii, dar aveți grijă atât de oameni, cât și de proces, dacă doriți să vă bucurați de toate beneficiile pe care noua generație de roboți le are de oferit.”

Referință

1) “ What Do You Know About Cobots?”

Matthews Intelligent Identification, January 2017.

■ Analog Devices

www.analog.com

© ADI © ADI 21
Coboții vor găsi multe domenii și noi cazuri de utilizare. Oamenii și coboții pot lucra “umăr la umăr”. FOCUS Coboți

Creați valoare prin mai multă integrare

ÎN CONTROLERELE PENTRU AUTOMATIZAREA CLĂDIRILOR

Autor:

Michal Raninec Systems Applications Engineer Analog Devices

Sistemele de automatizare a clădirilor (BAS) integrează iluminatul, energia, HVAC, siguranța și securitatea într-un singur sistem intuitiv, echilibrând eficiența optimă a funcționării clădirii cu productivitatea și confortul ocupanților acesteia. Deși piața sistemelor de automatizare a clădirilor este foarte conservatoare, aceasta a înregistrat o creștere considerabilă, determinată în principal de creșterea prețurilor la energie, de creșterea gradului de conștientizare în ceea ce privește conservarea energiei și de creșterea inițiativelor guvernamentale în domeniile siguranței și securității împotriva incendiilor.

Noi standarde și reglementări, cum ar fi standardul UL 217 pentru detectoarele de fum, au intrat în vigoare pentru a face clădirile mai sigure, mai eficiente și mai confortabile. Astfel de tendințe stimulează dezvoltarea de noi produse și soluții de automatizare a clădirilor, împingând producătorii să livreze tehnologii noi în cicluri de dezvoltare mai scurte. Această schimbare de ritm creează oportunități pentru companiile BAS pentru a răspunde acestor nevoi cu soluții de sistem flexibile și platformizate, care oferă un consum de energie mai redus și dimensiuni mai mici.

Controlerele pentru automatizarea clădirilor sunt un exemplu tipic de produs căruia îi lipsește adesea agilitatea inovatoare atât de apreciată în piețele actuale aflate într-o schimbare rapidă. Controlerele sunt creierul sistemului BAS. Acestea preiau datele de la senzorii amplasați în întreaga clădire și execută răspunsul sistemului.

Aceasta înseamnă că dispozitivele de control trebuie să aibă un anumit număr de canale de intrare și de ieșire. Unele controlere oferă doar funcționalitate de canal fix, ceea ce duce la arhitecturi cu canale neutilizate.

Existența acestor canale suplimentare neutilizate are un cost asociat, care nu poate fi recuperat de la client; totuși, permiterea reconfigurabilității complete a fiecărui canal asigură că toate canalele pot fi utilizate.

Într-un scenariu ideal, BAS ar trebui să dispună de un număr limitat de canale nefolosite de rezervă, astfel încât clientul să nu plătească pentru o funcționalitate care nu este utilizată. Posibilitatea de configurare completă a funcției canalului oferă cea mai mare flexibilitate în proiectarea și implementarea unui BAS.

Electronica • Azi nr. 3 (273)/2023 22
SISTEME DE AUTOMATIZARE

Tradițional, controlerele de automatizare a clădirilor utilizau implementări discrete atât pentru canalele fixe, cât și pentru cele configurabile. Totuși, lista de materiale (BOM) a controlerelor cu canale configurabile implementate discret poate include sute de componente. După ani de dezvoltare, soluțiile discrete au devenit foarte eficiente și au fost optimizate să micșoreze costul BOM pentru a corespunde așteptărilor acestei piețe sensibile la costuri.

valoare pe tot parcursul ciclului de viață al controlerelor de automatizare a clădirilor (vezi figura 1). Prima etapă a dezvoltării unui controler este arhitectura sistemului. În acest punct, sunt luate în considerare toate cerințele clienților și se definește un nou produs. Inflexibilitatea unei soluții discrete este un dezavantaj notabil chiar și în această fază timpurie a dezvoltării. Diferitele nevoi ale clienților - de exemplu, raportul sau numărul

extinse, îndelungate și consumatoare de resurse, cu mai multe variante de produs, la o singură proiectare care îndeplinește numeroase cerințe, reduce timpul și costurile de cercetare și dezvoltare, menținând în același timp fiabilitatea ridicată și robustețea unei arhitecturi dovedite. Satisfacerea necesităților diferitelor aplicații este mult mai ușoară cu abordarea “orice funcție pe orice pin” a unei proiectări integrate și reconfigurabile (vezi figura 2).

Din perspectiva dezvoltării afacerii, reacția lentă a unei strategii de dezvoltare convenționale creează un risc inutil de pierdere de oportunități sau de ratare a termenelor limită ale clienților. Flexibilitatea și ușurința în utilizare a I/O integrate și configurabile ajută la maximizarea rentabilității investiției (ROI), menținând, totodată, timpii de lansare pe piață și de obținere a veniturilor la cel mai mic nivel posibil.

Trecând de la faza de proiectare, faza de producție este următorul pas. Începând cu achiziționarea și gestionarea listei de materiale, soluția integrată își arată rapid avantajele. Controlerele universale, implementate discret, includ adesea sute de componente, care trebuie achiziționate, stocate într-un depozit și transportate la unitatea de producție.

Și totuși, noile tendințe și cererea tot mai mare de dezvoltare agilă subliniază unele dezavantaje majore ale acestei abordări, cum ar fi complexitatea planificării, proiectării, producției și logisticii pentru prea multe variante de produse în cazul controlerelor pentru automatizarea clădirilor. Prin urmare, soluțiile BAS ar trebui evaluate pe baza costului total de proprietate, mai degrabă decât din punctul de vedere al unui cost redus al listei de materiale.

Soluții integrate vs. soluții discrete Abilitatea de reconfigurare a canalului în funcție de necesități este abordarea corectă pentru a elimina canalele neutilizate, dar numai acest lucru nu rezolvă celelalte deficiențe ale proiectării controlerului.

Conceptul cheie este integrarea care permite simplificarea proiectării canalelor, cu o amprentă mai mică și o performanță mai bună. Cu o soluție integrată, funcția oricărui canal poate fi configurată cu ușurință prin software. Tehnologia de intrare/ieșire (I/O) configurabilă prin software deschide posibilități de reutilizare facilă a proiectării și de platformizare care, în cele din urmă, determină o reducere a costului total de proprietate al unei soluții BAS și creează

de canale de intrare și ieșire - pot duce la proiecte multiple, ceea ce crește costurile și împiedică răspunsurile rapide la nevoile pieței. I/O integrate, configurabile prin software, permit platformizarea și reutilizarea unui design dovedit în diferite aplicații. Posibilitatea de reutilizare este esențială pentru reducerea costurilor de proiectare și de producție, după cum se va discuta mai târziu în acest articol.

Gestionarea unei cantități atât de mari de componente diferite contribuie, în mod natural, la costul total. Prin intermediul unei soluții pe un singur cip și a unui design reutilizabil, logistica BOM este simplificatădepartamentul de achiziții tratează cu mai puțini furnizori și este necesar mai puțin spațiu de depozitare.

Datorită numărului mai mic de componente, PCB-urile pot fi cu până la 40% mai mici, iar costul de preluare și plasare în

După definirea produsului, se dă startul la proiectare. În această fază, reutilizarea proiectării își dezvăluie pe deplin importanța. Spre deosebire de realizarea discretă, I/O-ul integrat și configurabil permite iterații rapide, reduce timpul și eliberează resurse valoroase. Atât în proiectarea hardware, cât și în cea software, trecerea de la dezvoltări

producție este, de asemenea, redus semnificativ. În plus, deoarece I/O configurabile prin software permite reutilizarea proiectării, producătorii de controlere vor solicita o cantitate mai mare de PCB-uri de același tip. Prin urmare, reducerile de volum la plăcile de circuit imprimat contribuie, de asemenea, la reducerea costurilor.

23 www.electronica-azi.ro
Îmbunătățirea rentabilității investiției în fiecare etapă de dezvoltare cu ajutorul AD74412R.
© ADI
Figura 1 Orice funcție pe orice pin cu I/O configurabile prin software.
© ADI ⮞ ANALIZĂ
Figura 2
| Sisteme eficiente pentru automatizarea clădirilor

SISTEME DE AUTOMATIZARE

Figura 3 rezumă comparația dintre implementările funcțiilor de canal discrete și integrate. Nu în ultimul rând, testarea în producție urmează proceduri unificate și necesită mai puțin timp pentru a fi configurate în comparație cu implementarea discretă, cu mai multe variante. Creșterea complexității proiectării ar putea chiar crește riscul de eșec al testării. Certificarea este doar un alt exemplu de aspecte în care soluțiile integrate și reutilizabile pot economisi costuri și alte resurse, iar lista poate continua când vine vorba de logistica produsului finit, de instalare și de asistență tehnică. Formarea echipelor de vânzări, a echipelor de asistență tehnică și a tehnicienilor de instalare este mult mai amplă atunci când numeroase proiecte diferite se bazează pe platforme multiple, spre deosebire de soluțiile universale, reutilizabile, bazate pe I/O integrate configurabile prin software.

Concluzie

I/O configurabile prin software aduc inovație în piața automatizării clădirilor, care, deși este conservatoare prin tradiție, este împinsă acum să devină mai agilă și să răspundă mai rapid la nevoile în continuă schimbare ale clienților. Integrarea și reutilizarea proiectării sunt caracteristici cheie care permit această tranziție.

Unii ar putea vedea soluția integrată ca pe o simplă înlocuire a listei de materiale care ar putea, de fapt, să crească costurile, dar, atunci când se privește imaginea de ansamblu și se ia în considerare valoarea totală creată de-a lungul întregului ciclu de viață al produsului, soluția integrată depășește rapid orice îndoială. Pentru a aborda neajunsurile proiectării unei soluții discrete,

AD74412R creează valoare pe tot parcursul ciclului de viață al controlerului, de la definirea produsului, prin proiectare și producție, până la instalare și operare. Este primul produs de acest tip de pe piață și oferă clienților o modalitate ușoară pentru a-și crește randamentul investițiilor, reducând totodată timpul de lansare pe piață și timpul de obținere a veniturilor.

■ Analog Devices

www.analog.com

Interacționați cu experții în tehnologia ADI din comunitatea noastră de asistență online.

Puneți întrebări dificile de proiectare, răsfoiți întrebările frecvente sau participați la o conversație.

ADI a creat AD74412R, cu I/O complet configurabile prin software. Acesta integrează lanțul de semnale discrete într-un singur cip și oferă patru canale complet configurabile.

Vizitați https://ez.analog.com

Electronica • Azi nr. 3 (273)/2023 24
I/O integrate, complet configurabile prin software - AD74412R. Figura 4 © ADI Comparație între implementările funcțiilor de canal discrete și integrate.
© ADI
Figura 3

Achiziționarea produselor se extinde datorită noilor caracteristici myLists de la Digi-Key

Eficientizarea colaborării între părțile interesate interne și externe în cazul listelor de materiale

Autori: Wendy Baldwin

Senior digital product owner

Tim Carroll

Global head of marketing and e-commerce

Digi-Key Electronics

Digi-Key a lansat recent noi caracteristici pentru myLists, platforma sa care simplifică procesul de comandă pentru ingineri, proiectanți și membrii echipelor lor. Aceste completări fac parte din angajamentul companiei de a servi mai bine clienții și de a sprijini colaborarea în industria electronică.

Noile caracteristici myLists fac procesul de comandă mai ușor ca niciodată pentru fiecare dintre părțile implicate, indiferent de stadiul în care se află un proiect. De la cumpărături, la ofertare și comandă, cea mai recentă funcție care permite partajarea cu ușurință a listelor va îmbunătăți experiența clienților.

Înainte de myLists, fiecare etapă a procesului era răspândită în diferite servicii web, ceea ce făcea ca experiența să fie greoaie și consumatoare de timp. De asemenea, apăreau dificultăți în ceea ce privește efectuarea la timp a comenzilor, situație care creștea decalajele de disponibilitate și frustrarea între colaboratori.

myLists de la Digi-Key face colaborarea

mai ușoară ca niciodată

Funcția myLists recent lansată de Digi-Key eficientizează comunicarea și colaborarea între departamentele de inginerie și achiziție. Această linie vitală trebuie să fie cât mai transparentă posibil pentru a asigura că bugetele se mențin în grafic, iar graficele proiectelor sunt respectate. Noua funcție de partajare a listelor din myLists rezolvă această problemă, făcând colaborarea între departamentele de inginerie și achiziție simplă, doar din câteva clicuri.

Partajați pur și simplu myLists cu oricine Digi-Key a adăugat noi privilegii administrative personalizabile pentru a permite utilizatorilor să poată partaja listele de materiale cu oricine – parteneri interni sau membri ai echipei externe – prin doar câteva clicuri.

Oricine are acces la link va putea vizualiza lista partajată și, dacă sunt activate permisiunile de “editare”, va putea, de asemenea, să editeze lista.

Această completare este esențială pentru creșterea inovării în industria electronică, permițând producătorilor cu orice nivel de calificare să își partajeze listele, să primească comentarii, să comande piese și să transmită lista respectivă oricărui alt membru al echipei care are nevoie de informații despre lista de materiale (BOM).

Electronica • Azi nr. 3 (273)/2023 26
COMPANII

Nimănui nu-i place să fie nevoit să reintroducă informații. Durează prea mult timp, este frustrant, iar informațiile se pot pierde din cauza unei erori umane. Prin posibilitatea de a partaja listele de materiale, inginerii, proiectanții și profesioniștii în achiziții pot crea listele lor, compara cele mai bune opțiuni și le pot converti în oferte și comenzi fără pierderi de date. Astfel, colaborarea dintre ingineri și restul echipei lor este mai ușoară și mai transparentă ca niciodată, oferind tuturor cele mai actualizate informații și o perspectivă asupra felului în care evoluează proiectul.

myLists poate face mai multe decât s-a făcut până acum

Cu o suită completă de funcții care facilitează ofertele, comenzile și administrarea unei liste de materiale, myLists este mai puternic ca niciodată. Lista completă de caracteristici myList include:

• Gestionarea BOM – Împărtășiți cât de mult sau cât de puțin doriți cu membrii echipei folosind drepturile de administrare personalizabile ale myLists, doar pentru citire și editare. Fiți siguri că lista de materiale este actualizată și urmăriți disponibilitatea de la furnizori. Cu managementul reviziilor, controlul

BOM și alternativele aprobate, administrarea BOM-urilor nu a fost niciodată atât de ușoară și fără erori. Reduceți cu ușurință lipsurile, micșorați termenele scadente și comunicați cu echipa dumneavoastră.

• Preț și disponibilitate – Fiecare produs are prețuri și date de disponibilitate în timp real, ceea ce face ca adăugarea, aprobarea sau ștergerea articolelor din BOM să fie la fel de simplă ca un clic sau două.

• Funcții de ofertare – Mențineți bugetul stabil în ciuda viitorului necunoscut, dar și actualizat cu funcția de ofertare a myLists, prin care puteți bloca cu ușurință prețurile pentru 30 de zile și le puteți verifica oricând în timpul procesului de achiziție.

• Control BOM – Fără a fi nevoiți să modificați cantitățile originale din lista de materiale, utilizatorii pot acum să înmulțească cantitățile din listă cu o valoare dorită. Acest lucru optimizează situația atunci când trebuie să transferați lista de materiale necesară realizării unui singur produs la producția de serie.

• Lista de preferințe – Utilizatorii pot seta și salva preferințele ca fiind implicite pentru listele viitoare, permițând actualizări automate ale cantităților sau ale selecției tipului de pachet și notificări privind reducerile de preț pentru cantități mai mari.

Digi-Key a lansat noi caracteristici în myLists pentru a eficientiza procesul de aprovizionare.

Prin unirea acestor capabilități într-un singur loc – myLists de la Digi-Key – se asigură că inginerii nu-și pierd listele de materiale în lucru, își pot securiza cel mai bun preț, pot obține informații de la colegii de echipă și pot gestiona mai ușor întregul proces pentru a fi siguri că totul se încadrează în termenele dorite.

De asemenea, cei care întocmesc listele pot face o copie a unei liste pentru a o adăuga la fluxul de lucru, fiind ideală pentru colaborările publice sau în cazul în care doriți să o partajați fără a oferi acces la documentul original. Dar atunci când doriți să partajați originalul, puteți păstra confidențialitatea privilegiilor de administrare, astfel încât colaboratorii să primească cele mai recente actualizări în timp real. Fără întreruperi și fără comunicări ratate. Doar cele mai exacte informații la îndemâna dumneavoastră în orice moment.

MyLists de la Digi-Key permite inginerilor, producătorilor și proiectanților din întreaga lume să se concentreze pe inovație și pe colaborarea cu echipele de aprovizionare, permițând în același timp cumpărătorilor să asigure mai rapid stocul.

Digi-Key consideră colaborarea ca fiind esențială pentru inovare, motiv pentru care cele mai recente caracteristici simplifică fiecare etapă a procesului de achiziție pentru a permite inginerilor să se întâlnească pentru a lucra la părțile din proces care contează cel mai mult.

Prin simplificarea procesului de achiziție, fiecare parte interesată, indiferent dacă este un producător individual sau face parte dintr-o organizație mare, poate economisi resurse financiare, poate reduce timpul necesar pentru finalizarea proiectului și poate fi liniștit știind că fiecare persoană care trebuie să fie implicată are informațiile de care are nevoie, în orice etapă a procesului.

Descoperiți caracteristicile noi și îmbunătățite ale myLists și eficientizați-vă astăzi nevoile de aprovizionare

www.digikey.com/mylists

■ Digi-Key Electronics

www.digikey.ro

www.electronica-azi.ro 27
PLATFORME DE BUSINESS ONLINE

Sprijinirea inovării în domeniul electronicii medicale

UTILIZATE ÎN TERAPIE, DIAGNOSTICARE ȘI REABILITARE

Având în vedere că speranța de viață crește în rândul cetățenilor din întreaga lume, experții și inginerii medicali evaluează o serie de abordări tehnice care pot crește calitatea vieții, menținând în același timp costul terapiilor la un nivel scăzut. Datorită progreselor în domeniul bateriilor care pot alimenta tehnologia pentru mai mult timp, împreună cu dispozitivele de măsurare din siliciu foarte integrate, pacienții pot colecta și transmite semnele lor vitale fără a părăsi casa sau fără a primi vizita unui asistent medical. Apariția Covid-19 în 2020 și restricțiile rezultate care au limitat interacțiunea față în față cu furnizorii de servicii medicale au contribuit, de asemenea, la evidențierea cererii de soluții medicale mai inteligente, conectate și portabile.

Autor: Stuart Cording Mouser Electronics

Senzorii și dispozitivele terapeutice portabile au potențialul de a permite pacienților să părăsească spitalul mai devreme după o intervenție chirurgicală, eliberând paturi și reducând costurile, permițând în același timp chirurgilor și echipelor lor să continue furnizarea de îngrijiri postoperatorii de înaltă calitate. Un beneficiu suplimentar este colectarea periodică a datelor, în timp ce pacientul își desfășoară rutina zilnică normală, ceea ce poate oferi informații care, altfel, nu ar fi ieșit la iveală. Conform datelor publicate de BioSpace, se așteaptă ca utilizarea produselor medicale electronice în spitale să crească cu 13% până în 2025, iar piața globală pentru astfel de dispozitive va ajunge la 169 de miliarde USD1)

Măsurarea continuă a semnelor vitale Explozia aparatelor purtabile destinate consumatorilor a avut un impact real asupra vieții multor oameni. În timp ce unii au pus la îndoială acuratețea senzorilor purtați la încheietura mâinii pentru măsurarea ritmului cardiac și a altor parametri, multe vieți au fost salvate datorită existenței lor.

Deși poate că nu sunt la fel de precise precum echipamentele medicale profesionale din dotarea spitalului, monitorizarea lor continuă s-a dovedit a fi neprețuită în mai multe ocazii. Un utilizator a evitat complicații care îi puneau viața în pericol datorită detectării unui ritm cardiac ridicat care, altfel, ar fi trecut neobservat zile întregi2)

Tehnologia de măsurare miniaturizată, cum ar fi bio-senzorul optic MAXM861613) de la Maxim Integrated (acum Analog Devices), face parte dintr-o gamă de dispozitive care permit astfel de aplicații. Destinat aplicațiilor de măsurare în ureche, acesta este optimizat pentru a detecta ritmul cardiac (HR), saturația oxigenului (SpO2) și variabilitatea ritmului cardiac (HRV), unde sunt analizate variațiile de la bătaie la bătaie. Integrându-se cu microcontrolere (MCU) prin intermediul unei interfețe I2C, dispozitivul poate executa 25 de măsurători pe secundă, consumând un curent mai mic de 10μA.

Capsula OLGA (Organic Land Grid Array) cu 14-pini, care măsoară doar 2,9 × 4,3 × 1,4 mm, găzduiește atât receptorul senzorului, cât și LED-urile de culoare verde, roșie și LED-ul IR necesare.

Electronica • Azi nr. 3 (273)/2023 28
AMC

LABORATOR | Instrumente portabile pentru domeniul medical

Subsistemul optic este construit dintr-un convertor analog-digital (ADC) de curent, pe 19-biți, susținut de un sistem avansat de anulare a luminii ambientale (ALC - ambient light cancellation) și de un filtru proprietar în domeniul timp.

Ca urmare, soluția de măsurare poate funcționa cu precizie la 50 Hz și 60 Hz în condiții de lumină ambientală ridicată.

Senzorul integrează un PPG și un ECG, susținând în același timp măsurătorile de temperatură a pielii (NTC) și de rezistență (rezistivitatea galvanică a pielii) prin intermediul unor senzori externi. Gama sa de tensiune de alimentare de la 2,7V la 5,5V permite operarea acestuia cu ajutorul unei baterii reîncărcabile pentru utilizare portabilă, în timp ce capsula mică de 6,4 × 3,5 × 1 mm

În laborator

Odată stabilit un diagnostic preliminar, medicii apelează la farmacologi pentru a analiza probele sau pentru a crea medicamente adecvate. Reactivii sunt utilizați în descoperirea medicamentelor și în testele genomice, dar trebuie să fie distribuiți cu grijă. Distribuitoarele de reactivi pot furniza cantități de lichid mai mici de un mililitru, dar, pentru a face acest lucru, au nevoie de senzori de măsurare precisă.

Sensirion oferă o gamă largă de soluții de măsurare care se bazează pe sistemul lor de microsenzori inteligenți CMOSense®, care se află acum la a patra generație.

MAXM86161 permite măsurarea neinvazivă a ritmului cardiac și a pulsoximetriei.

Driverele de LED-uri de precizie, cu control pe 8-biți al gamei dinamice a acestora sunt, de asemenea, incluse, împreună cu regiștrii pentru programarea tiparelor de puls. Un buffer FIFO de 128 de eșantioane asigură faptul că microcontrolerul gazdă poate rămâne în modul de consum redus de putere cât mai mult timp posibil înainte de a fi necesar să colecteze un nou lot de eșantioane de măsurare. De asemenea, este disponibilă o platformă de prototipare cuprinzătoare4).

Adăugarea unei electrocardiograme

În timp ce ritmul cardiac poate fi măsurat optic, folosind fotopletismografia (PPG), după cum am văzut, informații suplimentare despre sănătatea inimii necesită o electrocardiogramă (ECG). Willem Einthoven a fost cel care, la începutul secolului XX, a inventat primul electrocardiograf practic.

Având peste 250 kg și necesitând cinci operatori, acesta nu putea fi considerat portabil. Totuși, citirile sale l-au ajutat pe Einthoven să rafineze forma undei ECG pe care o cunoaștem astăzi, cu unda P, complexul QRS și unda T, ușor de recunoscut. În timp ce profesioniștii din domeniul medical folosesc de regulă un monitor ECG în 12 derivații, s-a demonstrat că monitoarele ieftine în 3 derivații oferă măsurători de o calitate tehnică satisfăcătoare5)

Dispozitivele de măsurare, cum ar fi senzorul de semne vitale AS7030B de la ams6) fac posibilă monitorizarea continuă a pacienților cu afecțiuni cardiace, la costuri reduse.

asigură integrarea în carcase mici. Conectat la un microcontroler gazdă prin I2C, AS7030B integrează un LDO, un front-end optic și electric și un amplificator ECG conform IEC 60601-2-47. Măsurătorile PPG sunt susținute de LED-uri integrate, în timp ce procesarea integrată a semnalului degrevează de sarcini procesorul gazdă și reduce efectul surselor puternice de lumină ambientală.

Semnalele ECG sunt foarte slabe, variind de la 0,5 mV la 5,0 mV. Astfel, se recomandă să păstrați cablurile cât mai scurte posibil sau să utilizați cabluri ecranate. De asemenea, trebuie să aveți grijă la conectivitatea USB sau la soluțiile de încărcare care leagă senzorul de rețea, utilizând un izolator aprobat medical (> 3kV) sau o sursă de alimentare certificată IEC 60601. Este disponibil și un kit de evaluare cu software7)

Cu ajutorul senzorului de debit pentru lichide SLF3S-0600F de la Sensirion se poate măsura un debit de 0,5 μl/min pentru apă și 5 μl/min pentru IPA.

Senzorul de debit de lichid SLF3S-0600F este un astfel de dispozitiv, care oferă măsurători de până la ±2000 ml/min și o precizie de 0,5 μl/min pentru apă (H2O) și de 5μl/min pentru alcool izopropilic (IPA). Elementul de detecție utilizează un microelement de încălzire împreună cu un senzor de temperatură în amonte și în aval.

Pe măsură ce lichidul curge, rezultă o diferență de temperatură care este compensată, amplificată și procesată digital. Se pot obține timpi rapizi de reacție, de ordinul milisecundelor, datele fiind transmise către un microcontroler gazdă prin I2C. Pentru fixarea la carcasa senzorului sunt necesare conducte cu un diametru exterior de 1/16" până la 1/8" precum și o piuliță și o ferulă corespunzătoare.

Ams AS7030B măsoară ritmul cardiac utilizând PPG și ECG și permite măsurarea rezistivității pielii și a temperaturii prin intermediul unor senzori externi.

Condiții de mediu pentru măsurare Dezvoltarea de echipamente medicale sau activitatea într-un laborator, cameră sterilă sau spital necesită, adesea, monitorizarea mediului. Echipamentul pentru înregistrarea datelor poate fi utilizat în timpul testării hardware-ului sau pentru a dovedi că sunt respectate condițiile operaționale sau de depozitare prevăzute de lege. Extech RH520B8) asigură detectarea umidității și a temperaturii, stocând măsurătorile într-un înregistrator grafic digital.

29 www.electronica-azi.ro
Figura 1 © Mouser Figura 2 © Mouser Figura 3
© Mouser

Proiectat să nu folosească hârtie, memoria internă poate stoca până la 49.000 de puncte de date, iar software-ul gratuit este disponibil pentru a încărca măsurătorile pe un PC pentru analize ulterioare.

eficacitatea și uniformitatea panourilor de răcire/încălzire în timpul procesului de dezvoltare și, de asemenea, pot ajuta la determinarea zonei în care se află eventualele scurgeri.

decât o vizită medicală zilnică sau săptămânală. Datorită senzorilor de debit de ultimă generație, de mare precizie, farmaciștii sunt susținuți în eforturile lor de a dezvolta noi medicamente și metode de testare.

Dispunând de spațiu de stocare pentru 49.000 de puncte de date, înregistratorul grafic Extech RH520B monitorizează temperatura și umiditatea.

Cu capabilități de imagistică termică și de umiditate, Teledyne FLIR MR265 este un instrument de testare ideal pentru dezvoltatorii de dispozitive de termoterapie.

Senzorul poate fi montat pe carcasa displayului sau, datorită cablului său de 1 m, poate fi detașat și plasat într-un mediu închis. Ecranul LCD de mari dimensiuni oferă o rezoluție ajustabilă pe verticală/orizontală, afișând temperatura și umiditatea relativă (RH). Sunt acceptate rate de eșantionare de la 6 secunde până la 199,9 minute, în timp ce alarmele de temperatură și RH (vizuale și sonore) pot fi configurate, dacă este necesar. De asemenea, poate fi afișat și punctul de rouă. Alimentarea cu energie se face de la un adaptor AC inclus împreună cu înregistratorul grafic sau, dacă se preferă, cele trei baterii AA oferă o funcționare de până la patru săptămâni. De asemenea, este prevăzută posibilitatea de montare pe birou sau pe perete.

Soluțiile de termoterapie pot oferi vasodilatație și vasoconstricție cutanată prin încălzire și răcire țintită, o abordare care poate ajuta la ameliorarea durerii, a fluxului sanguin și a inflamației în articulații și leziuni ale țesuturilor moi. Unele abordări folosesc, de asemenea, lichidul pentru a furniza o aplicare uniformă a termoterapiei.

Instrumentele de măsurare, cum ar fi Teledyne

FLIR MR265 (Umidometru și cameră cu termoviziune) 9) pot oferi informații despre

Referințe

[1]

MR265 dispune de capabilitatea de îmbunătățire a clarităţii imaginii termice, sau MSX®, care mărește cei 19.200 de pixeli ai imagisticii termice cu date de la camera standard integrată de 2 megapixeli. Utilizatorii beneficiază de o mai mare claritate a imaginilor produse pe display-ul color de 2,8", ceea ce facilitează o analiză ulterioară a problemelor în laborator. Un LED integrat asigură o vizibilitate îmbunătățită în mediile slab iluminate, în timp ce laserul integrat cuplat cu măsurarea ghidată în infraroșu, sau IGM®, garantează că utilizatorii știu clar care este zona cercetată. Un senzor de umiditate nedistructiv este integrat în partea din spate a dispozitivului, în timp ce senzori suplimentari prin cablu pot fi conectați la un port dedicat din partea de jos a unității.

Către noi analize și tratamente medicale Deși echipamentele medicale au fost, prin tradiție, voluminoase, complicate și costisitoare, inovațiile în tehnologia siliciului permit crearea unor monitoare portabile și a unor soluții terapeutice simple, ușoare și alimentate de la baterii. Deși nu au acuratețea echipamentelor profesionale, acestea permit monitorizarea continuă și furnizarea de terapii care pot oferi mai multe informații și beneficii

https://www.biospace.com/article/medical-electronics-market-3-pivotal-trends-stimulating-the-industry-growth-curve/ [2] https://www.cnet.com/tech/mobile/apple-watch-lifesaving-health-features-read-5-peoples-stories/ [3] https://eu.mouser.com/new/sensors/biometric-sensors/maxim-maxm86161-optical-bio-sensor

[4] https://eu.mouser.com/new/maxim-integrated/maxim-maxm86161evsys-eval-system/ [5] https://www.ncbi.nlm.nih.gov/pmc/articles/PMC5036021/

[6] https://eu.mouser.com/new/sensors/biometric-sensors/ams-as7030b-vital-sign-sensors

[7] https://eu.mouser.com/new/ams/ams-as7030b-evalkit-eval-kit/

[8] https://eu.mouser.com/new/test-measurement/extech-rh520b-chart-recorder

[9] https://eu.mouser.com/new/test-measurement/flir-mr265-moisture-meter-thermal-imager

Și, pe măsură ce echipele de ingineri medicali își mută proiectele de ultimă generație în faza de testare, înregistratoarele și camerele de termoviziune oferă reacția și monitorizarea necesare pentru îmbunătățirea și optimizarea produselor lor. Fără îndoială, domeniul electronicii medicale are potențialul de a oferi în următorul deceniu câteva inovații incredibile care vor aduce îmbunătățiri semnificative calității vieții noastre.

Despre autor Stuart Cording este jurnalist independent, care scrie pentru Mouser Electronics. Este specializat în conținut video și se concentrează pe analize și informații tehnice complexe. Acest lucru îl face să fie foarte interesat de tehnologie, de modul în care aceasta se integrează în aplicațiile finale și de previziuni legate de evoluțiile viitoare.

Mouser Electronics este un distribuitor autorizat de semiconductori și componente electronice, axat pe introducerea de noi produse de la principalii săi parteneri producători.

■ Mouser Electronics

https://ro.mouser.com

Distributor autorizat

Urmărește-ne pe Twitter

Electronica • Azi nr. 3 (273)/2023 30 ⮞
Figura 4 © Mouser Figura 5
AMC
© Mouser

Farnell își extinde gama

Farnell deține în stoc produse Festo pentru livrare globală

echipamentelor electronice

Inginerii din domeniul testării beneficiază acum de un portofoliu cuprinzător format din 62.000 de produse, gata de livrare în regiunea EMEA

Farnell a lansat o nouă campanie prin care oferă o gamă extinsă de produse de testare și unelte de la furnizori de top, disponibile în stoc și cu livrare rapidă. Clienții pot accesa acum peste 62.000 de produse de la 28 de mărci de top, inclusiv Ametek, Keysight Technologies, NI, Pico Technology, Rohde & Schwarz, Tektronix și Weller.

Farnell acordă o mare importanță sprijinirii clienților în fiecare etapă a proiectului lor. În parteneriat cu unii dintre principalii săi furnizori, Farnell oferă o selecție excelentă de osciloscoape, echipamente de testare portabile, software, sisteme pentru lipit, instrumente manuale de lucru și multe altele, pentru a sprijini proiectarea dispozitivelor electronice sau întreținerea predictivă, la prețuri competitive pentru ingineri.

Gama de produse aflate în stoc la Farnell include:

Testare și măsurare

• Ohmetru – Extech Instruments

• Multimetru digital portabil – Fluke

• Prize și mufe tip banană – Pomona

• Flux de lucru pentru testare – NI

Instrumente și consumabile de producție

• Set de scule pentru electricieni XXL II – Wiha

• Stație de lipit Ersa I-CON Trace

• Kit de întreținere Kraftform Kompakt – Wera

• Imprimantă Creality 3D Ender- 3 Pro

• Microscop stereo – Kern

Noi apariții

• Sisteme NI PXI

• Noua serie MXO4 – Rohde & Schwarz

• Noi osciloscoape portabile MSO2 – Tektronix New

• Stație de lipit WXSmart – Weller

Clienții pot accesa gama de la Farnell în EMEA, Newark în America de Nord și element14 în APAC.

■ Farnell | https://ro.farnell.com

Farnell deține acum în stoc o gamă largă de produse pentru automatizări pneumatice și electrice de la Festo pentru livrare la nivel global. Compania oferă acces la întreaga gamă de produse Festo, extinzându-și considerabil gama de produse pneumatice și portofoliul de automatizare și control industrial. Aproape 21.000 dintre cele mai solicitate produse de la Festo sunt disponibile pentru livrare rapidă din portofoliul Farnell.

Produsele Festo, inovatoare, lider de piață și cu prețuri competitive, completează componentele de la alți furnizori aflate deja în stoc la Farnell. Clienții dispun acum de o mai mare flexibilitate în proiectarea și construirea sistemelor, precum și în facilitarea întreținerii critice și a reparațiilor echipamentelor.

Unele dintre produsele pneumatice de înaltă calitate de la Festo disponibile acum la Farnell includ:

• Mini Slide (DGST), la preț competitiv. Cel mai compact actuator pneumatic cu glisare de pe piață dispune de amortizor de șocuri integrat, suporți pentru senzori și amortizor de sfârșit de cursă. Aplicațiile tipice includ produse electronice, sisteme ușoare de asamblare, construcții de mașini și tehnologie de manipulare.

• Cilindru ISO (DSBC) - respectă ISO 15552 și are o gamă largă de opțiuni de montare. Într-un profil standard industrial cu două slo turi pentru senzori, acesta are amortizare pneumatică autoreglabilă a poziției la final de cursă, care se adaptează la schimbările de sarcină și viteză și un piston magnetic pentru detectarea poziției.

• Cilindru compact cu cursă scurtă (ADN) - respectă standardul ISO 21287 și necesită cu până la 50% mai puțin spațiu de instalare decât produsele similare. Caracteristicile includ o tijă piston cu filet intern sau extern și un piston magnetic pentru detectarea poziției.

• Electrovalva cu solenoid ieftină, robustă și durabilă (VUVS) poate fi folosită individual sau ca bază de distribuție. Este o componentă fiabilă și robustă, care oferă o durată de viață lungă, un design ergonomic și o funcționare sigură.

Festo este o companie axată pe inginerie, lider de piață într-o gamă largă de industrii, inclusiv industria auto, fabricarea de echipamente electronice, științele vieții, industria farmaceutică și alimentară și cea a activităților de ambalare.

Produsele Festo sunt acum disponibile din stoc la Farnell

■ Farnell | https://ro.farnell.com

‘Test & Tools’ pentru a sprijini inginerii în proiectarea, testarea și întreținerea
31 www.electronica-azi.ro
COMPANII

Cum poate un microcontroler de mici dimensiuni, cu un sistem analogic sofisticat

Dezvoltarea unor aplicații precum sistemele de securitate și dispozitivele de monitorizare medicală fără fir depinde de mai mulți factori pentru a asigura o proiectare de succes, însă complexitatea proiectării și eficiența energetică sunt printre cei mai importanți, atunci când vine vorba de aplicații conectate și alimentate de la baterii. Acest lucru se întâmplă deoarece, cu cât durata de viață a bateriei este mai mare pentru o aplicație finală, cu atât mai mic trebuie să fie consumul mediu de putere.

Autor: Stian Sogstad, MCU8

Microchip Technology

Pentru a satisface cât mai bine cerințele de putere impuse de astfel de aplicații, permițând în același timp proiecte fiabile și cu durată lungă de viață, proiectanții ar trebui, mai întâi, să se gândească la microcontrolere mici și eficiente din punct de vedere energetic, dotate cu caracteristici și funcționalități inteligente și sofisticate. Astfel de microcontrolere sunt capabile să gestioneze majoritatea sarcinilor cerute de aplicație, reducând nevoia de componente pasive externe în proiectarea unui nod de senzori, aducând în același timp un consum redus de putere și funcții încorporate pentru un plus de flexibilitate și simplitate.

De exemplu, atunci când se proiectează noduri de senzori alimentate cu baterii destinate unei aplicații precum un sistem de securitate a locuinței - un detector de mișcare PIR (Passive InfraRed) este, adesea, plasat în interiorul și în exteriorul reședinței. Un senzor PIR detectează schimbările în cantitatea de radiații infraroșii “văzute” de elementele senzorului, care variază în funcție de temperatura și de caracteristicile suprafeței obiectului din fața senzorului. Atunci când o persoană trece prin fața senzorului, acesta detectează schimbarea de la temperatura ambientală la temperatura corpului și invers.

Senzorul convertește modificarea rezultată a radiației infraroșii primite într-o modificare a tensiunii de ieșire (VPIR(t)). Alte obiecte din decor, cu aceeași temperatură, dar cu caracteristici de suprafață diferite, vor face ca senzorul să detecteze un model de emisie diferit, după cum se vede în figura 1.

Nivelurile semnalului de ieșire de la un senzor PIR sunt, de obicei, foarte scăzute și mai mici de 1 mV. Pentru a detecta mișcarea și a evita detecțiile false, semnalul analogic trebuie amplificat înainte de a fi eșantionat de un convertor analog-digital (ADC).

Electronica • Azi nr. 3 (273)/2023 32
ECONOMISEASCĂ SPAȚIU PE PLACĂ ȘI COSTURI
DE SISTEM ÎN APLICAȚIILE ALIMENTATE DE LA BATERII

În soluțiile PIR tipice, acest lucru se realizează prin utilizarea mai multor etaje cu amplificatoare operaționale (Op Amp) cu câștig ridicat, care, la rândul lor, sporesc complexitatea proiectului, numărul de componente, consumul de energie, costurile și multe altele.

Haideți să vedem cum poate un microcontroler de mici dimensiuni și eficient din punct de vedere energetic să reducă aceste efecte.

Complexitatea proiectării Bazând proiectarea unui nod de senzori PIR pe un microcontroler de mici dimensiuni cu un set de caracteristici adecvate, cum ar fi un ADC diferențial pe 12-biți cu amplificator cu câștig programabil (PGA), veți reduce nevoia de componente externe, spațiul pe placă și costul listei de materiale (BoM).

Luați în considerare senzorul PIR Click de la MickroE. Aceasta este o placă de circuit imprimat (PCB) cu toate componentele pasive necesare pentru a realiza un nod de senzor PIR funcțional. Placa Click se bazează pe o soluție Op Amp, inclusiv ADC-uri, rezistoare și capacitoare și este făcută să funcționeze imediat pentru a facilita prototiparea și evaluarea.

O configurație tipică pentru o prototipare ușoară poate fi utilizarea plăcii PIR Click în combinație cu Microchip Curiosity Nano Base for Click boards™ și un kit de evaluare Curiosity Nano. O soluție de nod de senzori PIR poate beneficia de utilizarea unui microcontroler precum ATtiny1627 de la Microchip Technology, care dispune de un ADC diferențial pe 12-biți și de un PGA.

Numărul de componente externe poate fi redus semnificativ prin eliminarea necesității unui amplificator operațional extern pentru amplificarea semnalului. Acest lucru (împreună un ADC extern) determină eliminarea mai multor alte componente pasive, cum ar fi rezistoarele și capacitoarele.

Notă: În acest exemplu, placa PIR click este utilizată ca punct de plecare pentru modificări, deoarece este mai convenabil decât să se proiecteze un nou PCB și să se achiziționeze componentele necesare. Această soluție modificată nu intră în concurență cu rolul plăcilor Click.

Așadar, prin utilizarea unui astfel de microcontroler, configurația PCB a plăcii PIR click poate fi redusă semnificativ. Figura 2 ilustrează modul în care pot fi eliminate componentele (X) și cum pot fi realizate noile conexiuni (linii albastre).

Cu aceste modificări, profitând de ADC-ul diferențial pe 12-biți încorporat și de PGA, figura 3 ilustrează, de asemenea, cât de puține componente externe sunt necesare atunci când se selectează microcontrolerul potrivit.

Cu mai puține componente externe, proiectarea hardware (precum și a PCB-ului) va fi mai curată și mai compactă, deoarece există mai puține considerente hardware care trebuie luate în considerare atunci când vine vorba de plasarea componentelor externe. În plus, software-ul și firmware-ul pot fi mai compacte și mai eficiente, deoarece mai multe dintre sarcini sunt gestionate în interiorul microcontrolerului.

33 www.electronica-azi.ro
Principiul de detectare a mișcării de către un senzor PIR. Figura 1 © Microchip Technology Exemplu de modificări aduse plăcii PIR click și schema electronică. Figura 2 © Microchip Technology
POWER Soluții

APLICAȚII CU MICROCONTROLERE

Timing-ul și sincronizarea vor fi, de asemenea, mai ușor de gestionat.

Atunci când o mare parte din complexitatea proiectării nodului de senzori este mutată din hardware în microcontroler și în unitatea centrală de procesare (CPU) și gestionată în firmware, modificarea și adăugarea de funcționalități în timpul procesului de dezvoltare devine mai flexibilă - fără a pierde timp cu reproiectarea layout-ului plăcii, ceea ce economisește timp și costuri pentru proiectanți.

Eficiența energetică

Consumul de energie al nodurilor de senzori wireless este esențial. Deoarece cu cât durata de viață a bateriei este mai mare, cu atât mai mare este durata de viață a nodului senzorial și, prin urmare, durata de viață a întregului sistem de rețea de senzori. Acest lucru este valabil pentru toate sistemele de senzori wireless. Dacă sunt instalate zeci, sute sau mii de senzori pentru diverse tipuri de monitorizare, nodul va fi considerat mort sau disfuncțional dacă se oprește.

Nodul poate să “doarmă”, apoi să se trezească rapid atunci când este detectată o mișcare datorată unei schimbări de temperatură în domeniul de acoperire al senzorului, apoi să proceseze semnalul și ulterior să se întoarcă în stare de veghe, ceea ce face ca fiecare nod alimentat cu baterii să funcționeze mai mult timp - fără a fi nevoie să se schimbe o baterie. Vedeți figura 4 pentru a înțelege modul în care funcționează unitatea centrală de procesare, atunci când se rofit de modurile de veghe și de timpul de trezire rapidă. Consumul de energie este dependent de aplicație și va fluctua în funcție de configurația senzorului PIR, de timpul de achizitie a eșantioanelor și de parametrii de filtrare, care vor afecta, de asemenea, domeniul de detecție și/sau sensibilitatea. Luați în considerare ajustarea acestor parametri pentru a reduce și mai mult consumul de energie în momentele în care cerințele aplicației sunt mai mici.

Dispunând de caracteristici și funcționalități încorporate inteligente și sofisticate, care îmbunătățesc consumul de curent și eficiența energetică, microcontrolerele de mici dimensiuni, dar puternice, precum ATtiny1627, vor crește durata de viață a aplicațiilor conectate și alimentate de la baterii, reducând în același timp complexitatea proiectării, costurile totale ale sistemului și timpul de lansare pe piață.

Este mai convenabil, de asemenea, să se optimizeze codul pentru alți factori, cum ar fi consumul de putere. Simpla modificare a setărilor parametrilor va permite proiectanților să aducă modificări la codul aplicației, fie pentru a adăuga funcționalitate, fie pentru a optimiza codul pentru un consum redus de energie sau pentru sensibilitatea legată de condițiile de mediu, cum ar fi variațiile de temperatură ambientală, deoarece senzorii pot întâmpina dificultăți în detectarea unei ființe umane, atunci când temperatura ambientală depășește 30°C. Un alt exemplu de funcționalitate sporită ar putea fi adăugarea de învățare automată în scopul recunoașterii modelelor legate de mișcare și instruirea sistemului pentru a învăța să facă distincția între ceea ce este doar zgomot sau o persoană reală în mișcare și un animal etc.

Pentru aplicațiile de detecție a mișcării care utilizează senzori PIR, microcontrolerele, precum ATtiny1627, complexitatea hardware se mută la firmware și software, deoarece o mare parte din funcționalitatea necesară este încorporată în microcontroler. Astfel, se reduce complexitatea, în timp ce se câștigă flexibilitate.

Pentru sistemele mai mari de senzori, schimbarea unei baterii sau a nodului însuși înseamnă costuri suplimentare pentru utilizatorul final, pe lângă faptul că sistemul este oprit sau nu este pe deplin funcțional când nodul este oprit și, prin urmare, pot apărea incidente nedorite fără a se oferi o notificare. Așadar, cu cât bateria poate dura mai mult, cu atât mai bine. Datorită modurilor de veghe ale microcontrolerului și a timpului rapid de trezire, fiecare dintre nodurile de senzori poate utiliza o cantitate minimă de energie.

Pentru a afla mai multe despre proiectarea unei aplicații de detectare a mișcării cu senzor PIR, eficiente din punct de vedere al consumului de putere și al costurilor, accesați pagina: www.microchip.com.

■ Microchip Technology www.microchip.com

Electronica • Azi nr. 3 (273)/2023 34
Placa PIR click modificată și schema electronică. Figura 3 © Microchip Technology Diagrama de sincronizare a firmware-ului. Figura 4 © Microchip Technology

Conversie analog-digitală cu economie de energie în cazul

precizie

Acest articol prezintă o soluție de conversie analog-digitală (ADC) cu consum redus de putere pentru aplicații de măsurare de înaltă precizie. O aplicație tipică în ingineria electrică este înregistrarea unor mărimi fizice de către senzori și transmiterea acestor mărimi către un microcontroler pentru procesare ulterioară. Pentru a converti semnalele analogice de ieșire ale senzorilor în semnale digitale, sunt necesare convertoare ADC. Pentru aplicațiile de înaltă precizie, se utilizează convertoare cu aproximări succesive (SAR) sau Sigma-Delta. În cazul aplicațiilor cu consum redus de putere, fiecare mW care poate fi economisit contează.

Conversia semnalelor cu ADC-uri Sigma-Delta ADC-urile sigma-delta oferă câteva avantaje față de ADC-urile SAR. În primul rând, acestea au, adesea, rezoluții mai mari. În plus, integrează amplificatoare cu câștig programabil (PGA) și intrări/ieșiri de uz general (GPIO). Astfel, ADC-urile sigma-delta sunt potrivite pentru aplicații de condiționare și măsurare a semnalelor de înaltă precizie în curent continuu și de joasă frecvență. Cu toate acestea, din cauza ratei de supraeșantionare ridicate și fixe, un ADC sigma-delta are, de obicei, un consum de putere mai mare, ceea ce se traduce printr-o durată de viață mai mică în cazul aplicațiilor care necesită alimentarea de la baterii.

Dacă tensiunea de intrare este mică - adică în domeniul milivolților - aceasta trebuie, mai întâi, să fie amplificată, astfel încât să poată fi gestionată mai ușor de ADC. Vom avea nevoie de un circuit de condiționare a semnalului analogic (AFE) cu PGA (Programable Gain Amplifier) pentru a obține o tensiune de ieșire de 10 mV dintr-o tensiune mică. De exemplu, pentru a amplifica tensiuni mici provenite de la un circuit în punte,

care să fie utile unui ADC sigma-delta cu un interval de intrare de 2,5V, PGA-ul trebuie să aibă un câștig de 250. Acest lucru duce însă la un zgomot suplimentar la intrarea ADCului, deoarece tensiunea de zgomot este și ea amplificată. Rezoluția efectivă a unui ADC sigma-delta pe 24-biți este astfel redusă foarte mult, până la 12 biți. În anumite circumstanțe, rezoluția ADC-ului nici nu mai contează, deoarece amplificarea suplimentară nu mai oferă o îmbunătățire a domeniului dinamic. Un alt dezavantaj al ADCurilor sigma-delta este reprezentat de costurile, de obicei mai mari, care rezultă din complexitatea lor internă.

Avantajele combinării unui convertor SAR cu un amplificator de instrumentație (In-Amp)

O alternativă la fel de precisă, dar mai rentabilă și mai eficientă este utilizarea unui SAR-ADC în combinație cu un amplificator de instrumentație (in-amp), așa cum se arată în figura 1. Funcția unui convertor SAR poate fi împărțită în două faze: faza de achiziție a datelor și faza de conversie. Practic, în faza de achiziție a datelor, consumul de curent este redus.

Figura 2 prezintă, ca exemplu, pierderile de putere în AD4003 la diferite rate de eșantionare. La 1 kSPS, pierderea de putere este de aproximativ 10 μW; la 1 MSPS, aceasta a crescut deja la 10 mW.

Spre deosebire de măsurătorile lente, ADCurile sigma-delta dispun de punctele forte ale supraeșantionării, utilizând în același timp o frecvență a oscilatorului intern mult mai mare decât rata de ieșire. Acest lucru permite proiectanților să optimizeze eșantionarea pentru viteze mai mari cu performanțe mai slabe de zgomot sau pentru viteze mai mici cu mai multă filtrare, modelare a zgomotului (împingând zgomotul în banda de frecvență din afara zonei de interes pentru măsurare) și performanțe mai bune de zgomot. Dar acest lucru înseamnă un consum de putere mult mai mare în cazul convertoarelor sigma-delta, în comparație cu cel al convertoarelor SAR. Rezoluția efectivă și rezoluția fără zgomot a multor ADC-uri sigma-delta sunt menționate în foile de catalog ale acestora, ceea ce face mai ușoară o comparație a compromisurilor.

Concluzie

Cele mai multe convertoare SAR se dezactivează, chiar, între conversii. Așadar, faza de conversie consumă cel mai mult curent. Consumul de putere depinde de rata de conversie și este proporțional cu rata de eșantionare. Pentru aplicații care permit reducerea consumului de energie în cazul măsurătorilor cu răspuns lent - adică măsurători în care mărimile măsurate se modifică lent (de exemplu, măsurători de temperatură) - trebuie utilizată o rată de conversie mică pentru a menține un consum redus de curent și, prin urmare, un nivel scăzut al pierderilor.

Atât ADC-urile sigma-delta în combinație cu PGA-uri, cât și SAR cu un amplificator de instrumentație sunt potrivite pentru conversia semnalelor în aplicațiile de măsurare de înaltă precizie. Ambele soluții au o precizie similară. Cu toate acestea, pentru aplicațiile de măsurare cu consum redus de putere sau care sunt alimentate de la baterii, combinația SAR-ADC și amplificatorul de instrumentație este mai bună, deoarece oferă un consum de putere mai mic și costuri mai mici în comparație cu soluția formată din PGA și ADC sigma-delta. În plus, un PGA cu un câștig ridicat limitează adesea performanța, deoarece zgomotul este, de asemenea, amplificat. Acest articol se referă doar la o posibilă soluție pentru un SARADC. Sunt disponibile soluții mai integrate, cum ar fi un convertor sigma-delta precum AD7124-4/AD7124-8

35 www.electronica-azi.ro
cu un PGA integrat.
■ Analog Devices www.analog.com
© ADI © ADI
unor măsurători de mare
Figura 1 Schema de principiu a unui circuit, simplificat, de măsurare în punte combinat cu un amplificator de instrumentație și un SAR-ADC. Figura 2 Pierderea de putere în AD4003 în funcție de rata de eșantionare. Autor: Thomas Brand, Field Applications Engineer | Analog Devices

ADN, PCR și SURSE DE ALIMENTARE

Ce au în comun?

În data de 11 februarie 2020, Comitetul internațional pentru taxonomia virusurilor a adoptat denumirea oficială “coronavirusul sindromului respirator acut sever 2” pentru coronavirusul care cauzează COVID-19, cunoscut și sub numele de SARS-CoV-2. În ultimii aproximativ doi ani, într-un fel sau altul, populația mondială a fost afectată de acest virus, iar testul reacției în lanț a polimerazei (PCR) a intrat în viața noastră de zi cu zi. În acest moment, am putea foarte ușor să ne întrebăm ce legătură are o sursă de alimentare cu PCR, dar în spatele scenei, industria surselor de alimentare și cele mai recente tehnologii de alimentare digitală au contribuit în mare măsură la eficientizarea și acuratețea procesului PCR. Înainte de a dezvălui cum, haideți să ne întoarcem în timp, la originea a tot ceea ce este.

Citind în interiorul dublului helix!

Cu toții am învățat la școală despre materialul ereditar uman cunoscut sub numele de acid dezoxiribonucleic, sau ADN, care poartă toate informațiile și instrucțiunile genetice necesare pentru ca organismele să se dezvolte, să crească, să supraviețuiască și să se reproducă. Descoperit inițial în 1866 de Gregor Mendel, cunoscut ca “părintele geneticii”, oamenii de știință au descoperit, mulți ani mai târziu, cum să descifreze codul secret al ADN-ului și cum ar putea fi folosit cel mai bine pentru binele umanității.

O piatră de temelie majoră a fost atinsă în 1953, când James Dewey Watson și Francis Harry Compton Crick au publicat despre structura dublului helix al ADN-ului care se răsucește pentru a forma structura tipică în formă de scară pe care am văzut-o cu toții în multe forme reprezentative (Figura 1).

Munca lor a fost răsplătită în 1962 cu Premiul Nobel pentru Medicină, pe care l-au împărțit cu Maurice Hugh Frederick Wilkins, pentru descoperirile lor privind structura moleculară a acizilor nucleici și semnificația acesteia în transferul de informații în materia vie. Compoziția ADN-ului este asemenea literelor individuale din alfabet. Atunci când sunt combinate unele cu altele într-o anumită ordine, ele se unesc pentru a forma cuvinte, propoziții și povești. Citirea cărții și înțelegerea conținutului acesteia au necesitat cercetări intense și abia în martie 2022 oamenii de știință au cartografiat în sfârșit primul genom uman complet, compus din peste 3 miliarde de perechi de baze. Este greu de vizualizat ceea ce reprezintă, dar tradus în ceva mai tangibil ar fi echivalentul unei cărți cu un milion de pagini – o mulțime de lecturi de citit la culcare.

Finalizarea genomului uman a fost posibilă datorită unui număr mare de inovații tehnologice, de exemplu, metoda de secvențiere a ADN-ului de la Oxford Nanopore, care poate secvenția până la 1 milion de litere de ADN deodată, dar cu unele greșeli și metoda de secvențiere a ADN-ului PacBio HiFi, care poate citi 20.000 de litere cu o precizie de 99,9%. Realizări mărețe, dar ambele nu ar fi fost posibile fără descoperirile unor mari inventatori.

Înțelegerea ADN-ului a însemnat atât un domeniu de cercetare foarte important, cât și un set de instrumente în curs de dezvoltare pentru decodare, acesta fiind visul oricărui biochimist și ar merita să îl menționăm

pe Kary Banks Mullis, deoarece în 1983 a inventat testul PCR, care a contribuit la impulsionarea cercetării și a vitezei de înțelegere pe deplin a ADN-ului.

Electronica • Azi nr. 3 (273)/2023 36
Autor: Patrick Le Fèvre Chief Marketing and Communication Officer Powerbox (PRBX) Dr. Kary Banks Mullis

Mașina de copiat ADN s-a născut! Legendă urbană sau realitate? se spune că, în 1983, în timp ce conducea dinspre Bay Area spre cabana sa din Mendocino, precum un fulger de pe cerul Californiei, Dr. Kary Banks Mullis și-a imaginat o modalitate de a identifica cu precizie o anumită porțiune de ADN și de a sintetiza o cantitate enormă de copii. La acea vreme, Mullis lucra pentru compania Cetus și se concentra pe transformarea viziunii sale într-un proces. După mai multe peripeții, în 1987, Mullis a trimis o lucrare la revista Nature: “Methods in Enzymology”, care a fost declanșatorul evoluției PCR. În 1993, a primit Premiul Nobel pentru chimie pentru invenția reacției în lanț a polimerazei (PCR). Procedeul, pe care Mullis l-a conceptualizat în 1983, este salutat ca fiind una dintre tehnicile științifice monumentale ale secolului al XX-lea.

Ce este PCR și cum funcționează?

Reacția în lanț a polimerazei (PCR) este o tehnică de laborator care permite producerea rapidă (amplificarea) a milioane până la miliarde de copii ale unui anumit segment de ADN, pentru a putea fi apoi studiat mai în detaliu. PCR presupune utilizarea unor fragmente scurte de ADN sintetic, numite primeri, pentru a selecta un segment din genom, care urmează să fie amplificat și apoi realizarea mai multor cicluri de sinteză a ADN-ului pentru a amplifica acel segment (figura 2). Acest lucru se realizează prin utilizarea unui proces specific, care necesită ca probele să fie plasate în tuburi și expuse la o termociclare foarte precisă, iar aici are loc întâlnirea dintre sursa de alimentare și ADN!

Acest proces include mai multe etape, dar trei sunt cele mai critice (denaturare, recoacere, extensie) și se repetă de mai multe ori pentru a realiza copii ale segmentelor de ADN (figura 3). Fără a intra în prea multe detalii, prezentăm mai jos un rezumat al celor trei etape critice:

Prima etapă – Denaturarea

Preparatul conținut în tub se încălzește la cel puțin 94°C. Căldura rupe legăturile de hidrogen ale probei originale de ADN și separă ADN-ul în șiruri simple.

Etapa a doua – Recoacerea

Temperatura este coborâtă la aproximativ 5°C sub temperatura de topire a primerilor, între 50 și 60°C, permițând primerilor ADN și enzimei ADN-polimerază să se fixeze pe catenele individuale de ADN care au fost separate de căldură. În acest moment, nucleotidele (A, T, C, G) din soluția de amestec adăugată se vor împerechea cu catenele individuale (separate) de ADN care au rezultat în urma procesului de încălzire.

Etapa a treia – Extensia

Temperatura este apoi crescută până la 72°C pentru a începe procesul de extensie. Odată ce segmentele se unesc, ele formează un nou filament complementar de ADN. O nouă moleculă de ADN dublu catenar duplicat a fost formată din fiecare dintre șirurile simple ale moleculei originale de probă. Când secvența este finalizată, temperatura este din nou crescută pentru a începe un nou ciclu.

Etapele de la unu la trei se repetă de aproximativ 30 până la 40 de ori, repetând automat ciclurile de încălzire și răcire ale procesului,

ceea ce are ca rezultat dublarea secvenței de ADN de fiecare dată când se efectuează ciclul de încălzire/răcire. La finalul procesului se obțin milioane de copii ale eșantionului original.

Pasul patru – Extensia finală și depozitarea Este necesară o etapă finală de extensie pentru a permite sintetizarea corectă a tuturor produselor PCR, de obicei la 72°C timp de 10 minute. În final, temperatura trebuie redusă la 4°C pentru a stoca produsul PCR până la analiză. În funcție de ținta finală, de timpul sau de nivelul de precizie necesar, sunt adesea utilizate variații ale acestui proces, de exemplu, PCR cantitativă în timp real (qPCR), PCR cu transcriere inversă (RTPCR), PCR cantitativă cu transcriere inversă (RT-qPCR), PCR digitală (dPRC) și PCR digitală în picături (ddPCR), PCR Microfluid.

Surse de alimentare pentru o procedură PCR eficientă

Există multe aplicații medicale care necesită control termic, de exemplu, incubatoare neonatale, încălzirea sângelui pentru hemoliză, camere de incubare de laborator și așa mai departe. Majoritatea acestor aplicații necesită o reglare termică precisă și majoritatea surselor de alimentare medicale cu control al tensiunii de ieșire sunt potrivite pentru astfel de aplicații. În cazul echipamentelor PCR (figura 4) și a specificității ciclurilor termice cu precizie ridicată și secvențe repetitive, acestea necesită o soluție de alimentare specifică și adesea adoptă o abordare modulară cu grupul de alimentare și control încorporat în bucla de control termic PCR. ⮞

37 www.electronica-azi.ro
POWER Soluții
Structura dublului helix a ADN-ului. Figura 1
© National Human Genome Research Institute

După cum se arată în figura 3, ciclurile termice sunt destul de scurte, necesitând ca elementul de încălzire să își ajusteze temperatura între +95C ridicat, +50C scăzut, +72C platou și înapoi la +95C după patru minute.

Acest ciclu se repetă de 30 până la 40 de ori, cu un nivel de precizie foarte ridicat. Există diferite metode de a genera și controla temperatura în termocicloare, dar multe dintre acestea utilizează elemente cu efect Peltier.

Dacă principala aplicație a efectului Peltier este răcirea, efectul Peltier poate fi utilizat și pentru încălzire sau pentru controlul temperaturii. De asemenea, ar putea fi asociat cu un alt element de încălzire, folosind, apoi, un histerezis controlat, pentru a răci camera termică. Producătorii de termocicloare PCR au dezvoltat algoritmi foarte complecși pentru a regla și controla nivelul de temperatură cu o precizie ridicată. Odată cu introducerea tehnologiei digitale de alimentare și control și a managementului energiei, a devenit mai ușor să se interfațeze CPU-ul termociclorului cu etapa de comutare și să se controleze tensiunea și curentul prin intermediul unei interfețe digitale, de exemplu, PMBus, pentru a alimenta elementele de încălzire/răcire (figura 5).

Electronica • Azi nr. 3 (273)/2023 38
Echipamente tipice de laborator pentru PCR. Figura 4 © PRBX/ Natatravel/Shutterstock Ciclurile și duratele PCR. Figura 3 © PRBX Procesul și ciclurile PCR.
© National Human Genome Research Institute SURSE ALIMENTARE ⮞
Figura 2

În unele cazuri, semnalul PWM este generat pentru a controla strâns parametrii fără pași suplimentari (figura 6). Deoarece etajul de alimentare este puternic integrat în bucla de control termic, devine adesea o parte a acesteia, iar proiectanții de surse de alimentare trebuie să lucreze în strânsă colaborare cu programatorii pentru a oferi cel mai optimizat timp de răspuns la o cerere specifică, ceea ce este foarte interesant și, într-adevăr, destul de diferit de modurile mai convenționale de lucru în proiectarea soluțiilor de alimentare.

Concluzie

De la descoperirea făcută de Dr. Kary Banks Mullis în 1983 și până la aplicarea în masă pentru a detecta prezența virusului SARSCoV-2 în miliarde de probe, tehnologia PCR a jucat un rol foarte important în cercetarea medicală și în sănătatea publică.

Acesta a fost, de asemenea, un domeniu foarte interesant pentru inginerii specializați în electronica de putere, care au proiectat soluții de alimentare (figura 7) în strânsă colaborare cu industria medicală pentru a dezvolta soluții de alimentare foarte specifice, cu un nivel ridicat de programare și integrare a sistemului. Cine a spus că industria surselor de alimentare este plictisitoare?

Referințe

Powerbox (PRBX): https://www.prbx.com

Dr. Kary Banks Mullis: https://www.karymullis.com

The complete sequence of a human genome: https://www.science.org/doi/10.1126/science.abj6987

National Human Genome Research Institute: https://www.genome.gov

■ PowerBox www.prbx.com

39 www.electronica-azi.ro
Sursă de alimentare POWERBOX pentru o aplicație cu termociclor. Figura 7 © PRBX Sursă de alimentare controlată de un semnal PWM extern care face parte din bucla de control PCR.
©
Figura 6
PRBX
©
Sursă de alimentare convențională cu control și monitorizare digitală prin intrare digitală, de exemplu, PMBus. POWER Soluții
Figura 5 PRBX

Noile

dispozitive GaN aduc comutația de înaltă frecvență într-o gamă tot mai largă de aplicații

Tehnologia tranzistorului cu efect de câmp (FET) din siliciu a fost prima alegere pentru numeroase aplicații de putere de-a lungul deceniilor. În tot acest timp, producătorii au făcut mari progrese în ceea ce privește reducerea rezistenței ON, îmbunătățind, totodată, tensiunea de străpungere pentru a reduce pierderile și, respectiv, pentru a crește marjele de siguranță. Prin utilizarea unor tehnici de fabricație inovatoare, cum ar fi arhitecturile pe verticală, care utilizează complet placheta de siliciu, furnizorii au reușit să îmbunătățească frecvența de comutare, ceea ce se răsplătește prin frecvențe de comutare mai mari. Acest lucru, la rândul său, face posibilă reducerea dimensiunii și greutății sursei de alimentare datorită unor componente magnetice și pasive mai mici. Cu toate acestea, pierderile întâlnite la schimbarea stării tranzistorului sunt dificil de evitat, deoarece proprietățile siliciului impun ca purtătorii să aibă nevoie de timp pentru a fi eliminați atunci când canalul este oprit. De asemenea, trebuie să se facă compromisuri în timpul procesului de proiectare între rezistența ON și tensiunea de străpungere. Deși tehnologia siliciului poate fi considerată matură și rentabilă, atenția se îndreaptă acum către materiale precum nitrura de galiu

(GaN) pentru a îmbunătăți performanța circuitelor de alimentare. Un avantaj esențial al GaN constă în energia benzii sale interzise de 3,4eV, de câteva ori mai mare decât cea de 1,1eV a siliciului. Această proprietate duce la o tensiune de străpungere mai mare, pe care proiectanții o pot traduce în dimensiuni mai mici ale tranzistorului. Astfel, se pot obține capacitanțe de poartă și de ieșire mai mici, ceea ce contribuie la creșterea frecvențelor de comutare în domeniul megahertzi.

Cel de-al doilea atribut cheie al GaN este mobilitatea intrinsec mai mare a purtătorilor. Mobilitatea electronică a dispozitivelor GaN este cu aproape 40 de procente mai mare decât a celor din siliciu. Mobilitatea ridicată rezultă din modul în care se formează gazul bidimensional de electroni la frontierele dintre materialele componente, o caracteristică intrinsecă a tranzistoarelor cu mobilitate ridicată a electronilor (HEMT) și care se regăsește în alte materiale, cum ar fi arsenura de galiu (GaAs). Mobilitatea ridicată permite, de asemenea, o rezistență ON scăzută, care se potrivește funcționării la curenți mari. În comparație cu siliciul, dispozitivele GaN pot funcționa

în condiții de temperatură ridicată, ceea ce ar reprezenta o provocare pentru dispozitivele din siliciu, fapt care permite utilizarea unor radiatoare mai mici, contribuind, astfel, la reducerea în continuare a volumului și a greutății dispozitivelor electronice de putere.

Considerații de proiectare pentru dispozitivele GaN

Deși performanța dispozitivelor GaN oferă avantaje cheie în comparație cu siliciul, există considerente importante de proiectare. Comutarea rapidă aduce beneficii în ceea ce privește dimensiunea și eficiența, însă modificările mari ale curentului și ale timpului, combinate cu inductanțele parazite, pot crea tensiuni tranzitorii nedorite în cadrul plăcii de circuit imprimat. Aceste tensiuni tranzitorii pot interfera cu poarta și cu circuitele de comandă ale dispozitivului și pot duce, eventual, la o oscilație prelungită care trebuie suprimată pentru o funcționare sigură. Proiectanții pot controla aceste condiții prin tehnici la nivel de PCB care reduc la minimum inductanțele parazite sau prin utilizarea unor componente de atenuare, cum ar fi capacitoarele cu o rezistență echivalentă în serie redusă.

Electronica • Azi nr. 3 (273)/2023 40
Autori: Adrian Cotterill Senior Global Product Manager – Discrete Semiconductor Patricio Gomez Bello
Dispozitive de putere
Senior Global Product Manager – Power Management, Mixed Signal Farnell

În plus, unele comportamente ale tehnologiei GaN pot fi necunoscute pentru proiectanții care sunt obișnuiți să proiecteze cu MOSFETuri din siliciu. Multe tranzistoare de putere GaN sunt dispozitive cu modul de epuizare, tipic, activat, în timp ce MOSFET-urile de siliciu sunt larg disponibile cu modul de îmbunătățire, tipic, dezactivat. Acest lucru necesită unele modificări subtile ale circuitelor de comandă a porții, cum ar fi abilitatea de a conduce la tensiuni negative pentru a dezactiva complet FET-ul GaN. Un alt aspect de luat în considerare constă în tratarea vitezelor de creștere mari care vor fi întâlnite, în special, în partea superioară (high side) a convertoarelor de putere tip jumătate de punte, unde driverele de poartă trebuie să poată demonstra o bună imunitate la regimurile tranzitorii de mod comun. Având în vedere că intră pe piață o gamă variată de noi produse GaN, producători de semiconductori de top, precum Infineon Technologies, Nexperia și NXP, proiectează soluții pentru a ajuta inginerii să depășească provocările generate de noua tehnologie GaN și să integreze beneficiile oferite de aceasta în proiectele lor.

Soluții integrate în beneficiul proiectanților

O modalitate de abordare a constrângerilor legate de proiectarea PCB-urilor, care necesită un nivel scăzut de perturbații parazite în cazul tehnologiei GaN, este utilizarea unei soluții integrate, cum ar fi GAN063650WSAQ produsă de Nexperia. Tranzistorul GaN FET de 650V, 50mΩ GaN este un dispozitiv normal închis, care combină tehnologiile de ultimă generație GaN de înaltă tensiune și MOSFET din siliciu de joasă tensiune de la Nexperia.

de comandă de poartă convențional, deoarece MOSFET-ul din siliciu este un dispozitiv de 30V care controlează un tranzistor de putere de 650V. În sfârșit, aceste dispozitive adaptate asigură o imunitate ridicată la perturbații tranzitorii în topologiile de putere cu comutație înaltă, cum ar fi configurația totem-pole preferată în front-end-urile de corecție a factorului de putere (PFC), precum și în topologiile care utilizează tehnici de comutare mai blânde.

Flexibilitate pentru dispozitive robuste și pentru temperaturi ridicate Având o experiență vastă în proiectarea tranzistoarelor de putere, Infineon a îmbrățișat mai multe tehnologii cu scopul de a o oferi pe cea potrivită pentru fiecare piață țintă. În prezent, Infineon oferă dispozitive din siliciu în arhitecturi MOSFET și IGBT (Insulated Gate Biopolar Transistor), alături de GaN și SiC (carbură de siliciu), un material potrivit pentru utilizarea la temperaturi foarte ridicate sau acolo unde robustețea este o cerință absolută.

Alimentare cu energie RF

Frecvențele de comutare ridicate care pot fi obținute cu GaN sunt potrivite pentru o serie de aplicații în furnizarea de energie RF pentru încălzire industrială, sudare și etanșare termică sau generator de plasmă. Tranzistoarele GaN RF de putere de la NXP, precum MRF24G300HS, sunt create pentru a permite furnizarea de energie RF în banda industrială, științifică și medicală (ISM) de 2400-2450 MHz, fără licență, din spectrul radio. Pentru a oferi performanțe termice ridicate, tranzistorul GaN este implementat pe un substrat SiC, contribuind la asigurarea unei operări cu undă continuă sau pulsată. În condiții de undă continuă, dispozitivul poate furniza o putere de ieșire de 336 W. Tehnologia GaN oferă avantaje cheie față de tehnologia MOSFET tradițională pe siliciu, care va continua să sprijine crearea de noi aplicații, oferind în același timp surse de alimentare mai compacte și mai eficiente. Pentru a profita din plin de tehnologia GaN, inginerii se pot adresa distribuitorilor globali de produse electronice cu capabilități extinse de asistență pentru proiectare, cum ar fi Farnell, pentru a găsi dispozitivul potrivit și a accesa expertiza necesară pentru a elabora următorul lor proiect și pentru a explora, eventual, noi piețe.

O caracteristică importantă a IGT60R070D1

și a altor dispozitive din familia CoolGaN de tranzistoare de putere de 600V ale companiei este că acestea oferă o funcționare în modul de îmbunătățire și o integrare mai ușoară în proiectele de circuite, oferind în același timp avantajele unor viteze de comutare foarte mari. IGT60R070D1 oferă o rezistență ON de numai 70mΩ, o capacitanță de poartă de 5,8nC și o robustețe excelentă la comutare.

Rezumat

Potrivit pentru utilizarea în convertoare de putere din domeniul industrial și al comunicațiilor, invertoare fotovoltaice, drivere de motoare și front-end-uri de corecție a factorului de putere, GAN063-650WSA combină într-o singură capsulă tehnologiile GaN și MOSFET din siliciu pentru a oferi mai multe beneficii proiectanților. Primul beneficiu al ambalării împreună a diferitelor tipuri de dispozitive, în loc să fie montate separat pe un PCB, constă în nivelul redus de perturbații parazite pe circuitul de comandă a porții și un layout optimizat al PCB-ului. Al doilea beneficiu este acela că produsul se află în modul de îmbunătățire normal-oprit, care se poate conecta cu ușurință la un circuit

Pentru a facilita comanda tensiunilor de poartă mai mari ale dispozitivelor GaN, Infineon a proiectat familia de circuite integrate EiceDRIVER. Aceste drivere de poartă permit comutarea rapidă a unui tranzistor GaN, cum ar fi IGT60R070D1, lucru posibil datorită imunității lor extinse în regim tranzitoriu de mod comun. Driverul de poartă izolat EiceDRIVER generează tensiunea negativă poartă-sursă necesară pentru a asigura stări de deconectare sigure în timpul fenomenelor tranzitorii de comutare și pentru a proteja tranzistorul de putere împotriva evenimentelor de pornire neprevăzute. Izolarea galvanică integrată înseamnă că circuitele integrate de comandă a porții pot oferi suportul necesar pentru implementarea aplicațiilor de tip jumătate de punte cu comutare puternică, așa cum este topologia totem-pole necesară pentru PFC.

Cheia pentru a face următorul pas esențial către o lume eficientă din punct de vedere energetic constă în utilizarea de noi materiale, cum ar fi semiconductorii cu bandă interzisă largă, care permit o eficiență energetică mai mare, dimensiuni mai mici, greutate mai mică, costuri globale mai mici – sau toți acești factori combinați. Deși tehnologia siliciului poate revendica maturitatea și rentabilitatea, atenția se îndreaptă acum către materiale precum nitrura de galiu (GaN), pentru a îmbunătăți performanța circuitelor de alimentare.

Principalii producători de semiconductori, printre care Infineon Technologies, NXP și Nexperia, proiectează soluții pentru a ajuta inginerii să depășească provocările unei noi tehnologii și să integreze beneficiile tehnologiei GaN în proiectele lor.

■ Farnell https://ro.farnell.com

41 www.electronica-azi.ro
POWER Tehnologie

Traco Power lansează un blog tehnic

Pentru inginerii cu experiență, fișele tehnice ale convertoarelor de putere sunt ușor de consultat, iar multe dintre conceptele tehnice sunt bine înțelese. Cu toate acestea, prin interacțiunea periodică a companiei Traco Power cu studenții, este clar că nu toate aspectele legate de modul în care sunt specificate sursele de alimentare sunt pe deplin cunoscute și ușor de înțeles. Având în vedere acest lucru, Traco Power a lansat un blog tehnic.

Informații tehnice periodice despre subiecte legate de sursele de alimentare Bazându-se pe anii de experiență ai echipei de ingineri de la Traco Power și ținând cont de întrebările adresate constant inginerilor săi, blogul abordează totul, de la noțiuni de bază privind compatibilitatea electromagnetică și specificațiile convertoarelor de putere până la provocări specifice aplicațiilor.

Blogul tehnic poate fi găsit aici: https://www.tracopower.com/int/blog și este actualizat în permanență cu postări noi.

Pentru informații suplimentare, vă rugăm să contactați: Florian Haas, Vice President of Marketing & Digitalization info@tracopower.com | https://www.tracopower.com

■ Traco Power

Noi convertoare DC/DC de 150W și 200W 12:1 cu domeniu de tensiune de intrare ultra-larg

TEP 150UIR și TEP 200UIR sunt serii de convertoare DC/DC certificate pentru domeniul feroviar, proiectate pentru cea mai mare fiabilitate în cele mai solicitante aplicații. Domeniile lor ultra largi de tensiune de intrare 12:1 permit inginerului de aplicații să se orienteze către o serie de tensiuni nominale de sistem în cadrul unei singure proiectări. Seriile TEP 150UIR și TEP 200UIR sunt certificate EN 50155 pentru aplicații pe material rulant. Certificările suplimentare includ EN 61373 pentru șocuri mecanice și vibrații, EN 45545-2 pentru rezistență la foc și IEC/EN/UL 62368-1 pentru aplicații IT și industriale de uz general. https://www.tracopower.com/int/series/tep-200uir

■ Traco Power

POWER Știri

“Straight Up”

un beneficiu important, mai precis, reducerea semnificativă a căldurii reziduale. Din perspectiva managementului termic, acest lucru înseamnă că tehnicile de răcire, cum ar fi radiatoarele, pot fi reduse sau eliminate complet, reducând astfel dimensiunea, greutatea și costul soluției.

De fapt, după cum știe orice inginer specializat în tehnologia de putere, cel mai bun mod de a elimina căldura este să nu o generezi. Al doilea cel mai bun lucru este să vă asigurați că orice energie reziduală are un traseu cât mai scurt posibil către mediul înconjurător.

În timp ce tehnologiile cu bandă interzisă largă, cum ar fi cele cu carbură de siliciu (SiC), au făcut salturi uriașe în ceea ce privește îmbunătățirea eficienței, nu există (și probabil că nu va exista niciodată) un dispozitiv de putere care să nu aibă parte de pierderi de energie.

În acest articol, onsemi analizează felul în care inovațiile de la nivelul capsulei semiconductorului fac pași uriași în îmbunătățirea managementului termic în cadrul aplicațiilor auto moderne.

Abordări convenționale pentru răcirea semiconductorilor În aplicațiile de putere, tranzistoarele cu efect de câmp metal-oxid-semiconductor (MOSFET) tind să devină dispozitive cu montare pe suprafață (SMD), cum ar fi tipurile de capsule SO8FL, u8FL și LFPAK. SMD este tehnologia preferată, deoarece oferă o bună capabilitate de putere și confortul plasării și lipirii automate, precum și o soluție compactă. Cu toate acestea, disiparea căldurii în cazul dispozitivelor SMD nu este ideală, deoarece calea de propagare a căldurii trece de obicei prin placa de circuit imprimat (PCB).

Chiar dacă s-ar putea să nu fie imediat evident – din cauza dimensiunilor relativ mari ale vehiculelor – spațiul disponibil pentru soluțiile tehnologice din vehicule este, în general, destul de mic și înghesuit. Motivul principal este că cea mai mare parte a spațiului este alocată habitaclului pasagerilor, iar sistemele electronice sunt ascunse în spații aflate în afara zonei de acces.

Deși acest lucru este logic, răcirea acestor soluții devine o provocare – mai ales că nivelurile de putere sunt ridicate în multe aplicații auto. Prin urmare, industria continuă să caute modalități prin care răcirea să

poată fi îmbunătățită, oferind o serie de avantaje producătorilor de automobile și proprietarilor de vehicule.

Pe măsură ce vehiculele trec la propulsia electrică – unde multe sisteme mecanice sau hidraulice, sunt înlocuite cu actuatoare electrice – volumul de conversie de mare putere de pe vehiculele moderne crește semnificativ. Se depun eforturi uriașe și se alocă bugete semnificative pentru a crește eficiența generală a acestor noi sisteme electrice, în primul rând pentru a crește autonomia vehiculului. În plus, o eficiență mai mare oferă proiectantului sistemului încă

În cazul componentelor convenționale, structura conductoare, inclusiv un pad de drenaj exterior, este lipită direct pe amprenta de cupru de pe placa de circuit imprimat, care asigură o conexiune electrică și o cale termică de la cip la placa de circuit imprimat. Aceasta este singura conexiune termică galvanică directă cu placa de circuit imprimat, deoarece restul dispozitivului este plasat într-un material de turnare și răcit numai prin convecție cu aerul din jur. Prin această abordare, eficiența transferului de căldură de la dispozitiv depinde în mare măsură de proprietățile PCB-ului,

Electronica • Azi nr. 3 (273)/2023 44
Răcirea convențională necesită transmiterea căldurii prin placa de circuit imprimat către un radiator. Figura 1 © onsemi Dispozitivele Top Cool plasează radiatorul deasupra, îmbunătățind dispunerea și performanța termică.
©
Figura 2
onsemi
Autor: Carlos Ramirez Ramos Product Line Director, Automotive Power Discretes onsemi
©
Dispozitive de putere
O abordare mai bună pentru răcirea semiconductorilor
onsemi

cum ar fi dimensiunea planului de cupru (Cu), straturile de cupru, greutatea și dispunerea cuprului. Acest lucru este valabil indiferent dacă placa este atașată, sau nu, la un radiator. Datorită căii termice restrânse, capabilitatea maximă de putere a dispozitivului este limitată, deoarece conductivitatea termică scăzută a PCB-ului împiedică disiparea căldurii.

Conceptul Top Cool

Pentru a rezolva această problemă, onsemi a dezvoltat o nouă capsulă MOSFET care plasează drena pe partea superioară a capsulei. Această abordare aduce beneficii atât în ceea ce privește layout-ul / spațiul aplicației, cât și în ceea ce privește transferul termic. În timp ce abordarea tradițională pentru răcirea MOSFET-urilor de putere este capabilă să ofere soluții rezonabil de compacte, partea inferioară a PCB-ului trebuie să rămână nepopulată pentru a permite aplicarea unui radiator. În cadrul acestei abordări, este necesar, în general, un PCB mai mare pentru a găzdui toate componentele necesare.

Deoarece traseul termic este ascendent în cazul dispozitivelor Top Cool, radiatorul este plasat deasupra MOSFET-urilor, permițând plasarea componentelor, cum ar fi dispozitivele de alimentare, driverele de poartă și alte componente pe partea inferioară, permițând astfel utilizarea unui PCB mai mic. Această dispunere mai compactă permite, de asemenea, trasee mai scurte pentru comanda porții, ceea ce poate să devină un avantaj în cazul funcționării la frecvențe ridicate. În plus, întrucât nu mai există cerința de trecere a căldurii prin PCB, acesta va rămâne mai rece, iar componentele din jurul MOSFET-urilor vor funcționa la temperaturi mai scăzute, ceea ce va îmbunătăți fiabilitatea acestora.

Pe lângă avantajele de dispunere oferite de dispozitivele Top Cool, există, de asemenea, beneficii termice semnificative, deoarece capsula permite o răcire directă către carcasa dispozitivului. Cele mai frecvent utilizate radiatoare sunt cele din aluminiu datorită conductivității termice ridicate (de obicei între 100 și 210 W/mk). Aluminiul sau alte metale similare reduc considerabil rezistența termică în comparație cu o răcire convențională prin intermediul unui PCB, oferind astfel un răspuns termic mai bun. În plus față de conductivitatea termică îmbunătățită, radiatoarele oferă o masă termică mult mai mare care ajută la evitarea saturației, oferind o constantă de timp termică mai mare, deoarece radiatorul montat pe partea superioară poate fi dimensionat în funcție de nevoile aplicației.

Având în vedere avantajul de a fi atașată direct la un radiator cu masă termică mare, capsula cu răcire prin partea superioară va avea un răspuns termic mai bun, exprimat prin creșterea temperaturii per Watt. Acest răspuns termic îmbunătățit permite funcționarea la o putere mai mare pentru o anumită creștere a temperaturii joncțiunii. În final, aceeași plachetă MOSFET încorporată într-o capsulă Top Cool va avea capabilități de curent și putere mai mari decât aceeași plachetă plasată într-o capsulă SMD standard.

Acest lucru, împreună cu aripioarele lor care permit inspectarea lipiturilor și fiabilitatea superioară la nivel de placă, le face să fie ideale pentru aplicațiile solicitante din domeniul auto.

Aplicațiile vizate sunt comenzile motoarelor de putere mare/medie, cum ar fi servodirecția electrică și pompele de ulei. Dispozitivele Top Cool TCPAK57 oferă o densitate de putere crescută, iar fiabilitatea îmbunătățită a noului design contribuie la o durată de viață extinsă a sistemului în ansamblu.

Noua gamă de MOSFET-uri cu canal N Top Cool onsemi a dezvoltat o gamă de dispozitive Top Cool care sunt găzduite într-o capsulă LFPAK 5x7 modificată, măsurând doar 5 mm × 7 mm. Denumită TCPAK57, noua capsulă Top Cool dispune de un pad termic de 16,5 mm2 pe partea superioară, permițând disiparea căldurii printr-un radiator. La nivel intern, dispozitivele TCPAK57 dispun de o clemă din cupru pentru conexiunile sursei și drenei. Aceasta înlocuiește îmbinările prin fire metalice și permite curenți mari cu o rezistență minimă, precum și o conexiune termică eficientă la pad-ul din partea superioară. Noile dispozitive oferă eficiența electrică necesară în aplicațiile de mare putere, cu valori RDS(ON) de până la 1mΩ. Soluția valorifică expertiza profundă a companiei onsemi în domeniul packaging-ului pentru a oferi cea mai mare densitate de putere din industrie. Portofoliul inițial TCPAK57 include un total de șapte dispozitive, cu valori nominale de 40V, 60V și 80V. Toate dispozitivele operează la temperaturi de joncțiune (Tj) de 175°C și sunt calificate AEC-Q101 și PPAP.

Rezumat

Managementul căldurii în proiectele de putere este fundamental pentru atingerea obiectivelor de proiectare dificile existente în industria auto. Tradițional, răcirea dispozitivelor de putere discrete, cum ar fi MOSFETurile, implica trecerea energiei termice prin PCB către un radiator. Însă, această cale termică nu era ideală și, în consecință, performanța dispozitivului era afectată. Cu toate acestea, un nou stil de capsulă poziționează pad-ul termic în partea superioară, permițând astfel ca un radiator să fie lipit direct de dispozitiv. Acest lucru nu numai că îmbunătățește răcirea MOSFET-ului, dar permite, de asemenea, ca partea inferioară a PCB să fie utilizată pentru plasarea componentelor, crescând astfel densitatea de putere în aplicații critice, precum cele din domeniul auto.

■ onsemi www.onsemi.com

45 www.electronica-azi.ro
Portofoliul inițial Top Cool cuprinde șapte dispozitive.
© onsemi POWER Tehnologie
Figura 3

Convertoare miniaturale RECOM din grupul RAC

RECOM este o marcă bine-cunoscută pentru o gamă largă de soluții de alimentare pentru echipamente electronice și electromecanice. Aceasta oferă invertoare integrate, care sunt potrivite pentru utilizare atât în aplicații industriale, de consum (electronice/aparate de consum), cât și în alte aplicații (transport, automatizarea spațiului public etc.).

Un grup semnificativ de produse RECOM sunt circuitele miniaturale create pentru montare direct pe circuitul imprimat. Acestea sunt disponibile în zeci de serii, cu inscripționări care încep cu abrevierea “RAC” și includ o gamă largă de componente cu o putere de până la 40 W. Deoarece invertoarele RECOM sunt foarte populare în rândul clienților noștri, am decis să vă oferim o prezentare generală a seriei de produse disponibile. Proiectanții care caută sisteme de alimentare simplu de implementat, dar robuste și stabile au mari șanse să găsească produse care să îndeplinească cerințele proiectului lor.

Caracteristici electrice

Familia RAC include convertoare AC/DC cu capabilități de alimentare în curent continuu (DC/DC). Tensiunile de intrare variază de la 80 ... 264V la 85 ... 528V (curent alternativ) și de la 100 ... 318V la 120 ... 750V (curent continuu). Acest lucru înseamnă că pot fi alimentate direct de la rețea, precum și de la redresoare monofazate și trifazate.

Puterea invertoarelor variază de la 1W la 40W (cu o eficiență de până la 87%), iar modelele selectate de 15, 20 și 25 de wați pot furniza curenți de peste 3A (la 5V) Aceste caracteristici permit ca dispozitivele RAC să fie utilizate nu numai în circuite electronice discrete, ci și pentru sarcini mai mari, cum ar fi în echipamentele de telecomunicații sau în robotica la scară mică și în controlerele și regulatoarele industriale. Trebuie remarcat că ofertele RECOM și TME includ, de asemenea, convertoare miniaturale rentabile, care permit tensiuni de 3,3V DC, o sursă de alimentare tipică pentru multe sisteme cu microprocesor, inclusiv module bazate pe microcontrolerele populare de la Microchip sau ESP32

Unele dintre seriile RAC includ convertoare cu două ieșiri simetrice - pozitiv și negativ la masă. Aceste produse simplifică proiectarea multor circuite de semnal, cum ar fi amplificatoarele radio, precum și echipamentele audio și de măsurare.

Convertoarele RECOM furnizează tensiuni stabile cu interferențe minime. Produsele se caracterizează, de asemenea, printr-un consum foarte redus de energie electrică (de ordinul a câtorva zeci de mW) în tim pul funcționării fără sarcină. Cele mai multe dintre ele au filtre EMC încorporate, adică circuite care limitează introducerea interferențelor în rețea și fac componentele imune la perturbațiile tensiunii de intrare.

Electronica • Azi nr. 3 (273)/2023 46
Componente de alimentare compacte și integrate pentru montarea pe PCB.
Dispozitive de putere
Convertoare miniaturale AC/DC cu o putere de 5W și o amprentă de 25,4 × 25,4.

Securitate

O caracteristică importantă a convertoarelor marca RECOM este este nivelul lor ridicat de protecție. Cele mai multe dintre produsele prezentate aici dispun de trei elemente de bază de protecție. În primul rând, există funcția OPP (Over Power Protection), adică un circuit de protecție la suprasarcină, care protejează convertorul împotriva deteriorării rezultate în urma conectării unei sarcini ce provoacă un flux de curent prea mare. În acest caz, circuitul RAC deconectează automat ieșirea pentru a evita o defecțiune permanentă (atât a sursei de alimentare, cât și a componentei conectate). Funcția SCP (Short Circuit Protection), funcționează în conformitate cu un principiu similar pentru prevenirea scurtcircuitelor. Pe partea de intrare, circuitele RAC au protecție OVP (Over Voltage Protection), pentru a limita efectele supratensiunilor (vârfuri/creșteri de tensiune) care apar pe linia de alimentare. Acest lucru protejează atât convertorul, cât și componentele conectate la acesta. În ceea ce privește designul, produsele RAC sunt echipate cu un nivel de izolare între 3000V și 5400V (în funcție de model).

Carcase, dimensiuni și conexiuni

În marea majoritate a cazurilor, convertoarele RAC sunt componente care pot fi montate pe PCB. Acestea au cabluri pentru montare prin inserție pentru a facilita instalarea lor în circuitele de tensiune de rețea (care necesită o suprafață de contact mare). Componentele prezintă rezistență la vibrații și șocuri, răspunzând astfel nevoilor aplicațiilor din dispozitivele mobile sau din mașinile industriale. RECOM furnizează, de asemenea, modele de invertoare echipate cu cabluri de intrare și ieșire , permițând montarea componentelor într-o poziție mai puțin obișnuită. Una dintre cele mai importante caracteristici ale produselor RAC este designul lor compact și integrat Cel mai mic dintre convertoarele RECOM prezentate are o dimensiune de 25,4 × 25,4 × 16,5mm, iar cele mai mari (la puteri de 30W și 40W): 89 × 64.1 × 25mm. Nu sunt necesare componente externe. miniaturizarea dorită a cir, ceea ce înseamnă că produsul poate fi integrat în dispozitivul proiectat. Acest lucru reprezintă o simplificare majoră a procesului de producție (atât în cazul producției de volume mici, cât și al producției în masă) și se poate traduce, de asemenea, în reducerea costurilor

Prezentarea seriei

Gama familiei RAC de la TME este formată din 44 serii de convertoare. Simbolul produsului codifică informații caracteristice de bază, de exemplu, puterea maximă (primele cifre sub literele “RAC”), tensiunea de ieșire (două cifre după conector). Cu toate acestea, cunoașterea capabilităților produselor din fiecare serie va ajuta cu siguranță la selectarea articolului potrivit. Pentru o prezentare generală a parametrilor de bază pentru fiecare subgrup, inclusiv detalierea proprietăților electrice și a dimensiunilor, vizitați pagina noastră de internet

Text elaborat de Transfer Multisort Elektronik Sp. z o.o. https://www.tme.eu/ro/news/library-articles/page/51744/convertoare-miniaturale-recom-din-grupul-rac/

■ Transfer Multisort Elektronik www.tme.eu

47
www.electronica-azi.ro
Unitate RAC cu cabluri de intrare și ieșire preinstalate.

BATERII ‘SOLID STATE’

Vehiculele electrice, dispozitivele portabile, stimulatoarele cardiace, RFID (Identificarea prin radiofrecvență) și alte echipamente electrice folosesc, tot mai mult, baterii cu stare solidă. Bateriile cu stare solidă, care oferă siguranță excelentă, performanță ridicată și costuri eficiente, sunt o opțiune viitoare pentru bateriile de tracțiune de generație următoare.

Dimensiunea pieței bateriilor cu stare solidă a fost evaluată la 47,20 miliarde de dolari în 2022 și se estimează că va ajunge la 177,42 miliarde de dolari până în 2030, având rata medie de rentabilitate de 18%.

Bateriile cu stare solidă sunt pe cale de a revoluționa industria de stocare a energiei. Bateriile ‘solid state’ sunt un tip de baterie care utilizează un electrolit solid în loc de un electrolit lichid pentru a transporta ioni între electrozii bateriei. Acest design ‘solid state’ oferă mai multe beneficii potențiale față de bateriile tradiționale cu electroliți lichizi, inclusiv densitate mai mare de energie, încălzire redusă, timpi de încărcare mai scurți, siguranță îmbunătățită și durată de viață mai lungă.

Bateriile ‘solid state’ nu conțin lichide sau geluri ca electroliții. Ionii se mișcă prin intermediul unui material solid, care poate fi un electrolit ceramic sau polimeric. Bateriile ‘solid state’ sunt considerate mai sigure și mai stabile decât bateriile cu electroliți lichizi, fără riscul scurgerilor sau al exploziilor, deci sunt ideale pentru electronicele de consum și în vehiculele electrice.

Bateriile ‘solid state’ sunt în curs rapid de dezvoltare, având potențialul de a revoluționa industria bateriilor. Unul dintre avantajele cheie ale bateriilor ‘solid state’ este capacitatea lor de a stoca mai multă energie într-un volum mai mic, facilitând dezvoltarea unor dispozitive mai mici și mai ușoare, cu o durată de viață mai mare a bateriei.

Bateriile ‘solid state’ se pot încărca mai repede decât bateriile tradiționale, existând modele capabile să se încarce complet în doar câteva minute. Există diverse abordări tehnologice în dezvoltarea bateriilor, pe bază de oxizi, sulfuri și polimeri cu variații în fiecare categorie. Electroliții sulfurați au avantajele unei conductivități ionice ridicate - mai bune decât electrolitul lichid - temperatură

scăzută de procesare și o largă stabilitate electrochimică. Problema de fabricație e produsul secundar toxic, hidrogenul sulfurat. Totuși, sistemele cu polimeri sunt acum ușor de fabricat și compatibile cu instalațiile de producție existente. Șansele bateriilor ‘solid state’ de a prelua primul loc în fața bateriilor Li-ion depind în mare măsură de creșterea cererii industriei EV (Vehicule Electrice) care să ducă la rentabilizarea costurilor de fabricație.

Producerea de baterii cu stare solidă pe scară largă, deși dificilă și costisitoare, se dezvoltă prin investiții publice.

49 www.electronica-azi.ro
Autor: Constantin Savu ECAS ELECTRO
⮞ 1 Solid Power 2 QuantumScape 3 Ampcera 4 BrightVolt 5 ProLigium Technology 6 Toyota 7 Ilika Plc 8 Cymbet Top 8 companii de baterii cu stare solidă în 2023 POWER Surse alimentare

Solid Power este unul dintre cei mai importanți dezvoltatori de baterii cu stare solidă pentru EV. Bateriile sale sunt cu 50% mai dense energetic în comparație cu bateriile Li-ion. Bateriile Solid Power pot alimenta și dispozitive precum electronice portabile, avioane și sateliți.

QuantumScape este o companie publică, lider în industrie, care dezvoltă baterii cu stare solidă pentru EV, ce furnizează nivel mare de energie, cât și densitate mare de energie. Compania cu sediul în San-Jose este susținută de Bill Gates, Volkswagen, Continental AG și George Soros, printre alți investitori importanți.

Tehnologia bateriei cu stare solidă de la QuantumScape este în prezent cea mai avansată. Prototipul său de baterie se încarcă până la 80% din capacitate în 15 minute, fiind “mai rapid în comparație cu bateria convențională sau cu abordările alternative cu stare solidă”.

Toyota este un jucător important în dezvoltarea tehnologiei bateriilor cu stare solidă pentru vehiculele electrice. Compania este lider, cu peste 1.000 de brevete de baterii cu stare solidă. În 2019, Toyota și Panasonic au anunțat că formează o societate mixtă, Prime Planet Energy & Solutions Inc., cu scopul de a dezvolta și produce în serie baterii cu litiu cu stare solidă.

Problematica bateriilor Li-ion

Bateriile Li-ion sunt larg utilizare în dispozitivele electronice, dar există probleme asociate:

Degradarea: Ciclurile de încărcare/descărcare și temperaturile ridicate duc la scăderea capacității și a duratei de viață a bateriei. De exemplu, pentru curenții de încărcare / descărcare cu niveluri 0.5C/0.5C @ 21 ±2°C, speranța de viață este de minim 300 cicluri, la descărcări până la 70% din capacitatea C. Durata de viață: Depinde de mai mulți factori, cum ar fi solicitări mari de putere, încărcare și variații de temperatură.

Bateriile Li-ion actuale pot atinge o durată de viață de aproximativ 500-1000 de cicluri de încărcare / descărcare, dar capacitatea lor de stocare se reduce liniar, semnificativ. Temperaturile ridicate accelerează degradarea bateriei. O baterie Li-ion de calitate poate dura între 2 și 5 ani, în funcție de regimul de utilizare și de mediu.

Supraîncălzirea: Bateriile Li-ion se pot supraîncălzi la încărcare rapidă sau descărcare prin solicitări mari de curent, care duc la degradarea bateriei, explozie sau incendiu. Gama optimă de funcționare în care bateria oferă capacitatea maximă și durata de viață mare este 20 ... 25°C. Bateriile din vehiculele electrice sunt amplasate într-o cutie sigilată în partea de jos a mașinii și sunt conectate la un sistem de răcire forțată cu lichid sau cu aer. Astfel, se menține temperatura bateriilor într-un interval de 20 ... 30°C, când bateria se încarcă sau se descarcă. Sistemele de răcire forțată extrag căldura și mențin temperatura bateriilor la un nivel optim. Dar, consumă energie tot din baterie.

Probleme de siguranță: Bateriile Li-ion pot fi periculoase dacă sunt utilizate necorespunzător. Respectați instrucțiunile producătorului cu privire la montare, utilizare, regimuri de lucru și depozitare.

Pierderi de performanță în medii reci: Bateriile Li-ion au performanță redusă la temperaturi scăzute. Durata de viață a bateriei scade, iar încărcarea e incompletă.

Probleme de compatibilitate: Bateriile Liion trebuie să fie compatibile ca tensiunea și rata de descărcare ale dispozitivului electronic în care sunt utilizate.

Problematica bateriilor ‘solid state’ Tehnologia bateriei ‘solid state’ folosește material ceramic solid în loc de electroliți lichizi pentru a transporta curentul electric, făcând bateriile mai ușoare, mai rapid de încărcat și, în final, mai rentabile Aceasta poate stoca mai multă energie cu mai puține materiale și, la fabricație, reduce amprenta de carbon a unei baterii EV cu 24%.

Notă

O nouă baterie ‘solid state’ ce poate reține cu 72% mai multă energie în greutate și cu 95% mai multă energie în volum, decât bateriile comerciale cu Li-ion a fost anunțată de University of Texas at Austin. (Detalii în jurnalul online Advanced Materials, 23 februarie 2023).

Bateriile cu stare solidă necesită cu până la 35% mai mult Litiu decât tehnologia actuală a bateriilor Li-ion, dar folosesc mult mai puțin grafit și cobalt. Noile metode de exploatare, prin extragerea litiului cu sonde geotermale, au un impact semnificativ mai mic asupra climei decât mineritul utilizat frecvent, care extrage litiul din roci dure. Tensiunea unei celule de baterie cu stare solidă depinde de compoziția chimică a electrozilor și a electrolitului solid utilizat. Fiind în stadiul de cercetare - dezvoltare și de producție în masă, nu există o valoare standardizată pentru tensiunea unei celule de baterie ‘solid state’. Prin stabilizarea mecanic-constrictivă (presiune) a materialelor pentru catod s-a ajuns la tensiune de operare de până la 9V. Stabilitatea tensiunii electrolitului solid până la 10 V se realizează cu degradare minimă, cu mult peste capacitatea electroliților organici lichizi (max.4,5V). Tensiunea mare ar duce în utilizare la un curent scăzut, deci înseamnă un avantaj pentru cablarea cu fire din cupru mai subțiri în conexiunile din EV.

Bateriile cu stare solidă nu necesită întreținere. Nu este risc de scurgeri de electrolit, au bună stabilitate termică și o durată de viață mai lungă.

Bateriile solid state se încălzesc mai puțin decât bateriile cu electroliți lichizi în timpul încărcării și descărcării fiindcă electroliții solizi au o conductivitate termică mai mică decât cei lichizi.

Notă

Prima cea mai mare baterie Li-ion din lume este bateria Hornsdale Power Reserve din Australia. Instalația inițială construită de Tesla din 2017 a fost cea mai mare baterie Li-ion din lume, având acum o capacitate de stocare de 193,5 MWh. Stochează energie electrică de la turbine eoliene și panouri solare din regiunea Hornsdale și o furnizează când cererea de energie este mai mare decât producția. Pe primul loc, din august 2020, este bateria Li-ion Gateway Energy Storage, din Otay Mesa - San Diego, California. Utilizează celule de la firma LG Chem, având o capacitate de stocare de 250 MWh.

Electronica • Azi nr. 3 (273)/2023 50 50
⮞ Bateria
cu Litiu-ion
cu stare solidă Litiu-ion
SURSE ALIMENTARE
convențională
vs. bateriile

TDK CeraCharge - baterie cu stare solidă reîncărcabilă SMD

• Dimensiune EIA 1812

• Gamă temperatură: -20°C la +80°C

• Peste 1000 de cicluri de reîncărcare

• Plasare și procesare cu tehnici de lipire prin reflow

• Electrolitul ceramic solid exclude riscul de scurgere, incendiu, explozie

Aplicații: Dispozitive IoT, contoare inteligente, controlere PLC, senzori pentru casă inteligentă, ceasuri în timp real (RTC).

TDK ATL Baterie Li-ion Model 6860C5

Tensiune 3,0 ... 4,25V, capacitate ≥6800 mAh, Energie ≥ 235Wh/Kg, Dimensiuni 6,66×60×125 mm, Capacitate ≥ 99% @500 cicluri @ 25°C.

Aplicație: Drone.

Toyota - Prototip de baterie auto cu stare solidă; poate alimenta vehiculul electric până la 480 km (300 mile) cu o singură încărcare și se reîncărcă complet în doar 10 minute. Toyota va produce baterii cu stare solidă în cantitate suficientă sau la un preț suficient de mic pentru a fi competitivă.

51 www.electronica-azi.ro ECAS ELECTRO Bd. D. Pompei nr. 8, (clădirea Feper), 020337 București Tel.: 021 204 8100 | Fax: 021 204 8130; 021 204 8129 birou.vanzari@ecas.ro | office@ecas.ro www.ecas.ro SEMICONDUCTOARE APARATE ȘI DISPOZITIVE COMPONENTE PASIVE ȘI ELECTROMECANICE
ANALIZĂ | Baterii Solid State

Principalele probleme ca apar la fabricația bateriilor cu stare solidă

Producția de materiale: Materialele utilizate în bateriile cu stare solidă au proprietăți electrice, termice și mecanice specifice. Ele trebuie produse în cantități suficiente și la costuri reduse pentru a face tehnologia rentabilă comercial.

Procesarea materialelor: Procesele de prelucrare a materialelor trebuie să fie scalabile și realizate la costuri reduse.

Designul și fabricarea electrozilor: Electrozii trebuie să aibă o suprafață mare pentru a maximiza densitatea de energie a bateriei și să fie stabili în timpul ciclurilor de încărcare și descărcare a bateriei.

Fabricarea electrolitului: Electrolitul solid trebuie să asigure conductivitatea ionică adecvată și o rezistență electrică scăzută. Electrolitul trebuie să fie stabil chimic și termic și să nu producă reacții periculoase. Fabricarea celulelor: Celulele au forma constructivă care să asigure o durată de viață lungă și o siguranță mare.

Costul producției: Fabricarea bateriilor cu stare solidă este încă relativ costisitoare în comparație cu bateriile cu electroliți lichizi, dar avantajele sunt mari.

Notă

Tipuri de baterii Li-ion în EV. Bateriile vehiculelor electrice nu sunt toate la fel. Diferitele tehnologii ale bateriilor au avantajele și dezavantajele lor.

NMC/NCA: densitate energetică mai bună și performanță pe vreme rece, dar mai scumpe.

LFP: mai ieftine, mai durabile, mai sigure și au viață mai lungă, dar sunt mai grele și acoperă o distanță mai mică.

(Baterii: Li-NMC - Nickel-manganese-cobalt; Li-NCA - Nickel-cobalt-aluminium; LFP - Lithium-ferro-phosphate).

Vehicule Electrice (EV - Electric Vehicle) Întrebări: Costul bateriei? Randamentul?

Costul bateriei. În general, costul bateriei poate reprezenta între 30% și 50% din costul total al mașinii electrice, în funcție de model. Deși costul bateriilor a scăzut în ul timii ani, acestea rămân, încă, relativ, scumpe în comparație cu alte componente ale EV, cum ar fi motorul electric sau șasiul. Randamentul unui EV. Ca și la motorul pe benzină poate varia în funcție de: modul de conducere, condițiile de mediu, performanțele vehiculului, caracteristicile tehnice și altele. Vehiculele electrice sunt considerate mult mai eficiente decât cele cu motor pe benzină, fiindcă o parte mai mare din energia bateriilor mișcă vehiculul.

Vehiculele cu motor pe benzină pierd o mare parte din energie prin procese de ardere și prin fricțiune.

Conform unui studiu al Departamentul de Energie al SUA, randamentul vehiculelor electrice este de aproximativ 60-80%. Randamentul vehiculelor cu motor pe benzină este de aproximativ 20-30%.

Vehiculele electrice nu emit gaze de eșapament și sunt mai silențioase decât cele cu motor pe benzină, deci se reduc poluarea și zgomotul în mediul urban. Cu toate acestea, există anumite situații în care un vehicul cu motor pe benzină poate avea un randament mai bun decât unul electric, cum ar fi în condiții de drumuri lungi, în zone greu accesibile sau în medii foarte reci.

Bateriile Li-ion se pot recicla. Procesul de reciclare a bateriilor Li-ion implică extragerea metalelor prețioase, cum ar fi litiul, cobaltul și nichelul, din celulele bateriilor și reutilizarea acestora.

Reciclarea bateriilor Li-ion are beneficii: (1) reduce cantitatea de deșeuri electronice care ajung în depozite de deșeuri și în mediu; (2) reduce atât dependența de sursele de materii prime cât și costurile de producție pentru bateriile noi.

Procesul de reciclare a bateriilor Li-ion este complex și costisitor. De aceea, producătorii și utilizatorii de baterii iau în considerare reciclarea, încă de la proiectarea și utilizarea bateriilor. Producători auto, precum Volkswagen, oferă bateriile scoase din uzul EV ca “bancă de putere”

Solid Power produce o celulă de baterie litiu-ion cu stare solidă de 20 Ah pe o linie pilot de mare volum, folosind echipamente standard în industrie. Celulele Solid Power pe bază de sulfuri oferă peste 50% mai multă densitate energetică. Celulele au fost validate de BMW Group și Ford în anul 2020, iar ambele companii au primit celule de 100 Ah, la scară largă, pentru testarea calificării auto și dezvoltarea viitoarelor vehicule începând cu 2022.

În sistemele solare fotovoltaice, se folosesc de obicei baterii de stocare a energiei pentru a păstra energia electrică generată de panourile solare în timpul zilei, astfel încât să poată fi utilizată mai târziu, când soarele nu mai strălucește sau când cererea de energie este mai mare. Cele mai comune tipuri de baterii folosite în sistemele solare fotovoltaice sunt bateriile Pb-acid (nu de tip auto) și bateriile Li-ion. Bateriile Pb-acid sunt mai ieftine și disponibile într-o varietate de dimensiuni și capacități, dar durata de viață e mai scurtă, sunt grele și mai puțin eficiente decât bateriile Li-ion. Bateriile Li-ion sunt mai scumpe, dar mai eficiente și au o densitate mai mare a energiei, ceea ce le face ideale pentru aplicațiile solare unde spațiul și greutatea sunt critice.

Celulele cu litiu degenerează destul de liniar, până coboară la 75% (ducând la o reducere vizibilă a autonomiei unui EV)acestea mai pot fi funcționale câțiva ani, dar au o capacitate redusă.

La un EV, greutatea suplimentară fără putere înseamnă o reducere a autonomiei. Dar pentru o casă, este logic de reutilizat acele celule într-un “power bank” - mai ales că cerințele majorității caselor sunt mult mai mici decât în cele mai bune vehicule electrice.

Multe case folosesc 10 Kwh pe noapte sau mai puțin, iar un acumulator de 100 Kwh de mașină, chiar și la 75% din capacitatea sa inițială, va alimenta o casă chiar o săptămână.

Electronica • Azi nr. 3 (273)/2023 52
⮞ SURSE ALIMENTARE

Utilizarea casnică e puțin solicitantă (acumulatorul “uzat” extras din EV va dura mai mult în noul său rol de “power bank”), plus că permite reutilizarea de baterii vechi, fără a fi nevoie de o “reciclare completă”.

Nu există o singură firmă care să producă cele mai bune baterii în general, deoarece există multe tipuri diferite de baterii și aplicații în care acestea sunt utilizate.

Tesla este unul dintre liderii în dezvoltarea și producția de baterii pentru mașini electrice. Compania a dezvoltat propriul său sistem de baterii Li-ion, numit “Tesla Battery”, care utilizează o combinație de tehnologii avansate, inclusiv celule de baterie de înaltă densitate și sisteme de gestionare inteligentă a bateriilor.

Bateriile pentru aplicații solare. Există o serie de producători cu renume care oferă o gamă largă de soluții de stocare a energiei solare, inclusiv LG Chem, Panasonic, BYD, Tesla și multe altele.

În general, calitatea și performanța bateriilor depind de multe variabile, iar decizia de a utiliza o anumită marcă sau model de baterie depinde de necesitățile specifice ale fiecărei aplicații și de preferință.

Firma Jauch (Germania) produce și comercializează baterii Li-ion eficiente energetic, durabile și fiabile pentru diverse aplicații. Bateriile Li-ion de la Jauch sunt disponibile în diferite dimensiuni și capacități, de la baterii miniaturale, până la baterii mari pentru aplicații industriale și de stocare a energiei. Jauch oferă și baterii personalizate și soluții de sistem de stocare a energiei solare și eoliene, vehicule electrice, dispozitive medicale și altele. În general, Jauch este considerat un producător de încredere în domeniul bateriilor

Li-ion și are o reputație solidă în industrie pentru calitatea produselor și serviciilor oferite clienților săi.

TDK Corporation produce și comercializează o gamă largă de baterii și acumulatori pentru diverse aplicații. TDK este cunoscut în principal ca un producător de componente electronice și electromagnetice, dar compania are, de asemenea, o divizie de baterii care produce și comercializează baterii sub brandul TDK.

Bateriile Li-ion sunt fabricate de Amperex Technology Limited (ATL), o companie a TDK Corporation. Aceste baterii sunt, în principiu, produse personalizate. ■

ANALIZĂ | Baterii Solid State

În Europa există mai mulți producători de baterii Li-ion de renume, printre care se numără:

Northvolt – companie suedeză, producătoare de baterii Li-ion de înaltă performanță pentru aplicații industriale și de transport.

BMZ Group – companie germană producătoare de baterii Li-ion pentru aplicații industriale, medicale și de mobilitate electrică.

Saft – companie franceză, specializată în baterii Li-ion și alte tehnologii avansate de stocare a energiei pentru aplicații industriale și de transport.

ACCUMALUX – companie belgiană producătoare de baterii Li-ion pentru aplicații industriale și medicale.

Leclanché – companie elvețiană producătoare de baterii Li-ion pentru aplicații de stocare a energiei și de mobilitate electrică.

Acești producători de baterii Li-ion din Europa dezvoltă și produc baterii de înaltă performanță, cu durată de viață lungă și un randament ridicat. Bateriile sunt utilizate în aplicații industriale, stocarea energiei regenerabile, echipamente medicale și transport electric.

Despre autor:

Jauch: Soluții personalizate de baterii, conform specificațiilor individuale. Are sistem de management al bateriei care garantează funcționarea sigură și fiabilă.

Dl. Constantin Savu − Director general al firmei ECAS Electro − este inginer electronist cu o experiență de peste 30 ani în domeniul componentelor electronice și al selectării acestora pentru aplicații. Fiind bun cunoscător al componentelor și al tehnologiei de fabricație a modulelor electronice cu aplicații în domeniile industrial și comercial, coordonează activitatea de producție în cadrul Felix Electronic Services.

ECAS Electro (www.ecas.ro) este distribuitor al produselor TDK și Jauch

Referințe WEB

• https://www.openpr.com/news/2644467/solid-state-battery-market-key-segment-key-companies-growth

• https://www.energymonitor.ai/tech/ev-manufacturers-increasingly-turning-to-solid-state-batteries-appleyard-lees

• https://www.dnv.com/to2030/technology/are-solid-state-batteries-the-holy-grail-for-2030.html

• https://ai4beginners.com/solid-state-battery-companies

• https://pveducation.org/pvcdrom/battery-characteristics/battery-capacity

• https://spectrum.ieee.org/tag/solid-state-batteries

• https://www.transportenvironment.org

• https://www.jauch.com/en-GB/home

• https://www.atlbattery.com/en/details.html?product=uav

https://www.tdk.com/en/index.html

Detalii tehnice : Emil Floroiu | emil@floroiu.ro birou.vanzari@ecas.ro

53 www.electronica-azi.ro

Ghid pentru CPU și Microprocesoare

Acest ghid prezintă diferite aspecte cheie ale procesoarelor și microprocesoarelor, inclusiv cum să alegeți unul în funcție de nevoile voastre specifice de utilizare. De asemenea, vor fi definite procesoarele și microprocesoarele, se vor explica diferențele dintre ele și se vor prezenta elementele de bază ale modului în care funcționează. Parcurgând acest material, veți ști câteva dintre lucrurile cheie de luat în considerare atunci când cumpărați microprocesoare online și cum să alegeți cel mai bun procesor pentru aplicația dorită. Pe parcursul ghidului, ne vom referi la cipurile găsite în computerele desktop și laptop ca bază pentru înțelegerea subiectului. Cu toate acestea, rețineți că principiile generale ale formei și funcției CPU și microprocesorului vor fi aproape aceleași pentru toate tipurile de dispozitive electronice care le conțin.

Ce este un CPU?

Termenii CPU și microprocesor sunt adesea folosiți interschimbabil. Acest lucru are sens în multe privințe, deoarece tehnologia modernă a permis ca funcții puternice de procesare să fie conținute în pachete (cipuri) mult mai mici și mai compacte. Cele mai multe procesoare de calitate pentru consumatori sunt acum fabricate și vândute ca microprocesoare.

Cu toate acestea, deși CPU și microprocesor sunt adesea folosite pentru a se referi la aceeași componentă, este important să înțelegeți că nu sunt întotdeauna același lucru. În următoarea secțiune a acestui ghid, vom acoperi diferențele tehnice dintre definiția unui CPU și a unui microprocesor.

De la ce vine notația CPU?

Pentru început, să clarificăm ce este un procesor, deoarece acest lucru ne va oferi o

mai bună înțelegere a modului exact în care se raportează la un microprocesor. CPU înseamnă unitate centrală de procesare, care uneori este scrisă ca unitate centrală de procesor sau, adesea, pur și simplu procesor. CPU sau procesorul este o piesă mică, dar extrem de importantă a circuitelor electronice, care operează și controlează o întreagă gamă de hardware de computer. În esență, acesta poate fi considerat creierul sistemului vostru - fie că este vorba despre un computer desktop sau laptop, sau orice alt dispozitiv electronic care necesită un procesor pentru a funcționa.

Într-adevăr, gândindu-ne la procesor ca fiind creierul sistemului ar trebui să ne ajute să răspundem la întrebarea de ce are nevoie un computer de un procesor?

CPU este responsabil pentru executarea întregii game de operațiuni și programe pe care le poate efectua un computer. Se ocupă de toate funcțiile de bază aritmetice, logice și de intrare și ieșire ale dispozitivului.

Până la instalarea unui CPU, niciuna dintre celelalte componente ale sistemului nu va putea să-și îndeplinească rolurile sau să comunice între ele. Chiar și atunci când sunt conectate la o sursă de alimentare, alte componente hardware, cum ar fi RAM, plăci grafice separate și hard disk-uri vor fi efectiv inutile fără un procesor care să le controleze. Cu toate acestea, în timp ce un procesor este o componentă vitală a unui computer care funcționează, este doar o mică parte a circuitului de bază al dispozitivului. Multe alte tipuri de circuite și tranzistoare sunt necesare pentru a permite comunicarea completă între CPU și restul sistemului. În trecut, acestea trebuiau, adesea, găzduite separat din cauza limitărilor în spațiul fizic și a distribuției energiei. Cu toate acestea, progresele moderne în microtehnologie au dus la micșorarea considerabil a multor CPU-uri moderne. Ca rezultat, ele sunt acum plasate direct alături de alte circuite cheie pe un singur circuit integrat (IC), cunoscut sub numele de microprocesor.

Electronica • Azi nr. 3 (273)/2023
54
ROLUL LOR ÎN CADRUL UNUI SISTEM, CE FAC ȘI CUM LUCREAZĂ

Ce este un microprocesor și ce legătură are acesta cu CPU-urile? În majoritatea calculatoarelor de acasă sau de birou de astăzi, CPU-ul este găzduit alături de alte circuite cheie într-un singur cip de siliciu multifuncțional. Același lucru este valabil și pentru multe alte tipuri de dispozitive și sisteme electronice inteligente. Acest singur cip este, de obicei, denumit microprocesor (sau uneori cip logic). Un microprocesor va conține, de asemenea, numeroase alte tranzistoare, circuite și componente, fiecare proiectat pentru a gestiona sau facilita diferite funcții cheie în cadrul sistemului mai larg.

Din acest motiv, un microprocesor este un tip de circuit integrat (IC). Deoarece majoritatea procesoarelor moderne sunt acum construite și găzduite pe circuite integrate cu un singur cip în acest fel, termenii CPU și microprocesor au devenit oarecum interschimbabili. În ciuda acestui fapt, este de remarcat faptul că, în timp ce majoritatea procesoarelor sunt acum furnizate ca microprocesoare, nu toate microprocesoarele sunt procesoare.

Circuitele integrate cu microprocesor sunt, de asemenea, folosite pentru a găzdui alte tipuri de circuite, cum ar fi GPU-uri (unități de procesare grafică) discrete. Multe computere moderne, de exemplu, folosesc plăci grafice dedicate pentru a gestiona randarea și afișarea rezultatului extern de la procesorul central. Aceste plăci grafice discrete vor avea, de asemenea, circuite integrate cu microprocesor, dar cu un GPU mai degrabă decât un procesor.

Pe scurt, un microprocesor poate avea sau nu un procesor, alături de alte tranzistoare și circuite pentru gestionarea mai multor operațiuni ale sistemului. Acolo unde este prezent un procesor, microprocesorul oferă căi pentru a comunica direct cu restul hardware-ului computerului.

SoC (Sistem pe cip)

Un microprocesor cu un CPU la bord este adesea numit SoC sau ‘system-on-chip’. Acestea prezintă, adesea, diverse alte componente cheie, cum ar fi memoria integrată sau interfețele periferice și pot executa funcții și programe în întregul sistem al unui dispozitiv. Datorită acestei capacități multifuncționale, microprocesoarele sunt, adesea, potrivite pentru utilizare independentă în dispozitive electronice mai mici sau mai puțin complexe, precum și în multe computere moderne. Trebuie remarcat că microprocesoarele nu trebuie confundate cu microcontrolere, acestea fiind o versiune redusă a unui principiu similar. Microcontrolerele sunt cipuri mult mai limitate, frecvent găsite în dispozitivele programate să îndeplinească o singură funcție de bază în mod repetat.

Explicații CPU

Ce face un microprocesor?

Răspunsul la această întrebare poate fi destul de simplu sau extrem de complex, în funcție de profunzimea explicației. Ca rezultat, ne vom concentra pe conturarea elementelor de bază ale construcției și utilizării acestora.

www.electronica-azi.ro
55

CE FACE UN CPU?

Un procesor gestionează și execută toate instrucțiunile necesare pentru a rula un program. Aceasta include calcule aritmetice și logice de bază (adunare/scădere/ȘI-SAU), numeroase funcții de control și decizii cheie de intrare/ieșire (I/O). Setul de instrucțiuni de bază al procesorului este conectat în circuitul său, reprezentat de biți (cifre binare) care se combină pentru a forma un limbaj de mașină sau un cod operațional.

CUM LUCREAZĂ UN CPU?

Componentele discrete din CPU sunt fiecare alocate pentru sarcini specifice, adesea grupate ca preluare, decodare sau execuție.

ALU (unitatea logică aritmetică) se ocupă de calcule, în timp ce registrul procesorului stochează și încarcă datele operaționale cheie pentru o recuperare rapidă. Între timp, unitatea de control (controlerul CPU) gestionează interacțiunile dintre componentele discrete, permite preluarea din memorie și permite executarea multor instrucțiuni rapide.

ARHITECTURA MICROPROCESOARELOR

Când proiectați și construiți un microprocesor, există anumite limitări ale complexității generale pe care o puteți obține pe un singur IC. Acestea includ spațiul disponibil pentru tranzistoare, câte terminații de capsulă (conexiuni) poate suporta la alte componente ale sistemului și cantitatea de căldură generată pe care o poate disipa. Tehnologia modernă IC permite ansambluri de tip sistem pe cip (SoC) mult mai complexe într-un singur microprocesor, decât a fost posibil până acum. Aceasta include avansarea rapidă de la limbajele CPU pe 8biți și pe 16-biți la scrierea de astăzi pe 32- și 64-biți. De asemenea, acum pot încorpora pe deplin multe comportamente cablate care, cândva, trebuiau abordate folosind software extern. În plus, generațiile succesive cu dimensiuni din ce în ce mai mici ale pastilei procesorului, înseamnă că un număr mai mare de alte componente pot fi grupate pe același IC. Tranzistoarele pentru memoria cache a procesorului sau controlere suplimentare permit procesarea și recuperarea mult mai rapidă a instrucțiunilor complexe și a seturilor de date. Similar, procesoarele proiectate ca procesoare multi-core pentru uzul consumatorilor sunt, acum, disponibile pe scară largă. Acestea sunt microprocesoare puternice, cu mai multe nuclee de procesor (circuite CPU integrate multiple)

Acestea permit executarea mai multor funcții simultane decât era posibil anterior la aceeași putere și temperatură (denumită putere de proiectare termică sau TDP).

ISTORIA CPU

În ceea ce privește procesoarele de calitate pentru consumatori, pentru utilizare în majoritatea computerelor desktop și laptop-uri,

Intel Core și AMD sunt cei mai mari și mai cunoscuți producători actuali. Procesoarele pentru desktop Intel Core utilizate pe scară largă includ diverse generații de cipuri i3, i5, i7 și i9, în timp ce echivalentele populare de procesoare pentru desktop AMD includ familiile Athlon și Ryzen. Cu toate acestea, procesoarele există într-o formă sau alta de la sfârșitul anilor 1940. Cele mai vechi tipuri de procesoare erau foarte diferite de ceea ce am recunoaște astăzi drept un adevărat procesor desktop, construit din mii de dispozitive de comutare, cum ar fi tuburi de vid și relee. Versiunile foarte timpurii (inclusiv faimosul Manchester Baby) au funcționat pe post de computere cu programe stocate. Acestea au fost urmate de dezvoltarea CPU-urilor cu tranzistoare de-a lungul anilor 1950 și 1960, dar abia după dezvoltarea IC-urilor timpurii, la sfârșitul anilor 1960, am început să ne îndreptăm către procesoare cu integrare la scară mică și mare. Prima tehnologie reală de microprocesorun design Intel cu un singur cip - a devenit disponibilă comercial în 1971. Până în 1975, tendințele observabile în dezvoltarea microprocesoarelor au dat naștere regulii generale specifice industriei, cunoscută sub numele de Legea lui Moore. Această predicție a susținut că numărul de componente (tranzistoare) care ar putea fi montate pe un singur circuit integrat s-ar dubla aproximativ în fiecare an. Deși imposibilitatea miniaturizării subatomice înseamnă că această regulă trebuie în cele din urmă dovedită falsă, ea a rămas în mare măsură exactă până în prezent. Cu alte cuvinte, evoluțiile în procesoarele moderne continuă să fie exponențiale, până în prezent. Interesant este că, în ciuda progreselor uriașe ale arhitecturii microprocesoarelor, complexității și metodelor de construcție de-a lungul deceniilor, designul de bază și funcția CPU-urilor moderne rămân în mare parte aceleași ca în generațiile anterioare. Ele încă funcționează pe baza unui ciclu de instrucțiuni fundamentale, adică o serie standard de pași de preluare, decodare și execuție. Dimensiunea redusă a pastilei de siliciu, controlerele de memorie îmbunătățite și memoria cache mai mare a CPU înseamnă, pur și simplu, că acești pași pot fi finalizați mai repede ca oricând.

TESTE DE PERFORMANȚĂ CPU

Prin benchmark CPU se înțelege un tip specific de test de performanță. De obicei, testarea este efectuată pentru a oferi date importante despre cât de bine poate funcționa un cip. Benchmark-urile sunt utilizate pe scară largă în industriile IT pentru a valida sau prezenta diferite valori cheie de performanță a procesorului.

Testarea de performanță presupune trecerea unui microprocesor printr-o serie de teste sintetice de anduranță și viteză. Acestea sunt programe create pentru a stresa procesorul, plasându-l în mod deliberat sub o sarcină ridicată susținută. Majoritatea utilizatorilor finali vor experimenta doar creșteri periodice ale cererii în timpul utilizării normale, motiv pentru care astfel de teste sunt adesea denumite sintetice. Benchmarkingul de precizie poate prezenta o provocare semnificativă, datorită diferitelor proprietăți inerente ale siliciului, arhitecturii cipurilor și electronicii. Pentru ca testele să fie utile pentru orice utilizare comercială sau științifică reală, ele necesită mai multe execuții în condiții strict controlate și monitorizate îndeaproape.

Când sunt realizate în mod responsabil, rezultatele testelor de performanță pot oferi o modalitate utilă de a compara diferite mărci de microprocesoare sau arhitecturi

CPU în ceea ce privește performanța maximă absolută. În schimb, pentru a avea rezultate mai bune, rezultatele analizei comparative concurente pot implica “overclockarea” componentelor (creșterea frecvenței de ceas de bază, forțându-l să accepte valori mai mari decât cele specificate, riscând defecțiuni sau deteriorare), ceea ce nu este o comparație reală.

În aceste scenarii, considerații importante, altele decât vitezele de calcul brute, sunt ignorate în mod obișnuit. Ca atare, aceste tipuri de teste ar trebui să fie întotdeauna luate în considerare alături de alți factori atunci când alegeți și cumpărați un procesor. Fiabilitatea globală a produsului și valoarea performanței la sarcini normale ar trebui să fie întotdeauna prioritare față de cifrele de referință.

ÎNȚELEGEREA FRECVENȚEI DE CEAS A CPU

Viteza CPU sau mai exact frecvența de lucru a CPU este o măsură a câte cicluri poate rula un procesor pe secundă. Măsurată la o frecvență de ordinul megaherți (MHz) sau gigaherți (GHz), frecvența de ceas oferă o indicație generală a vitezei maxime a procesorului. Fiecare ciclu implică milioane sau miliarde de tranzistoare care se deschid și se închid în secvență, în funcție de setul specific de instrucțiuni care se execută. O frecvență de MHz sau GHz la evaluarea frecvenței de ceas indică de câte ori un procesor poate rula aceste cicluri într-o secundă. Frecvența MHz indică o citire de milioane de ori pe secundă, în timp ce frecvența GHz indică o citire în miliarde. Frecvențele de ceas mai mari înseamnă, în general, un procesor mai rapid. Există totuși avertismente aici, deoarece diferitele arhitecturi ale microprocesorului afectează, de asemenea, cât de mult are nevoie fiecare ciclu.

Electronica • Azi nr. 3 (273)/2023 ⮞ 56 MICROPROCESOARE

Un procesor mai nou construit pe o arhitectură mai modernă ar putea funcționa mai rapid în termeni reali decât un model mai vechi, care susține o frecvență de ceas mai mare, deoarece este probabil să împartă sarcinile pe mai multe nuclee și să beneficieze de o memorie cache a CPU mai mare.

CUM SE ALEGE UN CPU

A ști cum să alegi procesorul potrivit pentru nevoile tale înseamnă adesea înțelegerea echilibrului. Trebuie să realizați un echilibru între propriile nevoi de performanță și costuri și, de asemenea, să optimizați alegerea voastră de microprocesor cu celelalte componente din dispozitiv sau sistem. Acestea înseamnă lucruri diferite pentru utilizatori diferiți, dar se vor rezuma la o chestiune de valoare. Ce microprocesor oferă cea mai bună valoare pentru ceea ce încercați să realizați?

CUM SE CAUTĂ CPU În primul rând, gândiți-vă la ce trebuie să facă sistemul. Nu are rost să cumperi componente CPU extrem de puternice, cu 16 nuclee, 32 de nuclee sau chiar 64 de nuclee pentru gestionarea sarcinilor de bază. Pe de altă parte, o investiție inițială poate fi asiguratoare pe termen lung dacă trebuie să gestionați în mod regulat sarcini care necesită un procesor puternic. Exemplele ar putea include analiza datelor, indexare puternică sau orice alte aplicații care vor beneficia direct de performanța puternică‘multi-threaded’. În al doilea rând, luați în considerare celelalte componente din dispozitivul sau sistemul vostru. Va trebui să echilibrați prețul, performanța și puterea procesorului vostru față de acestea. Ceea ce încercați să evitați aici este blocarea sau limitarea severă a performanței oricărei componente cu alta. Un procesor “low-end”, de exemplu, ar putea avea dificultăți să țină pasul cu un GPU puternic. Acesta este un exemplu de blocaj, în care componenta mai slabă o reține pe cea mai puternică în unele aplicații. Amintiți-vă că orice computer va putea îndeplini anumite sarcini numai la capacitatea superioară a celei mai slabe verigi din lanțul său. Este important să țineți cont de acest lucru atunci când încercați să găsiți cel mai bun CPU pentru nevoile și sistemul vostru. Nu doriți să ajungeți cu un dezechilibru care limitează sever performanța oricărei componente. În schimb, încercați să alegeți unele care au viteze și capacități mai asemănătoare.

Furnizăm mărci de microprocesoare de top, inclusiv Broadcom Pi, Microchip, NXP, Renesas Electronics, Seeed Studio și Zilog.

Pentru mai multe informații vă invităm să accesați www.ro.rsdelivers.com.

Autor: Grămescu Bogdan

■ Aurocon Compec

www.compec.ro

LABORATOR | Ghid practic: CPU și Microprocesoare

Microprocesor Cortex RZ/A3UL 64-biți MPU 1GHz RZ/A3UL furnizează performanțe semnificative, inclusiv o frecvență de operare de 1GHz și abilitatea de conectare la memoria RAM de mare viteza DDR3L/DDR4. Suplimentar caracteristicilor de performanță, RZ/A3UL este un dispozitiv “entry-level”, oferind o soluție economică pentru echipamente HMI, porți IoT, precum și echipamente audio. Caracteristici tehnice

• Soluție economică bazată pe o frecvență de operare ridicată de 1GHz pe un CPU de 64-biți

• Compatibilitate cu RTOS importante – Azure RTOS

și FreeRTOS

• Permite construcția de sisteme compacte și economice cu un startup bazat pe RTOS rapid

Nr. stoc RS 249-4134

Marca

Renesas Electronics

Cod producător

R9A07G063U01GBG#AC0

• Libertate de a alege între interfețe de memorie DDR3L/DDR4 sau Octal-SPI, în funcție de care se potrivește mai bine designului de produs

• Interfața de memorie Octal-SPI permite dimensiuni compacte și cost redus, datorat numărului mai mic de straturi necesare pe PCB.

Aplicații: camere simple/interfețe om mașina simple în aparate casnice și display-uri industriale; puncte de vânzare (POS); controler / gateway IoT; sisteme de sunet.

Microprocesor Microchip SAM9X60D1G-I/LZB, ARM926EJ-S SAM9X60 600MHz SAM9X60 este un microprocesor integrat (MPU) bazat pe procesor CPU ARM926EJ-S, de înaltă performanță, ultra-joasă putere, ce rulează până la 600 MHz. SAM9X60 suportă diferite interfețe NVM, incluzând NAND Flash, Quad SPI și eMMC Flash. Dispozitivul integrează periferice puternice pentru conectivitate și aplicații de interfațare cu utilizatorul. El oferă funcții de securitate moderne precum capabilitate Secure Boot cu stocare sigură a cheilor pe cip (OTP), accelerator de criptare de înaltă performanță (SHA, AES și TDES), precum și pini de manevrare. Microchip oferă pentru diferite configurații de surse de alimentare, soluții de management energetic complet testate, respectând specificațiile de secvențiere a alimentării SAM9X60.

Cost redus al sistemului și Valoare ridicată a integrării:

• Nucleu 600MHz ARM926EJ-S, sistem/ magistrală de memorie 200MHz

• 32 kB cache de date și 32kB cache pentru instrucțiuni Memorii:

• Magistrală de date 16-biți DDR

• Memorie internă 64 kB SRAM Capabilitate îmbunătățită de interfațare cu utilizatorul:

• Controler LCD 24-biți cu o rezoluție de până la 1024×768

• Motor grafic 2D, interfață cameră

• Amplificator integrat Clasă D Număr ridicat de opțiuni de conectivitate:

• Dual 10/100 Ethernet, Dual CAN, Dual SD Card/eMMC

Nr. stoc RS 249-9776

Marca

Microchip

Cod producător SAM9X60D1G-I/LZB

• Două High-speed USB Host + Un High-speed Host sau Dispozitiv

• 13 FLEXCOM (USART, SPI și I²C)

Microprocesor NXP MCIMX6Q5EYM10AC, ARM Cortex

A9 i.MX6 32-biți MPU 1GHz 624-Pin FCPBGA

Caracteristici tehnice

de instrucțiuni MPU

Tensiune I/O 2,8V

Tip capsulă FCPBGA

Tensiune de operare tipică 1,5V

Frecvență maximă/lățime magistrală de date 1GHz / 32-biți

Dimensiuni / nr. pini 21mm × 21mm × 2mm / 624

Domeniul temperaturii de operare -20°C ... + 105°C

Nr. stoc RS

169-7284 Marca NXP

Cod producător MCIMX6Q5EYM10AC

Procesorul de aplicație i.MX 6 Dual/6 Quad este caracterizat de implementarea avansată a nucleului quad ARM® Cortex®-A9, care operează la viteze de până la GHz. Procesoarele includ o interfață de memorie de 64-biți DDR3/LVDDR3/LPDDR2-1066, precum și alte interfețe pentru conectare WLAN, Bluetooth®, GPS, hard drive, display-uri și senzori pentru camere. Printre alte caracteristici cheie ale i.MX 6 Dual/6 Quad sunt și grafica 2D și 3D, procesarea video 3D 1080p și managementul energetic integrat. Aplicațiile includ netbook-uri, nettop-uri, dispozitive mobile de înaltă clasă, PDA-uri, media playere portabile cu capabilitate video HD, console de jocuri și dispozitive portabile de navigare.

57 www.electronica-azi.ro
Nucleu / nume familie ARM Cortex A9 / i.MX6 Arhitectura setului

Când avem de-a face cu controlul automat al prezenței în intralogistică și procesele de împachetare, sarcina unui sistem de senzori este de a detecta precis diverse obiecte. Operarea senzorului, inclusiv montajul acestuia, alinierea și ajustările necesare, trebuie să fie rapide și simple, în special dacă trebuie montat un număr mare de senzori. De aceea, standardizarea și adaptarea senzorului în aplicațiile utilizatorilor sunt extrem de importante pentru realizarea unui sistem eficient.

Leuze a realizat o generație de senzori optimizată pentru aceste cerințe.

Noua serie 5B Leuze. Foarte economică. Ușor de integrat.

Avantajele utilizatorului

■ Carcasa: Nouă, compactă (dimensiuni W × H × L: 11 mm × 32.4 mm × 20 mm) – compatibilă la înlocuirea seriilor anterioare – ideală pentru spații înguste.

Certificată

IP 67 și ECOLAB

■ Montaj: Rapid și ușor, prin inserții metalice filetate M3

■ Punere în funcțiune: Indicator LED vizibil 360° pentru indicarea stării senzorului. Aliniere rapidă datorită luminii emise, vizibilă și omogenă

■ Operare: Aliniere și ajustare ușoară utilizând un potențiometru integrat

■ Detecție precisă a obiectelor depolarizante: Performanță optimizată pentru detecția obiectelor reflexive, lucioase și înfoliate

■ Conexiune electrică: Adaptare la cerințele clientului datorită diverselor posibilități de conectare (exemplu, cablu, conector M8, conector + cablu, ...)

■ Frecvența de comutare: Îmbunătățită pentru senzorii în configurație emițător – receptor, de până la 900 Hz, pentru a asigura performanțe ridicate și rezervă de funcționare suficientă

Principii de operare disponibile

Caracteristici

Montaj economic

Pentru un număr mare de senzori montați pe conveioare, cel mai important aspect din punct de vedere economic îl reprezintă timpul de montaj, punerea în funcțiune și costul redus de montaj.

Montajul și prinderea simplă prin cele două orificii metalice filetate M3 ajută la o punere în funcțiune rapidă de către utilizator.

Carcasa miniaturală facilitează, de asemenea, montajul în spații înguste.

Electronica • Azi nr. 3 (273)/2023 58
Senzori cu un raport preț/calitate convigător pentru linii conveioare și industria de împachetare
Controlul prezenței în intralogistică și procesele de împachetare cu noua serie 5B de la Leuze
Senzor optic difuz Senzor optic emițător – receptor Senzor optic retro-reflexiv

În funcție de preferințele utilizatorului sau cerințele aplicației, se pot alege diferite tipuri de conexiuni electrice, de exemplu, conector M8, cablu turnat sau cablu turnat scurt + conector.

Punere în funcțiune și aliniere rapidă

Exemple de aplicații Controlul prezenței în intralogistică utilizând senzori retro-reflexivi

Indicatorul LED 360° asigură o instalare ușoară și o vizibilitate clară asupra stării senzorului. Prin simplitatea punerii în funcțiune se câștigă timp și, prin urmare, costurile finale scad. Noua serie 5B dispune și de senzori cu reglaj prin potențiometru integrat, pentru ajustarea fină a detecției.

Așadar, senzorul poate fi adaptat simplu la condiții noi de detecție în aplicație. În plus, comutarea lumină/întuneric a ieșirii de comutare poate fi realizată ușor, prin conexiunea electrică.

Detecție fiabilă chiar și pentru obiecte depolarizante

Cerință: Într-un centru de intralogistică, diferite recipiente și cutii sunt transportate apropiat pe un conveior cu role. Mai mult, unele cutii sunt înfoliate. Toate obiectele trebuie detectate precis. Punerea în funcțiune a senzorilor trebuie să fie simplă și rapidă, la fel alinierea și ajustarea acestora. Lumina senzorului optic trebuie să fie vizibilă.

Soluție: Prin construcția compactă, senzorii seriei 5B de la Leuze pot fi montați pe conveioare aflate în proximitate. Senzorii se montează ușor și sigur prin orificiile metalice

M3. Alinierea este rapidă și simplă datorită luminii vizibile și omogene emise de către senzor pe reflector, iar starea senzorului se poate vedea din orice unghi prin indicatorul LED. Ajustarea senzorului se face prin potențiometru, iar optimizarea senzorului pentru obiecte lucioase și înfoliate garantează o detecție precisă a acestora.

Controlul prezenței în sisteme de împachetare folosind senzori optici emițător – receptor

În sistemele cu conveioare sau de depozitare, se întâmplă frecvent ca paleții, cutiile sau alte recipiente să fie învelite în folie, ceea ce reprezintă o provocare pentru sistemele cu senzori optici. Cu noua serie 5B, Leuze oferă și modele de senzori optimizate pentru aceste tipuri de aplicații.

Acești senzori garantează o detecție sigură chiar și pentru obiecte lucioase sau înfoliate.

Cerință: La un producător din industria alimentară, se realizează împachetarea chipsurilor. Pachetele sunt transmise pe un conveior unde acestea trebuie să fie detectate precis. Lumina senzorului trebuie să fie vizibilă. Starea senzorului trebuie, de asemenea, să fie vizibilă de la o distanță de 2 m. Soluție: Noul senzor din seria 5B poate fi, de asemenea, montat orizontal pe conveior, lumina acestuia fiind în continuare vizibilă. Datorită indicatorului LED 360°, starea senzorului rămâne vizibilă chiar și de la distanță. Avantajul utilizarii senzorilor emițător – receptor îl reprezintă rezerva mare de funcționare. Aceasta asigură detecție stabilă în medii cu impurități și risc redus pentru oprirea liniei. Mai mult, seria 5B are o frecvență de comutare optimizată de 900 Hz. www.oboyle.ro

59 www.electronica-azi.ro

Siguranță industrială cu Sistemul LBK

Barieră volumetrică liniară de siguranță. Sistemul LBK a fost creat pentru utilizarea în jurul utilajelor și a ariilor automatizate cu risc ridicat de accidentare, realizând protecția perimetrală sau detecția accesului personalului. Sistemul de siguranță volumetric

SIL2 a fost conceput ca o soluție economică, utilizând senzori radar inteligenți FMCW, cu arii de prezență dinamică configurabile (arie de avertizare + arie de pericol). Potrivit pentru utilizarea în aplicații în care fumul, praful, așchiile sau umiditatea pot genera alarme false pentru un sistem de siguranță optic, sistemul LBK poate fi configurat simplu printr-o aplicație PC cu care este livrat.

■ Releu de ieșire pentru prealarmare, Muting sau semnal de start

■ Hardware simplu, fără dispozitive anexe necesare

Imunitate la fum, praf, așchii, stropire, particule generate de utilajele din producție

O aliniere perfectă între senzorii radar nu este necesară

Configurarea zonelor de avertizare și pericol se realizează rapid și ușor prin aplicația PC cu care este livrat sistemul

Sistemul poate detecta prezența personalului și poate prealarma pentru prevenirea opririi accidentale a utilajelor Sistemul detectează în ce parte a zonei de pericol a intrat personalul și se pot configura diferite acțiuni funcție de zona accesată

Protecția operatorului, imunitate la praf, lichide și fum Utilizarea dispozitivelor de siguranță pentru protecția personalului la locul de muncă poate varia funcție de industrie. În foarte multe aplicații industriale de siguranță, barierele optice de siguranță sau soluțiile bazate pe senzori de presiune nu pot fi implementate.

O nouă tehnologie de barieră de siguranță care oferă protecție industrială a personalului fără compromiterea productivității și eficienței, chiar și în medii in dustriale dure

Sistemul LBK este bazat pe senzori radar de mișcare LBKS01, care împreună cu unitatea de control LBK asigură intrarea în modul de siguranță a utilajelor sau roboților industriali la pătrunderea operatorilor în zona de pericol. Sistemul constă în cel puțin un senzor radar inteligent LBK-S01 și o unitate de control LBK-C22, care crează un sistem activ de protecție SIL2 conform IEC 61508.

Caracteristici principale:

■ Două câmpuri de protecție configurabile: avertizare și pericol

■ Funcții configurabile EDM și Restart Interlock I/O

Acolo unde cortinele/barierele optice sau preșurile de siguranță nu sunt o soluție bună, poate fi implementat sistemul de siguranță LBK.

Electronica • Azi nr. 3 (273)/2023 60

Inxpect LBK-C22 este unitatea de control pentru bariera de siguranță, folosită pentru monitorizarea a până la 6 senzori inteligenți LBK-S01. Intervenția în perimetrul unuia dintre senzori rezultă în dezactivarea ieșirii de siguranță a sistemului.

Parametrii de configurare permit setarea sistemului pentru utilizare împreună cu dispozitive externe EDM, configurarea funcțiilor de Muting sau Restart Interlock.

Senzorii Inxpect LBK-S01 sunt bazați pe tehnologie radar FMCW, cu performanțele cele mai ridicate pentru detecția și urmărirea mișcării. Spre deosebire de senzorii tradiționali bazați pe tehnologie infraroșie, laser sau microunde, LBK-S01 pot procesa în timp real deplasarea personalului spre zonele de pericol. LBK-S01 este un senzor imun la fum, praf, așchii, stropire, particule generate de utilajele din producție, prevenind activarea alarmelor false și generând creșterea productivității fără compromiterea siguranței. ⮞

Unitatea de control LBK-C22 se configurează prin aplicația PC pe un port USB. Ajustarea sensibilității, dimensionarea câmpurilor de avertizare și pericol, ieșirea auxiliară pe releu, pot fi configurate ușor din software.

61 www.electronica-azi.ro

Câmp de detecție programabil Fiecare senzor LBK-S01 din sistem poate fi programat individual, pentru a acoperi o arie mai largă sau mai îngustă.

Câmpul de detecție depinde de înălțimea de instalare și de înclinarea senzorului.

Domenii de utilizare

■ Zone automatizate cu roboți

■ Industria alimentară

■ Utilaje cu risc ridicat de accidentare

■ Echipamente de transport materiale

■ Utilaje de împachetare

■ Construcția de utilaje speciale www.oboyle.ro

Măsurarea culorii vopselei în producție, prin sticlă de 15mm grosime

De obicei, culoarea vopselei în timpul producției este verificată mai întâi în laborator. O mostră de vopsea este prelevată, iar culoarea ei este verificată pe un strat subțire în mediu uscat. Acest proces durează, timp în care producția poate ieși din toleranțele permise și se pot genera costuri suplimentare. Astfel, este de dorit să existe informație legată de calitatea culorii chiar după dispersarea pigmenților în material. Pentru acest lucru, un vizor de sticlă, pentru inspecția cu senzori optici de culoare a amestecului, este instalat în sistem.

Este utilizat un senzor de culoare Sensor Instruments

SPECTRO-3-28-45°/0°-MSM-ANA-DL montat la o distanță de aprox. 20mm față de sticlă pe unde se realizează inspecția amestecului. Sursa de lumină rotundă a senzorului, cu un unghi de cădere de 45° și poziționare verticală (0°) a elementului sensibil la culoare, asigură că reflexiile

nedorite din sticla prin care se face inspecția să nu afecteze acuratețea măsurătorii. Senzorul de culoare transmite date de acuratețe dE=0.3. Pe lângă software-ul de parametrizare al senzorului, SPECTRO-3-Scope MSMANA, în acest caz mai este utilizat un software de monitorizare. Acesta monitorizează valorile de culoare pentru ca acestea să fie în limitele de toleranță configurate. Datele sunt salvate în fișiere, cu dată, timp și informații specifice producției. Cele trei semnale analogice de ieșire ale senzorului (4mA … 20mA sau 0V … +10V) pot fi utilizate pentru controlul procesului de producție. www.oboyle.ro

Electronica • Azi nr. 3 (273)/2023 62
Electronica • Azi nr. 3 (273)/2023 66 ............................................................................... LTHD Corporation S.R.L. Head Office: Timișoara - ROMÂNIA, 300153, 70 Ardealul Str., lthd@lthd.com, www.lthd.com Tel.: +40 256 201273, +40 356 401266, +40 729 009922, Fax: +40 256 490813

Turn static files into dynamic content formats.

Create a flipbook
Issuu converts static files into: digital portfolios, online yearbooks, online catalogs, digital photo albums and more. Sign up and create your flipbook.